JP6237413B2 - バックアップ装置、バックアップ方法及びバックアッププログラム - Google Patents

バックアップ装置、バックアップ方法及びバックアッププログラム Download PDF

Info

Publication number
JP6237413B2
JP6237413B2 JP2014072169A JP2014072169A JP6237413B2 JP 6237413 B2 JP6237413 B2 JP 6237413B2 JP 2014072169 A JP2014072169 A JP 2014072169A JP 2014072169 A JP2014072169 A JP 2014072169A JP 6237413 B2 JP6237413 B2 JP 6237413B2
Authority
JP
Japan
Prior art keywords
agent
information
appropriateness
asset management
backup
Prior art date
Legal status (The legal status is an assumption and is not a legal conclusion. Google has not performed a legal analysis and makes no representation as to the accuracy of the status listed.)
Expired - Fee Related
Application number
JP2014072169A
Other languages
English (en)
Other versions
JP2015194883A (ja
Inventor
秀雄 西
秀雄 西
多津茂 稲葉
多津茂 稲葉
洋亮 中
洋亮 中
潤 杉井
潤 杉井
剛 能勢
剛 能勢
美保子 小野
美保子 小野
Current Assignee (The listed assignees may be inaccurate. Google has not performed a legal analysis and makes no representation or warranty as to the accuracy of the list.)
Fujitsu Ltd
Original Assignee
Fujitsu Ltd
Priority date (The priority date is an assumption and is not a legal conclusion. Google has not performed a legal analysis and makes no representation as to the accuracy of the date listed.)
Filing date
Publication date
Application filed by Fujitsu Ltd filed Critical Fujitsu Ltd
Priority to JP2014072169A priority Critical patent/JP6237413B2/ja
Priority to US14/619,215 priority patent/US20150278027A1/en
Publication of JP2015194883A publication Critical patent/JP2015194883A/ja
Application granted granted Critical
Publication of JP6237413B2 publication Critical patent/JP6237413B2/ja
Expired - Fee Related legal-status Critical Current
Anticipated expiration legal-status Critical

Links

Images

Classifications

    • HELECTRICITY
    • H04ELECTRIC COMMUNICATION TECHNIQUE
    • H04LTRANSMISSION OF DIGITAL INFORMATION, e.g. TELEGRAPHIC COMMUNICATION
    • H04L67/00Network arrangements or protocols for supporting network services or applications
    • H04L67/01Protocols
    • H04L67/10Protocols in which an application is distributed across nodes in the network
    • H04L67/1097Protocols in which an application is distributed across nodes in the network for distributed storage of data in networks, e.g. transport arrangements for network file system [NFS], storage area networks [SAN] or network attached storage [NAS]
    • GPHYSICS
    • G06COMPUTING OR CALCULATING; COUNTING
    • G06FELECTRIC DIGITAL DATA PROCESSING
    • G06F11/00Error detection; Error correction; Monitoring
    • G06F11/07Responding to the occurrence of a fault, e.g. fault tolerance
    • G06F11/14Error detection or correction of the data by redundancy in operation
    • G06F11/1402Saving, restoring, recovering or retrying
    • G06F11/1446Point-in-time backing up or restoration of persistent data
    • GPHYSICS
    • G06COMPUTING OR CALCULATING; COUNTING
    • G06FELECTRIC DIGITAL DATA PROCESSING
    • G06F11/00Error detection; Error correction; Monitoring
    • G06F11/07Responding to the occurrence of a fault, e.g. fault tolerance
    • G06F11/14Error detection or correction of the data by redundancy in operation
    • G06F11/1402Saving, restoring, recovering or retrying
    • G06F11/1446Point-in-time backing up or restoration of persistent data
    • G06F11/1458Management of the backup or restore process
    • GPHYSICS
    • G06COMPUTING OR CALCULATING; COUNTING
    • G06FELECTRIC DIGITAL DATA PROCESSING
    • G06F11/00Error detection; Error correction; Monitoring
    • G06F11/07Responding to the occurrence of a fault, e.g. fault tolerance
    • G06F11/14Error detection or correction of the data by redundancy in operation
    • G06F11/1402Saving, restoring, recovering or retrying
    • G06F11/1446Point-in-time backing up or restoration of persistent data
    • G06F11/1458Management of the backup or restore process
    • G06F11/1461Backup scheduling policy
    • GPHYSICS
    • G06COMPUTING OR CALCULATING; COUNTING
    • G06FELECTRIC DIGITAL DATA PROCESSING
    • G06F11/00Error detection; Error correction; Monitoring
    • G06F11/07Responding to the occurrence of a fault, e.g. fault tolerance
    • G06F11/14Error detection or correction of the data by redundancy in operation
    • G06F11/1402Saving, restoring, recovering or retrying
    • G06F11/1446Point-in-time backing up or restoration of persistent data
    • G06F11/1458Management of the backup or restore process
    • G06F11/1464Management of the backup or restore process for networked environments
    • GPHYSICS
    • G06COMPUTING OR CALCULATING; COUNTING
    • G06FELECTRIC DIGITAL DATA PROCESSING
    • G06F11/00Error detection; Error correction; Monitoring
    • G06F11/07Responding to the occurrence of a fault, e.g. fault tolerance
    • G06F11/14Error detection or correction of the data by redundancy in operation
    • G06F11/1402Saving, restoring, recovering or retrying
    • G06F11/1446Point-in-time backing up or restoration of persistent data
    • G06F11/1458Management of the backup or restore process
    • G06F11/1469Backup restoration techniques
    • HELECTRICITY
    • H04ELECTRIC COMMUNICATION TECHNIQUE
    • H04LTRANSMISSION OF DIGITAL INFORMATION, e.g. TELEGRAPHIC COMMUNICATION
    • H04L67/00Network arrangements or protocols for supporting network services or applications
    • H04L67/01Protocols
    • GPHYSICS
    • G06COMPUTING OR CALCULATING; COUNTING
    • G06FELECTRIC DIGITAL DATA PROCESSING
    • G06F11/00Error detection; Error correction; Monitoring
    • G06F11/07Responding to the occurrence of a fault, e.g. fault tolerance
    • G06F11/14Error detection or correction of the data by redundancy in operation
    • G06F11/1402Saving, restoring, recovering or retrying
    • G06F11/1446Point-in-time backing up or restoration of persistent data
    • G06F11/1456Hardware arrangements for backup
    • GPHYSICS
    • G06COMPUTING OR CALCULATING; COUNTING
    • G06FELECTRIC DIGITAL DATA PROCESSING
    • G06F2201/00Indexing scheme relating to error detection, to error correction, and to monitoring
    • G06F2201/84Using snapshots, i.e. a logical point-in-time copy of the data

Landscapes

  • Engineering & Computer Science (AREA)
  • Theoretical Computer Science (AREA)
  • Quality & Reliability (AREA)
  • Physics & Mathematics (AREA)
  • General Engineering & Computer Science (AREA)
  • General Physics & Mathematics (AREA)
  • Computer Networks & Wireless Communication (AREA)
  • Signal Processing (AREA)
  • Information Retrieval, Db Structures And Fs Structures Therefor (AREA)

Description

本発明は、バックアップ装置、バックアップ方法及びバックアッププログラムに関する。
企業の情報通信システムが有するハードウェア及びソフトウェアを資産として管理する資産管理システムは、他の情報通信システムと同様に、DVD等のメディア、自社のファイルサーバ、オンラインストレージサービスなどを利用してバックアップを行っている。
しかし、他の情報通信システムと比較した場合、資産管理システムには、資産管理装置で定義したポリシーが、クライアント装置で動作するエージェントにネットワークを通じて配付される、という特徴がある。また、資産管理システムには、クライアント装置のインベントリ情報が、ネットワークを通じて資産管理装置に収集される、という特徴がある。
ここで、インベントリ情報とは、ディスク装置の空き容量、OS種別、インストールされたソフトウェアなどクライアント装置に関する情報であり、ポリシーとは、インベントリ情報の収集時間帯、配信ソフトウェアの取得方法など資産管理に関する情報である。また、エージェントは、クライアント装置で動作し、ポリシーに基づいてインベントリ情報の収集など資産管理に必要な処理を実行する。また、クライアント装置としては、パソコン、サーバ、タブレット装置などがある。
このような資産管理システムの特徴から、資産管理装置が管理するインベントリ情報及びポリシー情報は、個々のクライアント装置にも存在している。そこで、システム障害により資産管理装置のデータが破壊された場合は、エージェントがインベントリ情報とポリシー情報を資産管理装置に送信することで、資産管理装置はクライアント装置の最新の状態に関する情報を復旧することができる。
なお、多数のエージェントが協調動作する分散エージェントシステムにおいて、各エージェントが協調して自エージェントの状態を記録するとともに、エージェント間でメッセージを送受信することによりバックアップをとる従来技術がある。
また、ワークをデータベースを用いてタスクに分割し、タスクの属性とエージェントの負荷状態を加味してタスク処理の役割を決定し、タスクの処理管理を行う従来技術がある。また、SNMP(Simple Network Management Protocol)プロトコルによるネットワーク管理において、エージェントから送出したトラップの受信確認をエージェントが行うことにより、精度良くネットワーク管理を行う従来技術がある。
特開2003−150568号公報 特開平11−96011号公報 特開平10−51476号公報
しかしながら、資産管理装置が管理する情報には、ライセンス情報、配信ソフトウェア情報、システム設定情報など、エージェントにはない情報があり、システム障害発生時にエージェントから情報を収集するだけでは復旧が行えないという問題がある。また、資産管理装置により資産が管理されるクライアント装置は、データ保管専用機ではないため、バックアップに使用するには信頼性などの配置適正の点で不十分である。
本発明は、1つの側面では、資産管理装置により資産が管理されるクライアント装置にバックアップ情報を分散配置させることができるバックアップ装置、バックアップ方法及びバックアッププログラムを提供することを目的とする。
本願の開示するバックアップ装置は、1つの態様において、複数のクライアント装置上でそれぞれ動作するエージェントからの情報に基づき、前記複数のクライアント装置を管理する資産管理装置のデータをバックアップするバックアップ装置である。バックアップ装置は、複数のエージェントそれぞれについて、特定のエージェントから受信した情報、及び、資産管理装置が有する特定のエージェントの動作するクライアント装置に関する情報から、特定のエージェントに関連づけられたデータブロックを生成する。そして、バックアップ装置は、複数のエージェントから受信した情報に基づき複数のクライアント装置の配置適正度をそれぞれ算出する。そして、バックアップ装置は、複数のクライアント装置それぞれの配置適正度に基づき、複数のデータブロックを複数のクライアント装置に分散配置する。
1実施態様によれば、資産管理装置により資産が管理されるクライアント装置にバックアップ情報を分散配置させることができる。
図1は、実施例に係る資産管理システムを説明するための図である。 図2は、実施例に係る資産管理システムの構成を示す図である。 図3は、インベントリ情報テーブルの一例を示す図である。 図4は、ポリシー情報テーブルの一例を示す図である。 図5は、ライセンス情報テーブルの一例を示す図である。 図6は、配信ソフトウェア情報テーブルの一例を示す図である。 図7は、ログインアカウント情報テーブルの一例を示す図である。 図8は、ソフトウェア導入検出条件テーブルの一例を示す図である。 図9は、配置適正テーブルの一例を示す図である。 図10は、グルーピングテーブルの一例を示す図である。 図11は、リストア禁止テーブルの一例を示す図である。 図12は、データブロックの生成を説明するための図である。 図13は、配置適正度の判定及びエージェントグループの生成を説明するための図である。 図14は、エージェントグループとグループデータを説明するための図である。 図15は、メタデータの一例を示す図である。 図16は、資産管理DBの復旧を説明するための図である。 図17は、資産管理装置の導入時の処理のフローを示すフローチャートである。 図18は、資産管理装置の運用時の処理のフローを示すフローチャートである。 図19は、資産管理装置の復旧時の処理のフローを示すフローチャートである。 図20は、データブロック生成処理のフローを示すフローチャートである。 図21は、各データブロックに含まれる情報の一例を示す図である。 図22は、配置適正判定処理のフローを示すフローチャートである。 図23は、保管適正判定処理のフローを示すフローチャートである。 図24は、回収適正判定処理のフローを示すフローチャートである。 図25は、グルーピング処理のフローを示すフローチャートである。 図26は、冗長保管先グループ設定処理のフローを示すフローチャートである。 図27は、データブロック更新処理のフローを示すフローチャートである。 図28は、リストア禁止処理のフローを示すフローチャートである。 図29は、リストア・インベントリ更新処理のフローを示すフローチャートである。 図30は、回収モードクリア判断処理のフローを示すフローチャートである。 図31は、エージェントの導入時の処理のフローを示すフローチャートである。 図32は、エージェントの運用時又は復旧時の処理のフローを示すフローチャートである。 図33は、バックアップデータ受信処理のフローを示すフローチャートである。 図34は、実施例に係る資産管理プログラムを実行するコンピュータのハードウェア構成を示す図である。
以下に、本願の開示するバックアップ装置、バックアップ方法及びバックアッププログラムの実施例を図面に基づいて詳細に説明する。なお、この実施例は開示の技術を限定するものではない。
まず、実施例に係る資産管理システムについて説明する。図1は、実施例に係る資産管理システムを説明するための図である。図1に示すように、資産管理システム1は、資産管理装置2と、3台のクライアント装置3とを有する。資産管理装置2と3台のクライアント装置3は、ネットワーク5で接続されている。なお、ここでは説明の便宜上、3台のクライアント装置3のみを示したが、資産管理システム1は、任意の台数のクライアント装置3を有してよい。
資産管理装置2は、資産情報を記憶する資産管理DB21を有し、資産管理DB21が記憶するデータを例えばデータA、データB及びデータCの3つのデータに分割する。このとき、資産管理装置2は、資産管理DB21だけが記憶し、クライアント装置3にはないデータを含めて3つのデータに分割する。そして、資産管理装置2は、バックアップデータとして、データA及びデータBを1台のクライアント装置3に分散配置し、データB及びデータCを2台目のクライアント装置3に分散配置し、データB及びデータCを3台目のクライアント装置3に分散配置する。
したがって、資産管理装置2は、クライアント装置3からバックアップデータを回収することで、資産管理DB21を復元することができる。また、資産管理装置2は、各バックアップデータを2台のクライアント装置3に分散配置する。したがって、一部のクライアント装置3からバックアップデータが回収できない場合にも、資産管理装置2は、資産管理DB21を復元することができる。なお、ここでは説明の便宜上、各バックアップデータを2台のクライアント装置3に分散配置する場合を示したが、資産管理装置2は、各バックアップデータを任意の台数のクライアント装置3に分散配置してよい。
また、資産管理装置2は、クライアント装置3にポリシー情報を配付する際にバックアップデータを配付し、インベントリ情報を収集する際にバックアップデータを回収する。したがって、資産管理装置2は、少ないオーバーヘッドでバックアップデータの配付及び回収を行うことができる。
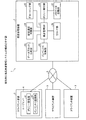
次に、実施例に係る資産管理システム1の構成について説明する。図2は、実施例に係る資産管理システム1の構成を示す図である。図2に示すように、資産管理装置2は、資産管理DB21と、インベントリ収集部22と、データブロック生成部23と、配置適正判定部24と、グルーピング部25と、ポリシー配付部26と、メタデータ記憶部27と、リストア部28とを有する。また、クライアント装置3では、エージェント4が動作する。
資産管理DB21は、9個のテーブルを有し、これらのテーブルを用いて資産情報を記憶する。具体的には、資産管理DB21は、インベントリ情報テーブル、ポリシー情報テーブル、ライセンス情報テーブル、配信ソフトウェア情報テーブル、ログインアカウント情報テーブル及びソフトウェア導入検出条件テーブルを有する。また、資産管理DB21は、配置適正テーブル、グルーピングテーブル及びリストア禁止テーブルを有する。
インベントリ情報テーブルは、エージェント4により収集されたインベントリ情報をクライアント装置毎に記憶する。図3は、インベントリ情報テーブルの一例を示す図である。図3に示すように、インベントリ情報には、エージェントID、ディスク空き容量、イベントログのハードエラー、OS種別、ポリシー受信履歴、一日の平均稼働時間、稼働時間帯、PC種別、リモート電源ON及びインベントリ収集履歴が含まれる。
エージェントIDは、クライアント装置3で動作するエージェント4を識別する識別子である。ディスク空き容量は、クライアント装置3が備えるHDD(Hard Disk Drive)装置の空き容量である。イベントログのハードエラーは、最近1ヶ月間にハードウェアのエラーがあったか否かを示す。OS種別は、クライアント装置3で動作するOSの種別を示す。ポリシー受信履歴は、ポリシー情報の受信に関してエラーが発生したか否かを示す。一日の平均稼働時間は、クライアント装置3が1日に稼働する平均時間である。稼働時間帯は、クライアント装置3が稼働する時間帯を示す。PC種別は、クライアント装置3の種別を示す。リモート電源ONは、電源の遠隔操作機能の有無を示す。インベントリ収集履歴は、インベントリ情報収集に関してエラーが発生したか否かを示す。
例えば、エージェントIDがA1であるエージェント4が動作するクライアント装置3については、HDD装置の空き容量は30GB(Giga Byte:ギガバイト)で余裕があり、最近1ヶ月間にハードウェアのエラーはなく、動作するOSはサーバである。また、そのクライアント装置3については、ポリシー情報の受信に関してエラーの発生はなく、1日に稼働する平均時間は24時間であり、稼働する時間帯は全日であり、装置の種別はデスクトップである。また、そのクライアント装置3については、電源の遠隔操作機能はなく、インベントリ情報収集に関してエラーはない。
ポリシー情報テーブルは、クライアント装置3に配付されるポリシー情報をポリシー毎に記憶する。図4は、ポリシー情報テーブルの一例を示す図である。図4に示すように、ポリシー情報には、ポリシーID、所属エージェントID、ポリシー受信間隔、インベントリ収集時間帯指定及び配信ソフトウェア取得方法が含まれる。
ポリシーIDは、ポリシーを識別する識別子である。所属エージェントIDは、ポリシーを配付されたエージェント4のエージェントIDである。ポリシー受信間隔は、エージェント4がポリシー情報を受信する間隔である。インベントリ収集時間帯指定は、インベントリ情報を収集する時間帯を示す。配信ソフトウェア取得方法は、配信ソフトウェアを取得する方法が自動であるか手動であるかを示す。
例えば、識別子がP1であるポリシーは、エージェントIDがA1とA2のエージェント4に配付されており、30分間隔でエージェント4に受信され、インベントリ情報収集の時間帯は指定せず、配信ソフトウェアの自動取得を指定する。
ライセンス情報テーブルは、ライセンスを受けているソフトウェアについてライセンス情報をライセンス毎に記憶する。図5は、ライセンス情報テーブルの一例を示す図である。図5に示すように、ライセンス情報には、ライセンスID、割当済エージェントID、ライセンス名、対象ソフトウェア及び価格が含まれる。
ライセンスIDは、ライセンスを識別する識別子である。割当済エージェントIDは、ライセンスの割り当てが行われたエージェント4のエージェントIDである。ライセンス名は、ライセンスにつけられた名前である。対象ソフトウェアは、ライセンスの対象となるソフトウェアを示す。価格は、ライセンスの価格を示す。
例えば、識別子がL1であるライセンスは、エージェントIDがA1とA2のエージェント4に割当が行われている。ライセンスの名前はLic1であり、ライセンスの対象となるソフトウェアはS1であり、ライセンスの価格は3000円である。
配信ソフトウェア情報テーブルは、エージェント4に配信されているソフトウェアについての情報である配信ソフトウェア情報をソフトウェア毎に記憶する。図6は、配信ソフトウェア情報テーブルの一例を示す図である。図6に示すように、配信ソフトウェア情報には、ソフトウェアID、配信先エージェントID及びソフトウェア名が含まれる。
ソフトウェアIDは、ソフトウェアを識別する識別子である。配信先エージェントIDは、ソフトウェアを配信した先のエージェント4のエージェントIDである。ソフトウェア名は、ソフトウェアの名前である。
例えば、識別子がS1であるソフトウェアは、エージェントIDがA1のエージェント4に配信が行われている。ソフトウェアの名前はSoft1である。
ログインアカウント情報テーブルは、ログインアカウントに関する情報であるログインアカウント情報をアカウント毎に記憶する。図7は、ログインアカウント情報テーブルの一例を示す図である。図7に示すように、ログインアカウント情報には、ログインID、パスワード及び権限が含まれる。
ログインIDは、クライアント装置3とネットワーク5を有する情報通信システムを利用する場合にユーザが用いる識別子である。パスワードは、ログインIDに対応付けられた文字列であり、利用者の認証に用いられる。パスワードは、暗号化されて記憶される。権限は、情報通信システムに対して利用者が行える操作を示すものであり、システム管理者であれば情報通信システムに対して全ての操作が許可され、一般利用者であればできる操作が制限される。例えば、識別子がadminであるログインアカウントからは、情報通信システムに対して全ての操作が許可される。
ソフトウェア導入検出条件テーブルは、クライアント装置3に導入されているソフトウェアの検出条件の情報をソフトウェア毎に記憶する。図8は、ソフトウェア導入検出条件テーブルの一例を示す図である。図8に示すように、ソフトウェアの検出条件の情報には、ソフトウェアID及び検出条件が含まれる。検出条件としては、レジストリ値、ファイル名などがある。なお、ログインアカウント情報とソフトウェアとソフトウェア導入検出条件を併せた情報がシステム情報である。
配置適正テーブルは、クライアント装置3のバックアップデータの配置先としての適正度に関する情報をエージェント4毎に記憶する。図9は、配置適正テーブルの一例を示す図である。図9に示すように、適正度に関する情報には、エージェントID、保管適正、回収適正及び配置適正が含まれる。
保管適正は、バックアップデータの保管先としてエージェント4の適正度を示す。回収適正は、バックアップデータを回収する場合のエージェント4の適正度を示す。配置適正は、保管適正と回収適正の組み合わせによりバックアップデータの配置先としてのエージェント4の適正度を示す。
例えば、識別子がA1であるエージェント4は、バックアップデータの保管先としての適正度は高であり、バックアップデータを回収する場合の適正度は高であり、バックアップデータの配置先としての適正度も高である。なお、保管適正、回収適正及び配置適正の詳細については後述する。
グルーピングテーブルは、エージェント4をグルーピングした情報をグループ毎に記憶する。資産管理装置2は各エージェント4に対して1つのデータブロックを生成し、1つのグループに属するエージェント4のデータブロックはグループデータとしてまとめてバックアップされる。図10は、グルーピングテーブルの一例を示す図である。図10に示すように、エージェント4をグルーピングした情報には、グループID、所属エージェントID及び冗長保管先グループIDが含まれる。
グループIDは、グループを識別する識別子である。所属エージェントIDは、グループに所属するエージェント4のエージェントIDを示す。冗長保管先グループIDは、グループデータが冗長保管されるグループを示す。グループデータは、グループに所属する各エージェント4に保管されるとともに、冗長保管グループに所属する各エージェント4に冗長保管される。
例えば、識別子がG1であるグループに所属するエージェント4の識別子はA1、A2及びA3であり、識別子がG1であるグループのグループデータは、識別子がG2及びG3であるグループに属するエージェント4に冗長保管される。すなわち、識別子がG1であるグループのグループデータは、識別子がA1、A2及びA3であるエージェント4にそれぞれ対応するデータブロックを含む。そして、識別子がG1であるグループのグループデータは、識別子がA1、A2及びA3であるエージェント4に保管されるとともに、G2に所属するエージェント4及びG3に所属するエージェント4に冗長保管される。
リストア禁止テーブルは、資産管理装置2がデータを復旧する際に、回収したポリシー情報、ライセンス情報、配信ソフトウェア情報及びシステム情報が更新された場合、更新された情報がその後の回収でリストアされないようにするために用いられる。リストア禁止テーブルは、リストアを禁止する情報毎に、識別子と情報の種別をリストア禁止情報として記憶する。なお、リストア禁止の単位は、ポリシー情報、ライセンス情報及び配信ソフトウェア情報については識別子が付与される単位であり、システム情報についてはシステム情報全体が単位である。
図11は、リストア禁止テーブルの一例を示す図である。図11に示すように、リストア禁止情報には、リストアを禁止する各種ID及びID種別が含まれる。リストアを禁止する各種IDは、リストアを禁止する情報を識別する識別子であり、ID種別は、IDの種別である。例えば、図11では、ポリシー情報P1はリストアが禁止されている。
図2に戻って、インベントリ収集部22は、各エージェント4からインベントリ情報を収集してインベントリ情報テーブルに格納する。
データブロック生成部23は、エージェント4に対応付けられた情報に基づいてエージェント4毎にデータブロックを生成する。図12は、データブロックの生成を説明するための図である。図12において、<エンティティの多重度>は、2つのエンティティ間の対応関係を示す。ここで、エンティティとは、エージェント4、インベントリ、ポリシー、ライセンス、配信ソフトウェア及びシステムである。
図12に示すように、インベントリとエージェント4は1対1の対応関係がある。すなわち、1つのエージェント4には1つのインベントリが対応する。ポリシーとエージェントは1対多の対応関係がある。図12において、「0..*」は、0を含む多数を示す。すなわち、あるポリシーは、複数のエージェント4に配信される場合もあり、どのエージェント4にも配信されない場合もある。
ライセンス又は配信ソフトウェアとエージェント4とには多対多の対応関係がある。すなわち、あるライセンスは複数のエージェント4に割り当てられる場合もあり、どのエージェント4にも割り当てられない場合もある。また、あるエージェント4は、複数の異なるソフトウェアのライセンスを割り当てられる場合もあり、どのライセンスも割り当てられない場合もある。
また、ある配信ソフトウェアは複数のエージェント4に配信される場合もあり、どのエージェント4にも配信されない場合もある。また、あるエージェント4は、複数の異なる配信ソフトウェアを配信される場合もあり、どの配信ソフトウェアも配信されない場合もある。
システムとエージェント4には1対Nの対応関係がある。ここで、システムは、資産管理システム1により資産が管理される情報通信システムである。すなわち、資産管理システム1により資産が管理される情報通信システムにはN個のエージェント4が含まれる。
<実際のデータベース>は、対応関係の例を示す。図12に示すように、インベントリAはエージェント1のインベントリであり、インベントリBはエージェント2のインベントリであり、インベントリCはエージェント3のインベントリである。また、ポリシーAはエージェント1及びエージェント2のポリシーであり、ポリシーBはエージェント3のポリシーであり、ポリシーCはどのエージェント4のポリシーでもない。
また、ライセンスAはエージェント1及びエージェント2に割り当てられ、ライセンスBはエージェント2に割り当てられ、ライセンスCはどのエージェント4にも割り当てられない。また、システムにはN個のエージェント4が含まれる。
<データブロック>は、<実際のデータベース>に示す対応関係がある場合に、データブロック生成部23によりエージェント4に対応付けて生成されるデータブロックの例を示す。エージェント1は、インベントリAとポリシーAとライセンスAとシステムと対応関係があるので、エージェント1に対応付けて生成されるデータブロックには、インベントリAの情報、ポリシーAの情報、ライセンスAの情報及びシステムの情報が含まれる。
エージェント2は、インベントリBとポリシーAとライセンスA及びBとシステムと対応関係がある。したがって、エージェント2に対応付けて生成されるデータブロックには、インベントリBの情報、ポリシーAの情報、ライセンスA及びBの情報、及びシステムの情報が含まれる。エージェント3は、インベントリCとポリシーBとシステムと対応関係があるので、エージェント3に対応付けて生成されるデータブロックには、インベントリCの情報、ポリシーBの情報及びシステムの情報が含まれる。
データブロック生成部23は、インベントリ情報、ポリシー情報、ライセンス情報、配信ソフトウェア情報又はシステム情報が更新された場合にそれを検知してデータブロックを更新する。
図2に戻って、配置適正判定部24は、エージェント4の配置適正度が高であるか、中であるか、低であるかを判定する。ここで、配置適正度が高である場合が最もバックアップデータの配置に適しており、配置適正度が低である場合が最もバックアップデータの配置に適していない。
グルーピング部25は、配置適正判定部24により判定された配置適正度に基づいてエージェント4をグルーピングする。グルーピング部25は、グループ間で配置適正度ができるだけ均等になるように、エージェント4をグルーピングする。また、グルーピング部25は、グループに属するエージェント4が保管するグループデータをデータブロックから作成する。
グループに属するエージェント4は、グループのメンバーに対応するデータブロックの全てをグループデータとして保管する。したがって、グループに属する各エージェント4は、同一データを保管する。また、グループに属するエージェント4は、他のグループのグループデータのいくつかを冗長保管する。
図13は、配置適正度の判定及びエージェントグループの生成を説明するための図である。図13に示すように、配置適正判定部24は、ディスク空き容量、イベントログ、OS種別及びポリシー受信履歴の4項目に基づいてエージェント4の保管適正を評価する。具体的には、配置適正判定部24は、各項目を非常に適する(◎)、適する(○)、適さない(×)で評価する。例えば、ディスク空き容量については、配置適正判定部24は、十分余裕がある場合には非常に適すると評価し、余裕ありの場合には適すると評価し、余裕なしの場合には適さないと評価する。
そして、配置適正判定部24は、適さないと評価した項目が1つでもあれば、保管適正度を低と評価し、適さないと評価した項目が1つもなくて非常に適すると評価した項目が1つでもあれば、保管適正度を高と評価し、その他の場合は、保管適正度を中と評価する。なお、ここでは、配置適正判定部24は、ディスク空き容量、イベントログ、OS種別及びポリシー受信履歴の4項目に基づいてエージェント4の保管適正を評価したが、他の項目を用いて保管適正を評価してもよい。
また、配置適正判定部24は、稼働率、時間帯別稼働傾向、PC種別、リモート電源ON機能及びインベントリ収集履歴の5項目に基づいてエージェント4の回収適正を評価する。配置適正判定部24は、回収適正についても、各項目を非常に適する(◎)、適する(○)、適さない(×)で評価する。例えば、稼働率については、配置適正判定部24は、稼働時間が一日平均12時間以上の場合には非常に適すると評価し、稼働時間が一日平均4時間以上12時間未満の場合には適すると評価し、稼働時間が一日平均1時間以下の場合には適さないと評価する。
そして、配置適正判定部24は、適さないと評価した項目が1つでもあれば、回収適正度を低と評価し、適さないと評価した項目が1つもなくて非常に適すると評価した項目が1つでもあれば、回収適正度を高と評価し、その他の場合は、回収適正度を中と評価する。なお、ここでは、配置適正判定部24は、稼働率、時間帯別稼働傾向、PC種別、リモート電源ON機能及びインベントリ収集履歴の5項目に基づいてエージェント4の回収適正を評価したが、他の項目を用いて回収適正を評価してもよい。
そして、配置適正判定部24は、保管適正度と回収適正度に基づいて配置適正度を判定する。具体的には、配置適正判定部24は、回収適正度が低である場合には、保管適正度に関係なく配置適正度を低と判定する。また、配置適正判定部24は、回収適正度が中である場合には、保管適正度が高であれば配置適正度を高と判定し、保管適正度が中又は低であれば配置適正度を中と判定する。また、配置適正判定部24は、回収適正度が高である場合には、保管適正度が高又は中であれば配置適正度を高と判定し、保管適正度が低であれば配置適正度を中と判定する。
そして、例えば、エージェント1〜エージェント6の配置適正度がそれぞれ高、中、低、高、中、低である場合に、グルーピング部25は、エージェント1〜エージェント3のグループ1とエージェント4〜エージェント6のグループ2にグループ分けする。
図14は、エージェントグループとグループデータを説明するための図である。図14は、5つのグループ1〜グループ5にデータをバックアップする場合を示す。グループ1は、エージェント1〜エージェント3をメンバーとし、グループ2は、エージェント4〜エージェント6をメンバーとし、グループ3は、エージェント7〜エージェント9をメンバーとする。グループ4は、エージェント10〜エージェント12をメンバーとし、グループ5は、エージェント13〜エージェント15をメンバーとする。
図14に示す例では、グループ1の各エージェント4は、エージェント1〜エージェント3のデータブロックを併せてグループデータとして記憶する。また、グループ1のグループデータは、グループ2及びグループ5に属するエージェント4に冗長保管される。したがって、エージェント1のデータブロックは、グループ内の3つのエージェント4及び他のグループの6つのエージェント4を合わせた9つのエージェント4に保管される。他のエージェント4のデータも同様に9つのエージェント4に保管される。
図2に戻って、ポリシー配付部26は、ネットワーク5を介してエージェント4にポリシー情報を配付する。また、ポリシー配付部26は、ポリシー情報を配付する際に、エージェント4が保管を担当するバックアップデータが更新されていればバックアップデータを送信する。
グルーピング部25は、定期的にエージェントグループを再編成する。ポリシー配付部26は、エージェントグループ再編後のポリシー配付時に、再編成したエージェントグループにバックアップデータを配付する。エージェント4は、エージェントグループが変更されると以前のバックアップデータを削除し、新しいバックアップデータを保管する。
メタデータ記憶部27は、データブロックに関するメタデータを記憶する。図15は、メタデータの一例を示す図である。図15に示すように、メタデータには、データブロックの総数と各データブロックに関するデータが含まれる。各データブロックに関するデータには、更新日時、対応エージェント及び複製保管エージェントが含まれる。
例えば、データブロック1は、2013/9/1の13:00:00に更新され、対応エージェントはエージェント1であり、複製を保管するエージェント4は、エージェント2〜エージェント6及びエージェント13〜エージェント15である。メタデータは、ポリシー配付部26がバックアップデータを送信する際に送信される。
リストア部28は、資産管理装置2に故障が発生し、資産管理装置2がリプレースされた場合、あるいは、資産管理DB21の情報が失われた場合に、エージェント4からバックアップデータを回収して資産管理DB21の情報を回復する。
図16は、資産管理DB21の復旧を説明するための図である。図16は、エージェントA〜エージェントCに資産管理DB21が記憶するデータA〜データCがバックアップされる場合を示す。データAは、エージェントAのデータブロックであり、データBは、エージェントBのデータブロックであり、データCは、エージェントCのデータブロックである。なお、ここでは、エージェントグループは1つのエージェントだけを含む。
バックアップデータは、エージェントA〜エージェントCに冗長化して保管される。具体的には、データAは、エージェントAとエージェントCに保管され、データBは、エージェントAとエージェントBに保管され、データCは、エージェントBとエージェントCに保管される。
資産管理装置2に故障が発生すると、資産管理装置2がリプレースされ、環境構築が行われ、資産管理DB21に初期データが設定される。また、管理者により、資産管理装置2が回収モードに設定される。
エージェント4は、資産管理装置2にインベントリ情報を送信する際に、資産管理装置2が回収モードで動作していれば、インベントリ情報に併せてバックアップデータも送信する。エージェント4は、回収モードであるかどうかをインベントリ送信前の通信の疎通確認と併せて確認する。
リストア部28は、送信されたバックアップデータ中のデータブロックと資産管理装置2上のデータブロックの更新日時を比較し、送信されたデータブロックが新しければリストアする。また、リストア部28は、回収したデータブロック総数をもとに進捗率を表示し、進捗率が閾値を超えればバックアップデータ回収モードをクリアする。
図16において、エージェントAが動作するクライアント装置3を使用する従業員Aが出社してクライアント装置3を起動すると、リストア部28は、データA及びデータBを回復することができる。したがって、資産管理装置2は、この段階でエージェントA及びエージェントBに対してリモート電源ON、ライセンス管理、ソフトウェア配信等の運用を行うことができる。
また、エージェントCが動作するクライアント装置3を使用する従業員Cが出社してクライアント装置3を起動すると、リストア部28は、データCを回復することができる。したがって、リストア部28は、従業員Bが休みでエージェントBが動作していない場合でも、資産管理DB21を復旧することができ、回収モードをクリアする。
図2に戻って、エージェント4は、ポリシー受信部41と、インベントリ送信部42とを有する。ポリシー受信部41は、資産管理装置2からネットワーク5を介してポリシー情報を受信する。また、ポリシー受信部41は、ポリシー情報を受信する際に、バックアップデータを受信する。インベントリ送信部42は、ネットワーク5を介してインベントリ情報を資産管理装置2に送信する。また、インベントリ送信部42は、資産管理装置2が回収モードである場合には、インベントリ情報に併せてバックアップデータを資産管理装置2に送信する。
次に、資産管理装置2の導入時の処理のフローについて説明する。図17は、資産管理装置2の導入時の処理のフローを示すフローチャートである。図17に示すように、資産管理装置2は、管理者の指示に基づいて、環境構築を行い(ステップS1)、ポリシー情報、ライセンス情報、配信ソフトウェア情報、システム情報を資産管理DB21に格納する(ステップS2)。
そして、資産管理装置2は、インベントリ情報を受信し(ステップS3)、データブロックを生成するデータブロック生成処理を行う(ステップS4)。そして、資産管理装置2は、エージェント4の配置適正度を判定する配置適正判定処理を行い(ステップS5)、配置適正度に基づいてエージェント4をグルーピングしてグループデータを作成するグルーピング処理を行う(ステップS6)。そして、資産管理装置2は、ポリシー情報及びバックアップデータを各エージェント4に配付し(ステップS7)、運用状態に移行する。
このように、資産管理装置2は、ポリシー情報を初期配付する際にバックアップデータを各エージェント4に配付することによって、バックアップデータを初期配付することができる。
次に、資産管理装置2の運用時の処理のフローについて説明する。図18は、資産管理装置2の運用時の処理のフローを示すフローチャートである。図18に示すように、資産管理装置2は、資産管理DB21の情報が更新されたか否かを判定し(ステップS10)、更新された場合には、データブロックを更新するデータブロック更新処理を行う(ステップS11)。
そして、資産管理装置2は、前回から更新されたインベントリ情報があるか否かを判定する(ステップS12)。このステップS12の判定は、毎日所定の時刻に行われる。そして、資産管理装置2は、更新されたインベントリ情報がある場合には、配置適正判定処理を行い(ステップS13)、グルーピング処理を行う(ステップS14)。
そして、資産管理装置2は、エージェント4からポリシー情報配付要求が来たか否かを判定し(ステップS15)、ポリシー情報配付要求が来ていない場合には、ステップS10に戻る。
一方、ポリシー情報配付要求が来た場合には、資産管理装置2は、ポリシー情報を配付する(ステップS16)。このとき、ポリシー情報配付を要求したエージェント4が保管するデータブロックが更新されている場合には、更新されたデータブロックもエージェント4に配付する。
そして、資産管理装置2は、バックアップが拒否されたか否かを判定し(ステップS17)、拒否された場合には、バックアップを拒否したエージェント4の配置適正度を低に設定する(ステップS18)。
そして、資産管理装置2は、エージェント4からインベントリ情報を受信すると、エージェント4から受信したインベントリ情報を用いて資産管理DB21を更新し(ステップS19)、ステップS10に戻る。
このように、資産管理装置2は、エージェント4にポリシー情報を配付するときにバックアップデータを配付することによって、バックアップデータの配付に伴うオーバーヘッドを減らすことができる。
次に、資産管理装置2の復旧時の処理のフローについて説明する。図19は、資産管理装置2の復旧時の処理のフローを示すフローチャートである。図19に示すように、資産管理装置2は、管理者の指示に基づいて、環境構築を行い(ステップS21)、バックアップデータの回収モードを設定する(ステップS22)。
そして、資産管理装置2は、資産管理DB21の情報が更新されたか否かを判定し(ステップS23)、更新された場合には、更新された情報がバックアップデータにより更新されないようにするためのリストア禁止処理を行う(ステップS24)。
そして、資産管理装置2は、エージェント4からポリシー情報配付要求が来たか否かを判定し(ステップS25)、ポリシー情報配付要求が来た場合には、ポリシー情報を配付する(ステップS26)。そして、資産管理装置2は、バックアップデータのリストア及びインベントリ情報の更新を行うリストア・インベントリ更新処理を行い(ステップS27)、回収モードをクリアするか否かを判断する回収モードクリア判断処理を行う(ステップS28)。
そして、資産管理装置2は、バックアップデータの回収モードをクリアしたか否かを判定し(ステップS29)、回収モードをクリアしていない場合には、ステップS23に戻る。
一方、回収モードをクリアした場合には、資産管理装置2は、データブロックを更新するデータブロック更新処理を行い(ステップS30)、配置適正判定処理を行う(ステップS31)。そして、資産管理装置2は、グルーピング処理を行い(ステップS32)、運用状態に移行する。
このように、資産管理装置2は、エージェント4からバックアップデータを回収することによって、資産管理DB21を復旧することができる。
次に、データブロック生成処理のフローについて説明する。図20は、データブロック生成処理のフローを示すフローチャートである。図20に示すように、データブロック生成部23は、全エージェントIDの一覧をインベントリ情報テーブルから取得する(ステップS41)。
そして、データブロック生成部23は、S42とS45で挟まれる処理をエージェント数分繰り返す。データブロック生成部23は、エージェントIDをキーにして、各テーブルから情報を取得する(ステップS43)。ここで、各テーブルとは、インベントリ情報テーブル、ポリシー情報テーブル、ライセンス情報テーブル、配信ソフトウェア情報テーブル、システム情報を記憶するテーブルである。ただし、システム情報を記憶するテーブルについては、データブロック生成部23は、エージェントIDをキーとするのではなく全ての情報を取得する。そして、データブロック生成部23は、取得した情報をファイルに出力し、該当エージェントのデータブロックとする(ステップS44)。
図21は、各データブロックに含まれる情報の一例を示す図である。図21に示すように、各データブロックには、エージェントID、インベントリ情報、ポリシー情報、ライセンス情報、配信ソフトウェア情報、システム情報が含まれる。インベントリ情報、ポリシー情報、ライセンス情報、配信ソフトウェア情報については、エージェントIDで識別されるエージェント4に対応付けられた情報であり、システム情報については全ての情報である。
例えば、エージェントA1のデータブロックには、エージェントIDとしてA1、インベントリ情報としてA1のインベントリ情報、ポリシー情報としてエージェントA1に配付されたポリシーP1の情報が含まれる。また、エージェントA1のデータブロックには、ライセンス情報としてエージェントA1に割り当てられたライセンスL1の情報、配信ソフトウェア情報としてエージェントA1に配信されたソフトウェアS1及びソフトウェアS2の情報が含まれる。また、エージェントA1のデータブロックには、全てのシステム情報が含まれる。
このように、資産管理装置2は、各エージェント4に対応させてデータブロックを生成することにより、データの大きさ単位ではなくエージェント単位でバックアップデータを分散配置することができる。したがって、資産管理装置2は、資産管理DB21を復旧する際に一部のエージェント4からバックアップデータを回収できない場合にも、稼働中のエージェント4だけで運用を再開することができる。
次に、配置適正判定処理のフローについて説明する。図22は、配置適正判定処理のフローを示すフローチャートである。図22に示すように、配置適正判定部24は、インベントリ情報テーブルから全エージェント4の情報を取得する(ステップS51)。そして、配置適正判定部24は、S52とS56で挟まれる処理をエージェント数分繰り返す。
配置適正判定部24は、エージェント4の保管適正度を判定する保管適正判定処理を行い(ステップS53)、エージェント4の回収適正度を判定する回収適正判定処理を行う(ステップS54)。そして、配置適正判定部24は、保管適正度と回収適正度から配置適正度を判定し、配置適正テーブルへ設定する(ステップS55)。
このように、配置適正判定部24は、保管適正度と回収適正度に基づいてエージェント4の配置適正度を判定することによって、配置適正度を各エージェント4について適切に判定することができる。
次に、保管適正判定処理のフローについて説明する。図23は、保管適正判定処理のフローを示すフローチャートである。図23に示すように、配置適正判定部24は、ディスク空き容量を判定し(ステップS61)、イベントログを判定する(ステップS62)。
そして、配置適正判定部24は、OS種別を判定し(ステップS63)、ポリシー受信履歴を判定する(ステップS64)。そして、配置適正判定部24は、ディスク空き容量、イベントログ、OS種別及びポリシー受信履歴の判定結果のうちいずれかの判定結果に×があるか否かを判定し(ステップS65)、×がある場合には、保管適正度を低とする(ステップS68)。
一方、×がない場合には、配置適正判定部24は、いずれかの判定結果に◎があるか否かを判定し(ステップS66)、◎がある場合には、保管適正度を高とし(ステップS69)、◎がない場合には、保管適正度を中とする(ステップS67)。
このように、配置適正判定部24は、ディスク空き容量、イベントログ、OS種別及びポリシー受信履歴に基づいて保管適正度を判定することにより、保管適正度を適切に判定することができる。
次に、回収適正判定処理のフローについて説明する。図24は、回収適正判定処理のフローを示すフローチャートである。図24に示すように、配置適正判定部24は、稼働率を判定し(ステップS71)、時間帯別稼働傾向を判定する(ステップS72)。
そして、配置適正判定部24は、PC種別を判定し(ステップS73)、リモート電源ON機能を判定し(ステップS74)、インベントリ収集履歴を判定する(ステップS75)。そして、配置適正判定部24は、稼働率、時間帯別稼働傾向、PC種別、リモート電源ON機能及びインベントリ収集履歴の判定結果のうちいずれかの判定結果に×があるか否かを判定する(ステップS76)。そして、×がある場合には、配置適正判定部24は、回収適正度を低とする(ステップS79)。
一方、×がない場合には、配置適正判定部24は、いずれかの判定結果に◎があるか否かを判定し(ステップS77)、◎がある場合には、回収適正度を高とし(ステップS80)、◎がない場合には、回収適正度を中とする(ステップS78)。
このように、配置適正判定部24は、稼働率、時間帯別稼働傾向、PC種別、リモート電源ON機能及びインベントリ収集履歴に基づいて回収適正度を判定することにより、回収適正度を適切に判定することができる。
次に、グルーピング処理のフローについて説明する。図25は、グルーピング処理のフローを示すフローチャートである。図25に示すように、グルーピング部25は、エージェント数を3で割った個数のグループを作成する(ステップS81)。なお、ここでは、各グループに属するエージェント数を3としたためエージェント数を3で割るが、エージェント数を他の数で割ってもよい。
そして、グルーピング部25は、配置適正テーブルから全エージェント4の配置適正度を取得し(ステップS82)、ステップS83とステップS89に挟まれる処理をグループ数分繰り返す。
そして、グルーピング部25は、グループに未所属で配置適正度が高のエージェント4があるか否かを判定し(ステップS84)、ある場合には、配置適正度が高のエージェント4をグループに割り振る(ステップS85)。グルーピング部25は、グループに未所属で配置適正度が中のエージェント4があるか否かを判定し(ステップS86)、ある場合には、配置適正度が中のエージェント4をグループに割り振る(ステップS87)。そして、グルーピング部25は、配置適正度が低のエージェント4をグループに割り振る(ステップS88)。
そして、グルーピング部25は、グループに未所属のエージェント数が2以下であるか否かを判定し(ステップS90)、グループに未所属のエージェント数が2以下でない場合には、ステップS83に戻る。
一方、グループに未所属のエージェント数が2以下である場合には、グルーピング部25は、グループに未所属のエージェントがあれば所属グループをランダムに決定する(ステップS91)。そして、グルーピング部25は、バックアップデータを冗長保管するグループを設定する冗長保管グループ設定処理を行い(ステップS92)、グルーピングテーブルに結果を設定する(ステップS93)。そして、グルーピング部25は、バックアップデータとしてグループデータを作成し(ステップS94)、バックアップデータにメタデータを付与する(ステップS95)。
このように、グルーピング部25は、配置適正度が高であるエージェント4から順にグループに割り振ることによって、グループの配置適正度を均等にすることができる。
次に、冗長保管先グループ設定処理のフローについて説明する。図26は、冗長保管先グループ設定処理のフローを示すフローチャートである。図26に示すように、グルーピング部25は、冗長度を1に初期設定する(ステップS101)。
そして、グルーピング部25は、冗長度がシステム冗長度より小さいか否かを判定し(ステップS102)、小さくない場合には、処理を終了する。ここで、システム冗長度とは、バックアップについて資産管理システム1に設定されている冗長度である。一方、冗長度がシステム冗長度より小さい場合には、グルーピング部25は、S103とS107で挟まれる処理をグループ数分繰り返す。
グルーピング部25は、冗長保管先をランダムに決定し、(ステップS104)、決定したグループが冗長保管先としてすでに登録されているか否かを判定する(ステップS105)。その結果、すでに登録されている場合には、グルーピング部25は、ステップS104に戻り、まだ登録されていない場合には、冗長保管先グループを設定する(ステップS106)。
そして、グルーピング部25は、グループ数分の処理が終了すると、冗長度に1を加え(ステップS108)、ステップS102に戻る。このように、グルーピング部25は、冗長保管先をランダムに決定することができる。
次に、データブロック更新処理のフローについて説明する。図27は、データブロック更新処理のフローを示すフローチャートである。図27に示すように、データブロック生成部23は、更新された情報と関係するエージェントIDを取得し(ステップS111)、インベントリ情報テーブルから該当エージェント4の情報を取得する(ステップS112)。
そして、データブロック生成部23は、S113とS116で挟まれる処理をエージェント数分繰り返す。データブロック生成部23は、エージェントIDをキーにして、各テーブルから情報を取得する(ステップS114)。ここで、各テーブルとは、インベントリ情報テーブル、ポリシー情報テーブル、ライセンス情報テーブル、配信ソフトウェア情報テーブル、システム情報を記憶するテーブルである。ただし、システム情報を記憶するテーブルについては、データブロック生成部23は、エージェントIDをキーとするのではなく全ての情報を取得する。そして、データブロック生成部23は、取得した情報をファイルに出力し、該当エージェントのデータブロックとする(ステップS115)。
このように、データブロック生成部23は、更新された情報と関係するエージェント4に対してだけデータブロックを生成することにより、効率よくデータブロックを更新することができる。
次に、リストア禁止処理のフローについて説明する。図28は、リストア禁止処理のフローを示すフローチャートである。図28に示すように、リストア部28は、更新された情報のIDを取得する(ステップS121)。
ここで、取得するIDとしては、ポリシーID、ライセンスID、ソフトウェアID及びシステムがある。そして、リストア部28は、リストア禁止テーブルに更新されたIDを設定する(ステップS122)。
このように、リストア部28は、更新された情報のIDをリストア禁止テーブルに設定することにより、復旧中に更新された情報がバックアップデータにより更新されることを防ぐことができる。
次に、リストア・インベントリ更新処理のフローについて説明する。図29は、リストア・インベントリ更新処理のフローを示すフローチャートである。図29に示すように、資産管理装置2は、インベントリ情報収集時にバックアップデータを回収する(ステップS131)。そして、リストア部28は、S132とS140で挟まれる処理を回収したデータブロック数分繰り返す。
リストア部28は、資産管理装置上に、回収データブロックと同じデータブロックが存在するか否かを判定し(ステップS133)、存在しない場合には、ステップS137に進む。
一方、存在する場合には、リストア部28は、データブロックの更新日時を比較し(ステップS134)、資産管理装置側が新しい場合には、S140に進み、当該データブロックの処理を終了する。一方、資産管理装置側が古い場合には、リストア部28は、S135とS138で挟まれる処理をデータブロック中の各情報分繰り返す。
リストア部28は、データブロック中の情報のIDがリストア禁止されているIDであるか否かを判定し(ステップS136)、リストア禁止されていない場合には、情報を資産管理DB21にリストアする(ステップS137)。
そして、データブロック中の各情報分繰り返しが終了すると、資産管理装置2は、資産管理装置上のデータブロックを回収データブロックに更新する(ステップS139)。そして、回収したデータブロック分の繰り返しが終了すると、資産管理装置2は、インベントリ情報を更新する(ステップS141)。
このように、資産管理装置2は、回収したデータブロックについて、データブロックの日時とリストア禁止情報に基づいてリストアすることによって、古いデータで新しいデータが更新されることを防ぐことができる。
次に、回収モードクリア判断処理のフローについて説明する。図30は、回収モードクリア判断処理のフローを示すフローチャートである。図30に示すように、リストア部28は、回収されたデータブロック数をカウントする(ステップS151)。
そして、リストア部28は、データブロックが90%以上回収されたか否かを判定し(ステップS152)、データブロックが90%以上回収された場合には、回収モードをクリアする(ステップS153)。
このように、リストア部28は、データブロックが90%以上回収された場合に、回収モードをクリアすることによって、バックアップデータの回収を完了することができる。なお、90%は一例であり、リストア部28は、他の値を用いてもよい。
次に、エージェントの導入時の処理のフローについて説明する。図31は、エージェントの導入時の処理のフローを示すフローチャートである。図31に示すように、利用者の指示に基づいて、クライアント装置3は、エージェント4をインストールする(ステップS161)。そして、エージェント4は、初回のインベントリ情報を送信し(ステップS162)、運用状態に移行する。
このように、クライアント装置3が利用者の指示に基づいてエージェント4をインストールすることによって、利用者は資産管理装置2を利用することができる。
次に、エージェント4の運用時又は復旧時の処理のフローについて説明する。図32は、エージェント4の運用時又は復旧時の処理のフローを示すフローチャートである。図32に示すように、エージェント4は、次のポリシー情報受信時間まで待機する(ステップS171)。ポリシー情報の受信は、通常180分間隔で行われるが、この間隔は設定により変えられる。
そして、ポリシー情報受信時間になると、エージェント4は、資産管理装置2へポリシー情報配付を要求し(ステップS172)、資産管理装置2からポリシー情報を受信する(ステップS173)。
そして、エージェント4は、資産管理装置2がバックアップデータの回収モードで動作しているか否かを判定する(ステップS174)。その結果、資産管理装置2が回収モードで動作していない場合には、エージェント4は、資産管理装置2からバックアップデータを受信するバックアップデータ受信処理を行う(ステップS175)。一方、資産管理装置2が回収モードで動作している場合には、エージェント4は、資産管理装置2へバックアップデータを送信する(ステップS176)。
そして、エージェント4は、資産管理装置2へインベントリ情報を送信する(ステップS177)。このように、エージェント4は、インベントリ情報を送信する際に、バックアップデータの送受信を行うことによって、効率よくバックアップデータを送受信することができる。
次に、バックアップデータ受信処理のフローについて説明する。図33は、バックアップデータ受信処理のフローを示すフローチャートである。図33に示すように、エージェント4は、資産管理装置2のメタデータと現在保管しているメタデータの更新日時を比較する(ステップS181)。そして、エージェント4は、資産管理装置2のバックアップデータが更新されているか否かを判定し(ステップS182)、更新されていない場合には、処理を終了する。
一方、資産管理装置2のバックアップデータが更新されている場合には、エージェント4は、ディスク空き容量が確保可能か否かを判定し(ステップS183)、確保可能でない場合には、バックアップを拒否する(ステップS186)。一方、ディスク空き容量が確保可能である場合には、エージェント4は、バックアップデータを受信し(ステップS184)、古いバックアップデータを削除する(ステップS185)。
このように、エージェント4は、メタデータを用いてバックアップデータが更新されているか否かを判断することによって、効率よくバックアップデータを受信することができる。
上述してきたように、実施例では、データブロック生成部23が各エージェント4に対応付けてデータブロックを生成し、配置適正判定部24が各エージェント4の配置適正度を判定する。そして、グルーピング部が、配置適正度に基づいてエージェント4をグルーピングし、グループに属する各エージェント4が保管するグループデータを各エージェント4に対応付けられたデータブロックから作成する。そして、ポリシー配付部26が、ポリシー情報を配付する際に、各エージェント4が保管するグループデータを冗長保管する他のグループデータとともにエージェント4に送信する。
したがって、資産管理システム1は、クライアント装置3にバックアップ情報を分散配置させることができる。また、資産管理システム1は、データを復旧する際に、一部のクライアント装置3だけが動作している場合にも、動作しているクライアント装置3から回収したバックアップデータに基づいて、動作することができる。また、資産管理システム1は、バックアップデータを効率よくクライアント装置3に送信することができる。
また、実施例では、資産管理装置2は、インベントリ情報を収集する際にバックアップデータを回収する。したがって、資産管理システム1は、バックアップデータを効率よくクライアント装置3から回収することができる。
また、実施例では、配置適正判定部24は、バックアップデータの保管に適する度合を示す保管適正度とバックアップデータの回収に適する度合を示す回収適正度とに基づいて配置適正度を算出する。したがって、資産管理装置2は、クライアント装置3の保管適正度を適切に判定することができる。
なお、実施例では、資産管理装置について説明したが、資産管理装置が有する構成をソフトウェアによって実現することで、同様の機能を有する資産管理プログラムを得ることができる。そこで、資産管理プログラムを実行するコンピュータについて説明する。
図34は、実施例に係る資産管理プログラムを実行するコンピュータのハードウェア構成を示す図である。図34に示すように、コンピュータ90は、メインメモリ91と、CPU(Central Processing Unit)92と、LAN(Local Area Network)インタフェース93と、HDD94とを有する。また、コンピュータ90は、スーパーIO(Input Output)95と、DVI(Digital Visual Interface)96と、ODD(Optical Disk Drive)97とを有する。
メインメモリ91は、プログラムやプログラムの実行途中結果などを記憶するメモリである。CPU92は、メインメモリ91からプログラムを読み出して実行する中央処理装置である。CPU92は、メモリコントローラを有するチップセットを含む。
LANインタフェース93は、コンピュータ90をLAN経由で他のコンピュータに接続するためのインタフェースである。HDD94は、プログラムやデータを格納するディスク装置であり、スーパーIO95は、マウスやキーボードなどの入力装置を接続するためのインタフェースである。DVI96は、液晶表示装置を接続するインタフェースであり、ODD97は、DVDの読み書きを行う装置である。
LANインタフェース93は、PCIエクスプレスによりCPU92に接続され、HDD94及びODD97は、SATA(Serial Advanced Technology Attachment)によりCPU92に接続される。スーパーIO95は、LPC(Low Pin Count)によりCPU92に接続される。
そして、コンピュータ90において実行される資産管理プログラムは、DVDに記憶され、ODD97によってDVDから読み出されてコンピュータ90にインストールされる。あるいは、資産管理プログラムは、LANインタフェース93を介して接続された他のコンピュータシステムのデータベースなどに記憶され、これらのデータベースから読み出されてコンピュータ90にインストールされる。そして、インストールされた資産管理プログラムは、HDD94に記憶され、メインメモリ91に読み出されてCPU92によって実行される。
また、本実施例では、資産管理装置2について説明したが、本発明はこれに限定されるものではなく、資産管理装置2によるデータバックアップ機能をだけを備えたバックアプ装置にも同様に適用することができる。
以上の実施例を含む実施形態に関し、さらに以下の付記を開示する。
(付記1)複数のクライアント装置上でそれぞれ動作するエージェントからの情報に基づき、前記複数のクライアント装置を管理する資産管理装置のデータをバックアップするバックアップ装置において、
前記複数のエージェントそれぞれについて、特定のエージェントから受信した情報、及び、前記資産管理装置が有する前記特定のエージェントの動作するクライアント装置に関する情報から、前記特定のエージェントに関連づけられたデータブロックを生成する生成部と、
前記複数のエージェントから受信した情報に基づき前記複数のクライアント装置の配置適正度をそれぞれ算出する算出部と、
前記複数のクライアント装置それぞれの前記配置適正度に基づき、前記複数のデータブロックを前記複数のクライアント装置に分散配置する配置部と、
を備えたことを特徴とするバックアップ装置。
(付記2)前記配置部は、前記配置適正度に基づき、前記複数のクライアント装置をグルーピングし、グループ内の各クライアント装置には、グループ内のクライアント装置で動作するエージェントに関連づけられたデータブロックを全て配置することを特徴とする付記1に記載のバックアップ装置。
(付記3)前記配置部は、資産管理に関するポリシー情報をクライアント装置に配付する際に、前記生成部により生成されたデータブロックを送信することで前記複数のデータブロックを前記複数のクライアント装置に分散配置することを特徴とする付記1に記載のバックアップ装置。
(付記4)前記エージェントから情報を収集する際に、前記配置部により分散配置されたデータブロックを回収する回収部をさらに備えたことを特徴とする付記1、2又は3に記載のバックアップ装置。
(付記5)前記配置部により分散配置されたデータブロックのうち一部のデータブロックを前記回収部が回収した段階で、前記資産管理装置が運用を開始することを特徴とする付記4に記載のバックアップ装置。
(付記6)前記算出部は、バックアップデータの保管に適する度合を示す保管適正度とバックアップデータの回収に適する度合を示す回収適正度とに基づいて前記配置適正度を算出することを特徴とする付記1〜5のいずれか1つに記載のバックアップ装置。
(付記7)複数のクライアント装置上でそれぞれ動作するエージェントからの情報に基づき、前記複数のクライアント装置を管理する資産管理装置のデータをバックアップするバックアップ装置によるバックアップ方法において、
前記複数のエージェントそれぞれについて、特定のエージェントから受信した情報、及び、前記資産管理装置が有する前記特定のエージェントの動作するクライアント装置に関する情報から、前記特定のエージェントに関連づけられたデータブロックを生成し、
前記複数のエージェントから受信した情報に基づき前記複数のクライアント装置の配置適正度をそれぞれ算出し、
前記複数のクライアント装置それぞれの前記配置適正度に基づき、前記複数のデータブロックを前記複数のクライアント装置に分散配置する
処理を含んだことを特徴とするバックアップ方法。
(付記8)複数のクライアント装置上でそれぞれ動作するエージェントからの情報に基づき、前記複数のクライアント装置を管理する資産管理装置のデータをバックアップするバックアッププログラムにおいて、
前記複数のエージェントそれぞれについて、特定のエージェントから受信した情報、及び、前記資産管理装置が有する前記特定のエージェントの動作するクライアント装置に関する情報から、前記特定のエージェントに関連づけられたデータブロックを生成し、
前記複数のエージェントから受信した情報に基づき前記複数のクライアント装置の配置適正度をそれぞれ算出し、
前記複数のクライアント装置それぞれの前記配置適正度に基づき、前記複数のデータブロックを前記複数のクライアント装置に分散配置する
処理をコンピュータに実行させることを特徴とするバックアッププログラム。
(付記9)複数のクライアント装置上でそれぞれ動作するエージェントからの情報に基づき、前記複数のクライアント装置を管理する資産管理装置のデータをバックアップするバックアッププログラムを記憶したコンピュータ読み取り可能記憶媒体において、
前記複数のエージェントそれぞれについて、特定のエージェントから受信した情報、及び、前記資産管理装置が有する前記特定のエージェントの動作するクライアント装置に関する情報から、前記特定のエージェントに関連づけられたデータブロックを生成し、
前記複数のエージェントから受信した情報に基づき前記複数のクライアント装置の配置適正度をそれぞれ算出し、
前記複数のクライアント装置それぞれの前記配置適正度に基づき、前記複数のデータブロックを前記複数のクライアント装置に分散配置する
処理をコンピュータに実行させることを特徴とするバックアッププログラムを記憶したコンピュータ読み取り可能記憶媒体。
(付記10)メモリと該メモリに接続されたCPUとを有するバックアップ装置において、
前記CPUに、
前記複数のエージェントそれぞれについて、特定のエージェントから受信した情報、及び、前記資産管理装置が有する前記特定のエージェントの動作するクライアント装置に関する情報から、前記特定のエージェントに関連づけられたデータブロックを生成し、
前記複数のエージェントから受信した情報に基づき前記複数のクライアント装置の配置適正度をそれぞれ算出し、
前記複数のクライアント装置それぞれの前記配置適正度に基づき、前記複数のデータブロックを前記複数のクライアント装置に分散配置する
処理を実行させることを特徴とするバックアップ装置。
1 資産管理システム
2 資産管理装置
3 クライアント装置
4 エージェント
5 ネットワーク
21 資産管理DB
22 インベントリ収集部
23 データブロック生成部
24 配置適正判定部
25 グルーピング部
26 ポリシー配付部
27 メタデータ記憶部
28 リストア部
41 ポリシー受信部
42 インベントリ送信部
90 コンピュータ
91 メインメモリ
92 CPU
93 LANインタフェース
94 HDD
95 スーパーIO
96 DVI
97 ODD

Claims (8)

  1. 複数のクライアント装置上でそれぞれ動作するエージェントからの情報に基づき、前記複数のクライアント装置を管理する資産管理装置のデータをバックアップするバックアップ装置において、
    前記複数のエージェントそれぞれについて、特定のエージェントから受信した情報、及び、前記資産管理装置が有する前記特定のエージェントの動作するクライアント装置に関する情報から、前記特定のエージェントに関連づけられたデータブロックを生成する生成部と、
    前記複数のエージェントから受信した情報に基づき前記複数のクライアント装置の配置適正度をそれぞれ算出する算出部と、
    前記複数のクライアント装置それぞれの前記配置適正度に基づき、前記複数のデータブロックを前記複数のクライアント装置に分散配置する配置部と、
    を備えたことを特徴とするバックアップ装置。
  2. 前記配置部は、前記配置適正度に基づき、前記複数のクライアント装置をグルーピングし、グループ内の各クライアント装置には、グループ内のクライアント装置で動作するエージェントに関連づけられたデータブロックを全て配置することを特徴とする請求項1に記載のバックアップ装置。
  3. 前記配置部は、資産管理に関するポリシー情報をクライアント装置に配付する際に、前記生成部により生成されたデータブロックを送信することで前記複数のデータブロックを前記複数のクライアント装置に分散配置することを特徴とする請求項1に記載のバックアップ装置。
  4. 前記エージェントから情報を収集する際に、前記配置部により分散配置されたデータブロックを回収する回収部をさらに備えたことを特徴とする請求項1、2又は3に記載のバックアップ装置。
  5. 前記配置部により分散配置されたデータブロックのうち一部のデータブロックを前記回収部が回収した段階で、前記資産管理装置が運用を開始することを特徴とする請求項4に記載のバックアップ装置。
  6. 前記算出部は、バックアップデータの保管に適する度合を示す保管適正度とバックアップデータの回収に適する度合を示す回収適正度とに基づいて前記配置適正度を算出することを特徴とする請求項1〜5のいずれか1つに記載のバックアップ装置。
  7. 複数のクライアント装置上でそれぞれ動作するエージェントからの情報に基づき、前記複数のクライアント装置を管理する資産管理装置のデータをバックアップするバックアップ装置によるバックアップ方法において、
    前記複数のエージェントそれぞれについて、特定のエージェントから受信した情報、及び、前記資産管理装置が有する前記特定のエージェントの動作するクライアント装置に関する情報から、前記特定のエージェントに関連づけられたデータブロックを生成し、
    前記複数のエージェントから受信した情報に基づき前記複数のクライアント装置の配置適正度をそれぞれ算出し、
    前記複数のクライアント装置それぞれの前記配置適正度に基づき、前記複数のデータブロックを前記複数のクライアント装置に分散配置する
    処理を含んだことを特徴とするバックアップ方法。
  8. 複数のクライアント装置上でそれぞれ動作するエージェントからの情報に基づき、前記複数のクライアント装置を管理する資産管理装置のデータをバックアップするバックアッププログラムにおいて、
    前記複数のエージェントそれぞれについて、特定のエージェントから受信した情報、及び、前記資産管理装置が有する前記特定のエージェントの動作するクライアント装置に関する情報から、前記特定のエージェントに関連づけられたデータブロックを生成し、
    前記複数のエージェントから受信した情報に基づき前記複数のクライアント装置の配置適正度をそれぞれ算出し、
    前記複数のクライアント装置それぞれの前記配置適正度に基づき、前記複数のデータブロックを前記複数のクライアント装置に分散配置する
    処理をコンピュータに実行させることを特徴とするバックアッププログラム。
JP2014072169A 2014-03-31 2014-03-31 バックアップ装置、バックアップ方法及びバックアッププログラム Expired - Fee Related JP6237413B2 (ja)

Priority Applications (2)

Application Number Priority Date Filing Date Title
JP2014072169A JP6237413B2 (ja) 2014-03-31 2014-03-31 バックアップ装置、バックアップ方法及びバックアッププログラム
US14/619,215 US20150278027A1 (en) 2014-03-31 2015-02-11 Backup apparatus, backup method, and storage medium that stores backup program

Applications Claiming Priority (1)

Application Number Priority Date Filing Date Title
JP2014072169A JP6237413B2 (ja) 2014-03-31 2014-03-31 バックアップ装置、バックアップ方法及びバックアッププログラム

Publications (2)

Publication Number Publication Date
JP2015194883A JP2015194883A (ja) 2015-11-05
JP6237413B2 true JP6237413B2 (ja) 2017-11-29

Family

ID=54190532

Family Applications (1)

Application Number Title Priority Date Filing Date
JP2014072169A Expired - Fee Related JP6237413B2 (ja) 2014-03-31 2014-03-31 バックアップ装置、バックアップ方法及びバックアッププログラム

Country Status (2)

Country Link
US (1) US20150278027A1 (ja)
JP (1) JP6237413B2 (ja)

Families Citing this family (3)

* Cited by examiner, † Cited by third party
Publication number Priority date Publication date Assignee Title
US10997313B2 (en) * 2016-11-10 2021-05-04 Hewlett-Packard Development Company, L.P. Traceability identifier
JP7056429B2 (ja) * 2018-07-18 2022-04-19 株式会社デンソー 履歴管理方法、及び履歴管理装置
CN109586955B (zh) * 2018-11-15 2022-02-25 广东微云科技股份有限公司 云终端的个性化配置备份和恢复方法及其系统

Family Cites Families (7)

* Cited by examiner, † Cited by third party
Publication number Priority date Publication date Assignee Title
US7185238B2 (en) * 2003-09-30 2007-02-27 Sap Ag Data loss prevention
US8418226B2 (en) * 2005-03-18 2013-04-09 Absolute Software Corporation Persistent servicing agent
US7546484B2 (en) * 2006-02-08 2009-06-09 Microsoft Corporation Managing backup solutions with light-weight storage nodes
EP2264601B1 (en) * 2008-03-31 2017-12-13 Fujitsu Limited Integrated configuration management device, disparate configuration management device, and backup data management system
JP2011237950A (ja) * 2010-05-07 2011-11-24 Fujitsu Ltd 情報処理装置、バックアップサーバ、バックアッププログラム、バックアップ方法及びバックアップシステム
US20140032733A1 (en) * 2011-10-11 2014-01-30 Citrix Systems, Inc. Policy-Based Application Management
US9774676B2 (en) * 2012-05-21 2017-09-26 Google Inc. Storing and moving data in a distributed storage system

Also Published As

Publication number Publication date
JP2015194883A (ja) 2015-11-05
US20150278027A1 (en) 2015-10-01

Similar Documents

Publication Publication Date Title
US10467095B2 (en) Engaging a delegate for modification of an index structure
US10698778B2 (en) Automated stalled process detection and recovery
US10678622B2 (en) Optimizing and scheduling maintenance tasks in a dispersed storage network
US10296613B2 (en) Management of log data
US10157018B2 (en) Using vault to track reception of slices
US10387382B2 (en) Estimating a number of entries in a dispersed hierarchical index
US9015527B2 (en) Data backup and recovery
US20090125751A1 (en) System and Method for Correlated Analysis of Data Recovery Readiness for Data Assets
US10409514B2 (en) IP multicast message transmission for event notifications
US9916551B1 (en) Business continuity optimization
CN101647006A (zh) 用于数据备份的方法和系统
US20160011944A1 (en) Storage and recovery of data objects
US11494271B2 (en) Dynamically updating database archive log dependency and backup copy recoverability
JP6237413B2 (ja) バックアップ装置、バックアップ方法及びバックアッププログラム
US12306699B2 (en) Systems, apparatuses, and methods for assessing recovery viability of backup databases
JP2007299284A (ja) ログ収集システム、クライアント装置、及びログ収集エージェント装置
US20200319971A1 (en) Automatic data preservation for potentially compromised encoded data slices
CN104391760B (zh) 一种数据备份的方法、服务器和系统
US20190102089A1 (en) Requester-associated storage entity data
US10440115B2 (en) Write intent messaging in a dispersed storage network
US20190166200A1 (en) Mechanism for representing system configuration changes as a series of objects writable to an object storage container
US20170230452A1 (en) Network optimized scan with dynamic fallback recovery
US10379744B2 (en) System for collecting end-user feedback and usability metrics
US20240289238A1 (en) System and method of providing system availability by preventing software crash due to recovery failure
US20240427672A1 (en) Data Synchronization in a Distributed Storage Network

Legal Events

Date Code Title Description
A621 Written request for application examination

Free format text: JAPANESE INTERMEDIATE CODE: A621

Effective date: 20170110

A977 Report on retrieval

Free format text: JAPANESE INTERMEDIATE CODE: A971007

Effective date: 20170920

TRDD Decision of grant or rejection written
A01 Written decision to grant a patent or to grant a registration (utility model)

Free format text: JAPANESE INTERMEDIATE CODE: A01

Effective date: 20171003

A61 First payment of annual fees (during grant procedure)

Free format text: JAPANESE INTERMEDIATE CODE: A61

Effective date: 20171016

R150 Certificate of patent or registration of utility model

Ref document number: 6237413

Country of ref document: JP

Free format text: JAPANESE INTERMEDIATE CODE: R150

LAPS Cancellation because of no payment of annual fees