JP6050293B2 - 飲料を調製するシステム、方法、及びカプセル - Google Patents

飲料を調製するシステム、方法、及びカプセル Download PDF

Info

Publication number
JP6050293B2
JP6050293B2 JP2014177305A JP2014177305A JP6050293B2 JP 6050293 B2 JP6050293 B2 JP 6050293B2 JP 2014177305 A JP2014177305 A JP 2014177305A JP 2014177305 A JP2014177305 A JP 2014177305A JP 6050293 B2 JP6050293 B2 JP 6050293B2
Authority
JP
Japan
Prior art keywords
capsule
lid
beverage
fluid
outlet
Prior art date
Legal status (The legal status is an assumption and is not a legal conclusion. Google has not performed a legal analysis and makes no representation as to the accuracy of the status listed.)
Active
Application number
JP2014177305A
Other languages
English (en)
Other versions
JP2015037557A (ja
Inventor
コルネリス ヤコブス ビーシェウヴェル アレンド
コルネリス ヤコブス ビーシェウヴェル アレンド
カメルベック ラルフ
カメルベック ラルフ
ユアン ゲラルド ヴァング コン
ユアン ゲラルド ヴァング コン
ブランド グイド
ブランド グイド
コルネリス コエリング ヘンドリク
コルネリス コエリング ヘンドリク
Original Assignee
コーニンクラケ ダウ エグバート ビー.ブイ.
コーニンクラケ ダウ エグバート ビー.ブイ.
Priority date (The priority date is an assumption and is not a legal conclusion. Google has not performed a legal analysis and makes no representation as to the accuracy of the date listed.)
Filing date
Publication date
Application filed by コーニンクラケ ダウ エグバート ビー.ブイ., コーニンクラケ ダウ エグバート ビー.ブイ. filed Critical コーニンクラケ ダウ エグバート ビー.ブイ.
Priority to JP2014177305A priority Critical patent/JP6050293B2/ja
Publication of JP2015037557A publication Critical patent/JP2015037557A/ja
Application granted granted Critical
Publication of JP6050293B2 publication Critical patent/JP6050293B2/ja
Active legal-status Critical Current
Anticipated expiration legal-status Critical

Links

Images

Landscapes

  • Apparatus For Making Beverages (AREA)
  • Tea And Coffee (AREA)

Description

本発明は、抽出可能な製品を用いて消費に適した所定量の飲料を調製するシステムであって、交換可能なカプセルと、交換可能なカプセルを保持するレセプタクル、及び交換可能なカプセルに圧力下で水等の一定量の流体を供給する流体定量吐出デバイスを備える装置とを備え、交換可能なカプセルは、周壁、第1の端部で前記周壁を閉じる底部、及び該底部の反対の第2の端部で前記周壁を閉じる蓋を備え、壁、底部、及び蓋は、抽出可能な製品を含む内部空間を囲み、底部は入口領域を備え、システムは、飲料を調製するために抽出可能な製品に流体を供給するために、流体定量吐出デバイスを入口領域と流体接続させるように構成され、蓋は出口領域を備え、システムは、カプセルから調製された飲料を排出して該飲料をカップ等の容器に供給するために、使用時に出口領域と流体連通する放出口を備える、システムに関する。
このようなシステムは、それ自体が既知である。特殊な種類のこれらの既知のシステムは、抽出可能な製品を含む気密シールされたカプセルを用いて飲料を調製するために用いられる。飲料の調製中、このような気密シールされたカプセルの入口領域が穿孔されることで、交換可能なカプセルの内部空間内の製品に圧力下で流体を供給する際に通す少なくとも1つの入口開口が提供される。内部空間に圧力下で流体を供給すると、カプセルの内部空間の圧力が上昇する。これがさらに、レセプタクルに存在する蓋穿孔手段にカプセルの出口領域を押し付ける。出口領域が蓋穿孔手段に十分な力で押し付けられると、出口領域が蓋穿孔手段に当たって裂けて、飲料がカプセルから出る際に通ることができる少なくとも1つの入口開口を作る。
しかしながら、上記の既知のシステムでは、カプセル内の抽出可能な製品において、例えば少なくとも1つの入口開口から少なくとも1つの出口開口まで流体流の優先経路が生じ得ることで、調製された飲料が望ましくない濃さになり且つ/又は調製された飲料の濃度がカプセルごとに異なる場合があることが分かっている。
上記システムを改善すること、より詳細には、上記問題を少なくとも軽減することが、本発明の目的である。
これに対して、本発明の第1の態様によれば、システムであって、レセプタクルが、抽出可能な製品に流体を供給する際に通す少なくとも1つの入口開口を作るために、代替のカプセル(alternative capsule)の、例えば既知のシステムの気密シールされたカプセルの、入口領域を穿孔することを意図した底部穿孔手段を備え、本発明によるシステムのカプセルの入口領域が、抽出可能な製品に流体を供給する際に通す入口フィルタを備え、該入口フィルタが、システムのカプセルが底部穿孔手段によって穿孔されずに底部が無傷のままになるように、使用の際に底部穿孔手段から離れて位置決めされる、システムが提供される。
したがって、カプセルを穿孔することなくカプセル内の抽出可能な製品に流体を供給することが可能である。したがって、入口フィルタは、流体がカプセルに供給される際に通ることができる任意に均一な入口領域を形成する。これにより、既知のシステムにおいて入口開口が穿孔される場合よりも大きな面積にわたって飲料がカプセルに入ることが可能であるため、カプセル内の抽出可能な製品中で優先流体経路が生じるおそれを減らして飲料濃度の再現性を高めるという利点が得られる。
さらに、入口フィルタを設けることで、装置からカプセルを取り出すときに抽出可能な製品の残渣がカプセルからこぼれる危険が減ることが分かっている。
好ましくは、交換可能なカプセルは、一定量の抽出可能な製品を含むため、1回使用分の飲料、好ましくは1杯分の飲料、例えば30ml〜200mlの調製された飲料を調製するのに適し且つそれを意図している。したがって、交換可能なカプセルは、1回使用分パックである。一実施の形態では、カプセルは、4グラム〜8グラム、好ましくは約7グラムの抽出可能な製品、例えば焙煎・粉砕したコーヒーを含む。
好ましくは、交換可能なカプセルは、1回使用後に使い捨てである。
本発明の第2の態様によれば、システムであって、レセプタクルが、飲料が代替カプセルから出る際に通ることができる少なくとも1つの出口開口を作るために、カプセル内の流体及び/又は飲料の圧力の影響下で代替のカプセルの、例えば既知のシステムの気密シールされたカプセルの、出口領域が十分に押し当たると該出口領域を穿孔することを意図した、蓋穿孔手段を備え、本発明によるシステムのカプセルの出口領域は、飲料が本発明によるシステムのカプセルから出る際に通ることができる出口フィルタを備え、蓋穿孔手段及び出口フィルタは、システムのカプセルが使用の際に蓋穿孔手段によって穿孔されずに蓋が無傷のままであるように、互いに適合される、システムが提供される。
したがって、出口フィルタは、飲料がカプセルから出る際に通ることができる任意に均一な出口領域を形成する。これにより、蓋を穿孔することによって出口開口が形成される場合よりも大きな面積にわたって飲料がカプセルから出ることが可能であるため、カプセル内の抽出可能な製品中で優先流体経路が生じるおそれを減らして飲料濃度の再現性を高めるという利点が得られる。さらに、カプセルが蓋穿孔手段によって穿孔されずに無傷のままであることにより、出口フィルタの出口開口を画定する出口フィルタの所定の細孔並びに/又は出口孔のサイズ及び分布が損なわれないため、出口開口が穿孔によって形成される場合のように出口開口のサイズ及び分布が偶然決まるのではないという利点が得られる。
さらに、出口フィルタを設けることで、装置からカプセルを取り出すときに抽出可能な製品の残渣がカプセルからこぼれる危険が減ることが分かっている。
さらに、抽出可能な製品が焙煎・粉砕されたコーヒーである場合、出口フィルタを設けることにより、飲料すなわちコーヒーをカップ等の容器に供給する前に出口フィルタがコーヒーから油を濾過することができるという利点が得られる。これは、コーヒーの味及び/又は品質に悪影響を及ぼす油をコーヒーから除去するのに有利であり得る。カフェストールは、血中コレステロール含有量を増やすと理解されているため、カフェストールをコーヒーから濾過することが特に有利である。したがって、出口フィルタを設けることで、消費者の健康に関してコーヒーの品質を改善することができる。
好ましくは、出口フィルタは、システムのカプセルが使用の際に蓋穿孔手段によって穿孔されずに蓋が無傷のままであるように、蓋穿孔手段に適合される。したがって、出口フィルタの規定要因のみを選択する必要がある。
好ましくは、出口フィルタは、システムのカプセルが使用の際に蓋穿孔手段によって穿孔されずに蓋が無傷のままであるほど十分に高い引裂き強度を有し且つ/又は十分に低い流れ抵抗を形成する。十分に高い引裂き強度を有し且つ/又は十分に低い流れ抵抗を形成する出口フィルタは、蓋穿孔手段に当たって裂けないことが分かっている。
本発明の第3の態様によれば、カプセルに、上述のような入口フィルタ及び出口フィルタの両方が設けられ得る。したがって、使用の際、カプセルは、底部穿孔手段によっても蓋穿孔手段によっても穿孔されないため、完全に無傷のままである。これにより、カプセル内の抽出可能な製品中で優先流体経路が生じるおそれを減らして飲料濃度の再現性をさらに高めるという利点が得られる。
好ましくは、入口フィルタは、濾紙等の多孔質シート、複数の入口開口が設けられている高分子フィルム等の箔、又はシステムのカプセルの底部に設けられている複数の入口開口によって形成される。したがって、入口フィルタは、単純な方法で設けることができる。
一実施の形態では、複数の入口開口は、箔又は底部の実質的に表面全体にわたってそれぞれ分配される。これにより、内部空間の実質的に断面全体にわたって流体を供給することができるという利点が得られる。したがって、抽出可能な製品が非常に均一に濡れる。
さらなる実施の形態では、複数の入口開口は、周壁に配置されている側部入口開口を含む。これにより、抽出可能な製品が少なくとも部分的に側部からも濡れるという利点が得られる。これにより、抽出可能な製品に流体を非常に均一に且つ制御下で供給することができるという利点が得られる。
好ましくは、出口フィルタは、濾紙等の多孔質シート、又は複数の開口が設けられている高分子フィルム等の箔、又は蓋に設けられている複数の開口によって形成される。したがって、出口フィルタは、単純な方法で設けることができる。また、出口フィルタのパラメータは、十分に高い引裂き強度を有し且つ/又は十分に低い流れ抵抗を形成する出口フィルタを提供するように容易に選択することができる。
例えば、一実施の形態では、出口フィルタは、濾紙のシートによって形成され得る。濾紙は、低価格の出口フィルタを提供する。さらに、密度、厚さ、及び/又はPE含有量等の濾紙のパラメータは、十分に高い引裂き強度を有し且つ/又は十分に低い流れ抵抗を形成する出口フィルタを提供するように容易に選択することができる。代替的な好ましい実施の形態では、出口フィルタは、複数の出口開口が設けられている高分子フィルムによって形成され得る。密度、厚さ、出口開口の数、出口開口のサイズ及び/又は形状等の高分子箔のパラメータは、十分に高い引裂き強度を有し且つ/又は十分に低い流れ抵抗を形成する出口フィルタを提供するように容易に選択することができる。
一実施の形態では、蓋穿孔手段は、非鋭利な穿孔面を有し得る。しかしながら、このような実施の形態では、代替カプセルは、非鋭利穿孔手段によって穿孔され得るが、本発明によるシステムのカプセルは、穿孔もされず引き裂かれもしないほど十分に高い引裂き強度を有し且つ/又は十分に低い流れ抵抗を形成する出口フィルタを有する。
蓋穿孔手段は、蓋が使用の際に当接する少なくとも1つのリッジを備える可能性がある。少なくとも1つのリッジは、使用の際に蓋の表面積のうち開いた第2の端部を覆う部分と一致するレセプタクルの表面の部分の少なくとも10%、場合によっては少なくとも25%を形成し得る。使用の際、蓋は、蓋の表面積のうち開いた第2の端部を覆う部分の少なくとも10%、好ましくは少なくとも25%にわたって少なくとも1つのリッジによって支持され得る。代替カプセルの蓋は、このような穿孔手段によって穿孔され得るが、本発明によるシステムのカプセルの出口フィルタのパラメータは、出口フィルタが穿孔もされず引き裂かれもしないほど十分に高い引裂き強度を有し且つ/又は十分に低い流れ抵抗を形成するように容易に選択され得る。
蓋穿孔手段及び/又は少なくとも1つのリッジは、鋭利ではない縁を備える可能性がある。場合によっては、縁は、少なくとも50μm、好ましくは少なくとも100μmの曲率半径を有する。代替カプセルの蓋は、このような穿孔手段によって穿孔され得るが、本発明によるシステムのカプセルの出口フィルタのパラメータは、出口フィルタが穿孔もされず引き裂かれもしないほど十分に高い引裂き強度を有し且つ/又は十分に低い流れ抵抗を形成するように容易に選択され得る。
一実施の形態では、複数の出口開口は、蓋の実質的に表面全体にわたって分配される。これにより、内部空間の実質的に断面全体にわたってカプセルから飲料を排出することができるという利点が得られる。したがって、飲料は、非常に均一に内部空間から流出することができる。
本発明のさらなる態様によれば、内部空間全体が抽出可能な製品によって占められる。これにより、流体がカプセルを通って流れるときに抽出可能な製品が内部空間内で変位できないため、優先経路が形成され得ないという利点が得られる。
好ましくは、底部は周壁と一体である。これにより、カプセルが、周壁、底部、及び例えばシート状の蓋を形成する概ねカップ状の構造から単に形成することができるという利点が得られる。蓋は、例えば、接着、溶接、折曲等によって周壁に接続され得る。
一実施の形態では、カプセルは、第1の端部に内方に延びるリムを備え、内方に延びるリムに底部が取り付けられる。したがって、入口フィルタを備える例えばシート状の底部をリムに接続することが可能である。したがって、カプセルの単純な構成が得られ得る。カプセルが第2の端部に内方に延びるリムを備え、内方に延びるリムに蓋が取り付けられる可能性もある。
一実施の形態では、カプセルは、第2の端部に外方に延びるリムを備え、外方に延びるリムに蓋が取り付けられる。したがって、出口フィルタを備える例えばシート状の蓋をリムに接続することが可能である。したがって、カプセルの単純な構成が得られ得る。カプセルが第1の端部に外方に延びるリムを備え、外方に延びるリムに底部が取り付けられる可能性もある。
特別な実施の形態では、カプセルは、使用前に入口フィルタをシールするために底部に少なくとも部分的に取り外し可能に接続されている底部シールをさらに備える。したがって、カプセルの使用前に入口フィルタを経て内部空間に空気が入ることが防止され得ることで、カプセル内の製品の貯蔵寿命が延びる。
特別な実施の形態では、カプセルは、使用前に出口フィルタをシールするために蓋に少なくとも部分的に取り外し可能に接続されている蓋シールをさらに備える。したがって、カプセルの使用前に出口フィルタを経て内部空間に空気が入ることが防止され得ることで、カプセル内の製品の貯蔵寿命が延びる。
本発明のさらなる態様によれば、蓋シールは、少なくとも1つの位置で蓋に取り付けられたまま内部空間内の流体圧力の影響下で蓋から部分的に剥離されるように構成される。したがって、蓋シールは、カプセルの使用者によってカプセルから取り外される必要はない。流体が内部空間に入ると、シールが蓋から部分的に剥がれて飲料が出口フィルタを通って流出できるようになるまで、圧力が上昇する。剥離可能な接続は、例えば、いわゆるピールシール(剥離シール)として形成され得る。蓋シールは、少なくとも1つの位置で蓋に永久に取り付けられているため、カプセルから完全に分離することはない。これには、使用済みのカプセルを廃棄するときに蓋シールが装置から自動的に廃棄されるという利点がある。
概して、周壁は、好ましくは底部と一体的に、濾紙等の、可撓性の任意に多孔質のシート又は箔によって形成され得る。したがって、非常に単純で任意に環境に優しいカプセルが提供され得る。
代替的に、周壁は実質的に剛性であり得る。これにより、カプセルが使用前に変形しやすくないため、問題なくカプセルがレセプタクルに嵌まることができるという利点が得られる。好ましくは、カプセルは、カプセルの剛性を高めるために周壁及び/又は底部と一体の強化リブを備える。
概して、周壁は、円筒形、半球形、円錐台形、又は六角形若しくは八角形等の多角形等の任意の形状を有し得る。
好ましくは、抽出可能な製品は、焙煎・粉砕したコーヒーを含む。したがって、カプセルは、カプセルに圧力下で所定量の湯を供給することによって所定量のコーヒーを調製するのに適している。
本発明のさらなる態様によれば、抽出可能な製品はタブレットに圧縮される。これにより、圧縮された抽出可能な製品タブレット中で優先流路が生じる危険が減るという利点が得られる。圧縮されたタブレットを用いる場合、抽出可能な製品をこぼす危険が大幅に減るため、カプセルから底部を省いてもよいことが理解されるであろう。
好ましくは、タブレットは、タブレットのうち入口領域に面する側から蓋の方向に延びる少なくとも1つの内腔(穴)を備える。このように、内腔は、タブレットを均一に濡らす注入手段を提供する。
抽出可能な製品は、好ましくは互いに異なる充填密度の複数のタブレットに凝縮されることも可能である。例えば、抽出可能な製品は、互いに異なる凝縮度を有するタブレットの単一スタック(積層体)として提供される可能性がある。例えば、凝縮度は、底部から蓋の方向にタブレットごとに高めることが可能である。このように、タブレットを完全に濡らす効果が底部から蓋の方向に増大することで、より下流のタブレットを濡らすときには各上流タブレットが適切にすでに濡れていることが確保されているため、抽出可能な製品の全容積の非常に均一な湿潤が得られる。
本発明は、飲料を調製する方法及び飲料を調製するカプセルにも関する。
次に、図面を参照して、引限定的な例を用いて本発明をさらに説明する。
飲料を調製する従来技術のシステムを示す。 飲料を調製する従来技術のシステムを示す。 飲料を調製する従来技術のシステムを示す。 本発明によるシステムの第1の実施形態を示す。 本発明によるカプセルの実施形態を示す。 本発明によるカプセルの実施形態を示す。 本発明によるカプセルの実施形態を示す。 本発明によるカプセルの実施形態を示す。 本発明によるカプセル2のさらなる実施形態の例を示す。 本発明によるカプセル2のさらなる実施形態の例を示す。 本発明によるカプセル2のさらなる実施形態の例を示す。 本発明によるカプセルのさらに別の実施形態の例を示す。 本発明によるカプセルのさらに別の実施形態の例を示す。
図1a〜図1cは、抽出可能な製品を用いて消費に適した所定量の飲料を調製する従来技術のシステム101を示す。システム101は、交換可能なカプセル102及び装置104を備える。装置104は、交換可能なカプセル102を保持するレセプタクル106を備える。図1a〜図1cでは、明確にするために、カプセル102とレセプタクル106との間に隙間が描かれている。使用の際、カプセル102がレセプタクル106と接触し得ることが理解されるであろう。一般に、レセプタクル106は、カプセル102の形状と相補的な形状を有する。装置104は、交換可能なカプセル102に例えば9バールの圧力下で水等の一定量の流体を供給する流体定量吐出デバイス108をさらに備える。
図1a〜図1cに示すシステム101において、交換可能なカプセル102は、周壁110、第1の端部114で周壁11000を閉じる底部112、及び底部112の反対の第2の端部118で周壁110を閉じる蓋116を備える。周壁110、底部112、及び蓋116は、抽出可能な製品を含む内部空間120を囲む。
図1a〜図1cのシステム101は、カプセル102を穿孔することを意図した底部穿孔手段122を備える。図1aは、後退位置にある底部穿孔手段122を示す。図1bは、抽出可能な製品に流体を供給する際に通す入口開口124を底部112に作るために伸長位置にある底部穿孔手段122を示す。図1a〜図1cでは、穿孔手段122は、内部空間120に収容されている抽出可能な製品に流体を供給する際に通すことができるボア126を備える。図1a〜図1cのシステム101は、カプセル102の蓋116を穿孔することを意図した、ここでは突起として具現されている蓋穿孔手段128をさらに備える。
図1a〜図1cに示すシステム101は、1杯のコーヒーを調製するために以下のように操作され、この場合、抽出可能な製品は、焙煎・粉砕したコーヒーである。
カプセル102を、レセプタクル106に入れる(図1aを参照)。入口開口124を作るために、底部穿孔手段を作動させてカプセル102の底部112を穿孔する(図1bを参照)。流体、ここでは圧力下の湯を、入口開口124を通して内部空間120内の抽出可能な製品に供給する。湯がコーヒー粉末を濡らし、所望の物質を抽出してコーヒー飲料を形成する。
内部空間120に圧力下で湯を供給している間、カプセル102内の圧力は上昇する。圧力の上昇は、蓋116を変形させて蓋穿孔手段128に押し付ける。圧力が特定のレベルに達すると、蓋116の引裂き強度を超え、蓋が蓋穿孔手段128に当たって破裂して出口開口130を作る(図1cを参照)。調製されたコーヒーは、出口開口130及びレセプタクル106の放出口(outlet)132から出ることになり、カップ(図示せず)等の容器に供給され得る。
図1a〜図1cに示すシステム101で飲料を調製している間、カプセル102の内部空間120内の抽出可能な製品中に優先流路が存在し得る。これらの優先経路は、入口開口124から出口開口130まで延び得る。生じ得るこのような優先経路の1つが、図1cに線PPで示されている。
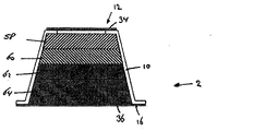
図2は、抽出可能な製品を用いて消費に適した所定量の飲料を調製する本発明によるシステム1の第1の実施形態の一例を示す。システム1は、交換可能なカプセル2及び装置104を備える。装置104は、交換可能なカプセル2を保持するレセプタクル106を備える。この例では、レセプタクル106は、カプセル2の形状と相補的な形状を有する。図2では、明確にするために、カプセル2とレセプタクル106との間に隙間が描かれている。使用の際、カプセル2がレセプタクル106と接触し得ることが理解されるであろう。装置104は、交換可能なカプセル2に圧力下で水等の一定量の流体を供給する流体定量吐出デバイス108をさらに備える。
図2に示すシステム1において、交換可能なカプセル2は、周壁10、第1の端部14で周壁10を閉じる底部12、及び底部12と反対側の第2の端部18で周壁10を閉じる蓋16を備える。周壁10、底部12、及び蓋16は、抽出可能な製品を含む内部空間20を囲む。この例では、交換可能なカプセル2は、1回使用分の飲料、好ましくは1杯分の飲料、例えば30ml〜200mlの調製された飲料を調製するのに適した一定量の抽出可能な製品を含む。したがって、交換可能なカプセルは、1回使用分パックである。
本発明の第1の態様によれば、図2のシステム1は、図1a〜図1cに示すような従来技術のカプセル102を穿孔することを意図した底部穿孔手段122を備える。図2は、従来技術のカプセル102の底部112に入口開口124を作ることを意図した、伸長位置にある底部穿孔手段を示す。本発明によれば、カプセル2が、底部穿孔手段122から離れて位置決めされる入口フィルタ34を備えることで、底部穿孔手段122を伸長位置にしたときに、カプセル2が底部穿孔手段によって穿孔されずに底部12が無傷のままになる。
図2では、穿孔手段122は、レセプタクル106の内部空間に流体が供給される際に通るボア126を備える。この例では1杯の飲料、ここではコーヒーを調製するために、抽出可能な製品、この例では約7グラムの焙煎・粉砕したコーヒーから所望の物質を抽出するために、流体、ここでは例えば6バールを超える圧力下の湯が、入口フィルタ34を通ってカプセル2の内部空間20に流入する。
したがって、より包括的には、図2の例では、底部12は、入口フィルタ34によって形成される入口領域を備え、システム1は、飲料を調製するために抽出可能な製品に流体を供給するために流体定量吐出デバイス108を入口領域と流体接続させるように構成される。
図2の例では、周壁10は実質的に剛性である。周壁は、例えばプラスチック材料を含むことができ、例えば射出成形、真空成形、熱成形等によって形成することができる。図2の例では、底部12は周壁と一体である。この例では、入口フィルタ34は、底部12の複数の入口開口24によって形成される。この例では、複数の入口開口24は、実質的に底部12全体にわたって分配される。したがって、流体が複数の入口開口24を経て抽出可能な製品に供給されることで、カプセル2の実質的に断面全体で抽出可能な製品を濡らす。こうして、抽出可能な製品への流体の非常に均一な供給が得られる。したがって、流体が抽出可能な製品を通って流れる際に経る優先経路が生じるおそれが大幅に減る。
上述の第1の態様又はそれと別個の態様に加えて実施され得る本発明の第2の態様によれば、図2のシステム1は、飲料が従来技術のカプセル102から出る際に通ることができる少なくとも1つの出口開口130を作るために、カプセル102内の流体及び/又は飲料の圧力の影響下で従来技術のカプセル102の蓋116が十分に押し当たると蓋116を穿孔することを意図した、蓋穿孔手段128を備える。本発明によれば、カプセル2は、飲料がカプセル2から出る際に通ることができる出口フィルタ36を備える。出口フィルタ36は、カプセル2内の圧力の影響下で蓋穿孔手段128によって穿孔されないほど十分に高い引裂き強度を有するように構成される。代替的に、又は付加的に、出口フィルタ36は、出口フィルタ36が蓋穿孔手段128によって穿孔されるのに十分な力で蓋穿孔手段128に対して押し付けられずに蓋が無傷のままであるほど、十分に低い流れ抵抗をカプセル2から出る飲料に対して形成する。したがって、出口フィルタ36は、カプセル2が使用の際に蓋穿孔手段128によって穿孔されずに蓋16が無傷のままであるように、蓋穿孔手段128に適合される。より包括的には、出口フィルタ36及び蓋穿孔手段128は、カプセル2が使用の際に蓋穿孔手段128によって穿孔されずに蓋16が無傷のままであるように、互いに適合される。
図2の例では、飲料、ここではコーヒーがカプセル2から出る際に通ることができるカプセルの出口領域を形成する出口フィルタ36は、濾紙等の多孔質シートによって形成される。この例では、蓋16全体が出口フィルタ36として形成される。図2の例では、カプセル2は、第2の端18に外方に延びるリム38を備え、蓋16は、例えば接着、溶接等によって外方に延びるリム38に取り付けられる。したがって、この例では、出口フィルタ36、すなわち多孔質シートは、外方に延びるリム38に取り付けられる。
この例では、出口フィルタ36は、カプセル2の開いた第2の端18の実質的に全体にわたって及ぶ実質的に連続した流体透過性のシートを形成する。したがって、大きな面積にわたってカプセル2から流体が出ることができる。こうして、抽出可能な製品からの飲料の非常に均一な排出が得られる。したがって、流体が抽出可能な製品を通って流れる際に経る優先経路が生じるおそれが大幅に減る。
概して、本発明によるシステム1のカプセル2の出口フィルタのパラメータは、出口フィルタが裂けることも破裂することもなく、例えば穿孔もされず引き裂かれもしないほど十分に高い引裂き強度を有し且つ/又は十分に低い流れ抵抗を形成するように選択され得る。蓋及び/又は出口フィルタは、蓋穿孔手段に対して変形し得るが、破裂することも裂けることもないことが理解されるであろう。出口フィルタ36が、例えば濾紙でできている場合、密度、厚さ、及び/又はPE含有量等の濾紙のパラメータは、十分に高い引裂き強度を有し且つ/又は十分に低い流れ抵抗を形成する出口フィルタを提供するように容易に選択することができる。代替的に、出口フィルタ36が、例えば複数の出口開口が設けられている高分子フィルムによって形成される場合、密度、厚さ、出口開口の数、出口開口のサイズ及び/又は形状等の高分子箔のパラメータは、十分に高い引裂き強度を有し且つ/又は十分に低い流れ抵抗を形成する第3の壁を提供するように容易に選択することができる。
図2の例では、蓋穿孔手段128は、蓋を穿孔することを意図した鋭利な歯先を有して示されている。代替的に、蓋穿孔手段128は、例えば図2に破線で示されているような非鋭利穿孔面を有していてもよいことが理解されるであろう。しかしながら、このような実施形態では、例えば蓋116がアルミニウム箔のシートから成る場合、従来技術のカプセル102は、非鋭利穿孔手段128によって穿孔され得る。本発明によるシステムのカプセル2の出口フィルタのパラメータは、出口フィルタが穿孔もされず引き裂かれもしないほど十分に高い引裂き強度を有し且つ/又は十分に低い流れ抵抗を形成するように選択され得る。蓋穿孔手段が非鋭利である場合、出口フィルタのパラメータがこれらの非鋭利穿孔手段に合うように選択され得ることが理解されるであろう。穿孔手段が非鋭利である場合、出口フィルタが穿孔もされず引き裂かれもしないほど十分に高い引裂き強度を有し且つ/又は十分に低い流れ抵抗を形成することを補償しつつ、例えば蓋穿孔手段が鋭利である場合よりも出口フィルタを薄くすることができる。
蓋穿孔手段は、蓋が使用の際に当接するリッジを備えることが可能である。このようなリッジは、図2に破線で示されているような非鋭利穿孔手段128によって形成され得る。リッジは、例えば、使用の際に蓋16の表面積のうち開いた第2の端部18を覆う部分と一致するレセプタクル106の表面の部分の少なくとも10%、場合によっては少なくとも25%を形成し得る。したがって、使用の際、蓋16は、蓋16の表面積のうち開いた第2の端18を覆う部分の、例えば少なくとも10%、好ましくは少なくとも25%にわたってリッジによって支持され得る。すでに示したように、従来技術のカプセル102の蓋116は、このようなリッジによって穿孔され得るが、本発明によるシステム1のカプセル2の出口フィルタ36の特性は、出口フィルタが穿孔もされず引き裂かれもしないほど十分に高い引裂き強度を有し且つ/又は十分に低い流れ抵抗を形成するように容易に選択され得る。蓋穿孔手段がリッジを備える場合、出口フィルタの特性がこのような蓋穿孔手段に合うように選択され得ることが理解されるであろう。
図2の例では、リッジは、鋭利ではない縁を備える。この例では、縁の曲率半径は約50μmであるが、100μm、200μm、又は500μm等、他の半径が考えられる。しかしながら、例えば蓋116がアルミニウム箔のシートから成る場合、従来技術のカプセル102は、非鋭利穿孔手段128によって穿孔され得る。蓋穿孔手段が鋭利ではない縁を備える場合、出口フィルタのパラメータたる特性がこのような蓋穿孔手段に合うように選択され得ることが理解されるであろう。本発明によるシステムのカプセル2の出口フィルタの特性は、出口フィルタが穿孔もされず引き裂かれもしないほど十分に高い引裂き強度を有し且つ/又は十分に低い流れ抵抗を形成するように容易に選択され得る。
蓋穿孔手段128のリッジは、蓋16が当接する凸状の頂部を有する可能性もある。したがって、蓋が使用時にリッジに押し付けられると、蓋がリッジによって支持される表面積が大きくなることで、リッジが蓋に加える局所圧力が減る。そのため、蓋が使用時に裂け且つ/又は破裂することがなく無傷のままとなるようにすることが容易に可能である。
図3a〜図3dは、本発明によるカプセル2の実施形態を示す。
図3aでは、図2のように、底部12が周壁10と一体である。入口フィルタ34は、底部12の複数の入口開口24によって形成される。出口フィルタ36は、複数の出口開口30が設けられている、箔40、例えば可撓性の高分子箔によって形成される。
図3bでは、図2のように、出口フィルタ36は、濾紙等の可撓性の多孔質シートによって形成される。図3bでは、入口フィルタ34も、濾紙等の可撓性の多孔質シートによって形成される。この例では、入口フィルタは、内方に延びるリム42に取り付けられる。この例では、入口フィルタ34は、内方に延びるリム42の内側に取り付けられる。これにより、リムの厚さがカプセル2の内部空間20に存在しないため、カプセル2の内部体積が最大になる。
図3cでは、図2及び図3bのように、出口フィルタ36は、濾紙等の可撓性の多孔質シートによって形成される。図3cでは、入口フィルタ34も、濾紙等の可撓性の多孔質シートによって形成される。この例では、入口フィルタ34は、内方に延びるリム42の外側に取り付けられる。したがって、圧力下の流体が内方に延びるリム42から入口フィルタ34を引裂く危険が減る。入口フィルタ34は、底部の周縁から張り出すことが可能である。したがって、入口フィルタ34を底部12及び周壁10に取り付けるのにより大きな表面積が利用可能である結果として、より強力な結合が得られる。
図3dでは、図3aのように、出口フィルタ36は、複数の出口開口30が設けられている、箔40、例えば可撓性の高分子箔によって形成される。図3dでは、入口フィルタ34も、複数の入口開口24が設けられている箔44によって形成される。
図3a〜図3dの全実施形態で、出口フィルタは、可撓性のシート状材料によって形成される。より詳細には、図3a〜図3dの全実施形態で、蓋は、可撓性のシート状材料のみによって形成される。概して、出口箔が裂け且つ/又は破裂するのを防止するために出口箔を支持するのに、例えば出口箔の下流で実質的に剛性のグリッド等の支持構造が必要ないことが分かっている。
図3b〜図3dの全実施形態で、入口フィルタは、可撓性のシート状材料によって形成される。より詳細には、図3b〜図3dの全実施形態で、入口領域は、可撓性のシート状材料のみによって形成される。概して、入口箔が裂け且つ/又は破裂するのを防止するために入口箔を支持するのに、例えば入口箔の下流で実質的に剛性のグリッド等の支持構造が必要ないことが分かっている。
図3a〜図3dの全実施形態で、出口フィルタは、カプセルの軸方向でその最外境界を形成する。
カプセル2は、図示の実施形態のいずれか1つによる出口フィルタと組み合わせて、図示の実施形態のいずれか1つによる任意の入口フィルタを備え得ることが理解されるであろう。図示されていないが、蓋は、出口開口30が設けられている実質的に剛性の壁を備えることが可能である。
概して、出口開口30又は多孔質シートの細孔は、開口30又は細孔の寸法がカプセル2内に粉砕したコーヒー等の抽出可能な製品を保持するのに十分なほど小さいように寸法決定される。同じく、概して、入口開口24又は多孔質シートの細孔は、開口24又は細孔の寸法がカプセル2内に粉砕したコーヒー等の抽出可能な製品を保持するのに十分なほど小さいように寸法決定される。
概して、入口開口24は、底部又は箔44の実質的に表面全体、少なくとも内方に延びるリム42によって画定される開口の実質的に表面全体にわたって分配されることが好ましい。任意に、入口開口24は、周壁10にも、例えば周壁10のうち第1の端部14に近い部分にも存在する。これは、カプセル2内の抽出可能な製品への流体の均一な供給を可能にする。
概して、出口開口30は、蓋又は箔40の実質的に表面全体、少なくとも外方に延びるリム38によって画定されるその開口の実質的に表面全体にわたって分配されることが好ましい。これは、カプセル2内の抽出可能な製品からの飲料の均一な排出を可能にする。
図2、図3a〜図3dの例では、入口開口24及び出口開口30は、円形の断面を有する。円形の断面を有する開口24、30は、製造しやすい。任意選択的には、入口開口24の断面は、内部空間20に向う方向にテーパ付けされる(狭められる)。これにより、入口開口が内部空間20に流体のジェットを導入するノズルとして機能するという利点が得られる。
入口開口24及び/又は出口開口30が代替的な形状を有することもできることが理解されるであろう。開口24、30は、例えば細長いスリットの形状を有し得る。好ましくは、スリットの小さな寸法は、カプセル2内に抽出可能な製品を保持するのに十分なほど小さい。
特別な実施形態では、スリットは、底部の平面に舌片を画定する形状を有し得る。この場合、スリットは、半円形、馬蹄形、矩形、又はV字形等の実質的にU字形であり得る。これには、舌片によって画定される開口を通る流体の流れの影響下で舌片が底部の平面から曲げられることができるという利点がある。したがって、より大きな体積流量の流体が得られ得る。底部が弾性材料でできている場合、流体の流れが止まると舌片が底部の平面に曲がり戻ることで、抽出可能な製品が飲料の調製(前)後にこぼれるのが防止される。舌片を画定するスリットが、必要な変更を加えて蓋に適用され得ることが理解されるであろう。
図4aは本発明によるカプセル2のさらなる実施形態の一例を示す。図4aは、図3aに示すカプセルの変更形態を示す。この変更形態は、上記で言及したいずれのカプセル2に適用してもよいことが理解されるであろう。図4aの例では、カプセル2は、底部シール46をさらに備える。底部シール46は、使用前に入口開口24(又は多孔質シート)を閉鎖する。底部シール46は、底部12に少なくとも部分的に取り外し可能に接続される。この例では、底部シール46は、カプセル2の使用者が底部シール46を取り外しやすいようするためにリップ48を備える。図4aでは、カプセル2は蓋シール50をさらに備える。蓋シール50は、使用前に出口開口30(又は多孔質シート)を閉鎖する。蓋シール50は、蓋16に少なくとも部分的に取り外し可能に接続される。この例では、蓋シール50は、カプセル2の使用者が蓋シール50を取り外しやすいようにするためにリップ52を備える。底部シール46及び蓋シール50は、開口24、30、又は多孔質シートを経てカプセルに空気が入るのを防止することによって、カプセル内の製品の貯蔵寿命を延ばす。
特別な実施形態(図示せず)では、底部シール46のリップ48は、蓋シール50のリップ52に接続される。したがって、底部シール46及び蓋シール50を一体型にすることができる。こうして、使用者が底部シール及び蓋シールの一方をうっかり取り外し忘れるのを防止することができる。
図4b及び図4cは、蓋16の側から見た場合のカプセル2のさらなる実施形態の平面図の一例を示す。図4b及び図4cでは、カプセルは蓋シール50を備える。蓋シール50は、剥離可能なシール54で蓋16に取り付けられる。この例では、剥離可能なシールは、蓋16の周縁に隣接して円周方向シールを形成する。剥離可能なシール54は、内部空間20内の流体圧力の影響下で蓋16から剥離されるように構成される。剥離可能なシールは、例えば、所定の剥離強度のピールシールであり得る。したがって、飲料の調製中に蓋シール50が自動的に開かれるため、使用者がカプセル2からこのシールを取り外す必要がない。
図4b及び図4cでは、蓋シール50は、永久接続部56で蓋16にさらに取り付けられる。永久接続部は、例えば接着又は溶接接続部であり得る。図4bでは、永久接続部は、蓋の中心に隣接して位置決めされる。図4cでは、永久接続部56は、蓋の周縁に隣接して位置決めされる。これにより、蓋シール50が少なくとも1つの位置で蓋16に取り付けられたままで、カプセルからの飲料の排出を可能にするために剥離可能なシールが圧力の影響下で剥離され得るという利点が得られる。したがって、蓋シール50を別個に廃棄する必要がないことで使いやすさが向上し、紛失し得ない。
蓋に取り付けられる代わりに、又は蓋に取り付けられることに加えて、蓋シール50を第2の端18の近くに位置付けられているリムに且つ/又は周壁14に取り付けることもできることが理解されるであろう。
カプセル2には、同様に代替的に、又は付加的に、底部シール46が設けられてもよく、底部シール46は、例えば、底部12の内側に位置決めされ、カプセル2に供給される流体の圧力の影響下で底部12から剥離されるように構成され、且つ任意に底部と底部シール46との間に少なくとも1つの永久接続部が設けられ得ることが理解されるであろう。底部12に取り付けられる代わりに、又は底部12に取り付けられることに加えて、底部シール46は、第1の端部14の近くに位置決めされているリムに且つ/又は周壁14に取り付けられることもできることが理解されるであろう。
蓋シール50及び/又は底部シール46は、代替のカプセルと共に用いることもでき、蓋がカプセルの軸方向においてその最外境界を形成しないようにすること、例えば、蓋を越えて延在する軸方向延在リムをカプセルが有することも理解されるであろう。
周壁は好適には実質的に剛性である。したがって、カプセルが輸送及び/又は取り扱いによって容易に変形してしまうことがないため、カプセル2は常にレセプタクル106に嵌まる。また、周壁の変形が生じ得るとしても、変形を引き起こす力が除去されると元に戻るように周壁が弾性であることが好ましい。カプセル2の剛性を高めるために、カプセル2は、周壁10と一体の強化リブを備え得る。強化リブは、第1の端部14から第2の端部18に向かって延在するようにすることができる。代替的に、又は付加的に、強化リブは円周方向に延在するようにしてもよい。底部12が周壁10と一体である場合、強化リブも底部12と一体とすることができる。
また、周壁を、好ましくは底部と一体的に、可撓性の、例えば多孔質のシート又は箔によって形成することが可能である。したがって、実質的にカプセル全体が可撓性シートから製造され得ることで、カプセルを提供するのに必要な材料の量が減る。任意選択的に、外方に延びるリムは、カプセルの取り扱いやすさを向上させるために実質的に剛性であり得る。
これらの例では、周壁は実質的に円錐台形である。本発明によるカプセルがこの形状に限定されないことが理解されるであろう。周壁は、例えば、円筒形、半球形、又は六角形、八角形等の多角形であり得る。
本発明のさらなる態様によれば、内部空間20内の抽出可能な製品は凝縮される。図5aは、抽出可能な製品が複数の、この例では4つのタブレット58、60、62、64に凝縮される例を示す。図5aでは、タブレットは内部空間20内に積み重ねられる。図5aでは、各タブレット58、60、62、64は、カプセル2の実質的に断面全体にわたって及ぶ。この例では、タブレットの密度すなわち凝縮度は、タブレットごとに異なる。タブレット58、60、62、64の密度は、底部12から蓋16の方向に高くなる。流体は高密度のタブレットよりも低密度のタブレットの方をよりたやすく湿らすため、これにより、水が後続の下流タブレットを濡らすときに各上流タブレットが適切に濡れているという利点が得られる。したがって、抽出可能な製品の非常に均一な湿潤が達成される。この例は、4つの積み重ねたタブレットを示しているが、いかなる数のタブレットを用いてもよいことが理解されるであろう。
図5bは、凝縮された抽出可能な製品の単一のタブレット66を含むカプセル2の例を示す。図5bの例では、タブレット66は、タブレット66のうち底部12に面する側から蓋16の方向に向けてタブレット66内に延在する内腔(穴)68を備える。内腔68の長さは、内腔68に沿う方向のタブレット66の厚さよりも短い。したがって、内腔68は、タブレット66を通る流体の近道通路を形成するのではなく、流体がタブレット66の中核であるコアに入る通路を提供する。これらの内腔は、タブレットへの流体の所定の浸透を可能にする。したがって、凝縮された抽出可能な製品の好ましい湿潤が達成され得る。
図5a及び図5bの例では、カプセルの入口フィルタ34及び出口フィルタ36は、実質的に図3cに示すようなものである。タブレット66又は複数のタブレット58、60、62、64が、上記で言及したいずれかのカプセル2と共に用いられ得ることが理解されるであろう。抽出可能な製品がタブレット(複数可)に凝縮される場合、抽出可能な製品が使用前にカプセルからこぼれる可能性が低いため、カプセルの底部12が厳密には必要ないことも理解されるであろう。
上記で言及したカプセル2は、飲料を調製する代替的な装置で、例えば、底部穿孔手段が設けられておらず且つ/又は蓋穿孔手段が設けられていない装置で用いることもできることが理解されるであろう。
上記明細書において、本発明は、本発明の実施形態の特定の例を参照して説明されている。しかしながら、添付の特許請求の範囲に記載のような本発明のより広範な精神及び範囲から逸脱せずに、本発明にさまざまな変更及び変化を加えることができることが明らかであろう。
例えば、貯蔵寿命を延ばすために、使用前にカプセル2が気密包装に収容されることも可能である。
カプセル体積を増大させるために、底部を穿孔せずに底部穿孔手段を受け入れる凹状領域を底部が備えることも可能である。
上記例では、出口フィルタが蓋を形成する。出口フィルタが蓋の一部を形成することも可能である。蓋は、例えば、部分的に多孔質であっても及び/又は部分的に孔をあけているものであってもよい。
上記例では、入口フィルタが底部を形成する。入口フィルタが底部の一部を形成することも可能である。底部は、例えば、部分的に多孔質及び/又は部分的に孔を開けたものであってもよい。
しかしながら、他の変更形態、変形形態、及び代替形態も可能である。したがって、本明細書、図面、及び例は、限定的な意味ではなく例示的なものとみなすべきである。
特許請求の範囲では、括弧間に入る参照記号は、特許請求の範囲を限定するものとして解釈されるものではない。「備える」という語は、請求項に挙げられたもの以外の特徴又はステップの存在を除外するものではない。さらに、「1つの」という語は、「1つだけ」に限定されると解釈されるものではなく、「少なくとも1つ」を意味するために用いられ、複数を除外するものではない。互いに異なる請求項で特定の手段が述べられているということだけでは、これらの手段の組み合わせを有利に用いることができないことを示すことにはならない。

Claims (48)

  1. 抽出可能な製品を用いて消費に適した所定量の飲料を調製するカプセルであって、
    周壁、第1の端部で該周壁を閉じる底部、及び該底部の反対の第2の端部で前記周壁を閉じる蓋を備え、前記壁、前記底部、及び前記蓋は、前記抽出可能な製品を含む内部空間を囲み、
    前記底部は、前記飲料を調製するために前記抽出可能な製品に圧力下で流体を供給する際に通すように構成される入口領域を備え、
    前記蓋は、該カプセルから調製された前記飲料を排出する際に通す出口領域を備え、
    該カプセルの前記入口領域は、前記抽出可能な製品に前記流体を供給する際に通す入口フィルタを備え、前記入口フィルタは、前記カプセルの前記底部に設けられている複数の開口によって形成され、
    該カプセルは、使用前に該入口フィルタをシールするために、前記底部に、該第1端部の近くに置かれた任意的なリムに、及び/又は前記周囲壁に、少なくとも部分的に取り外し可能に接続されている底部シールをさらに備え、前記底部シールは該入口開口を閉鎖
    前記出口領域は、前記飲料が前記カプセルから出る際に通ることができる出口フィルタを備え、前記カプセルはさらに、使用前に前記出口フィルタをシールするために、前記蓋に、前記カプセルの該第2端部の近くに置かれた任意的なリムに、及び/又は前記周囲壁に、少なくとも部分的に取り外し可能に接続されている蓋シールを備え、もし該任意的なリムが存在する場合は、該任意的なリムは該第2端部で外方へ延在し、前記蓋は外方に向けて延在するリムに接続され、
    前記底部シールは、該カプセルの使用者によって前記底部シールが容易に取り外し可能にするためにリップを備えていること、前記蓋シールは、該カプセルの使用者によって前記蓋シールが容易に取り外し可能にするためにリップを備えていること、および前記底部シールの該リップは、前記蓋シールの該リップに接続されていることを特徴とする、
    上記カプセル。
  2. 前記底部シールと前記蓋シールは一体型にされている、請求項1に記載のカプセル。
  3. 前記蓋シールは、永久接続部で前記蓋にさらに取り付けられる、請求項1または2に記載のカプセル。
  4. 前記接続部は、接着又は溶接接続部である、請求項に記載のカプセル。
  5. 前記永久接続部は、前記蓋の中心に隣接している、請求項またはに記載のカプセル。
  6. 前記永久接続部は、前記蓋の周縁に隣接している、請求項またはに記載のカプセル。
  7. 前記複数の入口開口は、前記底部の実質的に表面全体にわたって分配されている、請求項1に記載のカプセル。
  8. 前記入口開口はスリットである、請求項に記載のカプセル。
  9. 前記出口フィルタは、前記カプセルの軸方向においてカプセルの最外境界を形成する、請求項1〜8のいずれか1項に記載のカプセル。
  10. 前記出口フィルタは、
    濾紙等の可撓性の多孔質シート、又は
    複数の出口開口が設けられている高分子フィルム等の可撓性の箔、又は
    前記蓋に設けられている複数の出口開口、
    によって形成される、請求項1〜9のいずれか1項に記載のカプセル。
  11. 前記複数の出口開口は、前記蓋の実質的に表面全体にわたって分配されている、請求項10に記載カプセル。
  12. 前記底部は前記周壁と一体である、請求項1〜11のいずれか1項に記載のカプセル。
  13. 前記カプセルは、前記第1の端部において内方に延在するリムを備え、前記底部は、前記内方に延在するリムに取り付けられる、又は前記カプセルは、前記第1の端部において外方に延在するリムを備え、前記底部は、前記外方に延在するリムに取り付けられる、請求項1〜11のいずれか1項に記載のカプセル。
  14. 前記入口フィルタは、前記内方に延在するリムに取り付けられる、請求項13に記載のカプセル。
  15. 前記カプセルは、前記第2の端において外方に延在するリムを備え、前記蓋は、前記外方に延在するリムに取り付けられる、請求項1〜14のいずれか1項に記載のカプセル。
  16. 前記出口フィルタは、前記外方に延在するリムに取り付けられる、請求項15に記載のカプセル。
  17. 前記底部及び/又は前記蓋は前記周壁まで延在する、請求項1〜16のいずれか1項に記載のカプセル。
  18. 前記入口フィルタ及び/又は前記出口フィルタは前記周壁まで延在する、請求項17に記載のカプセル。
  19. 前記周壁は、シート又は箔によって形成される、請求項1〜18のいずれか1項に記載のカプセル。
  20. 前記周壁は、前記底部と一体的である、引用文献19に記載のカプセル。
  21. 前記周壁は実質的に剛性である、請求項1〜20のいずれか1項に記載のカプセル。
  22. 前記周壁及び/又は前記底部と一体の強化リブを備える、請求項21に記載のカプセル。
  23. 前記周壁は、円筒形、半球形、円錐台形、又は六角形若しくは八角形等の多角形である、請求項1〜22のいずれか1項に記載のカプセル。
  24. 前記抽出可能な製品は焙煎・粉砕したコーヒーを含み、前記コーヒーの調製中に、前記出口フィルタを用いてコーヒーからカフェストール成分を少なくとも部分的に除去するために、請求項に記載のカプセルを使用する方法。
  25. 抽出可能な製品を用いて消費に適した所定量の飲料を調製するシステムであって、
    請求項1〜23のいずれか1項に記載の交換可能なカプセルと、
    前記交換可能なカプセルを保持するレセプタクル、及び前記交換可能なカプセルに圧力下で水等の一定量の流体を供給する流体定量吐出デバイスを備える装置と、
    を備え、
    該システムは、前記飲料を調製するために前記抽出可能な製品に前記流体を供給するために、前記流体定量吐出デバイスを前記入口領域と流体接続させるように構成され、
    該システムは、前記カプセルから調製された前記飲料を排出して該飲料をカップ等の容器に供給するために、使用時に前記出口領域と流体連通する放出口を備え、
    前記レセプタクルは、少なくとも1つの入口開口を形成して前記流体を該少なくとも1つの入口開口を通して抽出可能な製品に供給するために、代替のカプセルの入口領域を穿孔することを意図した底部穿孔手段を備え、
    前記入口フィルタは、該システムの前記カプセルが前記底部穿孔手段によって穿孔されずに前記底部が無傷のままになるように、使用の際に前記底部穿孔手段から離れて位置決めされる、システム。
  26. 抽出可能な製品を用いて消費に適した所定量の飲料を調製するシステムであって、
    請求項1〜23のいずれか1項に記載の交換可能なカプセルと、
    前記交換可能なカプセルを保持するレセプタクル、及び前記交換可能なカプセルに圧力下で水等の一定量の流体を供給する流体定量吐出デバイスを備える装置と、
    を備え、
    該システムは、前記飲料を調製するために前記抽出可能な製品に前記流体を供給するために、前記流体定量吐出デバイスを前記入口領域と流体接続させるように構成され、
    前記システムは、前記カプセルから調製された前記飲料を排出して該飲料をカップ等の容器に供給するために、使用時に前記出口領域と流体連通する放出口を備え、
    前記レセプタクルは、前記飲料が代替のカプセルから出る際に通ることができる少なくとも1つの出口開口を作るために、前記カプセル内の前記流体及び/又は前記飲料の圧力の影響下で前記代替のカプセルの前記出口領域が蓋穿孔手段に十分に押し当たると該出口領域を穿孔することを意図した、蓋穿孔手段を備え、
    前記蓋穿孔手段及び前記出口フィルタは、該システムの前記カプセルが使用の際に前記蓋穿孔手段によって穿孔されずに前記蓋が無傷のままであるように、互いに適合される、システム。
  27. 上記底部シールは、使用前に上記カプセルから取り外し可能である、請求項25に記載のシステム。
  28. 上記蓋シールは、使用前に上記カプセルから取り外し可能である、請求項26に記載のシステム。
  29. 上記底部シールおよび上記蓋シールは、使用前に上記カプセルから取り外し可能である、請求項27または28に記載のシステム。
  30. 抽出可能な製品を用いて消費に適した所定量の飲料を調製するシステムであって、
    請求項1〜23のいずれか1項に記載の交換可能なカプセルと、
    前記交換可能なカプセルを保持するレセプタクル、及び前記交換可能なカプセルに圧力下で水等の一定量の流体を供給する流体定量吐出デバイスを備える装置と、
    を備え、
    該システムは、前記飲料を調製するために前記抽出可能な製品に前記流体を供給するために、前記流体定量吐出デバイスを前記入口領域と流体接続させるように構成され、
    前記システムは、前記カプセルから調製された前記飲料を排出して該飲料をカップ等の容器に供給するために、使用時に前記出口領域と流体連通する放出口を備え、
    前記レセプタクルは、少なくとも1つの入口開口を形成して前記流体を該少なくとも1つの入口開口を通して抽出可能な製品に供給するために、前記システムにまた属している代替のカプセルの入口領域を穿孔することを意図した底部穿孔手段を備え、
    前記入口フィルタは、該システムの前記交換可能なカプセルが前記底部穿孔手段によって穿孔されずに前記底部が無傷のままになるように、使用の際に前記底部穿孔手段から離れて位置決めされる、システム。
  31. 記レセプタクルは、前記飲料が代替のカプセルから出る際に通ることができる少なくとも1つの出口開口を作るために、前記カプセル内の前記流体及び/又は前記飲料の圧力の影響下で前記代替のカプセルの前記出口領域が蓋穿孔手段に十分に押し当たると該出口領域を穿孔することを意図した、蓋穿孔手段を備え、
    前記蓋穿孔手段及び前記出口フィルタは、前記システムの前記交換可能なカプセルが使用の際に前記蓋穿孔手段によって穿孔されずに前記蓋が無傷のままであるように、互いに適合される、請求項25または30に記載のシステム。
  32. 抽出可能な製品を用いて消費に適した所定量の飲料を調製するシステムであって、
    請求項1〜23のいずれか1項に記載の交換可能なカプセルと、
    前記交換可能なカプセルを保持するレセプタクル、及び前記交換可能なカプセルに圧力下で水等の一定量の流体を供給する流体定量吐出デバイスを備える装置と、
    を備え、
    該システムは、前記飲料を調製するために前記抽出可能な製品に前記流体を供給するために、前記流体定量吐出デバイスを前記入口領域と流体接続させるように構成され、
    前記システムは、前記カプセルから調製された前記飲料を排出して該飲料をカップ等の容器に供給するために、使用時に前記出口領域と流体連通する放出口を備え、
    前記レセプタクルは、前記飲料が代替のカプセルから出る際に通ることができる少なくとも1つの出口開口を作るために、前記カプセル内の前記流体及び/又は前記飲料の圧力の影響下で、前記システムにまた属する前記代替のカプセルの前記出口領域が十分に押し当たると該出口領域を穿孔することを意図した、蓋穿孔手段を備え、
    前記蓋穿孔手段及び前記出口フィルタは、前記システムの前記交換可能なカプセルが使用の際に前記蓋穿孔手段によって穿孔されずに前記蓋が無傷のままであるように、互いに適合される、システム。
  33. 記レセプタクルは、少なくとも1つの入口開口を形成して前記流体を該少なくとも1つの入口開口を通して抽出可能な製品に供給するために、代替のカプセルの入口領域を穿孔することを意図した底部穿孔手段を備え、
    前記入口フィルタは、該システムの前記交換可能なカプセルが前記底部穿孔手段によって穿孔されずに前記底部が無傷のままになるように、使用の際に前記底部穿孔手段から離れて位置決めされる、請求項26または32に記載のシステム。
  34. 上記底部シールは、使用前に前記カプセルから取り外し可能である、請求項3031または33のいずれか1項に記載のシステム。
  35. 上記蓋シールは、使用前に前記カプセルから取り外し可能である、請求項3133のいずれか1項に記載のシステム。
  36. 上記底部シールおよび上記蓋シールは、使用前に上記カプセルから取り外し可能である、請求項34または35に記載のシステム。
  37. 抽出可能な製品を用いて消費に適した所定量の飲料を調製する方法であって、
    請求項1〜23のいずれか1項に記載の交換可能なカプセルを設けること、
    前記交換可能なカプセルを保持するレセプタクル、前記交換可能なカプセルに圧力下で水等の一定量の流体を供給する流体定量吐出デバイス、及び前記カプセルから調製された前記飲料を排出して該飲料をカップ等の容器に供給するために、使用時に前記カプセルと流体連通する放出口を備える装置を設けること、但し前記レセプタクルは、少なくとも1つの入口開口を形成して前記流体を該少なくとも1つの入口開口を通して抽出可能な製品に供給するために、代替のカプセルの入口領域を穿孔することを意図した底部穿孔手段を備える、並びに
    前記飲料を調製するために前記抽出可能な製品に前記流体を供給すること、
    ここで、該入口フィルタは、前記システムの前記カプセルが前記底部穿孔手段によって穿孔されずに前記底部が無傷のままになるように、使用の際に前記底部穿孔手段から離れて位置決めされる、
    を含む、方法。
  38. 抽出可能な製品を用いて消費に適した所定量の飲料を調製する方法であって、
    請求項1〜23のいずれか1項に記載の交換可能なカプセルを設けること、
    前記交換可能なカプセルを保持するレセプタクル、前記交換可能なカプセルに圧力下で水等の一定量の流体を供給する流体定量吐出デバイス、及び前記カプセルから調製された前記飲料を排出して該飲料をカップ等の容器に供給するために、使用時に前記カプセルと流体連通する放出口を備える装置を設けること、但し前記レセプタクルは、前記飲料が代替カプセルから出る際に通ることができる少なくとも1つの出口開口を作るために、前記カプセル内の前記流体及び/又は前記飲料の圧力の影響下で前記代替のカプセルの前記蓋が蓋穿孔手段に十分に押し当たると該蓋を穿孔することを意図した、該蓋穿孔手段を備える、並びに
    前記飲料を調製するために前記抽出可能な製品に前記流体を供給すること、
    ここで、前記蓋穿孔手段及び前記出口フィルタは、前記システムの前記カプセルが使用の際に前記蓋穿孔手段によって穿孔されずに前記蓋が無傷のままであるように、互いに適合される、
    を含む、方法。
  39. 上記底部シールは、使用前に前記カプセルから取り外し可能である、請求項37に記載の方法。
  40. 上記蓋シールは、使用前に前記カプセルから取り外し可能である、請求項38に記載の方法。
  41. 上記底部シールおよび上記蓋シールは、使用前に上記カプセルから取り外し可能である、請求項39または40に記載の方法。
  42. 抽出可能な製品を用いて消費に適した所定量の飲料を調製する方法であって、
    請求項1〜23のいずれか1項に記載の交換可能なカプセルを用意すること、
    代替のカプセルを用意すること、
    前記交換可能なカプセルまたは前記代替のカプセルを保持するレセプタクル、前記カプセルに圧力下で水等の一定量の流体を供給する流体定量吐出デバイス、及び前記カプセルから調製された前記飲料を排出して該飲料をカップ等の容器に供給するために、使用時に前記カプセルと流体連通する放出口を備える装置を用意すること、
    前記代替のカプセルが、該レセプタクル内に置かれるときに、少なくとも1つの入口開口を通して抽出可能な製品に流体を供給するために、少なくとも1つの入口開口を作るための該レセプタクルの該底部穿孔手段を用いて前記代替のカプセルの底部を穿孔すること、
    前記交換可能なカプセルが、該レセプタクル内に置かれるときに、前記システムの前記交換可能なカプセルが前記底部穿孔手段によって穿孔されずに前記底部が無傷のままになるように、前記入口フィルタを前記底部穿孔手段から離れて位置決めすること、
    前記飲料を調製するために前記抽出可能な製品に前記流体を供給すること、
    を含む、方法。
  43. 記代替のカプセルが、該レセプタクル内に置かれるとき、前記飲料が前記代替のカプセルから出る際に通ることができる少なくとも1つの出口開口を作るために、前記代替のカプセル内の前記流体及び/又は前記飲料の圧力の影響下で前記蓋が蓋穿孔手段に十分に押し当たるときに、該レセプタクルの該蓋穿孔手段を用いて前記代替のカプセルの該蓋を穿孔すること、並びに
    前記交換可能なカプセルが、該レセプタクル内に置かれるとき、前記交換可能なカプセルは穿孔されずに前記蓋は無傷のままであるように前記蓋穿孔手段及び前記出口フィルタは相互に適合されていること、
    を含む、請求項37または42に記載の方法。
  44. 抽出可能な製品を用いて消費に適した所定量の飲料を調製する方法であって、
    請求項1〜23のいずれか1項に記載の交換可能なカプセルを用意すること、
    代替のカプセルを用意すること、
    前記交換可能なカプセルまたは前記代替のカプセルを保持するレセプタクル、前記カプセルに圧力下で水等の一定量の流体を供給する流体定量吐出デバイス、及び前記カプセルから調製された前記飲料を排出して該飲料をカップ等の容器に供給するために、使用時に前記カプセルと流体連通する放出口を備える装置を用意すること、
    前記代替のカプセルが、該レセプタクル内に置かれるとき、前記飲料が前記代替のカプセルから出る際に通ることができる少なくとも1つの出口開口を作るために、前記代替のカプセル内の前記流体及び/又は前記飲料の圧力の影響下で前記蓋が蓋穿孔手段に十分に押し当たるときに、該レセプタクルの該蓋穿孔手段を用いて前記代替のカプセルの該蓋を穿孔すること、
    前記交換可能なカプセルが、該レセプタクル内に置かれるとき、前記交換可能なカプセルは穿孔されずに前記蓋は無傷のままであるように前記蓋穿孔手段及び前記出口フィルタは相互に適合されていること、および
    前記飲料を調製するために前記抽出可能な製品に前記流体を供給すること、
    を含む、方法。
  45. 記代替のカプセルが、該レセプタクル内に置かれるときに、少なくとも1つの入口開口を通して抽出可能な製品に流体を供給するために、少なくとも1つの入口開口を作るための該レセプタクルの該底部穿孔手段を用いて前記代替のカプセルの底部を穿孔すること、
    前記交換可能なカプセルが、該レセプタクル内に置かれるときに、前記システムの前記交換可能なカプセルが前記底部穿孔手段によって穿孔されずに前記底部が無傷のままになるように、前記入口フィルタを前記底部穿孔手段から離れて位置決めすること、
    を含む、請求項38または44に記載の方法。
  46. 前記交換可能なカプセルが、前記底部シールを剥離されて該レセプタクル内に置かれる、請求項4243または45のいずれか1項に記載の方法。
  47. 前記交換可能なカプセルが、前記蓋シールを剥離されて該レセプタクル内に置かれる、請求項4345のいずれか1項に記載の方法。
  48. 前記交換可能なカプセルが、前記底部シールおよび前記蓋シールを剥離されて該レセプタクル内に置かれる、請求項46または47に記載の方法。
JP2014177305A 2014-09-01 2014-09-01 飲料を調製するシステム、方法、及びカプセル Active JP6050293B2 (ja)

Priority Applications (1)

Application Number Priority Date Filing Date Title
JP2014177305A JP6050293B2 (ja) 2014-09-01 2014-09-01 飲料を調製するシステム、方法、及びカプセル

Applications Claiming Priority (1)

Application Number Priority Date Filing Date Title
JP2014177305A JP6050293B2 (ja) 2014-09-01 2014-09-01 飲料を調製するシステム、方法、及びカプセル

Related Parent Applications (1)

Application Number Title Priority Date Filing Date
JP2011522021A Division JP5636366B2 (ja) 2008-01-29 2008-08-08 飲料を調製するシステム及び方法

Publications (2)

Publication Number Publication Date
JP2015037557A JP2015037557A (ja) 2015-02-26
JP6050293B2 true JP6050293B2 (ja) 2016-12-21

Family

ID=52631078

Family Applications (1)

Application Number Title Priority Date Filing Date
JP2014177305A Active JP6050293B2 (ja) 2014-09-01 2014-09-01 飲料を調製するシステム、方法、及びカプセル

Country Status (1)

Country Link
JP (1) JP6050293B2 (ja)

Families Citing this family (2)

* Cited by examiner, † Cited by third party
Publication number Priority date Publication date Assignee Title
NL2017587B1 (en) * 2016-10-07 2018-04-16 Douwe Egberts Bv Capsule, system and method for preparing a beverage
NL2022265B1 (en) * 2018-12-20 2020-07-15 Douwe Egberts Bv System for preparing a beverage from a capsule using a fluid supplied under pressure into the capsule and a capsule for use in such a system

Family Cites Families (5)

* Cited by examiner, † Cited by third party
Publication number Priority date Publication date Assignee Title
CH605293A5 (ja) * 1976-12-17 1978-09-29 Nestle Sa
FR2617389B1 (fr) * 1987-06-30 1991-05-24 Desaltera Cartouche filtrante et machine pour la preparation d'une boisson expresse
JP2001070163A (ja) * 1999-09-03 2001-03-21 Matsushita Electric Ind Co Ltd 飲料抽出機
DE20221780U1 (de) * 2002-03-14 2007-10-18 Caffita System S.P.A., Gaggio Montano Portionenkapsel mit einer partikelförmigen mittels Wasser extrahierbaren Substanz zur Herstellung eines Getränks
DE102004002005A1 (de) * 2004-01-14 2005-08-11 Schifferle, René Portionskapsel mit gemahlenem Kaffee zur Herstellung eines Kaffeegetränks

Also Published As

Publication number Publication date
JP2015037557A (ja) 2015-02-26

Similar Documents

Publication Publication Date Title
JP5636366B2 (ja) 飲料を調製するシステム及び方法
CN102548458B (zh) 用于制备饮料的包囊、系统和方法
RU2690280C2 (ru) Система, капсула и способ приготовления напитка
CN102573582A (zh) 用来制备包含可溶物质的饮料的包囊和系统
JP6050293B2 (ja) 飲料を調製するシステム、方法、及びカプセル
RU2733314C2 (ru) Система, способ и капсула для приготовления напитка
JP6185895B2 (ja) 飲料を調製するシステム、方法、及びカプセル
AU2017219053B2 (en) System, method and capsule for preparing a beverage
CA2913042C (en) System, method and capsule for preparing a beverage

Legal Events

Date Code Title Description
A131 Notification of reasons for refusal

Free format text: JAPANESE INTERMEDIATE CODE: A131

Effective date: 20151116

A601 Written request for extension of time

Free format text: JAPANESE INTERMEDIATE CODE: A601

Effective date: 20160215

A601 Written request for extension of time

Free format text: JAPANESE INTERMEDIATE CODE: A601

Effective date: 20160315

A601 Written request for extension of time

Free format text: JAPANESE INTERMEDIATE CODE: A601

Effective date: 20160414

A521 Request for written amendment filed

Free format text: JAPANESE INTERMEDIATE CODE: A523

Effective date: 20160513

TRDD Decision of grant or rejection written
A01 Written decision to grant a patent or to grant a registration (utility model)

Free format text: JAPANESE INTERMEDIATE CODE: A01

Effective date: 20161025

A61 First payment of annual fees (during grant procedure)

Free format text: JAPANESE INTERMEDIATE CODE: A61

Effective date: 20161124

R150 Certificate of patent or registration of utility model

Ref document number: 6050293

Country of ref document: JP

Free format text: JAPANESE INTERMEDIATE CODE: R150

R250 Receipt of annual fees

Free format text: JAPANESE INTERMEDIATE CODE: R250

R250 Receipt of annual fees

Free format text: JAPANESE INTERMEDIATE CODE: R250

R250 Receipt of annual fees

Free format text: JAPANESE INTERMEDIATE CODE: R250

R250 Receipt of annual fees

Free format text: JAPANESE INTERMEDIATE CODE: R250

R250 Receipt of annual fees

Free format text: JAPANESE INTERMEDIATE CODE: R250

R250 Receipt of annual fees

Free format text: JAPANESE INTERMEDIATE CODE: R250