JP5679111B2 - ランプ装置および照明器具 - Google Patents

ランプ装置および照明器具 Download PDF

Info

Publication number
JP5679111B2
JP5679111B2 JP2011019005A JP2011019005A JP5679111B2 JP 5679111 B2 JP5679111 B2 JP 5679111B2 JP 2011019005 A JP2011019005 A JP 2011019005A JP 2011019005 A JP2011019005 A JP 2011019005A JP 5679111 B2 JP5679111 B2 JP 5679111B2
Authority
JP
Japan
Prior art keywords
light emitting
emitting module
lamp device
case
base member
Prior art date
Legal status (The legal status is an assumption and is not a legal conclusion. Google has not performed a legal analysis and makes no representation as to the accuracy of the status listed.)
Active
Application number
JP2011019005A
Other languages
English (en)
Other versions
JP2012160334A (ja
Inventor
松田 良太郎
良太郎 松田
佐々木 淳
淳 佐々木
大澤 滋
滋 大澤
高原 雄一郎
雄一郎 高原
啓道 中島
啓道 中島
賢二 高梨
賢二 高梨
清水 圭一
圭一 清水
泉 昌裕
昌裕 泉
博史 松下
博史 松下
戸田 雅宏
雅宏 戸田
淳一 木宮
淳一 木宮
拓志 武長
拓志 武長
Current Assignee (The listed assignees may be inaccurate. Google has not performed a legal analysis and makes no representation or warranty as to the accuracy of the list.)
Toshiba Lighting and Technology Corp
Original Assignee
Toshiba Lighting and Technology Corp
Priority date (The priority date is an assumption and is not a legal conclusion. Google has not performed a legal analysis and makes no representation as to the accuracy of the date listed.)
Filing date
Publication date
Application filed by Toshiba Lighting and Technology Corp filed Critical Toshiba Lighting and Technology Corp
Priority to JP2011019005A priority Critical patent/JP5679111B2/ja
Priority to EP12152507.5A priority patent/EP2481973B1/en
Priority to CN201220029059XU priority patent/CN202561467U/zh
Priority to US13/361,791 priority patent/US8894254B2/en
Publication of JP2012160334A publication Critical patent/JP2012160334A/ja
Application granted granted Critical
Publication of JP5679111B2 publication Critical patent/JP5679111B2/ja
Active legal-status Critical Current
Anticipated expiration legal-status Critical

Links

Images

Landscapes

  • Non-Portable Lighting Devices Or Systems Thereof (AREA)

Description

本発明の実施形態は、発光素子を用いたランプ装置、およびこのランプ装置を用いた照明器具に関する。
従来、発光素子を用いたランプ装置として、例えばGX53形などの口金を用いたフラット形のランプ装置がある。このようなランプ装置では、一面側が開口し、他面側に口金部を有する筐体が用いられ、この筐体内に発光素子を有する発光モジュールや発光素子を点灯させる点灯回路が収容されている。
このようなランプ装置では、筐体内の最も奥側となる口金部の一面に発光モジュールを配置し、この発光モジュールの発光素子の点灯により発生する光を筐体の一面から放射するようにしている。また、ランプ装置を照明器具に装着した状態で、口金部の他面が照明器具側に接触することにより、発光素子の点灯時に発生する熱を口金部から照明器具側に熱伝導して放熱させるようにしている。
特開2010−262781号公報
しかしながら、口金部の一面に発光モジュールを取り付けたランプ装置では、発光モジュールが筐体内の最も奥側に位置するために、配光が狭角配光に限られ、広角配光などにすることは困難であり、配光制御の自由度が低いものとなっていた。
また、単に口金部の全体の肉厚を厚くし、発光モジュールを筐体の一面側に位置させるようにすると、質量が増加する問題がある。
本発明が解決しようとする課題は、配光制御の自由度が向上し、放熱性能が低下せずに質量の増加を低減するランプ装置、およびこのランプ装置を用いた照明器具を提供することである。
実施形態のランプ装置は、発光モジュール、筐体、および点灯回路を備える。発光モジュールは、発光素子を有する。筐体は、一面側に開口部形成され、他面側に環状の突出部が突出された樹脂製のケースと、突出部の端面に取り付けられた金属製の口金部材とを有する。口金部材には中央部の肉厚を厚くすることによって開口部へ向けて突出するように発光モジュール取付部を一体に形成し、発光モジュール取付部に発光モジュールを取り付ける。点灯回路は、筐体内に収容する。
本発明によれば、配光制御の自由度を向上でき、放熱性能を低下させずに質量の増加を低減することが期待できる。
第1の実施形態を示すランプ装置の断面図である。 同上ランプ装置の分解状態の斜視図である。 同上ランプ装置の一面の斜視図である。 同上ランプ装置の他面の斜視図である。 同上ランプ装置を用いる照明器具の断面図である。 同上ランプ装置の分解状態の斜視図である。 同上ランプ装置の発光モジュールから発光モジュール取付部への熱の伝わり方の模式図を示し、(a)は本実施形態の発光モジュール取付部の場合を示す模式図、(b)は比較例を示す模式図である。 第2の実施形態を示すランプ装置の断面図である。
以下、第1の実施形態を、図1ないし図7を参照して説明する。
図5および図6に示すように、照明器具11は、ダウンライトなどの埋込形照明器具であり、天井板などの被設置部12に設けられた円形の埋込孔13に埋め込まれた状態に設置される。
照明器具11は、器具本体15、この器具本体15と一体に固定されたソケット16および放熱体17、およびソケット16に着脱可能に装着されるフラット形のランプ装置18などを備えている。そして、ランプ装置18の点灯時に発生する熱を、主に、放熱体17に熱伝導して放熱するように構成されている。
なお、以下、照明器具11を水平に設置するとともにこの照明器具11に対してフラット形のランプ装置18を水平に取り付ける状態を基準として、このランプ装置18の一面を下(例えば下面、下側、下部、下端など)、他面を上(例えば上面、上側、上部、上端など)として説明する。
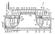
まず、図1ないし図4に示すように、ランプ装置18は、フラット形で円筒状の筐体21と、この筐体21の上面に取り付けられた熱伝導シート22と、筐体21内に収容された発光モジュール23、光学部品24および点灯回路25と、筐体21の下面に取り付けられた透光カバー26とを備えている。
筐体21は、円筒状のケース28、およびこのケース28の上面に取り付けられる円筒状の口金部材29を有している。これらケース28の上面側およびこのケース28の上面から突出する口金部材29によって、所定の規格寸法の口金部30が構成されている。
ケース28は、例えば絶縁性を有する合成樹脂製で、上面の平板部31、およびこの平板部31の周辺部から下方に突出する周面部32を有している。ケース28の下面には、開口部28aが形成されている。
平板部31には、中央に挿通孔33が形成され、この挿通孔33より外径側に複数の取付孔34が形成され、さらに、これら取付孔34より外径側に複数の挿通孔35が形成されている。平板部31の周辺部および挿通孔33の縁部には、点灯回路25(回路基板68)を支える環状の外周側の基板支え部36および環状の内周側の基板支え部37がそれぞれ形成されている。外周側の基板支え部36は点灯回路25(回路基板68)が嵌り込む溝状に形成されている(図2参照。図1では詳細を省略する)。内周側の基板支え部37の1箇所には、基板支え部37よりも外径側に位置するとともに基板支え部37よりも下方へ突出する配線ガイド部38が形成され、この配線ガイド部38によって平板部31の上下面および挿通孔33に連通する配線通路39が形成されている。配線ガイド部38は、基板支え部37から外径側に向かって一対の側壁部38aが形成され、これら一対の側壁部38aの外径側に外壁部38bが形成され、これらによって断面略コ字形に形成されている。
周面部32の内周面には、光学部品24を支える複数の光学部品支え部40が形成されているとともに、開口部28aの近傍に複数の取付溝41が形成されている。1つの光学部品支え部40には光学部品24の回転止めをするリブ40aが形成されている。周面部32の外周面で上部側には、表面積を広くするための凹凸部32aが形成されている。
口金部材29は、例えばアルミダイカストなどの金属材料で形成され、上面の端面部42、およびこの端面部42の周辺から下方に突出する周面部43を有している。周面部43の内側には、ケース28と口金部材29とを固定するための複数のねじ44がケース28の複数の取付孔34を通じて螺着される複数のボス45が形成されている。なお、口金部材29は、セラミックス、あるいは熱伝導性に優れた樹脂などの材料で形成してもよい。
端面部42の周辺部は周面部43と同じ所定の肉厚に形成されているが、端面部42の下面の一部、例えば端面部42の中央部は周辺部に比べて肉厚が厚く、端面部42の下面から筐体21の開口部28aへ向けて突出する発光モジュール取付部46が一体に形成されている。
発光モジュール取付部46は、上面側の面積が下面の面積より例えば2〜4倍広い山形に形成されている。発光モジュール取付部46の周囲で下面側と上面側との間の斜面の形状は、断面円弧状および断面直線状のいずれでもよい。発光モジュール取付部46の下面側の取付面47の形状や面積は、発光モジュール23の形状や面積に対応されている。発光モジュール取付部46の上面側の位置(山形の裾位置)は、端面部42の下面の周辺部より内側に位置していてもよいし、端面部42の周辺部に位置していてもよい。
端面部42から突出する発光モジュール取付部46の高さ寸法は、配光制御の関係に応じて任意に設定されている。例えば、配光制御に応じて発光モジュール取付部46の高さの異なる口金部材29を用意し、配光制御に応じて口金部材29を選択することにより、ランプ装置18の配光を任意に設定可能となる。
発光モジュール取付部46の下面には、発光モジュール23を密着して取り付ける平面状の取付面47が形成されている。この取付面47に、発光モジュール23をねじ止めするための複数の取付孔48が形成されている。
周面部43には、複数のキー溝50が形成されている。各キー溝50は、口金部材29の上面に連通して上下方向に沿って形成された縦溝50a、および周面部43の下部で周面部43の周方向に沿って形成された横溝50bを有する略L字形に形成されている。さらに、周面部43には、複数のキー溝50の間に、複数のキー51が突出形成されている。なお、本実施形態では、キー溝50およびキー51とも3つずつ設けられているが、少なくとも2つずつあればよく、4つずつ以上あってもよい。
また、熱伝導シート22は、口金部材29の端面部42の上面に取り付けられており、ランプ装置18を照明器具11に装着した際に、放熱体17に密着し、ランプ装置18から放熱体17に効率よく熱伝導させるものである。熱伝導シート22は、例えば、口金部材29の端面部42に貼り付けられる弾性を有するシリコーンシート、およびこのシリコーンシートの上面に貼り付けられるアルミニウム、スズ、亜鉛などの金属箔で円板状に構成されている。金属箔は、シリコーンシートに比べて、表面の摩擦抵抗が小さい。なお、熱伝導シート22は円形の他、6角形などの多角形でもよい。
また、発光モジュール23は、基板53、この基板53の下面に形成された発光部54、基板53の下面に実装されたコネクタ55、基板53の周辺を保持する枠状のホルダ56、および基板53とこの基板53を取り付ける口金部材29の発光モジュール取付部46の取付面47との間に介在する熱伝導シート57を備えている。
基板53は、例えば、熱伝導性に優れた金属あるいはセラミックスなどの材料で平板状に形成されている。
発光部54は、光源として例えばLED素子やEL素子などの半導体発光素子と呼ばれている発光素子が用いられている。本実施形態では、発光素子としてLED素子が用いられ、基板上に複数のLED素子を実装するCOB(Chip On Board)方式が採用されている。すなわち、基板上に複数のLED素子が実装され、これら複数のLED素子がワイヤボンディングによって直列に電気的に接続され、蛍光体を混入した例えばシリコーン樹脂などの透明樹脂である蛍光体層で複数のLED素子が一体に覆われて封止されている。LED素子には例えば青色光を発するLED素子が用いられ、蛍光体層にはLED素子からの青色光の一部により励起されて黄色光を放射する蛍光体が混入されている。したがって、LED素子および蛍光体層などによって発光部54が構成され、この発光部54の表面である蛍光体層の表面が発光面となり、この発光面から白色系の照明光が放射される。なお、発光部としては、LED素子が搭載された接続端子付きのSMD(Surface Mount Device)パッケージを基板に複数個実装する方式を用いてもよい。
コネクタ55は、発光素子と電気的に接続されている。
ホルダ56は、基板53を保持し、口金部材29の発光モジュール取付部46の複数の取付孔48に螺着される複数のねじ58によって、口金部材29の発光モジュール取付部46との間に熱伝導シート57および基板53を挟み込んだ状態に固定されている。これにより、基板53が熱伝導シート57を介して口金部材29の発光モジュール取付部46に密着され、基板53から口金部材29への良好な熱伝導性が確保されている。
熱伝導シート57は、例えば、シリコーンシートの他、例えばアルミニウム、スズ、亜鉛などの金属箔を用いてもよい。金属箔を用いることにより、熱による劣化がシリコーンシートに比べて小さく、長期にわたって熱伝導性能を維持できる。
また、光学部品24は、円筒状の反射体60によって構成されている。この反射体60は、例えば絶縁性を有する合成樹脂製で、上下面が開口されるとともに上端側から下端側に向けて段階的または連続的に拡径する円筒状の光ガイド部61が形成され、この光ガイド部61の下端にケース28の下面周辺を覆う環状のカバー部62が形成されている。光ガイド部61の内面およびカバー部62の下面には、例えば白色や鏡面とする光反射率の高い反射面63が形成されている。反射面63を形成する一手段としてアルミニウムなどの蒸着手段を用いることができる。この場合、カバー部62の外周部をマスキングして非蒸着面とすることにより電気絶縁性を向上することができる。
光ガイド部61は、点灯回路25(回路基板68)およびケース28の挿通孔33を貫通して口金部材29内に突出され、発光部54の周囲に対向配置されている。光ガイド部61の外周面で上下方向の中間部に点灯回路25(回路基板68)に嵌合する基板嵌合部64が形成され、この基板嵌合部64にケース28の基板支え部36,37との間で点灯回路25(回路基板68)を保持する基板押え部65が形成されている。
カバー部62には、ケース28の各光学部品支え部40に支えられる複数の保持爪66が形成されている。また、一実施形態として、1つの保持爪66は、1つの光学部品支え部40のリブ40aに嵌り込み、反射体60がケース28に回転止めされる。
そして、反射体60は、ランプ装置18の必要な配光制御に応じて異なる配光特性のタイプが複数用意されており、これら複数のタイプの中からランプ装置18に必要な配光制御に応じた1つのタイプが選択されて用いられている。例えば、図2には配光が広い広角タイプの形状の反射体60を用いたランプ装置18を示す。反射体60は、異なるタイプに応じて主に光ガイド部61の形状が異なるが、光ガイド部61の基板嵌合部64および基板押え部65やカバー部62の保持爪66などは各タイプとも共通としているため、いずれのタイプの反射体60でも筐体21内に共通に収容可能としている。なお、反射体60の配光特性の異なる複数のタイプとしては、広角タイプおよび中角タイプ以外に、配光が狭い狭角タイプや、その他のタイプが含まれる。
したがって、反射体60の基板嵌合部64および基板押え部65やカバー部62の保持爪66などが、異なる配光特性のタイプに共通とする形状の共通取付部60aとして構成されている。また、筐体21の基板支え部37や光学部品支え部40などが、反射体60の共通取付部60aが取り付けられる共通とする形状の被共通取付部21aとして構成されている。
さらに、反射体60のタイプは、形状のみに限られず、反射面63を配光特性によっても配光制御が可能で、白色とした場合には配光を広く制御でき、鏡面とした場合には配光を狭く制御できる。そして、反射体60は、いずれのタイプを選択しても、筐体21内に共通に収容して用いることができる。
また、点灯回路25は、例えば、商用電源電圧を整流平滑する回路、数kHz〜数百kHzの高周波でスイッチングするスイッチング素子を有するDC/DCコンバータなどを備え、定電流の直流電力を出力する電源回路を構成する。点灯回路25は、回路基板68、およびこの回路基板68に実装された複数の電子部品である回路部品69を備えている。
回路基板68は、中央部に反射体60の光ガイド部61の上部側が貫通するとともに基板嵌合部64が嵌合する円形の開口部70が形成された環状に形成されている。回路基板68の外径はケース28の基板支え部36に嵌り込む寸法に形成されている。開口部70の縁部には、ケース28の配線ガイド部38が挿通されて嵌り込む配線孔である切欠部71が形成されている。
回路基板68の下面が回路部品69のうちのリード線を有するディスクリート部品を実装する実装面68aであり、上面がディスクリート部品のリード線を接続するとともに点灯回路部品のうちの面実装部品を実装する配線パターンを形成した配線パターン面68bである。
回路基板68の実装面68aに実装される回路部品69のうち、回路基板68から突出高さが高い大形部品、発熱量が大きい発熱部品、および電解コンデンサなどの熱に弱い部品の少なくとも1つ、好ましくは全てが、回路基板68の外側寄り位置に実装されている。回路基板68の実装面68aには、切欠部71の近傍位置に、電線73によって発光モジュール23と接続するコネクタが実装されている。また、環状の回路基板68には、電源入力部の位置に対して周方向の反対側に離れた位置にスイッチング素子などのノイズ発生源となる部品が実装されている。
そして、回路基板68は、配線パターン面68bがケース28の平板部31に平行に対向する状態で、ケース28内の上側に配置されている。回路基板68の実装面68aに実装された回路部品69はケース28の周面部32と反射体60の光ガイド部61およびカバー部62との間に配置されている。
回路基板68に電気的に接続される複数のランプピン72がケース28の各挿通孔35に圧入されてケース28の上方に垂直に突出されている。つまり、複数のランプピン72が口金部30の上面から垂直に突出されている。複数のランプピン72には、少なくとも2つの電源入力用のランプピン72が含まれ、その他に2つの調光信号用のランプピン72や1つのアース用のランプピン72などを含んでいてもよい。すなわち、少なくとも2つの電源用のランプピン72を備えていればよく、他のランプピン72はなくてもよく、あるいは回路基板68とは接続せず、ケース28の挿通孔35に圧入固定するダミーピンとしてもよい。また、ランプピン72は、ケース28の挿通孔35に圧入固定してリード線で回路基板68に電気的に接続してもよく、ランプピン72を回路基板68に立設して回路基板68に直接接続してもよい。
また、点灯回路25の直流電源の出力端子と発光モジュール23のコネクタ55とが電線73によって電気的に接続される。電線73は、例えば、両端にコネクタ73a,73bを取り付けたコネクタ付き電線が用いられ、一端のコネクタ73aが発光モジュール23のコネクタ55に接続され、他端のコネクタ73bが回路基板68に実装されている回路部品69のコネクタに接続される。この電線73は、配線ガイド部38の電線通路39に通され、回路基板68を貫通する。
また、透光カバー26は、透光性および拡散性を有するように、例えば合成樹脂製やガラス製で円板状に形成されており、開口部28aを覆ってケース28に取り付けられている。透光カバー26の上面周辺部にはケース28の周面部32の内周に嵌め込まれる嵌め込み部75が形成され、この嵌め込み部75にケース28の周面部32の各取付溝41に係止される複数の係止爪76が形成されている。各係止爪76が各取付溝41に係止された状態で、嵌め込み部75と各光学部品支え部40との間で反射体60の各保持爪66を挟み込んで保持する。なお、ケース28の光学部品支え部40を用いず(この場合、光学部品支え部40に代えて補強用のリブとしてもよい)、透光カバー26の嵌め込み部75と回路基板68とで光学部品24を挟み込んで保持するようにしてもよい。
透光カバー26の下面の周辺部には、複数の突起によって構成される指掛け部77が透光カバー26の円周上の複数箇所であって例えば2箇所に突設され、照明器具11への装着位置を表示する三角形のマーク78が1箇所に形成されている。指掛け部77の形状は、任意であり、外観を損なわない(目立たない)とともに配光に支障を与えず、かつ後述のようにランプ装置18の着脱の際に操作しやすいものが好ましい。
なお、透光カバー26によってもランプ装置18の配光制御が可能で、ランプ装置18の必要な配光制御に応じて異なる配光特性のタイプを用いることができる。例えば、透光カバー26の拡散度合いの違いや、フレネルレンズなどの有無などのタイプがある。
そして、このように構成されたランプ装置18では、点灯回路25がケース28内に配置され、このケース28内の点灯回路25の位置より口金部30側の位置である口金部材29内に発光モジュール23が配置され、この発光モジュール23が口金部材29に熱的に接合して取り付けられている。また、反射体60の光ガイド部61が回路基板68の開口部70およびケース28の挿通孔33に配置され、反射体60のカバー部62でケース28内の点灯回路25を覆って隠蔽している。
なお、本実施形態のランプ装置18は、発光モジュール23の入力電力(消費電力)が20〜25W、全光束が1100〜1650lmとされている。
次に、図5および図6に示すように、照明器具11の器具本体15は、反射体と兼用されたものであり、下方に向かって開口形成されている。器具本体15の下端には側方に突出するフランジ部81が形成され、器具本体15の上面には嵌合孔82が形成されている。器具本体15の内周面の1箇所には、ランプ装置18の装着位置を示す三角形のマーク83が設けられている。
また、ソケット16は、例えば絶縁性を有する合成樹脂製で環状に形成されたソケット本体85、およびこのソケット本体85内に配置された図示しない複数の端子を備えている。
ソケット本体85の中央には、ランプ装置18の口金部材29が挿通する挿通開口86が形成されている。ソケット本体85の下面には、ランプ装置18の各ランプピン72が挿入される複数の接続溝87が周方向に沿って長孔状に形成されている。
ソケット本体85の内周面には、複数のキー溝88が形成されている。各キー溝88は、上下方向に沿って形成された縦溝88a、およびソケット本体85の上部側で周方向に沿って形成された横溝88bを有する略L字形に形成されている。さらに、ソケット本体85の内周面には、複数のキー溝88の間に、複数のキー89が突出形成されている。これら各キー溝88および各キー89とランプ装置18の各キー51およびキー溝50とが互いに対応していて、ソケット16にランプ装置18を着脱可能に取り付けることができる。
各端子は、各接続溝87の上側に配置されており、ソケット16にランプ装置18が装着されて各接続溝87に挿入された各ランプピン72が電気的に接続される。
また、放熱体17は、例えばアルミダイカストなどの金属、セラミックス、放熱性に優れた樹脂などの材料によって形成されている。放熱体17は、円筒状の基部91、およびこの基部91の周囲から放射状に突出する複数の放熱フィン92を有している。
基部91の中央部の下面には、この基部91の下面を閉塞するとともに円形の突出部93が形成され、この突出部93の下面に平面状の接触面94が形成されている。
放熱体17の基部91の周囲には複数の取付部95が形成され、これら取付部95に被設置部12に照明器具11を取り付けるための取付ばね96が取り付けられている。
放熱体17の上面には、電源用の端子台97および調光信号用の端子台98を取り付けた取付板99が取り付けられている。
そして、照明器具11は、器具本体15の嵌合孔82が放熱体17の突出部93の周囲に嵌合され、この器具本体15が放熱体17とソケット16との間に挟み込まれてねじ止め固定されている。ソケット16の挿通開口86の上面に、放熱体17の接触面94が露出して配置されている。
次に、ランプ装置18の組立について説明する。
口金部材29に熱伝導シート22および発光モジュール23を取り付ける。発光モジュール23のコネクタ55に接続されている電線73を挿通孔33からケース28内に引き込み、ケース28に口金部材29をねじ止めする。
ケース28内に点灯回路25を挿入し、回路基板68の切欠部71を配線ガイド部38に嵌め込み、回路基板68の周辺部をケース28の基板支え部36に嵌め込むとともに回路基板68の内周側上面を基板支え部37に当接させる。また、例えば予めケース28に圧入固定されているか、または後で圧入固定されるランプピン72と回路基板68とをラッピングなどの手段で接続する。また、ケース28内に点灯回路25を挿入する際には電線73を配線ガイド部38の配線通路39に通しておき、この電線73を回路基板68の実装面68a側のコネクタに接続する。
ケース28内に反射体60を挿入し、反射体60の光ガイド部61を回路基板68の開口部70およびケース28の挿通孔33に挿入し、光ガイド部61の基板嵌合部64を回路基板68の開口部70に嵌め込み、光ガイド部61の基板押え部65を回路基板68に当接させる。また、反射体60の保持爪66をケース28の光学部品支え部40に対向する位置に配置する。
ケース28の開口部28aに透光カバー26を嵌め込み、透光カバー26の係止爪76をケース28の取付溝41に係止させる。これにより、透光カバー26の嵌め込み部75が反射体60の保持爪66に当接して光学部品支え部40に押し付け、嵌め込み部75と光学部品支え部40との間に保持爪66を挟み込んで保持するとともに、反射体60の基板押え部65で回路基板68を基板支え部36,37に押し付け、基板押え部65と基板支え部36,37との間で回路基板68を挟み込んで保持する。
したがって、ケース28に透光カバー26を取り付けることにより、ケース28と透光カバー26との間に回路基板68および反射体60を挟み込んで保持する。
次に、照明器具11へのランプ装置18の装着について説明する。
ランプ装置18を器具本体15の下面開口から挿入し、ランプ装置18に表示されているマーク78と器具本体15の内面に表示されているマーク83とを合わせ、ランプ装置18をソケット16に押し付ける。
これにより、まず、ランプ装置18の口金部材29がソケット16の挿通開口86に嵌り込み、続いて、口金部材29の各キー溝50の縦溝50aにソケット16の各キー89が進入するとともに、口金部材29の各キー51がソケット16の各キー溝88の縦溝88aに進入し、ランプ装置18の各ランプピン72がソケット16の対応する各接続溝87に挿入され、その後、口金部材29の上面が熱伝導シート22を介して放熱体17の接触面94に当接する。このとき、熱伝導シート22が放熱体17の接触面94に当接して圧縮される。
ランプ装置18を放熱体17に押し付けた状態で、ランプ装置18を装着方向に所定角度回転させる。このランプ装置18を回転操作する際、ランプ装置18の周面と器具本体15の内面との間に指が入るスペースが少なくても、透光カバー26から下面から突出している指掛け部77に指を引っ掛けることで、ランプ装置18を容易に回動操作できる。
ランプ装置18を装着方向に回転させることにより、口金部材29の各キー溝50の横溝50bにソケット16の各キー89が進入して引っ掛かるとともに、口金部材29の各キー51がソケット16の各キー溝88の横溝88bに進入して引っ掛かり、ランプ装置18がソケット16に取り付けられる。また、ランプ装置18の各ランプピン72が各ソケット16の各接続溝87内を移動して各接続溝87の上側に配置されている各端子に接触して電気的に接続される。
そして、ランプ装置18の装着状態では、ランプ装置18の口金部材29の上面が熱伝導シート22を介して放熱体17の接触面94に密着し、ランプ装置18から放熱体17に効率よく熱伝導可能となる。
また、ランプ装置18を照明器具11から外す場合には、まず、ランプ装置18を装着時とは反対の取外し方向に回転させることにより、口金部材29の各キー溝50の縦溝50aにソケット16の各キー89が移動するとともに、口金部材29の各キー51がソケット16の各キー溝88の縦溝88aに移動し、各ランプピン72が各ソケット16の各接続溝87内を移動して各接続溝87の上側に配置されている各端子から離反する。続いて、ランプ装置18を下方へ移動させることにより、各ランプピン72が各ソケット16の各接続溝87から外れ、口金部材29の各キー溝50の縦溝50aがソケット16の各キー89から外れるとともに、口金部材29の各キー51がソケット16の各キー溝88の縦溝88aから外れ、さらに、口金部材29がソケット16の挿通開口86から外れ、ランプ装置18をソケット16から取り外すことができる。
次に、ランプ装置18の点灯について説明する。
電源線から端子台97、ソケット16の端子およびランプ装置18のランプピン72を通じて点灯回路25に給電されると、点灯回路25から発光モジュール23の発光素子に点灯電力を供給し、発光素子が点灯する。発光素子の点灯によって発光部54から放射される光が、反射体60の光ガイド部61内を進行し、透光カバー26を透過して、器具本体15の下面開口から出射される。
また、点灯時に、発光モジュール23の発光素子が発生する熱は、主に、発光モジュール23の基板53から熱伝導シート57を介して熱的に接合されている口金部材29の発光モジュール取付部46に効率よく熱伝導され、この口金部材29の発光モジュール取付部46から熱伝導シート22を介して密着する放熱体17に効率よく熱伝導され、この放熱体17の複数の放熱フィン92を含む表面から空気中に放熱される。
また、ランプ装置18から放熱体17に熱伝導された熱の一部は、器具本体15、複数の取付ばね96および取付板99にそれぞれ熱伝導され、これらからも空気中に放熱される。
また、点灯回路25が発生する熱は、ケース28や透光カバー26に伝わり、これらケース28や透光カバー26の表面から空気中に放熱される。
次に、ランプ装置18の口金部30に設けられる発光モジュール取付部46について説明する。
口金部30に発光モジュール取付部46を設けることにより、発光モジュール23の位置を筐体21の開口部28aに近付けて配置し、広角配光にも配光制御することができる。そして、配光制御に応じて発光モジュール取付部46の高さの異なる口金部材29を用意し、配光制御に応じて口金部材29を選択することにより、ランプ装置18の配光を任意に設定可能となる。
発光モジュール取付部46は、図7(a)に示す本実施形態のように山形に形成する他に、図7(b)に示すように平坦形であって口金部材29の端面部42の全体の肉厚を一様に厚く形成してもよく、いずれの場合にも配光制御の自由度を向上できる。
また、図7(a)(b)には、発光モジュール23から発光モジュール取付部46への熱の伝わり方を測定した結果を示している。温度分布を等高線とドット模様の密度で示しており、発光モジュール23の発熱源であるLED素子を有する発光部54の温度が最も高く、発光部54から離れるにしたがって温度が低くなっていくなっており、発光部54からの熱が発光モジュール取付部46に対して放射状に伝わっていることが分かる。
発光モジュール取付部46は、発光モジュール23が発生する熱を、発光モジュール23が取り付けられる取付面47に対して反対側の面である口金部材29の端面部42の上面から照明器具11の放熱体17に熱伝導することにより、良好な放熱性能が得られる。その一方で、筐体21の内部に露出する発光モジュール取付部46の面からの熱伝導による良好な放熱は得られない。
このように、熱の伝わり方の点と熱伝導の点とから、図7(b)の場合のように、発光モジュール取付部46の取付面47の周辺部においても肉厚を厚く形成したとしても、放熱性能の十分な向上は望めない。
そのため、図7(a)に示す本実施形態のように、発光モジュール取付部46を山形に形成しても、放熱性能への影響が少ない。
そして、図7(a)(b)の各場合について、ランプ装置18を照明器具11に装着した状態で発光モジュール23のLED素子の温度を測定したところ、図7(b)の場合には最大50.16℃、図7(a)の場合には最大50.26℃であった。この差は誤差の範囲であり、放熱性能には差がなかった。
したがって、図7(a)に示す本実施形態のように発光モジュール取付部46を山形に形成することにより、図7(b)のように口金部材29の端面部42の全体の肉厚を一様に厚く形成する場合に比べて、口金部材29を形成する際の材料の使用量を削減してコストを低減できるとともに製造性も向上でき、また、口金部材29の質量の増加を抑制し、ランプ装置18に規定されている質量の上限値以内に収めることが容易にできる。
以上のように、本実施形態のランプ装置18では、口金部30の下面に突出する発光モジュール46を設けることにより、配光制御の自由度を向上でき、放熱性能を低下させずに質量の増加を低減できる。
特に、発光モジュール取付部46を上面側の面積が下面側の面積より広い山形に形成することにより、放熱性能を低下させることなく、配光制御の自由度の向上および質量の増加の低減ができる。
この場合、山形の発光モジュール取付部46の上面側の面積は下面の面積より2〜4倍の範囲が好ましい。その面積が2倍より小さいと、山形の発光モジュール取付部46から放熱体17への熱伝導性が低くなり、また、4倍より大きいと、所定の規定寸法とされている口金部30に形成することが寸法的に難しくなる。
なお、発光モジュール取付部46の上面側の位置(山形の裾位置)は、端面部42の下面の周辺部より内側に位置していている場合に限らず、端面部42の周辺部に位置していてもよい。
次に、第2の実施形態を、図8に示す。なお、第1の実施形態と同一構成については同一符号を用いてその説明を省略する。
筐体21のケース28の平板部31の上面から、口金部30の周面を構成する環状の口金周面部28bが一体に突出形成されている。
口金部材29は、第1の実施形態で備えていた周面部43を備えていないが、端面部42、発光モジュール取付部46および複数のキー51を備えている。
端面部42の直径はケース28の口金周面部28bの直径より大きく、端面部42の周辺部がケース28の口金周面部28bの外周面より突出されている。
発光モジュール取付部46の形状は、端面部42の下面の一部、例えば端面部42の中央部の肉厚を厚くすることによって、端面部42の下面から筐体21の開口部28aへ向けて垂直に突出するように一体に形成されている。発光モジュール取付部46の下面側の取付面47の形状や面積は、発光モジュール23の形状や面積に対応されている。
各キー51は、端面部42に一体に形成されている。ケース28の口金周面部28bには、各キー51が嵌り込む複数の凹溝28cが形成されている。
口金部材29は、周面部43を備えないことで、その周面部43に形成されていたキー溝50も備えていないが、端面部42の周辺部にはソケット16の各キー89が挿通する複数の切欠部42aが形成されている。ランプ装置18をソケット16に装着する際、ソケット16のキー89に対して切欠部42aを挿通させ、端面部42の周辺下面をキー89上に引っ掛けるように構成されている。
したがって、口金部30は、他面中央部から口金周面部28bが突出された絶縁性を有するケース28、このケース28の他面周辺部から突出するランプピン72、および発光モジュール取付部46が一体に形成されていて口金周面部28bの他面側に配置される口金部材29を有している。
そして、このランプ装置18の発光モジュール取付部46は、山形の場合に比べて、放熱性能の低下はわずかで済むとともに、口金部材29を形成する際の材料の使用量をより削減してコストを低減できるとともに製造性も向上でき、また、口金部材29の質量の増加をより抑制できる。
このように、本実施形態のランプ装置18においても、口金部30の下面に突出する発光モジュール46を設けることにより、配光制御の自由度を向上でき、放熱性能を低下させずに質量の増加を低減できる。
特に、発光モジュール取付部46を口金部30の下面の一部から垂直に突出させて形成することにより、発光モジュール取付部46を山形とした場合に比べて、口金部材29の質量の増加をより軽減でき、ランプ装置18に規定されている質量の上限値以内に収めることがより容易にできる。
口金部30の周面部を絶縁性を有するケース28の口金周面部28bで構成することにより、口金部材29が金属製でも、ランプピン72に対する電気絶縁性を向上できる。この場合、端面部42を大径にすることが可能であるため、放熱性を阻害することはない。なお、このような口金部30の構成は、第1の実施形態と組み合わせることもできる。
なお、発光モジュール取付部46は、口金部材29に一体に形成したが、口金部材29とは別体に形成し、熱伝導シートなどを介して口金部材29に取り付けるようにしてもよい。この場合、発光モジュール23から放熱体17への熱伝導性の低下はわずかで済み、そのうえで、口金部材29を共通化し、配光制御に応じて高さの異なる発光モジュール取付部46を選択することにより、異なる配光制御のランプ装置18を容易に提供できる。
本発明のいくつかの実施形態を説明したが、これらの実施形態は、例として提示したものであり、発明の範囲を限定することは意図していない。これら新規な実施形態は、その他の様々な形態で実施されることが可能であり、発明の要旨を逸脱しない範囲で、種々の省略、置き換え、変更を行うことができる。これら実施形態やその変形は、発明の範囲や要旨に含まれるとともに、特許請求の範囲に記載された発明とその均等の範囲に含まれる。
11 照明器具
16 ソケット
17 放熱体
18 ランプ装置
21 筐体
23 発光モジュール
25 点灯回路
28 ケース
28a 開口部
28b 突出部としての口金周面部
29 口金部材
46 発光モジュール取付部
72 ランプピン

Claims (5)

  1. 発光素子を有する発光モジュールと;
    一面側に開口部形成され、他面側に環状の突出部が突出された樹脂製のケースと、前記突出部の端面に取り付けられた金属製の口金部材とを有し、前記口金部材には中央部の肉厚を厚くすることによって前記開口部へ向けて突出するように発光モジュール取付部が一体に形成され、前記発光モジュール取付部に前記発光モジュールが取り付けられた筐体と;
    前記筐体内に収容された点灯回路と;
    を具備していることを特徴とするランプ装置。
  2. 前記発光モジュール取付部は、前記発光モジュール取付部の他面側の面積が一面の面積より広い山形に形成されている
    ことを特徴とする請求項1記載のランプ装置。
  3. 前記発光モジュール取付部は、前記口金部の一面の一部から垂直に突出されている
    ことを特徴とする請求項1記載のランプ装置。
  4. 前記ケースの他面周辺部から突出するランプピンを具備している
    ことを特徴とする請求項1ないし3いずれか一記載のランプ装置。
  5. 請求項1ないし4いずれか一記載のランプ装置と;
    前記ランプ装置を装着するソケットと;
    前記ソケットに装着される前記ランプ装置の前記口金部の他面が接触する放熱体と;
    を具備していることを特徴とする照明器具。
JP2011019005A 2011-01-31 2011-01-31 ランプ装置および照明器具 Active JP5679111B2 (ja)

Priority Applications (4)

Application Number Priority Date Filing Date Title
JP2011019005A JP5679111B2 (ja) 2011-01-31 2011-01-31 ランプ装置および照明器具
EP12152507.5A EP2481973B1 (en) 2011-01-31 2012-01-25 Lamp apparatus and luminaire
CN201220029059XU CN202561467U (zh) 2011-01-31 2012-01-29 灯装置以及照明装置
US13/361,791 US8894254B2 (en) 2011-01-31 2012-01-30 Luminaire and lamp apparatus housing

Applications Claiming Priority (1)

Application Number Priority Date Filing Date Title
JP2011019005A JP5679111B2 (ja) 2011-01-31 2011-01-31 ランプ装置および照明器具

Publications (2)

Publication Number Publication Date
JP2012160334A JP2012160334A (ja) 2012-08-23
JP5679111B2 true JP5679111B2 (ja) 2015-03-04

Family

ID=46840710

Family Applications (1)

Application Number Title Priority Date Filing Date
JP2011019005A Active JP5679111B2 (ja) 2011-01-31 2011-01-31 ランプ装置および照明器具

Country Status (1)

Country Link
JP (1) JP5679111B2 (ja)

Families Citing this family (3)

* Cited by examiner, † Cited by third party
Publication number Priority date Publication date Assignee Title
KR101960793B1 (ko) * 2012-12-18 2019-03-21 엘지이노텍 주식회사 조명 장치
JP6103356B2 (ja) * 2013-02-07 2017-03-29 パナソニックIpマネジメント株式会社 照明装置
JP7390593B2 (ja) * 2019-04-19 2023-12-04 パナソニックIpマネジメント株式会社 照明器具

Family Cites Families (2)

* Cited by examiner, † Cited by third party
Publication number Priority date Publication date Assignee Title
JP5499475B2 (ja) * 2008-12-26 2014-05-21 東芝ライテック株式会社 ランプ装置および照明装置
JP2012069396A (ja) * 2010-09-24 2012-04-05 Citizen Holdings Co Ltd 照明ユニットおよび照明装置

Also Published As

Publication number Publication date
JP2012160334A (ja) 2012-08-23

Similar Documents

Publication Publication Date Title
JP5773136B2 (ja) ランプ装置および照明器具
JP5582305B2 (ja) ランプ装置および照明器具
JP5534219B2 (ja) ランプ装置および照明器具
CN202561467U (zh) 灯装置以及照明装置
JP5655950B2 (ja) ランプ及び照明器具
JP2012160332A (ja) ランプ装置および照明器具
JP2013077493A (ja) Led照明装置
JP6046878B2 (ja) ランプ装置および照明器具
JP5626528B2 (ja) ランプ装置および照明器具
JP5768966B2 (ja) ランプ装置および照明器具
JP5534215B2 (ja) ランプ装置および照明装置
JP5679111B2 (ja) ランプ装置および照明器具
JP2013008582A (ja) ランプ装置
JP6197996B2 (ja) ランプ装置および照明器具
CN202501234U (zh) 灯装置以及照明器具
JP5743062B2 (ja) ランプ装置および照明器具
JP6197990B2 (ja) ランプ装置および照明器具
JP5534216B2 (ja) ランプ装置および照明装置
JP6566347B2 (ja) 照明装置
JP5660410B2 (ja) ランプ装置および照明装置

Legal Events

Date Code Title Description
A621 Written request for application examination

Free format text: JAPANESE INTERMEDIATE CODE: A621

Effective date: 20130606

A977 Report on retrieval

Free format text: JAPANESE INTERMEDIATE CODE: A971007

Effective date: 20140424

A131 Notification of reasons for refusal

Free format text: JAPANESE INTERMEDIATE CODE: A131

Effective date: 20140521

A521 Written amendment

Free format text: JAPANESE INTERMEDIATE CODE: A523

Effective date: 20140718

TRDD Decision of grant or rejection written
A01 Written decision to grant a patent or to grant a registration (utility model)

Free format text: JAPANESE INTERMEDIATE CODE: A01

Effective date: 20141210

A61 First payment of annual fees (during grant procedure)

Free format text: JAPANESE INTERMEDIATE CODE: A61

Effective date: 20141223

R151 Written notification of patent or utility model registration

Ref document number: 5679111

Country of ref document: JP

Free format text: JAPANESE INTERMEDIATE CODE: R151