JP5380010B2 - Branch adapter - Google Patents

Branch adapter Download PDF

Info

Publication number
JP5380010B2
JP5380010B2 JP2008188873A JP2008188873A JP5380010B2 JP 5380010 B2 JP5380010 B2 JP 5380010B2 JP 2008188873 A JP2008188873 A JP 2008188873A JP 2008188873 A JP2008188873 A JP 2008188873A JP 5380010 B2 JP5380010 B2 JP 5380010B2
Authority
JP
Japan
Prior art keywords
bridge
transformer
branch
elements
impedance
Prior art date
Legal status (The legal status is an assumption and is not a legal conclusion. Google has not performed a legal analysis and makes no representation as to the accuracy of the status listed.)
Expired - Fee Related
Application number
JP2008188873A
Other languages
Japanese (ja)
Other versions
JP2010028564A (en
Inventor
直幸 渡辺
尚 加來
良二 置田
等 伊藤
透 小川
Current Assignee (The listed assignees may be inaccurate. Google has not performed a legal analysis and makes no representation or warranty as to the accuracy of the list.)
Kyoraku Industrial Co Ltd
Original Assignee
Kyoraku Industrial Co Ltd
Priority date (The priority date is an assumption and is not a legal conclusion. Google has not performed a legal analysis and makes no representation as to the accuracy of the date listed.)
Filing date
Publication date
Family has litigation
First worldwide family litigation filed litigation Critical https://patents.darts-ip.com/?family=41733949&utm_source=google_patent&utm_medium=platform_link&utm_campaign=public_patent_search&patent=JP5380010(B2) "Global patent litigation dataset” by Darts-ip is licensed under a Creative Commons Attribution 4.0 International License.
Application filed by Kyoraku Industrial Co Ltd filed Critical Kyoraku Industrial Co Ltd
Priority to JP2008188873A priority Critical patent/JP5380010B2/en
Publication of JP2010028564A publication Critical patent/JP2010028564A/en
Application granted granted Critical
Publication of JP5380010B2 publication Critical patent/JP5380010B2/en
Expired - Fee Related legal-status Critical Current
Anticipated expiration legal-status Critical

Links

Images

Landscapes

  • Cable Transmission Systems, Equalization Of Radio And Reduction Of Echo (AREA)

Description

本発明は、伝送路を流れている高周波信号を多数に分岐するとともに、伝送路の双方向に対してインピーダンスの整合、及びロスの最小化がとれた分岐アダプタに関するものである。   The present invention relates to a branch adapter that branches a large number of high-frequency signals flowing through a transmission line, and that can match impedance and minimize loss in both directions of the transmission line.

伝送路を流れている高周波信号を分岐(分配)するための分岐アダプタ(分配器)としては、例えば、CATV等の高周波信号を分岐する手段として各種の分岐アダプタが提案されている。このような分岐アダプタは、一つのトランスを用いて2分岐の出力を備えた2分岐アダプタ、あるいは複数のトランスを組み合せた電気回路により、多分岐の出力を備えた多分岐アダプタが提案されている。   As branch adapters (distributors) for branching (distributing) a high-frequency signal flowing through a transmission line, various branch adapters have been proposed as means for branching high-frequency signals such as CATV. As such a branch adapter, a two-branch adapter having a two-branch output using a single transformer or a multi-branch adapter having a multi-branch output by an electric circuit combining a plurality of transformers has been proposed. .

2分岐の出力端子を備えた2分岐アダプタとしては、例えば、下記の特許文献1に記載の発明が提案されている。特許文献1には、CATV等の高周波信号を分岐する分配器として、基板上に、単一のフェライトコアに巻線を施したインピーダンス整合用トランスT1と信号用分配トランスT2を配設して、これら整合用トランスT1と分配トランスT2とを金属板で結合した高周波信号分配器が記載されている。さらに、特許文献1には、整合用トランスT1は、この整合用トランスT1の出力インピーダンスが周波数に対し一定になるように、補正用の抵抗RsおよびコンデンサCsを介して接地させることが記載されている。   As a two-branch adapter having a two-branch output terminal, for example, the invention described in Patent Document 1 below has been proposed. In Patent Document 1, as a distributor for branching a high-frequency signal such as CATV, an impedance matching transformer T1 and a signal distribution transformer T2 in which a single ferrite core is wound are arranged on a substrate. A high-frequency signal distributor is described in which the matching transformer T1 and the distribution transformer T2 are coupled by a metal plate. Further, Patent Document 1 describes that the matching transformer T1 is grounded via the correction resistor Rs and the capacitor Cs so that the output impedance of the matching transformer T1 is constant with respect to the frequency. Yes.

多分岐の出力端子を備えた分岐アダプタとしては、例えば、下記の特許文献2に記載の発明が提案されている。特許文献2には、CATVシステム等に使用される高周波信号を6等分する6分配器として、入力端子側から第1の分配トランスT10(2分配トランス)と、第1の整合トランスT20と、第2の分配トランスT30(3分配トランス)と、第2の整合トランスT40とをこの順に配列した構成とした6分配器が記載されている。さらに、特許文献2には、上記のように各トランスを配置することにより高周波信号の高域における劣化を抑え、安定したインピーダンスを得ることができることが記載されている。   As a branch adapter provided with a multi-branch output terminal, for example, the invention described in Patent Document 2 below has been proposed. In Patent Document 2, as a 6 divider that divides a high-frequency signal used in a CATV system or the like into six equal parts, a first distribution transformer T10 (two distribution transformers), a first matching transformer T20, and the like from the input terminal side, A 6-distributor is described in which a second distribution transformer T30 (three distribution transformers) and a second matching transformer T40 are arranged in this order. Furthermore, Patent Document 2 describes that by disposing each transformer as described above, it is possible to suppress deterioration in a high frequency signal in a high region and obtain a stable impedance.

特開2002−271161号公報JP 2002-271161 A 特許第3153559号公報Japanese Patent No. 3153559

上記特許文献1に記載の高周波信号分配器は、インピーダンス整合用トランスT1と信号用分配トランスT2を配設することにより、高周波信号を2分岐する分配器であって、高周波信号をさらに3分岐以上に多分岐するための構成については開示されていない。また、特許文献1に記載の高周波信号分配器は、高周波信号が入力端子側から出力端子側へと一方向に流れるときのインピーダンス整合をとる手段は設けられているが、この分配器は、高周波信号を出力端子側から入力端子側に流すための分配器、すなわち、伝送路に高周波信号を双方向に流すために使用するための分配器ではない。   The high-frequency signal distributor described in Patent Document 1 is a distributor that divides a high-frequency signal into two by disposing an impedance matching transformer T1 and a signal distribution transformer T2, and further divides the high-frequency signal into three or more branches. The configuration for branching into multiple branches is not disclosed. The high-frequency signal distributor described in Patent Document 1 is provided with means for impedance matching when a high-frequency signal flows in one direction from the input terminal side to the output terminal side. It is not a distributor for flowing a signal from the output terminal side to the input terminal side, that is, a distributor used for flowing a high-frequency signal bidirectionally through the transmission line.

上記特許文献2に記載の6分配器は、入力端子側から第1の分配トランスT10(2分配トランス)と、第1の整合トランスT20と、第2の分配トランスT30(3分配トランス)と、第2の整合トランスT40とをこの順に配列した構成にすることにより、6分配した分配器であるが、上記特許文献1と同様に、伝送路に高周波信号を双方向に流すために使用するための分配器ではない。   The 6 distributor described in Patent Document 2 includes a first distribution transformer T10 (two distribution transformers), a first matching transformer T20, a second distribution transformer T30 (three distribution transformers) from the input terminal side, By arranging the second matching transformer T40 in this order, the distributor is divided into six parts. However, similar to the above-mentioned Patent Document 1, it is used for flowing a high-frequency signal bidirectionally on the transmission line. It is not a distributor.

データ通信を行なうための通信線を備えたネットワークシステムにおいては、この通信線(伝送路)にはデータ信号となる高周波信号が双方向に流れる。そして、このネットワークシステムに多数の端末装置を接続する場合には、この伝送路を多数に分岐する必要が生じる場合がある。例えば、AC100Vの電力線を利用して通信を行なうPLC(Power Line Communication)通信を用いたネットワークシステムである。   In a network system including a communication line for performing data communication, a high-frequency signal serving as a data signal flows bidirectionally on the communication line (transmission path). When a large number of terminal devices are connected to the network system, it may be necessary to branch the transmission path into a large number. For example, it is a network system using PLC (Power Line Communication) communication that performs communication using an AC 100V power line.

例えば、大規模ビルディング等において、各フロアに配置されているパーソナルコンピュータ等の端末装置や各種の電気(電子)機器等を、PLC通信を用いたネットワークで接続する場合には、フロアに配線された電力線をさらに多数に分岐してこれら電子機器に接続する必要が生じる。上記した特許文献1及び2には、上記したネットワークシステムの伝送路において、双方向に高周波信号を流すことを目的とした分岐アダプタではない。   For example, in a large-scale building or the like, when connecting a terminal device such as a personal computer or various electric (electronic) devices arranged on each floor via a network using PLC communication, it is wired to the floor. It is necessary to branch the power line into a larger number and connect it to these electronic devices. Patent Documents 1 and 2 described above are not branch adapters for the purpose of flowing a high-frequency signal bidirectionally in the transmission path of the network system described above.

そこで、本発明の目的は、高周波信号を多数に分岐することができるとともに、双方向に高周波信号を流してもインピーダンス整合がとれ、かつ、分岐ロスを最小化することができる分岐アダプタを提供することにある。特に、本発明は、PLC通信を用いたネットワークシステムの伝送路を多数に分岐するための分岐アダプタを提供することにある。   SUMMARY OF THE INVENTION Accordingly, an object of the present invention is to provide a branch adapter that can branch a high-frequency signal into a large number, can achieve impedance matching even when a high-frequency signal is passed in both directions, and can minimize branch loss. There is. In particular, the present invention is to provide a branch adapter for branching a transmission line of a network system using PLC communication into a large number.

上記した課題を解決するために、請求項1に記載の発明に係る分岐アダプタは、4個のインピーダンス素子により構成したブリッジの一方の対角に1個のインピーダンス素子を接続し、他方の対角に1個のインピーダンス素子を接続したブリッジ回路であって、前記ブリッジを構成する4個のインピーダンス素子を4個のトランス素子により構成するとともに、各トランスの二次側を接続することにより前記ブリッジを構成し、前記一方の対角に接続される1個のインピーダンス素子をトランス素子により構成するとともに、当該トランス素子の二次側を前記ブリッジの一方の対角に接続し、前記他方の対角に接続される1個のインピーダンス素子を抵抗により構成し、前記一方の対角に接続されるトランス素子の一次側を伝送データとなる高周波信号が入力される入力端子とするとともに、前記ブリッジを構成する4個のトランス素子各々の一次側を外部機器が接続される出力端子とした、ことを特徴としている。 In order to solve the above-described problem, the branch adapter according to the invention described in claim 1 is configured such that one impedance element is connected to one diagonal of a bridge constituted by four impedance elements, and the other diagonal. A bridge circuit in which one impedance element is connected to each other, wherein the four impedance elements constituting the bridge are constituted by four transformer elements , and the bridge is formed by connecting the secondary side of each transformer. And one impedance element connected to the one diagonal is configured by a transformer element, and the secondary side of the transformer element is connected to one diagonal of the bridge, and the other diagonal is One impedance element to be connected is constituted by a resistor, and the primary side of the transformer element connected to the one diagonal is used as transmission data. In addition to an input terminal to which a high-frequency signal is input, the primary side of each of the four transformer elements constituting the bridge is an output terminal to which an external device is connected .

また、請求項2に記載の発明に係る分岐アダプタは、トランス素子の二次側の一方どうしを接続した二つのトランス素子から構成される2組について、その各組の前記トランス素子の他の二次側どうしを連結するとともに、当該連結した二次側どうしを、抵抗を介して接続した4個のトランス素子の組合せを有する回路と、一次側を伝送データとなる高周波信号が入力される入力端子とした分岐前ポート用トランス素子を備え、前記分岐前ポート用トランス素子の二次側の一方を前記二つのトランス素子の二次側の一方どうしを接続した一方の接続部に接続し、前記分岐前ポート用トランス素子の二次側の他方を前記二つのトランス素子の二次側の方どうしを接続した他方の接続部に接続した構成からなり、前記4個のトランス素子の一次側を、外部機器が接続される出力端子である分岐後ポートとした、ことを特徴としている。 The branch adapter according to the second aspect of the present invention relates to two sets of two transformer elements in which one of the secondary sides of the transformer elements is connected to each other. A circuit having a combination of four transformer elements in which the secondary sides are connected to each other and the connected secondary sides are connected through a resistor, and an input terminal to which a high-frequency signal serving as transmission data is input on the primary side A pre-branch port transformer element, wherein one of the secondary sides of the pre-branch port transformer element is connected to one connecting portion connecting the secondary sides of the two transformer elements, and the branch consists arrangement connected the other of the secondary side before transformer device port to the other connection portion connecting the hand each other on the secondary side of the two transformer device, the primary of the four transformer element Were a branch after the port is an output terminal of an external device is connected, it is characterized in that.

また、請求項3に記載の発明に係る分岐アダプタは、トランス素子の二次側の一方どうしを接続した二つのトランス素子から構成される2組について、その各組の前記トランス素子の他の二次側どうしを連結するとともに、当該連結した二次側どうしを、抵抗を介して接続した4個のトランス素子の組合せを有するブリッジ構成であるブリッジ1と、ブリッジ2と、ブリッジ3と、ブリッジ4と、一次側を伝送データとなる高周波信号が入力される入力端子とした分岐前ポート用トランス素子と、を備え、前記ブリッジ1と前記ブリッジ2の前記抵抗を介して接続された二次側ではない一方の二次側どうしを接続するとともに、前記分岐前ポート用トランス素子の二次側の一方に接続し、前記ブリッジ3と前記ブリッジ4の前記抵抗を介して接続された二次側ではない一方の二次側どうしを接続するとともに、前記分岐前ポート用トランス素子の二次側の他方に接続し、前記ブリッジ1と前記ブリッジ3の前記抵抗を介して接続された二次側ではない他方の二次側どうしを接続(以下、ブリッジ1−3間という)し、前記ブリッジ2と前記ブリッジ4の前記抵抗を介して接続された二次側ではない他方の二次側どうしを接続する(以下、ブリッジ2−4間という)とともに、前記ブリッジ1−3間と前記ブリッジ2−4間とを抵抗を介して接続し、前記ブリッジ1および、前記ブリッジ2および、前記ブリッジ3および、前記ブリッジ4を構成する16個のトランス素子の一次側を、外部機器が接続される出力端子である分岐後ポートとした、ことを特徴としている。
According to the third aspect of the present invention, there is provided a branch adapter according to the present invention, wherein two sets of two transformer elements connected to each other on the secondary side of a transformer element are connected to the other two transformer elements. Bridges 1, 2, 3, 4, which have a bridge configuration including a combination of four transformer elements in which the secondary sides are connected to each other and the connected secondary sides are connected via resistors. And a pre-branching port transformer element having the primary side as an input terminal to which a high-frequency signal serving as transmission data is input, and the secondary side connected via the resistors of the bridge 1 and the bridge 2 with connecting no one secondary-side each other, and connected to one of the secondary side of the transformer device for the branch before port, via the resistor of the bridge 3 and the bridge 4 With connecting one of the secondary-side each other not continue to secondary side, connected to the other of the secondary side the branch before transformer device port, connected through the resistor of the bridge 1 and the bridge 3 Connected to the other secondary side that is not the secondary side (hereinafter referred to as between the bridges 1-3), and the other non-secondary side that is connected via the resistance of the bridge 2 and the bridge 4 The secondary sides are connected to each other (hereinafter referred to as between the bridges 2-4), the bridges 1-3 are connected to the bridges 2-4 via resistors, and the bridge 1 and the bridge 2 The primary side of the 16 transformer elements that constitute the bridge 3 and the bridge 4 is a post-branching port that is an output terminal to which an external device is connected.

また、請求項4に記載の発明は、請求項1から請求項3のいずれかに記載の分岐アダプタに係り、前記トランス素子は、その一次側と二次側の巻線比は1:1とされていることを特徴としている。   According to a fourth aspect of the present invention, there is provided the branch adapter according to any one of the first to third aspects, wherein the transformer element has a winding ratio of 1: 1 between the primary side and the secondary side. It is characterized by being.

また、請求項5に記載の発明は、請求項1から請求項4のいずれかに記載の分岐アダプタに係り、前記トランス素子の一次側は、その接続ポートと前記一次側との間に接続された結合コンデンサを備えていることを特徴としている。   A fifth aspect of the present invention relates to the branch adapter according to any of the first to fourth aspects, wherein the primary side of the transformer element is connected between the connection port and the primary side. It is characterized by having a coupling capacitor.

また、請求項6に記載の発明は、請求項1から請求項5のいずれかに記載の分岐アダプタに係り、前記トランス素子の一次側は、その接続ポート間に設けた終端抵抗を作動させるためのスイッチ手段を備えていることを特徴としている。   The invention according to claim 6 relates to the branch adapter according to any one of claims 1 to 5, wherein the primary side of the transformer element operates a terminating resistor provided between the connection ports. The switch means is provided.

本発明によれば、一次二次コイルの巻線比を1:1にした5個のトランス素子を、ブリッジ構成の回路を形成するように接続した構成を備え、さらに、ブリッジ構成の回路に50Ωのインピーダンス素子を備えているので、伝送路における高周波信号の双方向の分岐ロスを最小化することができ、さらに、伝送路の双方向のインピーダンス整合をとることができる4分岐の分岐アダプタを提供することができる。   According to the present invention, it is provided with a configuration in which five transformer elements having a primary / secondary coil turns ratio of 1: 1 are connected so as to form a bridge-structured circuit. Since the impedance element is provided, it is possible to minimize the bidirectional branch loss of the high-frequency signal in the transmission line, and further provide a four-branch branch adapter capable of matching the bidirectional impedance of the transmission line. can do.

本発明は、さらに、5個のトランス素子をブリッジ構成の回路を形成するように接続した4組を、ブリッジ構成の回路を形成するように多重構造とすることにより、16分岐の分岐アダプタを提供することができる。
また、本発明の分岐アダプタは、分岐後ポートに終端抵抗を接続することにより、2分岐〜15分岐を備えた分岐アダプタとして使用することができるようになる。これにより、本発明は、特に、多数の端末装置を接続したPLC通信を用いたネットワークシステムの伝送路を、多数に分岐するための分岐アダプタとして効果を発揮することができる。
The present invention further provides a 16-branch branch adapter by forming four sets of five transformer elements connected so as to form a bridge-structured circuit into a multiple structure so as to form a bridge-structured circuit. can do.
Further, the branch adapter of the present invention can be used as a branch adapter having 2 to 15 branches by connecting a termination resistor to the post-branch port. Thereby, especially this invention can exhibit an effect as a branch adapter for branching the transmission path of the network system using PLC communication which connected many terminal devices to many.

前記したように、従来から、伝送路を分岐する手段として2方向等に分岐する高周波トランス素子が使用されているが、ネットワーク上に多数の端末装置等の電子機器を接続するためには、例えば、伝送路を4分岐以上と多数に分岐するとともに、双方向に対してインピーダンス整合がとれた分岐アダプタを用いる必要性が生じる。すなわち、このような分岐アダプタには、下記1)〜3)に記載の要求を満たす必要がある。   As described above, conventionally, a high-frequency transformer element that branches in two directions or the like is used as a means for branching a transmission line. In order to connect a large number of electronic devices such as terminal devices on a network, for example, Therefore, it is necessary to use a branch adapter in which the transmission path is branched into a large number of four branches or more and impedance matching is performed in both directions. That is, such a branch adapter needs to satisfy the requirements described in 1) to 3) below.

1)伝送路を多数に分岐するので、双方向の分岐ロスが増大するが、これを最小化する。さらに、双方向のインピーダンス整合をとる。   1) Since the transmission path is branched into a large number, the bidirectional branch loss increases, but this is minimized. Furthermore, bidirectional impedance matching is taken.

2)電力線となるAC100Vとも結合可能にするとともに、高周波トランス素子から構成された分岐アダプタを実現する場合には、一次と対地間、および一次と二次間の絶縁が確保される構成にする。さらに、分岐アダプタの分岐後ポートの全てに電子機器が接続されている場合と、この分岐後ポートの一部に電子機器が接続されていない場合とで、終端抵抗が自動的あるいは手動で開放又は接続可能となる構成にして、上記した双方向(下り方向と上り方向)のインピーダンスの整合がとれるような構成にする。   2) AC100V as a power line can be coupled, and when realizing a branch adapter composed of a high-frequency transformer element, insulation between the primary and the ground and between the primary and secondary is ensured. Further, the termination resistor is automatically or manually opened or disconnected when an electronic device is connected to all the branched ports of the branch adapter and when an electronic device is not connected to a part of the branched port. The configuration is such that connection is possible, and the above-described bidirectional (downward and upstream) impedance matching is achieved.

3)多数の電子機器を接続するネットワークの伝送路を、分岐アダプタで分岐するために、1本の伝送路を、最大16分岐を行なうことができるような多分岐可能な構成にする。   3) Since a transmission line of a network connecting a large number of electronic devices is branched by a branch adapter, a single transmission line is configured to be capable of performing multi-branching so that a maximum of 16 branches can be performed.

上記の要求を解決するために、本発明の分岐アダプタは、次の1)〜5)に記載の技術的思想に基づいて実現したものである。   In order to solve the above requirements, the branch adapter of the present invention is realized based on the technical idea described in the following 1) to 5).

1)図1に示す6個のインピーダンス素子Z0〜Z5がブリッジ回路を構成するように結合した回路において、これらインピーダンス素子Z0〜Z5を50Ωに統一とする。このインピーダンス素子Z0〜Z5がブリッジ構成をなす回路において、インピーダンス素子Z5からみたインピーダンスは50Ωとなり、インピーダンス素子Z0からみたインピーダンスも50Ωになる。同様に、インピーダンス素子Z1、Z2、Z3からみたインピーダンスも50Ωになる。また、逆側からみたインピーダンスもそれぞれ50Ωとなる。   1) In a circuit in which the six impedance elements Z0 to Z5 shown in FIG. 1 are coupled to form a bridge circuit, the impedance elements Z0 to Z5 are unified to 50Ω. In the circuit in which the impedance elements Z0 to Z5 form a bridge configuration, the impedance viewed from the impedance element Z5 is 50Ω, and the impedance viewed from the impedance element Z0 is also 50Ω. Similarly, the impedance viewed from the impedance elements Z1, Z2, and Z3 is 50Ω. Also, the impedance viewed from the opposite side is 50Ω respectively.

2)また、図1に示すブリッジ回路において、インピーダンス素子Z5を駆動インピーダンスとし、インピーダンス素子Z0を終端インピーダンスとした場合、インピーダンス素子Z5とZ0間の電圧レベルは6dBのダウンとなり、同様に、インピーダンス素子Z5とインピーダンス素子Z1、Z2、Z3の間の分岐ロスも6dBのダウンとなる。   2) Further, in the bridge circuit shown in FIG. 1, when the impedance element Z5 is a driving impedance and the impedance element Z0 is a termination impedance, the voltage level between the impedance elements Z5 and Z0 is reduced by 6 dB. The branch loss between Z5 and the impedance elements Z1, Z2, and Z3 is also reduced by 6 dB.

3)逆に、インピーダンス素子Z0を駆動インピーダンスとし、インピーダンス素子Z5を終端インピーダンスとした場合、インピーダンス素子Z0とZ5間の電圧レベルは6dBのダウンとなり、同様に、インピーダンス素子Z1、Z2、Z3をそれぞれ駆動インピーダンスとした場合も電圧レベルは6dBのダウンが実現できる。   3) Conversely, when the impedance element Z0 is the drive impedance and the impedance element Z5 is the termination impedance, the voltage level between the impedance elements Z0 and Z5 is 6 dB down, and similarly, the impedance elements Z1, Z2, and Z3 are respectively set to Even when driving impedance is used, the voltage level can be reduced by 6 dB.

4)すなわち、図1に示すブリッジ回路において、ブリッジを構成する全てのインピーダンス素子を50Ωに統一し、ブリッジ回路の第1の中間点aとc(図1に示す対角a、c)に分岐前のインピーダンス素子Z5の一方を接続し、対角(b、d)、すなわち、第2の中間点bとd間に配置したインピーダンス素子Z4を50Ωの抵抗として終端すれば、双方向の分岐ロスが最小化された、かつ、双方向インピーダンスの整合がとれた分岐アダプタを実現することができる。すなわち、ブリッジ回路を構成する6つのインピーダンス素子のうち、ブリッジ回路がなす一方の対角を接続するインピーダンス素子(Z4)を、所定の抵抗値を有する終端抵抗とする。   4) That is, in the bridge circuit shown in FIG. 1, all impedance elements constituting the bridge are unified to 50Ω and branched to the first intermediate points a and c (diagonals a and c shown in FIG. 1) of the bridge circuit. If one of the previous impedance elements Z5 is connected and the impedance element Z4 arranged between the diagonal (b, d), that is, between the second intermediate points b and d, is terminated as a 50Ω resistor, a bidirectional branch loss Can be realized and a bi-directional impedance matching can be realized. That is, among the six impedance elements constituting the bridge circuit, the impedance element (Z4) connecting one diagonal formed by the bridge circuit is set as a termination resistor having a predetermined resistance value.

5)そして、図1に示すインピーダンス素子Z0、Z1、Z2、Z3及びZ5の代わりに、トランス素子を使用し、これら5つのトランス素子の一次側を外部機器と接続するポート(端子)として使用する。さらに、これらのトランス素子の二次側を、ブリッジ回路を構成する構成要素として使用するとともに、インピーダンス素子Z4を50Ωの抵抗として終端したブリッジを構成することにより、一次一次間、一次二次間で絶縁が確保できる分岐アダプタを実現することができる。   5) Instead of the impedance elements Z0, Z1, Z2, Z3 and Z5 shown in FIG. 1, transformer elements are used, and the primary side of these five transformer elements is used as a port (terminal) for connecting to an external device. . Furthermore, the secondary side of these transformer elements is used as a component constituting the bridge circuit, and by constructing a bridge in which the impedance element Z4 is terminated as a 50Ω resistor, between the primary and primary, between the primary and secondary A branch adapter that can ensure insulation can be realized.

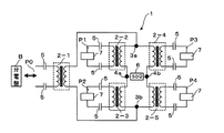
以下に、上記した技術的思想に基づいて開発した本発明の分岐アダプタについて、その実施形態を説明する。図2は、本発明の分岐アダプタについて、第1の実施形態を示す回路構成図であって、4分岐の分岐アダプタの一例を示している。   Below, the embodiment is described about the branch adapter of the present invention developed based on the above-mentioned technical idea. FIG. 2 is a circuit configuration diagram showing the first embodiment of the branch adapter of the present invention, and shows an example of a four-branch branch adapter.

(第1の実施形態)
図2は、4分岐の構成とした分岐アダプタ1の回路構成例を示している。この分岐アダプタ1は、フェライトコアから構成される高周波用小型トランス素子(以下、「トランス素子」という)の5個を、ブリッジ構成の回路を形成するように構成している。これら各トランス素子の一次側及び2次側のコイルの巻線数の比は1:1としている。また、高周波用のトランス素子であるために、その巻数は2〜4巻き程度で良い。さらに、このトランス素子の形状は1cm程度の小型・薄型形状に製造することができる。さらに、これら複数のトランス素子を基板に配置して回路を形成することにより、一つの分岐アダプタをユニット化することができる。
(First embodiment)
FIG. 2 shows a circuit configuration example of the branch adapter 1 having a four-branch configuration. The branch adapter 1 is configured to form a bridge-structured circuit of five small high-frequency transformer elements (hereinafter referred to as “transformer elements”) composed of ferrite cores. The ratio of the number of windings of the primary and secondary coils of each transformer element is set to 1: 1. Moreover, since it is a high frequency transformer element, the number of turns may be about 2 to 4 turns. Furthermore, the transformer element can be manufactured in a small and thin shape of about 1 cm 3 . Furthermore, a single branch adapter can be unitized by arranging a plurality of transformer elements on a substrate to form a circuit.

図2に示す分岐アダプタ1は、5個のトランス素子(2−1)〜(2−5)を、ブリッジ構造からなる回路を形成するように接続して、4分岐の出力端子(分岐後ポート)P1〜P4を備えた構成としたものである。図2に示すように、5個のトランス素子のうち、トランス素子(2−1)の一次側をネットワークの通信線、あるいはPLC通信を用いたネットワークの場合には電力線を接続する入力側端子(以下、「分岐前ポート」という)用トランス素子としている。また、4個のトランス素子(2−2)〜(2−5)のそれぞれの一次側を外部機器となる電子機器を接続する出力端子(以下、「分岐後ポート」という)としている。これにより、分岐アダプタ1は、分岐前ポートP0がブリッジを構成する回路により4分岐された分岐後ポートP1、P2、P3、P4を備えることになる。   The branch adapter 1 shown in FIG. 2 connects five transformer elements (2-1) to (2-5) so as to form a circuit having a bridge structure, and has four branch output terminals (post-branch ports). ) It is set as the structure provided with P1-P4. As shown in FIG. 2, among the five transformer elements, the primary side of the transformer element (2-1) is a network communication line, or in the case of a network using PLC communication, an input side terminal for connecting a power line ( Hereinafter, the transformer element is referred to as a “port before branch”. The primary side of each of the four transformer elements (2-2) to (2-5) is used as an output terminal (hereinafter referred to as “post-branch port”) to which an electronic device as an external device is connected. As a result, the branch adapter 1 includes the post-branch ports P1, P2, P3, and P4 in which the pre-branch port P0 is branched into four by a circuit that forms a bridge.

図2に示す4分岐の分岐アダプタ1の回路構成を詳細に説明すると次のようになる。
分岐前ポートとなるトランス素子(2−1)の一次側、すなわち、分岐前ポートP0は、AC100Vを供給する電力線と接続する端子になる。図2に示す例では、この分岐前ポートP0が、分電盤Bから分岐した電力線(AC100V)を接続することを示している。
The circuit configuration of the four-branch branch adapter 1 shown in FIG. 2 will be described in detail as follows.
The primary side of the transformer element (2-1) serving as the pre-branch port, that is, the pre-branch port P0 is a terminal connected to a power line that supplies AC 100V. In the example shown in FIG. 2, this pre-branch port P <b> 0 indicates that a power line (AC 100 V) branched from the distribution board B is connected.

そして、このトランス素子(2−1)の二次側の一つを、2つのトランス素子(2−2)とトランス素子(2−4)の二次側の一方を結ぶ導線に連結点3aとして接続する。また、トランス素子(2−1)の他の二次側を、2つのトランス素子(2−3)とトランス素子(2−5)の他方の二次側を結ぶ導線に連結点3bとして接続する。   Then, one of the secondary sides of the transformer element (2-1) is connected to a conducting wire connecting the two transformer elements (2-2) and one of the secondary sides of the transformer element (2-4) as a connection point 3a. Connecting. Further, the other secondary side of the transformer element (2-1) is connected as a connection point 3b to a conductor connecting the two transformer elements (2-3) and the other secondary side of the transformer element (2-5). .

さらに、トランス素子(2−2)とトランス素子(2−4)の他の二次側と、トランス素子(2−3)とトランス素子(2−5)の他の二次側とをそれぞれ連結点4a、4bとして接続するとともに、連結点4aと4bとを50Ωの抵抗6を介して接続する。また、電力線と接続するトランス素子(2−1)の一次側にはそれぞれ結合コンデンサ5を接続し、トランス素子(2−2)〜(2−5)の一次側もコンデンサ5を接続した分岐後ポートとしている。これにより、各トランス素子の二次側は、ブリッジ回路を構成する構成要素になる。   Furthermore, the other secondary side of the transformer element (2-2) and the transformer element (2-4) is connected to the other secondary side of the transformer element (2-3) and the transformer element (2-5), respectively. While connecting as points 4a and 4b, connecting points 4a and 4b are connected through a resistor 6 of 50Ω. Further, a coupling capacitor 5 is connected to the primary side of the transformer element (2-1) connected to the power line, and the primary side of the transformer elements (2-2) to (2-5) is also connected to the capacitor 5 after branching. Port. Thereby, the secondary side of each transformer element becomes a component constituting the bridge circuit.

図2に示す構成の分岐アダプタ1において、トランス素子(2−1)の一次側を分岐前ポートP0として、AC100Vを供給する電力線と接続しても、結合コンデンサ5によりAC100Vはカットされて伝送データとなる高周波信号のみが分岐アダプタ1を構成する回路内を流れる。これにより、分岐アダプタ1はAC100Vに接続可能な分岐アダプタとすることができる。   In the branch adapter 1 having the configuration shown in FIG. 2, even if the primary side of the transformer element (2-1) is connected to the power line supplying AC 100V with the pre-branch port P0, the AC 100V is cut by the coupling capacitor 5 and the transmission data Only the high-frequency signal that flows through the circuit constituting the branch adapter 1 flows. Thereby, the branch adapter 1 can be made into the branch adapter which can be connected to AC100V.

さらに、ブリッジ構成となるように5つのトランス素子(2−1)〜(2−5)を接続しているので、分岐アダプタ1を構成する各トランス素子の一次側は、いずれも上り方向及び下り方向からみてもインピーダンスが同一、すなわち、伝送路の下り及び上り方向の双方においてインピーダンスの整合をとることができる。また、ブリッジ構成により、伝送路を4つに分岐しても分岐におるロスを最小化させることが可能になる。さらに、各トランス素子(2−1)〜(2−5)の一次側に結合コンデンサ5を接続し、これら一次側に外部機器7を接続する構成としているので、トランス素子の一次二次間の絶縁と、分岐アダプタ1の耐圧を確保することが可能になる。   Further, since the five transformer elements (2-1) to (2-5) are connected so as to form a bridge configuration, the primary side of each transformer element constituting the branch adapter 1 is in the upstream and downstream directions. When viewed from the direction, the impedance is the same, that is, impedance matching can be achieved both in the downstream and upstream directions of the transmission path. Further, the bridge configuration can minimize the loss at the branch even if the transmission path is branched into four. Further, since the coupling capacitor 5 is connected to the primary side of each transformer element (2-1) to (2-5) and the external device 7 is connected to the primary side, the transformer element is connected between the primary and secondary sides. Insulation and the withstand voltage of the branch adapter 1 can be secured.

図3は、図2に示す分岐アダプタ1において、トランス素子(2−2)〜(2−5)の一次側のいずれかの分岐後ポートP1〜P4、例えばトランス素子(2−5)(ポートP4)に電子機器7を接続する必要がない場合に、トランス素子(2−5)の一次側に50Ωの終端抵抗8を接続して上記したインピーダンスの整合をとるようにした例を示している。このように、電子機器7を接続しない分岐後ポートP1〜P4の何れかには、50Ωの終端抵抗8を接続することにより、図2に示す4分岐の分岐アダプタ1は、2又は3分岐の分岐アダプタとして使用することができる。また、50Ωの終端抵抗を実際に接続する場合には、外部機器との接続を考慮して後述する図5に示すような構成にするとよい。   FIG. 3 shows the branching adapter 1 shown in FIG. 2, the post-branching ports P1 to P4 on the primary side of the transformer elements (2-2) to (2-5), for example, the transformer element (2-5) (port In the case where it is not necessary to connect the electronic device 7 to P4), an example is shown in which the impedance matching described above is performed by connecting a 50Ω termination resistor 8 to the primary side of the transformer element (2-5). . In this way, by connecting the 50Ω termination resistor 8 to any of the post-branch ports P1 to P4 not connected to the electronic device 7, the four-branch branch adapter 1 shown in FIG. Can be used as a branch adapter. Further, when a 50Ω termination resistor is actually connected, a configuration as shown in FIG.

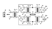
(第2の実施形態)
続いて、本発明に係る分岐アダプタの第2の実施形態を、図4に基づいて説明する。図4は、16分岐とした分岐アダプタ11の回路構成例を示している。この16分岐の分岐アダプタ11は、図2に示すブリッジ構造からなる回路を一つのユニットとして、このユニットの4つを、さらにブリッジ構造を形成するように配置することにより、16分岐の分岐アダプタとしたものである。
(Second Embodiment)
Next, a second embodiment of the branch adapter according to the present invention will be described with reference to FIG. FIG. 4 shows a circuit configuration example of the branch adapter 11 having 16 branches. This 16-branch branch adapter 11 has a circuit having a bridge structure shown in FIG. 2 as a unit, and four of these units are further arranged to form a bridge structure. It is a thing.

図4に示す16分岐の分岐アダプタ11は、図1に示すブリッジ構成をなす4つの高周波トランス素子(2−2)〜(2−5)を一つのブリッジ構成パターン(図4に示すパターンA1、A2、A3、A4)とし、このブリッジ構成パターンの4つが、さらにブリッジ構成をなすように配置した回路構成とすることにより、16個の分岐後ポートP1〜P16が形成されるようにしたものである。すなわち、図4に示すように、1個の高周波トランス素子(2−1)を分岐前用トランスとしてその一次側を分岐前ポートP0とし、16個の高周波トランス素子(2−2)〜(2−17)の一次側を分岐後ポートP1〜P16として、計16個の分岐後ポートを備えた回路構成としたものである。   The branch adapter 11 of 16 branches shown in FIG. 4 includes four high-frequency transformer elements (2-2) to (2-5) having the bridge configuration shown in FIG. 1 as one bridge configuration pattern (pattern A1, FIG. A2, A3, and A4), and four of these bridge configuration patterns are further arranged to form a bridge configuration so that 16 post-branching ports P1 to P16 are formed. is there. That is, as shown in FIG. 4, one high-frequency transformer element (2-1) is a pre-branch transformer and its primary side is a pre-branch port P0, and 16 high-frequency transformer elements (2-2) to (2) −17) The primary side is the post-branch ports P1 to P16, and the circuit configuration includes a total of 16 post-branch ports.

図4に示す16分岐の分岐アダプタ11について、その回路構成の詳細を説明すると次のようになる。
1)ブリッジ構成パターンA1を構成するトランス素子(2−2)と(2−4)の二次側の一方どうしを導線で接続する。同様に、ブリッジ構成パターンA2を構成するトランス素子(2−10)と(2−12)の二次側の一方どうしを接続するとともに、これら接続した導線の連結点(3a−1)と(3a−2)を導線9aにより接続する。
The details of the circuit configuration of the 16-branch branch adapter 11 shown in FIG. 4 will be described as follows.
1) One side of the secondary side of the transformer elements (2-2) and (2-4) constituting the bridge configuration pattern A1 is connected by a conducting wire. Similarly, one of the secondary elements of the transformer elements (2-10) and (2-12) constituting the bridge configuration pattern A2 is connected to each other, and connection points (3a-1) and (3a) of these connected conductors are connected. -2) is connected by the conducting wire 9a.

2)ブリッジ構成パターンA3とA4についても、上記1)と同様に、連結点3b−3と3b−4を設けて、これら連結点(3b−3)と(3b−4)を導線9bにより接続する。   2) Similarly to the above 1), the connection points 3b-3 and 3b-4 are provided for the bridge configuration patterns A3 and A4, and these connection points (3b-3) and (3b-4) are connected by the conductor 9b. To do.

3)ブリッジ構成パターンA1を構成するトランス素子(2−3)と(2−5)の二次側の一方どうしを導線で接続する。同様に、ブリッジ構成パターンA3を構成するトランス素子(2−6)と(2−8)の二次側の一方どうしを接続するとともに、これら接続した導線の連結点(3b−2)と(3a−3)を導線9cにより接続する。   3) One of the secondary sides of the transformer elements (2-3) and (2-5) constituting the bridge configuration pattern A1 is connected by a conducting wire. Similarly, one of the secondary elements of the transformer elements (2-6) and (2-8) constituting the bridge configuration pattern A3 is connected to each other, and connection points (3b-2) and (3a) of these connected conductors are connected. -3) is connected by the conducting wire 9c.

4)ブリッジ構成パターンA2を構成するトランス素子(2−11)と(2−13)の二次側の一方どうしを導線で接続する。同様に、ブリッジ構成パターンA4を構成するトランス素子(2−14)と(2−16)の二次側の一方どうしを接続するとともに、これら接続した導線の連結点(3b−2)と(3a−4)を導線9dにより接続する。   4) The transformer elements (2-11) and (2-13) constituting the bridge configuration pattern A2 are connected to each other on the secondary side with a conductive wire. Similarly, one of the secondary elements of the transformer elements (2-14) and (2-16) constituting the bridge configuration pattern A4 is connected to each other, and connection points (3b-2) and (3a) of these connected conductors are connected. -4) is connected by the conductor 9d.

5)導線9cと9dとを50Ωの抵抗6を介して接続する。
6)分岐アダプタ11の入力端子(分岐前ポート)P0として配置したトランス素子(2−1)の二次側の一方を導線9aに、同じく二次側の他方を導線9bに接続する。
7)4つのブリッジ構成パターンA1とA2とA3とA4を構成する各高周波トランス素子(2−2)〜(2−17)の一次側にはコンデンサ5を接続する。
5) The conductors 9c and 9d are connected via a 50Ω resistor 6.
6) One of the secondary sides of the transformer element (2-1) arranged as the input terminal (pre-branch port) P0 of the branch adapter 11 is connected to the lead wire 9a, and the other secondary side is connected to the lead wire 9b.
7) A capacitor 5 is connected to the primary side of each of the high-frequency transformer elements (2-2) to (2-17) constituting the four bridge configuration patterns A1, A2, A3, and A4.

そして、他の回路構成は、図2に示す4分岐の分岐アダプタ1の構成と同じ構成にする。例えば、ブリッジ構成パターンA1において、トランス素子(2−2)と(2−3)の二次側の一方どうしを接続し、同様にトランス素子(2−4)と(2−5)の二次側の一方どうしを接続する。そして、これらの接続点4aと4bを50Ωの抵抗6を介して接続する。   The other circuit configuration is the same as that of the 4-branch branch adapter 1 shown in FIG. For example, in the bridge configuration pattern A1, one of the secondary sides of the transformer elements (2-2) and (2-3) is connected to each other, and similarly the secondary of the transformer elements (2-4) and (2-5) Connect one side of the other. These connection points 4a and 4b are connected through a resistor 6 having a resistance of 50Ω.

上記した回路構成からなる16分岐の分岐アダプタ11において、4つのブリッジ構成パターンA1、A2、A3、A4を構成するトランス素子(2−2)〜(2−17)の16個の一次側を分岐後ポートとして、外部機器7を接続する。また、分岐アダプタ11の分岐前ポートとなるトランス素子(2−1)の一次側には、電力線又は通信線が接続される。   In the 16-branch adapter 11 having the circuit configuration described above, the 16 primary sides of the transformer elements (2-2) to (2-17) constituting the four bridge configuration patterns A1, A2, A3, and A4 are branched. The external device 7 is connected as a rear port. In addition, a power line or a communication line is connected to the primary side of the transformer element (2-1) serving as the pre-branch port of the branch adapter 11.

図4に示す16分岐の分岐アダプタ11においても、分岐後ポートに外部機器7を接続しない場合には、図3に示したように、使用しない分岐後ポートのトランス素子の一次側に50Ωの終端抵抗8を接続して、インピーダンスの整合をとるようにする。これにより、 図4に示す分岐アダプタ11は、最大16個の分岐後ポートを備えた分岐アダプタとして使用することができる。   Also in the 16-branch adapter 11 shown in FIG. 4, when the external device 7 is not connected to the post-branch port, as shown in FIG. 3, a 50Ω termination is provided on the primary side of the transformer element of the unused post-branch port. A resistor 8 is connected so that impedance matching is achieved. As a result, the branch adapter 11 shown in FIG. 4 can be used as a branch adapter having a maximum of 16 post-branch ports.

図5は、図2及び図4に示す各トランス素子に、自動又は手動で終端抵抗を作動させるスイッチ手段を設けたトランス素子20の構成例を示している。図5に示すトランス素子20は、その一次側の端子間にスイッチSwと50Ωの終端抵抗8を直列に接続した構成を示している。そして、このトランス素子20の一次側を分岐後ポートとして使用する場合には、手動操作によりスイッチSwを「開(開放:OFF)」にして終端抵抗8が作動しないようにする。一方、トランス素子20の一次側を分岐後ポートとして使用しない場合には、手動操作によりスイッチSwを「閉(ON)」にして終端抵抗8が作動するようにする。また、スイッチSwの開閉は、フォットリレー等を使用して、電子機器が接続されているときにはスイッチSwを自動的に「開」とし、電子機器が接続されていないときにはスイッチSwを自動的に「閉(ON)」とする制御を行なうことができる。   FIG. 5 shows a configuration example of the transformer element 20 in which each transformer element shown in FIGS. 2 and 4 is provided with switch means for automatically or manually operating the terminating resistor. The transformer element 20 shown in FIG. 5 shows a configuration in which a switch Sw and a 50Ω termination resistor 8 are connected in series between terminals on the primary side. When the primary side of the transformer element 20 is used as a post-branch port, the switch Sw is “opened (opened: OFF)” by manual operation so that the terminating resistor 8 does not operate. On the other hand, when the primary side of the transformer element 20 is not used as a post-branching port, the switch Sw is “closed (ON)” by manual operation so that the terminating resistor 8 is activated. The switch Sw is opened / closed by using a photo relay or the like so that the switch Sw is automatically “opened” when the electronic device is connected, and the switch Sw is automatically “opened” when the electronic device is not connected. It is possible to perform the control of “closed (ON)”.

上記した本発明の分岐アダプタに係る第1の実施形態は4分岐、第2の実施形態は16分岐の分岐後ポートを備えている。そして、分岐後ポートには上記したスイッチ手段を設けているので、ネットワークに接続されている電子機器等の端末装置の設置台数などに対応させて、この分岐後ポートを有効なポートとして使用することができる。なお、本発明の分岐アダプタの製作は、5個又は17個の高周波トランスが図2又は図4に示すようなブリッジ回路をなす配線パターンを基板に形成し、この基板にこれらトランスと、結合コンデンサと、インピーダンス(抵抗)と、分岐前ポート及び分岐後ポートとなるモジューラジャック、スイッチ手段等、及びAC100V用端子等を固定する。そして、この基板を合成樹脂製の筐体に収納して固定するようにする。   The first embodiment according to the above-described branch adapter of the present invention includes a post-branch port of 4 branches and the second embodiment of 16 branches. Since the above-mentioned switch means is provided in the post-branch port, the post-branch port should be used as an effective port according to the number of terminal devices such as electronic devices connected to the network. Can do. The branch adapter according to the present invention is manufactured by forming a wiring pattern in which five or seventeen high-frequency transformers form a bridge circuit as shown in FIG. 2 or FIG. Then, the impedance (resistance), the modular jack, the switch means, etc., and the AC100V terminal, etc., which are the pre-branch port and post-branch port are fixed. Then, the substrate is housed and fixed in a synthetic resin casing.

また、本発明の分岐アダプタは、高周波トランス素子を、ブリッジ構成の回路を形成するように、またこのブリッジ構成の回路が多重構造となるように接続した構成を備え、さらに、一次側に結合コンデンサを接続するとともに、ブリッジ構成の回路に50Ωのインピーダンス素子を備えているので、伝送路における高周波信号の分岐ロスを最小化することができ、さらに、伝送路の双方向のインピーダンス整合をとることができる分岐アダプタを提供することができる。これにより本発明は、特に、電力線を使用した通信を行なうPLC通信のネットワークシステムにおいて、その伝送路を多数に分岐するアダプタとして使用すると、その効果は大になる。   The branch adapter according to the present invention has a configuration in which high-frequency transformer elements are connected so as to form a bridge-structured circuit, and the bridge-structured circuit has a multiple structure, and a coupling capacitor is provided on the primary side. In addition, the bridge-structured circuit is equipped with a 50Ω impedance element, so that it is possible to minimize the branch loss of the high-frequency signal in the transmission line, and to achieve bidirectional impedance matching of the transmission line. A branch adapter that can be provided can be provided. As a result, the present invention is particularly effective when used as an adapter for branching the transmission path into a large number in a PLC communication network system that performs communication using a power line.

本発明の分岐アダプタについて、その回路の基本構成を説明するための図である。It is a figure for demonstrating the basic composition of the circuit about the branch adapter of this invention. 本発明の分岐アダプタについて、4分岐の分岐アダプタの回路構成例を説明するための図である。It is a figure for demonstrating the circuit structural example of a 4-branch branch adapter about the branch adapter of this invention. 図2に示す分岐アダプタの分岐後ポートの一つに、終端抵抗を接続した状態を示す図である。It is a figure which shows the state which connected the termination resistance to one of the ports after a branch of the branch adapter shown in FIG. 本発明の分岐アダプタについて、16分岐の分岐アダプタの回路構成例を説明するための図である。It is a figure for demonstrating the circuit structural example of the branch adapter of 16 branches about the branch adapter of this invention. 図2又は図4に示すトランス素子の一次側に、スイッチ手段を設けた回路例を示す図である。FIG. 5 is a diagram showing a circuit example in which switch means is provided on the primary side of the transformer element shown in FIG. 2 or FIG.

符号の説明Explanation of symbols

1 :分岐アダプタ(4分岐の分岐アダプタ)
2−1、2−2、・・・・、2−17:高周波トランス素子
5 :結合コンデンサ
6 :抵抗
7 :電子機器(外部機器)
8 :終端抵抗
11:分岐アダプタ(16分岐の分岐アダプタ)
A1、A2.A3.A4:ブリッジ構成パターン
P0:分岐前ポート(入力端子:接続ポート)
P1、P2、P3、・・・、P16:分岐後ポート(出力端子:接続ポート)
Sw:スイッチ手段
1: Branch adapter (branch adapter with 4 branches)
2-17: High frequency transformer element 5: Coupling capacitor 6: Resistance 7: Electronic device (external device)
8: Termination resistor 11: Branch adapter (branch adapter with 16 branches)
A1, A2. A3. A4: Bridge configuration pattern P0: Port before branch (input terminal: connection port)
P1, P2, P3,..., P16: Port after branching (output terminal: connection port)
Sw: Switch means

Claims (6)

4個のインピーダンス素子により構成したブリッジの一方の対角に1個のインピーダンス素子を接続し、他方の対角に1個のインピーダンス素子を接続したブリッジ回路であって、
前記ブリッジを構成する4個のインピーダンス素子を4個のトランス素子により構成するとともに、各トランスの二次側を接続することにより前記ブリッジを構成し、
前記一方の対角に接続される1個のインピーダンス素子をトランス素子により構成するとともに、当該トランス素子の二次側を前記ブリッジの一方の対角に接続し、
前記他方の対角に接続される1個のインピーダンス素子を抵抗により構成し、
前記一方の対角に接続されるトランス素子の一次側を伝送データとなる高周波信号が入力される入力端子とするとともに、前記ブリッジを構成する4個のトランス素子各々の一次側を外部機器が接続される出力端子とした、
ことを特徴とする分岐アダプタ。
A bridge circuit in which one impedance element is connected to one diagonal of a bridge constituted by four impedance elements, and one impedance element is connected to the other diagonal ;
The four impedance elements constituting the bridge are constituted by four transformer elements, and the bridge is constituted by connecting the secondary side of each transformer,
One impedance element connected to the one diagonal is constituted by a transformer element, and the secondary side of the transformer element is connected to one diagonal of the bridge,
One impedance element connected to the other diagonal is constituted by a resistor,
The primary side of the transformer element connected to the one diagonal is used as an input terminal for inputting a high-frequency signal as transmission data, and an external device is connected to the primary side of each of the four transformer elements constituting the bridge. Output terminal,
Branch adapter characterized by that.
トランス素子の二次側の一方どうしを接続した二つのトランス素子から構成される2組について、その各組の前記トランス素子の他の二次側どうしを連結するとともに、当該連結した二次側どうしを、抵抗を介して接続した4個のトランス素子の組合せを有する回路と、
一次側を伝送データとなる高周波信号が入力される入力端子とした分岐前ポート用トランス素子を備え、
前記分岐前ポート用トランス素子の二次側の一方を前記二つのトランス素子の二次側の一方どうしを接続した一方の接続部に接続し、前記分岐前ポート用トランス素子の二次側の他方を前記二つのトランス素子の二次側の方どうしを接続した他方の接続部に接続した構成からなり、
前記4個のトランス素子の一次側を、外部機器が接続される出力端子である分岐後ポートとした、
ことを特徴とする分岐アダプタ。
For two sets of two transformer elements connected to one of the secondary sides of the transformer elements, the other secondary sides of the transformer elements of each set are connected to each other, and the connected secondary sides are connected to each other. A circuit having a combination of four transformer elements connected via a resistor;
A pre-branch port transformer element having the primary side as an input terminal to which a high-frequency signal serving as transmission data is input,
One of the secondary sides of the transformer element for the pre-branch port is connected to one connecting portion connecting one of the secondary sides of the two transformer elements, and the other of the secondary side of the transformer element for the branch port the result from the configuration connected to the other connection portion connecting the hand each other on the secondary side of the two transformers element,
The primary side of the four transformer elements is a post-branching port that is an output terminal to which an external device is connected.
Branch adapter characterized by that.
トランス素子の二次側の一方どうしを接続した二つのトランス素子から構成される2組について、その各組の前記トランス素子の他の二次側どうしを連結するとともに、当該連結した二次側どうしを、抵抗を介して接続した4個のトランス素子の組合せを有するブリッジ構成であるブリッジ1と、ブリッジ2と、ブリッジ3と、ブリッジ4と、
一次側を伝送データとなる高周波信号が入力される入力端子とした分岐前ポート用トランス素子と、を備え、
前記ブリッジ1と前記ブリッジ2の前記抵抗を介して接続された二次側ではない一方の二次側どうしを接続するとともに、前記分岐前ポート用トランス素子の二次側の一方に接続し、
前記ブリッジ3と前記ブリッジ4の前記抵抗を介して接続された二次側ではない一方の二次側どうしを接続するとともに、前記分岐前ポート用トランス素子の二次側の他方に接続し、
前記ブリッジ1と前記ブリッジ3の前記抵抗を介して接続された二次側ではない他方の二次側どうしを接続(以下、ブリッジ1−3間という)し、前記ブリッジ2と前記ブリッジ4の前記抵抗を介して接続された二次側ではない他方の二次側どうしを接続する(以下、ブリッジ2−4間という)とともに、前記ブリッジ1−3間と前記ブリッジ2−4間とを抵抗を介して接続し、
前記ブリッジ1および、前記ブリッジ2および、前記ブリッジ3および、前記ブリッジ4を構成する16個のトランス素子の一次側を、外部機器が接続される出力端子である分岐後ポートとした、
ことを特徴とする分岐アダプタ。
For two sets of two transformer elements connected to one of the secondary sides of the transformer elements, the other secondary sides of the transformer elements of each set are connected to each other, and the connected secondary sides are connected to each other. , A bridge configuration having a combination of four transformer elements connected via a resistor, a bridge 2, a bridge 3, a bridge 4, and
A pre-branch port transformer element having a primary side as an input terminal to which a high-frequency signal serving as transmission data is input,
Connecting one secondary side that is not the secondary side connected via the resistor of the bridge 1 and the bridge 2 to each other and one secondary side of the transformer element for the port before branching;
Connecting one secondary side which is not the secondary side connected via the resistor of the bridge 3 and the bridge 4 to each other, and connecting to the other secondary side of the transformer element for the pre-branch port,
The bridge 1 and the said connection and the other secondary-side each other not via a resistor connected secondary side of the bridge 3 (hereinafter, referred to as between the bridge 1-3) and the of the bridge 2 and the bridge 4 The other secondary side that is not the secondary side connected through a resistor is connected to each other (hereinafter referred to as between the bridges 2-4), and the resistance between the bridge 1-3 and the bridge 2-4 is reduced. Connect through
The primary side of the 16 transformer elements constituting the bridge 1, the bridge 2, the bridge 3, and the bridge 4 is a post-branch port that is an output terminal to which an external device is connected.
Branch adapter characterized by that.
前記トランス素子は、その一次側と二次側の巻線比は1:1とされていることを特徴とする請求項1から請求項3に記載の分岐アダプタ。   4. The branch adapter according to claim 1, wherein the transformer element has a winding ratio of a primary side and a secondary side of 1: 1. 5. 前記トランス素子の一次側は、その接続ポートと前記一次側との間に接続された結合コンデンサを備えていることを特徴とする請求項1から請求項4のいずれかに記載の分岐アダプタ。   The branch adapter according to any one of claims 1 to 4, wherein a primary side of the transformer element includes a coupling capacitor connected between a connection port of the transformer element and the primary side. 前記トランス素子の一次側は、その接続ポート間に設けた終端抵抗を作動させるためのスイッチ手段を備えていることを特徴とする請求項1から請求項5のいずれかに記載の分岐アダプタ。   The branch adapter according to any one of claims 1 to 5, wherein the primary side of the transformer element includes switch means for operating a terminating resistor provided between the connection ports.
JP2008188873A 2008-07-22 2008-07-22 Branch adapter Expired - Fee Related JP5380010B2 (en)

Priority Applications (1)

Application Number Priority Date Filing Date Title
JP2008188873A JP5380010B2 (en) 2008-07-22 2008-07-22 Branch adapter

Applications Claiming Priority (1)

Application Number Priority Date Filing Date Title
JP2008188873A JP5380010B2 (en) 2008-07-22 2008-07-22 Branch adapter

Publications (2)

Publication Number Publication Date
JP2010028564A JP2010028564A (en) 2010-02-04
JP5380010B2 true JP5380010B2 (en) 2014-01-08

Family

ID=41733949

Family Applications (1)

Application Number Title Priority Date Filing Date
JP2008188873A Expired - Fee Related JP5380010B2 (en) 2008-07-22 2008-07-22 Branch adapter

Country Status (1)

Country Link
JP (1) JP5380010B2 (en)

Family Cites Families (1)

* Cited by examiner, † Cited by third party
Publication number Priority date Publication date Assignee Title
JPH1065477A (en) * 1996-08-23 1998-03-06 Nikou Denki Kogyo Kk Branching device

Also Published As

Publication number Publication date
JP2010028564A (en) 2010-02-04

Similar Documents

Publication Publication Date Title
JP6370989B2 (en) Power over Ethernet (registered trademark) for 10GBASE-T Ethernet (registered trademark)
CN110277920B (en) Power and communication system for providing differential data and DC power on line pairs
JP2004517545A5 (en)
JPH0225296B2 (en)
CN103873262B (en) coaxial cable power supply system
KR20130107290A (en) Lcl high power combiner
BE1024223B1 (en) Cable tap
EP1959525B1 (en) Connector including isolation of magnetic devices capable of handling high speed communications
US10509453B2 (en) Electronic communications device, particularly Power-over-Ethernet terminal, as well as add-on board
US8097973B2 (en) Power mains transformer data bridge
JP5380010B2 (en) Branch adapter
CN101911481A (en) Signal splitter
CN108600058A (en) A kind of ethernet signal transmission interface circuit and the network equipment
AU2016207976B2 (en) Systems and methods for enhanced high frequency power bias tee designs
JP2018129760A (en) Power distribution system
EP1603249A1 (en) High frequency bypass unit
CN102446616B (en) Filter circuit and electrical connector with the filter circuit
CN101430968A (en) Single-phase traction transformer used for AT power supply mode high speed passenger dedicated railway
JP2017535189A (en) Spur insulation in fieldbus networks
CN101662108A (en) Electric connector
CN109103606A (en) Antenna system and mobile terminal
CN206894250U (en) A kind of strong and weak electricity isolating device
CN101006627A (en) Electric energy transmitting device with a phase conductor and an screen conductor
CN201387800Y (en) Transformer
CN220474453U (en) A variable voltage transformer

Legal Events

Date Code Title Description
RD02 Notification of acceptance of power of attorney

Free format text: JAPANESE INTERMEDIATE CODE: A7422

Effective date: 20101229

A621 Written request for application examination

Free format text: JAPANESE INTERMEDIATE CODE: A621

Effective date: 20110518

A131 Notification of reasons for refusal

Free format text: JAPANESE INTERMEDIATE CODE: A131

Effective date: 20120925

A521 Written amendment

Free format text: JAPANESE INTERMEDIATE CODE: A523

Effective date: 20121126

A131 Notification of reasons for refusal

Free format text: JAPANESE INTERMEDIATE CODE: A131

Effective date: 20130621

A521 Written amendment

Free format text: JAPANESE INTERMEDIATE CODE: A523

Effective date: 20130807

TRDD Decision of grant or rejection written
A01 Written decision to grant a patent or to grant a registration (utility model)

Free format text: JAPANESE INTERMEDIATE CODE: A01

Effective date: 20130903

A61 First payment of annual fees (during grant procedure)

Free format text: JAPANESE INTERMEDIATE CODE: A61

Effective date: 20130930

R150 Certificate of patent or registration of utility model

Ref document number: 5380010

Country of ref document: JP

Free format text: JAPANESE INTERMEDIATE CODE: R150

Free format text: JAPANESE INTERMEDIATE CODE: R150

R250 Receipt of annual fees

Free format text: JAPANESE INTERMEDIATE CODE: R250

LAPS Cancellation because of no payment of annual fees