JP4828087B2 - エネルギー抽出方法及びエネルギー抽出装置 - Google Patents

エネルギー抽出方法及びエネルギー抽出装置 Download PDF

Info

Publication number
JP4828087B2
JP4828087B2 JP2002588636A JP2002588636A JP4828087B2 JP 4828087 B2 JP4828087 B2 JP 4828087B2 JP 2002588636 A JP2002588636 A JP 2002588636A JP 2002588636 A JP2002588636 A JP 2002588636A JP 4828087 B2 JP4828087 B2 JP 4828087B2
Authority
JP
Japan
Prior art keywords
energy
reaction
extraction device
substrate
semiconductor
Prior art date
Legal status (The legal status is an assumption and is not a legal conclusion. Google has not performed a legal analysis and makes no representation as to the accuracy of the status listed.)
Expired - Fee Related
Application number
JP2002588636A
Other languages
English (en)
Other versions
JP2004538623A (ja
JP2004538623A5 (ja
Inventor
ズッペロ,アンソニー,シー
ギドワニ,ジャワハー,エム
Current Assignee (The listed assignees may be inaccurate. Google has not performed a legal analysis and makes no representation or warranty as to the accuracy of the list.)
Neokismet LLC
Original Assignee
Neokismet LLC
Priority date (The priority date is an assumption and is not a legal conclusion. Google has not performed a legal analysis and makes no representation as to the accuracy of the date listed.)
Filing date
Publication date
Application filed by Neokismet LLC filed Critical Neokismet LLC
Publication of JP2004538623A publication Critical patent/JP2004538623A/ja
Publication of JP2004538623A5 publication Critical patent/JP2004538623A5/ja
Application granted granted Critical
Publication of JP4828087B2 publication Critical patent/JP4828087B2/ja
Anticipated expiration legal-status Critical
Expired - Fee Related legal-status Critical Current

Links

Images

Classifications

    • HELECTRICITY
    • H02GENERATION; CONVERSION OR DISTRIBUTION OF ELECTRIC POWER
    • H02NELECTRIC MACHINES NOT OTHERWISE PROVIDED FOR
    • H02N11/00Generators or motors not provided for elsewhere; Alleged perpetua mobilia obtained by electric or magnetic means
    • H02N11/002Generators
    • HELECTRICITY
    • H10SEMICONDUCTOR DEVICES; ELECTRIC SOLID-STATE DEVICES NOT OTHERWISE PROVIDED FOR
    • H10DINORGANIC ELECTRIC SEMICONDUCTOR DEVICES
    • H10D48/00Individual devices not covered by groups H10D1/00 - H10D44/00
    • H10D48/30Devices controlled by electric currents or voltages
    • FMECHANICAL ENGINEERING; LIGHTING; HEATING; WEAPONS; BLASTING
    • F02COMBUSTION ENGINES; HOT-GAS OR COMBUSTION-PRODUCT ENGINE PLANTS
    • F02MSUPPLYING COMBUSTION ENGINES IN GENERAL WITH COMBUSTIBLE MIXTURES OR CONSTITUENTS THEREOF
    • F02M27/00Apparatus for treating combustion-air, fuel, or fuel-air mixture, by catalysts, electric means, magnetism, rays, sound waves, or the like

Landscapes

  • Physical Or Chemical Processes And Apparatus (AREA)
  • Catalysts (AREA)
  • Hybrid Cells (AREA)

Description

【0001】
<発明の属する技術分野>
本発明は一般に、化学反応エネルギーを電力に直接変換する方法および装置、および、より詳しくは、振動的に高度に励起された反応生成物を発生させ、かつ生成物エネルギーを、電気、金属表面におけるホットエレクトロン、半導体における寿命の長いキャリヤ、放射線または干渉性放射などの有用な形態に直接変換する方法および装置に関する。
【0002】
<従来の技術>
燃料電池は、一般に反応体ガスの化学反応エネルギーを、直接かつ効率的に、電気に変換する、清浄かつ効率的な電気化学エネルギー変換方法である。しかしながら、燃料電池システムが示す質量当たりの、または、体積当たりの電力は、一般に、少なくとも機械的エンジンのオーダーよりも1オーダー低い。さらに、燃料電池が、液体、貯蔵可能燃料を使用して、与えられた電池の電力を発生するのに必要とされる体積は、一般に、電池の体積よりも著しく大きい。これは、燃料用のスペースがないため、現在の形態の燃料電池が、燃料電池の効率にもかかわらず、電池に取って代わり得ないことを意味する。
【0003】
さらに、質量当たり最高の既知の電力を有するタイプの燃料電池である、固体電解質型燃料電池は、600℃〜800℃の温度で動作する。この温度での動作は、結果として、材料の問題を生ずる。原則的には、この燃料電池は、それが取って代わるであろう電池の体積の中で動作するのに必要な電力密度を示すであろう。しかしながら、熱の問題が支配して、この目標の実現を妨げて来た。
【0004】
高性能燃料電池の代替手段は、回転機械装置である。しかしながら、電気を発生する機械的エンジンが、機械的エネルギーを電気的エネルギーに変換するためには、一般に、コイルおよびマグネット装置を使用しなければならず、したがって、このような機械的な装置は、比較的重くなるが、その電力密度は、グラム当たり2ワット未満である。
【0005】
したがって、化学的エネルギーを直接かつ効率的に電気に変換するための方法およびシステムを有し、また、高温および材料を必要とせず、かつ、比較的重い機械的な装置を必要としない方法を有する必要がある。
【0006】
化学反応は、一般に、高度に振動的に励起した種を作り出し、該反応は、触媒、自己触媒の注入、または他の手段によって刺激し得る。励起エネルギーの相当な部分は、励起した種が、金属と接触すると、金属中のエネルギー性電子に伝達され得る。以下を参照されたい。 Huang, Yuhui; Charles T. Rettner, Daniel J. Auerbach, Alec M. Wodtke, Science, Vol. 290, 6 October 2000, pp 111 - 113, "Vibrational Promotion of Electron Transfer."

【0007】
実験の結果によれば、振動的に励起した陰イオンは、電子を吸着することができ、電子を格子に再び放出して、電子と共に励起エネルギーの大部分を運ぶ。類推によれば、陽イオンは電子を放出し、それを再吸着して、格子に正孔を放出することができ、正孔によってエネルギーが運ばれる。電子または正孔は、ホットキャリヤである。
【0008】
表面科学における最近の実験的観察および理論的発展によって確認されたことは、その化学結合を破壊するのにほぼ十分なエネルギー(オーダー15を超える振動量子数)によって振動する、比較的弱い陰電気のガス分子でさえ、金属表面との一回の短時間の(0.1ピコ秒のオーダー)接触中に、振動エネルギーの大部分を、金属表面の分子中に入れ得ることである。この観察の理解に関連した研究および観察は、振動的に励起した化学種から一つの電子への、迅速なマルチ量子エネルギー伝達の理論を立証している。
【0009】
一般に、振動モードエネルギーの半分以上は、約5の振動量子よりも大きいエネルギーを有する金属表面の電子の中に直接伝達される。その結果、金属表面中の電子は、振動的に励起した分子エネルギーの相当な有用な部分を、ホットキャリヤとも呼ばれるホットエレクトロンとして、運び去ることができる。
【0010】
金属中では、ホットエレクトロンは、半導体の中に移動することができる。ホットエレクトロンは、半導体の中で励起または電位差に変換されることになり、その場合、ホットエレクトロンは、外部回路で電流を動かす電位、半導体励起の反転された分布、または使用のため他の場所に移送されるホットキャリヤなどの他の有用な形態に変換することができる。
【0011】
ホットエレクトロンは、半導体の中で電位に変換することができる。例えば、米国特許6,222,116は、機械的手段なしで、このようなホットエレクトロンを直接収集して、その装置の反応表面の数個分の分子の大きさの上または内部で、振動的に励起した化学生成物種が形成されると、収集したホットエレクトロンを直接電気に変換する。本特許で説明する装置は、半導体変換器を活性化して、有用な順方向のバイアスを維持するのに十分な高速の反応速度を生み出すことにより、有用な電気を発生する。
【0012】
この高反応速度は、ホットエレクトロン収集表面からの脱離を介して、使用済み反応生成物を取り除くことにより、高めることができる。脱離する、エネルギーを失った分子は、さらなる反応のために、清浄な場所を残すことができる。これらエネルギーを失った分子を、導電表面から移動できるようにすることにより、より多くの酸化性物質および燃料とのさらなる反応を引き起こすことができる。
【0013】
したがって、化学反応から直接、振動的に高度に励起した種を作り出し、かつ、励起した種の生成とは熱的な意味において異なり、かつ、励起した種の生成から分離した場所で、励起した種の電気的エネルギーの変換を生じさせ得る方法を有する必要がある。さらに、表面の反応速度と比べて反応速度を高めるために、表面だけでなく体積中でも反応を生じさせる必要がある。
【0014】
<発明の要約>
一態様では、化学反応体を使用して、反応体積または領域内で、振動的に励起したガス分子を作り出し、エネルギーの相当な部分を、例えば導電表面の中でホットエレクトロンとして抽出し、ホットエレクトロンなどのエネルギーを有用な形態のエネルギーに変換するための方法が提供されている。
【0015】
この方法は、化学反応を利用して、高量子数の振動的に励起したガス分子などの振動的に励起した分子を生成する工程を含んでいる。励起した分子が導体に接触すると、振動的に励起した分子中の振動エネルギーは、ホットエレクトロンに変換される。数個の分子衝突平均自由経路のオーダーの大きさを有し、かつ導電表面によって部分的に境界を付けられたガス反応領域などのジオメトリーが設けられており、励起した分子が、振動エネルギーの有用な部分を失う前に、導体の中に移動、拡散、または入ることができるようになっている。オプションとして、生成および変換プロセスは、少なくとも部分的に、熱的に分離してよい。短寿命ホットエレクトロンは、半導体の中のキャリヤおよび電位などの、より長い寿命の実体に変換され、その場合、エネルギーは、有用な形態に変換される。
【0016】
別の一態様では、提供された、エネルギーを生成する装置が、例えば、燃料および酸化性物質などの反応体が、高度に振動的に励起した分子を作り出す化学反応を受ける反応領域を含んでいる。反応で生成された排気は、システムを離れることが許される。反応領域は、励起した生成物が、収集表面に到達する前に、そのエネルギーの相当な部分を失うことがないよう、収集表面に十分に近づけてよい。収集表面は、励起した生成物が、その近くまたは上で、エネルギーをホットエレクトロンまたはキャリヤ(電子または正孔)に伝達する、導体などの表面を含んでいてよい。変換領域は、収集表面と接触していてよく、その場合、ホットエレクトロンまたはキャリヤは、分離されたキャリヤによって維持される半導体中の電位などの有用な形態に変換される。この変換領域は、少なくとも部分的に、反応領域から少なくとも熱的に分離していてよい。
【0017】
しかし別の一態様では、該方法は、振動状態の双極子活性状態のエネルギーの、マルチ量子変化などの、反応生成物励起の移送を含んでいてよい。これは、活性化された化学生成物の励起の一つのタイプである。
【0018】
本発明の様々な実施形態の構造および動作に加えて、本発明のさらなる特徴および利点については、添付の図面を参照して、以下、詳細に説明する。図面では、同様の参照番号は、同一または機能的に同様の要素を示す。
【0019】
以下、本発明の実施形態を、例のみにより、添付の図面を参照して説明する。
【0020】
<好適な実施形態の詳細な説明>
一態様では、提供された方法および装置は、ピーク電力およびエネルギー変換速度を高め、導電表面からの排気および汚染生成物の脱離をさらに促進する。該方法は、一態様では、排気生成物に対して比較的低い親和性を有する触媒の選択を含んでいる。このような触媒は、白金、パラジウムを含んでおり、関連した触媒は、水素およびアルコール燃焼に関してこの特性を示している。
【0021】
別の一態様では、該方法は、燃料および酸化性物質を反応領域に持ち込む工程、および排気生成物が反応領域から離れられるようにする工程を含んでいる。排気生成物は、移行および拡散してよい。排気生成物が移行および拡散できるようにする一つの方法は、反応表面に亘ってガス状反応体を流す工程、および、排気生成物を表面から離してガス流に流入させる工程を含んでいる。別の一態様では、提供された装置は、単独で一度限りの電力のパルスを作り出すよう設計してよく、その場合、排気生成物は、反応領域を離れる必要はない。
【0022】
提供された方法は、ガス反応体積を通して導電表面に移行した、活性化された分子の使用を含んでいてよい。活性化された分子が、導電表面と相互作用すると、これら分子は、化学振動エネルギーの相当な部分を、エネルギー性、弾道電子という形態で、導電表面に手放す。導電表面は、弾道電子が、半導体基板の中に直接移行し、かつ、拡散できるよう、十分に薄く形成されている。半導体は、電子エネルギーを、弾道電子の寿命(例えば、0.01ピコ秒)よりもはるかに長い寿命を有する(例えば、ピコ秒台またはそれ以上)、保存可能で有用な形態に変換する。一般に、半導体は、ダイオードになるように形成され、エネルギーの有用な形態は、ダイオードの中の順方向のバイアスとしての電気の発生である。
【0023】
導電表面は、触媒上の反応が、連続的に吸着質を取り除き、振動的に励起したガス種がそれと相互作用できる清浄な金属を齎すよう、触媒および(または)触媒金属を含んでいてよい。燃料および(または)酸化性物質と共に供給される添加剤は、触媒を供給してよい。酸化反応は、吸着され、反応を起こしていない種を取り除くのに効果的であることが知られている。ほとんどすべての燃料‐気化反応は、酸素に富んでおり、このような酸化反応を助け、あるいは、助けることを可能にして、表面の自浄を行う傾向がある。
【0024】
導電表面は、その表面に反応性吸着質の単層が存在する場合でさえも、伝導すると考えてよい。このような吸着質は、酸素および燃料分子を含んでいる。一般に、酸化物の単層の一部は、触媒の導電表面に形成してよい。
【0025】
一態様では、提供された装置は、燃料および酸化性物質を使用して、導電表面の近くで、活性化された分子を作り出してよい。さらに、メタノール、水素などの燃料、または部分的に酸化した複合炭化水素、および空気などの酸化性物質の反応によって、導電表面の近くで、高度に振動的に励起した種を作り出してよい。燃料は、水素、炭化水素、複合炭化水素、メタノール、エタノール、およびプロパノールなどのアルコール、炭水化物、部分的に酸化した炭化水素、ディーゼル燃料、灯油、有機物の揮発生成物、水素および一酸化炭素などの燃料改質装置の生成物、およびアンモニアを含む可燃性ガスを含むがこれらに限定されない任意の還元性材料または電子供与体のうちのいずれか一つから選んでよい。酸化性物質は、電子受容体、酸素、空気、過酸化水素、およびハロゲンのいずれか一つを含んでいてよい。別の一態様では、反応体もまた、それらが、燃料および酸化性物質とみなされるかどうかにかかわらず、使用してよい。したがって、収集領域に移行することができる、振動的に励起した種を作り出すいかなる反応も、エネルギー源として使用してよい。
【0026】
他の例の反応体は、アルカリ金属と水のような結合を含み、その場合、排気は、アルカリ酸化物および水素を含むであろう。しかし、それ以上の反応体の例は、燃料および酸化性物質がまったく同一の化学反応体である、不安定な分子を含んでいてよい。このような化学反応体の例は、MMH、モノメチルヒドラジンなどのモノプロペラントを含んでいる。
【0027】
一態様では、振動的に励起した種が、多くの既知のプロセスのいずれか一つによって作り出されてよい。振動的に励起した種は、ヒドロキシルラジカルOH、CO、およびHCOを含む反応中間物などの、部分的に反応した化学的種を含んでいてよい。これら中間物は、排気などの他の反応しない種、および窒素または酸素などの空気分子を含んでいてよい。これら中間物は、反応体およびその副産物から振動エネルギーを獲得してよい。共振振動伝達は、中間物を活性化する一つの方法に過ぎない。
【0028】
振動的に励起した種を、エリー‐リディール(Eley-Rideal)プロセスを介して、形成するためには、原子状水素および酸素などの化学反応性フリーラジカルが、触媒または導体表面上の吸着した酸素または燃料に衝突することが許されてよい。反応体は、金属表面にも形成してよく、例えばラングミュア‐ヒンシェルウッド(Langmuir-Hinshelwood)プロセスを介して反応してよい。
【0029】
一態様では、活性化された分子は、触媒およびスティミュレータの助けを借りて燃料と空気を反応させることによって、かつ、振動的に励起したガス状分子を、それらが、相当な量の励起を失う前に、導電表面に対して容易に移行し、かつ、拡散できるいかなる場所においても、形成する反応ジオメトリーを用いることによって、作り出されてよい。
【0030】
動作中、反応体が反応の領域に入った後、触媒、反応スティミュレータ法、および添加剤などの既知の刺激装置を使用して、振動的に励起した種を作り出してよい。スティミュレータ法は、一つまたはそれ以上の触媒、反応表面上の触媒、放電、滑空放電、光学および光分解法、光学装置、および注入された触媒、触媒または自己触媒材料の使用を含んでいる。刺激装置は、例えば電気または光学エネルギーを用いて、フリーラジカルをスティミュレータとして生成してよい。
【0031】
ほとんどの安定した化学反応が、活性化される(反応体を離れたままにする電位エネルギー障壁を有する)ことから、刺激装置は、電気的手段を用いて活性化エネルギーを与えてよい。提供された装置は、そのエネルギーの一部分を回復する。
【0032】
燃料および酸化性物質混合物の体積中のガス化学反応は、振動モードでエネルギーが大幅に濃縮される場合には、その初期状態が一つであるガス生成物を作り出す。ガスの振動モードは、一般に、ガス運動衝突の10's〜10,000'sの寿命を有し(非共振相互作用のため)、一般的な炭化水素‐空気反応生成物の平衡前平均自由経路は、ガス中で50〜200ナノメートルのオーダーである。これは、この平均自由経路を利用する反応チャネルが、(平方根(3 × 振動寿命 / 衝突間の時間)によって与えられる)平均自由経路の少なくとも10'sから100'sのオーダーの大きさと同じぐらいの大きさを有するであろうこと、したがって、最大で20,000ナノメートル(0.02 mm、0.8千分の1インチ)のオーダーの大きさを有するであろうことを意味する。オーダー1またはそれ以上の大きさの平均自由経路を有するようなチャネルは、製造が実用的である。
【0033】
振動モード寿命が、平均自由経路の数十分の1程度の低さとなる場合でも、その自由経路を利用する、金属壁で囲まれた表面形体またはチャネルは、1/2ミクロンのオーダーの大きさを有していてよい。これら大きさを有する形体は、容易に構築される。したがって、このようなチャネルまたは表面形体は、平衡状態でエネルギーが低下する前に、ガス分子と相互作用するよう構築してよい。したがって、振動分子は、回転および移動などの他のモードによって平衡状態に達する前に、かつ、エネルギー収集および変換表面から取り除かれた距離で、金属壁と衝突するようにしてよい。
【0034】
提供された方法は、化学反応のための体積または領域の使用を含んでいる。反応速度および対応する出力電力は、体積または領域を使用することによって、表面を使用する場合よりも、はるかに高くすることができる。体積または領域内では、表面上よりもはるかに多くの反応を起こすことができる。結果として生じる体積反応速度は、一般に、触媒回転数に関連した速度よりも何オーダーかより高い。方法は、表面反応の代替方法と比べて、高い出力電力を維持するが、これは、反応を体積領域で刺激することができる一方、表面領域では、エネルギー収集を達成することができるからである。一般に、1/2ミクロン球の表面対体積比は、マクロ的な反応体積のそれと比べて高い。したがって、体積を使用すると、表面触媒だけに依存する表面反応と比較して、電力のオーダーが増大する結果となる場合がある。
【0035】
高反応速度、より高い温度体積領域の、エネルギー変換領域、表面からの分離は、ロケットエンジンおよびジェットエンジンにおける性能などの、ガス運動限界に近づく、1cc当たり10〜500ワットのオーダーの質量当たりの電力および体積当たりの電力性能を有する、完全な電力システムを許容し得る特徴である。より詳しくは、提供されたこの方法および装置を使用した化学物質から電力への変換は、ジェットエンジンおよびタービンシステムに必要な機械的ジェネレータ(発電機)を必要としない(該ジェネレータは、システムに相当な重量を加える)。
【0036】
別の態様では、提供された方法は、少なくとも部分的には、熱的分離または遊離、熱を発生させる反応領域、およびより低い温度でより効率的に動作するエネルギー変換領域を含んでいる。廃熱も、伝導されて、反応領域から直接排気に対流で送られてよい。
【0037】
この分離によって、エネルギー変換器が、反応領域の温度よりもより低い温度で維持可能になる。導電表面に接続した半導体中のホットエレクトロンの変換は、温度低下の機能として、指数関数的により効率的になる。
【0038】
この熱的分離によって、反応体積も、エネルギー変換装置よりもより高い温度で維持可能になる。化学反応速度は、一般に、温度の機能として、指数関数的に加速される。このより高い反応速度により、反応体を反応領域に送り込む能力と一致した速度で、反応体を供給することが可能になる。
【0039】
別の態様では、反応の領域の異なる部分は、上昇した温度、例えば600℃で動作して、触媒反応を刺激し、かつ、反応速度を加速または維持してよい。
【0040】
提供された方法および装置は、導電表面の近くで、高度に振動的に励起した種を作り出すジオメトリーを用いてよい。ここでいう「近く」とは、高度に振動的に励起したガス種のガス拡散距離の数倍に満たない距離以内を意味する。
【0041】
「導電表面に密接に近接している」とは、電荷が空間を通して弾道的に移動する場合を指し、また、化学的種に関連した電場および磁場が消えていって、波を伝搬しないような別の場合を指してもよい(電場および磁場の大きさは、どちらも一般に、1,000ナノメートル未満である)。
【0042】
拡散距離は、振動的励起が、そのエネルギーの相当な部分を失う前に移動する特性距離と関連しており、ここでは振動拡散長という。振動拡散長は、種がさまようことになる、三次元釣鐘曲線確率分布の約1シグマ距離である。このような拡散のモデルは、振動拡散長が、衝突平均自由経路と振動寿命対衝突間の時間の比の3倍の平方根の積によって得られることを示すものである。S.T.P. 空気のこの振動拡散長は、一般に、20ミクロンを大幅に下回り、一般に、数百ナノメートルを超えてよい。
【0043】
別の態様では、方法は、一般に、0.010ピコ秒のオーダーの寿命を有するホットエレクトロンなどの短寿命の弾道電荷キャリヤを、その寿命が一般にピコ秒台を超える半導体の中のより長い寿命のキャリヤに変換する。
【0044】
別の態様では、半導体、または基板と直接接触した量子井戸などのエネルギー変換器は、短寿命の基板ホットキャリヤを、半導体または量子井戸の中のより長い寿命のキャリヤまたは励起に変換する。
【0045】
別の態様では、提供された方法は、表面と活性化された分子の相互作用から生じたエネルギー性電荷キャリヤを、半導体ダイオードに注入または伝達して、そのダイオード中で過剰の励起キャリヤを作り出してよい。この過剰の励起キャリヤも、ダイオードの全域で電位を作り出すことができる。
【0046】
別の態様では、提供された装置は、PN接合ダイオードを含んでいてよい。導電表面中で生成されたホットエレクトロンは、表面および任意の中間材料を通して、移動し、P型半導体基板に入る。導体フェルミ準位は、オーミック的または略オーミック的に、半導体の価電子帯(下位帯)と接触する。したがって、バンドギャップよりも大きいエネルギーを有するホットエレクトロンは、伝導帯(上位帯)よりも大きいエネルギーを有し、伝導帯中で少数キャリヤとなる。次に、伝導帯電子は、PN接合部に移動して、そこで内部電位の理由によって引きつけられ、したがってダイオードを順方向にバイアスして、電気を発生する。半導体の極性およびバンドギャップは、ホットキャリヤが半導体の中にある場合、ホットキャリヤが少数キャリヤになるよう、意図的に選択し得る。
【0047】
例えば、PN接合部では、次いで、より長い寿命の少数キャリヤを使用して、他の有用な形態に変換し得る。例えば、キャリヤは、電気に変換し得る。キャリヤは、放射線または放射線の干渉性ビームに再結合することが許され得る。さらに、キャリヤは、装置の他の場所に拡散して、さらなる表面反応のために刺激キャリヤを提供し得る。キャリヤを使用して、ナノ機械系で機械的効果を生じさせ、かつ(あるいは)、他の場合なら、電源によって提供されるであろう半導体中のキャリヤを提供し得る。したがって、化学エネルギーは、多くの有用な形態のいずれか一つに変換し得る。
【0048】
したがって、一態様において提供された方法は、PN接合ダイオードの形成を含んでいてよい。このようなダイオードは、厚くドープされる、または退化的にドープされる、一つまたは両方の極性を有するものであってよい。提供された方法は、ドーピンググラジエントの形成を含んでいてよい(ドーピンググラジエントは、接合領域を広げるまたは狭めることができる)。これは、この技術に長けた人には既知であるが、低バンドギャップ半導体を使用して形成されたPN接合を有するパルス化された化学反応の利用による高ピーク電力の応用によって効率を高めることができ、0.05〜0.1eVのオーダーのバンドギャップと同様の小さなバンドギャップの使用が可能になる。
【0049】
PN接合ダイオードを構築するという当代の技術水準は、多くのバリアントを含むことが認識されている。このようなバリアントは、金属の様々な領域および結合、半導体、酸化物、およびダイオードの外部の絶縁体を含んでいる。これら領域のいくつかは、ダイオードとのオーミック接触または略オーミック接触を形成するよう機能する。他の機能は、格子マッチングを含んでいる。ダイオードは、ドーピングプロファイルの多くのバリアントによって形成し得る。このようなバリアントは全て、機能的には同一のもの、すなわち、PN接合ダイオードになり得る。
【0050】
提供された方法および装置は、そのバンドギャップを合金成分の選択によって調整できる、半導体混合物の使用を含んでいてよい。調整は、導電表面と半導体変換器の接合部近くまたは接合部で、例えば、導電表面から半導体の中へとキャリヤを一掃する電位を作り出すよう適用し得る。これら半導体は、半導体のInGaAsSb族を含み、その場合、バンドギャップは、In対Gaの比およびAs対Sbの比によって、約0.1 eVから1.5eVを超えるまでの範囲となり得る。
【0051】
提供された方法および装置は、シリコンおよびゲルマニウム、およびこれらの合金などの間接バンドギャップ半導体の使用を含んでいてよい。このような材料は、一般に、直接バンドギャップ半導体よりも長いキャリヤ寿命を示す。これは、PN接合部、発電機実施形態、およびキャリヤを保存する実施形態の効率を高める傾向がある。
【0052】
提供された方法および装置は、ダイオードをバイアスで動作させて共振トンネリングを高める工程も含んでいてよい。電子移送が優位である場合に、これを行う一つの方法は、半導体の伝導帯が、導電表面の吸着質のエネルギー準位と一致するように、ダイオードをバイアスで動作させることである。正孔移送が優位である場合、価電子帯を一致させることは、適切である。InGaAsSb族からの半導体などの直接バンドギャップ半導体も、使用してよい。直接バンドギャップ半導体は、放射線および放射線の誘導放出によってエネルギーを抽出するコンフィギュレーションを可能にする。
【0053】
一態様では、導電表面をショットキーダイオードの金属接点上に形成してよい。ホットエレクトロンは、次いで、この金属を通して移動する。十分なエネルギーを有するホットエレクトロンは、ショットキー障壁を突破して、ダイオードのN型半導体に入ることができる。ホットエレクトロンは、ひとたび半導体の中に入ると、格子との衝突によってエネルギーを失い、半導体側に閉じ込められて多数キャリヤとなり、ダイオードを順方向にバイアスして、電気を発生する。有用な発電は、キャリヤがダイオードに入る速度が十分な場合に発生する。この影響は、約1ワット/cm2よりも大きなオーダーの表面電力密度に相当する。
【0054】
したがって、提供された方法および装置は、ショットキー接合ダイオードの形成も含んでいてよい。一態様では、これら接合は、有用な順方向のバイアスが可能になるほど十分高い障壁電位によって形成してよい(そのバリヤーは、一般に、0.05ボルトを超える)。ショットキー接合のバンドギャップは、5ボルトを超える値を含むいかなる有用な値であってもよい(これは、一般に、ホットエレクトロンのエネルギーよりも大きい)。(組成グラジエントを介して)半導体バンドギャップおよびドーピング準位を変えることによって、障壁の厚さを薄くし、かつ、ダイオードの金属側からの距離との相対フェルミ準位も変更可能になる。
【0055】
前述のショットキーダイオードは、金属、ピンで留められた準位、低ドープ半導体、高ドープ半導体を含んでいてよく、また、金属‐低ドープ接合での必要な障壁電位、および低ドープ高ドープ接合での必要な障壁を示すよう調整可能である。薄い障壁は、電子トンネリングを可能にし、これは今度は、ドーピングが、退化ドーピングに近づいた場合、略オーミック接合を形成可能にする。
【0056】
可変バンドギャップおよび可変ドーピングによるショットキーダイオードの形成は、金属接点側のピン止めまたは他の特性を妨げることなく、半導体側で障壁電位を制御および形成する方途を齎す。可変バンドギャップは、半導体合金成分を、金属表面からの距離の関数として変えることによって、達成することができる。この方法は、ダイオードを、所望の、調整された障壁およびフェルミ準位特性で、構築可能にする。この技術に長けた人には既知であるように、低障壁デバイスを高いピーク電力で動作させることによって、装置の効率を高めることができ、0.05〜0.1eVのオーダーの障壁と同様の低ショットキー障壁が可能になる。
【0057】
一態様では、ショットキー障壁を形成し、障壁のよりよい制御を可能にするため、0.1〜20ナノメートルの厚さの酸化被膜が、選択されてよい。酸化物の厚さを変えることにより、酸化物を通るキャリヤのトンネリングが制御され、したがって、接合の必要な特性が制御される。酸化物は、活性化された生成物と半導体の間のいかなる場所に配設してもよい。
【0058】
同様に、エネルギー性電荷キャリヤは、半導体または量子井戸系の中に移送または注入してよい。このようなシステムは、今度は、キャリヤを電気または放出された放射線に変換するか、あるいは、他の場所にキャリヤを移送して、有用な形態に変換、または、化学プロセスで使用してよい。
【0059】
別の態様では、結果として生じた電子エネルギーは、効率的に収集されて、半導体の中または量子井戸の中で励起の反転分布に変換され、その励起を他の有用なエネルギーの形態に変換してよい。
【0060】
しかし、別の態様では、提供された方法および装置は、励起した分子と表面との相互作用が、基板振動を活性化するよりも、フォノンとも呼ばれるホットキャリヤまたは励起の生成に強く有利に働く条件を、導電表面で作り出す。このような有利な条件は、量子井戸を用いて励起した分子の状態を一致させることにより、例えば、金属の原子金属単層の1〜数10層分を使用して導電表面を形成することにより、フェルミ表面の量子状態を調整することによて作り出される。
【0061】
吸着質を獲得しない傾向があり、したがって、エネルギー性電子移送に有利に働く金属(例えば、貴金属である金および銀)などの表面材料を選択することができる。反応表面ジオメトリーのために、分子または原子表面ステップおよびエッジなど、励起に有利に働く反応場所の濃度が高まったジオメトリーを選択してよい。さらに、導電表面の材料は、マルチ量子振動緩和よりも大幅に低いエネルギーを持つフォノン帯を有するよう選択してよい。パラジウムまたは白金などの重い原子から成る導電表面は、このような帯を示すことができる。ほぼ全ての結晶物質は、必要なフォノン帯周波数を有している。
【0062】
例えば、反応表面ジオメトリーは、反応を高めることができるステップおよび(または)エッジ場所を含んでいてよい、または、反応を抑制することができる単層表面を含んでいてよい。一態様では、必要な励起周波数から、できるだけ遠いデバイ周波数を有する材料を選択してよい。
【0063】
導電表面の近くで作り出された反応生成物の、高度にエネルギー性の緩和も、基板のエネルギー準位への、そのエネルギーの共振トンネリングを含んでいてよい。これらエネルギー準位は、金属または半導体伝導帯のいずれかの中の、利用できる未実装電子の励起状態の非常に広い帯を含んでいる。これらエネルギー準位は、正孔状態の同様の帯を含んでいてよく、その場合、活性化された生成物による励起伝達は、正孔である。
【0064】
励起した分子と導電表面との相互作用による、電子またはホットエレクトロンの放出は、電子遷移による脱離(DIET)または多重電子遷移による脱離(DIMET)などの既知の逆プロセスを利用してよい。
【0065】
一態様では、このような方法で作り出された励起したキャリヤが、そのエネルギーを、最小限のエネルギー損失で、エネルギー変換器基板に伝達できるよう、導電表面が、十分に薄く形成される。導電表面の厚さは、材料の単層の1〜数千層分までの厚さであってよく、その厚さは、電子エネルギー、格子温度および材料に依存する工学パラメータであり、現在の技術水準により加工することができる。
【0066】
一態様では、ホットキャリヤ、電子または正孔が、そのエネルギーの大部分を失う前に、エネルギー変換器すなわち半導体に移動できるよう、導電表面を薄く形成してよい。この弾道移送に関連した大きさは、導体または基板中のホットキャリヤのエネルギー拡散長の小さな倍数程度である。「小さな倍数」とは、ホットキャリヤまたは励起が、残存エネルギーが非実際的なほど低い値になるような大量のエネルギーを失わないほど、厚さが、十分薄い、ことを意味する。一般に、エネルギーは、特徴的な寸法「エネルギー拡散長」の平方によって、指数関数的に減少する。「3」エネルギー拡散長という距離は、キャリヤの5%未満が、開始時とほぼ同じエネルギーを有する、ことを意味する。
【0067】
室温で、金および銀などの貴金族の表面金属を伝導するためのエネルギー拡散長の大きさは、一般に、単層10〜約1,000層分であり、これは、約3〜300ナノメートルに相当する。エネルギー拡散長は、1 eV未満のエネルギーを有する電子については、金では、115ナノメートルを超えることがあり得る。また、室温における1 eVの電子については、銀では、約150ナノメートルを超えると計算される。
【0068】
導電表面を介した、反応体と半導体基板の間の材料の大きさは、エネルギーを伝達する放射線に関連した表皮の深さ未満となるよう、選択してよい。この実施形態は、「消えてゆく波」を使用し、この場合は、電磁界が、エネルギーを伝達する。この実施形態では、電子の放出および再吸着の代わりに、活性化された反応生成物の内部エネルギーが、導電表面およびその下にある基板などの中間材料を通して、半導体または量子井戸のキャリヤに共振的に伝達される。この型の伝達は、共振伝達であってよい。
【0069】
エネルギー変換器は、導電表面上で、あるいはそれに近接して、活性化された生成物によって放出された電荷キャリヤまたは電磁エネルギーを捕え、それらを有用な形態に変換する。一態様では、PN接合部またはショットキー接合部などの半導体ダイオード接合部を、エネルギー変換器として使用してよい。別法として、他の既知のエネルギー変換器を使用してもよい。このような既知のエネルギー変換器は、光起電エネルギー変換器で使用されるデバイス、金属‐絶縁体‐金属デバイス、金属‐酸化物‐金属デバイス、量子井戸、および半導体デバイスなど、反応表面上で、あるいは、それに近接して活性化された生成物によって放出される電荷キャリヤ、または、電磁エネルギーを捕えるよう設計された、いかなる既知の装置を含んでいてもよい。例えば、下記を参照されたい。 Tiusan, C. ; et al., Applied Physics Letters, Volume 79, Number 25, 17 December 2001, "Quantum coherent transport versus diode-like effect in semiconductor-free metal-insulator structure" 。 例えば、下記を参照されたい。 Elena A. Guliants, et al., Applied Physics Letters, February 25, 2002, Volume 80, Issue 8, pp. 1474-1476, "A 0.5-μm-thick polycrystalline silicon Schottky diode with rectification ratio of 1E6."
【0070】
上記のとおり、体積中で反応する化学物質は、表面またはエネルギー変換器に伝達される内部エネルギーを作り出す。化学エネルギーの有用な部分は、ある種の他の有用な形態に変換される。一態様では、化学反応体を使用して、活性化された分子を有用な速度で効率的に作り出す。有用な形態の例は、ホットエレクトロン、ホットホール、電磁放射線、活性化されたフォノンモード、活性化された化学的形態、および活性化された圧電物質を含んでいる。
【0071】
図1は、反応領域が、活性化された分子を生成して、分離収集領域が、活性化された分子からエネルギーを収集する装置の横断面を示す。反応領域116は、燃料112と酸化性物質113を反応させ、したがって、活性化された分子101を作り出す。活性化された分子101は、反応領域115を通して拡散し、収集領域114に移動するが、該収集領域は、変換器要素を含み、そこで、活性化された分子が、収集領域114のオプション触媒102および導電表面103と接触し、そこで、エネルギー移送が生じる。変換器要素は、オプション触媒102、導体103、インターフェース導体110、インターフェース半導体111、P型半導体104、半導体接合105およびN型半導体106、陰極107および陽極108を含んでいてよい。
【0072】
例えば、スティミュレータ117,118および119などの関連要素を含む反応領域115および116は、活性化された分子101を生成するために使用され、また、関連変換器要素を含む収集領域114は、活性化された分子101からエネルギーを収集する。反応領域115,116、およびスティミュレータ117,118,119は、燃料112と酸化性物質113を反応させ、したがって、収集領域114近くの導電表面102,103に対して急速に拡散し、かつ、これと接触する、活性化された分子101を作り出す。化学物質からホットエレクトロンへのエネルギー伝達は、オプション触媒102上、導電表面103上、および(または)半導体構造104,105,106内で生じてよい。ホットエレクトロンの別のエネルギー伝達も、導電表面103から、インターフェース導体110およびインターフェース導体111に、また、それが接触する、例えば、P型半導体104、接合105およびN型半導体106などの半導体ダイオードへと生じる。しかし、エネルギー伝達の別の型、例えば、放射性、近距離場、消えてゆく波の放射線は、励起状態化学生成物101と半導体ダイオードとの間で生じてよい。反応領域116におけるスティミュレータ117,118,119は、反応刺激の途中で電気を消費してよい。
【0073】
一態様では、触媒102,118は、多くの異なるコンフィギュレーションのうちのいずれか一つにおいて、形成されてよい(各コンフィギュレーションは、特定の形体を有している)。触媒は、凝集、単層、クラスタ、リッジ、ステップエッジ、量子ドット、量子井戸、および量子スタジアを含むがこれらに限定されないいかなる方法で形成してもよい。エッジおよびリッジを有するコンフィギュレーションは、吸着および反応のための活性部位を促進する。単層を有するコンフィギュレーションは、調整、および、フェルミ表面近くの電子の状態の密度において共振およびピークを生ずる利点を示して、これらのエネルギーでのエネルギー伝達を高めてよい。クラスタは、弾道電子寿命および表面フォノン状態からのデカップリングを高めて、効率を向上させてよい。
【0074】
図1に示したとおり、収集領域は、ダイオード104,105および106であってよい。活性化された分子101は、拡散領域115のガスを通して、収集領域114に急速に拡散し、そこで、該分子は、電気などの有用な形態に変換される。エネルギーを失った分子109は、収集領域から離れて拡散し、これを、排気と呼んでもよい。
【0075】
別の態様では、反応領域116,115は、導電表面102,103を含む収集領域114から離れた領域に、ただし、同じ構造上、例えば、同じ基板上に、位置してよい。図解の平面は、この実施形態の共通基板を表してよい。このコンフィギュレーションでは、触媒および(または)反応スティミュレータ117,118,119を含む反応領域115,116は、基板の一部分に位置してよく、また、変換器要素を含む収集領域114は、別の一部分に位置してよい。分離領域は、図7を参照して、同様に説明する。
【0076】
反応領域115,116は、その領域で作り出される、結果として生じる活性化された分子の意図した部分が、収集領域114に拡散、移行、または運搬されるよう、設計してよい。最も必要な部分が、たとえ単一性に近づいても、意図した部分は、工学設計の結果となることは、この技術に長けた人には、理解される。例えば、このような設計は、比較的大きな収集領域の間に、あるいは、それにより部分的に囲まれて、配置される、比較的小さな反応領域を選択してよい。
【0077】
別の態様では、反応領域115,116は、異なる種類の反応領域を含み、それぞれが異なる方法で燃料112および酸化性物質113を処理して、最終的には、収集領域114で、活性化された分子、およびその領域を離れる排気109を作り出してよい。しかし、別の態様では、反応領域115,116は、揮発またはガス燃料および酸化性物質反応体を使用して、活性化された分子を生成してよい。
【0078】
反応領域116と収集領域114との間の距離は、活性化された分子の振動励起が、実質的に保持されるのに十分なほど、短く設計される。活性化された分子は、2つの領域の間をガス拡散によって移動する。他のガス分子との相互作用は、最終的には、励起エネルギーを奪って熱を発生させる。その距離は、一般に振動エネルギー拡散長の4倍未満となるように設計してよい。この拡散長は、衝突平均自由経路の3〜100倍(振動拡散長=衝突平均自由経路 × 衝突間の時間の単位における振動寿命の3倍の平方根で、振動寿命は一般に10〜10,000)よりも一般に長いことが知られている。一例として、空気分子の衝突平均自由経路は、100ナノメートルのオーダーである。これは、反応領域と収集領域の距離が、100ナノメートルの3〜100倍長くてよいことを意味する。したがって、反応領域は、活性化された分子から収集領域までの距離が、分子の振動エネルギーモードの拡散長の約4倍未満となるように、形成してよい。
【0079】
別の態様では、該方法は、半導体領域と接触した導電表面を形成する工程を含んでいる。「接触」という言葉は、別の導電表面、触媒、材料、酸化物または金属が、活性化された分子と、導電表面または下にある半導体のいずれかとの間に置かれ、エネルギー伝達用の経路として使用されるコンフィギュレーションを含んでいる。これは、反応領域近くに導電表面を置くことを含んでいる。一実施形態では、「近く」とは、電子励起が、励起の5%以上がそれらのエネルギーの15%以上を保持するように移動できる距離以内、または、共振トンネリングにより、エネルギーの85%以上が失われないほど十分な速度で、エネルギーが輸送できる距離以内を意味する。この方法は、反応表面の上に、反応表面に隣接して、または、反応表面の下に、導電表面を置くことも含んでいる。これは、深いVチャネルおよびメサ構造などのコンフィギュレーションを含んでいる。
【0080】
別の態様では、材料の経路は、導電表面における弾道電荷キャリヤの移送に適するよう形成してよい。このような経路は、電荷キャリヤのエネルギー拡散長の約4倍未満の長さに限定してよい。しかし、別の態様では、経路の一部は、金属、半導体または絶縁体のいずれかを含む材料、および1原子層を超えるエネルギー拡散長を有する材料から形成してよい。
【0081】
該方法は、反応体に面する表面から半導体までの短い経路を提供する。この経路の長さは、望ましくは、活性化された生成物によって作り出されるホットエレクトロンまたはホットホールのエネルギー拡散長の4倍未満である。この経路は、オプションとして、触媒金属から作ってもよい。経路が、銅、アルミニウム、銀、および金などの良導体金属から作られている場合、適切なエネルギー拡散長厚さは、白金、パラジウム、イリジウム、ロジウム、ルテニウム、バナジア、チタニア、アルミナ、ルテニウム酸化物、酸化物、および他の化合物などの触媒の場合よりも大幅に大きくてよい。電極を形成する材料の厚さは、一般には、0.3〜300ナノメートルまでの範囲であってよい。これは、単層の約1〜1000層分に相当する。触媒を形成する材料の厚さは、一般に、0.3〜50ナノメートルまでの範囲であってよい。
【0082】
一態様では、提供された装置は、これら化合物が、触媒、絶縁体、または導体であるかどうかを問わず、白金、パラジウム、イリジウム、ロジウム、ルテニウム、バナジア、ルテニウム酸化物、酸化物および他の化合物を含むがこれらに限定されない、酸化物、絶縁体、および混合触媒を含む基板102,103,110を含んでいてよい。例えば、基板は、ルテニウム酸化物を含んでいてよいが、これは酸化物および導体の両方である。
【0083】
一態様では、ホットキャリヤが電子である場合、半導体は、P型となるように選択される。P型半導体104は、この半導体と導電表面との間のいかなる電位障壁も、非常に小さいか、あるいは、存在しないように、導電表面(110および(または)111)に物理的に接続される。例えば、導電表面110は、薄い電極金属111上に置くことができ、電極材料111は、P型半導体104上に接着される。金属‐金属接点110,111における電気障壁は、ほぼ常に無視できる。他方、110と111との間の材料の不連続性により、フォノン移送に対して、したがって、熱移送に対して、必要な障壁が置かれる場合がある。
【0084】
退化性ドーピングと呼ばれる高度ドーピングの限度を含む、半導体104の高度ドーピング、および、半導体に対する電気接点の形成と両立することが既知である材料から、電極材料110,111を選択することにより、電極と半導体との間のショットキー障壁が減少する。電極材料111は、別の半導体であってもよく、これは、半導体素子製造の現在の技術水準で日常的に使用される方法である。結果は、導電表面フェルミ準位とP型半導体価電子帯(低位帯の先端)のフェルミ準位とは、等しいということである。ホットキャリヤエネルギーは、導電表面フェルミ準位のエネルギーに対して測定される。結果は、ホットキャリヤの中には、導電表面フェルミ準位のエネルギーを超えるエネルギーを有し、したがって、P型半導体のフェルミ準位を超えるエネルギーとほぼ同じエネルギーを有する半導体に近づくものもある、ということである。
【0085】
ホットキャリヤは、次いで、導電表面102,103および(または)110のエネルギーを超える過剰エネルギーを有する半導体104、および半導体104価電子帯に入ろうとする。この設計によって、半導体のバンドギャップの内部には、電子が励起するためのエネルギー準位は、実質的にない。半導体104でホットエレクトロンに利用できる唯一の準位は、上位帯、伝導帯の中に有る。
【0086】
一態様では、この上位帯の位置は、電子の優位エネルギーをわずかに下回るように選択され、そのため、電子は、半導体104に容易に入ることができる。これは、半導体104のバンドギャップが、このホットエレクトロンスペクトルの選択されたエネルギーを下回るように製造することによって、あるいは、必要なバンドギャップを有する半導体を選択することによって、達成される。これは、ホットエレクトロンの必要な部分が、P型半導体104の伝導帯に入ることを意味する。これによって、P型半導体104の伝導帯が、活性化される。電子は、したがって、弾道キャリヤではなく少数キャリヤに変換される。少数キャリヤは、一般に、弾道キャリヤの寿命よりも長いオーダーの寿命を有する。
【0087】
一態様では、ホットキャリヤが正孔である場合、半導体はN型となるように選択される。P型半導体を引用して説明した、complimentaryプロセスが実行されて、同じ結果が生ずる。すなわち、短寿命キャリヤは長寿命キャリヤに変換される。有利なことに、実用的に最低の0.05eVのオーダーから、ほとんどの反応体の接着エネルギーよりも高く、3eVを十分に超えるエネルギーによって、直接および間接バンドギャップの両方を有する半導体材料が得られる。
【0088】
半導体の中の少数キャリヤの寿命は、一般に、弾道キャリヤの寿命よりも少なくとも100倍は長い。このように寿命が長くなると、ホットキャリヤ、少数キャリヤには、逆の型の半導体、すなわちN型半導体の領域に移行、拡散する、または、半導体内部領域によって引きつけられる機会が与えられる。PN接合部は、その全域に強力な電場を作り出して近づいてくる少数キャリヤを引きつける。
【0089】
半導体接合部では、半導体の中の少数キャリヤは、それが、光起電ダイオードで見出だすであろう状況と全く同じ状況を見出す。光起電ダイオードにおけるのと同様に、PN接合部の電場は、接合部全域でホットキャリヤを一掃して、ダイオードを順方向にバイアスし、有用な電位を生成する。
【0090】
一態様では、P型半導体104ダイオード層厚さは、エネルギーを輸送する少数キャリヤのエネルギー拡散長よりも小さくなるように選択される。この種の平均自由経路は、拡散長と呼ばれることが多い。拡散長よりも長い距離では、キャリヤは最終的には再結合して、熱を発生する。このような拡散長は、一般に、200 nm以上のオーダーである。
【0091】
ダイオード104,105,106は、一態様では、光起電ダイオードと同様であってもよいが、重要な非自明面では異なる。既知の光起電ダイオードは、それを通過する光を収集するのに十分な大きさの、接合部近くの領域によって形成されねばならない。これは、一般に、数百ナノメートルを大幅に上回る。光収集距離を高めるには、半導体接合部に、少なくとも一つの比較的低くドープされた領域を含ませなければならない。この拘束条件は、光起電ダイオードのNまたはP領域のいずれかのドーピングが、重ドーピングまたは退化ドーピングであると判断されるドーピングよりも大幅に低くなることを強制するものである。この低ドーピングレベルは、ダイオードの抵抗領域生成物を減少させ、したがって、その効率を低減する。
【0092】
既知の光起電ダイオードとは異なり、ダイオード104,105,106は、このようなフォトンを収集する必要がなく、かつ大きなフォトン収集領域も必要としない。したがって、装置中のダイオード104,105,106は、半導体の極性領域のどちらか一方が低くドープされていることを必要としない。したがって、ダイオード104,105,106は、高度にドープされた、または、退化的にドープされた半導体を、工学設計の自由パラメータとして使用することができる。このドーピングは、抵抗領域生成物を最大化し、したがって、ダイオードの効率を最大化する。したがって、ダイオード104,105,106は、高度に、または、退化的にドープされたN106およびP104領域の両方を有することができる。光起電ダイオードとは異なり、高ドーピングは、ダイオードのエネルギー収集効率を高める。高ドーピングは、接合部105全域で注入された少数キャリヤを一掃する傾向がある電場も増加させる。
【0093】
したがって、半導体104は、例えば、0.1〜0.5(100〜500ナノメートル)という浅い深さまで退化的にドープすることができる。高度にドープされ、かつ、退化的にドープされた半導体は、導体110,111から、ホットキャリヤが生成されるダイオード104の表面まで、および、順方向のバイアスが生成されるPN接合105までの距離を最小化するのに使用できる。したがって、高ドーピングおよび小さなPN接合部の大きさは、有用な方法になる。高いドーピングによって、厚さ1ミクロン未満の半導体のような比較的薄い半導体も使用できるようになる。高ドーピングは、簡便なドーピング慣行も可能にする。
【0094】
提供された方法および装置は、実際的に有用な効率(20%を超える)を生み出し、かつ1平方センチメートルあたり10ワットのオーダーという低さの、活性化された分子の出力密度で、達成することができる。ダイオードの効率は、出力とともに急上昇し、そのため、1平方センチメートルあたり10ワット以上を使用すると、10ワットでの効率よりも大幅に高い効率、例えば、非線形利点を齎すことができる。
【0095】
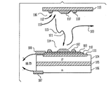
図2は、本発明の一実施形態における装置のエネルギー変換器部分の横断面を示す。この実施形態では、気相励起された分子101は、PN接合半導体ダイオード104,105,106へと移動するホットエネルギー性電子を作り出し、それを順方向にバイアスして、電気を発生する。図のように、活性化された分子101は、導電表面102および103上に流れる。エネルギーを失った分子109は、排気生成物とも呼ばれ、導電表面102および103領域を離れる。ホットエレクトロンは、ガス表面相互作用の結果として作り出されて、P型半導体104、PN接合部105、およびN型半導体106によって形成される半導体ダイオードを順方向にバイアスする。
【0096】
導電表面には、オプション触媒102、導電材料103、オプションインターフェース導電電極110、および、P型半導体などのオプションインターフェース111を含んでいる。導電材料103は、活性化された分子101との相互作用のための基板を形成する。オプションとして、オプション触媒構造102は、この導電材料103上に形成してよい。
【0097】
ここで、オプションインターフェース導電電極110およびオプションインターフェースP型半導体111を示すことにより、材料の拘束条件のため、異なる型の材料の必要性が強制される場合があることを示す。例えば、導電材料103の一つの型は、活性化された分子101との最適な相互作用のために必要とされる場合がある。また、導電材料110の別の型は、半導体111へのオーミックまたは略オーミック接続を形成するのに必要とされる場合がある。このオーミック接続は、ダイオード半導体104へのオーミック接続のために必要とされる場合がある。材料同士が両立できる場合、材料102,103および110は、導体などの同じ材料から形成してよい。ダイオード材料111および104も、同じであってよい。
【0098】
例えば、半導体111が、非常に重くドープされている(退化的にドープされている)場合、触媒102または金属103または110は、半導体111へのオーミック接合または略オーミック接合を形成することができる。この場合、触媒102または導体103は、導電表面を半導体ダイオードに接続するための基板110として作用することができる。
【0099】
導電表面102および103上で作り出されるホットエレクトロンは、導体の中の弾道多数キャリヤである。半導体伝導帯に入るのに十分なエネルギーを有するこれら電子は、電子が少数キャリヤに変換されるP型半導体104へと移動する。導電表面102および103からP型半導体104への、低エネルギー正孔の移送によって、電荷バランスが、生ずる。少数キャリヤは、拡散によって、かつ、接合部105の内部電場を理由に、ダイオードのPN接合部105に移動する。内部電場は、キャリヤが、ダイオードのN型半導体106の中で多数キャリヤになるようにし、ダイオードが順方向にバイアスされるようにする。ダイオードの全域で生成された順方向のバイアスは、電気を生成する。この電気は、陽極108と陰極107の間で、順方向の電流として抽出される。
【0100】
図2を参照すると、別の態様では、101,109の近くおよび102,103の近くの反応領域には、収集領域102,103の表面が含まれていてよい。導電表面102,103と同じ場所に配設された、102に含まれる触媒、および(または)102に含まれる反応刺激メカニズムを用いて、燃料と酸化性物質101とを反応させ、また、活性化された分子109を含む生成物109が、導電表面102,103上で、表面102,103を超えた体積領域の中で、かつ、109の近く、または、その表面102,103のすぐ近くで形成されるようにする。「近く」とは、本開示の中で説明したとおり、生成物ストリーム109の中のエネルギー的に励起した生成物の、拡散の大きさの数倍以内を意味する。
【0101】
図3は、活性化された分子が、ショットキー接合半導体ダイオードへと移動し、それを順方向にバイアスして電気を発生するホットエネルギー性電子を作り出す場合の、装置のエネルギー変換器部分の横断面を示す。気相励起した分子101は、導電表面102および(または)103上に流れる。エネルギーを失った分子109は、排気生成物とも呼ばれ、導電表面領域を離れる。ホットエレクトロンは、相互作用の結果として作り出される。ショットキー障壁を超えるエネルギーを有するホットエレクトロンは、半導体ダイオード110,111および104へと移動し、それを順方向にバイアスする。ダイオード110,111および104は、導電表面110と、N型半導体111および104との接合によって形成される。
【0102】
別の態様では、導電表面は、オプション触媒102、導電材料103、オプションインターフェース導電電極110、およびオプションインターフェースN型半導体111を含んでいてよい。ここで、オプションインターフェース導電電極110およびオプションインターフェースN型半導体111を示すことにより、材料の拘束条件のため、活性化された分子101には、一つのタイプの導電材料103が対向し、また、半導体111および104には、別のタイプの導電材料110が対向する必要性が強制される場合があることを説明する。導電材料103は、活性化された分子との望ましい相互作用のための基板を形成する。オプション触媒構造も、導電材料103上で形成してよい。導電材料110は、別のタイプの材料であってもよいが、半導体111へのショットキー接合を形成するのに使用される。半導体111および半導体104は、設計によっては、同一であってよい場合もある。材料同士が両立できる場合は、触媒102、基板103および電極110の材料は、導体などの同じ材料から形成してよい。例えば、触媒または金属は、半導体に対してショットキー接合部を形成してよい。この実施形態では、触媒102または導体102または110は、導電表面を半導体ダイオードに接続するための電極110として作用することができる。
【0103】
導電表面102,103および110で作り出されたホットエレクトロンは、導体の中の弾道多数キャリヤであり、電子も多数キャリヤである場合は、N型半導体111および104へと移動する。そのプロセスで、電子は、エネルギーを失って、ショットキー障壁を超える電子の初期エネルギーとN型半導体のフェルミ準位との間の差にほぼ等しく加熱される。
【0104】
半導体における格子および電子との衝突は、過剰エネルギーを、障壁を大幅に下回る値まで低下させる。このエネルギー損失の結果、逆方向に移動する電子の数が減少する。これにより、ダイオード上で、順方向のバイアスが生じる。
【0105】
導電表面110からの正孔の移送により、電荷バランスが、生ずる。電子は、ダイオード110,111および104が順方向にバイアスされるようにする。ダイオード110,111および104全域で生ずる順方向のバイアスを理由に、電気が生成され、陽極108と陰極107の間で、順方向の電流として抽出される。
【0106】
基板110は、金属‐半導体接合でショットキー障壁を形成するために選択された導体であってよい。したがって、基板110は、ダイオード電極とも呼ばれる、ダイオードへの電気接続部も形成してよい。
【0107】
図4は、図1を参照して説明された装置と機能的に同様の装置の横断面を示す。その違いは、図4に示した半導体ダイオードは、図1のPN接合部ではなく、ショットキー接合部であることである。
【0108】
図1および4の両方の装置において、反応領域116の物理的場所は、以下のうちいずれか一つであってよいことが容易に結論づけられ、かつ観察できる。1) 収集領域114と同一の場所、2) 同じ基板102,103および110上の収集領域114に隣接した場所、3) 収集領域114の近くのナノ構造またはミクロ構造上の収集領域114の近くの場所、4) 収集領域から完全に分離している場所、または5) 異なる場所でいくつかの異なる種類の反応スティミュレータを含む場所。
【0109】
別の態様では、図1および4に示した装置は、反応領域と収集領域の物理的な分離によって、いかに熱的考察が容易にできるかを示す。すなわち、反応領域は、物理的分離を理由に、収集領域よりもはるかに高い温度に保つことができる。
【0110】
図1および4に示した反応領域116は、例えばワイヤのような形の薄いシリンダであってよく、はるかに寸法の大きいシリンダまたは箱のような形の収集領域によって同軸的に囲まれている。反応領域116は、例えば、箱構造の反対側、あるいは、チャネル構造の壁の反対側のような、収集領域と同じ大きさの平面表面であってよい。反応領域116は、シート様の収集領域114表面から分離し、かつ、その上の、一組のワイヤ様の領域であってよい。収集領域114は、ワイヤ様の反応領域装置、ポイント様の反応領域に囲まれたプラトーあるいはポストとして構築してよい。これらコンフィギュレーションは、反応領域と収集領域を分離する方法の例としてのみ示すものである。図1および4のコンフィギュレーションは、分離した領域の一般的な概念を示すものである。
【0111】
図1および図4を参照して説明すると、別の実施形態では、反応領域115,116は、収集領域114に対して、高温で動作するよう設計することができる。反応領域115,116は、電気的、光学的または化学的注入スティミュレータなどの反応スティミュレータ117,118,119を含んでいてよく、これらは、熱的分離、電気的分離、光学ガイド、および化学インジェクタを必要とする場合がある。反応領域115,116は、どちらの図にも示されていない、収集領域114の図から離れた、ヒートシンクを含んでいてよい。熱は、反応領域115,116を通して、ガス流109の対流活動によっても取り除くことができる。
【0112】
反応領域116は、スティミュレータまたは触媒を含んでいる。スティミュレータまたは触媒は、構造119、電気スティミュレータ、光学スティミュレータ、一般に117として示される触媒、一般に118として示されるホットワイヤまたは構造、および、自己触媒およびフリーラジカルジェネレータまたは反応スティミュレータなどの、注入された化学スティミュレータを含んでいてよい。添加物自己触媒およびフリーラジカルジェネレータの例は、過酸化水素およびメチルアルコールなどの添加物の使用を含んでいる。
【0113】
図5は、励起した分子によって作り出された励起を保存する装置の横断面を示す。装置は、図2を参照して説明された装置と同様であってよい。図5に示した装置では、ホットエレクトロンは、電気を発生させる方法以外の方法によって、使用することができる。活性化された分子から生じたホットエレクトロンは、P型半導体104では電子を、また、接合部130に沿って、それを含む半導体の他の領域131に拡散しているN型半導体106では、正孔を形成する。そこでは、ホットキャリヤは、他の目的のために使用してよい。図5において、収集領域、反応体101、排気109、オプション触媒102、導電表面103、インターフェース導体110、インターフェース半導体111、P型半導体104、接合105およびN型半導体106の要素は、図2の要素と機能的に同様であってよい。
【0114】
代わりに、N型として示されている半導体領域106は、P型領域104よりも低いドーピングによるP型であってよく、あるいは、領域106は、固有(ドープされていない)であってよい。領域106とP型領域104の間で電気信号を印加して、キャリヤの運動および保存を制御してよい。
【0115】
一態様では、半導体構造は、ホットエレクトロンから生じた電荷キャリヤを保存するよう設計してよい。このような半導体は、ホットエレクトロンが、一つの領域の中で収集でき、結果として生じた長寿命キャリヤが他の領域に拡散可能となる。本発明は、寿命の長いキャリヤを、反応表面の他の場所に分配することができる。輸送されたキャリヤは、次いで、半導体を離れ、導電表面または反応表面で再び弾道キャリヤに変換されて、有用な仕事を行うことができる。このような仕事には、反応を刺激すること、およびナノメカニカルデバイスまたは分子を活性化することが含まれている。このようなナノメカニカルデバイスの例は、ナノプロペラ、C60トランジスタ、および生体物質キネシンを含んでいる。
【0116】
他の領域のキャリヤは、半導体の中で、電子および正孔の分布反転を引き起こすことができ、あるいは、別の表面にキャリヤを移送して、その表面に注入することができ、あるいは、キャリヤが何か他の有用な目的を実行する領域にキャリヤを移送することができる。
【0117】
他の目的の例は、以下を含んでいる。すなわち、トランジスタなどの半導体にキャリヤを注入して電流を制御すること、半導体131の表面から、その表面またはそれに接続した表面上の吸着質に、キャリヤを再注入して、化学反応を生じさせる、あるいは、吸着質を活性化して反応性を高める、あるいはエネルギー的に励起された状態にすること、化学反応を制御すること、反応を刺激すること、表面吸着質を活性化して励起状態にすること、表面プラズモンを活性化すること、圧電または電気ひずみ要素にキャリヤを注入して、機械的運動への変換を引き起こすこと、分布反転を生じさせて、発光を引き起こすこと、量子井戸構造への注入で電磁放出を生じさせること、半導体回路を活性化すること、および(または)フォノンを含む他の形態に変換すること、である。
【0118】
図6は、図5を参照して説明した装置と機能的に同等の装置の横断面を示す。図6に示した装置では、半導体PN接合部105におけるキャリヤの用途は、分布の反転である。このモードでは、レーザーダイオードまたは発光ダイオードの方法と同様の方法で、エネルギー111がダイオードから抽出され、その場合、要素112は、光学素子を表す。レーザーダイオードおよび発光ダイオードの動作は、一般に、この技術に長けた人には既知であり、したがって、ここではこれ以上説明しない。
【0119】
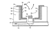
図7は、個別の反応領域および収集領域を有する装置について図解する。反応領域713は、触媒703および(または)反応スティミュレータ701,702を含み、基板710の一部に位置していてよく、収集領域714は、基板の別の部分に、導電表面704およびその関連半導体変換器要素(導電表面704、インターフェース導体705、電極706、P型半導体707、接合708、N型半導体709、基板710を含む)を含んでいてよい。
【0120】
図7に示すように、反応領域713は、収集領域714よりも比較的小さく設計してよい。反応領域713はまた、比較的大きな収集領域714の間、またはそれに部分的に囲まれて、配置してよい。反応領域713の触媒703も、収集領域714から分離してよく、該収集領域は、反応領域713を部分的に囲んでいる。
【0121】
図7を参照して説明すると、燃料チャネル715は、空気または酸化性物質の流れ716から分離して形成してよい。この分離は、多くの形態を取ることができる。例えば、収集領域714は、下にある液体燃料715の源に達する正孔712で形成してよい。燃料分子113は、したがって、触媒703または収集領域714上で、吸着された種を支配するであろう。触媒‐燃料アセンブリは、収集表面704の一部、または反応表面703の一部、またはその両方であってよい。
【0122】
燃料および(または)燃料の気化の熱は、半導体エネルギー変換器を冷却するのに使用してよく、これには、例えば、導電表面704、インターフェース導体705、電極706、P型半導体707、接合部708、N型半導体709、基板710が含まれていてよい。これは、半導体の冷却、および電気に変換されないホットキャリヤの再利用の増強、の両方を行う新規の方法である。例えば、図7を参照して説明すると、触媒または導電表面704をカバーする燃料113は、エネルギー変換器半導体708に入らないホットエレクトロンを吸着することができる。燃料は、吸着すると、次いで、活性ラジカルに分離し、化学反応の一部となることができる。燃料またはその分離した生成物は、ホットエレクトロンの助けを借りて、または借りずに、脱着し、反応領域713で、ラジカルと混合することができる。また、燃料は、半導体708,709と物理的に接続している領域712から簡単にに気化して、反応領域713に入り、半導体708,709を冷却することができる。高濃度の気化燃料113は、したがって、燃料/酸化性物質混合物をバイアスして、最適な混合物にすることができる。
【0123】
図8を参照して説明すると、熱障壁810は、反応領域811が収集領域812よりも高温で動作できるよう、反応領域811と収集領域812との間に形成してよい。このような障壁は、ピラー810、真空、または物理的材料の量を減らしたチャネルを含んでいてよい。熱源は、反応領域811に、またヒートシンクは、収集領域812に接続して、その領域を必要な動作範囲内に保つことができる。反応領域811は、ポスト、プラトーおよび(または)ピラー810などの高架構造で形成してよい。構造は、熱的に絶縁するよう設計してよい。
【0124】
図8を参照して説明すると、電気的に絶縁した障壁810は、電気的刺激信号を、収集領域に干渉せずに、反応領域に送ることができるよう、2つの領域811,812の間に形成してよい。他の障壁および構造は、例えば、放射線を分離あるいは濾過するため、あるいは化学物質を生成物別に濾過するため、あるいは並進、回転、または組成特性などの様々な特性を有する分子を分離するため、領域間に置いてよい。
【0125】
ショットキー接合をエネルギー変換器として使用することによって、装置に単一性を与えることができる。シリコンなど、1ボルトのオーダーの範囲内にあるバンドギャップを有する半導体を使用してよい。一態様では、高バンドギャップ半導体を使用してよく、したがって、装置は、例えば100℃を超えるような室温を超えた温度で動作可能になる。GaNおよびSiCなどの、市販の高温半導体は、このような高バンドギャップ材料の例である。これは、使用することができる金属および半導体の範囲を広げ、結果として、抽出可能な面積当たりの電力が増加する。
【0126】
一態様では、活性化された分子を用いて、印加電圧の代わりにキャリヤを作り出し、外部装置に電力を供給することができる。したがって、活性化された分子を用いて、さもなければ電源によって電力を供給されることになる装置に電力を与えることができる。例えば、化学反応は、チップセットに電力を供給するのに使用することもできる。化学反応を用いてチップセットに電力を供給することは、体積、三次元計算システムの構築を可能にし、その場合、チップセットに電力を供給するエネルギー源は、電気接続ではなくフロー燃料‐酸化性物質の混合物である。これは、例えば、ペブルベッドリアクターシステムの場合のように、物理的相互接続がなく、かつ、いかなる構造的相互接続もないシステムを可能にする。電気エネルギー源のマイクロスタックは、燃料‐酸化性物質の混合物によって活性化することができ、その場合、このようなマイクロスタックは、物理的に分離した「ペブル」の一部となる。これは、今度は、自己アセンブルしたボリュームシステムを可能にして、システムのコストを大幅に削減し、それらの性能を向上させる。
【0127】
別の態様では、量子井戸がエネルギー変換器として使用され、活性化される。装置のエネルギー変換器は、短寿命キャリヤを長寿命キャリヤに変えて、結果として生じたキャリヤをさらに使用できるようにする。トンネリング障壁、金属または半導体および別のトンネリング障壁を含む量子井戸基板を用いて、エネルギー変換器を形成することができる。このエネルギー変換器は、基板半導体と直接接触させて形成することができる。エネルギーを抽出することができる別の方法は、電位の生成を介した方法であってよい。しかし、別の方法は、本発明と直接接続したナノデバイスに電力を与えることであってよい。現在の技術水準に従い、外部電流が、ほぼ理想的な4レベルのレーザーに形成される量子井戸およびドットを活性化するのに使用されてきた。提供された装置では、同じ種類の井戸およびドットは、注入されたキャリヤのエネルギーから直接活性化することができる。
【0128】
量子井戸はまた、活性化された分子励起を捕えるために、共振を作り出す可能性も提供している。量子井戸によって形成される共振準位は、化学的に励起した生成物の中で、選択されたマルチ量子遷移同士が一致するよう、調整することができる。このような一致は、励起した生成物から量子井戸の長寿命励起に、エネルギーを伝達する方法を提供する。例えば、提供された方法は、刺激された放射線の放出によって、量子井戸からエネルギーを抽出することができる。
【0129】
半導体または金属量子井戸構造に関連した現在の技術水準は、その大きさが、含まれる弾道キャリヤのエネルギー拡散長のオーダーを都合よく下回るかあるいは同じオーダーの層を可能にして、製造を容易にし可能にする。
【0130】
一態様では、導電表面は、いくつかの材料を含んでよい。表面は、ホットエレクトロンが、それらのエネルギーの相当な部分、例えば、90%以上のエネルギーを失う前に、半導体に入ることができるような半導体構造上では、十分に薄く、例えば、ホットエレクトロンのエネルギー拡散長の10倍未満の厚さで形成される。
【0131】
導電表面およびその下にある半導体は、活性化された分子の化学反応を引き起こすため、あるいは、活性化された分子から、または、活性化された分子へのエネルギー伝達を引き起こすために、触媒または他の反応刺激システムを含んでいてよい。すなわち、導電表面はまた、電気などのエネルギーの印加によって活性化された反応刺激表面の一部であってよい。
【0132】
導電表面およびその下にある半導体は、触媒および他の反応刺激システムを含んでいてよい。これらは、燃料、酸化性物質、排気、反応副産物、または他の材料などの吸着質が、導電表面で不導体が形成され、あるいは、収集される場合に起こることが知られている目詰まり、蓄積、または導電表面との干渉を起こすのを防ぐため使用することができる。このような触媒および他の反応刺激システムはまた、反応の促進もでき、また、望ましい反応を起こさせることも可能である。
【0133】
本発明は、その実施形態に関して詳しく示し、かつ、説明してきたが、本発明の意図および範囲から逸脱することなく、形態および詳細における前述の、また他の変更を本発明の中で行うことができることは、この技術に長けた人には理解されるであろう。
【図面の簡単な説明】
【図1】 分離した反応領域が、活性化された分子を生成し、収集領域が、活性化された分子からエネルギーを収集する装置の図式的な横断面を示す。
【図2】 PN接合オプションを使用して、活性化された分子エネルギーから有用な電位を生成する装置の、エネルギー変換部の図式的な横断面を示す。
【図3】 ショットキー接合オプションを使用して、活性化された分子エネルギーから有用な電位を生成する装置の、エネルギー変換部の図式的な横断面を示す。
【図4】 反応領域が、活性化された分子を生成し、収集領域が、活性化された分子からエネルギーを収集し、かつ、ショットキー接合を使用して電気を発生する場所の図式的な横断面を示す。
【図5】 励起した分子が作り出す励起を保存する装置の図式的な横断面を示す。
【図6】 励起した分子が作り出す励起を、分布反転に変換する装置の図式的な横断面を示す。
【図7】 個別的な燃料および酸化性物質チャネル、分離された反応および収集領域、および熱的分離を有する装置の図式的な横断面を示す。
【図8】 熱障壁および分離された反応および収集領域を図解した装置の図式的な横断面を示す。

Claims (28)

  1. エネルギーを抽出する方法であって、
    ガス体積内で、反応刺激装置を利用して一つまたはそれ以上の化学反応を開始する工程と、
    一つまたはそれ以上の高度に振動的に励起した気相状態の反応生成物を作り出す工程と、
    該一つまたはそれ以上の高度に振動的に励起した反応生成物が、基板の表面上で衝突することを可能とすると共に、一つまたはそれ以上の高度に振動的に励起した反応生成物に関連した振動エネルギーをホットキャリヤの形態で該表面に伝達することを可能にする工程と、
    ホットキャリヤの運動エネルギーを有効仕事に変換する工程と、を含み、
    前記反応刺激装置を利用して一つまたはそれ以上の化学反応を開始する工程が行われる位置と前記基板の表面の位置は、前記ガス体積を間に挟んで対向する関係にあることを特徴とする方法。
  2. 一つまたはそれ以上の反応生成物は、一つまたはそれ以上の中間反応生成物を含むこととする請求項1に記載の方法。
  3. 表面からホットキャリヤの運動エネルギーを収集する工程をさらに含むこととする請求項1に記載の方法。
  4. 表面からホットキャリヤの運動エネルギーを収集する工程は、該ホットキャリヤの運動エネルギーを一つまたはそれ以上の形態の有用なエネルギーに変換する変換器に、該ホットキャリヤの運動エネルギーが、該表面から伝達されることを可能にする工程を含むこととする請求項3に記載の方法。
  5. 変換器は、ダイオードを含むこととする請求項4に記載の方法。
  6. 有用なエネルギーは、電気、放射線、および機械的エネルギーのうちのいずれか一つまたはそれ以上を含むこととする請求項4に記載の方法。
  7. 一つまたはそれ以上の高度に振動的に励起した反応生成物を作り出す工程は、前記気相状態の反応体が、拡散により移行して、前記基板の表面近くの体積内の刺激物と反応することを可能にする工程を含むこととする請求項1に記載の方法。
  8. 一つまたはそれ以上の高度に振動的に励起した反応生成物を作り出す工程は、前記気相状態の反応体が、拡散により移行して、前記基板の表面上で、体積内の刺激物と反応することを可能にする工程を含むこととする請求項1に記載の方法。
  9. エネルギー抽出装置であって、
    化学反応を開始するための反応刺激装置と、
    収集表面を形成する基板と、
    該反応刺激装置と該収集表面との間に形成された反応体積と、
    該基板と接触するエネルギー変換器と、
    を含み、
    気相状態の化学物質が、前記反応刺激装置の刺激によって該反応体積内で反応を開始し、該基板と衝突して、該反応体積内で生じる反応の生成物からの反応エネルギーを伝達し、かつ、伝達されたエネルギーは、該エネルギー変換器により、有用なエネルギーに変換されることを特徴とするエネルギー抽出装置。
  10. エネルギー変換器は、ダイオードを含むこととする請求項9に記載のエネルギー抽出装置。
  11. エネルギー変換器は、PN接合ダイオードを含むこととする請求項9に記載のエネルギー抽出装置。
  12. エネルギー変換器は、ショットキーダイオードを含むこととする請求項9に記載のエネルギー抽出装置。
  13. 収集表面に垂直な反応体積の最も遠い部分から収集表面までの距離は、反応体の振動エネルギー拡散長の倍数であることとする請求項9に記載のエネルギー抽出装置。
  14. さらに、反応体積の近くに第二の反応刺激物を含むこととする請求項9に記載のエネルギー抽出装置。
  15. 第二の反応刺激物は、電気刺激物、光学刺激物、触媒、ホットワイヤ、および化学刺激物のうちのいずれか一つまたはそれ以上を含むこととする請求項14に記載のエネルギー抽出装置。
  16. 化学刺激物は、自己触媒およびフリーラジカルジェネレータのうちのいずれか一つまたはそれ以上を含むこととする請求項15に記載のエネルギー抽出装置。
  17. エネルギー抽出装置であって、
    化学反応を開始するための反応刺激装置と、
    収集表面を形成する基板と、
    該反応刺激装置と該収集表面との間に形成された反応体積と、
    該基板と接触するエネルギー変換器と、
    を含み、
    気相状態の化学物質が、該反応体積内で反応し、該基板と衝突して、該反応体積内で生じる反応の生成物からの反応エネルギーを伝達し、かつ、伝達されたエネルギーは、該エネルギー変換器により、有用なエネルギーに変換され、
    前記基板は、一つまたはそれ以上の選択された材料のうちの一つまたはそれ以上の原子状金属単層を含むこととするエネルギー抽出装置。
  18. 一つまたはそれ以上の選択された材料は、金属および半導体のうちのいずれか一つまたはそれ以上を含むこととする請求項17に記載のエネルギー抽出装置。
  19. エネルギー抽出装置であって、
    化学反応を開始するための反応刺激装置と、
    収集表面を形成する基板と、
    該反応刺激装置と該収集表面との間に形成された反応体積と、
    該基板と接触するエネルギー変換器と、
    を含み、
    気相状態の化学物質が、該反応体積内で反応し、該基板と衝突して、該反応体積内で生じる反応の生成物からの反応エネルギーを伝達し、かつ、伝達されたエネルギーは、該エネルギー変換器により、有用なエネルギーに変換され、
    前記収集表面は、反応の際、分子の励起に有利であるジオメトリーを有することとするエネルギー抽出装置。
  20. 分子の励起に有利であるジオメトリーは、原子状表面ステップを含むこととする請求項19に記載のエネルギー抽出装置。
  21. 分子の励起に有利であるジオメトリーは、原子状エッジを含むこととする請求項19に記載のエネルギー抽出装置。
  22. 基板は、吸着質を獲得しない傾向がある一つまたはそれ以上の金属を含むこととする請求項9に記載のエネルギー抽出装置。
  23. 吸着質を獲得しない傾向がある一つまたはそれ以上の金属は、白金、パラジウム、ロジウム、ルテニウム、金、および銀のうちのいずれか一つまたはそれ以上を含むこととする請求項22に記載のエネルギー抽出装置。
  24. エネルギー抽出装置であって、
    化学反応を開始するための反応刺激装置と、
    収集表面を形成する基板と、
    該反応刺激装置と該収集表面との間に形成された反応体積と、
    該基板と接触するエネルギー変換器と、
    を含み、
    気相状態の化学物質が、該反応体積内で反応し、該基板と衝突して、該反応体積内で生じる反応の生成物からの反応エネルギーを伝達し、かつ、伝達されたエネルギーは、該エネルギー変換器により、有用なエネルギーに変換され、
    さらに、エネルギー変換器および基板の下から、該エネルギー変換器および該基板を通して、反応領域まで形成されたチャネルを含むこととするエネルギー抽出装置であって、反応体および刺激物のうちのいずれか一つまたはそれ以上が、該チャネルを用いて、該反応領域内に加えられてよいこととするエネルギー抽出装置。
  25. チャネル内の反応体および刺激物のうちのいずれか一つまたはそれ以上は、エネルギー変換器を冷却することとする請求項24に記載のエネルギー抽出装置。
  26. 有効仕事は、電位を含むこととする請求項1に記載の方法。
  27. 有用なエネルギーは、電位を含むこととする請求項9に記載のエネルギー抽出装置。
  28. ホットキャリヤは、ホットエレクトロン及びホットホールのいずれか一つまたは両方を含むこととする請求項1に記載の方法。
JP2002588636A 2001-05-10 2002-05-10 エネルギー抽出方法及びエネルギー抽出装置 Expired - Fee Related JP4828087B2 (ja)

Applications Claiming Priority (3)

Application Number Priority Date Filing Date Title
US29005801P 2001-05-10 2001-05-10
US60/290,058 2001-05-10
PCT/US2002/014907 WO2002091479A1 (en) 2001-05-10 2002-05-10 Gas specie electron-jump chemical energy converter

Publications (3)

Publication Number Publication Date
JP2004538623A JP2004538623A (ja) 2004-12-24
JP2004538623A5 JP2004538623A5 (ja) 2010-11-04
JP4828087B2 true JP4828087B2 (ja) 2011-11-30

Family

ID=23114366

Family Applications (1)

Application Number Title Priority Date Filing Date
JP2002588636A Expired - Fee Related JP4828087B2 (ja) 2001-05-10 2002-05-10 エネルギー抽出方法及びエネルギー抽出装置

Country Status (6)

Country Link
EP (1) EP1415350A4 (ja)
JP (1) JP4828087B2 (ja)
CN (1) CN100416862C (ja)
CA (1) CA2447065C (ja)
RU (1) RU2004101291A (ja)
WO (1) WO2002091479A1 (ja)

Families Citing this family (3)

* Cited by examiner, † Cited by third party
Publication number Priority date Publication date Assignee Title
US7663053B2 (en) * 2007-01-05 2010-02-16 Neokismet, Llc System and method for using pre-equilibrium ballistic charge carrier refraction
EP3120452A4 (en) * 2014-03-20 2018-03-21 Massachusetts Institute Of Technology Conversion of vibrational energy
KR102849299B1 (ko) * 2021-09-17 2025-08-25 삼성전자주식회사 반도체 패키지 및 그 제조방법

Citations (2)

* Cited by examiner, † Cited by third party
Publication number Priority date Publication date Assignee Title
JP2000210554A (ja) * 1999-01-26 2000-08-02 Ngk Insulators Ltd 化学反応器
WO2000072384A1 (en) * 1999-05-04 2000-11-30 Neokismet L.L.C. Pre-equilibrium chemical reaction energy converter

Family Cites Families (6)

* Cited by examiner, † Cited by third party
Publication number Priority date Publication date Assignee Title
US5293857A (en) * 1990-11-02 1994-03-15 Stanley Meyer Hydrogen gas fuel and management system for an internal combustion engine utilizing hydrogen gas fuel
US5408967A (en) * 1993-10-22 1995-04-25 Foster; Joseph S. Gaseous fuel injector
US6119651A (en) * 1997-08-04 2000-09-19 Herman P. Anderson Technologies, Llp Hydrogen powered vehicle, internal combustion engine, and spark plug for use in same
US7223914B2 (en) * 1999-05-04 2007-05-29 Neokismet Llc Pulsed electron jump generator
IL149221A0 (en) * 1999-10-20 2002-11-10 Neokismet Llc Surface catalyst infra red laser
AU1213101A (en) * 1999-10-20 2001-04-30 Neokismet L.L.C. Solid state surface catalysis reactor

Patent Citations (3)

* Cited by examiner, † Cited by third party
Publication number Priority date Publication date Assignee Title
JP2000210554A (ja) * 1999-01-26 2000-08-02 Ngk Insulators Ltd 化学反応器
WO2000072384A1 (en) * 1999-05-04 2000-11-30 Neokismet L.L.C. Pre-equilibrium chemical reaction energy converter
JP2003500196A (ja) * 1999-05-04 2003-01-07 ネオキスメット エルエルシー 平衡前化学反応エネルギー変換器

Also Published As

Publication number Publication date
JP2004538623A (ja) 2004-12-24
EP1415350A4 (en) 2005-12-28
EP1415350A1 (en) 2004-05-06
RU2004101291A (ru) 2005-05-27
WO2002091479A1 (en) 2002-11-14
CN100416862C (zh) 2008-09-03
CN1618131A (zh) 2005-05-18
CA2447065C (en) 2006-06-20
CA2447065A1 (en) 2002-11-14

Similar Documents

Publication Publication Date Title
US6649823B2 (en) Gas specie electron-jump chemical energy converter
US8173894B2 (en) Electron-jump chemical energy converter
JP7206339B2 (ja) ナノ設計多孔性網目構造材料を使用し、エネルギー変換器として固体デバイスを使用する前平衡システムおよび方法
US8963167B2 (en) Diode energy converter for chemical kinetic electron energy transfer
US7223914B2 (en) Pulsed electron jump generator
US6916451B1 (en) Solid state surface catalysis reactor
WO2001028677A1 (en) Solid state surface catalysis reactor
US20030000570A1 (en) Quantum well energizing method and apparatus
JP4828087B2 (ja) エネルギー抽出方法及びエネルギー抽出装置
KR20020070269A (ko) 고체 표면 촉매 반응기

Legal Events

Date Code Title Description
A621 Written request for application examination

Free format text: JAPANESE INTERMEDIATE CODE: A621

Effective date: 20050510

A131 Notification of reasons for refusal

Free format text: JAPANESE INTERMEDIATE CODE: A131

Effective date: 20090601

A601 Written request for extension of time

Free format text: JAPANESE INTERMEDIATE CODE: A601

Effective date: 20090827

A602 Written permission of extension of time

Free format text: JAPANESE INTERMEDIATE CODE: A602

Effective date: 20090903

A521 Request for written amendment filed

Free format text: JAPANESE INTERMEDIATE CODE: A523

Effective date: 20091020

A02 Decision of refusal

Free format text: JAPANESE INTERMEDIATE CODE: A02

Effective date: 20100518

A521 Request for written amendment filed

Free format text: JAPANESE INTERMEDIATE CODE: A523

Effective date: 20100913

A524 Written submission of copy of amendment under article 19 pct

Free format text: JAPANESE INTERMEDIATE CODE: A524

Effective date: 20100913

RD02 Notification of acceptance of power of attorney

Free format text: JAPANESE INTERMEDIATE CODE: A7422

Effective date: 20100913

RD04 Notification of resignation of power of attorney

Free format text: JAPANESE INTERMEDIATE CODE: A7424

Effective date: 20100922

A521 Request for written amendment filed

Free format text: JAPANESE INTERMEDIATE CODE: A821

Effective date: 20100915

A911 Transfer to examiner for re-examination before appeal (zenchi)

Free format text: JAPANESE INTERMEDIATE CODE: A911

Effective date: 20101012

A131 Notification of reasons for refusal

Free format text: JAPANESE INTERMEDIATE CODE: A131

Effective date: 20110419

A521 Request for written amendment filed

Free format text: JAPANESE INTERMEDIATE CODE: A523

Effective date: 20110704

A131 Notification of reasons for refusal

Free format text: JAPANESE INTERMEDIATE CODE: A131

Effective date: 20110726

A521 Request for written amendment filed

Free format text: JAPANESE INTERMEDIATE CODE: A523

Effective date: 20110803

TRDD Decision of grant or rejection written
A01 Written decision to grant a patent or to grant a registration (utility model)

Free format text: JAPANESE INTERMEDIATE CODE: A01

Effective date: 20110830

A01 Written decision to grant a patent or to grant a registration (utility model)

Free format text: JAPANESE INTERMEDIATE CODE: A01

A61 First payment of annual fees (during grant procedure)

Free format text: JAPANESE INTERMEDIATE CODE: A61

Effective date: 20110914

FPAY Renewal fee payment (event date is renewal date of database)

Free format text: PAYMENT UNTIL: 20140922

Year of fee payment: 3

R150 Certificate of patent or registration of utility model

Ref document number: 4828087

Country of ref document: JP

Free format text: JAPANESE INTERMEDIATE CODE: R150

Free format text: JAPANESE INTERMEDIATE CODE: R150

R250 Receipt of annual fees

Free format text: JAPANESE INTERMEDIATE CODE: R250

R250 Receipt of annual fees

Free format text: JAPANESE INTERMEDIATE CODE: R250

R250 Receipt of annual fees

Free format text: JAPANESE INTERMEDIATE CODE: R250

R250 Receipt of annual fees

Free format text: JAPANESE INTERMEDIATE CODE: R250

R250 Receipt of annual fees

Free format text: JAPANESE INTERMEDIATE CODE: R250

R250 Receipt of annual fees

Free format text: JAPANESE INTERMEDIATE CODE: R250

LAPS Cancellation because of no payment of annual fees