JP4792122B2 - Data center - Google Patents

Data center Download PDF

Info

Publication number
JP4792122B2
JP4792122B2 JP2010213026A JP2010213026A JP4792122B2 JP 4792122 B2 JP4792122 B2 JP 4792122B2 JP 2010213026 A JP2010213026 A JP 2010213026A JP 2010213026 A JP2010213026 A JP 2010213026A JP 4792122 B2 JP4792122 B2 JP 4792122B2
Authority
JP
Japan
Prior art keywords
air
rack
hot zone
temperature
fan
Prior art date
Legal status (The legal status is an assumption and is not a legal conclusion. Google has not performed a legal analysis and makes no representation as to the accuracy of the status listed.)
Active
Application number
JP2010213026A
Other languages
Japanese (ja)
Other versions
JP2011003217A (en
Inventor
完二 田代
Current Assignee (The listed assignees may be inaccurate. Google has not performed a legal analysis and makes no representation or warranty as to the accuracy of the list.)
Hitachi Cable Ltd
Original Assignee
Hitachi Cable Ltd
Priority date (The priority date is an assumption and is not a legal conclusion. Google has not performed a legal analysis and makes no representation as to the accuracy of the date listed.)
Filing date
Publication date
Application filed by Hitachi Cable Ltd filed Critical Hitachi Cable Ltd
Priority to JP2010213026A priority Critical patent/JP4792122B2/en
Publication of JP2011003217A publication Critical patent/JP2011003217A/en
Application granted granted Critical
Publication of JP4792122B2 publication Critical patent/JP4792122B2/en
Active legal-status Critical Current
Anticipated expiration legal-status Critical

Links

Images

Classifications

    • YGENERAL TAGGING OF NEW TECHNOLOGICAL DEVELOPMENTS; GENERAL TAGGING OF CROSS-SECTIONAL TECHNOLOGIES SPANNING OVER SEVERAL SECTIONS OF THE IPC; TECHNICAL SUBJECTS COVERED BY FORMER USPC CROSS-REFERENCE ART COLLECTIONS [XRACs] AND DIGESTS
    • Y02TECHNOLOGIES OR APPLICATIONS FOR MITIGATION OR ADAPTATION AGAINST CLIMATE CHANGE
    • Y02DCLIMATE CHANGE MITIGATION TECHNOLOGIES IN INFORMATION AND COMMUNICATION TECHNOLOGIES [ICT], I.E. INFORMATION AND COMMUNICATION TECHNOLOGIES AIMING AT THE REDUCTION OF THEIR OWN ENERGY USE
    • Y02D10/00Energy efficient computing, e.g. low power processors, power management or thermal management

Landscapes

  • Air Conditioning Control Device (AREA)

Description

本発明は、ラック内に収容されたサーバなどの電子機器で発生する熱を効率よく除去するデータセンタに関するものである。   The present invention relates to a data center that efficiently removes heat generated in an electronic device such as a server housed in a rack.

サーバなどの電子機器は、一般的に、ラック内に高密度に多段に収容されて空調室内に配置される。電子機器では電力消費に伴い熱が発生するので、この熱による悪影響を排除するために、空調機などの冷却システムによりラック内に収容された電子機器に空調空気(冷風)を供給し、電子機器で発生した熱を除去するのが一般的である。   Electronic devices such as servers are generally housed in a rack in a multi-stage and arranged in an air conditioned room. In electronic equipment, heat is generated with power consumption. In order to eliminate the adverse effects of this heat, conditioned air (cold air) is supplied to the electronic equipment contained in the rack by a cooling system such as an air conditioner. It is common to remove the heat generated in.

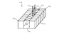
従来のデータセンタとして、図7に示すように、空調室内に、サーバなどの電子機器を収容したラック71を複数台左右方向に並べてラック列72を形成すると共に、このラック列72の背面同士を間隔をおいて向かい合わせて床面上に配置し、その向かい合わせたラック列72の左右方向、即ち、長手方向の端部側に、ラック列72の間を塞ぐように扉75及び屋根パネル74を設けることで、背面同士が向き合ったラック列72の背面側の間に空調室内と仕切ってホットゾーンを区画した、所謂、モジュラー型データセンタ70を空調室内に単数若しくは複数設置し、全体としてデータセンタを構成したものがある(例えば、特許文献1参照)。なお、この扉75は、ホットゾーンの中に入るためのものである。   As a conventional data center, as shown in FIG. 7, a rack row 72 is formed by arranging a plurality of racks 71 containing electronic devices such as servers in the air-conditioning room in the left-right direction, and the back surfaces of the rack rows 72 are connected to each other. The doors 75 and the roof panels 74 are arranged on the floor faced to be spaced apart from each other, and closed in the left-right direction of the rack rows 72 facing each other, that is, at the end portions in the longitudinal direction. By installing a single or a plurality of so-called modular data centers 70 in the air-conditioned room, the hot zone is defined by partitioning the air-conditioned room between the back sides of the rack rows 72 facing each other. There is one that constitutes a center (for example, see Patent Document 1). The door 75 is for entering the hot zone.

また、空調室内にモジュラー型データセンタ70を設置するタイプのデータセンタである特許文献1では、ラック71のうち1つが冷却機器(空調機)を内蔵しており、ホットゾーン内の空気を冷却してラック71の前面側に排気するようにしている。つまり、モジュラー型データセンタ70では、ラック71の前面から空調空気(冷風)を導入して、ラック71内の電子機器で発生した熱を除去すると共に、熱を吸収した空気をラック71の背面からホットゾーンに排気し、このホットゾーン内の空気を冷却機器で冷却してラック71の前面側に排気している。   In Patent Document 1, which is a type of data center in which a modular data center 70 is installed in an air conditioned room, one of the racks 71 has a built-in cooling device (air conditioner) to cool the air in the hot zone. Thus, the air is exhausted to the front side of the rack 71. That is, in the modular data center 70, conditioned air (cold air) is introduced from the front surface of the rack 71 to remove heat generated by the electronic equipment in the rack 71 and air that has absorbed the heat from the rear surface of the rack 71. The air is exhausted to the hot zone, and the air in the hot zone is cooled by a cooling device and exhausted to the front side of the rack 71.

ラック71内に収容された冷却機器には、水やフロンガスなどの冷媒を供給するための冷媒供給・戻りパイプ76が接続される。ラック71内の各電子機器には、電力供給ライン77を介して電力が供給される。   A refrigerant supply / return pipe 76 for supplying a refrigerant such as water or chlorofluorocarbon gas is connected to the cooling device accommodated in the rack 71. Electric power is supplied to each electronic device in the rack 71 via a power supply line 77.

このように、特定の場所(ホットゾーン)に電子機器で発生した熱を集中させることにより、冷却機器を効率良く作動させることが可能となる。すなわち、冷却機器には一般的な空調設備同等に低温な冷媒を供給する必要がなくなるため、安価に、かつ、除湿をすることなく空調空気(冷風)を効率よく作り出すことが可能となる。   Thus, by concentrating the heat generated by the electronic device in a specific place (hot zone), the cooling device can be operated efficiently. That is, since it is not necessary to supply a low-temperature refrigerant to the cooling device as in a general air conditioning facility, it is possible to efficiently produce conditioned air (cold air) at low cost and without dehumidification.

特表2006−526205号公報JP 2006-526205 A

しかしながら、上述のデータセンタでは、ラック71(ラック列72)の上面や屋根パネル74の上面から空調室内に電子機器で発生した熱が放出されてしまい、該熱と、冷却機器によって生成したラック71の前面側から送風する空調空気(冷風)とが混合することがあり、該混合の結果、ラック71の前面から導入する空調空気(冷風)の温度が十分に冷やせなくなる場合には、これをモジュラー型データセンタ70に組み込まれた冷却機器とは別の空調機(室内エアコン)で更に事前冷却する必要があった。これでは、空調機(室内エアコン)での消費エネルギーが無駄であり、省エネの観点から問題があった。   However, in the above-described data center, heat generated in the electronic device is released from the upper surface of the rack 71 (rack row 72) and the upper surface of the roof panel 74 into the air-conditioned room, and the rack 71 generated by the heat and the cooling device. If the temperature of the conditioned air (cold air) introduced from the front of the rack 71 cannot be sufficiently cooled as a result of the mixing, the conditioned air (cold air) blown from the front side of the rack may be mixed. It was necessary to further pre-cool with an air conditioner (indoor air conditioner) separate from the cooling device incorporated in the mold data center 70. In this case, the energy consumed in the air conditioner (indoor air conditioner) is wasted, and there was a problem from the viewpoint of energy saving.

なお、サーバには上方に排気を行うタイプのものもあるため、このようなサーバをラック71内に収容する場合には、ラック71上面から空調室内に放出される熱が多く前記の問題が顕著に現れる。   In addition, since there is a type of server that exhausts upwards, when such a server is accommodated in the rack 71, a large amount of heat is released from the upper surface of the rack 71 into the air-conditioning room, and the above problem is remarkable. Appear in

そこで、本発明の目的は、上記課題を解決し、ラック内の電子機器で発生する熱を効率よく除去して、空調機での消費エネルギーの低減を図ることが可能なデータセンタを提供することにある。   SUMMARY OF THE INVENTION Accordingly, an object of the present invention is to provide a data center that can solve the above-described problems and efficiently remove heat generated by electronic devices in a rack to reduce energy consumption in an air conditioner. It is in.

本発明は上記目的を達成するために創案されたものであり、少なくとも、空調室と、該空調室の床面上にサーバなどの電子機器を多段に収容するラックを複数台左右方向に並べ形成されたラック列と、前記ラック内に収容された電子機器で発生する熱を除去すべく前記空調室内を空調する空調機とを備えたデータセンタにおいて、前記空調機は、前記ラック列が配置される前記空調室とは別の部屋あるいは屋外に設けられており、前記ラック列の背面同士を間隔をおいて向かい合わせて前記空調室内の床面上に配置し、その向かい合わせたラック列の左右方向の端部側に、ラック列の下縁から前記空調室の天井に延びるパネルを設けると共に、両ラック列の前縁上部に天井に延びるパーティションを設けて、前記空調室内にホットゾーンを区画し、そのホットゾーン上の前記空調室の天井にホットゾーン内の比重が小さくなった空気を上方に吸引して排気する複数の排気口を前記ラック列に対して平面視で対向するように左右方向に並べ形成すると共に、前記空調室内の前記ホットゾーンの外部であって前記ラック列の前方の天井に前記空調機からの前記比重より大きい比重の空調空気を鉛直下方に吹き出す複数の吹出口を前記ラック列のそれぞれに対して平面視で対向するように左右方向に並べ形成し、前記空調機と前記複数の排気口とを接続する排気ダクトを前記空調室の天井裏であって前記ラック列に対して平面視で対向するように設けると共に、前記空調機と前記複数の吹出口とを接続する吹出ダクトを前記空調室の天井裏であって前記ラック列に対して平面視で対向するように設け、前記排気ダクト及び前記吹出ダクトのそれぞれは、前記ラック列に対して平面視で対向している部分は、平面視で直線状であり且つ互いに間隔をおいて配置され、前記吹出ダクトを介して前記複数の吹出口から前記空調室へ鉛直下方に吹き出した空調空気を前記ラック列の前面から背面に通して前記ホットゾーンに導入した後、前記ホットゾーンの空気を前記複数の排気口から前記排気ダクトを介して前記空調機に導入して前記空調空気の流動性を高めることを特徴とするデータセンタである。 The present invention was devised to achieve the above object, and at least a plurality of racks that accommodate multiple stages of electronic devices such as servers on the floor surface of the air conditioning room and the air conditioning room are arranged in the left-right direction. In the data center, the rack is arranged in the data center, and the air conditioner is configured to air-condition the interior of the air-conditioning room so as to remove heat generated by the electronic equipment accommodated in the rack. It is provided in a room separate from the air conditioning room or outdoors , and the rack rows are arranged on the floor surface of the air conditioning room with the back surfaces of the rack rows facing each other with a space therebetween. A panel extending from the lower edge of the rack row to the ceiling of the air conditioning room is provided on the end side in the direction, and a partition extending to the ceiling is provided above the front edge of both rack rows to partition the hot zone in the air conditioning room. And, so as to face in a plan view a plurality of exhaust ports for exhausting by suction the specific gravity of the air conditioning chamber the hot zone to the ceiling on the hot zone is smaller air upwardly to the rack row A plurality of outlets that are arranged side by side in the left-right direction and that blow out vertically conditioned air having a specific gravity greater than the specific gravity from the air conditioner to the ceiling in front of the rack row outside the hot zone in the air conditioning room Are arranged in the left-right direction so as to face each of the rack rows in a plan view, and an exhaust duct connecting the air conditioner and the plurality of exhaust ports is provided on the back of the ceiling of the air-conditioning room and the rack. The air duct and the plurality of air outlets are provided so as to face the row in plan view, and are opposed to the rack row in the plan view on the ceiling of the air conditioning chamber. Each of the exhaust duct and the blowout duct is opposed to the rack row in a plan view and is linear in the plan view and arranged at a distance from each other. Air conditioned air blown vertically downward from the plurality of outlets to the air conditioning chamber through the front through the rear of the rack row is introduced into the hot zone, and then the air in the hot zone is supplied to the plurality of exhaust ports. The data center is introduced to the air conditioner through the exhaust duct to improve the fluidity of the conditioned air .

前記ファンには、前記ホットゾーンから吸引される空気の温度を所定温度範囲、または所定温度に保つように前記ファンの回転数を制御する回転数制御装置を設けてもよい。   The fan may be provided with a rotational speed control device that controls the rotational speed of the fan so as to keep the temperature of the air sucked from the hot zone within a predetermined temperature range or a predetermined temperature.

前記排気ダクトと前記吹出ダクトにそれぞれ温度センサを設けて構成され、前記ファンには、前記各温度センサが計測する温度差に基づいて、前記空調室と前記ホットゾーン間の温度差を目標とする値に一致させるように、前記ファンの回転数を制御する回転数制御装置を設けてもよい。   The exhaust duct and the outlet duct are each provided with a temperature sensor, and the fan is targeted for the temperature difference between the air-conditioned room and the hot zone based on the temperature difference measured by each temperature sensor. You may provide the rotation speed control apparatus which controls the rotation speed of the said fan so that it may correspond with a value.

本発明によれば、ラック内の電子機器で発生する熱を効率よく除去して、空調機での消費エネルギーの低減を図ることができる。   ADVANTAGE OF THE INVENTION According to this invention, the heat which generate | occur | produces with the electronic device in a rack can be removed efficiently, and the reduction of the energy consumption in an air conditioner can be aimed at.

本発明のデータセンタの概略断面図である。It is a schematic sectional drawing of the data center of this invention. 本発明のデータセンタの平面図である。It is a top view of the data center of this invention. 本発明のデータセンタの側面図である。It is a side view of the data center of this invention. 本発明のデータセンタの正面図である。It is a front view of the data center of this invention. 本発明のデータセンタにおいて、空調機、熱回収手段を示す概略断面図である。It is a schematic sectional drawing which shows an air conditioner and a heat recovery means in the data center of this invention. 本発明のデータセンタの動作を説明するためのフローチャートである。It is a flowchart for demonstrating operation | movement of the data center of this invention. 従来のデータセンタの斜視図である。It is a perspective view of the conventional data center.

以下、本発明の好適な実施の形態を添付図面にしたがって説明する。   Preferred embodiments of the present invention will be described below with reference to the accompanying drawings.

図1は、本実施形態に係るデータセンタの概略断面図であり、図2はその平面図、図3はその側面図、図4はその正面図である。   1 is a schematic sectional view of a data center according to the present embodiment, FIG. 2 is a plan view thereof, FIG. 3 is a side view thereof, and FIG. 4 is a front view thereof.

図1〜4に示すように、データセンタ10は、少なくとも、天井、床面、及び4つの側壁で形成された箱状の空調室13と、サーバなどの電子機器11を多段に収容する複数台のラック12を左右方向に並べ形成されたラック列15と、ラック12内に収容された電子機器11で発生する熱を除去すべく空調室13内を空調する空調機(図示せず)とを備える。   As shown in FIGS. 1 to 4, the data center 10 includes at least a box-shaped air conditioning room 13 formed of a ceiling, a floor, and four side walls, and a plurality of electronic devices 11 such as servers. A rack row 15 formed by arranging the racks 12 in the left-right direction, and an air conditioner (not shown) that air-conditions the air-conditioning chamber 13 so as to remove heat generated in the electronic device 11 accommodated in the rack 12. Prepare.

ラック12内には、サーバや、CPU、ネットワーク機器、ストレージデバイスのような情報通信技術の設備機器である電子機器11が多段に収容される。   In the rack 12, electronic devices 11 that are equipment devices of information communication technology such as servers, CPUs, network devices, and storage devices are accommodated in multiple stages.

データセンタ10では、空調室13の床面14上にラック12を複数台(本実施形態では12台)左右方向に並べてラック列15を形成すると共に、そのラック列15の背面R同士を間隔をおいて向かい合わせて配置している。ラック列15を間隔をおいて配置することで、ラック列15間には作業通路16が形成される。   In the data center 10, a plurality of racks 12 (12 in the present embodiment) are arranged in the left-right direction on the floor surface 14 of the air conditioning room 13 to form a rack row 15, and the back surfaces R of the rack row 15 are spaced apart from each other. Are placed facing each other. By arranging the rack rows 15 at intervals, work paths 16 are formed between the rack rows 15.

これらラック列15は、床面14上に免震装置17を介して配置される。本実施形態では、免震装置17として、架台18上にベアリングを介して免震台19を設けたものを用いたが、これに限定されるものではない。   These rack rows 15 are arranged on the floor surface 14 via a seismic isolation device 17. In the present embodiment, the seismic isolation device 17 is provided with the seismic isolation table 19 on the gantry 18 via a bearing, but is not limited thereto.

ラック列15の左右には、ラック列15の下縁から天井20に延びるパネル21が設けられる。このパネル21には、作業通路16に出入するための扉22が設けられる。パネル21は、免震装置17上に設けられる。   Panels 21 extending from the lower edge of the rack row 15 to the ceiling 20 are provided on the left and right sides of the rack row 15. The panel 21 is provided with a door 22 for entering and exiting the work passage 16. The panel 21 is provided on the seismic isolation device 17.

各ラック列15の前縁上部には、天井20に延びるパーティション23が設けられる。パーティション23およびパネル21の上端は、天井20に対して移動可能に設けられる。   A partition 23 extending to the ceiling 20 is provided on the upper front edge of each rack row 15. The upper ends of the partition 23 and the panel 21 are provided so as to be movable with respect to the ceiling 20.

パネル21とパーティション23の上端には、ホットゾーン24と空調室13とをシールするための天井シール部材25が設けられる。本実施形態では、天井シール部材25としてゴムシートを用い、そのゴムシートをパーティション23のホットゾーン24側の上端に、その上端部がホットゾーン24側に湾曲するようにボルトなどで固定した。   A ceiling seal member 25 for sealing the hot zone 24 and the air conditioning chamber 13 is provided at the upper ends of the panel 21 and the partition 23. In the present embodiment, a rubber sheet is used as the ceiling seal member 25, and the rubber sheet is fixed to the upper end of the partition 23 on the hot zone 24 side with a bolt or the like so that the upper end portion is curved to the hot zone 24 side.

これにより、両ラック列15、パーティション23、およびパネル21で空調室13と仕切られたホットゾーン24が区画形成される。   As a result, a hot zone 24 partitioned from the air conditioning chamber 13 by the rack rows 15, the partitions 23, and the panel 21 is partitioned.

ホットゾーン24内の天井20には、ホットゾーン24内の熱を排気する排気口26が少なくとも1つ(図2では3つ)形成される。この排気口26は排気ダクト53(図2参照)を介して空調機の吸込口に接続される。排気ダクト53には、ホットゾーン24から吸引する空気の温度を測定するための排気側温度センサ69b(図5参照)が設けられる。   The ceiling 20 in the hot zone 24 is formed with at least one exhaust port 26 (three in FIG. 2) for exhausting the heat in the hot zone 24. The exhaust port 26 is connected to a suction port of the air conditioner via an exhaust duct 53 (see FIG. 2). The exhaust duct 53 is provided with an exhaust side temperature sensor 69b (see FIG. 5) for measuring the temperature of air sucked from the hot zone 24.

ホットゾーン24以外の空調室13の天井20(図1ではラック列15の前方の天井20)には、空調機からの空調空気(冷風)を鉛直下方に吹き出す吹出口27が少なくとも1つ(図2では3つ)形成される。この吹出口27は、吹出ダクト52(図2参照)を介して空調機の吹出口と接続される。吹出ダクト52には、吹出口27から吹き出す空調空気の温度を測定するための吹出側温度センサ69a(図5参照)が設けられる。   On the ceiling 20 of the air conditioning chamber 13 other than the hot zone 24 (the ceiling 20 in front of the rack row 15 in FIG. 1), there is at least one outlet 27 for blowing the conditioned air (cold air) from the air conditioner vertically downward (see FIG. 3 for 2). This blower outlet 27 is connected with the blower outlet of an air conditioner via the blower duct 52 (refer FIG. 2). The blowout duct 52 is provided with a blowout temperature sensor 69a (see FIG. 5) for measuring the temperature of the conditioned air blown from the blowout outlet 27.

図5に示すように、空調機51は、ホットゾーン24内の空気を吸引するファン54と、ファン54の下流側に設けられ、ファン54からの空気を冷却して空調空気を吹き出す冷却コイル(DC;DryCoil)55とを備える。   As shown in FIG. 5, the air conditioner 51 includes a fan 54 that sucks air in the hot zone 24 and a cooling coil (on the downstream side of the fan 54) that cools air from the fan 54 and blows out air-conditioned air. DC; DryCoil) 55.

また、本実施形態に係るデータセンタ10は、排気口26から排気された空気の熱を空調機51の冷却コイル55で冷却する前に回収する熱回収手段56を備える。   In addition, the data center 10 according to the present embodiment includes heat recovery means 56 that recovers the heat of the air exhausted from the exhaust port 26 before cooling it with the cooling coil 55 of the air conditioner 51.

熱回収手段56は、排気口26から排気された空気から熱を回収する熱回収コイル(HC;HeatCaptureCoil)57と、熱回収コイル57に熱媒体を供給する熱媒体供給管58と、熱回収コイル57で熱回収した熱媒体をボイラなど他の設備に排出する熱媒体排出管59と、熱媒体供給管58に設けられた熱媒体用ポンプ60と、熱媒体用ポンプ60の下流側の熱媒体供給管58に設けられたレギュレータ61と、熱媒体排出管59中の熱媒体の温度を測定する熱媒体用温度センサ62と、熱媒体用温度センサ62の測定温度(熱媒体の温度)が最も高くなるように、レギュレータ61の開度を調整して熱媒体の流量を制御する熱回収用制御装置63aとを備える。熱回収用制御装置63aはPLC(ProgrammableLogicController)からなる。   The heat recovery means 56 includes a heat recovery coil (HC; HeatCaptureCoil) 57 that recovers heat from the air exhausted from the exhaust port 26, a heat medium supply pipe 58 that supplies a heat medium to the heat recovery coil 57, and a heat recovery coil A heat medium discharge pipe 59 for discharging the heat medium recovered in 57 to other equipment such as a boiler, a heat medium pump 60 provided in the heat medium supply pipe 58, and a heat medium downstream of the heat medium pump 60 The regulator 61 provided in the supply pipe 58, the temperature sensor 62 for measuring the temperature of the heat medium in the heat medium discharge pipe 59, and the temperature measured by the temperature sensor 62 for the heat medium (temperature of the heat medium) are the highest. A heat recovery control device 63a that controls the flow rate of the heat medium by adjusting the opening of the regulator 61 so as to be higher is provided. The heat recovery control device 63a includes a PLC (Programmable Logic Controller).

本実施形態では、熱媒体として水を用いた。熱回収コイル57に供給する水の温度は、例えば、20℃程度であり、熱回収コイル57通過後の温水の温度は、例えば、35〜40℃程度である。   In this embodiment, water is used as the heat medium. The temperature of the water supplied to the heat recovery coil 57 is, for example, about 20 ° C., and the temperature of the hot water after passing through the heat recovery coil 57 is, for example, about 35-40 ° C.

熱回収コイル57は、空調機51と一体に設けられ、ファン54の下流側かつ冷却コイル55の上流側に設けられる。これにより、排気口26から排気された空気の熱のみならず、ファン54で発生した熱も熱回収コイル57で回収することが可能となる。熱回収コイル57で熱回収された空気は、冷却コイル55で冷却されて所定温度(例えば、23℃程度)の空調空気となる。   The heat recovery coil 57 is provided integrally with the air conditioner 51 and is provided downstream of the fan 54 and upstream of the cooling coil 55. Thereby, not only the heat of the air exhausted from the exhaust port 26 but also the heat generated by the fan 54 can be recovered by the heat recovery coil 57. The air recovered by the heat recovery coil 57 is cooled by the cooling coil 55 and becomes conditioned air at a predetermined temperature (for example, about 23 ° C.).

冷却コイル55には、冷媒を供給するための冷媒供給管64、および冷媒を戻すための冷媒戻り管65が接続される。冷媒供給管64には冷媒用ポンプ66が設けられる。冷媒は、例えば水である。   Connected to the cooling coil 55 are a refrigerant supply pipe 64 for supplying the refrigerant and a refrigerant return pipe 65 for returning the refrigerant. A refrigerant pump 66 is provided in the refrigerant supply pipe 64. The refrigerant is water, for example.

冷媒供給管64および冷媒戻り管65には、冷媒を冷却コイル55に通さずにバイパスするためのバイパス管67が接続され、バイパス管67と冷媒戻り管65の接続箇所には、冷媒のバイパス/非バイパスの混合比率を調節できる三方弁68が設けられる。この三方弁68は(一般にモーター付きの)電磁弁であり、冷却コイル55を通過した後の空調空気の温度が所定温度(設定温度)となるように、冷却コイル55を通過する冷媒流量の制御がなされる。   A bypass pipe 67 for bypassing the refrigerant without passing through the cooling coil 55 is connected to the refrigerant supply pipe 64 and the refrigerant return pipe 65, and a refrigerant bypass / A three-way valve 68 capable of adjusting the non-bypass mixing ratio is provided. This three-way valve 68 is a solenoid valve (generally equipped with a motor), and controls the flow rate of the refrigerant passing through the cooling coil 55 so that the temperature of the conditioned air after passing through the cooling coil 55 becomes a predetermined temperature (set temperature). Is made.

冷却用制御装置63bは、吹出ダクト52に設けられた吹出側温度センサ69aで測定した空調空気の温度が所定温度よりも高い場合には、三方弁68で冷媒を冷却コイル55により多く流すようにし、吹出側温度センサ69aで測定した空調空気の温度が所定温度よりも低い場合には、三方弁68で冷媒をバイパス側により多く流し冷却コイル55を通過させないようにする。   The cooling control device 63b causes the three-way valve 68 to flow a larger amount of refrigerant through the cooling coil 55 when the temperature of the conditioned air measured by the outlet side temperature sensor 69a provided in the outlet duct 52 is higher than a predetermined temperature. When the temperature of the conditioned air measured by the blowout side temperature sensor 69a is lower than a predetermined temperature, the three-way valve 68 causes more refrigerant to flow through the bypass side so as not to pass through the cooling coil 55.

あるいは、このバイパス管67がない場合、すなわち二方弁によって冷媒の流量の制御を行うことも可能であり、その方式でも吹出側温度センサ69aで測定した空調空気の温度を所定温度に合わせるように冷却コイル55への冷媒の通過流量を決めるべく、バルブの開度が自動で制御される。   Alternatively, when the bypass pipe 67 is not provided, that is, the flow rate of the refrigerant can be controlled by a two-way valve. Even in this method, the temperature of the conditioned air measured by the outlet side temperature sensor 69a is adjusted to a predetermined temperature. In order to determine the flow rate of the refrigerant to the cooling coil 55, the opening degree of the valve is automatically controlled.

このように、冷却用制御装置63bで冷却コイル55に流れる冷媒の流量を制御することにより、所望の温度の空調空気が得られる。冷却用制御装置63bはPLCからなる。   In this way, by controlling the flow rate of the refrigerant flowing through the cooling coil 55 by the cooling control device 63b, conditioned air having a desired temperature can be obtained. The cooling control device 63b is made of PLC.

ファン54には、出力周波数可変の動力INV(inverter)盤63dが接続される。ファン54は、動力INV盤63dの出力周波数に応じた回転数で回転する。この動力INV盤63dには、排気口26から排気された空気の温度を所定温度範囲、または所定温度(例えば、40〜42℃)に保つように、動力INV盤63dに出力周波数を出力してファン54の回転数を制御する回転数制御装置63cが接続される。   The fan 54 is connected to a power INV (inverter) board 63d having a variable output frequency. The fan 54 rotates at a rotational speed corresponding to the output frequency of the power INV board 63d. The power INV board 63d outputs an output frequency to the power INV board 63d so that the temperature of the air exhausted from the exhaust port 26 is kept within a predetermined temperature range or a predetermined temperature (for example, 40 to 42 ° C.). A rotation speed control device 63c for controlling the rotation speed of the fan 54 is connected.

回転数制御装置63cは、予め設定された最高閾値とする温度Thigh(例えば、42℃)と最低閾値とする温度Tlow(例えば、40℃)に基づき、排気ダクト53に設けられた排気側温度センサ69bで測定した温度(排気口26から排気された空気の温度)tが最高閾値とする温度Thighよりも高い場合には、ファン54の回転数を一定値ずつ上げる(例えば、動力INV盤63dの出力周波数を1分間に2Hzずつ上げる。また、その上げる動作は、時間間隔をとりつつ行う場合もある)。また、排気側温度センサ69bで測定した温度tが最低閾値とする温度Tlowよりも低い場合には、ファン54の回転数を一定値ずつ下げる(例えば、動力INV盤63dの出力周波数を1分間に1Hzずつ下げる。また、その下げる動作は、時間間隔をとりつつ行う場合もある)。あるいはこの周波数を変更する動作は、通常のPID制御によって行う場合、またはその組み合わせで行う場合も考えられ、この制御方法を限定するものではない。   The rotation speed control device 63c is configured to set an exhaust side temperature sensor provided in the exhaust duct 53 based on a preset temperature Thigh (for example, 42 ° C.) as a maximum threshold and a temperature Tlow (for example, 40 ° C.) as a minimum threshold. When the temperature t measured at 69b (temperature of the air exhausted from the exhaust port 26) t is higher than the maximum threshold temperature Thigh, the rotational speed of the fan 54 is increased by a certain value (for example, the power INV panel 63d The output frequency is increased by 2 Hz per minute, and the increase operation may be performed while taking a time interval). Further, when the temperature t measured by the exhaust side temperature sensor 69b is lower than the minimum threshold temperature Tlow, the rotational speed of the fan 54 is decreased by a certain value (for example, the output frequency of the power INV panel 63d is reduced to 1 minute). The frequency is lowered by 1 Hz, and the lowering operation may be performed while taking a time interval). Alternatively, the operation of changing the frequency may be performed by normal PID control or a combination thereof, and this control method is not limited.

このように、回転数制御装置63cでファン54の回転数を制御することにより、排気口26から排出される空気の温度t、すなわち、ホットゾーン24内の空気の温度tを所望の温度範囲(Thigh〜Tlowの温度範囲)とすることができる。Thigh=Tlowとすれば、排気口26から排出される空気の温度(ホットゾーン24内の空気の温度)tを所望の温度Thigh(=Tlow)とすることができる。回転数制御装置63cは、PLCからなる。   Thus, by controlling the rotation speed of the fan 54 by the rotation speed control device 63c, the temperature t of the air discharged from the exhaust port 26, that is, the temperature t of the air in the hot zone 24 is set to a desired temperature range ( Temperature range from Thigh to Tlow). If Thigh = Tlow, the temperature of the air discharged from the exhaust port 26 (the temperature of the air in the hot zone 24) t can be set to a desired temperature Thigh (= Tlow). The rotation speed control device 63c is made of PLC.

空調機51は、ラック12が配置される空調室13とは別空間、例えば、データセンタ10が設けられる建物の別の部屋、あるいは屋外などに設けられる。これにより、特許文献1のように、ラック12(ラック列15)に冷媒などの配管が接続されることがなくなり、空調機51とラック12(ラック列15)とが完全に切り離される。図5では、空調機51が、あたかも天井の上に設置されているように描かれているが、これは便宜上である。   The air conditioner 51 is provided in a different space from the air conditioning room 13 in which the rack 12 is disposed, for example, in another room of the building where the data center 10 is provided, or outdoors. Thereby, like patent document 1, piping, such as a refrigerant | coolant, is not connected to the rack 12 (rack row | line | column 15), and the air conditioner 51 and the rack 12 (rack row | line 15) are completely cut away. In FIG. 5, the air conditioner 51 is depicted as if installed on the ceiling, but this is for convenience.

また、例えば、空調機51が空調室13に隣接した別空間に設置された場合において、該別空間の床面は、空調室13の床面より低いレベルであることが望ましく、本方式によっては容易にその形態をとることができる。これは、例えば、たとえ空調機51に係る冷媒供給管64、冷媒戻り管65、熱媒体供給管58、あるいは熱媒体排出管59が損傷し、冷媒や熱媒体が流れ出しても、該冷媒や熱媒体が空調室13内に侵入し難くなる工夫である。   In addition, for example, when the air conditioner 51 is installed in another space adjacent to the air conditioning room 13, it is desirable that the floor surface of the separate space be at a lower level than the floor surface of the air conditioning room 13. The form can be easily taken. This is because, for example, even if the refrigerant supply pipe 64, the refrigerant return pipe 65, the heat medium supply pipe 58, or the heat medium discharge pipe 59 associated with the air conditioner 51 is damaged and the refrigerant or the heat medium flows out, the refrigerant or heat This is a device that makes it difficult for the medium to enter the air-conditioned room 13.

本実施形態の作用を説明する。   The operation of this embodiment will be described.

図6に示すように、まず、空調機51の空調空気吹出口から吹き出された空調空気(冷風)を、吹出ダクト52を介して吹出口27から吹き降ろし、空調室13内に導入する(ステップS1)。このとき、回転数制御装置63cは、ファン54が適正と予想される初期の風速が得られる回転数となるように、動力INV盤63dの出力周波数を制御する。吹き出される空調空気の温度は、例えば、23℃程度である。   As shown in FIG. 6, first, conditioned air (cold air) blown out from the conditioned air outlet of the air conditioner 51 is blown down from the outlet 27 through the outlet duct 52 and introduced into the air-conditioned room 13 (step). S1). At this time, the rotation speed control device 63c controls the output frequency of the power INV board 63d so that the rotation speed at which the initial wind speed at which the fan 54 is expected to be appropriate is obtained. The temperature of the conditioned air blown out is, for example, about 23 ° C.

空調室13内に吹き出された空調空気は、サーバなどの電子機器11のファンによりラック列15の前面Fからラック12内に導入され、ラック12内の電子機器11で発生した熱を回収する(ステップS2)。   The conditioned air blown into the air conditioning chamber 13 is introduced into the rack 12 from the front surface F of the rack row 15 by a fan of the electronic device 11 such as a server, and recovers heat generated in the electronic device 11 in the rack 12 ( Step S2).

電子機器11で発生した熱を回収した空気は、ラック列15の背面Rからホットゾーン24内に導入される(ステップS3)。ラック12(ラック列15)の上面から放出される熱も、ホットゾーン24内に放出されるため、電子機器11で発生する熱は全てホットゾーン24内に集められる。   The air that has recovered the heat generated in the electronic device 11 is introduced into the hot zone 24 from the rear surface R of the rack row 15 (step S3). Since the heat released from the upper surface of the rack 12 (rack row 15) is also released into the hot zone 24, all the heat generated in the electronic device 11 is collected in the hot zone 24.

ホットゾーン24内の空気は、ホットゾーン24内の天井20に設けられた排気口26から排気され(ステップS4)、排気ダクト53に設けられた排気側温度センサ69bでその温度が常時連続して測定される(ステップS5)。排気側温度センサ69bを通過した空気は、排気ダクト53を介して空調機51の吸込口に導入される。   The air in the hot zone 24 is exhausted from the exhaust port 26 provided in the ceiling 20 in the hot zone 24 (step S4), and the temperature is continuously continuously detected by the exhaust side temperature sensor 69b provided in the exhaust duct 53. It is measured (step S5). The air that has passed through the exhaust-side temperature sensor 69 b is introduced into the suction port of the air conditioner 51 through the exhaust duct 53.

回転数制御装置63cは、予め設定された最高閾値とする温度Thighと排気側温度センサ69bで測定した温度tとを比較し(ステップS6)、t>Thighである場合は、ファン54の回転数を上げるべく、動力INV盤63dの出力周波数を一定値ずつ(例えば、1分間に2Hzずつ)上げる制御を行う(ステップS7)。これにより、空調機51からの空調空気の吹出量が徐々に増加し、ラック12(ラック列15)に導入される空調空気の量が多くなるため、ホットゾーン24内の空気の温度を下げることができる。   The rotation speed control device 63c compares the temperature Thigh, which is a preset maximum threshold, with the temperature t measured by the exhaust-side temperature sensor 69b (step S6). If t> Thigh, the rotation speed of the fan 54 is compared. To increase the output frequency of the power INV board 63d by a certain value (for example, 2 Hz per minute) (step S7). As a result, the amount of conditioned air blown from the air conditioner 51 gradually increases, and the amount of conditioned air introduced into the rack 12 (rack row 15) increases, so the temperature of the air in the hot zone 24 is lowered. Can do.

また、回転数制御装置63cは、予め設定された最低閾値とする温度Tlowと排気側温度センサ69bで測定した温度tとを比較し(ステップS8)、t<Tlowである場合は、ファン54の回転数を下げるべく、動力INV盤63dの出力周波数を一定値ずつ(例えば、1分間に1Hzずつ)下げる制御を行う(ステップS9)。これにより、空調機51からの空調空気の吹出量が徐々に減少し、ラック12(ラック列15)に導入される空調空気の量が少なくなるため、ホットゾーン24内の空気の温度を上げることができる。   Further, the rotation speed control device 63c compares the temperature Tlow, which is a preset minimum threshold, with the temperature t measured by the exhaust-side temperature sensor 69b (step S8), and if t <Tlow, In order to reduce the rotational speed, control is performed to lower the output frequency of the power INV board 63d by a certain value (for example, 1 Hz per minute) (step S9). As a result, the amount of conditioned air blown out from the air conditioner 51 is gradually reduced, and the amount of conditioned air introduced into the rack 12 (rack row 15) is reduced. Therefore, the temperature of the air in the hot zone 24 is increased. Can do.

空調機51の吸込口に導入された空気は、ファン54を通過して、ファン54で発生する熱を回収した後、熱回収コイル57に導入される。熱回収コイル57は、ファン54より導入された空気の熱を回収し、この空気の温度に最も近い高温度の熱媒体(温水)を回収する(ステップS10)。熱回収コイル57を通過した高温度の熱媒体は、ボイラなど他の設備に排出される。   The air introduced into the suction port of the air conditioner 51 passes through the fan 54 and recovers the heat generated by the fan 54 and then is introduced into the heat recovery coil 57. The heat recovery coil 57 recovers the heat of the air introduced from the fan 54, and recovers a high-temperature heat medium (hot water) closest to the temperature of the air (step S10). The high-temperature heat medium that has passed through the heat recovery coil 57 is discharged to other equipment such as a boiler.

熱回収コイル57を通過した空気は、冷却コイル55に導入され、冷却コイル55で所定温度(例えば、23℃)に冷却され、空調空気(冷風)として空調機51の空調空気吹出口から吹き出される(ステップS11)。   The air that has passed through the heat recovery coil 57 is introduced into the cooling coil 55, cooled to a predetermined temperature (for example, 23 ° C.) by the cooling coil 55, and blown out from the conditioned air outlet of the air conditioner 51 as conditioned air (cold air). (Step S11).

以上のステップS1〜S11を繰り返すことにより、排気口26より排気される空気の温度t、すなわちホットゾーン24内の空気の温度tを、Thigh〜Tlowの温度範囲(例えば、40〜42℃の温度範囲)とすることができ、熱回収コイル57で効率よく熱回収を行うことが可能となる。   By repeating the above steps S1 to S11, the temperature t of the air exhausted from the exhaust port 26, that is, the temperature t of the air in the hot zone 24 is changed to a temperature range of Thigh to Tlow (for example, a temperature of 40 to 42 ° C. Range), and the heat recovery coil 57 can efficiently recover the heat.

以上説明したように、本実施形態に係るデータセンタ10では、ラック列15の背面R同士を向かい合わせて配置し、各ラック列15の前縁上部にパーティション23を設けているため、ラック12の上面から放出される熱もホットゾーン24内に導入される。よって、ラック12の上面から放出される熱が空調室13内に放出されず、電子機器11で発生する熱を全てホットゾーン24に集中させることができる。   As described above, in the data center 10 according to the present embodiment, the rear surfaces R of the rack rows 15 are arranged to face each other, and the partition 23 is provided on the upper front edge of each rack row 15. Heat released from the top surface is also introduced into the hot zone 24. Therefore, the heat released from the upper surface of the rack 12 is not released into the air conditioning chamber 13, and all the heat generated in the electronic device 11 can be concentrated in the hot zone 24.

また、パーティション23と天井シール部材25により、吹出口27から出る冷気とホットゾーン24内の熱の混合がなくなる。この為、空調空気の温度も従来型空調機同等の低温度(例えば、11〜15℃程度)にする必要がなくなる。   Further, the partition 23 and the ceiling seal member 25 eliminate the mixing of the cold air coming out of the air outlet 27 and the heat in the hot zone 24. For this reason, it is not necessary to set the temperature of the conditioned air as low as that of the conventional air conditioner (for example, about 11 to 15 ° C.).

この効果として、空調機51に従来標準とされている低温の冷媒(例えば、6℃から13℃)を供給する必要がなくなり、冷媒の供給温度を高く(例えば、16℃から20℃)しても電子機器11の冷却が可能となる。その結果、冷却コイル55では不必要な除湿がなくなり、除湿の結果必要とされていた加湿をする必要がなくなるため、効率よく安価に、空調空気(冷風)を作り出すことが可能となる。   As an effect of this, it is not necessary to supply a low-temperature refrigerant (for example, 6 ° C. to 13 ° C.), which is conventionally used as a standard, to the air conditioner 51, and the supply temperature of the refrigerant is increased (for example, 16 ° C. to 20 ° C.). Also, the electronic device 11 can be cooled. As a result, unnecessary dehumidification is eliminated in the cooling coil 55, and it is no longer necessary to perform humidification that was required as a result of dehumidification, so that conditioned air (cold air) can be created efficiently and inexpensively.

また、冷媒を冷やす元となる冷熱源(例えば冷凍機、冷却塔など)の選択において、冷凍機を使わなくても寒冷な外気の冷熱などで冷却できるといった方法の選択幅やその有効期間も広がり、更に省エネ性を高めることができる。   In addition, in selecting a heat source (for example, a refrigerator, a cooling tower, etc.) to cool the refrigerant, there is a wider range of options and effective periods of methods that can be cooled by cold outside air without using a refrigerator. Furthermore, energy saving can be improved.

この方式では、空気が熱せられて比重が小さくなり上昇しやすい性質、および冷却後に比重が大きくなる性質を利用するため、空調空気の流動性(対流)を高めることができ、空調機51で送風動力として消費するエネルギーを低減することが可能となる。   In this method, since the air is heated and the specific gravity is reduced and easily rises, and the specific gravity is increased after cooling, the flowability (convection) of the conditioned air can be improved. It is possible to reduce energy consumed as power.

さらにまた、ホットゾーン24内の温度を意図的に高い温度に保つことで、前記の効果を高めて、空調機51をより効率良く作動させることが可能となる。   Furthermore, by keeping the temperature in the hot zone 24 intentionally high, it is possible to enhance the above-described effect and operate the air conditioner 51 more efficiently.

よって、全体として空調機51で大量のエネルギーを消費することがなくなり、熱源側とその消費側である空調機本体で大きな省エネを実現できる。   Therefore, a large amount of energy is not consumed by the air conditioner 51 as a whole, and great energy saving can be realized on the heat source side and the air conditioner body on the consumption side.

さらに、本実施形態では、排気口26から排気された空気の熱を冷却コイル55で冷却する前に熱回収手段56で回収しており、ホットゾーン24に集められた熱を拡散させず有効利用することができる。   Furthermore, in the present embodiment, the heat of the air exhausted from the exhaust port 26 is recovered by the heat recovery means 56 before being cooled by the cooling coil 55, and the heat collected in the hot zone 24 is effectively diffused without being diffused. can do.

本実施形態では、熱回収コイル57を空調機51と一体に設けているため、全体としてコンパクト化することができる。さらに、熱回収コイル57をファン54の下流側かつ冷却コイル55の上流側に設けているため、ファン54で発生する熱も熱回収コイル57で回収することが可能となり、より効果的な熱回収を実現することができる。また、熱回収コイル57で熱回収した後に冷却コイル55で冷却することになるので、冷却コイル55での冷却エネルギー費を削減することが可能となる。   In this embodiment, since the heat recovery coil 57 is provided integrally with the air conditioner 51, the overall size can be reduced. Further, since the heat recovery coil 57 is provided on the downstream side of the fan 54 and the upstream side of the cooling coil 55, the heat generated by the fan 54 can be recovered by the heat recovery coil 57, and more effective heat recovery is possible. Can be realized. Further, since heat is recovered by the heat recovery coil 57 and then cooled by the cooling coil 55, the cooling energy cost in the cooling coil 55 can be reduced.

本実施形態では、ホットゾーン24以外の空調室13の天井に少なくとも1つの吹出口27を形成し、吹出口27から空調空気を「鉛直下方」に吹き出すようにしたことが特徴となっている。これにより、空調空気を供給する際に遅い風速(例えば、微風:1m/s以下)で吹き出しても、周囲との比重の差による落下が空気循環エネルギーとなって、ラック12内に高所から低所まで分散して配置された電子機器11(通常、本体前面に冷却空気吸い込みファンを個別に有する)の前面に均等に空調空気を供給することができるようになる。その結果、ファン54の回転数(空調室13内の循環風量)が小さくても電子機器11を十分に冷却することが可能となるため、ホットゾーン24内の空気の温度tを所定温度範囲、または所定温度とすることを優先してファン54の回転数を決めることが可能となる。ファン54の回転数を小さくすることが可能となるため、結果的に、ファン54で消費するエネルギー(循環送風に要する動力)を低減することができる。   The present embodiment is characterized in that at least one air outlet 27 is formed in the ceiling of the air-conditioning chamber 13 other than the hot zone 24, and the conditioned air is blown out from the air outlet 27 "vertically downward". As a result, even if air is blown at a slow wind speed (for example, breeze: 1 m / s or less) when air-conditioned air is supplied, the fall due to the difference in specific gravity from the surroundings becomes air circulation energy, and the rack 12 is moved from a high place. The conditioned air can be evenly supplied to the front surface of the electronic device 11 (usually having cooling air suction fans individually on the front surface of the main body) arranged in a distributed manner at low locations. As a result, the electronic device 11 can be sufficiently cooled even when the rotational speed of the fan 54 (circulation air volume in the air-conditioning chamber 13) is small. Therefore, the temperature t of the air in the hot zone 24 is set within a predetermined temperature range, Alternatively, the rotational speed of the fan 54 can be determined with priority given to the predetermined temperature. Since the rotational speed of the fan 54 can be reduced, the energy consumed by the fan 54 (power required for circulating air) can be reduced as a result.

本実施形態では、ラック列15を免震装置17上に設け、かつ、ラック列15と空調機51とを完全に切り離している(配管などで接続していない)ため、地震が発生しても、冷媒などの配管が破損して電子機器11に損害を与えるおそれがなくなる。さらに、パネル21およびパーティション23を天井20に対して移動可能とすることにより、地震発生時にラック12(ラック列15)と建物との間に変位差が生じても、ラック12が転倒するおそれがなくなる。   In this embodiment, since the rack row 15 is provided on the seismic isolation device 17 and the rack row 15 and the air conditioner 51 are completely separated (not connected by piping or the like), even if an earthquake occurs There is no risk of damage to the electronic equipment 11 due to breakage of piping such as refrigerant. Furthermore, by making the panel 21 and the partition 23 movable with respect to the ceiling 20, even if a displacement difference occurs between the rack 12 (rack row 15) and the building when an earthquake occurs, the rack 12 may fall over. Disappear.

上記実施形態では、ホットゾーン24内の空気の温度tを所定温度範囲、あるいは所定温度になるようにファン54の回転数を制御する場合を説明したが、排気側温度センサ69bおよび吹出側温度センサ69aが計測する温度差に基づいて、ホットゾーン24内の空気と空調室13(空調空気)の温度差を目標とする値に一致させるように、ファン54の回転数を制御するようにしてもよい。これにより、電子機器11を冷却しつつも、最も効率のよい温度で熱回収を行うことが可能となる。   In the above embodiment, the case where the rotational speed of the fan 54 is controlled so that the temperature t of the air in the hot zone 24 falls within a predetermined temperature range or a predetermined temperature has been described, but the exhaust side temperature sensor 69b and the blowout side temperature sensor are described. Based on the temperature difference measured by 69a, the rotational speed of the fan 54 may be controlled so that the temperature difference between the air in the hot zone 24 and the air-conditioned room 13 (air-conditioned air) matches the target value. Good. This makes it possible to recover heat at the most efficient temperature while cooling the electronic device 11.

上記実施形態では、ラック列15を2列に配置した場合を説明したが、これに限定されず、他の幾何学的な配列としてもよい。また、パネル21の代わりに複数のラック12を配置し、その前縁上部にパーティション23を設けるようにしてもよい。   In the above embodiment, the case where the rack rows 15 are arranged in two rows has been described. However, the present invention is not limited to this, and other geometric arrangements may be used. Further, a plurality of racks 12 may be arranged instead of the panel 21 and the partition 23 may be provided on the upper front edge.

上記実施形態では、ラック列15の左右方向の両端部側に、ラック列15の間を塞ぐように、ラック列15の下縁から空調室13の天井20に延びるパネル21をそれぞれ設けたが、これを一端部側は、上記実施形態と同様のパネル21、他端部側は、空調室13の側壁をパネル21の代わりに代用しても良く、この場合、空調室13の側壁をパネル21とみなす。   In the above-described embodiment, the panels 21 extending from the lower edge of the rack row 15 to the ceiling 20 of the air conditioning chamber 13 are provided on both ends in the left-right direction of the rack row 15 so as to close the space between the rack rows 15. In this case, the side wall of the air conditioning chamber 13 may be substituted for the panel 21 on the one end side, and the side wall of the air conditioning chamber 13 may be substituted for the panel 21 on the other end side. It is considered.

本発明は、上記実施形態には限定されず、当業者にとって想到し得る本明細書に説明された基本的教示の範囲に含まれる全ての変更、および代替的構成を具体化するものとして解釈されるべきである。   The present invention is not limited to the above-described embodiments, but is interpreted as embodying all modifications and alternative configurations included in the scope of the basic teachings described in the present specification that can be conceived by those skilled in the art. Should be.

本発明において、「パネル」と「パーティション」と使い分けているが、例えば、材質が違うという具合に、構成材料が相違するといった意味で使い分けているのではなく、ラック上であって空調室を仕切る仕切り部材を「パーティション」、ラック列の左右方向の端部側であってラック列(パーティションの部分も含む)の間を閉塞するように連結する連結部材を「パネル」としている。なお、この「パネル」と「パーティション」だが、一枚構成でも、分割構成でも、どちらでも良い。   In the present invention, “panel” and “partition” are properly used. For example, the material is different and the material is different in the sense that the material is different. A partition member is a “partition”, and a connecting member that connects the rack rows (including the partition portion) at the end in the left-right direction of the rack row is a “panel”. The “panel” and “partition” may be either a single-sheet configuration or a divided configuration.

最後に、特許文献1に示すデータセンタは、空調室内にモジュラー型データセンタ70を設置するタイプ、つまり、完全なモジュラー化タイプであったが、一方、本発明では、該完全なモジュラー化タイプとは一線を画しており、上述したように、地震に強く、そして、省エネである空調室と一部融合している一部モジュラー化タイプである。   Finally, the data center shown in Patent Document 1 is a type in which a modular data center 70 is installed in an air-conditioned room, that is, a complete modular type. Is a part of the modular type that is partly fused with the air-conditioning room that is strong against earthquake and energy saving as mentioned above.

10 データセンタ
11 電子機器
12 ラック
13 空調室
14 床面
15 ラック列
20 天井
21 パネル
23 パーティション
24 ホットゾーン
26 排気口
27 吹出口
51 空調機
54 ファン
55 冷却コイル
56 熱回収手段
57 熱回収コイル
10 Data Center 11 Electronic Equipment 12 Rack 13 Air Conditioning Room 14 Floor 15 Rack Row 20 Ceiling 21 Panel 23 Partition 24 Hot Zone 26 Exhaust Outlet 27 Air Outlet 51 Air Conditioner 54 Fan 55 Cooling Coil 56 Heat Recovery Means 57 Heat Recovery Coil

Claims (3)

少なくとも、空調室と、該空調室の床面上にサーバなどの電子機器を多段に収容するラックを複数台左右方向に並べ形成されたラック列と、前記ラック内に収容された電子機器で発生する熱を除去すべく前記空調室内を空調する空調機とを備えたデータセンタにおいて、
前記空調機は、前記ラック列が配置される前記空調室とは別の部屋あるいは屋外に設けられており、
前記ラック列の背面同士を間隔をおいて向かい合わせて前記空調室内の床面上に配置し、その向かい合わせたラック列の左右方向の端部側に、ラック列の下縁から前記空調室の天井に延びるパネルを設けると共に、両ラック列の前縁上部に天井に延びるパーティションを設けて、前記空調室内にホットゾーンを区画し、
そのホットゾーン上の前記空調室の天井に該ホットゾーン内の比重が小さくなった空気を上方に吸引して排気する複数の排気口を前記ラック列に対して平面視で対向するように左右方向に並べ形成すると共に、前記空調室内の前記ホットゾーンの外部であって前記ラック列の前方の天井に前記空調機からの前記比重より大きい比重の空調空気を鉛直下方に吹き出す複数の吹出口を前記ラック列のそれぞれに対して平面視で対向するように左右方向に並べ形成し、
前記空調機と前記複数の排気口とを接続する排気ダクトを前記空調室の天井裏であって前記ラック列に対して平面視で対向するように設けると共に、前記空調機と前記複数の吹出口とを接続する吹出ダクトを前記空調室の天井裏であって前記ラック列に対して平面視で対向するように設け、
前記排気ダクト及び前記吹出ダクトのそれぞれは、前記ラック列に対して平面視で対向している部分は、平面視で直線状であり且つ互いに間隔をおいて配置され、
前記吹出ダクトを介して前記複数の吹出口から前記空調室へ鉛直下方に吹き出した空調空気を前記ラック列の前面から背面に通して前記ホットゾーンに導入した後、前記ホットゾーンの空気を前記複数の排気口から前記排気ダクトを介して前記空調機に導入して前記空調空気の流動性を高めることを特徴とするデータセンタ。
Generated by at least an air conditioning room, a rack row in which a plurality of racks that house electronic devices such as servers on the floor surface of the air conditioning room are arranged in the left-right direction, and the electronic equipment housed in the rack In a data center equipped with an air conditioner that air-conditions the air-conditioned room to remove heat,
The air conditioner is provided in a room different from the air conditioning room in which the rack row is arranged or outdoors.
The back surfaces of the rack rows are arranged on the floor surface of the air conditioning room facing each other with a space therebetween, and the left and right ends of the facing rack rows are arranged from the lower edge of the rack row to the air conditioning room. A panel extending to the ceiling is provided, and a partition extending to the ceiling is provided above the front edge of both rack rows to partition a hot zone in the air-conditioned room,
Left and right direction so that a plurality of exhaust ports for sucking upward and exhausting air with a reduced specific gravity in the hot zone to the ceiling of the air conditioning room above the hot zone face the rack row in plan view And a plurality of outlets for blowing out conditioned air having a specific gravity larger than the specific gravity from the air conditioner to the ceiling in front of the rack row outside the hot zone in the air conditioning room. It is arranged in the left-right direction so as to face each of the rack rows in plan view,
An air exhaust duct that connects the air conditioner and the plurality of exhaust ports is provided behind the ceiling of the air conditioning chamber so as to face the rack row in plan view, and the air conditioner and the plurality of outlets And an outlet duct connecting the air conditioning chamber to the rack row and facing the rack row in plan view,
Each of the exhaust duct and the blowout duct is opposed to the rack row in a plan view, is a straight line in a plan view, and is spaced from each other.
Air-conditioned air blown vertically downward from the plurality of outlets to the air-conditioning room through the outlet duct is introduced into the hot zone from the front to the back of the rack row, and then the air in the hot zone is A data center, wherein the air-conditioning air is introduced into the air conditioner through the exhaust duct through the exhaust duct to improve the fluidity of the conditioned air.
前記空調機は、前記ホットゾーン内の空気を吸引するファンを有し、
前記ファンには、前記ホットゾーンから吸引される空気の温度を所定温度範囲、または所定温度に保つように前記ファンの回転数を制御する回転数制御装置が設けられる請求項1記載のデータセンタ。
The air conditioner has a fan that sucks air in the hot zone,
The data center according to claim 1, wherein the fan is provided with a rotation speed control device that controls a rotation speed of the fan so that the temperature of air sucked from the hot zone is maintained within a predetermined temperature range or a predetermined temperature.
前記空調機は、前記ホットゾーン内の空気を吸引するファンを有し、
前記排気ダクトと前記吹出ダクトに、それぞれ温度センサを設けて構成され、前記ファンには、前記各温度センサが計測する温度差に基づいて、前記空調室と前記ホットゾーン間の温度差を目標とする値に一致させるように、前記ファンの回転数を制御する回転数制御装置が設けられる請求項1記載のデータセンタ。
The air conditioner has a fan that sucks air in the hot zone,
The exhaust duct and the blowout duct are each provided with a temperature sensor, and the fan has a temperature difference between the air conditioning chamber and the hot zone as a target based on the temperature difference measured by each temperature sensor. The data center according to claim 1, wherein a rotation speed control device that controls the rotation speed of the fan is provided so as to match the value of
JP2010213026A 2010-09-24 2010-09-24 Data center Active JP4792122B2 (en)

Priority Applications (1)

Application Number Priority Date Filing Date Title
JP2010213026A JP4792122B2 (en) 2010-09-24 2010-09-24 Data center

Applications Claiming Priority (1)

Application Number Priority Date Filing Date Title
JP2010213026A JP4792122B2 (en) 2010-09-24 2010-09-24 Data center

Related Parent Applications (1)

Application Number Title Priority Date Filing Date
JP2008236437A Division JP4735690B2 (en) 2008-09-16 2008-09-16 Data center

Publications (2)

Publication Number Publication Date
JP2011003217A JP2011003217A (en) 2011-01-06
JP4792122B2 true JP4792122B2 (en) 2011-10-12

Family

ID=43561069

Family Applications (1)

Application Number Title Priority Date Filing Date
JP2010213026A Active JP4792122B2 (en) 2010-09-24 2010-09-24 Data center

Country Status (1)

Country Link
JP (1) JP4792122B2 (en)

Family Cites Families (11)

* Cited by examiner, † Cited by third party
Publication number Priority date Publication date Assignee Title
JP2002061911A (en) * 2000-08-17 2002-02-28 Takasago Thermal Eng Co Ltd Computer room cooling method
JP4558177B2 (en) * 2000-11-20 2010-10-06 高砂熱学工業株式会社 Air conditioning system for communication equipment room, etc.
JP4762464B2 (en) * 2001-05-15 2011-08-31 高砂熱学工業株式会社 Sensible heat load processing method for racks equipped with air conditioning systems and communication equipment
JP3835615B2 (en) * 2002-11-21 2006-10-18 株式会社Nttファシリティーズ Air conditioning system for computer room
US7752858B2 (en) * 2002-11-25 2010-07-13 American Power Conversion Corporation Exhaust air removal system
US6859366B2 (en) * 2003-03-19 2005-02-22 American Power Conversion Data center cooling system
JP4633407B2 (en) * 2004-08-27 2011-02-16 株式会社Nttファシリティーズ Air conditioning system for computer room
JP2006127283A (en) * 2004-10-29 2006-05-18 Toshiba Corp Information processing apparatus and its cooling performance detection method
JP5111777B2 (en) * 2006-04-20 2013-01-09 株式会社Nttファシリティーズ Server room
JP4873997B2 (en) * 2006-05-26 2012-02-08 ヤフー株式会社 Equipment storage rack and equipment storage room air conditioning system
JP4818058B2 (en) * 2006-10-12 2011-11-16 三洋電機株式会社 Air conditioner

Also Published As

Publication number Publication date
JP2011003217A (en) 2011-01-06

Similar Documents

Publication Publication Date Title
JP4735690B2 (en) Data center
JP4648966B2 (en) Data center
JP5855895B2 (en) Air conditioning systems for communication / information processing equipment rooms, etc.
US9674988B2 (en) Method and device for reducing the energy consumption of a center comprising energy-intensive apparatuses
JP5204702B2 (en) Air conditioning system in a building with many heat generating devices
JP5478185B2 (en) Air conditioning system
TW201411064A (en) Air conditioning system
JP2010043817A (en) Air conditioning system of server chamber
JP2002156136A (en) Air conditioning systems for communication equipment rooms, etc.
JP2012510145A (en) Method and sensor configuration for adjusting cooling air in equipment cabinet
JP2011196657A (en) Air conditioning system
KR101783739B1 (en) Data center constant temperature and humidity system with a dual floor structure and its control method
TW201712478A (en) Server cooling system
JP2011129149A (en) Data center
KR20240169142A (en) Modular air cooling and distribution systems and methods
CN111818783A (en) Server data center system
JP6309775B2 (en) Air conditioning system, combined air conditioning system
JP4792122B2 (en) Data center
JP2009133617A (en) Air conditioning system
JP2014047962A (en) Air conditioning system
JP2010257474A (en) Data center
JP5283602B2 (en) Air conditioning system for electronic communication equipment room
JP2012038100A (en) Data center
KR102522061B1 (en) Air conditioning unit
JP2020029980A (en) Air conditioning system and chilled water production equipment for air conditioning system

Legal Events

Date Code Title Description
A975 Report on accelerated examination

Free format text: JAPANESE INTERMEDIATE CODE: A971005

Effective date: 20101112

A131 Notification of reasons for refusal

Free format text: JAPANESE INTERMEDIATE CODE: A131

Effective date: 20101130

RD02 Notification of acceptance of power of attorney

Free format text: JAPANESE INTERMEDIATE CODE: A7422

Effective date: 20101215

A521 Request for written amendment filed

Free format text: JAPANESE INTERMEDIATE CODE: A523

Effective date: 20110128

A02 Decision of refusal

Free format text: JAPANESE INTERMEDIATE CODE: A02

Effective date: 20110222

A521 Request for written amendment filed

Free format text: JAPANESE INTERMEDIATE CODE: A523

Effective date: 20110615

A01 Written decision to grant a patent or to grant a registration (utility model)

Free format text: JAPANESE INTERMEDIATE CODE: A01

A61 First payment of annual fees (during grant procedure)

Free format text: JAPANESE INTERMEDIATE CODE: A61

Effective date: 20110722

FPAY Renewal fee payment (event date is renewal date of database)

Free format text: PAYMENT UNTIL: 20140729

Year of fee payment: 3

R150 Certificate of patent or registration of utility model

Ref document number: 4792122

Country of ref document: JP

Free format text: JAPANESE INTERMEDIATE CODE: R150

Free format text: JAPANESE INTERMEDIATE CODE: R150

FPAY Renewal fee payment (event date is renewal date of database)

Free format text: PAYMENT UNTIL: 20140729

Year of fee payment: 3

S531 Written request for registration of change of domicile

Free format text: JAPANESE INTERMEDIATE CODE: R313531

R350 Written notification of registration of transfer

Free format text: JAPANESE INTERMEDIATE CODE: R350

S111 Request for change of ownership or part of ownership

Free format text: JAPANESE INTERMEDIATE CODE: R313113

R350 Written notification of registration of transfer

Free format text: JAPANESE INTERMEDIATE CODE: R350

R250 Receipt of annual fees

Free format text: JAPANESE INTERMEDIATE CODE: R250

R250 Receipt of annual fees

Free format text: JAPANESE INTERMEDIATE CODE: R250

R250 Receipt of annual fees

Free format text: JAPANESE INTERMEDIATE CODE: R250

R250 Receipt of annual fees

Free format text: JAPANESE INTERMEDIATE CODE: R250

R250 Receipt of annual fees

Free format text: JAPANESE INTERMEDIATE CODE: R250

R250 Receipt of annual fees

Free format text: JAPANESE INTERMEDIATE CODE: R250

R250 Receipt of annual fees

Free format text: JAPANESE INTERMEDIATE CODE: R250

R250 Receipt of annual fees

Free format text: JAPANESE INTERMEDIATE CODE: R250

R250 Receipt of annual fees

Free format text: JAPANESE INTERMEDIATE CODE: R250

R250 Receipt of annual fees

Free format text: JAPANESE INTERMEDIATE CODE: R250

R250 Receipt of annual fees

Free format text: JAPANESE INTERMEDIATE CODE: R250

R250 Receipt of annual fees

Free format text: JAPANESE INTERMEDIATE CODE: R250