JP4565166B2 - 段階的展開型エンドグラフト - Google Patents

段階的展開型エンドグラフト Download PDF

Info

Publication number
JP4565166B2
JP4565166B2 JP2006533163A JP2006533163A JP4565166B2 JP 4565166 B2 JP4565166 B2 JP 4565166B2 JP 2006533163 A JP2006533163 A JP 2006533163A JP 2006533163 A JP2006533163 A JP 2006533163A JP 4565166 B2 JP4565166 B2 JP 4565166B2
Authority
JP
Japan
Prior art keywords
end graft
configuration
restraining member
graft
endograft
Prior art date
Legal status (The legal status is an assumption and is not a legal conclusion. Google has not performed a legal analysis and makes no representation as to the accuracy of the status listed.)
Expired - Fee Related
Application number
JP2006533163A
Other languages
English (en)
Other versions
JP2007533359A (ja
Inventor
クリストフ・ネルソン
Current Assignee (The listed assignees may be inaccurate. Google has not performed a legal analysis and makes no representation or warranty as to the accuracy of the list.)
Boston Scientific Ltd Barbados
Original Assignee
Boston Scientific Ltd Barbados
Priority date (The priority date is an assumption and is not a legal conclusion. Google has not performed a legal analysis and makes no representation as to the accuracy of the date listed.)
Filing date
Publication date
Application filed by Boston Scientific Ltd Barbados filed Critical Boston Scientific Ltd Barbados
Publication of JP2007533359A publication Critical patent/JP2007533359A/ja
Application granted granted Critical
Publication of JP4565166B2 publication Critical patent/JP4565166B2/ja
Anticipated expiration legal-status Critical
Expired - Fee Related legal-status Critical Current

Links

Images

Classifications

    • AHUMAN NECESSITIES
    • A61MEDICAL OR VETERINARY SCIENCE; HYGIENE
    • A61FFILTERS IMPLANTABLE INTO BLOOD VESSELS; PROSTHESES; DEVICES PROVIDING PATENCY TO, OR PREVENTING COLLAPSING OF, TUBULAR STRUCTURES OF THE BODY, e.g. STENTS; ORTHOPAEDIC, NURSING OR CONTRACEPTIVE DEVICES; FOMENTATION; TREATMENT OR PROTECTION OF EYES OR EARS; BANDAGES, DRESSINGS OR ABSORBENT PADS; FIRST-AID KITS
    • A61F2/00Filters implantable into blood vessels; Prostheses, i.e. artificial substitutes or replacements for parts of the body; Appliances for connecting them with the body; Devices providing patency to, or preventing collapsing of, tubular structures of the body, e.g. stents
    • A61F2/02Prostheses implantable into the body
    • A61F2/04Hollow or tubular parts of organs, e.g. bladders, tracheae, bronchi or bile ducts
    • A61F2/06Blood vessels
    • A61F2/07Stent-grafts
    • AHUMAN NECESSITIES
    • A61MEDICAL OR VETERINARY SCIENCE; HYGIENE
    • A61FFILTERS IMPLANTABLE INTO BLOOD VESSELS; PROSTHESES; DEVICES PROVIDING PATENCY TO, OR PREVENTING COLLAPSING OF, TUBULAR STRUCTURES OF THE BODY, e.g. STENTS; ORTHOPAEDIC, NURSING OR CONTRACEPTIVE DEVICES; FOMENTATION; TREATMENT OR PROTECTION OF EYES OR EARS; BANDAGES, DRESSINGS OR ABSORBENT PADS; FIRST-AID KITS
    • A61F2/00Filters implantable into blood vessels; Prostheses, i.e. artificial substitutes or replacements for parts of the body; Appliances for connecting them with the body; Devices providing patency to, or preventing collapsing of, tubular structures of the body, e.g. stents
    • A61F2/82Devices providing patency to, or preventing collapsing of, tubular structures of the body, e.g. stents
    • A61F2/844Devices providing patency to, or preventing collapsing of, tubular structures of the body, e.g. stents folded prior to deployment
    • AHUMAN NECESSITIES
    • A61MEDICAL OR VETERINARY SCIENCE; HYGIENE
    • A61FFILTERS IMPLANTABLE INTO BLOOD VESSELS; PROSTHESES; DEVICES PROVIDING PATENCY TO, OR PREVENTING COLLAPSING OF, TUBULAR STRUCTURES OF THE BODY, e.g. STENTS; ORTHOPAEDIC, NURSING OR CONTRACEPTIVE DEVICES; FOMENTATION; TREATMENT OR PROTECTION OF EYES OR EARS; BANDAGES, DRESSINGS OR ABSORBENT PADS; FIRST-AID KITS
    • A61F2/00Filters implantable into blood vessels; Prostheses, i.e. artificial substitutes or replacements for parts of the body; Appliances for connecting them with the body; Devices providing patency to, or preventing collapsing of, tubular structures of the body, e.g. stents
    • A61F2/95Instruments specially adapted for placement or removal of stents or stent-grafts
    • AHUMAN NECESSITIES
    • A61MEDICAL OR VETERINARY SCIENCE; HYGIENE
    • A61FFILTERS IMPLANTABLE INTO BLOOD VESSELS; PROSTHESES; DEVICES PROVIDING PATENCY TO, OR PREVENTING COLLAPSING OF, TUBULAR STRUCTURES OF THE BODY, e.g. STENTS; ORTHOPAEDIC, NURSING OR CONTRACEPTIVE DEVICES; FOMENTATION; TREATMENT OR PROTECTION OF EYES OR EARS; BANDAGES, DRESSINGS OR ABSORBENT PADS; FIRST-AID KITS
    • A61F2/00Filters implantable into blood vessels; Prostheses, i.e. artificial substitutes or replacements for parts of the body; Appliances for connecting them with the body; Devices providing patency to, or preventing collapsing of, tubular structures of the body, e.g. stents
    • A61F2/95Instruments specially adapted for placement or removal of stents or stent-grafts
    • A61F2/962Instruments specially adapted for placement or removal of stents or stent-grafts having an outer sleeve
    • A61F2/966Instruments specially adapted for placement or removal of stents or stent-grafts having an outer sleeve with relative longitudinal movement between outer sleeve and prosthesis, e.g. using a push rod
    • AHUMAN NECESSITIES
    • A61MEDICAL OR VETERINARY SCIENCE; HYGIENE
    • A61FFILTERS IMPLANTABLE INTO BLOOD VESSELS; PROSTHESES; DEVICES PROVIDING PATENCY TO, OR PREVENTING COLLAPSING OF, TUBULAR STRUCTURES OF THE BODY, e.g. STENTS; ORTHOPAEDIC, NURSING OR CONTRACEPTIVE DEVICES; FOMENTATION; TREATMENT OR PROTECTION OF EYES OR EARS; BANDAGES, DRESSINGS OR ABSORBENT PADS; FIRST-AID KITS
    • A61F2/00Filters implantable into blood vessels; Prostheses, i.e. artificial substitutes or replacements for parts of the body; Appliances for connecting them with the body; Devices providing patency to, or preventing collapsing of, tubular structures of the body, e.g. stents
    • A61F2/82Devices providing patency to, or preventing collapsing of, tubular structures of the body, e.g. stents
    • A61F2/86Stents in a form characterised by the wire-like elements; Stents in the form characterised by a net-like or mesh-like structure
    • A61F2/89Stents in a form characterised by the wire-like elements; Stents in the form characterised by a net-like or mesh-like structure the wire-like elements comprising two or more adjacent rings flexibly connected by separate members
    • AHUMAN NECESSITIES
    • A61MEDICAL OR VETERINARY SCIENCE; HYGIENE
    • A61FFILTERS IMPLANTABLE INTO BLOOD VESSELS; PROSTHESES; DEVICES PROVIDING PATENCY TO, OR PREVENTING COLLAPSING OF, TUBULAR STRUCTURES OF THE BODY, e.g. STENTS; ORTHOPAEDIC, NURSING OR CONTRACEPTIVE DEVICES; FOMENTATION; TREATMENT OR PROTECTION OF EYES OR EARS; BANDAGES, DRESSINGS OR ABSORBENT PADS; FIRST-AID KITS
    • A61F2/00Filters implantable into blood vessels; Prostheses, i.e. artificial substitutes or replacements for parts of the body; Appliances for connecting them with the body; Devices providing patency to, or preventing collapsing of, tubular structures of the body, e.g. stents
    • A61F2/02Prostheses implantable into the body
    • A61F2/04Hollow or tubular parts of organs, e.g. bladders, tracheae, bronchi or bile ducts
    • A61F2/06Blood vessels
    • A61F2/07Stent-grafts
    • A61F2002/075Stent-grafts the stent being loosely attached to the graft material, e.g. by stitching
    • AHUMAN NECESSITIES
    • A61MEDICAL OR VETERINARY SCIENCE; HYGIENE
    • A61FFILTERS IMPLANTABLE INTO BLOOD VESSELS; PROSTHESES; DEVICES PROVIDING PATENCY TO, OR PREVENTING COLLAPSING OF, TUBULAR STRUCTURES OF THE BODY, e.g. STENTS; ORTHOPAEDIC, NURSING OR CONTRACEPTIVE DEVICES; FOMENTATION; TREATMENT OR PROTECTION OF EYES OR EARS; BANDAGES, DRESSINGS OR ABSORBENT PADS; FIRST-AID KITS
    • A61F2/00Filters implantable into blood vessels; Prostheses, i.e. artificial substitutes or replacements for parts of the body; Appliances for connecting them with the body; Devices providing patency to, or preventing collapsing of, tubular structures of the body, e.g. stents
    • A61F2/82Devices providing patency to, or preventing collapsing of, tubular structures of the body, e.g. stents
    • A61F2/848Devices providing patency to, or preventing collapsing of, tubular structures of the body, e.g. stents having means for fixation to the vessel wall, e.g. barbs
    • A61F2002/8483Barbs
    • AHUMAN NECESSITIES
    • A61MEDICAL OR VETERINARY SCIENCE; HYGIENE
    • A61FFILTERS IMPLANTABLE INTO BLOOD VESSELS; PROSTHESES; DEVICES PROVIDING PATENCY TO, OR PREVENTING COLLAPSING OF, TUBULAR STRUCTURES OF THE BODY, e.g. STENTS; ORTHOPAEDIC, NURSING OR CONTRACEPTIVE DEVICES; FOMENTATION; TREATMENT OR PROTECTION OF EYES OR EARS; BANDAGES, DRESSINGS OR ABSORBENT PADS; FIRST-AID KITS
    • A61F2/00Filters implantable into blood vessels; Prostheses, i.e. artificial substitutes or replacements for parts of the body; Appliances for connecting them with the body; Devices providing patency to, or preventing collapsing of, tubular structures of the body, e.g. stents
    • A61F2/95Instruments specially adapted for placement or removal of stents or stent-grafts
    • A61F2002/9505Instruments specially adapted for placement or removal of stents or stent-grafts having retaining means other than an outer sleeve, e.g. male-female connector between stent and instrument
    • A61F2002/9511Instruments specially adapted for placement or removal of stents or stent-grafts having retaining means other than an outer sleeve, e.g. male-female connector between stent and instrument the retaining means being filaments or wires
    • AHUMAN NECESSITIES
    • A61MEDICAL OR VETERINARY SCIENCE; HYGIENE
    • A61FFILTERS IMPLANTABLE INTO BLOOD VESSELS; PROSTHESES; DEVICES PROVIDING PATENCY TO, OR PREVENTING COLLAPSING OF, TUBULAR STRUCTURES OF THE BODY, e.g. STENTS; ORTHOPAEDIC, NURSING OR CONTRACEPTIVE DEVICES; FOMENTATION; TREATMENT OR PROTECTION OF EYES OR EARS; BANDAGES, DRESSINGS OR ABSORBENT PADS; FIRST-AID KITS
    • A61F2220/00Fixations or connections for prostheses classified in groups A61F2/00 - A61F2/26 or A61F2/82 or A61F9/00 or A61F11/00 or subgroups thereof
    • A61F2220/0025Connections or couplings between prosthetic parts, e.g. between modular parts; Connecting elements
    • A61F2220/005Connections or couplings between prosthetic parts, e.g. between modular parts; Connecting elements using adhesives
    • AHUMAN NECESSITIES
    • A61MEDICAL OR VETERINARY SCIENCE; HYGIENE
    • A61FFILTERS IMPLANTABLE INTO BLOOD VESSELS; PROSTHESES; DEVICES PROVIDING PATENCY TO, OR PREVENTING COLLAPSING OF, TUBULAR STRUCTURES OF THE BODY, e.g. STENTS; ORTHOPAEDIC, NURSING OR CONTRACEPTIVE DEVICES; FOMENTATION; TREATMENT OR PROTECTION OF EYES OR EARS; BANDAGES, DRESSINGS OR ABSORBENT PADS; FIRST-AID KITS
    • A61F2220/00Fixations or connections for prostheses classified in groups A61F2/00 - A61F2/26 or A61F2/82 or A61F9/00 or A61F11/00 or subgroups thereof
    • A61F2220/0025Connections or couplings between prosthetic parts, e.g. between modular parts; Connecting elements
    • A61F2220/0066Connections or couplings between prosthetic parts, e.g. between modular parts; Connecting elements stapled
    • AHUMAN NECESSITIES
    • A61MEDICAL OR VETERINARY SCIENCE; HYGIENE
    • A61FFILTERS IMPLANTABLE INTO BLOOD VESSELS; PROSTHESES; DEVICES PROVIDING PATENCY TO, OR PREVENTING COLLAPSING OF, TUBULAR STRUCTURES OF THE BODY, e.g. STENTS; ORTHOPAEDIC, NURSING OR CONTRACEPTIVE DEVICES; FOMENTATION; TREATMENT OR PROTECTION OF EYES OR EARS; BANDAGES, DRESSINGS OR ABSORBENT PADS; FIRST-AID KITS
    • A61F2220/00Fixations or connections for prostheses classified in groups A61F2/00 - A61F2/26 or A61F2/82 or A61F9/00 or A61F11/00 or subgroups thereof
    • A61F2220/0025Connections or couplings between prosthetic parts, e.g. between modular parts; Connecting elements
    • A61F2220/0075Connections or couplings between prosthetic parts, e.g. between modular parts; Connecting elements sutured, ligatured or stitched, retained or tied with a rope, string, thread, wire or cable
    • AHUMAN NECESSITIES
    • A61MEDICAL OR VETERINARY SCIENCE; HYGIENE
    • A61FFILTERS IMPLANTABLE INTO BLOOD VESSELS; PROSTHESES; DEVICES PROVIDING PATENCY TO, OR PREVENTING COLLAPSING OF, TUBULAR STRUCTURES OF THE BODY, e.g. STENTS; ORTHOPAEDIC, NURSING OR CONTRACEPTIVE DEVICES; FOMENTATION; TREATMENT OR PROTECTION OF EYES OR EARS; BANDAGES, DRESSINGS OR ABSORBENT PADS; FIRST-AID KITS
    • A61F2230/00Geometry of prostheses classified in groups A61F2/00 - A61F2/26 or A61F2/82 or A61F9/00 or A61F11/00 or subgroups thereof
    • A61F2230/0002Two-dimensional shapes, e.g. cross-sections
    • A61F2230/0004Rounded shapes, e.g. with rounded corners
    • A61F2230/001Figure-8-shaped, e.g. hourglass-shaped
    • YGENERAL TAGGING OF NEW TECHNOLOGICAL DEVELOPMENTS; GENERAL TAGGING OF CROSS-SECTIONAL TECHNOLOGIES SPANNING OVER SEVERAL SECTIONS OF THE IPC; TECHNICAL SUBJECTS COVERED BY FORMER USPC CROSS-REFERENCE ART COLLECTIONS [XRACs] AND DIGESTS
    • Y10TECHNICAL SUBJECTS COVERED BY FORMER USPC
    • Y10STECHNICAL SUBJECTS COVERED BY FORMER USPC CROSS-REFERENCE ART COLLECTIONS [XRACs] AND DIGESTS
    • Y10S623/00Prosthesis, i.e. artificial body members, parts thereof, or aids and accessories therefor
    • Y10S623/902Method of implanting
    • Y10S623/903Blood vessel

Landscapes

  • Health & Medical Sciences (AREA)
  • Engineering & Computer Science (AREA)
  • Biomedical Technology (AREA)
  • Life Sciences & Earth Sciences (AREA)
  • General Health & Medical Sciences (AREA)
  • Transplantation (AREA)
  • Heart & Thoracic Surgery (AREA)
  • Vascular Medicine (AREA)
  • Cardiology (AREA)
  • Animal Behavior & Ethology (AREA)
  • Oral & Maxillofacial Surgery (AREA)
  • Public Health (AREA)
  • Veterinary Medicine (AREA)
  • Gastroenterology & Hepatology (AREA)
  • Pulmonology (AREA)
  • Prostheses (AREA)
  • Media Introduction/Drainage Providing Device (AREA)
  • External Artificial Organs (AREA)

Description

本発明は、一般に、管腔内グラフトに関し、より詳しくは、段階的に展開し得る管腔内グラフトに関する。
管腔内グラフト又はエンドグラフトは、管腔内で修復を必要とする管腔個所に遠位管腔位置から導入されて、身体管腔を修復するのに広く使用される管状グラフトである。このようなエンドグラフトの一用途が、各種の身体管腔における動脈瘤を排除することである。手順の成功のために、エンドグラフトの近位端と遠位端が相対的に健康な組織に固定されるように、エンドグラフトを展開することが重要である。エンドグラフトが、分岐管腔と干渉しなかったり、修復領域を超えて延在しないように、エンドグラフトを展開することも重要である。よって、管腔内の正確な配置が重要である。エンドグラフトの配送及び展開中に体液の流れを維持することも望ましい。
胸部大動脈等の高圧管腔内の動脈瘤の修復は、展開中にエンドグラフトに作用する体液圧の力によって複雑になる。この力は、エンドグラフトを正確に配置することを困難にする。典型的に、エンドグラフトを修復個所に配送する圧縮構成から拡張展開構成までのエンドグラフトの拡張は、瞬間的ではないが、エンドグラフトの一端から他端へ長手方向に発生する。これが発生すると、管腔内の体液流れが、長手方向力をエンドグラフトに印加する吹流し効果を生じる。典型的なエンドグラフトは展開後に再位置決めできないので、この問題が悪化させられる。
この問題の生じにくいエンドグラフトが有用であると考えられる。
本発明は、複数の別個に拡張し得る長手方向部分を有するエンドグラフトを備える。一実施の形態において、本発明は、自己拡張型ステント骨組みと、ステント骨組みに止着された被覆層と、ステント骨組みの長さに沿ってステント骨組みの連係する長手方向部分を拘束する(即ち、拡張を妨害する)ように構成された拘束部材とを備える。拘束部材は、展開中にエンドグラフトの外方で拘束部材に近接する体液流れを維持する流路を提供する一方、ステントグラフトの残りの部分を拡張させる。
同様の参照番号が同様の要素を指す図面において、図1乃至図8が、本発明の例示の実施の形態にかかるエンドグラフト103を示す。図8に示すように、エンドグラフト103は、ステント骨組み100と、ステント骨組み100に止着された被覆層120とを備える。被覆層120は、製織、編成又は延伸ポリテトラフルオロエチレン(ePTFE)またはその任意の組合せであってよい。被覆層120は、ステント骨組み100に縫合糸、接着剤、リング、ステープル又は他の接続要素によって止着してよい。ステント骨組み100は、反対螺旋方向に巻回される製織ステント部材101を備える。ステント部材101は、ニチノール等の形状記憶材料から成って、ステント骨組み100を自己拡張させる。ジグザグ・ステント、レーザカット・チューブ、製織構造等の別の自己拡張型ステント骨組み構成並びにバルーン拡張型エンドグラフトも、本発明の範囲内で考えられる。
図1乃至図6に示すように、拘束部材200が、エンドグラフト103の長さに沿った直径方向に反対の線においてステント骨組み100に沿って長手方向に延在する。これらの拘束部材200は、エンドグラフト103の連係部分を拘束する(即ち、拡張を妨害する)ように、エンドグラフト103の選択された長手方向部分と操作連係する。図1乃至図8に示す例示の実施の形態において、拘束部材200は、ステント骨組み100に巻付けたワイヤである。別のやり方として、拘束部材200は、エンドグラフト103の下方部を拘束するように、エンドグラフト103の長手方向部分に渡り延在してもよい。下記のように、別のやり方として、拘束部材200は、チューブ、縫合糸又はステント骨組み100の連係する長手方向部分を拘束するのに適当な他の構造物であってもよい。本実施の形態では、エンドグラフト103の安定性を維持するために2個の拘束部材200が設けられている。1個、3個、4個又はそれ以上の拘束部材200を備える実施の形態も本発明の範囲内で考えられる。
エンドグラフト103が、図1に示すように、展開前構成を取る(即ち、管腔内配送のために圧縮されている)時、拘束部材200は解放自在であり、これは、ステント骨組み100を拘束することを止めるように操作し得ることを意味する。解放前に、拘束部材200は、ステント骨組み100を選択的に拘束して、ステント骨組み100の選択的拘束部が完全拡張構成まで拡張することを防止する。この拘束は、解放自在の拘束部材200と直接当接しないエンドグラフト103の部分が、エンドグラフト103の該部分の拡張を許容する解放自在の拘束部材200によって拘束されない点で選択的である。図7及び図8に示すように、解放後、拘束部材200はエンドグラフト103から取外される。
図1及び図2に示すように、エンドグラフト103は、解放自在の拘束部材200と共に、身体管腔1への管腔内配送が可能な圧縮構成で配送装置300に装入される。配送装置300は、配送装置300の管腔内前進中に装入された配送装置300と身体管腔1の内面2の間に体液路10を設けるように寸法設定される。この体液路10は、エンドグラフト103が身体管腔1内の体液流れを遮断せずに配送されるようにする。
図1乃至図6に示すように、配送装置300は、エンドグラフト103を支承するカテーテル310を備える。カテーテル310は、大体管状で、ガイドワイヤ340を受承する長手方向開口を有する。カテーテル310の近位端(即ち、最初に身体に入る端)がノーズコーン320に止着され、ノーズコーン320は、配送装置300を身体管腔1内で前進させるのを助けるように、テーパー加工されている。シース330は、エンドグラフト103を受承する細長い円環形状を有する穴を形成するカテーテル310を囲む。シース330がエンドグラフト103から後退させられる時、シース330は、カテーテル310に対して軸方向に移動自在であり、更に詳しくは、カテーテル310に支承されるエンドグラフト103上を遠位側に摺動するように構成される。(時々、プッシャーと呼ばれる)安定器350が、エンドグラフト103を押圧又は保持するように、エンドグラフト103の遠位側でカテーテル310を囲む一方、シース330が、エンドグラフト103に対して軸方向に後退又は遠位側に移動させられる。
図1及び図2に示すように、シース330は、ステント骨組み100の直径が修復すべき身体管腔1より小さいつぶれた又は圧縮された構成において、ステント骨組み100(とステント骨組み100に止着された被覆層120)を拘束する。拘束部材200は、上記したように、ステント骨組み100の長手方向部分と連係すると共に、その近位端において、ノーズコーン320に止着される。拘束部材200は、その遠位端において、身体の外部に留まる制御ハンドル(不図示)までシース330内を延在する。必要な拘束力をエンドグラフト103に付与するために、張力が拘束部材200に印加される。図1に示すように、直径方向に反対の拘束部材200は、結合されると共に、ノーズコーン320の開口を通過又はループ状に通過させ、両端が制御ハンドル(不図示)まで戻る。張力は、制御ハンドルにおいて拘束部材200に印加される。この構成において、制御ハンドルにおける結合された拘束部材200の一端を解放すると共に、解放端がカテーテルの全長を通過してノーズコーン320から制御ハンドルまで戻るまで、結合された拘束部材200の他端を制御ハンドルを通して引き戻すことにより、拘束部材200が解放される。
別のやり方として、各拘束部材200を生体吸収性又は生体溶解性接着剤でノーズコーン320に固着して、その接着剤が吸収又は溶解される時に拘束部材200が解放されるようにしてもよい。更に別の実施の形態では、結合された拘束部材200が、エンドグラフト103の近位側でカテーテル310をループ状に通過して、両端が制御ハンドルまで遠位方向に延在する。
別のやり方として、拘束部材200は、安定器350とカテーテル310の間を延在し、次に、安定器350とカテーテル310を接続するハイポチューブ(不図示)を通過する。別の実施の形態では、カテーテル310は、第2及び第3の長手方向開口(不図示)を有し、拘束部材200は、これらの開口を貫通する。
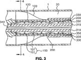
図3及び図4に示すように、エンドグラフト103が身体管腔1内の所望位置まで前進させられた時、シース330をエンドグラフト103から後退させることによって、エンドグラフト103は、第1展開段階まで部分的に展開される。シース330が部分的に後退させられるにつれて、拘束部材200は、ステント骨組み100の連係する長手方向部分を拘束する一方、拘束部材200から円周方向に偏倚したステント骨組み100の円周中間部は自己拡張させられる。図4に明示されるように、拘束部材200によって拘束されるステント骨組み100の連係部分と、これらの連係部分に止着された被覆層120の部分は、圧縮位置に留まる。ステント骨組み100の中間ばね板部と、これらの中間ばね板部に止着された被覆層120の部分は、身体管腔1の内面2に対して半径方向で外方に
拡張する。
シース330がエンドグラフト103の近位端から遠位方向に後退させられる時、エンドグラフト103の遠位端はまだシース330によって拘束されている。この第1展開段階において、エンドグラフト103の近位端は、拘束部材200と連係する半径方向に拘束された部分の間でばね板構成を取る。体液路20は、拘束部材200によって拘束されるエンドグラフト103の外方に位置する一方、エンドグラフト103の中間部は身体管腔1の内面2に対して自己拡張する。シース330が後退させられている間、エンドグラフト103の遠位端はまだシース330によって拘束されているので、エンドグラフト103の内側には流路は大略無い。しかしながら、エンドグラフト103の外方にある体液路20は、吹流し効果から生じるエンドグラフト103上の圧力増大を防止する。
シース330がエンドグラフト103から完全に後退させられるにつれて、エンドグラフト103が図5及び図6に示すように第2部分的展開構成まで拡張する。この第2部分的展開構成では、複数の拘束部材200の各々が、エンドグラフト103の全長に沿ってステント骨組み100の連係部分(及びこの連係部分に止着された被覆層120の部分)の自己拡張を拘束する。ステント骨組み100の円周中間部(及びこれら中間部に止着された被覆層120の部分)は、身体管腔1の内面2に対して自己拡張する。第2部分的展開構成では、エンドグラフト103の外方で身体管腔1内を進む体液路20は、エンドグラフト103の全長に沿って拘束部材200の近傍でエンドグラフト103の中間部又はばね板部の間を延在する。又、シース330がエンドグラフト103の遠位端から完全に後退させられる時、別の体液路21が、それらばね板部内でエンドグラフト103の内側に形成される。
エンドグラフト103が、図5及び図6に示すように、第2部分的展開構成を取る時、その位置に少しの調整がなされる。拘束部材200によるステント骨組み100の連係部分の拘束は、ステント骨組み100によって作用される全外方力を減少する。本発明の例示実施の形態において、部分的に展開されたエンドグラフト103の位置は、X線撮影法等により決定される。次に、部分的に展開されたエンドグラフト103は、カテーテル310を前進又は後退させることにより再位置決めされる。
シース330がエンドグラフト103から完全に後退させられると共に、部分的に展開されたエンドグラフト103内の体液流れが確立された後、拘束部材200は、解放されて、エンドグラフト103を完全に展開させる。図7及び図8に示すこの完全展開構成では、拘束部材200によって前に拘束されていたステント骨組み100の部分が、身体管腔1の内面2に対して自己拡張させられる。
図7及び図8に示すエンドグラフト103の完全展開構成では、体液路30が、エンドグラフト103の内側を延在すると共に、被覆層120が、身体管腔1の内面2に対して押圧されて、エンドグラフト103を身体管腔1で封止して、エンドグラフト103と身体管壁1の内面2の間の体液流れを防止する。
別のやり方として、拘束部材200は、例えば、拘束部材200(図1乃至図6)を切断、吸収又は溶解することにより、又は、拘束部材200を拘束物等から解放することによって解放される。ある特定の別の実施の形態では、拘束部材200は、ノーズコーン320に着座されると共に安定器350の近位端に止着された剛性要素を備える。これらの拘束部材200の解放は、カテーテル310の近位作動でノーズコーン320を近位方向に移動させることによって達成される。拘束部材200をステント部材101から取外すのに十分な距離だけノーズコーン320を近位移動させることにより、拘束部材200は、完全拡張構成まで拡張することを許容される。安定器350と止着された拘束要素200が、次に、後退させられ、ノーズコーン320がそれに続く。
別の実施の形態では、拘束部材200の個々は、ステント骨組み100の自己拡張の制御を強めるために、オプションとして別個に解放自在である。これは、多数の拘束部材200が設けられて、拘束部材200を管腔の解剖学的構造により特定の逐次順に解放することが望ましい場合に、特に好都合である。
ステント骨組み100の連係部分が拘束部材200によって解放される時にエンドグラフト103を身体管腔1に固定する突起(不図示)をステント骨組み100に設けてもよい。もしステント突起の配置が拘束部材200の近くの領域に限定されるならば、突起は、エンドグラフト103の関連部分が拘束されている間に身体管腔1の内面2と当接することが防止される。しかしながら、拘束部材200が解放される時、突起は、身体管腔1の内面2に対して付勢される。これにより、エンドグラフト103が、完全展開構成に堅固に固定されると共に、部分的展開構成に再位置決めされる。
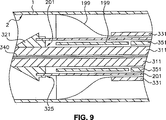
図9に示す本発明の別の実施の形態において、拘束部材はフレキシブルチューブ201である。フレキシブルチューブ201は、曲がりくねった管腔解剖学的構造内の配送を容易にするがいくらかの構造的剛性を付与するだけ十分に軟質である。制御ハンドル(不図示)からフレキシブルチューブ201に印加される張力と共にフレキシブルチューブ201の剛性は、エンドグラフト199の長手方向関連部分を拘束するのに必要な拘束力を付与するのに使用される。この構成では、配送装置は、下記の点を除いて上記配送装置と大体同様である。フレキシブルチューブ201は、エンドグラフト199の長手方向部分を渡って安定器351とシース331の間を延在すると共に、ノーズコーン321の開口325に着座されている。フレキシブルチューブ201の先端をねじ切りすると共に、フレキシブルチューブ201を着脱自在に螺合受承するように、開口325をねじ切りしてもよい。
エンドグラフト199は、被覆されたステント骨組み、バルーン拡張式ステントグラフト又は不支持のグラフトを備える。シース331がエンドグラフト199から後退させられる時、ノーズコーン321によって支持されるフレキシブルチューブ201とシース331は、エンドグラフト199の連係する長手方向部分を拘束して、その拡張を防止する。管腔内配送の間、エンドグラフト199は、カテーテル311の上に配置されると共に、シース331によって半径方向に拘束される。図9に示すように、図4に示す第1部分的展開段階に対応する部分的展開段階では、シース331がエンドグラフト199上を遠位方向に後退させられるにつれて、フレキシブルチューブ201と操作連係するエンドグラフト199の部分は、圧縮構成に留まる一方、エンドグラフト199の円周方向に中間の部分は身体管腔1の内面2に対して拡張される。
不図示であるが下記の点を除いて図9のエンドグラフトと配送装置と同様である更に別の実施の形態では、拘束部材は、エンドグラフト上を延在すると共にノーズコーンに形成された孔に摺動自在に着座されたロッド状要素を備える。第1及び第2部分的展開段階中に、これらのロッド状要素の遠位端はシースによって拘束される一方、その近位端はノーズコーンの孔の壁によって拘束される。ロッド状要素又はロッド状要素に止着されたテザーが、ロッド状要素を作動するハンドルに戻るように延在する。体液流れが部分的に展開されたエンドグラフト内に設立された後、ロッド状要素が、遠位方向に作動させられて、前にロッド状要素の下方に位置したエンドグラフトの部分の拡張を許容して、エンドグラフトの完全に展開する。
よって、本発明は、展開の間じゅう体液路が維持されるように、エンドグラフトを段階的に展開する装置と方法を提供する。
本発明の例示の実施の形態において、抑制部材を巻付けたステント骨組みを有すると共に管腔内配送のために圧縮されたエンドグラフトが装着されると共に、身体管腔内に配置された配送装置の側断面図である。 図1のエンドグラフトと配送装置の図1の2−2’平面における断面図である。 本発明の例示の実施の形態において逐次的に次の第1部分的展開段階にある図1のエンドグラフトと、図1の配送装置の側断面図である。 図3のエンドグラフトと配送装置の図3の4−4’平面における断面図である。 本発明の例示の実施の形態において逐次的に次の第2部分的展開段階にある図1及び図3のエンドグラフトと、図1及び図3の配送装置の側断面図である。 図5のエンドグラフトと配送装置の図5の6−6’平面における断面図である。 身体管腔内で本発明の例示の実施の形態にかかる拘束部材と配送装置を取外した後の逐次的に次の完全展開構成の図1、図3及び図5のエンドグラフトの側断面図である。 図7のエンドグラフトの図7の8−8’平面における断面図である。 本発明の別の例示の実施の形態にかかるエンドグラフトと配送装置の側断面図である。
符号の説明
1 身体管腔
10 体液路
20 体液路
30 体液路
100 ステント骨組み
101 ステント部材
103 エンドグラフト
120 被覆層
199 エンドグラフト
200 拘束部材
201 フレキシブルチューブ
300 配送装置
310 カテーテル
311 カテーテル
320 ノーズコーン
330 シース
331 シース
340 ガイドワイヤ
350 安定器
351 安定器

Claims (10)

  1. 反対螺旋方向にあるステント部材を備え、そして被覆層を固定した自己拡張型ステント骨組みと、ステント骨組みの連係部の上を長手方向に長く配置された2個の解放自在の拘束部材とを備えるエンドグラフトにおいて、
    エンドグラフトが、管腔内展開に適した圧縮構成に拘束された第1構成と、拘束部材がエンドグラフトの連係部分を半径方向に選択的に拘束すると共に、前記連係部分の中間のエンドグラフトの部分が自己拡張することを許容される第2構成と、拘束部材が解放されて、前記連係部分が自己拡張することを許容される第3構成とを少なくとも有し、第2構成において、被覆層の外側で拘束部材の近傍に体液路を付与するエンドグラフト。
  2. 前記2個の解放自在の拘束部材が、エンドグラフトの長さに沿って直径方向に反対の位置に配置された請求項1に記載のエンドグラフト。
  3. エンドグラフトを第2構成に再位置決めすることを許容するように、ステント骨組みが寸法設定及び構成されている請求項1に記載のエンドグラフト。
  4. 配送シースによって第1構成に拘束される請求項1に記載のエンドグラフト。
  5. 第1構成において、及び、第1構成から第2構成への移行中において、エンドグラフトの外側に体液路を付与し、又、第2構成において、エンドグラフトの外側及びエンドグラフトを貫通する体液路を付与し、更に、第3構成において、及び、第2構成から第3構成への移行中において、エンドグラフトを貫通する体液路を付与する請求項1に記載のエンドグラフト。
  6. 前記拘束部材がワイヤである請求項1に記載のエンドグラフト。
  7. 前記拘束部材が縫合糸である請求項1に記載のエンドグラフト。
  8. 前記拘束部材がフレキシブルチューブである請求項1に記載のエンドグラフト。
  9. 前記拘束部材がロッド状要素を備える請求1に記載のエンドグラフト。
  10. エンドグラフトを身体管腔壁に固定する突起を更に備える請求項1に記載のエンドグラフト。
JP2006533163A 2003-05-27 2004-05-18 段階的展開型エンドグラフト Expired - Fee Related JP4565166B2 (ja)

Applications Claiming Priority (2)

Application Number Priority Date Filing Date Title
US10/445,406 US7101390B2 (en) 2003-05-27 2003-05-27 Staged deployment endograft
PCT/US2004/015481 WO2004105645A2 (en) 2003-05-27 2004-05-18 Staged deployment endograft

Publications (2)

Publication Number Publication Date
JP2007533359A JP2007533359A (ja) 2007-11-22
JP4565166B2 true JP4565166B2 (ja) 2010-10-20

Family

ID=33450850

Family Applications (1)

Application Number Title Priority Date Filing Date
JP2006533163A Expired - Fee Related JP4565166B2 (ja) 2003-05-27 2004-05-18 段階的展開型エンドグラフト

Country Status (5)

Country Link
US (2) US7101390B2 (ja)
EP (1) EP1631215B1 (ja)
JP (1) JP4565166B2 (ja)
CA (1) CA2526380C (ja)
WO (1) WO2004105645A2 (ja)

Families Citing this family (34)

* Cited by examiner, † Cited by third party
Publication number Priority date Publication date Assignee Title
WO2007035895A2 (en) * 2005-09-21 2007-03-29 Cook Incorporated Endoluminal stent graft delivery assembly
GB0620495D0 (en) * 2006-10-16 2006-11-22 Anson Medical Ltd Apparatus and method for positioning a stent graft
US8715336B2 (en) * 2007-04-19 2014-05-06 Medtronic Vascular, Inc. Methods and apparatus for treatment of aneurysms adjacent to branch arteries
WO2008151204A1 (en) 2007-06-04 2008-12-11 Sequent Medical Inc. Methods and devices for treatment of vascular defects
US10813779B2 (en) * 2008-04-25 2020-10-27 CARDINAL HEALTH SWITZERLAND 515 GmbH Stent attachment and deployment mechanism
CN106974691A (zh) 2008-05-02 2017-07-25 斯昆特医疗公司 用于治疗血管缺损的丝状装置
JP5134729B2 (ja) 2008-07-01 2013-01-30 エンドロジックス、インク カテーテルシステム
US8771333B2 (en) 2009-06-23 2014-07-08 Cordis Corporation Stent-graft securement device
WO2011057002A2 (en) 2009-11-05 2011-05-12 Sequent Medical Inc. Multiple layer filamentary devices or treatment of vascular defects
US9198787B2 (en) * 2010-12-31 2015-12-01 Cook Medical Technologies Llc Conformable prosthesis delivery system and method for deployment thereof
CN105232195B (zh) 2011-03-01 2018-06-08 恩朵罗杰克斯股份有限公司 递送导管系统
US10335296B2 (en) 2011-05-17 2019-07-02 The University Of Kentucky Research Foundation Graft within a graft endoluminal graft
US9173756B2 (en) 2012-06-13 2015-11-03 Cook Medical Technologies Llc Systems and methods for deploying a portion of a stent using at least one coiled member
US9144510B2 (en) 2012-06-13 2015-09-29 Cook Medical Technologies Llc Systems and methods for deploying a portion of a stent using at least one coiled member
US9687373B2 (en) 2012-12-21 2017-06-27 Cook Medical Technologies Llc Systems and methods for securing and releasing a portion of a stent
US9655756B2 (en) 2012-12-21 2017-05-23 Cook Medical Technologies Llc Systems and methods for deploying a portion of a stent using an auger-style device
US9078658B2 (en) 2013-08-16 2015-07-14 Sequent Medical, Inc. Filamentary devices for treatment of vascular defects
US9955976B2 (en) 2013-08-16 2018-05-01 Sequent Medical, Inc. Filamentary devices for treatment of vascular defects
US9629635B2 (en) 2014-04-14 2017-04-25 Sequent Medical, Inc. Devices for therapeutic vascular procedures
EP3139860B1 (en) 2015-06-30 2024-06-12 Endologix LLC Locking assembly for coupling guidewire to delivery system
US10188538B2 (en) 2015-12-30 2019-01-29 Cook Medical Technologies Llc Hybrid trigger wire for endografts
AU2016256777B1 (en) * 2016-11-10 2017-04-20 Cook Medical Technologies Llc Temporary diameter reduction constraint arrangement for a stent graft in combination with a stent graft
US11191632B2 (en) 2016-11-10 2021-12-07 Cook Medical Technologies Llc Temporary diameter reduction constraint arrangement for a stent graft in combination with a stent graft
EP3716907B1 (en) 2017-12-01 2023-06-07 C. R. Bard, Inc. Adjustable vascular graft for custom inner diameter reduction and related methods
US11291453B2 (en) 2019-03-15 2022-04-05 Sequent Medical, Inc. Filamentary devices having a flexible joint for treatment of vascular defects
WO2020190639A1 (en) 2019-03-15 2020-09-24 Sequent Medical, Inc. Filamentary devices for treatment of vascular defects
US11559309B2 (en) 2019-03-15 2023-01-24 Sequent Medical, Inc. Filamentary devices for treatment of vascular defects
US12433775B2 (en) 2019-05-10 2025-10-07 W. L. Gore & Associates, Inc. Constraining mechanisms for selective deployment and associated methods
AU2019445546B2 (en) 2019-05-10 2022-12-15 W. L. Gore & Associates, Inc. Constraining mechanisms for selective deployment and associated methods
WO2021176672A1 (ja) * 2020-03-05 2021-09-10 日本ライフライン株式会社 デリバリシャフトおよびデリバリシステム
US12023034B2 (en) 2020-03-11 2024-07-02 Microvention, Inc. Devices for treatment of vascular defects
US12070220B2 (en) 2020-03-11 2024-08-27 Microvention, Inc. Devices having multiple permeable shells for treatment of vascular defects
US20210282789A1 (en) 2020-03-11 2021-09-16 Microvention, Inc. Multiple layer devices for treatment of vascular defects
US12446891B2 (en) 2021-08-30 2025-10-21 Microvention, Inc. Devices for treatment of vascular defects

Family Cites Families (24)

* Cited by examiner, † Cited by third party
Publication number Priority date Publication date Assignee Title
JPH066125B2 (ja) * 1991-02-05 1994-01-26 寛治 井上 人体に媒体を導入する装置
US5405378A (en) * 1992-05-20 1995-04-11 Strecker; Ernst P. Device with a prosthesis implantable in the body of a patient
WO1995013033A1 (en) 1993-11-08 1995-05-18 Lazarus Harrison M Intraluminal vascular graft and method
US6165210A (en) * 1994-04-01 2000-12-26 Gore Enterprise Holdings, Inc. Self-expandable helical intravascular stent and stent-graft
ATE252872T1 (de) * 1994-04-01 2003-11-15 Prograft Medical Inc Selbstausdehnbarer stent bzw. stenttransplantat und verfahren zu ihrer vorbereitung
US5824044A (en) 1994-05-12 1998-10-20 Endovascular Technologies, Inc. Bifurcated multicapsule intraluminal grafting system
US20020198586A1 (en) 1995-04-12 2002-12-26 Kanji Inoue Appliance collapsible for insertion into a human organ and capable of resilient restoration
WO1996036297A1 (en) * 1995-05-19 1996-11-21 Kanji Inoue Transplantation instrument, method of bending same and method of transplanting same
US6193745B1 (en) 1995-10-03 2001-02-27 Medtronic, Inc. Modular intraluminal prosteheses construction and methods
JP2000503559A (ja) * 1995-12-14 2000-03-28 ゴア エンタープライズ ホールディングス,インコーポレイティド ステント移植片を展開する装置並びに方法
US6042605A (en) * 1995-12-14 2000-03-28 Gore Enterprose Holdings, Inc. Kink resistant stent-graft
US6878161B2 (en) * 1996-01-05 2005-04-12 Medtronic Vascular, Inc. Stent graft loading and deployment device and method
US6352561B1 (en) * 1996-12-23 2002-03-05 W. L. Gore & Associates Implant deployment apparatus
US6551350B1 (en) 1996-12-23 2003-04-22 Gore Enterprise Holdings, Inc. Kink resistant bifurcated prosthesis
US5948017A (en) 1997-10-12 1999-09-07 Taheri; Syde A. Modular graft assembly
US6224625B1 (en) 1997-10-27 2001-05-01 Iowa-India Investments Company Limited Low profile highly expandable stent
US6261316B1 (en) * 1999-03-11 2001-07-17 Endologix, Inc. Single puncture bifurcation graft deployment system
JP4542297B2 (ja) * 1999-10-04 2010-09-08 寛治 井上 移植用器具の折り畳み方法、及び、移植用器具
US6899727B2 (en) 2001-01-22 2005-05-31 Gore Enterprise Holdings, Inc. Deployment system for intraluminal devices
US7264632B2 (en) * 2002-06-07 2007-09-04 Medtronic Vascular, Inc. Controlled deployment delivery system
CA2489495C (en) * 2002-06-28 2010-07-13 Cook Incorporated Thoracic aortic aneurysm stent graft
US7556643B2 (en) * 2002-07-24 2009-07-07 Boston Scientific Scimed, Inc. Graft inside stent
US7722657B2 (en) * 2002-08-23 2010-05-25 William A. Cook Australia Pty. Ltd. Asymmetric stent graft attachment
US20060069424A1 (en) * 2004-09-27 2006-03-30 Xtent, Inc. Self-constrained segmented stents and methods for their deployment

Also Published As

Publication number Publication date
WO2004105645A3 (en) 2005-02-17
US20040243215A1 (en) 2004-12-02
EP1631215A2 (en) 2006-03-08
JP2007533359A (ja) 2007-11-22
EP1631215B1 (en) 2014-10-08
US7101390B2 (en) 2006-09-05
US7297156B2 (en) 2007-11-20
CA2526380C (en) 2012-08-07
CA2526380A1 (en) 2004-12-09
US20060229703A1 (en) 2006-10-12
WO2004105645A2 (en) 2004-12-09

Similar Documents

Publication Publication Date Title
JP4565166B2 (ja) 段階的展開型エンドグラフト
US7320703B2 (en) Method for inserting a prosthesis
US8080050B2 (en) Prosthesis delivery systems and methods
US5954764A (en) Device for concurrently placing an endovascular expander with an endovascular prosthesis
EP1542614B1 (en) Devices and methods for aaa management
AU2005289395B2 (en) Device for treating aortic dissection
JP6634657B2 (ja) ステントグラフトを展開するための装置
US20080228255A1 (en) Positionable Stent-Graft Delivery System and Method
WO2016122862A1 (en) Modular endo-aortic device and method of using the same
CN118304067A (zh) 用于支架输送的方法及装置
AU2011203524B2 (en) Prosthesis delivery systems and methods

Legal Events

Date Code Title Description
A711 Notification of change in applicant

Free format text: JAPANESE INTERMEDIATE CODE: A711

Effective date: 20080530

A521 Request for written amendment filed

Free format text: JAPANESE INTERMEDIATE CODE: A821

Effective date: 20080530

A521 Request for written amendment filed

Free format text: JAPANESE INTERMEDIATE CODE: A821

Effective date: 20090121

RD02 Notification of acceptance of power of attorney

Free format text: JAPANESE INTERMEDIATE CODE: A7422

Effective date: 20090121

A521 Request for written amendment filed

Free format text: JAPANESE INTERMEDIATE CODE: A821

Effective date: 20090203

RD04 Notification of resignation of power of attorney

Free format text: JAPANESE INTERMEDIATE CODE: A7424

Effective date: 20090203

A131 Notification of reasons for refusal

Free format text: JAPANESE INTERMEDIATE CODE: A131

Effective date: 20090909

A521 Request for written amendment filed

Free format text: JAPANESE INTERMEDIATE CODE: A523

Effective date: 20091208

A131 Notification of reasons for refusal

Free format text: JAPANESE INTERMEDIATE CODE: A131

Effective date: 20100226

A521 Request for written amendment filed

Free format text: JAPANESE INTERMEDIATE CODE: A523

Effective date: 20100413

A521 Request for written amendment filed

Free format text: JAPANESE INTERMEDIATE CODE: A821

Effective date: 20100413

TRDD Decision of grant or rejection written
A01 Written decision to grant a patent or to grant a registration (utility model)

Free format text: JAPANESE INTERMEDIATE CODE: A01

Effective date: 20100621

A01 Written decision to grant a patent or to grant a registration (utility model)

Free format text: JAPANESE INTERMEDIATE CODE: A01

A61 First payment of annual fees (during grant procedure)

Free format text: JAPANESE INTERMEDIATE CODE: A61

Effective date: 20100707

R150 Certificate of patent or registration of utility model

Free format text: JAPANESE INTERMEDIATE CODE: R150

FPAY Renewal fee payment (event date is renewal date of database)

Free format text: PAYMENT UNTIL: 20130813

Year of fee payment: 3

R250 Receipt of annual fees

Free format text: JAPANESE INTERMEDIATE CODE: R250

LAPS Cancellation because of no payment of annual fees