JP4145331B2 - Suture and endoscope - Google Patents

Suture and endoscope Download PDF

Info

Publication number
JP4145331B2
JP4145331B2 JP2006153367A JP2006153367A JP4145331B2 JP 4145331 B2 JP4145331 B2 JP 4145331B2 JP 2006153367 A JP2006153367 A JP 2006153367A JP 2006153367 A JP2006153367 A JP 2006153367A JP 4145331 B2 JP4145331 B2 JP 4145331B2
Authority
JP
Japan
Prior art keywords
suture
puncture needle
lock member
living tissue
suture thread
Prior art date
Legal status (The legal status is an assumption and is not a legal conclusion. Google has not performed a legal analysis and makes no representation as to the accuracy of the status listed.)
Expired - Fee Related
Application number
JP2006153367A
Other languages
Japanese (ja)
Other versions
JP2006239455A (en
Inventor
▲高▼康 三日市
啓太 鈴木
Current Assignee (The listed assignees may be inaccurate. Google has not performed a legal analysis and makes no representation or warranty as to the accuracy of the list.)
Olympus Corp
Original Assignee
Olympus Corp
Priority date (The priority date is an assumption and is not a legal conclusion. Google has not performed a legal analysis and makes no representation as to the accuracy of the date listed.)
Filing date
Publication date
Application filed by Olympus Corp filed Critical Olympus Corp
Priority to JP2006153367A priority Critical patent/JP4145331B2/en
Publication of JP2006239455A publication Critical patent/JP2006239455A/en
Application granted granted Critical
Publication of JP4145331B2 publication Critical patent/JP4145331B2/en
Anticipated expiration legal-status Critical
Expired - Fee Related legal-status Critical Current

Links

Images

Classifications

    • AHUMAN NECESSITIES
    • A61MEDICAL OR VETERINARY SCIENCE; HYGIENE
    • A61BDIAGNOSIS; SURGERY; IDENTIFICATION
    • A61B17/00Surgical instruments, devices or methods
    • A61B17/04Surgical instruments, devices or methods for suturing wounds; Holders or packages for needles or suture materials
    • A61B17/0401Suture anchors, buttons or pledgets, i.e. means for attaching sutures to bone, cartilage or soft tissue; Instruments for applying or removing suture anchors
    • A61B2017/0446Means for attaching and blocking the suture in the suture anchor
    • A61B2017/0448Additional elements on or within the anchor
    • A61B2017/0451Cams or wedges holding the suture by friction
    • AHUMAN NECESSITIES
    • A61MEDICAL OR VETERINARY SCIENCE; HYGIENE
    • A61BDIAGNOSIS; SURGERY; IDENTIFICATION
    • A61B17/00Surgical instruments, devices or methods
    • A61B17/04Surgical instruments, devices or methods for suturing wounds; Holders or packages for needles or suture materials
    • A61B17/0401Suture anchors, buttons or pledgets, i.e. means for attaching sutures to bone, cartilage or soft tissue; Instruments for applying or removing suture anchors
    • A61B2017/0446Means for attaching and blocking the suture in the suture anchor
    • A61B2017/0458Longitudinal through hole, e.g. suture blocked by a distal suture knot
    • AHUMAN NECESSITIES
    • A61MEDICAL OR VETERINARY SCIENCE; HYGIENE
    • A61BDIAGNOSIS; SURGERY; IDENTIFICATION
    • A61B17/00Surgical instruments, devices or methods
    • A61B17/04Surgical instruments, devices or methods for suturing wounds; Holders or packages for needles or suture materials
    • A61B17/0401Suture anchors, buttons or pledgets, i.e. means for attaching sutures to bone, cartilage or soft tissue; Instruments for applying or removing suture anchors
    • A61B2017/0464Suture anchors, buttons or pledgets, i.e. means for attaching sutures to bone, cartilage or soft tissue; Instruments for applying or removing suture anchors for soft tissue

Landscapes

  • Surgical Instruments (AREA)
  • Endoscopes (AREA)

Description

本発明は、縫合具に関する。   The present invention relates to a suture instrument.

従来、体腔内に導入し、止血などを目的として生体組織を縫合する処置器が知られている。この種の処置器は、生体組織を貫通できる穿刺針を有し、穿刺針内に縫合糸の抜け止めチップと固定具とを穿刺針の先端側から順番に収容した構成を有している(例えば、特許文献1参照)。
このような処置器では、縫合しようとする2つの生体組織を貫通したら、最初に抜け止めチップを穿刺針から押し出す。その後に、2つの生体組織から穿刺針を抜いてから固定具を穿刺針から押し出す。最後に縫合糸を引っ張って、2つの生体組織を縫合させ、固定具で止める。固定具としては、テーパ状の内腔を有する部材の内部にテーパ状の弾性締め付け部材を収容し、両者の間の摩擦力により縫合糸を固定するものが開示されている。
実開昭59―21775号公報(第3頁、第14図、第23図)
2. Description of the Related Art Conventionally, treatment devices that are introduced into a body cavity and suture a living tissue for the purpose of hemostasis and the like are known. This type of treatment device has a puncture needle that can penetrate a living tissue, and has a configuration in which a retaining tip for a suture thread and a fixing tool are sequentially accommodated in the puncture needle from the distal end side of the puncture needle ( For example, see Patent Document 1).
In such a treatment device, when the two biological tissues to be sutured are penetrated, the retaining tip is first pushed out from the puncture needle. Thereafter, the puncture needle is removed from the two biological tissues, and then the fixture is pushed out of the puncture needle. Finally, the suture is pulled to sew the two living tissues and fasten with a fixture. As a fixture, a taper-shaped elastic fastening member is accommodated in a member having a tapered lumen, and a suture is fixed by a frictional force between the two members.
Japanese Utility Model Publication No. 59-21775 (page 3, FIG. 14, FIG. 23)

本発明は、確実に生体組織を縫合させることができる縫合具を提供することを目的とする。   An object of the present invention is to provide a suturing tool capable of reliably suturing a living tissue.

上記の課題を解決する本発明の請求項1に係る発明は、縫合糸の一端に取り付けられ、生体組織に係合させられる係合部材と、前記縫合糸の他端に挿通され、前記縫合糸が貫通した生体組織に接触して前記縫合糸の抜け止めとして機能するロック部材とを備え、前記ロック部材は、互いに対向するように基部に対して傾斜させた2つの折り曲げ片を有し、前記折り曲げ片は、その対向する端部が閉じるように力が作用したときに前記端部間に通された前記縫合糸を締め付け、対向する前記端部が開くように力が作用したときに前記縫合糸の締め付けを解除するように構成され、前記ロック部材は、略中央に前記縫合糸を通す孔が形成された板状部材により形成され、該板状部材の長辺方向の両側の所定位置を折り曲げ位置として、90度以上折り曲げることによって側面視3角形を形成するように、前記基部の左右両側に前記折り曲げ片が形成され、前記孔を有する前記基部の外側面が生体組織に当接する当接面を構成することを特徴とする縫合具とした。 The invention according to claim 1 of the present invention for solving the above-described problems is an engagement member attached to one end of a suture and engaged with a living tissue, and inserted through the other end of the suture. A locking member that contacts the living tissue that has penetrated and functions as a retaining agent for the suture, and the locking member has two bent pieces that are inclined with respect to the base so as to face each other, The folded piece tightens the suture thread passed between the ends when a force is applied so that the opposite ends are closed, and the suture is applied when the force is applied so that the opposite ends are opened. The lock member is configured to release the tightening of the thread, and the lock member is formed of a plate-like member having a hole through which the suture thread is formed at a substantially center, and has a predetermined position on both sides in the long side direction of the plate-like member. 90 degrees or more as the bending position So as to form a side view triangle by bending Ri, wherein bent pieces on the left and right sides of the base portion is formed, that the outer surface of the base having the holes constitutes an abutment surface which abuts the body tissue A characteristic suture tool was obtained.

請求項2に係る発明は、請求項1に記載の縫合具において、前記ロック部材は、その外形が前記係合部材より大きいことを特徴とする。   According to a second aspect of the present invention, in the suturing device according to the first aspect, the outer shape of the lock member is larger than that of the engagement member.

請求項3に係る発明は、請求項1または請求項2の縫合具において、前記ロック部材が一部材で構成されていることを特徴とする。
請求項4に係る発明は、鉗子チャンネルに挿入されて使用される請求項1から請求項3のいずれか1項に記載の縫合具を備えることを特徴とする内視鏡とした。
According to a third aspect of the present invention, in the suturing device according to the first or second aspect, the lock member is constituted by a single member.
The invention according to claim 4 is an endoscope comprising the suturing tool according to any one of claims 1 to 3 which is used by being inserted into a forceps channel.

本発明によれば、縫合糸が折り曲げ片から基部に向かう向きに移動しようとすると端部が閉じて締め付けるように作用するので、生体組織が離れる方向にロック部材が移動しなくなり、縫合させた2つの生体組織が離れることがなく
なる。
According to the present invention, when the suture thread moves in the direction from the bent piece toward the base portion, the end portion closes and tightens, so that the lock member does not move in the direction in which the biological tissue is separated, and is sewn. One living tissue will not leave.

本発明の実施形態について図面を参照しながら詳細に説明する。図1は本実施形態における縫合器を含む内視鏡治療装置の概略図である。図2は縫合器の挿入部を示す断面図であり、図3は縫合器の手元操作部を主に示す断面図である。   Embodiments of the present invention will be described in detail with reference to the drawings. FIG. 1 is a schematic view of an endoscopic treatment apparatus including a suture instrument in the present embodiment. FIG. 2 is a cross-sectional view showing an insertion portion of the suturing device, and FIG. 3 is a cross-sectional view mainly showing a hand operation portion of the suturing device.

図1に示すように、本実施形態の縫合器1は、内視鏡治療装置2の鉗子チャンネル3に挿入されて用いられる。内視鏡治療装置2は、縫合器1を内挿した内視鏡4と、縫合器1に流体である空気などの気体を供給する流体供給手段であるエアポンプ7とからなる。さらに、内視鏡4は、体腔内に導入され、その先端に鉗子チャンネル3、照明やカメラのレンズなどを有する導入部5と、導入部5を体腔外から操作する操作部6とからなる。   As shown in FIG. 1, the suturing device 1 of the present embodiment is used by being inserted into a forceps channel 3 of an endoscope treatment apparatus 2. The endoscope treatment apparatus 2 includes an endoscope 4 in which the suturing device 1 is inserted, and an air pump 7 that is a fluid supply unit that supplies a gas such as air as a fluid to the suturing device 1. Furthermore, the endoscope 4 includes an introduction unit 5 that is introduced into a body cavity and has a forceps channel 3 at the tip thereof, a lens for illumination and a camera, and an operation unit 6 that operates the introduction unit 5 from outside the body cavity.

図2および図3に示すように縫合器1は、体腔内に挿入される軟性の挿入部10と、体腔外で施術者の操作を受け付ける手元操作部20とを有し、その内部に押出部材31,32を挿通させた構成になっている。   As shown in FIGS. 2 and 3, the suturing device 1 has a flexible insertion portion 10 that is inserted into a body cavity and a hand operation portion 20 that receives the operation of a practitioner outside the body cavity. 31 and 32 are inserted.

挿入部10は、可撓管である外側シース11と、外側シース11に進退可能に収容された内側シース12と、内側シース12の先端に取り付けられた穿刺針13とを有する。穿刺針13は、先端を鋭角に傾斜させて鋭利な尖部とし、生体組織への穿通を容易にしている。また、穿刺針13は、先端の尖部に開口14を有する中空形状をなし、この内腔に縫合糸15に取り付けられた係合部材16およびロック部材17を収容している。   The insertion portion 10 includes an outer sheath 11 that is a flexible tube, an inner sheath 12 that is accommodated in the outer sheath 11 so as to be able to advance and retreat, and a puncture needle 13 that is attached to the distal end of the inner sheath 12. The puncture needle 13 has a sharp tip formed by inclining the tip at an acute angle to facilitate penetration into the living tissue. The puncture needle 13 has a hollow shape having an opening 14 at the tip of the tip, and accommodates an engagement member 16 and a lock member 17 attached to the suture thread 15 in this lumen.

図2および図4(a)に示すように係合部材16は、円柱形状の部材からなり、その長手方向の中央付近に生体組織を挿通する縫合糸15の一端が係止されている。縫合時に係合部材16は、長手方向の広い面積で生体組織に当接し、係合させられて、縫合糸15が生体組織から抜け落ちることを防止する。このような形状および機能から、係合部材16は、T状アンカーまたはTバーと呼ばれることもある。   As shown in FIGS. 2 and 4A, the engaging member 16 is formed of a cylindrical member, and one end of the suture thread 15 that passes through the living tissue is locked near the center in the longitudinal direction. At the time of suturing, the engaging member 16 abuts on and is engaged with the living tissue over a wide area in the longitudinal direction, and prevents the suture thread 15 from falling out of the living tissue. Because of this shape and function, the engaging member 16 is sometimes called a T-shaped anchor or T-bar.

ロック部材17は、縫合後の縫合糸15の抜け止めとして機能するもので、基部50に対して所定の角度を持って対向するように立ち上がる2つの折り曲げ片51,52を有し、係合部材16から引き出された縫合糸15の他端を基部50の孔50aと、折り曲げ片51,52との間に通すようになっている。図4(a)の斜視図、および図4(b)の展開図に示すように、ロック部材17は、板状部材の中央に縫合糸を通す孔50aを形成すると共に、板状部材の長辺方向の所定位置に設けた折り曲げ線53,54を折り曲げ位置として、端部を同じ方向に曲げて折り曲げ片51,52とし、孔50aを有する部分を生体組織に当接する当接面を有する基部50としている。折り曲げ片51の端部51aと、折り曲げ片52の端部52aとの間の距離は、縫合糸15がない状態で互いに接触するか、縫合糸15の直径以下になるようにする。   The lock member 17 functions as a retainer for the suture thread 15 after stitching, and has two bent pieces 51 and 52 that rise so as to face the base portion 50 at a predetermined angle. The other end of the suture thread 15 drawn out from 16 is passed between the hole 50 a of the base portion 50 and the bent pieces 51 and 52. As shown in the perspective view of FIG. 4A and the developed view of FIG. 4B, the lock member 17 forms a hole 50a through which a suture thread passes in the center of the plate-like member, and the length of the plate-like member. Bending lines 53 and 54 provided at predetermined positions in the side direction are bent positions, the end portions are bent in the same direction to form bent pieces 51 and 52, and a base portion having a contact surface that comes into contact with a living tissue at a portion having a hole 50a 50. The distance between the end portion 51a of the bent piece 51 and the end portion 52a of the bent piece 52 is set to be in contact with each other without the suture 15 or to be equal to or less than the diameter of the suture 15.

図4(a)のA−A線断面図である図4(c)に示すように、端部51aと端部52aとの間を引き離すようにして、基部50から端部51a,52aに向かって縫合糸15の他端を通すと、折り曲げ片51,52には互いに近接しようとする力が発生する。したがって、縫合糸15が基部50の方向d1に引っ張られると、端部51a,52aも方向d1に移動して、端部51a,52a間の距離が縮まり、縫合糸15を締め付けてロックし、縫合糸15の移動を防止する。つまり、ロック部材17は、係合部材16とロック部材17とを引き離す力が縫合糸15に働いた場合には、端部51aと端部52aを閉じるように移動させ、縫合糸15の動きをロックするように作用する。言い換えると、ロック部材17と係合部材16とで挟み込む縫合対象がロック部材17を縫合糸15の他端の方向d2に押そうとしても、端部51a,52aが縫合糸15を締め付けて縫合糸15に対するロック部材17の位置をロックするので、ロック部材17が方向d2に移動させられることはない。   As shown in FIG. 4C, which is a cross-sectional view taken along the line AA of FIG. 4A, the end portion 51a and the end portion 52a are separated from each other so that the base portion 50 faces the end portions 51a and 52a. When the other end of the suture thread 15 is passed through, the bending pieces 51 and 52 generate forces to approach each other. Therefore, when the suture thread 15 is pulled in the direction d1 of the base portion 50, the end portions 51a and 52a are also moved in the direction d1, the distance between the end portions 51a and 52a is reduced, and the suture thread 15 is tightened and locked. The movement of the thread 15 is prevented. That is, when the force that separates the engagement member 16 and the lock member 17 is applied to the suture thread 15, the lock member 17 moves the end part 51 a and the end part 52 a so as to close the movement of the suture thread 15. Acts to lock. In other words, even if the suture target sandwiched between the lock member 17 and the engagement member 16 tries to push the lock member 17 in the direction d2 of the other end of the suture thread 15, the end portions 51a and 52a tighten the suture thread 15 and the suture thread. Since the position of the lock member 17 with respect to 15 is locked, the lock member 17 is not moved in the direction d2.

一方、基部50と反対の方向d2に縫合糸15が引っ張られると、端部51a,52aも方向d2(互いに引き離される方向)に移動させられるので、縫合糸15の締め付けを解除する。つまり、係合部材16とロック部材17とを近付ける方向には縫合糸15の移動を許容するように作用する。言い換えると、縫合対象にロック部材17を押し付けるとき、つまりロック部材17を縫合糸15の一端の方向d1に移動させるときには、端部51aと端部52aとの間が開いて縫合糸15への端部51a,52aの締め付けが解除されるので、ロック部材17を方向d1に移動させることができる。   On the other hand, when the suture thread 15 is pulled in the direction d2 opposite to the base portion 50, the end portions 51a and 52a are also moved in the direction d2 (the direction in which they are separated from each other), so that the tightening of the suture thread 15 is released. That is, it acts to allow the suture 15 to move in the direction in which the engagement member 16 and the lock member 17 are brought closer. In other words, when the lock member 17 is pressed against the object to be sutured, that is, when the lock member 17 is moved in the direction d1 of one end of the suture 15, the end between the end 51 a and the end 52 a is opened. Since the tightening of the portions 51a and 52a is released, the lock member 17 can be moved in the direction d1.

また、このロック部材17は、折り曲げ片51,52から延設されて、縫合糸15を中央に安定して保持するためのガイド片55,56が設けられている。ガイド片55,56は、図4(b)の板材の短辺の中点から長辺の延長線上に斜めに延びる傾斜した端部55a,56aを備える三角形状を有している。ガイド片55とガイド片56とは、孔50aを中心として点対称となる位置に形成されているので、図4(a)のように折り曲げ片51,52を近接するように折り曲げても干渉することはない。傾斜する端部55a,55bは、縫合糸15をロック部材17の中央部分に安定して位置するようにガイドするので、縫合処置中に縫合糸15が折り曲げ片51,52の間から抜けることがなくなる。   Further, the lock member 17 is provided with guide pieces 55 and 56 that extend from the bent pieces 51 and 52 and stably hold the suture 15 in the center. The guide pieces 55 and 56 have a triangular shape including inclined end portions 55a and 56a that extend obliquely from the midpoint of the short side of the plate material of FIG. Since the guide piece 55 and the guide piece 56 are formed in a point-symmetrical position with the hole 50a as the center, they interfere even if the bent pieces 51 and 52 are bent close to each other as shown in FIG. There is nothing. The inclined end portions 55a and 55b guide the suture 15 so as to be stably positioned at the central portion of the lock member 17, so that the suture 15 may come off between the bent pieces 51 and 52 during the suturing procedure. Disappear.

本実施形態では、係合部材16よりも穿刺針13の先端側にロック部材17を配置することで、係合部材16よりも大きい外形を有するロック部材17を用いることが可能になっている。また、穿刺針13の長さ方向(軸方向)と平行になるようにロック部材17の基部50を配置するので、穿刺針13の限られた収容スペースの中でも、生体組織と接触する基部50の面積、つまり当接面の面積を最大限に確保できるようになっている。   In the present embodiment, the lock member 17 having a larger outer shape than the engagement member 16 can be used by disposing the lock member 17 on the distal end side of the puncture needle 13 with respect to the engagement member 16. In addition, since the base portion 50 of the lock member 17 is arranged so as to be parallel to the length direction (axial direction) of the puncture needle 13, the base portion 50 that comes into contact with the living tissue is limited in the limited accommodation space of the puncture needle 13. The area, that is, the area of the contact surface can be secured to the maximum.

縫合糸15は、一端が係合部材16に固定されており、他端は末端処理として玉形状に結ばれている。端末処理は、ロック部材17を摺動可能に挿通した後に施され、ロック部材17の抜け落ちを防止する役割や、他の鉗子による把持を容易にする役割を担う。端末処理の他の例としては、縫合糸15の端部をリング状に結んだり、端部を溶かして塊状にしたりすることがあげられる。   One end of the suture thread 15 is fixed to the engaging member 16, and the other end is tied into a ball shape as a terminal treatment. The terminal processing is performed after the lock member 17 is slidably inserted, and plays a role of preventing the lock member 17 from falling off and facilitating gripping by other forceps. Other examples of terminal processing include tying the ends of the suture 15 in a ring shape, or melting the ends to form a lump.

係合部材16およびロック部材17を穿刺針13から押し出す押出部材は、図2および図3に示すようにロック部材17を係合部材16よりも先に押し出す第一押出部材31と、係合部材16を押し出す第二押出部材32とからなり、共に手元操作部20側から内側シース12または穿刺針13に至るまで挿入されている。第一押出部材31は、穿刺針13の内径よりも小さい外径を有するパイプからなり、その内部に第二押出部材32および係合部材16を摺動可能に収容する。このため、その先端部分に係合部材16に取り付けられた縫合糸15を引き出すスリット31aが設けられている。なお、穿刺針12の内壁と第一押出部材31との間には、気体の通流を可能にする程度のクリアランスを設けることが望ましい。   The pushing member that pushes the engaging member 16 and the locking member 17 out of the puncture needle 13 includes a first pushing member 31 that pushes the locking member 17 before the engaging member 16 as shown in FIGS. The second push-out member 32 that pushes out 16 is inserted into the inner sheath 12 or the puncture needle 13 from the hand operation unit 20 side. The first pushing member 31 is made of a pipe having an outer diameter smaller than the inner diameter of the puncture needle 13, and the second pushing member 32 and the engaging member 16 are slidably accommodated therein. For this purpose, a slit 31a for pulling out the suture thread 15 attached to the engaging member 16 is provided at the tip portion. In addition, it is desirable to provide clearance between the inner wall of the puncture needle 12 and the first pusher member 31 so as to allow gas flow.

図3に示す手元操作部20は、外側シース11に接続される保持部材21と、内側シース12に接続されて、穿刺針13を進退させる操作を行うために使用する穿刺針操作部22と、第一押出部材31の端部に取り付けられ、施術者が指を掛けるリングを備える押出部材ハンドル23と、第二押出部材32の端部に取り付けられた押出部材ノブ24とからなる。   3 includes a holding member 21 connected to the outer sheath 11, a puncture needle operation unit 22 connected to the inner sheath 12, and used for performing an operation of moving the puncture needle 13 back and forth. The push-out member handle 23 includes a ring attached to the end of the first push-out member 31 and on which the practitioner places a finger, and the push-out member knob 24 attached to the end of the second push-out member 32.

穿刺針操作部22は、有底円筒形状を有し、その底部に相当する端部22aに術者が指を掛ける溝が形成されたノブ26を備え、開放された端部22bは内側シース12に接続されている。端部22aと端部22bとの間の側面には、穿刺針操作部22内に形成される空隙部分28に気体を導入する際に使用する流体導入部である送気ポート25を有する。この穿刺針操作部22には、第一押出部材31および第二押出部材32が端部22bから端部22aの開口22cへと貫通するように通されている。開口22cと第一押出部材31との間の気密はパッキン27により保持されているので、穿刺針操作部22内の空隙部分28から気体が流出することはない。穿刺針操作部22を保持部材21に対して相対的に進退させることで、体腔内で穿刺針13を外側シース11に対して進退させることができる。   The puncture needle operation unit 22 has a bottomed cylindrical shape, and includes a knob 26 in which a groove on which an operator puts a finger is formed at an end 22a corresponding to the bottom, and the opened end 22b is the inner sheath 12. It is connected to the. On the side surface between the end portion 22a and the end portion 22b, there is an air supply port 25 which is a fluid introduction portion used when introducing gas into the gap portion 28 formed in the puncture needle operation portion 22. The first pushing member 31 and the second pushing member 32 are passed through the puncture needle operation unit 22 so as to penetrate from the end 22b to the opening 22c of the end 22a. Since the airtightness between the opening 22 c and the first pushing member 31 is held by the packing 27, the gas does not flow out from the gap portion 28 in the puncture needle operation unit 22. By moving the puncture needle operation unit 22 relative to the holding member 21, the puncture needle 13 can be moved back and forth with respect to the outer sheath 11 within the body cavity.

押出部材ハンドル23は、操作保持部22から引き出された第一押出部材31の外周に取り付けられている。押出部材ハンドル23を穿刺針操作部22に向かって押し込むと、穿刺針13からロック部材17を押し出すことができる。
押出部材ノブ24は、第一押出部材31の端部31bから引き出された第二押出部材32の端部32bに取り付けられている。押出部材ノブ24を押出部材ハンドル23および穿刺針操作部22に向かって押し込むと、穿刺針13から係合部材16を押し出すことができる。
The pushing member handle 23 is attached to the outer periphery of the first pushing member 31 drawn from the operation holding unit 22. When the push-out member handle 23 is pushed toward the puncture needle operation unit 22, the lock member 17 can be pushed out from the puncture needle 13.
The pushing member knob 24 is attached to the end portion 32 b of the second pushing member 32 drawn from the end portion 31 b of the first pushing member 31. When the pushing member knob 24 is pushed toward the pushing member handle 23 and the puncture needle operation unit 22, the engaging member 16 can be pushed out from the puncture needle 13.

送気ポート25に気体を供給する送気機構について図1を用いて説明する。送気機構は、大気を吸引し、所定の圧力で吐出するエアポンプ7を有し、エアポンプ7の吐出側に、送気と排気とを選択する電磁弁8aと、送気する気体の流量を調整する流量調整弁8bと、実際に供給される気体の流量をモニタする流量計8cとをこの順番に配管で接続し、CPU(Central Processing Unit)9で必要な制御を行う構成になっている。CPU9は、送気開始や送気停止を切り替えるフットスイッチまたはハンドスイッチからの命令信号を受け付けたり、流量計8cをモニタしたりしながら、電磁弁8aの切り替えと流量調整弁8bの開度調整とを行う。なお、流量計8cと送気ポート25との間も配管で接続されている。   An air supply mechanism for supplying gas to the air supply port 25 will be described with reference to FIG. The air supply mechanism has an air pump 7 that sucks the atmosphere and discharges it at a predetermined pressure. On the discharge side of the air pump 7, an electromagnetic valve 8a that selects air supply and exhaust, and the flow rate of the gas to be supplied are adjusted. The flow rate adjusting valve 8b and the flow meter 8c for monitoring the flow rate of the actually supplied gas are connected by piping in this order, and the CPU (Central Processing Unit) 9 performs necessary control. The CPU 9 accepts a command signal from a foot switch or hand switch for switching air supply start and air supply stop, and monitors the flow meter 8c while switching the electromagnetic valve 8a and adjusting the opening of the flow rate adjustment valve 8b. I do. The flow meter 8c and the air supply port 25 are also connected by piping.

次に、この縫合器1で、器官などの組織を縫合する手順について図1から図3、および図5、図6、図7を適宜参照して説明する。なお、図5および図6は、縫合手順とそのときの押出部材の位置を説明する図であり、図7は縫合手順の説明図である。   Next, a procedure for suturing a tissue such as an organ with the suturing device 1 will be described with reference to FIGS. 1 to 3 and FIGS. 5, 6, and 7 as appropriate. 5 and 6 are diagrams for explaining the suturing procedure and the position of the pushing member at that time, and FIG. 7 is an explanatory diagram of the suturing procedure.

まず、図1の軟性内視鏡2と共に、図2に示す縫合器1の挿入部10を体腔内に導入する。このとき、手元操作部20の穿刺針操作部22は、保持部材21から所定量だけ引き出されているので、穿刺針13は、外側シース11内に収容されている。押出部材ハンドル23は、穿刺針操作部22から所定量だけ引き出されているので、第一押出部材31は、係合部材16を収容した状態でロック部材17を押圧しない位置まで後退している。押出部材ノブ24は、押出部材ハンドル23から所定量だけ引き出されているので、第二押出部材32は、第一押出部材32内で係合部材16を押圧しない位置まで後退している。   First, together with the flexible endoscope 2 of FIG. 1, the insertion portion 10 of the suturing device 1 shown in FIG. 2 is introduced into the body cavity. At this time, since the puncture needle operation unit 22 of the hand operation unit 20 is pulled out from the holding member 21 by a predetermined amount, the puncture needle 13 is accommodated in the outer sheath 11. Since the pushing member handle 23 is pulled out from the puncture needle operation unit 22 by a predetermined amount, the first pushing member 31 is retracted to a position where the locking member 17 is not pressed while the engaging member 16 is accommodated. Since the pushing member knob 24 is pulled out from the pushing member handle 23 by a predetermined amount, the second pushing member 32 is moved back to a position where the engaging member 16 is not pressed in the first pushing member 32.

この状態から外側シース11の先端部を縫合させる生体組織に臨む位置まで移動させてから、穿刺針操作部材22を保持部材21に向けて所定量だけ押し込んで、穿刺針13を外側シース11から露出させる。そして、図示しないフットスイッチまたはハンドスイッチをオンして、図1に示すエアポンプ7が吐出する気体を送気ポート25に導く。送気ポート25に導かれた気体は、図3に示す穿刺針操作部材22の空隙部分28を経て挿入部10の内側シース12に導入される。そして、第一押出部材31と内側シース12および穿刺針13との間、ロック部材17と穿刺針13と間のクリアランスを通って、穿刺針13の先端の開口14から噴き出す。なお、ロック部材17は、穿刺針13の長さ方向と直交する方向において穿刺針13の内壁に当接しているので、気体の通流時にロック部材17が穿刺針13から脱落することはない。   From this state, the distal end portion of the outer sheath 11 is moved to a position facing the living tissue to be sutured, and then the puncture needle operation member 22 is pushed toward the holding member 21 by a predetermined amount to expose the puncture needle 13 from the outer sheath 11. Let Then, a foot switch or a hand switch (not shown) is turned on to guide the gas discharged from the air pump 7 shown in FIG. The gas guided to the air supply port 25 is introduced into the inner sheath 12 of the insertion portion 10 through the gap portion 28 of the puncture needle operation member 22 shown in FIG. Then, the air is ejected from the opening 14 at the tip of the puncture needle 13 through the clearance between the first pusher member 31 and the inner sheath 12 and the puncture needle 13 and between the lock member 17 and the puncture needle 13. In addition, since the lock member 17 is in contact with the inner wall of the puncture needle 13 in a direction orthogonal to the length direction of the puncture needle 13, the lock member 17 does not fall off the puncture needle 13 when gas flows.

さらに、穿刺針操作部材22を押し込むと、先端から気体を噴き出しながら、穿刺針13が器官の生体組織を穿通する。器官は、穿刺針13から気体が供給されて膨らむ。所定量の気体を供給して、器官が処置に必要な程度膨らんだと判断したら、図示しないフットスイッチまたはハンドスイッチをオフして、送気ポート25への気体の供給を停止する。   Further, when the puncture needle operation member 22 is pushed in, the puncture needle 13 penetrates the biological tissue of the organ while ejecting gas from the tip. The organ swells when gas is supplied from the puncture needle 13. When a predetermined amount of gas is supplied and it is determined that the organ has expanded to the extent necessary for the treatment, a foot switch or a hand switch (not shown) is turned off to stop supplying gas to the air supply port 25.

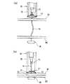
器官を膨らませた状態で、図3に示す押出部材ハンドル23を穿刺針操作部材22に向けて押し込むと、図5(b)に示すように第一押出部材31の先端が、ロック部材17を押圧して、穿刺針13の開口14からロック部材17を押し出す。図5(a)に示すようにロック部材17が縫合対象となる生体組織B1側に押し出されるので、穿刺針操作部材22を保持部材21から引き出すと、穿刺針13が後退して、生体組織B1から穿刺針13が抜ける。これにより、縫合糸15が生体組織B1を貫通すると共に、ロック部材17が生体組織B1に留置される。ロック部材17の基部50の中央に縫合糸15が通っているので、縫合糸15が引っ張られると基部50が生体組織B1に当接することになる。   When the push-out member handle 23 shown in FIG. 3 is pushed toward the puncture needle operation member 22 with the organ inflated, the tip of the first push-out member 31 presses the lock member 17 as shown in FIG. Then, the lock member 17 is pushed out from the opening 14 of the puncture needle 13. As shown in FIG. 5A, since the lock member 17 is pushed out to the living tissue B1 to be sutured, when the puncture needle operating member 22 is pulled out from the holding member 21, the puncture needle 13 is retracted and the biological tissue B1 is pulled out. The puncture needle 13 is pulled out from. Thereby, the suture thread 15 penetrates the living tissue B1, and the lock member 17 is left in the living tissue B1. Since the suture thread 15 passes through the center of the base portion 50 of the lock member 17, the base portion 50 comes into contact with the living tissue B1 when the suture thread 15 is pulled.

次に、図示しない操作手段で、縫合器1を生体組織B2に臨む位置に移動させてから、穿刺針操作部材22を保持部材21に対して押し込んで、穿刺針13の先端から気体を噴き出させながら、図6(a)のように穿刺針13を生体組織B2に穿通させる。ここで、押出部材ノブ24(図3参照)を押出部材ハンドル23に向けて押し込むと、図6(b)に示すように第一押出部材31の先端よりも第二押出部材32が突出し、第一押出部材31内に収容されていた係合部材16を穿刺針13から押し出す。この後は、穿刺針操作部材22を引き戻して穿刺針13を生体組織B2から引き抜く。   Next, after the suturing device 1 is moved to a position facing the living tissue B2 by an operating means (not shown), the puncture needle operation member 22 is pushed into the holding member 21, and gas is ejected from the tip of the puncture needle 13. The puncture needle 13 is pierced through the living tissue B2 as shown in FIG. Here, when the pushing member knob 24 (see FIG. 3) is pushed toward the pushing member handle 23, the second pushing member 32 protrudes from the tip of the first pushing member 31 as shown in FIG. The engaging member 16 accommodated in the one extruding member 31 is pushed out from the puncture needle 13. Thereafter, the puncture needle operating member 22 is pulled back and the puncture needle 13 is pulled out from the living tissue B2.

これにより、図7(a)に示すように、縫合糸15が生体組織B2を貫通すると共に、係合部材16が生体組織B2に留置される。そして、鉗子71をシース72内に備えた他の処置器70でロック部材17から延びる縫合糸15を把持し、シース72の先端でロック部材17を基部50が生体組織B1に当接するように押さえつけながら、ロック部材17から縫合糸15を引き抜くようにして引っ張る。この方向は、前記したように端部51a,52aを開く方向であるので、ロック部材17は、縫合糸15の動きを許容する。したがって、縫合糸15に繋がっている係合部材16が引っ張られ、係合部材16が当接する生体組織B2が生体組織B1側に引っ張れ、図7(b)に示すように、生体組織B1と生体組織B2とが縫合される。このときに、ロック部材17は、生体組織B1と広い接触面積を有するので、確実なアンカー効果を発現し、ロック部材17が生体組織B1に食い込むことはない。また、前記したように、このロック部材17は、縫合糸15が折り曲げ片51,52から基部50に向かう向きに移動しようとすると端部51a,52aを閉じて締め付けるように作用する。したがって、生体組織B1と生体組織B2とが離れる方向には移動しないし、縫合糸15を移動させないので、縫合させた2つの生体組織B1,B2が離れることはない。   Thereby, as shown in FIG. 7A, the suture thread 15 penetrates the living tissue B2, and the engaging member 16 is left in the living tissue B2. Then, the suture thread 15 extending from the lock member 17 is held by another treatment instrument 70 having the forceps 71 in the sheath 72, and the lock member 17 is pressed by the distal end of the sheath 72 so that the base 50 abuts on the biological tissue B1. However, the suture thread 15 is pulled out from the lock member 17. Since this direction is a direction in which the end portions 51 a and 52 a are opened as described above, the lock member 17 allows the suture 15 to move. Accordingly, the engaging member 16 connected to the suture thread 15 is pulled, and the living tissue B2 with which the engaging member 16 abuts is pulled to the living tissue B1 side, and as shown in FIG. The tissue B2 is sutured. At this time, since the lock member 17 has a wide contact area with the living tissue B1, a positive anchor effect is exhibited and the locking member 17 does not bite into the living tissue B1. Further, as described above, the lock member 17 acts to close and tighten the end portions 51a and 52a when the suture thread 15 is about to move from the bent pieces 51 and 52 toward the base portion 50. Therefore, the biological tissue B1 and the biological tissue B2 do not move in the direction in which they are separated from each other, and the suture thread 15 is not moved, so that the two biological tissues B1 and B2 that are sutured are not separated.

なお、本発明は前記の各実施形態に限定されずに広く応用することが可能である。
例えば、ロック部材17は、図8に示す形状であっても良-い。図8(a),(b)に示すロック部材81は、長方形状の部材の短辺方向を同じ折り曲げて、折り曲げ片82,83を形成している。近接させた折り曲げ片82の端部と折り曲げ片83の端部との間に、折り曲げ片82,83の折り曲げ位置から端部に向かう方向に縫合糸15を通すことで、前記と同様に縫合糸15の締め付けや、締め付けの解除といったロック機能を実現する。この場合は細長形状を有し、最も面積の大きい基部84が生体組織に当接する接触面となる。
The present invention is not limited to the above embodiments and can be widely applied.
For example, the lock member 17 may have the shape shown in FIG. A lock member 81 shown in FIGS. 8A and 8B is formed by bending the short sides of a rectangular member in the same manner to form bent pieces 82 and 83. The suture thread 15 is passed between the end portion of the bent piece 82 and the end portion of the bent piece 83 which are brought close to each other in the direction from the bent position of the bent pieces 82 and 83 toward the end portion. The lock function such as 15 tightening and releasing the tightening is realized. In this case, the base 84 having an elongated shape and having the largest area is a contact surface that comes into contact with the living tissue.

また、図9(a),(b)に示すロック部材91は、断面が円弧状の細長の部材の中央に縫合糸15を通す孔92を設け、長辺と直交する端部を孔92の方に折り曲げて折り曲げ片93,94を形成している。このロック部材91も、近接する折り曲げ片93の端部と折り曲げ片94の端部の間に、折り曲げ片93,94の折り曲げ位置から端部に向かう方向に縫合糸15を通すことで、前記と同様にロック機能を実現する。このロック部材91は、孔92と対向する面が基部、つまり生体組織に当接する接触面となる。   9A and 9B, a lock member 91 shown in FIGS. 9A and 9B is provided with a hole 92 through which the suture thread 15 is passed at the center of an elongated member having an arcuate cross section, and an end portion orthogonal to the long side is formed in the hole 92. The bent pieces 93 and 94 are formed by bending in the direction. The lock member 91 also passes the suture thread 15 between the end of the bent piece 93 and the end of the bent piece 94 in the direction from the bent position of the bent pieces 93, 94 toward the end, thereby Similarly, the lock function is realized. The surface of the lock member 91 that faces the hole 92 is a base, that is, a contact surface that contacts the living tissue.

図10のロック部材101は、細長形状の板材の中央部分にH形状の切り込みを入れて折り曲げ片102,103を切り起こした形状を有する。前記のような孔は有しないが、近接するように傾斜させた折り曲げ片102の端部と、折り曲げ片103の端部との間に、折り曲げ片102,103の折り曲げ位置から端部に向かう方向に縫合糸15を通すことで、前記と同様にロック機能を実現する。
このロック部材101は、折り曲げ片102,103を除く部分が基部として生体組織に当接する接触面となる。なお、図8から図10に示した各ロック部材81,91,101も、接触面が穿刺針13の軸方向と平行になるようにその内腔に収容される。また、係合部材16よりも穿刺針13の先端側に配置される。
The lock member 101 in FIG. 10 has a shape obtained by cutting and raising the bent pieces 102 and 103 by making an H-shaped cut in the center of the elongated plate. A direction from the bent position of the bent pieces 102 and 103 toward the end between the end of the bent piece 102 and the end of the bent piece 103, which does not have such a hole but is inclined so as to be close to each other. By passing the suture thread 15 therethrough, a locking function is realized as described above.
In the lock member 101, a portion excluding the bent pieces 102 and 103 serves as a contact surface that contacts the living tissue as a base. The lock members 81, 91, 101 shown in FIGS. 8 to 10 are also accommodated in the lumens so that the contact surfaces are parallel to the axial direction of the puncture needle 13. In addition, it is arranged closer to the distal end side of the puncture needle 13 than the engaging member 16.

また、穿刺針13の先端から噴き出させる流体は、空気やその他の気体であっても良いが、生理食塩水などの液体であっても良い。   The fluid ejected from the tip of the puncture needle 13 may be air or other gas, but may be a liquid such as physiological saline.

本発明の縫合器を含む内視鏡治療装置の概略図である。It is the schematic of the endoscopic treatment apparatus containing the suturing device of this invention. 縫合器の挿入部の構成を示す断面図である。It is sectional drawing which shows the structure of the insertion part of a suturing device. 縫合器の手元操作部の構成を主に示す断面図である。It is sectional drawing which mainly shows the structure of the hand operation part of a suturing device. ロック部材を示す図であり、(a)斜視図、(b)展開図、(c)断面図である。It is a figure which shows a locking member, (a) A perspective view, (b) An expanded view, (c) It is sectional drawing. (a)縫合処置を説明する図、(b)押出部材の位置を説明する図である。(A) A figure explaining a suturing treatment, (b) A figure explaining a position of an extrusion member. (a)縫合処置を説明する図、(b)押出部材の位置を説明する図である。(A) A figure explaining a suturing treatment, (b) A figure explaining a position of an extrusion member. 縫合処置を説明する図である。It is a figure explaining a suture treatment. ロック部材を示す図であり、(a)正面図、(b)斜視図である。It is a figure which shows a locking member, (a) Front view, (b) It is a perspective view. ロック部材を示す図であり、(a)正面図、(b)斜視図である。It is a figure which shows a locking member, (a) Front view, (b) It is a perspective view. ロック部材の斜視図である。It is a perspective view of a locking member.

符号の説明Explanation of symbols

15 縫合糸
16 係合部材
17 ロック部材
50 基部
51 折り曲げ片
51a 端部
52 折り曲げ片
52a 端部

15 Suture 16 Engagement member 17 Lock member 50 Base 51 Bending piece 51a End 52 Bending piece 52a End

Claims (4)

縫合糸の一端に取り付けられ、生体組織に係合させられる係合部材と、前記縫合糸の他端に挿通され、前記縫合糸が貫通した生体組織に接触して前記縫合糸の抜け止めとして機能するロック部材とを備え、
前記ロック部材は、互いに対向するように基部に対して傾斜させた2つの折り曲げ片を有し、前記折り曲げ片は、その対向する端部が閉じるように力が作用したときに前記端部間に通された前記縫合糸を締め付け、対向する前記端部が開くように力が作用したときに前記縫合糸の締め付けを解除するように構成され
前記ロック部材は、略中央に前記縫合糸を通す孔が形成された板状部材により形成され、該板状部材の長辺方向の両側の所定位置を折り曲げ位置として、90度以上折り曲げることによって側面視3角形を形成するように、前記基部の左右両側に前記折り曲げ片が形成され、
前記孔を有する前記基部の外側面が生体組織に当接する当接面を構成することを特徴とする縫合具。
An engagement member attached to one end of the suture and engaged with the biological tissue, and inserted into the other end of the suture, and functions as a stopper for the suture to come into contact with the biological tissue penetrated by the suture. And a locking member
The lock member has two bent pieces that are inclined with respect to the base so as to face each other, and the bent pieces are placed between the ends when a force is applied to close the opposite ends. It is configured to tighten the passed suture and to release the tightening of the suture when a force is applied so that the opposite ends are opened .
The lock member is formed by a plate-like member having a hole through which the suture thread is passed at a substantially center, and is bent by 90 degrees or more with a predetermined position on both sides in the long side direction of the plate-like member as a bending position. The bent pieces are formed on the left and right sides of the base so as to form a triangular view,
A suturing tool, wherein an outer surface of the base having the hole constitutes a contact surface that contacts a living tissue .
前記ロック部材は、その外形が前記係合部材より大きいことを特徴とする請求項1に記載の縫合具。   The suture tool according to claim 1, wherein the lock member has an outer shape larger than that of the engagement member. 前記ロック部材が一部材で構成されていることを特徴とする請求項1または請求項2に記載の縫合具。  The suturing tool according to claim 1 or 2, wherein the lock member is formed of a single member. 鉗子チャンネルに挿入されて使用される請求項1から請求項3のいずれか1項に記載の縫合具を備えることを特徴とする内視鏡。 An endoscope comprising: a suture tool according to any one of claims 1 to 3, which is used by being inserted into the forceps channel.
JP2006153367A 2006-06-01 2006-06-01 Suture and endoscope Expired - Fee Related JP4145331B2 (en)

Priority Applications (1)

Application Number Priority Date Filing Date Title
JP2006153367A JP4145331B2 (en) 2006-06-01 2006-06-01 Suture and endoscope

Applications Claiming Priority (1)

Application Number Priority Date Filing Date Title
JP2006153367A JP4145331B2 (en) 2006-06-01 2006-06-01 Suture and endoscope

Related Parent Applications (1)

Application Number Title Priority Date Filing Date
JP2003162009A Division JP4166632B2 (en) 2003-06-06 2003-06-06 Suture device

Publications (2)

Publication Number Publication Date
JP2006239455A JP2006239455A (en) 2006-09-14
JP4145331B2 true JP4145331B2 (en) 2008-09-03

Family

ID=37046382

Family Applications (1)

Application Number Title Priority Date Filing Date
JP2006153367A Expired - Fee Related JP4145331B2 (en) 2006-06-01 2006-06-01 Suture and endoscope

Country Status (1)

Country Link
JP (1) JP4145331B2 (en)

Families Citing this family (6)

* Cited by examiner, † Cited by third party
Publication number Priority date Publication date Assignee Title
JP2008148933A (en) * 2006-12-18 2008-07-03 Yoshikawa Kasei Kk Placement device of internal organ fixing appliance
US7780702B2 (en) * 2007-02-27 2010-08-24 Olympus Medical Systems Corp. Suture tool
US8070772B2 (en) * 2008-02-15 2011-12-06 Rex Medical, L.P. Vascular hole closure device
US20090259232A1 (en) * 2008-04-11 2009-10-15 Junji Shiono Suture device
US8911454B2 (en) * 2008-07-31 2014-12-16 Olympus Medical Systems Corp. Suturing device
US11304691B2 (en) 2016-11-13 2022-04-19 Anchora Medical Ltd. Minimally-invasive tissue suturing device

Also Published As

Publication number Publication date
JP2006239455A (en) 2006-09-14

Similar Documents

Publication Publication Date Title
JP4166632B2 (en) Suture device
JP4145200B2 (en) Suture device
JP5185544B2 (en) Suture system
US6024747A (en) Device and method for suturing blood vessels and the like
JP4790549B2 (en) Suture tool
US9788831B2 (en) Endoscopic suture cinch system with replaceable cinch
US6428549B1 (en) Device and method for suturing blood vessels and the like
JP4116049B2 (en) Biological tissue clip device
US10448946B2 (en) Endoscopic suture cinch
US5480407A (en) Suturing instrument with hemorrhaging control
KR101423341B1 (en) Suturing device
US20050216036A1 (en) Endoscopic fastening system with multiple fasteners
US9101345B2 (en) Surgical guide and tissue anchor
US20080234729A1 (en) Suture lock fastening device
CN101637398B (en) stapler
JP2003225241A (en) Therapeutic manipulator for endoscope
US9301748B2 (en) Suture apparatus, system and method
JP6888556B2 (en) Endoscopic suture ligature
JP4145331B2 (en) Suture and endoscope

Legal Events

Date Code Title Description
A521 Request for written amendment filed

Free format text: JAPANESE INTERMEDIATE CODE: A821

Effective date: 20060602

A621 Written request for application examination

Free format text: JAPANESE INTERMEDIATE CODE: A621

Effective date: 20060601

A131 Notification of reasons for refusal

Free format text: JAPANESE INTERMEDIATE CODE: A131

Effective date: 20080212

A521 Request for written amendment filed

Free format text: JAPANESE INTERMEDIATE CODE: A523

Effective date: 20080414

A521 Request for written amendment filed

Free format text: JAPANESE INTERMEDIATE CODE: A821

Effective date: 20080416

TRDD Decision of grant or rejection written
A01 Written decision to grant a patent or to grant a registration (utility model)

Free format text: JAPANESE INTERMEDIATE CODE: A01

Effective date: 20080610

A01 Written decision to grant a patent or to grant a registration (utility model)

Free format text: JAPANESE INTERMEDIATE CODE: A01

A61 First payment of annual fees (during grant procedure)

Free format text: JAPANESE INTERMEDIATE CODE: A61

Effective date: 20080617

R151 Written notification of patent or utility model registration

Ref document number: 4145331

Country of ref document: JP

Free format text: JAPANESE INTERMEDIATE CODE: R151

FPAY Renewal fee payment (event date is renewal date of database)

Free format text: PAYMENT UNTIL: 20110627

Year of fee payment: 3

FPAY Renewal fee payment (event date is renewal date of database)

Free format text: PAYMENT UNTIL: 20120627

Year of fee payment: 4

FPAY Renewal fee payment (event date is renewal date of database)

Free format text: PAYMENT UNTIL: 20120627

Year of fee payment: 4

FPAY Renewal fee payment (event date is renewal date of database)

Free format text: PAYMENT UNTIL: 20130627

Year of fee payment: 5

S531 Written request for registration of change of domicile

Free format text: JAPANESE INTERMEDIATE CODE: R313531

R350 Written notification of registration of transfer

Free format text: JAPANESE INTERMEDIATE CODE: R350

R250 Receipt of annual fees

Free format text: JAPANESE INTERMEDIATE CODE: R250

R250 Receipt of annual fees

Free format text: JAPANESE INTERMEDIATE CODE: R250

R250 Receipt of annual fees

Free format text: JAPANESE INTERMEDIATE CODE: R250

LAPS Cancellation because of no payment of annual fees