JP4067775B2 - ホワイトバランス調整装置 - Google Patents
ホワイトバランス調整装置 Download PDFInfo
- Publication number
- JP4067775B2 JP4067775B2 JP2001066675A JP2001066675A JP4067775B2 JP 4067775 B2 JP4067775 B2 JP 4067775B2 JP 2001066675 A JP2001066675 A JP 2001066675A JP 2001066675 A JP2001066675 A JP 2001066675A JP 4067775 B2 JP4067775 B2 JP 4067775B2
- Authority
- JP
- Japan
- Prior art keywords
- white balance
- value
- balance adjustment
- color
- gain
- Prior art date
- Legal status (The legal status is an assumption and is not a legal conclusion. Google has not performed a legal analysis and makes no representation as to the accuracy of the status listed.)
- Expired - Fee Related
Links
Images
Landscapes
- Color Television Image Signal Generators (AREA)
- Processing Of Color Television Signals (AREA)
Description
【発明の属する技術分野】
本発明は、デジタルカメラ、ビデオカメラなどに搭載されるホワイトバランス調整装置の改良に関する。
【0002】
【従来の技術】
CCDなどの撮像素子を用いたデジタルカメラ、ビデオカメラにおいては、被写体を照らす光源の色温度に対して適正なカラーバランス調整を行わないと、人間の脳が無意識のうちに色補正をかけた結果の視覚と色調にギャップが生じるために、見る側において違和感を感じることがある。
【0003】
このため、一般に、デジタルカメラには、白色光源の色が無彩色となるようにカラーバランスを自動補正することにより、日常目にする白色光源下で撮影された写真における色調の違和感を軽減するためのオートホワイトバランス制御装置が、搭載されている。
【0004】
しかし、光源の色をどの程度無彩色に近づければ、適正な色調となるかは、撮影目的や、評価者の個人差或いは好みによるため、かならずしも一定の条件とならない。
【0005】
一方、オートホワイトバランス機能は、画像データや色温度センサなどによって撮影条件を自動判定し、同一の被写体に対して一定の色調に調整する。このため、撮影者の好む色調の個人差は、反映されず、撮影者の意図しない過度の補正がかかったり、逆に補正不足になったりすることは避けられない問題となっている。
【0006】
このため、多くのデジタルカメラでは、統計的に利用者の多くがもっとも好ましく感じる補正がなされるオートホワイトバランス制御装置を目標に設計を行うとともに、ある程度、撮影者が色調子を選択できるように、あらかじめ代表的な光源に対して色調が合うホワイトバランス調整状態をカメラに記憶させておき、それを撮影者が選択操作するように、マニュアルホワイトバランスモードが搭載されている。
【0007】
また、さらに自由に色調整が行えるように、たとえば特開平6-98344に示されるホワイトバランス制御装置においては、ユーザが任意の色合いに調整できるホワイトバランス制御装置を得るために、微調制御部を設け、オートホワイトバランス制御信号と撮影者が任意に設定した微調制御信号を加算した結果をホワイトバランス調整用のゲインコントロールアンプにかけている。
【0008】
【発明が解決しようとする課題】
しかしながら、従来技術のホワイトバランス制御装置においては、あらかじめ記憶された調整状態を選択するマニュアルホワイトバランスモードでは、代表的な光源の色温度をひとつ選択できるにすぎないため、あらかじめ記憶された調整状態のいずれとも光源に色温度が一致しない際に不自然な色調となる。
【0009】
また、多くの種類の光源に対応するために、あらかじめ記憶させておく調整状態の数を多くすると、撮影の際の選択肢が増えすぎて、カメラの利便性を損なう問題がある。
【0010】
また、微調制御部を設けて撮影者が任意の調整を行うことが可能なホワイトバランス制御装置においては、あらゆる光源下で任意の色調で撮影が可能であるが、撮影者は撮影条件ごとにビデオモニタなどの画像表示装置上で色調を確認しながら、色調の調整操作を行わなければならず、カメラの利便性を損なう問題がある。
【0011】
本発明は、上記問題点を改善するために、デジタルカメラ等のホワイトバランス調整装置において、簡単な操作で光源色温度のずれにしたがった色の自動補正強度を設定可能とすることで、撮影条件に応じた色調で画像を記録し、撮影目的や記憶色の個人差を吸収可能なホワイトバランス調整装置を提供することを目的としている。
【0012】
【課題を解決するための手段】
上記の課題を解決するために、本発明の請求項1に記載のホワイトバランス調整装置は、被写体を照らす光源の色温度を、撮像されたカラー画像データから測定して、その光源の色が無彩色となるホワイトバランス調整値を自動検出するオートホワイトバランス機能を有するホワイトバランス調整装置において、撮影時の絞り値とシャッタースピードと撮像素子との感度とによって定まる露光状態に従って重みパラメータを自動的に設定しかつこの自動的に設定された重みパラメータを用いて、あらかじめ設定された特定の色温度の光源の色が無彩色となるホワイトバランス調整値と、オートホワイトバランス機能によって検出されたホワイトバランス調整値との双方に加重平均処理が施こされ、この加重平均処理結果の値が画像記録時のホワイトバランス調整値として用いられ、前記重みパラメータは、特定の色温度の光源に対して露光量に相当するEV値が大きくなるに伴って大きく設定され、前記EV値が小さくなるに伴って小さく設定されていることを特徴とする。
本発明の請求項2に記載のホワイトバランス調整装置は、あらかじめ設定するホワイトバランス調整値は、晴天下の太陽光の色温度に対してホワイトバランスが適正となる値とされていることを特徴とする。
本発明の請求項3に記載のホワイトバランス調整装置は、被写体を照らす光源の色温度を撮像されたカラー画像データから測定して、その光源の色が無彩色となるホワイトバランス調整値を自動検出するオートホワイトバランス機能を有するホワイトバランス調整装置において、あらかじめ特定の色温度の光源の色が無彩色となるホワイトバランス調整値が複数個記憶され、撮影時の絞り値とシャッタースピードと撮像素子との感度とによって定まる露光状態に従って重みパラメータを自動的に設定しかつこの自動的に設定された重みパラメータを用いて、その複数個のホワイトバランス調整値から撮影者によって選択されたひとつの色温度の光源に対するホワイトバランス調整値と、オートホワイトバランス機能によって検出されたホワイトバランス調整値との双方に加重平均処理が施され、この加重平均処理結果の値が画像記録時のホワイトバランス調整値として用いられ、前記重みパラメータは、特定の色温度の光源に対して露光量に相当するEV値が大きくなるに伴って大きく設定され、前記EV値が小さくなるに伴って小さく設定されていることを特徴とする。
【0017】
【発明の実施の形態】
以下、本発明の実施の形態にかかるデジタルカメラ・デジタルビデオカメラ等のホワイトバランス調整装置の構成と動作を図面をもとにして説明する。
【0018】
図1は本発明のホワイトバランス調整装置を搭載したデジタルカメラのブロック図である。1は鏡筒であり、光学レンズ、絞り、メカニカルシャッターにより構成され、外部からの制御信号にしたがって、レンズ、絞り、メカニカルシャッターがそれぞれ駆動され、焦点距離、露光量が調整される。2は撮像素子であり、カラーCCD(ChargeCoupledDevice)およびCDS(2重相関サンプリング回路)より構成され、鏡筒1を通過した光をCCDで受光した後ノイズ低減された電気信号に変換する。3はA/Dコンバータであり、撮像素子2からの電気信号をデジタル画像信号に変換する。4はRGB分離回路であり、デジタル信号をCCDのカラーフィルタの配列にしたがって、色成分ごとに信号分離を行う。本実施例では、CCDのカラーフィルタとして、R、G、Bの3成分が使われているものとする。すなわち、RGB分離回路4によって、デジタル画像信号はR、G、Bの3成分に分離される。
【0019】
5はホワイトバランスゲイン調整回路であり、外部より入力されるRゲイン制御信号とBゲイン制御信号にしたがって、R成分の画像信号とB成分の画像信号をデジタル演算によって増減し、ホワイトバランス調整を行う。
【0020】
6は信号処理回路であり、撮像素子2におけるCCDが単板式である場合は色補間処理を行い、不足している色情報を周辺画素の色信号から補間して、記録画像サイズのフルカラーデータを演算するとともに、補間処理によって輪郭がぼけた画像の輪郭を強調するアパーチャ補正処理を演算する。
【0021】
7はガンマ補正処理であり、表示装置などに合わせた階調特性のγ補正処理を行う。8は出力装置であり、画像表示装置、または画像データを記録するメモリで構成される。被写体からの反射光は、上記の一連の処理を経て、最終的に写真として鑑賞される形式の画像データとして、8の出力装置に出力される。
【0022】
次に本発明に特に関連の高い部分である撮影制御系の動作について説明する。
【0023】
9はブロック分割回路である。ブロック分割回路9は、RGB分離回路4でR、G、Bのフィルタごとに分離された画像データを、図2に示すように、画面上で複数の細かい領域に領域分割して、それぞれの領域のR積算値、G積算値、B積算値を演算して、ホワイトバランス制御用の評価値として出力する。
【0024】
図2の例では、画面を水平16個×垂直8個の領域に分割しているので、128(=16×8)個のR積算値、G積算値、B積算値、すなわち合計384個の評価値が出力されることになる。
【0025】
なお、図1の点線で囲まれた範囲のデジタル信号処理ブロック13は、単純なデジタル演算処理が高速に繰返して処理される部分であるため、論理回路による専用LSIで回路を構成することが望ましい。デジタル信号処理ブロック13内の処理は外部より入力されるタイミング制御信号にしたがって、同期制御される。
【0026】
10はマイクロコンピュータ(以下、マイコンという。)であり、カメラ全体のシステム制御、ホワイトバランス等の撮影制御量の演算等を行う。撮影を行う際、マイコン10からは、鏡筒1に対しては、レンズ、絞り、メカニカルシャッターの駆動系に対して駆動制御信号を出力し、また、図1の点線で囲むデジタル信号ブロック13に含まれる回路に対しては、画像データ転送の同期をとるためのタイミング制御信号と、ホワイトバランスゲインの調整値として、Rゲイン制御信号とBゲイン制御信号を出力する。また、出力装置8に対しても、画像表示制御、あるいは画像記録制御信号を出力する。
【0027】
11は調整ROMであり、各種の調整用のデータがROM11に保持されている。マイコン10は調整ROM11のデータを読み出して、ホワイトバランスの制御等の処理に用いる。
【0028】
12は操作パネルであり、撮影者がホワイトバランスに関連する設定をボタン操作、あるいはダイヤル操作によって行うインターフェースを備えており、操作内容を伝える制御信号は、マイコン10に対して出力される。
【0029】
本発明の実施の形態にかかるデジタルカメラにおけるホワイトバランス調整処理は、マイコン10で実行されるプログラム処理によって行われるので、以下にその詳細について説明する。
【0030】
本発明の第 1 の実施形態であるデジタルカメラのホワイトバランス調整装置においては、いずれも、まず、はじめにオートホワイトバランスプログラムによりRゲインとBゲインの値を決定する。
【0031】
オートホワイトバランスの処理については、この実施の形態のデジタルカメラでは、ブロック分割回路9から出力される画面の色情報のうち、黒体輻射に従って人間の目が白と感じる色温度の範囲に含まれる領域のみを選択し、選択された領域の色の積算値から、現在のホワイトバランス制御状態の色ずれ量を算出する方式とする。
【0032】
ブロック分割回路の出力はR積算値、G積算値、B積算値であるが、R積算値あるいはB積算値が0でない限り、これらの値を
rゲイン =G積算値/R積算値
bゲイン =G積算値/B積算値
によって、領域ごとに16×8=128個のrゲイン、bゲインの値に変換する。
【0033】
これらの値を図3に示すように、rゲイン、bゲイン座標上の位置に置き換える。図3における点線の領域は、黒体輻射に沿って人間の目が白に感じる光源の色温度の範囲をrゲイン、bゲイン座標上に示したものである。よって、ブロック分割回路9の出力をrゲイン、bゲイン座標上に展開した際の位置が、この点線で示された範囲に含まれるか、含まれないかを判定することで、各領域が白かどうかの判定を行うことが可能となる。
【0034】
すなわち、図3の例では、点線内の斜線で示された範囲に含まれるドットに対応した領域を、白と判定する。本実施例のオートホワイトバランス機能では、白と判定されたすべての領域のrゲインの値とbゲインの値の平均値をオートホワイトバランス制御用のRゲイン_Auto、Bゲイン_Autoとして算出するものとする。
【0035】
計算例を示すと、ある被写体に対して、白検出されたブロックのR積算値、G積算値、B積算値につき、
R積算値 =5
G積算値 =10
B積算値 =20
であったとき、
rゲイン=10/5 =2.0
bゲイン=10/20=0.5
となる。
【0036】
この計算結果をホワイトバランスゲインの係数として入力信号のR信号とB信号にかけると、出力側でのR積算値_out、B積算値_outはそれぞれ、
となり、
R積算値_out=G積算値=B積算値_out=10
すなわち、
R:G:B=1:1:1
の無彩色に補正されることになる。
【0037】
本発明の各実施の形態にかかるホワイトバランス調整装置においては、上記の実施の形態等のマイコン10で実行されるオートホワイトバランスプログラムによって、オートホワイトバランス調整装置がはじめに算出されるものとする。
【0038】
尚、この実施の形態はホワイトバランス補正強度調整に関するものなので、オートホワイトバランスの方式自体については、特定の方式に限らず、外部色温度センサーを用いた方式や、画面の色差の総和を0に補正するなどの他の方式によってオートホワイトバランスゲインを求めても良い。
【0039】
次に、各請求項に対応する実施の形態のホワイトバランス調整処理に関して、マイコン10で実行される処理について説明する。
【0040】
本発明の第 1 ないし第 4 の実施形態であるホワイトバランス調整装置においては、オートホワイトバランスプログラムによって算出されたRゲイン_Auto、Bゲイン_Autoと、調整ROM11にあらかじめ特定の光源の色が無彩色となるように設定されたRゲイン_Ref、Bゲイン_Refの双方を参照し、調整ROM11にあらかじめ設定された重みパラメータにしたがって加重平均値を演算した結果を最終的に画像記録する際に用いるRゲイン、Bゲインとして、ゲイン調整回路5にフィードバック制御をかける。
【0041】
本実施の形態では、重みパラメータを0から10の間の任意の値とし、重み0で100%オートホワイトバランスによって算出されたゲインとなり、重み10で100%あらかじめ設定された特定光源色温度に対するゲインとなる処理がなされるものとする。
【0042】
一例として、オートホワイトバランスで算出されたゲイン、あらかじめ設定されたゲイン、重みパラメータが、それぞれ
Rゲイン_Auto=2.0
Bゲイン_Auto=0.5
Rゲイン_Ref =1.0
Bゲイン_Ref =1.0
重みパラメータ =2
であるならば、ホワイトバランス調整値のRゲイン、Bゲインは、次の加重平均式にしたがって、
となる。
【0043】
ここで、重みパラメータは2であるので、オートホワイトバランスで算出されたゲインと、あらかじめ設定されたゲインが8:2で加重されたことになる。
【0044】
本発明の第 1 の実施の形態にかかるホワイトバランス調整装置においては、調整ROM11にあらかじめ設定しておくゲインを晴天下の太陽光の色に対するホワイトバランスが適正になる値を設定しておくものとする。
【0045】
本発明の第 1 の実施の形態のホワイトバランス調整装置におけるホワイトバランス調整の手順を図4に示す。
【0046】
図4において、スタートフラグ後のステップS11でまずオートホワイトバランス計算のために露光を行い、ステップS12でオートホワイトバランスゲインRゲイン_Auto、Bゲイン_Autoの計算を行う。
【0047】
ステップS13では、外部の調整ROM11にあらかじめ設定記憶されたRゲイン_Ref、Bゲイン_Refと重みパラメータを読み取り参照する。
【0048】
ステップS14では、上述の加重平均式にしたがって、最終的に用いるホワイトバランスゲインRゲイン、Bゲインの計算を行う。
【0049】
ステップS15では、ステップS14で計算された荷重処理結果のゲインによって図1のホワイトバランスゲイン調整回路15に対してホワイトバランス調整制御を行う。
【0050】
ステップS16では再度、露光を行い、最後にステップS17で画像出力して終了する。
【0051】
本発明の第 2 の実施形態にかかるホワイトバランス調整装置は、調整ROM11に複数のRゲイン_Ref、Bゲイン_Ref、重みパラメータのセットをあらかじめ記憶させておく。これらの値は、日常目にする代表的な白色光源に対して、ホワイトバランスが適正になる値とする。
【0052】
この実施の形態では、晴天太陽光、曇天太陽光、蛍光灯、白熱灯を代表的な白色光源として、4つのセットの調整値をあらかじめ記憶させておくものとしている。代表光源のうち、どの白色光源に対する値をホワイトバランス制御に用いるかは、撮影者が操作パネル12に表示される4セットの選択ボタンを操作して選択する。マイコン10で処理されるプログラムでは、選択された結果にしたがって、調整ROM11から設定値を1セット参照して、ホワイトバランス制御を行う。
【0053】
本発明の第2の実施形態にかかるデジタルカメラのホワイトバランス調整の手順を図5に示す。
【0054】
図5において、スタート後のステップS21でまずオートホワイトバランス計算のために露光を行い、次のステップS22でオートホワイトバランスゲインRゲイン_Auto、Bゲイン_Autoの計算を行う。次に、ステップS23で、操作パネル12で撮影者がボタン操作を行った状態を調べ、ステップS24でどの白色光源が選択されたかを判定する。ステップS25では、ステップS24で判定された結果にしたがって、調整ROM11に設定されている晴天、曇天、蛍光灯、白熱灯のいずれかから1セットとされたRゲイン_Ref、Bゲイン_Refと重みパラメータを参照する。ステップS26では上述の加重平均式にしたがって、最終的に用いるホワイトバランスゲインRゲイン、Bゲインの計算を行う。次のステップS27では、ステップS26で計算された結果のゲインによって図1のホワイトバランスゲイン調整回路5に対してホワイトバランス制御を行い、ステップS28で再度、露光を行う。最後にステップS29で画像出力して終了する。
【0055】
本発明の第 3 のデジタルカメラの実施の形態にかかるホワイトバランス調整装置においては、調整ROM11にはRゲイン_Ref、Bゲイン_Refのデータがあらかじめ設定され、重みパラメータは、操作パネル12における補正強度調整ダイヤルを撮影者が操作することによって、任意の状態に設定可能とされている。マイコン10で処理されるプログラムでは、ダイヤル操作で設定された重みパラメータの値を参照して、ホワイトバランス制御を行う。
【0056】
この時、操作パネルの補正強度調整ダイヤルは、たとえば目盛の「強」から「弱」の間が、重みパラメータの0から10に相当するように設定できる。
【0057】
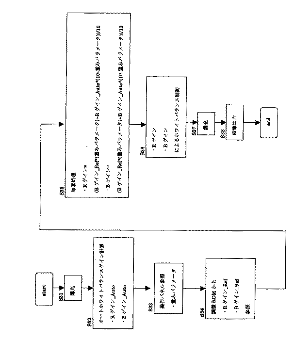
本発明の第 3 の実施の形態にかかるデジタルカメラにおけるホワイトバランス調整の手順を図6に示す。
【0058】
図6において、ステップS31でまずオートホワイトバランス計算のために露光を行い、次のステップS32でオートホワイトバランスゲインRゲイン_Auto、Bゲイン_Autoの計算を行う。ステップS33では、操作パネル12で撮影者がダイヤル操作で設定した重みパラメータを参照し、ステップS34において、外部の調整ROM11にあらかじめ設定されたRゲイン_Ref、Bゲイン_Refを参照し、ステップS35で加重平均式にしたがって、最終的に用いるホワイトバランスゲインRゲイン、Bゲインの計算を行う。
【0059】
ステップS36では、ステップS35で計算された結果のゲインによってホワイトバランスゲイン調整回路5に対してホワイトバランス制御を行い、ステップS37で再度、露光を行う。最後にステップS38で画像を出力して終了する。
【0060】
本発明の第 3 の実施形態のホワイトバランス調整装置における重みパラメータ調整の手順は、第2の実施形態にかかるホワイトバランス調整装置における代表光源の選択操作と併用することも可能である。
【0061】
この場合には、図6におけるステップS34の処理を、発明の第 2 の実施の形態で用いた図5におけるステップS23からS25の処理に置き換え、この時、重みパラメータの値は調整ROM11を参照せず、操作パネル12の補正強度調整ダイヤルで設定された値を用いれば良い。
【0062】
本発明の第4の実施形態のデジタルカメラにおいては、調整ROM11にはRゲイン_Ref、Bゲイン_Refをあらかじめ設定しておき、重みパラメータは、撮影の際に鏡筒1と撮像素子2に対して設定されている絞り、シャッター制御信号と撮像素子2のCCD感度によって決まる露光量、EV値(Exposure Value)によって自動的に決定される。
【0063】
EV値は、シャッタースピードが高速になるほど大きくなり、また絞りのF値が大きいほど大きくなり、また、CCDの感度が低いほど大きくなる値である。
【0064】
マイコン10で処理されるホワイトバランス調整に用いられる重みパラメータは、このEV値が大きいほど10に近づき、EV値が小さいほど0に近づくように、表1に示す例のようなテーブル変換によって設定する。
【0065】
表1において、EV_Max、EV_Minの値の設定例としては、EV_Maxは、日中の太陽光下の被写体に対して露出が適正となる値とし、EV_Minは室内照明下で露出が適正となる値とするなどが望ましい。
【0066】
一般的な用途の撮影に用いる際には、請求項2のホワイトバランス調整装置に用いたように、調整ROM11に設定しておくRゲイン_Ref、Bゲイン_Refの値としては、晴天下の太陽光の色温度に対してホワイトバランスが適正となる値を設定しておく。
【0067】
本発明の第 4 の実施形態にかかるデジタルカメラにおけるホワイトバランス調整の手順を図7に示す。
【0068】
図7において、スタート後のステップS41でまずオートホワイトバランス計算のために露光を行い、次のステップS42でオートホワイトバランスゲインRゲイン_Auto、Bゲイン_Autoの計算を行う。次に、ステップS43で、撮影時に絞り制御信号、シャッター制御信号などからEV値を算出する。ステップS44ではEV値を重みパラメータに変換する。ステップS45では、外部の調整ROM11にあらかじめ設定されたRゲイン_Ref、Bゲイン_Refを参照し、ステップS46で加重平均式にしたがって、最終的に用いるホワイトバランスゲインRゲイン、Bゲインの計算を行う。ステップS47では、ステップS46で計算された結果のゲインによってホワイトバランスゲイン調整回路5に対してホワイトバランス制御を行い、ステップS48で再度、露光を行う。最後にステップS49で画像出力して終了する。
【0069】
尚、蒸気の実施の形態のホワイトバランス調整装置はデジタルカメラに適用した例を説明しているが、デジタルビデオカメラ、医療用観察機器、計測機器等に用いても良い。
【0070】
【発明の効果】
請求項1ないし請求項3のホワイトバランス調整装置によれば、撮影時の絞り値とシャッタースピードと撮像素子との感度とによって定まる露光状態に従って重みパラメータを自動的に設定しかつこの自動的に設定された重みパラメータを用いて、あらかじめ設定された特定の色温度の光源の色が無彩色となるホワイトバランス調整値と、オートホワイトバランス機能によって検出されたホワイトバランス調整値との双方に加重平均処理を施こし、この加重平均処理結果の値を画像記録時のホワイトバランス調整値として用いているので、100%オートホワイトバランス機能の検出結果となる値から、100%特定色温度に対するホワイトバランス調整値となる値までの連続的な範囲の中の値に自動設定されるので、撮影者はマニュアル操作することなく被写体の明るさにしたがって適正な補正強度のホワイトバランス制御のかかった画像を記録することができる。
また、その重みパラメータは、特定の色温度の光源に対して露光量に相当するEV値が大きくなるに伴って大きく設定され、特定の色温度の光源に対して、EV値が小さくなるに伴って小さく設定されているので、被写体輝度が高いほど特定の色光源に対する重み付けが大きくなり、被写体輝度が低いほど特定の色光源に対する重み付けが小さくなり、従って、より一層、被写体の明るさにしたがって適正な補正強度のホワイトバランス制御のかかった画像を記録することができるという効果を奏します。
【図面の簡単な説明】
【図1】 本発明の第1の実施の形態にかかるホワイトバランス調整装置を備えたデジタルカメラの構成を示すブロック図。
【図2】 図1のRGB分離回路でRGB毎に分離された画像データのRGB積算値を求めるために領域分割する場合の説明図。
【図3】 RGB毎に領域分割した値をrゲイン、bゲイン座標に置き換えた場合の説明図。
【図4】 本発明の第1の実施の形態にかかるホワイトバランス調整装置の処理手順を示す流れ図。
【図5】 本発明の第 2の実施の形態にかかるホワイトバランス調整装置の処理手順を示す流れ図。
【図6】 本発明の第 3 の実施の形態にかかるホワイトバランス調整装置の処理手順を示す流れ図。
【図7】 本発明の第 4 の実施の形態にかかるホワイトバランス調整装置の処理手順を示す流れ図。
【図8】 EV値と重みパラメータの対応表
【符号の説明】
2 撮像素子
4 RGB分離回路
5 ゲイン調整回路
6 信号処理回路
7 γ補正回路
8 画像出力装置
9 ブロック分割回路
10 マイコン
11 調整ROM
12 操作パネル
13 デジタル信号処理ブロック
Claims (3)
- 被写体を照らす光源の色温度を、撮像されたカラー画像データから測定して、その光源の色が無彩色となるホワイトバランス調整値を自動検出するオートホワイトバランス機能を有するホワイトバランス調整装置において、
撮影時の絞り値とシャッタースピードと撮像素子との感度とによって定まる露光状態に従って重みパラメータを自動的に設定しかつこの自動的に設定された重みパラメータを用いて、あらかじめ設定された特定の色温度の光源の色が無彩色となるホワイトバランス調整値と、オートホワイトバランス機能によって検出されたホワイトバランス調整値との双方に加重平均処理が施こされ、この加重平均処理結果の値が画像記録時のホワイトバランス調整値として用いられ、前記重みパラメータは、特定の色温度の光源に対して露光量に相当するEV値が大きくなるに伴って大きく設定され、前記EV値が小さくなるに伴って小さく設定されていることを特徴とするホワイトバランス調整装置。 - あらかじめ設定するホワイトバランス調整値は、晴天下の太陽光の色温度に対してホワイトバランスが適正となる値とされていることを特徴とする請求項1に記載のホワイトバランス調整装置。
- 被写体を照らす光源の色温度を撮像されたカラー画像データから測定して、その光源の色が無彩色となるホワイトバランス調整値を自動検出するオートホワイトバランス機能を有するホワイトバランス調整装置において、
あらかじめ特定の色温度の光源の色が無彩色となるホワイトバランス調整値が複数個記憶され、
撮影時の絞り値とシャッタースピードと撮像素子との感度とによって定まる露光状態に従って重みパラメータを自動的に設定しかつこの自動的に設定された重みパラメータを用いて、その複数個のホワイトバランス調整値から撮影者によって選択されたひとつの色温度の光源に対するホワイトバランス調整値と、オートホワイトバランス機能によって検出されたホワイトバランス調整値との双方に加重平均処理が施され、この加重平均処理結果の値が画像記録時のホワイトバランス調整値として用いられ、前記重みパラメータは、特定の色温度の光源に対して露光量に相当するEV値が大きくなるに伴って大きく設定され、前記EV値が小さくなるに伴って小さく設定されていることを特徴とするホワイトバランス調整装置。
Priority Applications (1)
| Application Number | Priority Date | Filing Date | Title |
|---|---|---|---|
| JP2001066675A JP4067775B2 (ja) | 2001-03-09 | 2001-03-09 | ホワイトバランス調整装置 |
Applications Claiming Priority (1)
| Application Number | Priority Date | Filing Date | Title |
|---|---|---|---|
| JP2001066675A JP4067775B2 (ja) | 2001-03-09 | 2001-03-09 | ホワイトバランス調整装置 |
Publications (2)
| Publication Number | Publication Date |
|---|---|
| JP2002271810A JP2002271810A (ja) | 2002-09-20 |
| JP4067775B2 true JP4067775B2 (ja) | 2008-03-26 |
Family
ID=18925135
Family Applications (1)
| Application Number | Title | Priority Date | Filing Date |
|---|---|---|---|
| JP2001066675A Expired - Fee Related JP4067775B2 (ja) | 2001-03-09 | 2001-03-09 | ホワイトバランス調整装置 |
Country Status (1)
| Country | Link |
|---|---|
| JP (1) | JP4067775B2 (ja) |
Families Citing this family (5)
| Publication number | Priority date | Publication date | Assignee | Title |
|---|---|---|---|---|
| US8139262B2 (en) | 2003-09-25 | 2012-03-20 | Dai Nippon Printing Co., Ltd. | Image output apparatus and image output method for printing out the photographed image which is captured by a digital camera |
| JP4471373B2 (ja) | 2004-12-27 | 2010-06-02 | キヤノン株式会社 | 撮像装置及びその制御方法 |
| JP4950553B2 (ja) * | 2006-04-28 | 2012-06-13 | キヤノン株式会社 | 撮像装置及び画像処理方法 |
| JP5045731B2 (ja) | 2009-11-04 | 2012-10-10 | カシオ計算機株式会社 | 撮像装置、ホワイトバランス設定方法、及び、プログラム |
| JP7699964B2 (ja) * | 2021-06-04 | 2025-06-30 | キヤノン株式会社 | 撮像装置、その制御方法、プログラムおよび記憶媒体 |
-
2001
- 2001-03-09 JP JP2001066675A patent/JP4067775B2/ja not_active Expired - Fee Related
Also Published As
| Publication number | Publication date |
|---|---|
| JP2002271810A (ja) | 2002-09-20 |
Similar Documents
| Publication | Publication Date | Title |
|---|---|---|
| US8830348B2 (en) | Imaging device and imaging method | |
| US7084907B2 (en) | Image-capturing device | |
| JP3892648B2 (ja) | 画像入力装置、ホワイトバランス調整方法、およびその方法を実行するためのプログラムを格納したコンピュータが読取可能な記録媒体 | |
| US9445067B2 (en) | Imaging device and image signal processor with color noise correction | |
| US7030913B2 (en) | White balance control apparatus and method, and image pickup apparatus | |
| US20040041919A1 (en) | Digital camera | |
| US6618091B1 (en) | Image pickup apparatus having image signal state adjusting means a response characteristic of which is controlled in accordance with image magnification rate | |
| KR20070068980A (ko) | 카메라 | |
| JP4487342B2 (ja) | デジタルカメラ | |
| US9247112B2 (en) | Imaging device and method for displaying electronic viewfinder | |
| JP4628937B2 (ja) | カメラシステム | |
| JP4042432B2 (ja) | 撮像装置 | |
| JPH03204281A (ja) | 撮像装置 | |
| US6963362B1 (en) | Image pickup apparatus having flash and color adjustment control | |
| JP2008118383A (ja) | デジタルカメラ | |
| JP4444218B2 (ja) | 動画用明るさ補正装置ならびにその制御方法およびその制御プログラム | |
| JP4029206B2 (ja) | 撮像装置 | |
| JP2014225828A (ja) | 撮像装置 | |
| JPH11113018A (ja) | 撮像装置 | |
| JP2004282133A (ja) | オートホワイトバランス処理装置及び方法並びに画像信号処理装置 | |
| JP2008301371A (ja) | 撮像装置および画像処理プログラム | |
| JP3967510B2 (ja) | ディジタルカメラ | |
| JP4067775B2 (ja) | ホワイトバランス調整装置 | |
| JP2000102022A (ja) | デジタルカメラ | |
| JP2011109411A (ja) | ホワイトバランス補正係数決定方法、ホワイトバランス補正係数決定装置、ホワイトバランス補正方法、ホワイトバランス補正装置、及び撮像装置 |
Legal Events
| Date | Code | Title | Description |
|---|---|---|---|
| A621 | Written request for application examination |
Free format text: JAPANESE INTERMEDIATE CODE: A621 Effective date: 20050831 |
|
| A977 | Report on retrieval |
Free format text: JAPANESE INTERMEDIATE CODE: A971007 Effective date: 20070928 |
|
| A131 | Notification of reasons for refusal |
Free format text: JAPANESE INTERMEDIATE CODE: A131 Effective date: 20071009 |
|
| A521 | Request for written amendment filed |
Free format text: JAPANESE INTERMEDIATE CODE: A523 Effective date: 20071207 |
|
| TRDD | Decision of grant or rejection written | ||
| A01 | Written decision to grant a patent or to grant a registration (utility model) |
Free format text: JAPANESE INTERMEDIATE CODE: A01 Effective date: 20080108 |
|
| A61 | First payment of annual fees (during grant procedure) |
Free format text: JAPANESE INTERMEDIATE CODE: A61 Effective date: 20080109 |
|
| FPAY | Renewal fee payment (event date is renewal date of database) |
Free format text: PAYMENT UNTIL: 20110118 Year of fee payment: 3 |
|
| R150 | Certificate of patent or registration of utility model |
Free format text: JAPANESE INTERMEDIATE CODE: R150 Ref document number: 4067775 Country of ref document: JP Free format text: JAPANESE INTERMEDIATE CODE: R150 |
|
| FPAY | Renewal fee payment (event date is renewal date of database) |
Free format text: PAYMENT UNTIL: 20120118 Year of fee payment: 4 |
|
| FPAY | Renewal fee payment (event date is renewal date of database) |
Free format text: PAYMENT UNTIL: 20130118 Year of fee payment: 5 |
|
| FPAY | Renewal fee payment (event date is renewal date of database) |
Free format text: PAYMENT UNTIL: 20140118 Year of fee payment: 6 |
|
| LAPS | Cancellation because of no payment of annual fees |
