JP3947487B2 - 端子圧着装置 - Google Patents
端子圧着装置 Download PDFInfo
- Publication number
- JP3947487B2 JP3947487B2 JP2003080654A JP2003080654A JP3947487B2 JP 3947487 B2 JP3947487 B2 JP 3947487B2 JP 2003080654 A JP2003080654 A JP 2003080654A JP 2003080654 A JP2003080654 A JP 2003080654A JP 3947487 B2 JP3947487 B2 JP 3947487B2
- Authority
- JP
- Japan
- Prior art keywords
- crimping
- applicator
- terminal
- rotary table
- electric wire
- Prior art date
- Legal status (The legal status is an assumption and is not a legal conclusion. Google has not performed a legal analysis and makes no representation as to the accuracy of the status listed.)
- Expired - Lifetime
Links
- 238000002788 crimping Methods 0.000 title claims description 201
- 230000005540 biological transmission Effects 0.000 claims description 14
- 230000008878 coupling Effects 0.000 claims description 3
- 238000010168 coupling process Methods 0.000 claims description 3
- 238000005859 coupling reaction Methods 0.000 claims description 3
- 230000002093 peripheral effect Effects 0.000 description 14
- 238000013459 approach Methods 0.000 description 9
- 239000004020 conductor Substances 0.000 description 7
- 230000007423 decrease Effects 0.000 description 4
- 230000001174 ascending effect Effects 0.000 description 3
- 230000002452 interceptive effect Effects 0.000 description 3
- 239000002184 metal Substances 0.000 description 3
- 229910052751 metal Inorganic materials 0.000 description 3
- 238000000926 separation method Methods 0.000 description 3
- 230000000630 rising effect Effects 0.000 description 2
- RYGMFSIKBFXOCR-UHFFFAOYSA-N Copper Chemical compound [Cu] RYGMFSIKBFXOCR-UHFFFAOYSA-N 0.000 description 1
- 229910000881 Cu alloy Inorganic materials 0.000 description 1
- 229910052802 copper Inorganic materials 0.000 description 1
- 239000010949 copper Substances 0.000 description 1
- 230000003247 decreasing effect Effects 0.000 description 1
- 238000010586 diagram Methods 0.000 description 1
- 230000000694 effects Effects 0.000 description 1
- 229920003002 synthetic resin Polymers 0.000 description 1
- 239000000057 synthetic resin Substances 0.000 description 1
- 238000004804 winding Methods 0.000 description 1
Images
Landscapes
- Processing Of Terminals (AREA)
- Manufacturing Of Electrical Connectors (AREA)
Description
【発明の属する技術分野】
本発明は、圧着端子と電線とを互いに圧着する端子圧着装置に関する。
【0002】
【従来の技術】
圧着端子の加締め片を加締めて、前記圧着端子と電線とを互いに電気的に接続する即ち圧着端子と電線とを互いに圧着する際には、アプリケータを用いている。前述したアプリケータは、外部から駆動力が与えられることにより、前記前述した圧着端子が複数一体となった連鎖体を巻いたリールより供給される連鎖体から圧着端子を切り離して前記電線に加締める圧着機とを備えている。
【0003】
アプリケータは、互いに相対しかつ接離自在に設けられたアンビルとクリンパとを備えている。アプリケータは、これらアンビルとクリンパとの間に前記圧着端子と電線の端部を挟み込んで、前記圧着端子と電線の端部とを互いに圧着する。
【0004】
一方、前述した圧着端子と電線には、種々の品番が存在する。このため、圧着する圧着端子と電線の品番に応じて、従来から種々のアプリケータを用いてきた。このため、従来、圧着端子と電線の品番が変更されると、これらを圧着するアプリケータも適宜変更してきた。
【0005】
容易にアプリケータを変更するために、装置本体上に複数のアプリケータを設けた端子圧着装置(例えば、特許文献1参照)が提案されている。前述した端子圧着装置は、前述した装置本体と、複数の前述した構成のアプリケータと、圧着端子と電線とを圧着するアプリケータに駆動力を伝達する圧着機を備えている。
【0006】
アプリケータは、圧着機から離れたストック位置と、前記ストック位置から圧着機に近づいた作業位置とに亘って、装置本体上に移動自在に設けられている。リールは、装置本体のストック位置に取り付けられている。
【0007】
前述したアプリケータを複数備えた端子圧着装置は、複数のアプリケータのうち圧着する電線と圧着端子とに対応したアプリケータをストック位置から作業位置に移動させる。このとき、他のアプリケータ及びリールは、前述したストック位置に位置している。
【0008】
即ち、圧着する電線と圧着端子とに対応したアプリケータとリールとが相対的に移動する。そして、アプリケータと圧着機とを連結する。その後、圧着機よりの駆動力によりリールから連鎖体をアプリケータに供給するとともに、作業員が連鎖体から切り離された圧着端子に電線の端部を差し込んで、アンビルとクリンパとが互いに接離して、圧着端子と電線とを圧着する。
【0009】
【特許文献1】
特開平8−111275号公報
【0010】
【発明が解決しようとする課題】
前述した従来の端子圧着装置は、アプリケータのみを前述したストック位置と作業位置とに亘って移動自在としている。このため、アプリケータをストック位置から作業位置に向かって移動すると、リールから連鎖体が引き出されることとなる。このため、作業の終了やアプリケータを変更するために、アプリケータを作業位置からストック位置に移動する際に、リールに連鎖体を巻き取る必要が生じる。このため、アプリケータを変更する際に手間がかかる。
【0011】
このため、特に、圧着する圧着端子と電線との品番が頻繁に変更になって、アプリケータを頻繁に変更する際に、作業工数が増加して生産性の低下と、圧着端子付きの電線などのコストの高騰を招く。さらに、作業員が、手作業で、アプリケータを変更するので、誤った品番の圧着端子で電線を圧着する可能性がある。したがって、圧着端子付きの電線の歩留まりが低下する虞があった。
【0012】
したがって、本発明の第1の目的は、生産性の向上と、圧着端子付きの電線などのコストの高騰を防止できる端子圧着装置を提供することにある。本発明の第2の目的は、圧着端子付きの電線の歩留まりの低下を防止できる端子圧着装置を提供することにある。
【0013】
【課題を解決するための手段】
前記第1の目的を達成するために、請求項1に記載の本発明の端子圧着装置は、装置本体と、前記装置本体に回転自在に支持された回転テーブルと、前記回転テーブル上に複数設置されかつ前記回転テーブルの回転方向に沿って並べられているとともに電線に圧着端子を加締めるアプリケータセットと、前記装置本体に設置されかつ前記アプリケータセットに前記電線に圧着端子を加締めるための動力を伝達する圧着機と、を備えた端子圧着装置において、前記アプリケータセットが、第1の型と、該第1の型に接離自在に支持されかつ前記第1の型との間に前記圧着端子と電線を位置付ける第2の型と、前記第1の型と第2の型とが接離する方向に沿って第2の型とともにスライド自在に支持されたシャンクと、先端に位置する前記圧着端子から順に複数の前記圧着端子が一体となった連鎖体を供給する連鎖体供給部とを備え、前記圧着機が、前記装置本体に鉛直方向に沿ってスライド自在なスライド部材に設けられかつ前記シャンクと連結する連結部を備え、前記連結部が、前記回転テーブルが回転することのみによって、電線に圧着端子を加締めるアプリケータセットのシャンクと連結するように、当該シャンクの直上に設けられたことを特徴としている。
【0014】
前記第1の目的を達成するために、請求項2に記載の本発明の端子圧着装置は、請求項1に記載の端子圧着装置において、前記圧着機は、装置本体から立設した立設部材と、前記立設部材に取り付けられた駆動源と、前記立設部材に前記第1の型と第2の型とが接離する方向に沿ってスライド自在に支持されているとともに前記連結部を有したスライド部材と、前記駆動源からの駆動力により前記第1の型と第2の型とが接離する方向に沿って前記スライド部材をスライド移動させる動力伝達部と、を備え、前記駆動源が前記連結部より下方に配されたことを特徴としている。
【0015】
前記第1の目的を達成するために、請求項3に記載の本発明の端子圧着装置は、請求項1または請求項2記載の端子圧着装置において、前記アプリケータセットは、回転自在に支持されかつ複数の圧着端子が一体となった連鎖体を巻いたリールと、前記圧着機から駆動力が与えられることにより、前記リールより供給される連鎖体から圧着端子を切り離して、前記電線に加締めるアプリケータと、を備え、前記リールが前記回転テーブル上に位置付けられかつ前記アプリケータが前記回転テーブルの外縁から突出した状態で前記回転テーブルに取り付けられていることを特徴としている。
【0016】
前記第1の目的を達成するために、請求項4に記載の本発明の端子圧着装置は、請求項3記載の端子圧着装置において、前記回転テーブルは、円板状に形成されており、前記アプリケータセットは、前記アプリケータとリールとを取り付けかつ前記回転テーブルに取り付けられた矩形状のベース板を備えており、前記リールからアプリケータに連鎖体が供給される方向は、前記ベース板の長手方向の中央と前記回転テーブルの外縁との交点における前記回転テーブルの径方向と接線方向との双方に対し交差していることを特徴としている。
【0017】
前記第1の目的を達成するために、請求項5に記載の本発明の端子圧着装置は、請求項1ないし請求項4のうちいずれか一項に記載の端子圧着装置において、前記連結部と電線に圧着端子を加締めるアプリケータセットのシャンクとを連結した時に、電線に圧着端子を加締めるアプリケータセットと前記装置本体とを、前記第1の型と第2の型とが接離する方向と前記回転テーブルの回転方向との双方に位置決めする位置決め手段を備えたことを特徴としている。
【0018】
前記第1の目的を達成するために、請求項6に記載の本発明の端子圧着装置は、請求項5に記載の端子圧着装置において、前記位置決め手段は、アプリケータセットに対応して設けられかつ前記回転テーブルから前記第1の型と第2の型とが接離する方向に沿って突出した突出ピンと、前記装置本体に前記回転テーブルの回転方向に直交する方向に沿ってスライド自在に支持された第2スライド部材と、を備え、前記突出ピンは、前記回転テーブルに連なる細部と、前記細部に連なりかつ前記細部より太い太部と、を備え、前記第2スライド部材は、前記回転テーブルの回転方向に沿って互いに間隔をあけているとともに前記回転テーブルの回転方向に直交する方向に沿って伸びた一対の挟持部を備え、前記一対の挟持部間から前記突出ピンの細部を抜け出させて、前記回転テーブルの回転を許容するとともに、前記電線に圧着端子を加締める際に、前記電線に圧着端子を加締めるアプリケータセットに対応した突出ピンの細部を前記一対の挟持部間に位置させて、前記回転テーブルの回転を規制するとともに、前記細部が前記一対の挟持部間に位置すると、前記第1の型と第2の型とが接離する方向に沿って、一対の挟持部が前記太部を前記回転テーブルから離れる方向に付勢することを特徴としている。
【0019】
前記第1の目的にくわえ第2の目的を達成するために、請求項7に記載の本発明の端子圧着装置は、請求項1ないし請求項6のうちいずれか一項に記載の端子圧着装置において、前記アプリケータセットが圧着する電線と圧着端子の品番に応じて設けられており、前記回転テーブルが回転駆動源により回転されるとともに、圧着する電線と圧着端子の品番を入力する入力手段と、前記入力手段から入力された電線と圧着端子の品番に応じて前記回転駆動源に回転テーブルを回転させて、前記入力手段から入力された電線と圧着端子の品番に応じたアプリケータセットのシャンクを前記圧着機の連結部の直下に位置付ける制御手段と、を備えたことを特徴としている。
【0020】
請求項1に記載した本発明の端子圧着装置によれば、圧着機の連結部が電線に圧着端子を加締めるアプリケータセットのシャンクの直上に位置する。このため、回転テーブルを回転するだけで、所望のアプリケータセットのシャンクと圧着機の連結部とを連結できる。
【0021】
請求項2に記載した本発明の端子圧着装置によれば、駆動源が連結部より下方に設けられている。このため、スライド部材や立設部材などの剛性を高く保つことができる。また、駆動源を連結部より上方に設けてスライド部材や立設部材の剛性を等しくする場合より、スライド部材や立設部材などの小型化を図ることができる。また、連結部より上方に駆動源などを設置しないので、目線より上方に比較的大きな物を設けた場合に作業員に与える圧迫感を抑制できる。
【0022】
請求項3に記載した本発明の端子圧着装置によれば、リールを回転テーブル上に位置付け、アプリケータを回転テーブルの外縁から突出させている。このため、作業員が、アプリケータの近傍まで近づくことができる。
【0023】
請求項4に記載した本発明の端子圧着装置によれば、連鎖体の供給方向が回転テーブルの径方向と接線方向との双方に対し交差している。このため、作業員が電線と圧着端子とを圧着するアプリケータセットの他のアプリケータセットなどと干渉することなく、電線と圧着端子とを圧着するアプリケータセットのアプリケータの近傍まで近づくことができる。
【0024】
請求項5に記載した本発明の端子圧着装置によれば、位置決め手段が電線と圧着端子とを圧着するアプリケータセットと回転テーブルとを、第1の型と第2の型との接離方向と回転テーブルの回転方向との双方に位置決めする。このため、電線と圧着端子とを圧着するアプリケータセットと圧着機との相対的な位置を保つことができ、電線と圧着端子とを圧着するアプリケータセットに圧着機から加わる駆動力などが第2の型やシャンクなどに不要なモーメントなどを与えることを防止できる。
【0025】
請求項6に記載した本発明の端子圧着装置によれば、位置決め手段は、一対の挟持部間から突出ピンの細部から抜け出た位置に第2スライド部材を位置付けて、前記回転テーブルの回転を許容する。このため、位置決め手段が、回転テーブルの回転を妨げることがない。
【0026】
また、位置決め手段は、電線に圧着端子を加締める際に、前記電線に圧着端子を加締めるアプリケータセットに対応した突出ピンの細部を前記一対の挟持部間に位置させて、前記回転テーブルの回転を規制する。このため、位置決め手段は、アプリケータセットと回転テーブルとを回転テーブルの回転方向に沿って確実に位置決めできる。
【0027】
さらに、位置決め手段は、突出ピンの細部が一対の挟持部間に位置すると、第1の型と第2の型とが接離する方向に沿って、一対の挟持部が太部を回転テーブルから離れる方向に付勢する。このため、位置決め手段は、アプリケータセットと回転テーブルとを第1の型と第2の型とが接離する方向に沿って確実に位置決めできる。
【0028】
請求項7に記載した本発明の端子圧着装置によれば、入力手段に入力した品番に応じて、制御手段が回転駆動源を制御する。入力手段に入力した品番の電線と圧着端子を圧着するアプリケータセットのシャンクが圧着機の連結部の直下に位置付けられる。このため、入力手段に入力した品番の電線と圧着端子を圧着するアプリケータセットで、確実に電線と圧着端子とを圧着できる。
【0029】
【発明の実施の形態】
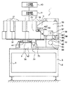
以下、本発明の一実施形態にかかる端子圧着装置1を図1ないし図18を参照して説明する。端子圧着装置1は、電線30の端部(図11に示す)に圧着端子4(図11に示す)を加締めて、これら圧着端子4を電線30の端部に圧着する装置である。
【0030】
電線30は、図12及び図13に示すように、導電性の芯線31と、絶縁性の被覆部32とを備えている。芯線31は、複数の素線からなる。素線は、銅又は銅合金などの導電性の金属からなる。被覆部32は、絶縁性の合成樹脂からなり前記芯線31を被覆している。また、前述した端部では、被覆部32の一部が除去されて芯線31が剥き出しとなっている。
【0031】
圧着端子4は、導電性を有する板金などから形成されており、図11に示すように、相手側の圧着端子が接続される電気接触部5と、前記電線30が接続される電線接続部6と、を備えている。
【0032】
電線接続部6は、電線30が置かれる底壁6aと、この底壁6aの両縁それぞれに連なる一対の導体加締め片7と、前記底壁6aの両縁それぞれに連なる一対の被覆部加締め片8と、を備えている。導体加締め片7は、底壁6aに向かって曲げられて前記電線30の芯線31を加締める即ち圧着する。被覆部加締め片8は、底壁6aに向かって曲げられて前記電線30の被覆部32を加締める即ち圧着する。前述した構成によって、電線接続部6即ち圧着端子4は、加締め片7,8によって、前記電線30の端部を加締めて、該電線30と電気的に接続する。
【0033】
前述した構成の圧着端子4は、図14に示す連鎖体33として、端子圧着装置1の後述する各リール47からアプリケータ10に供給される。連鎖体33は、一枚の板金などからなり、複数の圧着端子4と、キャリア34とを一体に備えている。このため、連鎖体33は、複数の圧着端子4が一体となっている。
【0034】
長手方向が互いに平行な状態で、複数の圧着端子4は並べられている。キャリア34は、圧着端子4の電線接続部6の電気接触部5から離れた側の縁に連結している。キャリア34は、圧着端子4同士を連結している。連鎖体33は、複数の圧着端子4を互いに平行でかつ等間隔に並べている。
【0035】
前述した連鎖体33は、後述するように、リール47に巻かれ、このリール47からアプリケータ10に供給される。そして、アプリケータ10により圧着端子4が一つずつ切り離されて、この切り離された圧着端子4に電線30が圧着される。そして、圧着端子4付きの電線30が得られる。
【0036】
圧着端子4付きの電線30は、圧着端子4が周知のコネクタハウジング内に挿入されるなどして、自動車などに配索されるワイヤハーネスを構成する。このため、前述した電線30や圧着端子4には、種々の品番が存在する。品番が異なると、例えば、電線30の外径などが異なる。また、品番が異なると、例えば、圧着端子4の前述した加締め片7,8の長さなどが異なる。
【0037】
端子圧着装置1は、図1及び図2に示すように、工場のフロア上などに設置される装置本体としてのフレーム2と、回転テーブル35と、回転駆動源としてのモータ36(図1に示す)と、複数のアプリケータセット37と、圧着機38と、位置決め手段としての位置決め機構部39(図1に示す)と、入力手段としての入力装置40と、制御手段としての制御装置41を備えている。
【0038】
フレーム2は、複数の棒状の部材3を互いに連結して、枠状及び箱状に形成されている。回転テーブル35は、図2に示すように、円板状に形成されている。回転テーブル35は、図1に示すように、その表面が水平方向に沿う状態でフレーム2の上部に支持されている。回転テーブル35は、その中心を通りかつ鉛直方向に沿う軸線P(図1中に一点鎖線で示す)を中心として、フレーム2に回転自在に支持されている。
【0039】
モータ36は、周知のステッピングモータやサーボモータなどからなり、図1に示すように、モータ本体42と、このモータ本体42に回転自在に支持された出力軸43を備えている。モータ本体42は、フレーム2に取り付けられているとともに、回転テーブル35の下方に配されている。出力軸43は、回転テーブル35の中心と連結している。
【0040】
モータ36は、出力軸43を回転させることで、回転テーブル35を前記軸線Pを中心として、図2中の矢印Kに沿って回転させる。なお、矢印Kは、本明細書に記した回転テーブル35の回転方向をなしている。また、矢印Kは、回転テーブル35の周方向と一致する。
【0041】
複数のアプリケータセット37は、図1及び図2に示すように、回転テーブル35の外縁部上に設置されている。これらのアプリケータセット37は、回転テーブル35の周方向(矢印K)に沿って、回転テーブル35上に並べられている。アプリケータセット37は、前述した電線30に圧着端子4を加締める。
【0042】
また、複数のアプリケータセット37は、後述するアンビル12とクリンパ13の形状やこれらの間隔などが互いに異なっている。複数のアプリケータセット37は、前述した形状や間隔が異なることで、互いに異なる品番の電線30と圧着端子4とを圧着する。このように、アプリケータセット37は、圧着する電線30と圧着端子4の品番に応じて設けられている。
【0043】
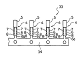
アプリケータセット37は、図6及び図7に示すように、ベース板44と、連鎖体供給部45と、アプリケータ10とを備えている。ベース板44は、平板状に形成されている。ベース板44の平面形状は、矩形状である。ベース板44は、図7に示すように、長手方向の一端部44aが回転テーブル35上に位置し、他端部44bが回転テーブル35の外縁から外周方向に突出した状態で、回転テーブル35上に固定されている(取り付けている)。このため、アプリケータセット37は、連鎖体供給部45の後述するリール47が回転テーブル35上に位置しかつアプリケータ10が回転テーブル35の外縁から回転テーブル35の外周方向に突出した状態で回転テーブル35に取り付けられている。
【0044】
連鎖体供給部45は、ベース板44の一端部44aから立設した支持板46と、この支持板46に回転自在に支持されたリール47と、複数の端子ガイド板48とを備えている。支持板46は、ベース板44の一端部44aから上方に伸びており、ベース板44に固定されている。
【0045】
リール47は、その中心が支持板46の上端部に回転自在に支持されている。このため、リール47は、ベース板44の一端部44aに回転自在に支持されている。リール47は、外周に前述した連鎖体33を巻いている。端子ガイド板48は、支持板46などに取り付けられており、リール47からアプリケータ10に各圧着端子4が供給されるように、連鎖体33を案内する。
【0046】
前述した構成の連鎖体供給部45は、リール47に連鎖体33を巻いており、この連鎖体33を、先端に位置する圧着端子4から順にアプリケータ10に供給する。
【0047】
アプリケータ10は、ベース板44の他端部44bに設置されている。アプリケータ10は、圧着機38から駆動力が与えられることにより、前記リール47より供給される連鎖体33から圧着端子4を切り離して、前記電線30に加締める。
【0048】
アプリケータ10は、図10及び図11に示すように、ベース部9と、フレーム11と、第1の型としての下型12(以下アンビルと呼ぶ)と、第2の型としての上型13(以下クリンパと呼ぶ)と、ラム14と、ラムボルト15と、シャンク16と、端子送り機構17と、を備えている。
【0049】
ベース部9は、平板状に形成されかつ前記ベース板44の他端部44bに取り付けられている。フレーム11は、図11に示すように、側方からみてコ字状に形成されている。フレーム11は、ベース部9上に取り付けられる。フレーム11は、アンビルホルダ部19と、上方延在部20と、ラム支持部21と、を備えている。アンビルホルダ部19は、ベース部9上に配される。アンビルホルダ部19は、アンビル12を保持する。
【0050】
上方延在部20は、ベース部9から上方に向かって延在している。ラム支持部21は、上方延在部20の上端部に連結している。ラム支持部21は、ラム14を昇降自在に支持する。
【0051】
アンビル12は、第1のアンビル12aと、第2のアンビル12bと、を備えている。第1のアンビル12aと第2のアンビル12bとは、それぞれ、アンビルホルダ部19に保持されて、フレーム11に取り付けられる。
【0052】
アンビル12上には、圧着端子4が置かれる。第1のアンビル12a上には、圧着端子4の底壁6aの導体加締め片7寄りの箇所が置かれる。第2のアンビル12b上には、圧着端子4の底壁6aの被覆部加締め片8寄りの箇所が置かれる。アンビル12上に載置された圧着端子4の加締め片7,8は、アンビル12の上方に向かって延在している。
【0053】
ラム14は、方体状(平行六面体状)に形成されている。ラム14は、ラム支持部21に鉛直方向に沿って昇降自在にフレーム11に支持されている。即ち、ラム14は、後述する矢印Sに沿ってスライド自在にフレーム11に支持されている。ラム14は、その長手方向が前記昇降方向即ち鉛直方向に沿っている。
【0054】
ラム14の上端部には、ねじ孔が設けられている。ねじ孔は、ラム14の上端面に開口している。ねじ孔は、鉛直方向即ちラム14の昇降方向に沿って延在している。ねじ孔は、後述するようにアンビル12とクリンパ13とが互いに接離する方向Sに沿って延在している。また、ラム14は、クリンパ13の上方に配されている。
【0055】
クリンパ13は、ラム14の下端部に取り付けられている。クリンパ13は、アンビル12に相対して設けられている。クリンパ13は、ラム14がラム支持部21に昇降自在に支持されることによって、アンビル12に接離自在に支持されている。クリンパ13は、鉛直方向に沿って変位して、アンビル12に対し接離する。このため、アンビル12とクリンパ13は、鉛直方向に沿う図10及び図11などに示す矢印Sに沿って互いに接離する。
【0056】
なお、接離とは、アンビル12とクリンパ13とが、互いに近づいたり離れたりすることである。また、矢印Sは、アンビル12とクリンパ13が互いに接離する方向(アンビル12とクリンパ13の接離方向)をなしている。クリンパ13がアンビル12に接離するのと連動して、ラム14が昇降する。
【0057】
クリンパ13は、第1のクリンパ13aと、第2のクリンパ13bと、を備えている。第1のクリンパ13aは、第1のアンビル12aに相対向している。第1のクリンパ13aは、アンビル12上に配される圧着端子4の導体加締め片7に相対向する。第1のクリンパ13aは、導体加締め片7に対し接離する。
【0058】
第2のクリンパ13bは、第2のアンビル12bに相対向している。第2のクリンパ13bは、アンビル12上に配される圧着端子4の被覆部加締め片8に相対向する。第2のクリンパ13bは、被覆部加締め片8に対し接離する。
【0059】
前述した構成によって、アンビル12とクリンパ13は、互いに近づけられて互いの間に圧着端子4及び電線30の端部を挟み込んで、圧着端子4と電線30の端部とを互いに圧着する。このとき、第1のクリンパ13aは、導体加締め片7を底壁6aに向かって曲げて、導体加締め片7で電線30の芯線を加締める。第2のクリンパ13bは、被覆部加締め片8を底壁6aに向かって曲げて、被覆部加締め片8で電線30の被覆部を加締める。
【0060】
ラムボルト15は、ラム14を介して鉛直方向に沿ってスライド自在にフレーム11に支持されている。即ち、ラムボルト15は、ラム14などを介して、矢印Sに沿ってスライド自在にフレーム11に支持されている。ラムボルト15は、クリンパ13とラム14の上方に配されている。ラムボルト15は、ラム14の上端部のねじ孔に螺合して、該ラム14に取り付けられる。
【0061】
ラムボルト15は、ラム14に取り付けられると、ラム14とともに昇降する。即ち、ラムボルト15は、クリンパ13の昇降動作即ちクリンパ13がアンビル12に対し接離するのに連動して、昇降方向即ち前記矢印Sに沿って変位する。また、ラムボルト15の上端部は、円環状に形成されており、内面にねじ溝が形成されている。
【0062】
シャンク16は、ラム14などを介して鉛直方向に沿ってスライド自在にフレーム11に支持されている。即ち、シャンク16は、ラム14などを介して、矢印Sに沿ってスライド自在にフレーム11に支持されている。シャンク16は、クリンパ13とラム14とラムボルト15の上方に配されている。シャンク16は、円柱状に形成されている。
【0063】
シャンク16は、ラムボルト15の上端部に連結されるラムボルト連結部26と、圧着機38の後述する連結部56と連結する駆動源装着部25と、を備えている。ラムボルト連結部26は、円柱状に形成されており、その外周面にねじ溝26aが形成されている。
【0064】
ねじ溝26aは、ラムボルト15の上端部の内面に設けられたねじ溝と螺合する。ラムボルト連結部26は、ねじ溝26aがラムボルト15のねじ溝と螺合することによって、ラムボルト15に連結する。
【0065】
駆動源装着部25は、円環状に形成されている。駆動源装着部25の外径は、ラムボルト連結部26の外径より大きい。また、駆動源装着部25とラムボルト連結部26とは、同軸的に配されており、互いに直列に連結した格好となっている。このため、駆動源装着部25は、ラムボルト連結部26の外周面から全周に亘って該ラムボルト連結部26の外周方向に突出した格好となっている。
【0066】
前述した構成によって、シャンク16は、ラムボルト連結部26のラムボルト15に対するねじ込み量が調整されることによって、相対位置が変更可能にラムボルト15に取付られる。そして、シャンク16は、ラムボルト15、ラム14即ちクリンパ13とともに、前述した矢印Sに沿ってスライド自在にフレーム11に支持されている。なお、このラムボルト15とシャンク16との間の相対位置は、前記クリンパ13などが昇降動作する方向即ちアンビル12とクリンパ13とが互いに接離する方向Sに沿っている。
【0067】
ラムボルト連結部26のねじ孔に対するねじ込み量を調整して、シャンク16のラムボルト15に対する相対位置を変更すると、前記アンビル12とクリンパ13との間の間隔が変化する。
【0068】
また、アプリケータ10は、ラムボルト連結部26がラムボルト15にねじ込まれる前にこのラムボルト連結部26がねじ込まれるナット27を備えている。このナット27は、ラムボルト連結部26がラムボルト15にねじ込まれた際に、ラムボルト15を下方即ちクリンパ13をアンビル12に近づける方向にねじ込まれることによって、前記ラムボルト15とシャンク16とのガタなどを抑制して、ラムボルト15とシャンク16とを互いに固定する。
【0069】
端子送り機構17は、前記圧着機38よりの駆動力によって、クリンパ13とシャンク16などが矢印Sに沿ってスライド(昇降動作)するのに連動して、前記連鎖体33の圧着端子4を一つずつ間隔的に、アンビル12とクリンパ13との間に送り出す。即ち、端子送り機構17は、圧着端子4と電線30の端部とを挟み込んで互いに圧着する動作に連動して、前記連鎖体33の圧着端子4を一つずつ間隔的に、アンビル12とクリンパ13との間に送り出す。
【0070】
前述した構成のアプリケータセット37は、アプリケータ10のアンビル12とクリンパ13との間の間隔が、圧着する電線30と圧着端子4の品番に応じて、適切な間隔となるように、シャンク16のラムボルト15に対するねじ込み量を調整しておく。
【0071】
そして、シャンク16の駆動源装着部25に、圧着機38の連結部56が連結して、リール47から供給された連鎖体33の圧着端子4をアンビル12とクリンパ13との間に位置付けて、作業員が圧着端子4の底壁6a上に電線30を置く。そして、クリンパ13がアンビル12に近づいた後離れて(降下した後上昇)して、圧着端子4を連鎖体33から切り離すとともに、切り離した圧着端子4と電線30とを圧着する。
【0072】
また、前述したアプリケータセット37のリール47からアプリケータ10に連鎖体33を送り出す方向Qは、図7に示すように、交点C1において、回転テーブル35の接線Tに沿う方向(以下接線方向Tと呼ぶ)と回転テーブル35の径方向H(回転方向Kに直交する方向)との双方に対し交差している。リール47からアプリケータ10に連鎖体33を送り出す方向Qは、連鎖体33が供給される方向に相当する。交点C1では、ベース板44の長手方向の中央と回転テーブル35の外縁とが交差している。
【0073】
また、図7に示すように、上方からみた平面図において、交点C2において、リール47からアプリケータ10に連鎖体33を送り出す方向Qは、回転テーブル35の接線方向Tと平行である。交点C2では、ベース板44の一端部44a側のリール47即ち連鎖体33と回転テーブル35の外縁とが交差している。
【0074】
さらに、前述したアプリケータセット37は、ベース板44の一端部44aにリール47を設け、他端部44bにアプリケータ10を設けている。このため、アプリケータセット37は、リール47とアプリケータ10との相対的な位置が一定に保たれている。即ち、リール47とアプリケータ10とは、相対的に移動しない。
【0075】
圧着機38は、図1及び図2に示すように、一つのみ設けられている。圧着機38は、図3ないし図5に示すように、フレーム2から立設した立設部材49と、立設部材49に取りつけられた駆動源としてのモータ50と、スライド部材51と、動力伝達部52(図3及び図4に示す)とを備えている。
【0076】
立設部材49は、フレーム2の上部に固定されている。立設部材49は、フレーム2の上部から上方に向かって伸びている。立設部材49の剛性は、高く保たれている。
【0077】
モータ50は、周知のステッピングモータなどからなり、図4に示すように、モータ本体53と、このモータ本体53に回転自在に支持された出力軸54を備えている。モータ本体53は、立設部材49に固定されているとともに、回転テーブル35即ち後述の連結部56より下方に配されている。出力軸54の軸芯即ち回転中心は、水平方向に沿っている。モータ本体53が立設部材49に固定されることで、本明細書では、モータ50が立設部材49に取りつけられているという。
【0078】
スライド部材51は、平板状に形成されている。スライド部材51は、本体部55と、連結部56と、伝達連結部57とを備えている。本体部55は、平面形状が四角形状に形成されている。本体部55は、一対のリニアガイド58により、鉛直方向即ち前述した矢印Sに沿って、スライド自在に立設部材49に支持されている。リニアガイド58は、直線状のレール59と、スライダ60とを備えている。
【0079】
レール59は、立設部材49に取りつけられている。レール59の長手方向は、鉛直方向即ち前述した矢印Sに沿っている。スライダ60は、レール59の長手方向に沿って移動自在にレール59に支持されている。スライダ60には、スライド部材51の本体部55が取りつけられている。こうすることで、スライド部材51は、鉛直方向即ち前述した矢印Sに沿って、スライド自在に立設部材49に支持されている。
【0080】
連結部56は、図3に示すように、本体部55の回転テーブル35寄りの縁部から回転テーブル35の上方に向かって突出している。連結部56は、鉛直方向即ち矢印Sに沿って、回転テーブル35に設置された複数のアプリケータセット37のうち一つのアプリケータセット37のアプリケータ10のシャンク16の直上(すぐ上)に位置する。
【0081】
連結部56は、本体部55から突出した連結本体部61と、鉤部62とを備えている。連結本体部61は、本体部55の前述した縁部から水平方向に沿って、回転テーブル35の上方に向かって突出している。鉤部62は、連結本体部61の下面から下方に伸びた下方延在部63と、下方延在部63の下端から水平方向に沿って、回転テーブル35の上方に向かって伸びた水平延在部64とを一体に備えて、鈎状(フック状ともいう)に形成されている。
【0082】
連結部56は、前述した一つのアプリケータセット37のアプリケータ10のシャンク16の駆動源装着部25を前述した連結本体部61と鉤部62の水平延在部64との間に挟む。連結部56は、駆動源装着部25を前述した連結本体部61と鉤部62の水平延在部64との間に挟むことで、アプリケータセット37のアプリケータ10のシャンク16と連結する。
【0083】
伝達連結部57は、連結部本体55の下端部でかつ一対のレール59間に設けられており、動力伝達部52の後述する連動軸65の一端部65aが取りつけられる。
【0084】
前述した構成のスライド部材51は、レール59の長手方向即ち矢印Sに沿ってスライドすることで、連結部56に連結したアプリケータセット37のアプリケータ10のシャンク16を矢印Sに沿って移動させる。そして、スライド部材51は、アンビル12とクリンパ13とを互いに接離させる。
【0085】
動力伝達部52は、モータ50からの駆動力により矢印Sに沿ってスライド部材51をスライド移動させる。動力伝達部52は、図4に示すように、連動軸65と、モータ50の出力軸54と連結されたクランク軸66とを備えている。
【0086】
連動軸65の一端部65aには、図4に示すように、円形の孔67が貫通している。この孔67内には、スライド部材51の伝達連結部57に固定される固定ピン68が通される。固定ピン68は、円柱状に形成されている。固定ピン68の外径は、孔67の内径より小さい。また、固定ピン68の外面と孔67の内面との間には、固定ピン68を中心として連動軸65の一端部65aを回転自在とする軸受69が設けられている。
【0087】
連動軸65は、前述した孔67と固定ピン68と軸受69などにより、一端部65aが固定ピン68を中心として回転自在にスライド部材51の伝達連結部57に取りつけられる。
【0088】
連動軸65の他端部65bには、図4に示すように、円形の孔70が貫通している。この孔70内には、クランク軸66の後述する偏心カム73が通される。孔70の内径は、偏心カム73の外径より大きい。また、偏心カム73の外面と孔70の内面との間には、偏心カム73を中心として連動軸65の他端部65bを回転自在とする軸受71が設けられている。連動軸65は、前述した孔70と軸受71などにより、他端部65bが偏心カム73を中心として回転自在に、クランク軸66に取りつけられる。
【0089】
クランク軸66は、円柱状の軸本体72と、円板状の偏心カム73とを備えている。軸本体72は、モータ50の出力軸54と同軸に配されており、該モータ50の出力軸54に連結している。クランク軸66は、複数の軸受により立設部材49に回転自在に支持されている。
【0090】
偏心カム73の平面形状は、円形である。偏心カム73の外径は、前述した孔70の内径より小さい。偏心カム73は、軸本体72と一体である。偏心カム73の軸芯と軸本体72とが平行である。さらに、偏心カム73は、軸本体72に対して偏心している。このため、軸本体72は、偏心カム73の中心から離れた位置に連なっている。即ち軸本体72と偏心カム73とは、互いに同軸ではない。
【0091】
前述した構成の動力伝達部52は、モータ50の駆動力によりクランク軸66の軸本体72が回転すると、偏心カム73が軸本体72に対して偏心しているので、連動軸65の他端部65bが軸本体72の軸芯を中心として回転する。すると、連動軸65が、図3中に二点鎖線で示す傾いた状態と、実線で示す長手方向が鉛直方向に沿う状態とに亘って変位する。
【0092】
すると、連動軸65の一端部65aが鉛直方向即ち矢印Sに沿って移動する。そして、連動軸65の一端部65aとともにスライド部材51即ち連結部56が鉛直方向即ち矢印Sに沿って移動する。こうして、動力伝達部52は、モータ50の駆動力を、回転運動から往復運動に変換して、スライド部材51を鉛直方向即ち矢印Sに沿ってスライド移動させる。
【0093】
前述した構成の圧着機38は、モータ50の駆動力を動力伝達部52が往復運動に変換して、スライド部材51の連結部56に連結したアプリケータ10のシャンク16を、鉛直方向即ち矢印Sに沿ってスライド移動させる。そして、圧着機38は、アンビル12とクリンパ13とを互いに接離させて、これらの間に挟まれた電線30と圧着端子4とを圧着する。
【0094】
さらに、駆動源としてのモータ50が、回転テーブル35より下方に配されている。このため、圧着機38のモータ50は、図3などに示すように、スライド部材51の連結部56より下方に位置している。
【0095】
位置決め機構部39は、図8及び図9に示すように、突出ピン74と、位置決め駆動部75とを備えている。突出ピン74は、図示しないがアプリケータセット37と同数設けられている。突出ピン74は、それぞれ、アプリケータセット37と対応している。
【0096】
突出ピン74は、対応するアプリケータセット37の下方に配されている。突出ピン74は、回転テーブル35の下面から鉛直方向即ち矢印Sに沿って下方に突出している。突出ピン74は、回転テーブル35に連なる細部76と、この細部76に連なる太部77とを備えている。
【0097】
細部76は、円柱状に形成されている。又、細部76には、回転テーブル35との間のガタを吸収するナット78が螺合している。太部77は、円柱状に形成されており、細部76より回転テーブル35から離れている。このため、細部76は、太部77より回転テーブル35寄りに配されている。細部76と太部77とは、同軸的に連結している。太部77の外径は、勿論細部76の外径より大きい。
【0098】
位置決め駆動部75は、一つのみ設けられている。位置決め駆動部75は、圧着機38の近傍に配されている。位置決め駆動部75は、図8に示すように、駆動部本体79と、第2スライド部材80と、スライド駆動源としてのシリンダ81とを備えている。
【0099】
駆動部本体79は、フレーム2に固定されている。駆動部本体79は、回転テーブル35の下方に位置し、かつ圧着機38の近傍に配されている。駆動部本体79には、突出ピン通し溝82と、スライド部材通し孔83とが設けられている。
【0100】
突出ピン通し溝82は、駆動部本体79の上面から凹に形成されている。突出ピン通し溝82は、回転テーブル35の回転方向K即ち周方向に伸びている。突出ピン通し溝82は、内側に突出ピン74の細部76と太部77との双方が通ることを許容して、回転テーブル35の回転を妨げない。
【0101】
スライド部材通し孔83は、駆動部本体79を回転テーブル35の径方向Hに沿って貫通している。スライド部材通し孔83は、突出ピン通し溝82に開口している。スライド部材通し孔83は、内側に第2スライド部材80が通ることを許容する。
【0102】
第2スライド部材80は、図9に示すように、一対の挟持部84とこれら一対の挟持部84を互いに連結する第2連結部85とを一体に備えている。一対の挟持部84は、それぞれ、棒状に形成されており、互いに間隔をあけて平行に配されている。挟持部84の長手方向は、回転テーブル35の径方向Hに沿っている。一対の挟持部84は、回転テーブル35の回転方向K即ち周方向に沿って、互いに間隔をあけて配されている。
【0103】
第2スライド部材80は、一対の挟持部84が第2連結部85より回転テーブル35の外周側に位置した状態で、前述したスライド部材通し孔83内に通されている。又、第2スライド部材80は、突出ピン74より回転テーブル35の内周側に配されている。第2スライド部材80は、スライド部材通し孔83内に通されることで、駆動部本体79を介してフレーム2に回転テーブル35の回転方向K(周方向)に対し直交する径方向Hに沿ってスライド自在に支持されている。
【0104】
シリンダ81は、図8に示すように、シリンダ本体86と、伸縮ロッド87とを備えている。シリンダ本体86は、駆動部本体79に取りつけられている。伸縮ロッド87は、棒状に形成されかつシリンダ本体86から伸縮自在に設けられている。伸縮ロッド87の長手方向は、回転テーブル35の径方向H即ち回転方向Kに直交する方向に沿っている。伸縮ロッド87は、シリンダ本体86から伸長することで、シリンダ本体86から回転テーブル35の内周側に向かって変位する。伸縮ロッド87には、前述した第2スライド部材80の第2連結部85が取り付けられている。
【0105】
シリンダ81の伸縮ロッド87が伸長した状態では、図8に示すように、第2スライド部材80は回転テーブル35の内周寄りに位置付けられる。シリンダ81の伸縮ロッド87が縮小した状態では、図16に示すように、第2スライド部材80は回転テーブル35の外周寄りに位置付けられる。
【0106】
また、前述した構成の位置決め機構部39の突出ピン74と第2スライド部材80などは、突出ピン74に対応したアプリケータセット37のアプリケータ10のシャンク16に圧着機38の連結部56が連結すると、細部76が一対の挟持部84間に略位置するようになっている。
【0107】
さらに、第2スライド部材80には、第1テーパ面88(図8に示す)と、第2テーパ面89(図9に示す)とが設けられている。第1テーパ面88は、一対の挟持部84それぞれに設けられている。第1テーパ面88は、図8などに示すように、一対の挟持部84の回転テーブル35の外周側の端面84aと下面84bとに亘って設けられている。
【0108】
第1テーパ面88は、突出ピン74の太部77の回転テーブル35寄りの縁部に、回転テーブル35の径方向Hに沿って相対する。第1テーパ面88は、回転テーブル35の外周側に向かうにしたがって、挟持部84の厚みを徐々に薄くする方向に、水平方向と鉛直方向との双方に対し傾いている。
【0109】
第2テーパ面89は、一対の挟持部84それぞれに設けられている。第2テーパ面89は、図9などに示すように、一対の挟持部84の前述した端面84aと互いに相対する内面84cとに亘って設けられている。第2テーパ面89は、突出ピン74の細部76の外周面と回転テーブル35の径方向Hに沿って相対する。第2テーパ面89は、回転テーブル35の外周側に向かうにしたがって、一対の挟持部84が徐々に互いに離れる方向に、第2スライド部材80のスライド方向に対し傾いている。
【0110】
前述した構成の位置決め機構部39は、一つのアプリケータセット37のアプリケータ10のシャンク16が圧着機38の連結部56に連結されると、前記一つのアプリケータセット37に対応する突出ピン74が、駆動部本体79の突出ピン通し溝82内に位置付けられる。なお、前述した構成の位置決め機構部39は、一つのアプリケータセット37のアプリケータ10のシャンク16が圧着機38の連結部56に連結されるまでは、シリンダ81の伸縮ロッド87が伸長して、第2スライド部材80の一対の挟持部84が突出ピン通し溝82内に突出していない。
【0111】
すると、図8に示すように、第1テーパ面88が突出ピン74の太部77の回転テーブル35寄りの縁部に相対する。さらに、図9に示すように、第2テーパ面89が突出ピン74の細部76の外周面に相対する。そして、位置決め機構部39は、シリンダ81の伸縮ロッド87を徐々に伸縮する。
【0112】
すると、図15に示すように、第1テーパ面88が突出ピン74の太部77の回転テーブル35寄りの縁部に接触する。さらに、シリンダ81の伸縮ロッド87を縮小すると、第1テーパ面88に案内されて太部77即ち突出ピン74が下方に付勢されるとともに、図17に示すように、第2テーパ面89が突出ピン74の細部76の外周面に接触する。さらに、シリンダ81の伸縮ロッド87を縮小すると、第1テーパ面88に案内されて太部77即ち突出ピン74が下方に付勢されるとともに、図18に示すように、第2テーパ面89に案内されて細部76即ち突出ピン74が一対の挟持部84間に位置付けられる。
【0113】
そして、位置決め機構部39は、図16に示すように、突出ピン74の細部76を一対の挟持部84間に挟みかつ突出ピン74の太部77を一対の挟持部84の下面84bに接触させることで、前記突出ピン74に対応したアプリケータセット37とフレーム2即ち圧着機38とを相対的に位置決めする。一対の挟持部84が、回転テーブル35の回転方向K即ち周方向に沿って互いに間隔をあけているので、位置決め機構部39は、アプリケータセット37とフレーム2即ち圧着機38とを回転テーブル35の回転方向K即ち周方向に沿って相対的に位置決めする。さらに、突出ピン74の太部77を一対の挟持部84の下面84bに接触させるので、突出ピン74即ち回転テーブル35を下方に付勢して、アプリケータセット37とフレーム2即ち圧着機38とを鉛直方向即ち前述した矢印Sに沿って相対的に位置決めする。
【0114】
前述した構成の位置決め機構部39は、シリンダ81の伸縮ロッド87を伸長させて、一対の挟持部84間から突出ピン74の細部76を抜け出させて、前記回転テーブル35の回転を許容する。また、位置決め機構部39は、電線30に圧着端子4を加締める際に、電線30に圧着端子4を加締めるアプリケータセット37に対応した突出ピン74の細部76を一対の挟持部84間に位置付けて、回転テーブル35の回転を規制する。さらに、細部76が、一対の挟持部84間に位置すると、矢印Sに沿って、一対の挟持部84が前記太部77を前記回転テーブル35から離れる方向に付勢する。
【0115】
入力装置40は、周知のボタンやキーボードなどから構成されており、圧着する電線30と圧着端子4との品番などを制御装置41などに入力するために用いられる。さらに、入力装置40は、アプリケータセット37のアンビル12とクリンパ13とを互いに1回だけ近づけた後離す(接離させる)ための信号を制御装置41に入力するために用いられる。
【0116】
制御装置41は、周知のRAM、ROM、CPUなどを備えたコンピュータであって、前述したモータ36,50及びシリンダ81と入力装置40に接続しており、これらを制御することにより、端子圧着装置1全体の制御をつかさどる。制御装置41は、予め、電線30と圧着端子4との各品番に対応したアプリケータセット37の位置を記憶している。
【0117】
制御装置41は、モータ36を駆動して、入力装置40から入力された品番の電線30と圧着端子4とを圧着するアプリケータセット37のシャンク16を圧着機38の連結部56の直下に位置付ける。こうすることで、制御装置41は、入力装置40から入力された電線30と圧着端子4の品番に応じて、モータ36に回転テーブル35を回転させて、前記入力装置40から入力された電線30と圧着端子4の品番に応じたアプリケータセット37のシャンク16を圧着機38の連結部56に連結可能とする。
【0118】
また、制御装置41は、入力装置40から入力された品番のアプリケータセット37のシャンク16を圧着機38の連結部56の直下に位置付けた後、位置決め機構部39のシリンダ81の伸縮ロッド87を縮小させる。さらに、制御装置41は、入力装置40からアンビル12とクリンパ13とを1回だけ接離させるための信号が入力すると、圧着機38に1回だけアンビル12とクリンパ13とを接離させる。
【0119】
前述した構成の端子圧着装置1で、電線30に圧着端子4を圧着する際には、予め、各アプリケータセット37の連鎖体供給部45のリール47に所定の品番の連鎖体33を巻いておく。また、位置決め機構部39のシリンダ81の伸縮ロッド87は、伸長している。そして、端子圧着装置1を駆動して、入力装置40から圧着する電線30と圧着端子4の品番を入力する。
【0120】
すると、制御装置41は、モータ36を駆動して、回転テーブル35を回転して、入力装置40から入力された品番の電線30と圧着端子4とを圧着するアプリケータセット37を圧着機38の近傍に位置付ける。そして、制御装置41は、前述した品番の電線30と圧着端子4とを圧着するアプリケータセット37のアプリケータ10のシャンク16を圧着機38のスライド部材51の連結部56の直下に位置付ける。
【0121】
前述したアプリケータセット37のシャンク16の駆動源装着部25が、圧着機38のスライド部材51の連結部56の連結本体部61と水平延在部64との間に挟まれる。こうして、入力装置40から入力された品番の電線30と圧着端子4とを圧着するアプリケータセット37のアプリケータ10のシャンク16が圧着機38のスライド部材51の連結部56と連結する。
【0122】
その後、制御装置41は、位置決め機構部39のシリンダ81の伸縮ロッド87を縮小させる。すると、図15に示すように、一対の挟持部84が徐々に突出ピン通し溝82内に侵入する。第1テーパ面88と突出ピン74の太部77の回転テーブル35寄りの縁部とが互いに接触する。図17に示すように、第2テーパ面89と突出ピン74の細部76の外周面とが互いに接触する。更に、伸縮ロッド87を縮小すると、図18に示すように、一対の挟持部84間に突出ピン74の細部76が位置付けられて、回転テーブル35の回転方向K即ち周方向に沿って、アプリケータセット37とフレーム2即ち圧着機38とが相対的に位置決めされる。
【0123】
また、第2スライド部材80の一対の挟持部84が、図16に示すように、回転テーブル35と突出ピン74の太部77との間に位置付けられて、突出ピン74が矢印Sに沿って下方即ち回転テーブル35から離れる方向に付勢されて位置決めされる。こうして、シャンク16が圧着機38の連結部56と連結したアプリケータセット37は、回転テーブル35の回転方向K即ち周方向と矢印S即ち鉛直方向に沿って、フレーム2即ち圧着機38に対して相対的に位置決めされる。
【0124】
アプリケータセット37の位置決めが終了すると、作業員などがリール47から連鎖体33を引き出して、連鎖体33の先端に位置する圧着端子4をアンビル12とクリンパ13との間に位置付ける。そして、作業員が、図12に示すように、電線30を圧着端子4の加締め片7,8間でかつ底壁6a上に位置付ける。その後、作業員が、入力装置40にアンビル12とクリンパ13とを1回接離するための信号を入力する。
【0125】
すると、制御装置41が、圧着機38のモータ50を駆動して、連動軸65を一旦降下させる。すると、図13に示すように、矢印Sに沿ってクリンパ13が降下して、該クリンパ13が各加締め片7,8を底壁6aに向かって曲げて、電線30に圧着端子4を圧着する。こうして、アンビル12とクリンパ13との間に電線30と圧着端子4とを挟んで、これらを圧着する。
【0126】
そして、制御装置41が、圧着機38のモータ50を駆動して、連動軸65を上昇させる。制御装置41が、圧着機38のモータ50を停止する。すると、クリンパ13が、矢印Sに沿って上昇して、アンビル12とクリンパ13とが互いに離れた状態で停止する。
【0127】
さらに、前述したアンビル12とクリンパ13とが電線30と圧着端子4とを圧着する際に、圧着端子4を連鎖体33から切り離す。さらに、アンビル12とクリンパ13とが電線30と圧着端子4とを圧着する動作に連動して、端子送り機構17が、連鎖体33の次の圧着端子4をアンビル12とクリンパ13との間に送り出す。こうして、前述した構成の端子圧着装置1は、電線30に圧着端子4を圧着して、圧着端子4付きの電線30を得る。
【0128】
本実施形態の端子圧着装置1によれば、圧着機38の連結部56が電線30に圧着端子4を加締めるアプリケータセット37のシャンク16の直上に位置する。このため、回転テーブル35を回転するだけで、所望のアプリケータセット37のシャンク16と圧着機38の連結部56とを連結できる。
【0129】
このため、アプリケータセット37のリール47とアプリケータ10とを相対的に移動させることなく、電線30と圧着端子4を圧着するアプリケータセット37を変更できる。したがって、アプリケータセット37の変更時にリール47に連鎖体33を巻き取る作業などが不要になり、作業工数の増加を抑制できる。したがって、生産性の向上と圧着端子4付きの電線30のコストの高騰を防止できる。
【0130】
駆動源としてのモータ50が連結部56より下方に設けられている。このため、スライド部材51や立設部材49などの剛性を高く保つことができる。また、モータ50を連結部56より上方に設けてスライド部材51や立設部材49の剛性を等しくする場合より、スライド部材51や立設部材49などの小型化を図ることができる。また、連結部56より上方にモータ50などを設置しないので、作業員に与える圧迫感を抑制できる。
【0131】
リール47を回転テーブル35上に位置付け、アプリケータ10を回転テーブル35の外縁から突出させている。このため、作業員が、アプリケータ10の近傍まで近づくことができる。このため、作業員が、アンビル12とクリンパ13との間の圧着端子4の所定の位置に電線30を確実に位置付けることができる。したがって、確実に電線30と圧着端子4とを圧着できる。
【0132】
リール47からアプリケータ10に連鎖体33を送り出す方向Qが回転テーブル35の径方向Hと接線方向Tとの双方に対し交差している。このため、作業員が、電線30と圧着端子4とを圧着するアプリケータセット37以外のアプリケータセット37などと干渉することなく、電線30と圧着端子4とを圧着するアプリケータセット37のアプリケータ10の近傍まで確実に近づくことができる。したがって、より確実に電線30と圧着端子4とを圧着できる。
【0133】
位置決め機構部39が電線30と圧着端子4とを圧着するアプリケータセット37と回転テーブル35を、矢印Sと回転テーブル35の回転方向Kとの双方に位置決めする。このため、電線30と圧着端子4とを圧着するアプリケータセット37と圧着機38との相対的な位置を保つことができ、圧着機38から加わる駆動力などがクリンパ13やシャンク16などに不要なモーメントなどを与えることを防止できる。したがって、圧着端子4付きの電線30の歩留まりの低下を防止できるとともにアプリケータセット37などの不意な破損を防止できる。
【0134】
位置決め機構部39は、一対の挟持部84間から突出ピン74の細部76から抜け出た位置にシリンダ81が第2スライド部材80を位置付けて、前記回転テーブル35の回転を許容する。このため、位置決め機構部39が、回転テーブル35の回転を妨げることがない。
【0135】
また、位置決め機構部39は、電線30に圧着端子4を加締める際に、電線30に圧着端子4を加締めるアプリケータセット37に対応した突出ピン74の細部76を一対の挟持部84間に位置させて、前記回転テーブル35の回転を規制する。このため、位置決め機構部39は、電線30と圧着端子4とを圧着するアプリケータセット37と回転テーブル35とを圧着機38に対して回転テーブル35の回転方向Kに沿って確実に位置決めできる。
【0136】
さらに、位置決め機構部39は、突出ピン74の細部76が一対の挟持部84間に位置すると、矢印Sに沿って、一対の挟持部84が太部77を回転テーブル35から離れる方向に付勢する。このため、位置決め機構部39は、アプリケータセット37と回転テーブル35とを圧着機38に対して矢印Sに沿って確実に位置決めできる。
【0137】
このため、電線30と圧着端子4とを圧着するアプリケータセット37と圧着機38との相対的な位置を保つことができ、圧着機38から加わる駆動力などがクリンパ13やシャンク16などに不要なモーメントなどを与えることを防止できる。したがって、圧着端子4付きの電線30の歩留まりの低下を防止できるとともにアプリケータセット37などの不意な破損を防止できる。
【0138】
入力装置40に入力した品番に応じて、制御装置41がモータ36を制御する。このため、入力装置40に入力した品番の電線30と圧着端子4を圧着するアプリケータセット37のシャンク16が圧着機38の連結部56の直下に位置付けられる。このため、入力装置40に入力した品番の電線30と圧着端子4を圧着するアプリケータセット37で、確実に電線30と圧着端子4とを圧着できる。したがって、誤った品番の電線30と圧着端子4とを圧着することを防止でき、圧着端子4付きの電線30の歩留まりの低下を確実に防止できる。
【0139】
【発明の効果】
以上説明したように、請求項1に記載した本発明によれば、圧着機の連結部が電線に圧着端子を加締めるアプリケータセットのシャンクの直上に位置する。このため、回転テーブルを回転するだけで、所望のアプリケータセットのシャンクと圧着機の連結部とを連結できる。このため、電線と圧着端子を圧着するアプリケータセットを変更する際に、該アプリケータセットのリールとアプリケータとを相対的に移動させない。したがって、リールに連鎖体を巻き取る作業などが不要になり、作業工数の増加を抑制できる。したがって、生産性の向上と圧着端子付きの電線のコストの高騰を防止できる。
【0140】
請求項2に記載した本発明によれば、駆動源が連結部より下方に設けられている。このため、スライド部材や立設部材などの剛性を高く保つことができる。また、駆動源を連結部より上方に設けてスライド部材や立設部材の剛性を等しくする場合より、スライド部材や立設部材などの小型化を図ることができる。また、連結部より上方に駆動源などを設置しないので、上方に比較的大きな物を設けた場合に作業員に与える圧迫感を抑制できる。
【0141】
請求項3に記載した本発明によれば、リールを回転テーブル上に位置付け、アプリケータを回転テーブルの外縁から突出させている。このため、作業員が、アプリケータの近傍まで近づくことができる。したがって、生産性の向上と圧着端子付きの電線のコストの高騰を防止できることにくわえ、確実に電線と圧着端子とを圧着できる。
【0142】
請求項4に記載した本発明によれば、連鎖体の供給方向が回転テーブルの径方向と接線方向との双方に対し交差している。このため、作業員が電線と圧着端子とを圧着するアプリケータセット以外のアプリケータセットなどと干渉することなく、電線と圧着端子とを圧着するアプリケータセットのアプリケータの近傍まで近づくことができる。したがって、生産性の向上と圧着端子付きの電線のコストの高騰を防止できることにくわえ、より確実に電線と圧着端子とを圧着できる。
【0143】
請求項5に記載した本発明によれば、位置決め手段が電線と圧着端子とを圧着するアプリケータセットと回転テーブルとを、第1の型と第2の型との接離方向と回転テーブルの回転方向との双方に位置決めする。このため、電線と圧着端子とを圧着するアプリケータセットと圧着機との相対的な位置を保つことができ、圧着機から加わる駆動力などが第2の型やシャンクなどに不要なモーメントなどを与えることを防止できる。したがって、生産性の向上と圧着端子付きの電線のコストの高騰を防止できることにくわえ、圧着端子付きの電線の歩留まりの低下を防止できるとともにアプリケータセットなどの不意な破損を防止できる。
【0144】
請求項6に記載した本発明によれば、位置決め手段は、一対の挟持部間から突出ピンの細部から抜け出た位置にスライド駆動源が第2スライド部材を位置付けて、前記回転テーブルの回転を許容する。このため、位置決め手段が、回転テーブルの回転を妨げることがない。
【0145】
また、位置決め手段は、電線に圧着端子を加締める際に、前記電線に圧着端子を加締めるアプリケータセットに対応した突出ピンの細部を前記一対の挟持部間に位置させて、前記回転テーブルの回転を規制する。このため、位置決め手段は、電線と圧着端子とを圧着するアプリケータセットと回転テーブルとを駆動源部に対し回転テーブルの回転方向に沿って確実に位置決めできる。
【0146】
さらに、位置決め手段は、突出ピンの細部が一対の挟持部間に位置すると、第1の型と第2の型とが接離する方向に沿って、一対の挟持部が太部を回転テーブルから離れる方向に付勢する。このため、位置決め手段は、電線と圧着端子とを圧着するアプリケータセットと回転テーブルとを駆動源部に対し第1の型と第2の型とが接離する方向に沿って確実に位置決めできる。
【0147】
このため、電線と圧着端子とを圧着するアプリケータセットと駆動源部との相対的な位置を保つことができ、駆動源部から加わる駆動力などが第2の型やシャンクなどに不要なモーメントなどを与えることを防止できる。したがって、生産性の向上と圧着端子付きの電線のコストの高騰を防止できることにくわえ、圧着端子付きの電線の歩留まりの低下を防止できるとともにアプリケータセットなどの不意な破損を防止できる。
【0148】
請求項7に記載した本発明によれば、入力手段に入力した品番に応じて、制御手段が回転駆動源を制御する。入力手段に入力した品番の電線と圧着端子を圧着するアプリケータセットのシャンクが圧着機の連結部の直下に位置付けられる。このため、入力手段に入力した品番の電線と圧着端子を圧着するアプリケータセットで、確実に電線と圧着端子とを圧着できる。したがって、圧着端子付きの電線の歩留まりの低下を確実に防止できる。
【図面の簡単な説明】
【図1】本発明の一実施形態にかかる端子圧着装置を一部断面で示す側面図である。
【図2】図1に示された端子圧着装置の平面図である。
【図3】図1に示された端子圧着装置の圧着機を示す側面図である。
【図4】図3中のIV―IV線に沿って一部断面で示す説明図である。
【図5】図3に示された圧着機の平面図である。
【図6】図1に示された端子圧着装置のアプリケータセットの側面図である。
【図7】図6に示されたアプリケータセットの平面図である。
【図8】図6中のVIII―VIII線に沿う断面図である。
【図9】図8中のIX―IX線に沿う断面図である。
【図10】図6に示されたアプリケータセットのアプリケータの側面図である。
【図11】図10中の矢印XI方向からみた図である。
【図12】図10に示されたアプリケータのアンビルとクリンパとの間に圧着端子と電線を位置付けた状態を示す説明図である。
【図13】図12に示されたアンビルとクリンパとが互いに近づいて圧着端子と電線とを圧着した状態を示す説明図である。
【図14】図6に示されたアプリケータセットのリールに巻かれた連鎖体の平面図である。
【図15】図8に示された状態からシリンダの伸縮ロッドが縮小した状態を示す図である。
【図16】図8に示されたシリンダの伸縮ロッドが縮小した状態を示す図である。
【図17】図9に示された状態からシリンダの伸縮ロッドが縮小した状態を示す図である。
【図18】図9に示されたシリンダの伸縮ロッドが縮小した状態を示す図である。
【符号の説明】
1 端子圧着装置
2 フレーム(装置本体)
4 圧着端子
10 アプリケータ
12 アンビル(第1の型)
13 クリンパ(第2の型)
16 シャンク
30 電線
33 連鎖体
35 回転テーブル
36 モータ(回転駆動源)
37 アプリケータセット
38 圧着機
39 位置決め機構部(位置決め手段)
40 入力装置(入力手段)
41 制御装置(制御手段)
47 リール
49 立設部材
50 モータ(駆動源)
51 スライド部材
52 動力伝達部
56 連結部
74 突出ピン
76 細部
77 太部
80 第2スライド部材
81 シリンダ(スライド駆動源)
84 挟持部
85 第2連結部
S アンビルとクリンパとが互いに接離する方向
K 回転方向
C1 交点
H 径方向
T 接線方向
Q 連鎖体を送り出す方向(連鎖体が供給される方向)
Claims (7)
- 装置本体と、
前記装置本体に回転自在に支持された回転テーブルと、
前記回転テーブル上に複数設置されかつ前記回転テーブルの回転方向に沿って並べられているとともに電線に圧着端子を加締めるアプリケータセットと、
前記装置本体に設置されかつ前記アプリケータセットに前記電線に圧着端子を加締めるための動力を伝達する圧着機と、を備えた端子圧着装置において、
前記アプリケータセットが、第1の型と、該第1の型に接離自在に支持されかつ前記第1の型との間に前記圧着端子と電線を位置付ける第2の型と、前記第1の型と第2の型とが接離する方向に沿って第2の型とともにスライド自在に支持されたシャンクと、先端に位置する前記圧着端子から順に複数の前記圧着端子が一体となった連鎖体を供給する連鎖体供給部とを備え、
前記圧着機が、前記装置本体に鉛直方向に沿ってスライド自在なスライド部材に設けられかつ前記シャンクと連結する連結部を備え、
前記連結部が、前記回転テーブルが回転することのみによって、電線に圧着端子を加締めるアプリケータセットのシャンクと連結するように、当該シャンクの直上に設けられたことを特徴とする端子圧着装置。 - 前記圧着機は、装置本体から立設した立設部材と、前記立設部材に取り付けられた駆動源と、前記立設部材に前記第1の型と第2の型とが接離する方向に沿ってスライド自在に支持されているとともに前記連結部を有したスライド部材と、前記駆動源からの駆動力により前記第1の型と第2の型とが接離する方向に沿って前記スライド部材をスライド移動させる動力伝達部と、を備え、
前記駆動源が前記連結部より下方に配されたことを特徴とする請求項1記載の端子圧着装置。 - 前記アプリケータセットは、回転自在に支持されかつ複数の圧着端子が一体となった連鎖体を巻いたリールと、
前記圧着機から駆動力が与えられることにより、前記リールより供給される連鎖体から圧着端子を切り離して、前記電線に加締めるアプリケータと、を備え、
前記リールが前記回転テーブル上に位置付けられかつ前記アプリケータが前記回転テーブルの外縁から突出した状態で前記回転テーブルに取り付けられていることを特徴とする請求項1または請求項2記載の端子圧着装置。 - 前記回転テーブルは、円板状に形成されており、前記アプリケータセットは、前記アプリケータとリールとを取り付けかつ前記回転テーブルに取り付けられた矩形状のベース板を備えており、
前記リールからアプリケータに連鎖体が供給される方向は、前記ベース板の長手方向の中央と前記回転テーブルの外縁との交点における前記回転テーブルの径方向と接線方向との双方に対し交差していることを特徴とする請求項3記載の端子圧着装置。 - 前記連結部と電線に圧着端子を加締めるアプリケータセットのシャンクとを連結した時に、電線に圧着端子を加締めるアプリケータセットと前記装置本体とを、前記第1の型と第2の型とが接離する方向と前記回転テーブルの回転方向との双方に位置決めする位置決め手段を備えたことを特徴とする請求項1ないし請求項4のうちいずれか一項に記載の端子圧着装置。
- 前記位置決め手段は、アプリケータセットに対応して設けられかつ前記回転テーブルから前記第1の型と第2の型とが接離する方向に沿って突出した突出ピンと、
前記装置本体に前記回転テーブルの回転方向に直交する方向に沿ってスライド自在に支持された第2スライド部材と、を備え、
前記突出ピンは、前記回転テーブルに連なる細部と、前記細部に連なりかつ前記細部より太い太部と、を備え、
前記第2スライド部材は、前記回転テーブルの回転方向に沿って互いに間隔をあけているとともに前記回転テーブルの回転方向に直交する方向に沿って伸びた一対の挟持部を備え、
前記一対の挟持部間から前記突出ピンの細部を抜け出させて、前記回転テーブルの回転を許容するとともに、
前記電線に圧着端子を加締める際に、前記電線に圧着端子を加締めるアプリケータセットに対応した突出ピンの細部を前記一対の挟持部間に位置させて、前記回転テーブルの回転を規制するとともに、
前記細部が前記一対の挟持部間に位置すると、前記第1の型と第2の型とが接離する方向に沿って、一対の挟持部が前記太部を前記回転テーブルから離れる方向に付勢することを特徴とする請求項5記載の端子圧着装置。 - 前記アプリケータセットが圧着する電線と圧着端子の品番に応じて設けられており、前記回転テーブルが回転駆動源により回転されるとともに、
圧着する電線と圧着端子の品番を入力する入力手段と、
前記入力手段から入力された電線と圧着端子の品番に応じて前記回転駆動源に回転テーブルを回転させて、前記入力手段から入力された電線と圧着端子の品番に応じたアプリケータセットのシャンクを前記圧着機の連結部の直下に位置付ける制御手段と、を備えたことを特徴とする請求項1ないし請求項6のうちいずれか一項に記載の端子圧着装置。
Priority Applications (1)
| Application Number | Priority Date | Filing Date | Title |
|---|---|---|---|
| JP2003080654A JP3947487B2 (ja) | 2003-03-24 | 2003-03-24 | 端子圧着装置 |
Applications Claiming Priority (1)
| Application Number | Priority Date | Filing Date | Title |
|---|---|---|---|
| JP2003080654A JP3947487B2 (ja) | 2003-03-24 | 2003-03-24 | 端子圧着装置 |
Publications (2)
| Publication Number | Publication Date |
|---|---|
| JP2004288524A JP2004288524A (ja) | 2004-10-14 |
| JP3947487B2 true JP3947487B2 (ja) | 2007-07-18 |
Family
ID=33294449
Family Applications (1)
| Application Number | Title | Priority Date | Filing Date |
|---|---|---|---|
| JP2003080654A Expired - Lifetime JP3947487B2 (ja) | 2003-03-24 | 2003-03-24 | 端子圧着装置 |
Country Status (1)
| Country | Link |
|---|---|
| JP (1) | JP3947487B2 (ja) |
Families Citing this family (10)
| Publication number | Priority date | Publication date | Assignee | Title |
|---|---|---|---|---|
| JP4898463B2 (ja) * | 2007-01-16 | 2012-03-14 | 矢崎総業株式会社 | 端子圧着装置及び端子圧着方法 |
| CN106463905B (zh) * | 2014-05-26 | 2019-07-26 | 矢崎总业株式会社 | 端子压接系统 |
| JP6271394B2 (ja) * | 2014-10-28 | 2018-01-31 | 矢崎総業株式会社 | 端子圧着システム |
| CN107706692B (zh) * | 2016-08-23 | 2023-12-19 | 昆山科森科技股份有限公司 | 一种电线压接端子压合机 |
| CN110560592B (zh) * | 2019-10-09 | 2024-11-19 | 珠海智新自动化科技有限公司 | 一种压接机工作头 |
| CN111900673B (zh) * | 2020-06-19 | 2021-04-20 | 中国人民解放军91001部队 | 海缆接续工作台 |
| DE102021101497A1 (de) | 2020-10-14 | 2022-04-14 | Zoller & Fröhlich GmbH | Kabelverarbeitungscenter |
| CN115000775B (zh) * | 2022-05-19 | 2025-04-01 | 鹤壁海昌智能科技有限公司 | 一种直角端子的压接模具 |
| CN115842278B (zh) * | 2023-02-15 | 2024-03-19 | 广州知崇新能源科技有限公司 | 一种自动上料装置及端子压接机 |
| CN119481883A (zh) * | 2025-01-14 | 2025-02-18 | 江苏海纳智光科技有限公司 | 一种电连接器针孔件加工用送料机构 |
-
2003
- 2003-03-24 JP JP2003080654A patent/JP3947487B2/ja not_active Expired - Lifetime
Also Published As
| Publication number | Publication date |
|---|---|
| JP2004288524A (ja) | 2004-10-14 |
Similar Documents
| Publication | Publication Date | Title |
|---|---|---|
| JP3947487B2 (ja) | 端子圧着装置 | |
| US7770286B2 (en) | Manufacturing method for a winding assembly of a rotary electrical machine | |
| EP3048709B1 (en) | Coil-end-molding device and method | |
| CN101051726A (zh) | 端子压接装置和压接端子的方法 | |
| EP2833525A1 (en) | Device and method for forming coil end | |
| EP2174390B1 (en) | Wire positioning device for a wire termination machine | |
| US8356401B2 (en) | Electrical cable wiring head device and electrical cable wiring apparatus | |
| US10236652B2 (en) | Terminal-equipped electric wire, terminal crimping apparatus, and method of manufacturing terminal-equipped electric wire | |
| CN111014513B (zh) | 铁芯内的扁线头部的扭曲机 | |
| CN1213448C (zh) | 用于电力变压器铁芯的连续绕线方法及设备 | |
| CN112397970A (zh) | 一种连接电线组装设备 | |
| KR101338396B1 (ko) | 전선용 단자결착기 | |
| CN113593893B (zh) | 一种手指线圈的自动生产设备以及生产方法 | |
| US20190319519A1 (en) | System and method for inserting wire into stator core of ac generator | |
| CN212094133U (zh) | 铁芯内的扁线头部的扭曲装置 | |
| CN223729190U (zh) | 剥线扭线打端子一体设备 | |
| JP4181910B2 (ja) | アキシャル型回転電機およびその製造方法 | |
| US11283230B2 (en) | Device, method, and system for inverse crimping | |
| CN113674989B (zh) | 双轴剥皮绕线包胶机 | |
| JP2016143502A (ja) | 端子圧着装置 | |
| JP2011040258A (ja) | 端子圧着装置 | |
| JP2019200968A (ja) | 端子付き電線製造方法及び端子圧着装置 | |
| JP2005151736A (ja) | コイルエンド部成形装置 | |
| CN116915005A (zh) | 定子绕线设备 | |
| JP7027008B2 (ja) | 端子付き電線製造方法及び端子圧着装置 |
Legal Events
| Date | Code | Title | Description |
|---|---|---|---|
| A621 | Written request for application examination |
Free format text: JAPANESE INTERMEDIATE CODE: A621 Effective date: 20050524 |
|
| A977 | Report on retrieval |
Free format text: JAPANESE INTERMEDIATE CODE: A971007 Effective date: 20060908 |
|
| A131 | Notification of reasons for refusal |
Free format text: JAPANESE INTERMEDIATE CODE: A131 Effective date: 20060926 |
|
| A521 | Written amendment |
Free format text: JAPANESE INTERMEDIATE CODE: A523 Effective date: 20061127 |
|
| TRDD | Decision of grant or rejection written | ||
| A01 | Written decision to grant a patent or to grant a registration (utility model) |
Free format text: JAPANESE INTERMEDIATE CODE: A01 Effective date: 20070403 |
|
| A61 | First payment of annual fees (during grant procedure) |
Free format text: JAPANESE INTERMEDIATE CODE: A61 Effective date: 20070413 |
|
| R150 | Certificate of patent or registration of utility model |
Ref document number: 3947487 Country of ref document: JP Free format text: JAPANESE INTERMEDIATE CODE: R150 Free format text: JAPANESE INTERMEDIATE CODE: R150 |
|
| FPAY | Renewal fee payment (event date is renewal date of database) |
Free format text: PAYMENT UNTIL: 20110420 Year of fee payment: 4 |
|
| FPAY | Renewal fee payment (event date is renewal date of database) |
Free format text: PAYMENT UNTIL: 20110420 Year of fee payment: 4 |
|
| FPAY | Renewal fee payment (event date is renewal date of database) |
Free format text: PAYMENT UNTIL: 20120420 Year of fee payment: 5 |
|
| FPAY | Renewal fee payment (event date is renewal date of database) |
Free format text: PAYMENT UNTIL: 20130420 Year of fee payment: 6 |
|
| FPAY | Renewal fee payment (event date is renewal date of database) |
Free format text: PAYMENT UNTIL: 20140420 Year of fee payment: 7 |
|
| R250 | Receipt of annual fees |
Free format text: JAPANESE INTERMEDIATE CODE: R250 |
|
| R250 | Receipt of annual fees |
Free format text: JAPANESE INTERMEDIATE CODE: R250 |
|
| R250 | Receipt of annual fees |
Free format text: JAPANESE INTERMEDIATE CODE: R250 |
|
| R250 | Receipt of annual fees |
Free format text: JAPANESE INTERMEDIATE CODE: R250 |
|
| R250 | Receipt of annual fees |
Free format text: JAPANESE INTERMEDIATE CODE: R250 |