JP3772645B2 - Disc loading device - Google Patents

Disc loading device Download PDF

Info

Publication number
JP3772645B2
JP3772645B2 JP2000169415A JP2000169415A JP3772645B2 JP 3772645 B2 JP3772645 B2 JP 3772645B2 JP 2000169415 A JP2000169415 A JP 2000169415A JP 2000169415 A JP2000169415 A JP 2000169415A JP 3772645 B2 JP3772645 B2 JP 3772645B2
Authority
JP
Japan
Prior art keywords
disk
disc
arm
loading
plate
Prior art date
Legal status (The legal status is an assumption and is not a legal conclusion. Google has not performed a legal analysis and makes no representation as to the accuracy of the status listed.)
Expired - Fee Related
Application number
JP2000169415A
Other languages
Japanese (ja)
Other versions
JP2001351295A (en
Inventor
裕之 佐藤
Current Assignee (The listed assignees may be inaccurate. Google has not performed a legal analysis and makes no representation or warranty as to the accuracy of the list.)
Teac Corp
Original Assignee
Teac Corp
Priority date (The priority date is an assumption and is not a legal conclusion. Google has not performed a legal analysis and makes no representation as to the accuracy of the date listed.)
Filing date
Publication date
Application filed by Teac Corp filed Critical Teac Corp
Priority to JP2000169415A priority Critical patent/JP3772645B2/en
Priority to TW090112333A priority patent/TW516022B/en
Priority to US09/872,389 priority patent/US6799322B2/en
Priority to KR10-2001-0030954A priority patent/KR100425792B1/en
Publication of JP2001351295A publication Critical patent/JP2001351295A/en
Application granted granted Critical
Publication of JP3772645B2 publication Critical patent/JP3772645B2/en
Anticipated expiration legal-status Critical
Expired - Fee Related legal-status Critical Current

Links

Images

Landscapes

  • Feeding And Guiding Record Carriers (AREA)

Description

【0001】
【発明の属する技術分野】
本発明はディスクローディング装置に係り、特に、ディスクが水平の姿勢でディスクローディング装置筐体内に挿入され、ターンテーブル上にローディングされるようにしたディスクローディング装置に関する。
【0002】
【従来の技術】
従来より、操作者がケースより取り出した裸のディスクを装置のフロントパネルのディスク挿入用スロットに挿入する操作を行うと、ディスクが自動的に引き込まれてターンテーブル上にローディングされて再生され、再生終了後には、ディスクがディスク挿入用スロットの外に突き出すまで排出される構成のディスクローディング装置がある。
【0003】
このディスクローディング装置は、ディスクの通路の上側に、ディスクを横切る長い上側のローラを設け、且つディスクの通路の下側に、ディスクを横切る長い下側のローラを設け、途中まで水平に挿入されたディスクを上下一対のローラによって挟み、ローラが回転してディスクを装置の内部に引き込む構成である。
【発明が解決しようとする課題】
従来のディスクローディング装置は、ディスクの通路の上側と下側とに、ディスクを横切る長いローラを設けた構成であるため、厚さが厚くなってしまい、薄型化を図ることが困難であった。
【0004】
また、一方のローラはディスクの記録面と接触することになり、記録面を傷める虞があった。
【0005】
また、ディスクの移動はローラとディスクとの間の摩擦を利用しているため、ローラが磨耗すると、ディスクの移動が不安定となる虞があった。
【0006】
そこで、本発明は、上記課題を解決したディスクローディング装置を提供することを目的とする。
【0007】
【課題を解決するための手段】
上記課題を解決するために、請求項1の発明は、ディスクが挿入されターンテーブル上にローディングされ、その後に、ディスクが外部に排出されてアンローディングされるディスクローディング装置において、
モータと、
ディスクの周縁のうちディスクの挿入方向側の周縁を係止する係止部を有し、ディスクの移動する面と平行な面内で回動可能に設けた第1のアームと、
先端が途中まで挿入されたディスクの周縁のうちディスクの挿入方向側とは反対側の周縁を係止する係止部を有し、ディスクの移動する面と平行な面内で回動可能に設けた第2のアームと、
ディスクをローディングする過程では、手動によってディスクが途中まで挿入されたときに、上記モータによって、上記第2のアームを、その係止部がディスクの周縁を係止して押してディスクをディスクローディング装置内に押し込むように回動させ、ディスクをアンローディングする過程では、上記モータによって、上記第1のアームを、その係止部がディスクの周縁を係止して押してディスクをディスクローディング装置の外に押し出すように回動させるように制御する制御機構と、
ローディングされる過程のディスクを支持案内し、ディスク再生時には、ディスクに対して離れるディスク支持ガイド機構とを有し、
該ディスク支持ガイド機構は、
上側板部と、下側板部と、側板部とよりなるコ字形状であり、且つ、ラックを有し、挿入されるディスクの両側に、ディスクの挿入方向に対して直交方向に移動可能に支持されたディスク支持ガイド部材と、両側のディスク支持ガイド部材の対向する位置関係にあるラックが噛み合うピニオンとよりなり、両側のディスク支持ガイド部材が連動して互いに逆方向に同じ距離移動し、両側のディスク支持ガイド部材の側板部の間でローディングされる過程のディスクの周縁を支持案内し、ディスク再生時には、両側のディスク支持ガイド部材が連動して互いに離れる方向に移動され、両側のディスク支持ガイド部材の側板部がディスクの周縁から離れる構成としたものである。
【0009】
【発明の実施の形態】
図1は本発明の一実施例になるディスクローディング装置10をその内部を透視して示し、図2は図1のディスクローディング装置10を分解して示す。図3はベース部材に取り付けてある機構を示す平面図、図4はカバー部材の下面に取り付けてある機構を示す平面図である。図5は図1のディスクローディング装置10の内部を透視して示す正面図、図6は側面図、図7は背面図である。図5、図6、図7及び図8(A)、(B)及び図9(A)、(B)は、高さを誇張して示してある。また、各図は、ディスク11を挿入する前の状態を示す。
【0010】
各図中、X1、X2はディスクローディング装置10の幅方向、Y1、Y2はディスクローディング装置10の奥行き方向、Z1、Z2はディスクローディング装置10の高さ(厚さ)方向である。CLはディスクローディング装置10のX1、X2方向の中心をY方向に延在する中心線である。
【0011】
説明の便宜上、先ずディスクローディング装置10の概略の動作を説明する。
図8(A)及び図9(A)は、ディスクローディング途中の状態を示し、図8(B)及び図9(B)は、ディスクローディングを完了した状態を示す。
【0012】
ディスクローディング装置10は、操作者がケースより取り出した裸のディスク11をその記録面11aを下向きとした水平の姿勢でフロントベゼル12のディスク挿入用スロット13内に挿入する操作を行うことによって、図8(A)及び図9(A)に示す状態となり、続いて、概略以下のように動作する。
【0013】
・第2のアーム(押し込みアーム)83がディスク11を押し込む。
【0014】
・ディスクガイド・支持部材90,91が押し込まれるディスク11を案内すると共に水平に支える。
【0015】
・ターンテーブル14が上昇して、ターンテーブル14がディスク11を支持する。
【0016】
・クランパ15が解除され、ディスク11がクランプされて、図8(B)及び図9(B)に示す状態となって、ターンテーブル14上にローディングされる。
・ターンテーブル用モータ16が始動し、ディスク11が回転され、光ピックアップ17によって再生される。
【0017】
操作者がイジェクト操作を行うと、ディスクローディング装置10は、概略以下のように動作する。
【0018】
・クランパ15が上動されて、ディスク11のクランプが解除される。
【0019】
・ターンテーブル14が下降して、ターンテーブル14がディスク11の中心孔11bから抜け出る。
【0020】
・ディスクガイド・支持部材90,91がディスク11を水平に支持する。
【0021】
・第1のアーム(押し出しアーム)80がディスク11をディスク挿入用スロット13の外に突き出すまで押し出す。
【0022】
・フック部材140がディスク11の中心孔11bを引っ掛けて落ちないように支持する。ディスクローディング装置10は、図8(A)及び図9(A)に示す状態となる。
【0023】
次に、ディスクローディング装置10の構造について説明する。
【0024】
ディスクローディング装置10は、筐体20の内部に、モータ21、減速ギヤ機構22、プレート機構23、ディスク押し込み・押し出し機構24、ディスク支持・ガイド機構25、ターンテーブル・光学ピックアップユニット26、ターンテーブル・光学ピックアップユニット昇降機構27、クランプ機構28、クランプ解除機構29、ディスク引っ掛け支持機構30等が組み込まれている構成である。
【0025】
以下、上記の各機構について説明する。
【0026】
〔筐体20〕
図1及び図2に示すように、筐体20は、ベース部材40と、カバー部材41と、フロントベゼル12とよりなる構造である。ベース部材40は、底板部40aと背面板部40bとを有する。ベース部材40には、ターンテーブル・光学ピックアップユニット26がZ1、Z2方向に移動するように案内するための案内溝40a1、40b1、40b2が形成してある。案内溝40a1は、底板部40aの切り起こし片40a2に形成してあり、案内溝40b1、40b2は、背面板部40bに形成してある。カバー部材41は、天板部41aと、左右の側面板部41b、41cとを有する。天板部41aには、受け部41a1、41a2が切り起こして形成してあり及び鍔付きピン41a3、41a4がかしめてある。これらは、ディスクガイド・支持部材を支持するためのものである。また、天板部41aには、クランプ解除アームを支持するための受け部41a5が切り起こして形成してある。
【0027】
図3に示すように、ベース部材40上には、モータ21、減速ギヤ機構22、プレート機構23、ディスク押し込み・押し出し機構24、ディスク支持・ガイド機構25、ターンテーブル・光学ピックアップユニット26、ターンテーブル・光学ピックアップユニット昇降機構27が取り付けてある。
【0028】
図4に示すように、カバー部材41には、ディスク支持・ガイド機構25、クランパ28、クランプ解除機構29、ディスク引っ掛け支持機構30が取り付けてある。
【0029】
〔モータ21、減速ギヤ機構22〕
図2、図3及び図10に示すように、モータ21は底板部40aの上面に固定してある。ギヤ機構22は、底板部40aの上面に設けてあり、回転の伝達の順に、ウォームギヤ51、減速平歯車列52、遊星ギヤ機構53が並んでいる構成である。
【0030】
遊星ギヤ機構53は、軸54に固定してあるギヤ55と、軸54に回転可能に支持されている太陽ギヤ56と、ギヤ55にかしめてあるピン57に回転可能に支持されている遊星ギヤ58と、軸54の上端側に回転可能に支持されているギヤ59とを有する。遊星ギヤ58は太陽ギヤ56と噛み合っている。ギヤ59は、外歯車59aと内歯車59bとを一体に有する。内歯車59bが遊星ギヤ58と噛み合っている。ギヤ55が遊星ギヤ機構53の腕として機能する。軸54の下端部が底板部40aの穴に回転可能に嵌合してある。外歯車59aは、減速平歯車列52の平歯車列52aと噛み合っている。
【0031】
ギヤ55は、後述する第1のスライドプレート70のラック部70bと噛み合っている。太陽ギヤ56は、後述するローディングプレート71のラック部71bと噛み合っている。遊星ギヤ機構53は、太陽ギヤ56が回転を拘束された状態、又は、ギヤ55が回転を拘束された状態となる。
【0032】
モータ21の回転がウォームギヤ51→減速平歯車列52を通して減速され、減速された回転が遊星ギヤ機構53のギヤ59に伝達される。ギヤ59の回転は、内歯車59b→遊星ギヤ58→太陽ギヤ56と伝達される。太陽ギヤ56が回転を拘束された状態では、遊星ギヤ58が太陽ギヤ56の周囲を回わって、ギヤ55が回転される。遊星ギヤ機構53は、遊星ギヤ機構として動作する。ギヤ55が回転を拘束された状態では、遊星ギヤ58の位置が停止しており、ギヤ59の回転が内歯車59b→遊星ギヤ58→太陽ギヤ56と伝達され、太陽ギヤ56が回転される。
【0033】
図3に示すように、減速平歯車列52にはカム60が形成してあり、このカムによってレバー61が揺動され、レバー61の揺動によってスイッチSW1が駆動されるように設けてある。スイッチSW1がオンオフを所定回数繰り返したことが検出されると、モータ21が停止される。
【0034】
〔プレート機構23〕
図2、図3及び図11に示すように、プレート機構23は、底板部40aの上面に交差した状態で配されているX方向に摺動する第1のスライドプレート70とY方向に摺動するローディングプレート71とよりなる。
【0035】
第1のスライドプレート70は、二つの長穴70aをピン72に案内されてX1−X2方向に摺動可能に設けてある。この第1のスライドプレート70は、ラック部70b、70cを有し、ピン70dがかしめてあり、且つ、上向きに折り曲げてある垂直板部70eを有する。垂直板部70eには斜めのスリット70fが形成してある。ラック部70bは、上記の遊星ギヤ機構53のギヤ55に噛み合っている。ラック部70c、垂直板部70e及び斜めのスリット70fは、ターンテーブル・光学ピックアップユニット昇降機構27の一部を構成する。
【0036】
ローディングプレート71は、三つの長穴71aをピン73に案内されてY1−Y2方向に摺動可能に設けてある。このローディングプレート71は、ラック71b、クランク形状のスリット71c及び略L字形状のスリット71d、ラグ部71e、ピン71fを有する。ラック部71bは上記の遊星ギヤ機構53の太陽ギヤ56に噛み合っている。
【0037】
クランク形状のスリット71cは、上記の第1のスライドプレート70のピン70dが係合してある。クランク形状のスリット71cは、Y方向に延在するY方向スリット部71c1と、X方向に延在するX方向スリット部71c2と、Y方向に延在するY方向スリット部71c3とよりなる構成である。Y方向スリット部71c1とX方向スリット部71c2とY方向スリット部71c3とは、連続している。スリット71cとピン70dとによって、第1のスライドプレート70のX方向摺動、ローディングプレート71のY方向摺動を拘束したり、可能としたりしている。
【0038】
略L字形状のスリット71dは、X1とY2の間の方向に延びているスリット部71d1と、これとつながってY方向に延在するY方向スリット部71d2とよりなる。
【0039】
略L字形状のスリット71d及びラグ部71eは、ディスク押し込み・押し出し機構24と係わり合う。ピン71fは、ディスクガイド・支持機構25と係わり合う。
【0040】
ディスク11を挿入する前では、図3に示すように、第1のスライドプレート70はX2方向に位置しており、ローディングプレート71はY2方向に位置している。
【0041】
〔ディスク押し込み・押し出し機構24〕
図1、図2及び図3に示すように、ディスク押し込み・押し出し機構24は、底板部40aの上面であって、筐体20のX2方向の側に設けてある。図12に併せて示すように、ディスク押し込み・押し出し機構24は、第1のアーム80と、トーションコイルバネ81と、オイルダンパ82と、第2のアーム83と、スイッチSW2とよりなる。第1のアーム80と第2のアーム83とは、第1のアーム80の軸部と第2のアーム83の軸部とが近接し、第1のアーム80の軸部がY1側、第2のアーム83の軸部がY2側とされて配置してある。
【0042】
第1のアーム80は、基部に、ギヤ部80a及びカム80bを有し、先端の上面にピン80cを有し、基部を底板部40aにかしめてある軸84に回転可能に支持されており、トーションコイルバネ81によって時計方向に回動付勢されている。第1のアーム80は、ディスク11が手動で挿入されたときに、ピン80cに、ディスク11の挿入方向側の周縁11cが当接するように設けてある。カム80bは、第1のアーム80が反時計方向に回動されたときに、スイッチSW2を作動させる。ギヤ部80aは、底板部40aに固定してあるオイルダンパ82のギヤ82aと噛み合っている。
【0043】
カム80bの端部80b1がローディングプレート71のラグ部71eに当接しており、第1のアーム80の回動位置はローディングプレート71の位置によって決まる。
【0044】
第2のアーム83は、先端に上側に突き出た凸部83aを有し、途中の位置の下面にピン状凸部83bを有し、基部を底板部40aにかしめてある軸85に回転可能に支持されており、ローディングプレート71の上側に配してある。凸部83aは、挿入されたディスク11の周縁11cに対向する高さにある。ピン状凸部83bは、ローディングプレート71の略L字形状のスリット71dに嵌合してあり、第2のアーム83はローディングプレート71の摺動に応じて回動され、第2のアーム83の回動位置はローディングプレート71の位置によって決まる。即ち、ローディングプレート71の位置が、第1のアーム80及び第2のアーム81の両方の回動位置を決定する。
【0045】
ディスク11を挿入する前では、図3に示すように、第1のアーム80は略X1方向を向いており、第2のアーム83はY2方向を向いている。凸部83aはディスク11の挿入を妨害しない位置にあり、ピン80cは挿入されるディスク11の通路に突き出している。
【0046】
また、第1のアーム80及び第2のアーム83は共にX―Y面内で回動する。即ち、ローデング時及びアンローデング時にディスク11が移動する面と平行な面内で回動する。よって、ディスクローディング装置10は薄型となっている。
〔ディスク支持・ガイド機構25〕
図1、図2、図4、図5、図6及び図13に示すように、ディスク支持・ガイド機構25は、X1側のディスク支持・ガイド部材90と、X2側のディスク支持・ガイド部材91と、ピニオン92とを有する。
【0047】
X1側ディスク支持・ガイド部材90は、ディスク11をガイドするためのX1側の側板部90aと、スリット90b1が形成してある上側の板部90bと、ディスク11を支持するための下側の板部90cとよりなるコ字形状であり、上側の板部90bよりX2方向に突き出た腕部90d、上側の板部90bよりY1方向に突き出たラグ部90eを有する。腕部90dにはラック90fが形成してある。
【0048】
X2側ディスク支持・ガイド部材91は、ディスク11をガイドするためのX2側の側板部91aと、スリット91a1が形成してある上側の板部91bと、ディスク11を支持するための下側の板部91cとよりなるコ字形状であり、上側の板部91bよりX1方向に突き出た腕部91d、上側の板部91bよりY1方向に突き出たラグ部91eを有する。腕部91dにはラック91fが形成してある。下側の板部91cには、略L字形状のスリット90gが形成してある。スリット90gは、X1方向に延在するスリット部90g1と、Y1方向に延在するスリット部90g2と、X1とY1との中間の方向に延在するスリット部90g3とよりなる。
【0049】
ディスク支持・ガイド部材90は、スリット90b1を鍔付きピン41a4に支持され、ラグ部90eを受け部41a2に支持されて、天板部41aの下面にX方向に移動可能に支持されている。ディスク支持・ガイド部材91も、同じく、スリット91b1を鍔付きピン41a3に支持され、ラグ部91eを受け部41a1に支持されて、天板部41aの下面にX方向に移動可能に支持されている。
【0050】
左右のディスク支持・ガイド部材90、91の下側の板部90c、91cは、上側にディスクを支持するディスク支持面90c1、91c1を有する。図5に示すように、ディスク支持面90c1、91c1は、中心線CL側が最も低く、側板部90a、91aに近づくにつれて上方に変位する傾斜した平面である。ディスク支持面90c1、91c1の傾斜角は、αである。ディスク支持面90c1、91c1が傾斜しているのは、支持するディスク11の記録面11aを傷めないようにするためである。
【0051】
また、ラック90fとラック91fとは対向する位置関係にあって、天板部41aの下面に、十字形状の部材93によって取り付けてあるピニオン92と噛み合っている。よって、ディスク支持・ガイド部材90は、ディスク支持・ガイド部材91の動きに連動して、ディスク支持・ガイド部材91の動きの方向とは逆方向に動く。よって、ディスク支持・ガイド部材90、91は、連動して互いに逆方向に同じ距離移動し、X方向上中心線CLに関して左右対称な関係を常に維持する。また、コイルばね96によって、ディスク支持・ガイド部材91がX1方向に付勢されている。
【0052】
また、対向するディスク支持・ガイド部材90、91は、ディスク11を受け入れる扁平な空間95を形成する。この空間95は、ディスク支持・ガイド部材90、91が互いに離れることによって、X方向に拡がって、X方向の幅が変化する。
【0053】
〔ターンテーブル・光学ピックアップユニット26〕
図1、図2、図5、図6及び図14に示すように、ターンテーブル・光学ピックアップユニット26は、扁平な形状であり、扁平な形状のハウジング100に、きえ板状であり、ターンテーブル14、光学ピックアップ17、ターンテーブル用モータ101、光学ピックアップ移動機構102が組み込まれている構成である。
【0054】
ハウジング100のY2方向側の面100aには、ピン状突起103が、Y2方向側の面100bには、2本のピン状突起104,105が設けてある。
【0055】
ユニット26は、ピン状突起103を切り起こし片40a2の案内溝40a1に嵌合させて、且つピン状突起104,105を夫々背面板部40bの案内溝40b1、40b2に嵌合させて、ベース部材40の上面に、位置を定められて且つZ1、Z2方向に移動可能に支持されている。
【0056】
〔ターンテーブル・光学ピックアップユニット昇降機構27〕
図1、図2、図3、図7及び図14に示すように、ターンテーブル・光学ピックアップユニット昇降機構27は、第1のスライドプレート70(図11参照)と、第2のスライドプレート110と、連結レバー113とよりなり、ベース部材40の上面に設けてある。ターンテーブル・光学ピックアップユニット26は通常はZ2方向に下降した位置に位置している。
【0057】
第1のスライドプレート70は、スリット70gが切り起こし片40a2に嵌合した状態にあり、斜めのスリット70fが案内溝40aに対向している。
【0058】
第2のスライドプレート110は、図7に示すように、長穴110a1、110a2、110b1、110b2をベース部材40の背面板部40bにかしめてあるピン111a,111b,112a,112bに嵌合させて、背面板部40bの内側に垂直の姿勢でX1−X2方向に摺動可能に設けてある。第2のスライドプレート110には、斜めのスリット110c、110dが形成してある。斜めのスリット110cは案内溝40b1に、斜めのスリット110dは案内溝40b2に夫々対向している。斜めのスリット70fと斜めのスリット110c、110dとは、傾斜の方向が逆である。
【0059】
第2のスライドプレート110は、X2方向端側に、底板部40aの上面に沿う水平の腕部110eを有し、この水平の腕部110eにラック部110fが形成してある。
【0060】
また、第2のスライドプレート110には、クランプ解除機構29と関係する一対のラグ110g,110hが形成してある。
【0061】
連結レバー113は、略中央の穴113aを底板部40aにかしめられたピン114によって底板部40aの上面に回動可能に取り付けてあり、Y2方向の端に第1のピニオン部113b及びスリット113cを有し、Y1方向の端に第2のピニオン部113d及びスリット113eを有する。ピニオン部113b、113d及びスリット113c、113eは、上記のピン114を中心とする円の円弧に沿うように形成してある。底板部40aの上面において、ピニオン部113bはX方向摺動レバー70のラック部70cと突き合わされて噛み合っており、ピニオン部113dは第2のスライドプレート110のラック部110fと突き合わされて噛み合っている。
【0062】
よって、第1のスライドプレート70と第2のスライドプレート110と連結レバー113とは、第1のスライドプレート70がX2方向に摺動すると、ラック部70cとピニオン部113bとを介して、連結レバー113が時計方向に回動され、ピニオン部113dとラック部110fとを介して、第2のスライドプレート110がX1方向に摺動し、逆に、第1のスライドプレート70がX1方向に摺動すると、連結レバー113が反時計方向に回動されて、第2のスライドプレート110がX2方向に摺動する関係にある。
【0063】
なお、図3に示すように、底板部40aにかしめてある頭付きのピン115,116がスリット113c、113eの縁を押さえており、ピニオン部113b、113dが底板部40aから浮くことを制限している。よって、ピニオン部113bとラック部70cとの噛み合い、及びピニオン部113dとラック部110fとの噛み合いは確実になされる。
【0064】
ハウジング100のピン状突起103は、斜めのスリット70f及び案内溝40a1に嵌合しており、ピン状突起104は、斜めのスリット110c及び案内溝40b1に嵌合しており、ピン状突起105は、斜めのスリット110d及び案内溝40b2に嵌合している。
【0065】
よって、X方向摺動レバー70がX2方向に摺動すると、連結レバー113を介して第2のスライドプレート110がX1方向に摺動し、斜めのスリット70f、110c、110dが夫々ピン状突起103、104、105を押し上げて、ターンテーブル・光学ピックアップユニット26がZ1方向に上昇される。逆に、第1のスライドプレート70がX1方向に摺動すると、連結レバー113を介して第2のスライドプレート110がX2方向に摺動し、斜めのスリット70f、110c、110dが夫々ピン状突起103、104、105を下げて、ターンテーブル・光学ピックアップユニット26がZ2方向に下降される。
【0066】
連結レバー113と第1のスライドプレート70と第2のスライドプレート110とは底板部40a上に平面的に並んでおり、重なりあってはいない。よって、光学ピックアップユニット昇降機構27は、嵩張らず、薄型である。
【0067】
〔クランプ機構28〕
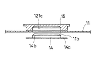
図4、図6、図15、図16(A),(B)に示すように、クランプ機構28は、クランパ15と、クランパ支持部材123と、ターンテーブル14とを有する構成である。図16(A),(B)はクランプ前の状態を示し、図24はクランプした状態を示す。
【0068】
クランパ15は、図16(B)に示すように、合成樹脂製のクランパ本体121の中央に円形の鉄板部材122が固定してある構成である。クランパ本体121は、ディスクに押し当たるクランプ部121aと、クランプ部121aから外側に拡がるフランジ部121bとを有する。クランプ部121aの下面側には、上方に凹状の凹部121cが形成してある。円形の鉄板部材122は、凹部121cの天井部に露出している。
【0069】
クランパ支持部材123は、リングの半分の形状、即ち、略U字形状を有し、内側にフランジ状に張り出ている内側フランジ部123aと、外側にフランジ状に張り出ている取り付け部123bとを有する。このクランパ支持部材123は、取り付け部123bをカバー部材41の天板部41aの下面に固定されて取り付けてある。クランパ支持部材123は、図4に示すように、後述するクランプ解除部材130との配置との関係で、開口123cがX2方向を向いた向きで取り付けてある。クランプ解除部材130のU字形状のフォーク部130aが開口123cに対向している。
【0070】
図16(A),(B)に示すように、ターンテーブル14は、周囲のフランジ部14aと、中央の凸部14bとを有する。中央凸部14bは、周囲に傾斜面14b1を有し、円錐台形状である。中央凸部14bは上面に、凹部14b2を有する。この凹部14b2内に、円板状のバックヨーク124と、厚さ方向に着磁してある円板状の永久磁石125が、モータ16のスピンドル16aに嵌合して組み込まれている。
【0071】
最初の状態では、クランプ機構28は、図16(A),(B)に示す状態にある。クランプ解除部材130は、クランパ支持部材123内に嵌合している。クランパ15は、クランパ支持部材123とクランプ解除部材130のU字形状のフォーク部130aとによって囲まれてクランパ支持部材123からの抜け出しを制限され、且つ、フランジ部121bがフォーク部130aに載ってZ1方向に変位した状態で支持されている。ターンテーブル14は下降した位置に位置している。
【0072】
後述するように、ディスク11が装置の内部に押し込まれて、第1のスライドプレート70と第2のスライドプレート110とが摺動すると、クランプ解除部材130が時計方向に図4中二点鎖線で示すように回動して、クランパ支持部材123から抜け出すと共に、ターンテーブル14がZ1方向に上昇する。
【0073】
ターンテーブル14がZ1方向に上昇したときに、中央凸部16bがディスク11の中心孔11bに嵌合してディスク11を位置決めし、フランジ部16aがディスク11の下面のうち中心孔11bの周囲の部分を支持する。クランプ解除部材130がクランパ支持部材123から抜け出すと、クランパ15はフォーク部130aによる支持を解除されて、Z2方向に変位し、鉄板部材122が永久磁石125に吸引されて、図24に示すように、クランパ15がターンテーブル14に磁気的に吸着され、クランパ15がディスク11の上面11dのうち中心孔11bの周囲の部分を押し付けて、ディスク11がターンテーブル14上にクランプされる。なお、永久磁石125と鉄板部材122との間には、隙間127が存在している。
【0074】
ここで、クランプ機構28は、図16(A),(B)に示すクランプ前の状態で、
ディスク11がクランプされる前の状態で、永久磁石125の磁力が鉄板部材122に、鉄板部材122を永久磁石125の真上の位置に引き寄せる強さで作用するようにしてある。よって、クランパ15はターンテーブル14の真上の位置に引き寄せられてセンタリングされている。このため、上記のディスク11をターンテーブル14上にクランプするときに、クランパ15の凹部121cのターンテーブル14の中央凸部14bへの嵌合が円滑且つ確実になされ、ディスク11のターンテーブル14上へのクランプが確実になされる。
【0075】
〔クランプ解除機構29〕
図2、図4、図15、図16(A),(B)に示すように、クランプ機構28は、クランプ解除部材130と、第2のスライドプレート110とを有する構成である。
【0076】
クランプ解除部材130は、一端側にU字形状のフォーク部130aを有し、他端にZ2方向に折り曲げたラグ部130bを有する。フォーク部130aは、クランパ支持部材123の内側に横方向から入り込むサイズを有し、且つ、入り込み易くすべく、図16(A)に示すように、楔形状の先端部130a1、130a2を有する。
【0077】
このクランプ解除部材130は、中央よりラグ部130bに寄った位置の穴130cをカバー部材41の天板部41aにかしめられた頭付きのピン131によって支持されて、且つ、フォーク部130aの縁130a3を天板部41aの受け部41a5に支持されて、天板部41aの下面に支持されている。ラグ部130bは、第2のスライドプレート110の一対のラグ110g,110hの間に係合してある。よって、クランプ解除部材130は、第2のスライドプレート110のX方向の移動に応じて、天板部41aの下面側を天板部41aと平行に回動される。フォーク部130aは、クランパ支持部材123よりX2側に位置している。
【0078】
図24に示すように、ディスク11がクランパ15によってターンテーブル14上に磁力によってクランプされている状態において、ディスク11をイジェクトする指令が入力されると、第2のスライドプレート110がX2方向に移動し、クランプ解除部材130が反時計方向に回動して、フォーク部130aがクランパ支持部材123内に入り込んで、内側フランジ部123aとフランジ部121bの隙間に入り込んでフランジ部121bを押し上げ、クランパ15はターンテーブル14との磁気的吸着を解除されターンテーブル14から離され、ディスク11のクランプが解除される。
【0079】
クランパ支持部材123がカバー部材41の天板部41aの下面に固定してあり、クランプ解除部材130が天板部41aの下面をこれと平行に動く構成であるため、クランプ解除機構29は薄型の構造となっている。
【0080】
〔ディスク中心孔引っ掛け支持機構30〕
図2、図4、図17、図18(A),(B)に示すように、ディスク中心孔引っ掛け支持機構30は、フック部材140と、U字形状の板ばね部材141と、X1側ディスク支持・ガイド部材90の一部とを有する構成であり、カバー部材41の天板部41aの下面に設けてある。
【0081】
フック部材140は、一端にディスク中心孔11bを引っ掛けるためのフック部140aを有し、他端に腕部140bを有し、途中に両側に突き出した軸部140c、140dを有する。フック部材140の上面には、U字形状の板ばね部材141の一端部141aが固定してある。
【0082】
フック部材140は、軸部140c、140dを天板部41aに切り起こして形成してある軸受け部41a6、41a7に支持されて、且つ板ばね部材141の他端部141bが天板部41aの下面に当接してU字形状の板ばね部材141がつぶれる方向に弾性変形された状態で、天板部41aの下面に取り付けてある。軸部140c、140dはX方向に向いており、フック部材140はY方向に向いており、フック部140aはY2方向側に位置して下向きである。
【0083】
フック部材140のY2方向側の腕部140bは、X1側ディスク支持・ガイド部材90の腕部90dの下面に当接している。腕部90dには、Z2方向に突き出した段部90gが形成してある。
【0084】
最初の状態では、段部90fが腕部140bに当たっており、フック部材140は、図18(A)に示すように、略水平の状態にあり、フック部140aはZ1方向に上がっており、ディスク11の移動する通路より上方に退避している。
X1側ディスク支持・ガイド部材90がX1方向に移動すると、段部90fが腕部140bから外れて、フック部材140は、図18(B)に示すように、板ばね部材141によって軸部140cを中心に反時計方向に回動して傾斜し、フック部140aはZ2方向に下がって、ディスク11の移動する通路内に進入して、ディスク中心孔11bを引っ掛けることが可能である状態となる。
【0085】
以上が、ディスクローディング装置10の各機構の構成である。
【0086】
次に、ディスク11をローディングするときの上記各機構の動作について説明する。
【0087】
ディスク11をローディングする以前の状態では、上記各機構は、図3、図4、図12、図13、図16(A),(B)、図18(A)に示す状態にある。ディスク支持・ガイド機構25は、図4、図5及び図19(G)に示すように、ディスク支持・ガイド部材90、91が中心線CL側に近づいており、X方向の幅がW1である「狭」の状態にある。幅W1は、ディスク11の直径Dより小さい。
【0088】
図19(A)乃至(K)は、各部材の動作を対応させて示す。
【0089】
操作者がケースより取り出した裸のディスク11をその記録面11aを下向きとした水平の姿勢で、図19(K)に示すように、フロントベゼル12のディスク挿入用スロット13内に半分以上挿入する操作を行う(t0−t6)。図19(K)中、破線は手動による移動を示し、実線は機構による移動を示す。
【0090】
この操作によって、図4に示すように、ディスク11のY1側の約4分の1が「狭」の状態にあるディスク支持・ガイド機構25の空間95内に入り、t1で、周縁11cがディスク支持・ガイド部材90、91の側板部90a、91aのY2方向端の縁90a1、91a1に当接する。ここで、ディスク支持・ガイド部材90、91はX方向上中心線CLに関して左右対称の位置にあるため、ディスク11はX方向上の位置を、中心孔11bの中心が中心線CLと一致するように定められる。ディスク支持・ガイド部材90、91は、連動して互いに逆方向に同じ距離移動し、X方向上中心線CLに関して左右対称な関係を常に維持する構成であるため、ディスク11の中心孔11bの中心が中心線CLと一致する状態は、ディスク11がディスク支持・ガイド機構25の空間95内に更に入った後も維持される。
【0091】
ディスク11が更に押し込まれると、周縁11cによって押されてディスク支持・ガイド部材90、91が左右に互いに離れる方向に移動され、ディスク11は空間95をX方向に広げつつ空間95内に進入する。
【0092】
ディスク支持・ガイド部材91がX2方向に移動するとき(t1−t5間)、ピン71fが相対的にスリット91gのスリット部91g1内をX1方向に移動する。
【0093】
ディスク11の半分が空間95内に進入すると、周縁11cのうちディスク11の直径Dの端の部分が側板部90a、91aの内面と接触する状態となる。空間95のX方向の幅は、ディスク11の直径Dと等しいW2となる。ディスク11は水平の姿勢に支持される。以後は、ディスク11は、周縁11cのうちディスク11のX方向直径の端の部分が側板部90a、91aの内面によってガイドされて、ディスク11の中心孔11bの中心が中心線CLと一致する状態を維持しつつ、Y1方向に移動する。
【0094】
なお、ディスク11のY1側は、図22に示すように、クランパ15とターンテーブル14との間を通ってY1に移動する。
【0095】
ここで、ディスク支持・ガイド部材90、91のディスク支持面90c1、91c1が傾斜しているため、図5及び図8(A)に示すように、ディスク11は記録面11aのうち周縁11cに臨む縁の箇所11a1がディスク支持面90c1、91c1と接触し、記録面11aはディスク支持面90c1、91c1から浮いて離れている状態となっている。これによって、ディスク11がディスク支持・ガイド機構25の空間95内に入いる過程、及び後述するディスク11がディスク支持・ガイド機構25の空間95から出る過程で、ディスク11の記録面11aは擦られず、よって傷められず、保護される。
【0096】
なお、ディスク挿入用スロット13は扁平な逆台形を有しており、ディスク11がスロット13を通るときにも、記録面11aが擦られないようになっている。
【0097】
第2には、ディスク支持・ガイド部材90、91が左右に互いに離れる方向に移動されると、段部90fが腕部140bから外れて、フック部材140は、図18(B)に示すように傾斜可能となる。図19(H)のt2−t4間に示すように、フック部140aはディスク11の中心孔11b内に一旦入り込み、中心孔11bの反対側の縁の近傍の部分で押し上げられる。
【0098】
第3には、図20に示すように、挿入されたディスク11の周縁11cがピン80cを押して、第1のアーム80がトーションコイルバネ81をねじりつつ反時計方向に回動されて、図19(A)に示すようにスイッチSW2がオンとされ、モータ21が始動される。ここで、第1のアーム80にはオイルダンパ82が連結してあるため、オイルダンパ82が効いて、ディスク11の挿入は適当に重い感触でゆっくり行われる。
【0099】
以後、ディスクローディング装置10の各機構は主にモータ21によって動作される。
【0100】
モータ21の回転が減速ギヤ機構22を介してプレート機構23に伝達され、クランク形状のスリット71cとこれに嵌合しているピン70dとによって、図19(F)、(D)に示すように、最初にローディングプレート71がt6−t7間でY1方向に摺動し、その後一時的に停止し、この停止している間(t7−t8間)に第1のスライドプレート70がX2方向に摺動して停止し、第1のスライドプレート70が停止した後に、t8−t9間でローディングプレート71が再度Y1方向に摺動する。
【0101】
ローディングプレート71及び第1のスライドプレート70の摺動によって、ディスク押し込み・押し出し機構24、ディスク支持・ガイド機構25、ターンテーブル・光学ピックアップユニット昇降機構27、クランプ機構28、クランプ解除機構29、ディスク引っ掛け支持機構30が所定のタイミングで動作される。
【0102】
ローディングプレート71の最初の摺動によって行われる動作(t6−t7):
第1には、ディスク押し込み・押し出し機構24の第1のアーム80がラグ部71eによって押されて、図19(I)及び図21(A)に示すように反時計(CCW)方向に回動され、ピン80cがY1方向に後退する。
【0103】
第2には、第2のアーム83がピン状凸部83bをスリット71dのスリット71d1に案内されて、図19(J)及び図21(A)に示すように反時計(CCW)方向に回動され、凸部83aが途中まで挿入されたディスク11のY2方向側の周縁11cを押して、ディスク11をディスクローディング装置10内に完全に押し込む。ディスク11は、中心孔11bがターンテーブル14の真上に位置する、図22に示す状態となる。
【0104】
なお、ピン71fは、スリット91gのスリット部91g2内をY1方向に移動する。ピン70dは、相対的にスリット91gのスリット部91g2内をY1方向に移動する。
【0105】
第1のスライドプレート70のX2方向の摺動によって行われる動作(t7−t8):
第1のスライドプレート70がX2方向に摺動すると、連結レバー113を介して第2のスライドプレート110が図19(E)に示すようにX1方向に摺動され、ターンテーブル・光学ピックアップユニット昇降機構27が図19(B)に示すようにZ1方向に上昇される。これによって、ターンテーブル14の中央の凸部14bがディスク11の中心孔11bに嵌合し、フランジ部14aがディスク11を支持する。また、光学ピックアップ17がディスク11の記録面11aに接近する。
【0106】
また、第2のスライドプレート110のX1方向に摺動によって、図23(B)に示すようにクランプ解除部材130が時計(CW)方向に回動され、フォーク部130aがクランパ支持部材123より抜け出し、クランパ15は図19(C)に示すように係止を解除される。係止を解除されたクランパ15は永久磁石125によってターンテーブル14に磁気的に吸着され、ディスク11が図24に示すようにターンテーブル14上にクランプされる。
【0107】
ローディングプレート71の再度の摺動によって行われる動作(t8−t9):
第1には、ディスク押し込み・押し出し機構24の第1のアーム80がラグ部71eによって更に押されて、図19(I)及び図25(A)に示すように反時計(CCW)方向に回動され、ピン80cがX2方向に変位してディスク11の周縁11cから離れる。
【0108】
第2には、第2のアーム83がピン状凸部83bをスリット71dの端部のY方向スリット部71d2に案内されて、図19(J)及び図25(A)に示すように時計方向に少し回動され、凸部83aが略X2方向に変位してディスク11の周縁11cから離れる。
【0109】
第3には、ピン71fがスリット部90g3内に入り、図19(G)及び図25(B)に示すように、ディスク支持・ガイド部材91がX2方向に少し移動され、ディスク支持・ガイド部材90がX1方向に少し移動され、ディスク支持・ガイド機構25は「広」の状態となる。空間95のX方向の幅は、ディスク11の直径Dより大きいW2となる。これにより、図8(B)に併せて示すように、ディスク支持・ガイド部材90、91の側板部90a、91aの内面がディスク11の周縁11cから離れる。また、ディスク支持面90c1、91c1が傾斜しているため、ディスク支持・ガイド部材90、91が互いに離れる方向に移動することによって、ディスク支持面90c1、91c1がディスク11の周縁11cの下端、即ち前記の記録面11aの縁の箇所11a1から離れる。図8(B)中、150、151は、上記の縁の箇所11a1とディスク支持面90c1、91c1との間に形成された隙間である。
【0110】
上記の第1、第2、第3の動作によって、ディスク11は周縁11cに対する拘束から解放され、自由に回転する状態となり、ディスクローディング装置10にローディングされた状態となる。このときまでにスイッチSW1が所定回数オンオフを繰り返しており、モータ21が停止する。
【0111】
続いて、ターンテーブル・光学ピックアップユニット26が動作し、ディスク11が回転されて、光学ピックアップ17によって再生される(t10−t11)。
【0112】
次に、ディスク11をアンローディングするときの各機構の動作について説明する。
【0113】
再生終了後にイジェクト操作を行うと、モータ21が始動して逆転し、図19(D),(F)のt12−t15間に示すように、プレート機構23の第1のスライドプレート70が上記のディスクローディング時とは逆の順序で且つ逆方向に動作する。
即ち、図19(F)、(D)に示すように、最初にローディングプレート71がt12−t13間でY2方向に摺動し、その後一時的に停止し、この停止している間(t13−t14間)に第1のスライドプレート70がX1方向に摺動して停止し、第1のスライドプレート70が停止した後に、t14−t15間でローディングプレート71が再度Y2方向に摺動する。プレート機構23は最初の状態に戻る。
【0114】
ローディングプレート71の最初の摺動によって行われる動作(t12−t13):
第2のアーム83が、図19(J)及び図23(A)に示すように反時計方向に少し回動され、凸部83aがディスク11の周縁11cに当接する。また、ルグ部71eがY2方向へ移動し、トーションコイルバネ82の復元力により、第1のアーム80が、図19(I)及び図23(A)に示すように時計方向に回動され、ピン80cがディスク11の周縁11cに当接する。図19(G)及び図23(B)に示すように、ディスク支持・ガイド部材90、91が互いに近づく方向に移動して、側板部90a、91aの内面がディスク11の周縁11cに当接する。これによって、ディスク11の周縁11cが拘束される。
【0115】
第1のスライドプレート70のX1方向の摺動によって行われる動作(t13−t14):
第1のスライドプレート70がX1方向に摺動すると、連結レバー113を介して第2のスライドプレート110が図19(E)に示すようにX2方向に摺動され、ターンテーブル・光学ピックアップユニット昇降機構27が図19(B)に示すようにZ2方向に下降される。また、第2のスライドプレート110のX1方向に摺動によって、図23(B)に示すようにクランプ解除部材130が反時計方向に回動され、フォーク部130aがクランパ支持部材123内に入り込み、クランパ15を図19(B)に示すように永久磁石125による磁気的吸着力に抗して押し上げる。これによって、図22に示すように、これによって、ターンテーブル14の中央の凸部16bがディスク11の中心孔11bから抜け出し、クランパ15がターンテーブル14から離されて、ディスク11のクランプが解除される。
【0116】
ローディングプレート71の再度の摺動によって行われる動作(t14−t15):
第1には、第2のアーム83がピン状凸部83bをスリット71dに案内されて、図19(J)及び図20に示すように時計方向に回動され、凸部83aは、ディスク11の通路から退避する。
【0117】
第2には、ラグ部71eがY2方向に移動することによって、第1のアーム80がトーションコイルバネ81によって時計方向に回動され、ピン80cがディスク11の周縁11cを押して、ディスク11がY2方向に移動されてフロントベゼル12より外側に押し出されてイジェクトされる。ディスク11は、ディスク支持・ガイド部材90、91の側板部90a、91aの内面によって案内されつつ移動される。また、オイルダンパ82が効いており、第1のアーム80の回動はローディングプレート71の摺動より遅れて低速で行われ、ディスク11のイジェクトは低速で行われる。
【0118】
段部90fが腕部140bから外れて、フック部材140は、図18(B)に示すように傾斜可能な状態となっている。ディスク11がY2方向に移動されて、中心孔11bがフック部140aに対向すると、ディスク引っ掛け支持機構30が、図19(H)のt17−t18間に、図26(A),(B)に示すように動作し、フック部140aがディスク11の中心孔11b内に落ち込んで入り込み、フック部140aが中心孔11bの縁を係止する。よって、図26(A),(B)に示すように、ディスク11が中心孔11bの縁をフック部材140によって引っ掛けられて、Y2方向の移動を停止され、ディスク11の半分がフロントベゼル12より外側に突き出した状態で、落ちない状態に支持された状態となる。図26(A),(B)は、アンローディングが完了した状態である。
【0119】
この状態で、操作者は手の指をディスク11の中心孔11bへ挿入して、ディスク11を周縁11cと中心孔11bの縁とで把持して掴んで引く。これによって、フック部140aがディスク11の上面に載り上がって中心孔11bから外れ、ディスク11が取り出される。
【0120】
ディスク11が取り出されると、ディスク支持・ガイド部材90、91はばね96によって更に接近して、ディスク支持・ガイド機構25は最初の「狭」の状態となり、その過程でフック部40aがZ1方向に上昇する。
【0121】
なお、本発明は上記実施例に限らず、ディスク11が垂直の向きで挿入され、ターンテーブル・光学ピックアップユニット26がX1、X2方向に移動する構成とすることも可能である。
【0122】
【発明の効果】
以上説明したように、請求項1の発明は、ディスクが挿入されターンテーブル上にローディングされ、その後に、ディスクが外部に排出されてアンローディングされるディスクローディング装置において、第1のアーム及び第2のアームは、ディスクの移動する面と平行な面内で回動可能に設けてある構成であるため、ディスクの通路の上側と下側とにディスクを横切る長いローラを設けた構成に比べて、薄型化を図ることが出来る。
【0123】
また、第1のアーム及び第2のアームは夫々係止部を有し、この係止部がディスクの周縁を係止して押してディスクをディスクローディング装置内に押し込むように及びディスクローディング装置外に排出する方向に移動させる構成であるため、第1のアーム及び第2のアームはディスクの記録面には接触せず、よって、ディスクのローディング及びアンローディングをディスクの記録面を傷めることなく行うことが出来る。
【0124】
また、第1のアーム及び第2のアームの係止部がディスクの周縁を係止して押してディスクを移動させる構成であるため、従来の摩擦を利用してディスクを移動させる構成に比べて、ディスクのローディング及びアンローディングを確実に行うことが出来る。
【0125】
更に、ローディングされる過程のディスクを支持案内し、ディスク再生時には、ディスクに対して離れるディスク支持案内部材を有する構成としたものであるため、ディスクのローディング位置への移動を円滑に且つ安定に行うことが出来る。また、ディスク再生時にはディスク支持案内部材はディスクに対して離れるため、再生時にはディスクの回転に対して負荷とならず、且つ、ディスクを傷つけないように出来る。
【図面の簡単な説明】
【図1】本発明の一実施例のディスクローディング装置をその内部を透視して示す斜視図である。
【図2】図1のディスクローディング装置を分解して示す図である。
【図3】図1のディスクローディング装置のベース部材に取り付けてある機構を示す平面図である。
【図4】図1のディスクローディング装置のカバー部材の下面に取り付けてある機構を示す平面図である。
【図5】図1のディスクローディング装置の概略の正面図である。
【図6】図1のディスクローディング装置の概略の側面図である。
【図7】図1のディスクローディング装置の背面図である。
【図8】図1のディスクローディング装置の概略動作を説明するための装置の正面図である。
【図9】図1のディスクローディング装置の概略動作を説明するための装置の側面図である。
【図10】ギヤ機構を示す図である。
【図11】プレート機構を示す図である。
【図12】ディスク押し込み・押し出し機構を示す図である。
【図13】ディスク支持・ガイド機構を示す図である。
【図14】ターンテーブル・光学ピックアップユニット及びユニット昇降機構を示す図である。
【図15】クランプ機構及びクランプ解除機構を示す図である。
【図16】クランプ解除状態のクランプ機構及びクランプ解除機構を示す図である。
【図17】ディスク引っ掛け支持機構を示す分解斜視図である。
【図18】ディスク引っ掛け支持機構を示す側面図である。
【図19】ディスクローディング時及びディスクアンローディング時の各部品の動作を示すタイムチャートである。
【図20】ディスクを挿入したときの状態を示す図である。
【図21】ディスクが装置内に完全に押し込められたときの状態を挿入したときの状態を示す図である。
【図22】図21におけるディスクとクランパ及びターンテーブルとの位置関係を示す図である。
【図23】ディスクをクランプした状態を示す図である。
【図24】ディスクをクランプしている状態のクランプ機構を示す図である。
【図25】ディスクのローディングが完了した状態を示す図である。
【図26】ディスクのアンローディングが完了した状態を示す図である。
【符号の説明】
10 ディスクローディング装置
11 ディスク
14 ターンテーブル
17 光学ピックアップ
20 筐体
21 モータ
22 減速ギヤ機構
23 プレート機構
24 ディスク押し込み・押し出し機構
25 ディスク支持・ガイド機構
26 ターンテーブル・光学ピックアップユニット
27 ターンテーブル・光学ピックアップユニット昇降機構
28 クランプ機構
29 クランプ解除機構
30 ディスク引っ掛け支持機構
40 ベース部材
41 カバー部材
53 遊星ギヤ機構
70 第1のスライドプレート
71 ローディングプレート
80 第1のアーム
80c ピン
82 オイルダンパ
83 第2のアーム
83c 凸部
90 X1側のディスク支持・ガイド部材
91 X2側のディスク支持・ガイド部材
90a,91a 側板部
90c,91c 下側の板部
90c1、91c1 ディスク支持面
92 ピニオン
110 第2のスライドプレート
113 連結レバー
123 クランパ支持部材
130 クランプ解除部材
140 フック部材
[0001]
BACKGROUND OF THE INVENTION
The present invention relates to a disk loading apparatus, and more particularly to a disk loading apparatus in which a disk is inserted into a disk loading apparatus housing in a horizontal posture and loaded onto a turntable.
[0002]
[Prior art]
Conventionally, when an operator performs an operation of inserting a bare disk taken out from a case into a disk insertion slot on the front panel of the apparatus, the disk is automatically drawn and loaded onto the turntable for playback. After completion, there is a disk loading device configured to be ejected until the disk protrudes out of the disk insertion slot.
[0003]
This disk loading device is provided with a long upper roller across the disk above the disk path, and a long lower roller across the disk below the disk path and inserted horizontally halfway. The disc is sandwiched between a pair of upper and lower rollers, and the rollers rotate to draw the disc into the apparatus.
[Problems to be solved by the invention]
Since the conventional disk loading apparatus has a structure in which long rollers that cross the disk are provided on the upper side and the lower side of the path of the disk, the thickness becomes thick and it is difficult to reduce the thickness.
[0004]
In addition, one of the rollers comes into contact with the recording surface of the disk, which may damage the recording surface.
[0005]
In addition, since the movement of the disk uses friction between the roller and the disk, the movement of the disk may become unstable when the roller is worn.
[0006]
Accordingly, an object of the present invention is to provide a disk loading device that solves the above-described problems.
[0007]
[Means for Solving the Problems]
In order to solve the above problems, the invention of claim 1 is a disc loading device in which a disc is inserted and loaded onto a turntable, and then the disc is ejected to the outside and unloaded.
A motor,
A first arm that has a locking portion that locks the peripheral edge of the disk in the insertion direction side of the disk, and that can be rotated in a plane parallel to the surface on which the disk moves;
It has a locking part that locks the periphery of the disc that is inserted to the middle on the opposite side to the insertion direction side of the disc, and is provided so as to be rotatable in a plane parallel to the moving surface of the disc. A second arm,
In the process of loading the disk, when the disk is manually inserted halfway, the motor pushes the second arm and its locking part locks the periphery of the disk to push the disk into the disk loading device. is rotated so as to push, in the process of unloading the disk, by the motor, out of the first a over arm, the disk loading device disk that locking portion presses engages the periphery of the disc and a control mechanism for controlling so as to rotate as out press on,
A disc support guide mechanism that supports and guides the disc in the loading process and separates from the disc at the time of disc reproduction;
The disk support guide mechanism includes:
It has a U-shape consisting of an upper plate, a lower plate, and a side plate, has a rack, and is supported on both sides of the inserted disc so as to be movable in a direction orthogonal to the disc insertion direction. The disc support guide members and the pinions on which the racks facing each other on the opposite sides of the disc support guide members engage with each other, and the disc support guide members on both sides move in the opposite directions and move the same distance in the opposite directions. Supports and guides the periphery of the disk in the process of loading between the side plate portions of the disk support guide member, and at the time of reproducing the disk, the disk support guide members on both sides are moved away from each other in conjunction with each other. The side plate portion is separated from the periphery of the disc .
[0009]
DETAILED DESCRIPTION OF THE INVENTION
FIG. 1 shows a disk loading apparatus 10 according to an embodiment of the present invention through its inside, and FIG. 2 shows an exploded view of the disk loading apparatus 10 of FIG. FIG. 3 is a plan view showing the mechanism attached to the base member, and FIG. 4 is a plan view showing the mechanism attached to the lower surface of the cover member. 5 is a front view showing the inside of the disk loading apparatus 10 of FIG. 1 as seen through, FIG. 6 is a side view, and FIG. 7 is a rear view. 5, FIG. 6, FIG. 7 and FIG. 8 (A), (B) and FIG. 9 (A), (B) are exaggerated in height. Each figure shows a state before the disk 11 is inserted.
[0010]
In the drawings, X1 and X2 are the width direction of the disk loading device 10, Y1 and Y2 are the depth direction of the disk loading device 10, and Z1 and Z2 are the height (thickness) direction of the disk loading device 10. CL is a center line extending in the Y direction from the center of the disk loading apparatus 10 in the X1 and X2 directions.
[0011]
For the convenience of explanation, the general operation of the disc loading apparatus 10 will be described first.
FIGS. 8A and 9A show a state during the disk loading, and FIGS. 8B and 9B show a state where the disk loading is completed.
[0012]
The disk loading device 10 performs an operation of inserting the bare disk 11 taken out from the case by the operator into the disk insertion slot 13 of the front bezel 12 in a horizontal posture with the recording surface 11a facing downward. The state shown in FIG. 8A and FIG. 9A is obtained, and the operation is as follows.
[0013]
The second arm (push arm) 83 pushes the disk 11 in.
[0014]
-Disc guide-Support members 90 and 91 guide the disc 11 into which it is pushed and support it horizontally.
[0015]
The turntable 14 rises and the turntable 14 supports the disk 11.
[0016]
The clamper 15 is released, the disk 11 is clamped, and the state shown in FIGS. 8B and 9B is loaded onto the turntable 14.
The turntable motor 16 is started, the disk 11 is rotated, and is reproduced by the optical pickup 17.
[0017]
When the operator performs an ejection operation, the disc loading device 10 operates as follows.
[0018]
-The clamper 15 is moved up to release the clamp of the disk 11.
[0019]
-The turntable 14 descends and the turntable 14 comes out of the center hole 11b of the disk 11.
[0020]
The disk guide / support members 90 and 91 support the disk 11 horizontally.
[0021]
The first arm (push-out arm) 80 pushes the disk 11 until it protrudes out of the disk insertion slot 13.
[0022]
The hook member 140 is supported so as not to fall by being hooked on the center hole 11b of the disk 11. The disk loading device 10 is in the state shown in FIGS. 8 (A) and 9 (A).
[0023]
Next, the structure of the disk loading device 10 will be described.
[0024]
The disc loading device 10 includes a motor 21, a reduction gear mechanism 22, a plate mechanism 23, a disc pushing / extruding mechanism 24, a disc support / guide mechanism 25, a turntable / optical pickup unit 26, a turntable / The optical pickup unit elevating mechanism 27, the clamp mechanism 28, the clamp release mechanism 29, the disk hooking support mechanism 30 and the like are incorporated.
[0025]
Hereinafter, each mechanism will be described.
[0026]
[Case 20]
As shown in FIGS. 1 and 2, the housing 20 has a structure including a base member 40, a cover member 41, and the front bezel 12. The base member 40 has a bottom plate portion 40a and a back plate portion 40b. The base member 40 is formed with guide grooves 40a1, 40b1, and 40b2 for guiding the turntable / optical pickup unit 26 to move in the Z1 and Z2 directions. The guide groove 40a1 is formed in the cut-and-raised piece 40a2 of the bottom plate portion 40a, and the guide grooves 40b1 and 40b2 are formed in the back plate portion 40b. The cover member 41 includes a top plate portion 41a and left and right side plate portions 41b and 41c. On the top plate portion 41a, receiving portions 41a1 and 41a2 are formed by cutting and raising, and hooked pins 41a3 and 41a4 are caulked. These are for supporting the disk guide / support member. In addition, a receiving portion 41a5 for supporting the clamp release arm is cut and raised on the top plate portion 41a.
[0027]
As shown in FIG. 3, on a base member 40, a motor 21, a reduction gear mechanism 22, a plate mechanism 23, a disk push-in / push-out mechanism 24, a disk support / guide mechanism 25, a turntable / optical pickup unit 26, a turntable An optical pickup unit elevating mechanism 27 is attached.
[0028]
As shown in FIG. 4, a disk support / guide mechanism 25, a clamper 28, a clamp release mechanism 29, and a disk hook support mechanism 30 are attached to the cover member 41.
[0029]
[Motor 21, reduction gear mechanism 22]
As shown in FIGS. 2, 3, and 10, the motor 21 is fixed to the upper surface of the bottom plate portion 40a. The gear mechanism 22 is provided on the upper surface of the bottom plate portion 40a, and has a configuration in which a worm gear 51, a reduction spur gear train 52, and a planetary gear mechanism 53 are arranged in the order of transmission of rotation.
[0030]
The planetary gear mechanism 53 includes a gear 55 fixed to the shaft 54, a sun gear 56 rotatably supported on the shaft 54, and a planetary gear rotatably supported on a pin 57 crimped to the gear 55. 58 and a gear 59 rotatably supported on the upper end side of the shaft 54. The planetary gear 58 is in mesh with the sun gear 56. The gear 59 integrally includes an external gear 59a and an internal gear 59b. The internal gear 59b meshes with the planetary gear 58. The gear 55 functions as an arm of the planetary gear mechanism 53. A lower end portion of the shaft 54 is rotatably fitted in a hole of the bottom plate portion 40a. The external gear 59 a meshes with the spur gear train 52 a of the reduction spur gear train 52.
[0031]
The gear 55 meshes with a rack portion 70b of the first slide plate 70 described later. The sun gear 56 meshes with a rack portion 71b of a loading plate 71 described later. The planetary gear mechanism 53 is in a state in which the rotation of the sun gear 56 is restricted or a state in which the rotation of the gear 55 is restricted.
[0032]
The rotation of the motor 21 is decelerated through the worm gear 51 → the reduction spur gear train 52, and the reduced rotation is transmitted to the gear 59 of the planetary gear mechanism 53. The rotation of the gear 59 is transmitted in the order of the internal gear 59b → the planetary gear 58 → the sun gear 56. When the sun gear 56 is restrained from rotating, the planetary gear 58 rotates around the sun gear 56 and the gear 55 is rotated. The planetary gear mechanism 53 operates as a planetary gear mechanism. In a state where the rotation of the gear 55 is restrained, the position of the planetary gear 58 is stopped, the rotation of the gear 59 is transmitted from the internal gear 59b → the planetary gear 58 → the sun gear 56, and the sun gear 56 is rotated.
[0033]
As shown in FIG. 3, a cam 60 is formed in the reduction spur gear train 52, and the lever 61 is swung by the cam, and the switch SW <b> 1 is driven by the swing of the lever 61. When it is detected that the switch SW1 is repeatedly turned on and off a predetermined number of times, the motor 21 is stopped.
[0034]
[Plate mechanism 23]
As shown in FIGS. 2, 3, and 11, the plate mechanism 23 slides in the Y direction with the first slide plate 70 that slides in the X direction arranged in a state intersecting the upper surface of the bottom plate portion 40 a. And a loading plate 71 to be used.
[0035]
The first slide plate 70 is slidable in the X1-X2 direction with two elongated holes 70a guided by the pins 72. The first slide plate 70 has rack portions 70b and 70c, a pin 70d is crimped, and a vertical plate portion 70e that is bent upward. An oblique slit 70f is formed in the vertical plate portion 70e. The rack portion 70b meshes with the gear 55 of the planetary gear mechanism 53 described above. The rack portion 70 c, the vertical plate portion 70 e, and the oblique slit 70 f constitute a part of the turntable / optical pickup unit elevating mechanism 27.
[0036]
The loading plate 71 is provided with three elongated holes 71a guided by pins 73 so as to be slidable in the Y1-Y2 direction. The loading plate 71 includes a rack 71b, a crank-shaped slit 71c, a substantially L-shaped slit 71d, a lug portion 71e, and a pin 71f. The rack portion 71b meshes with the sun gear 56 of the planetary gear mechanism 53 described above.
[0037]
The crank-shaped slit 71c is engaged with the pin 70d of the first slide plate 70 described above. The crank-shaped slit 71c includes a Y-direction slit portion 71c1 extending in the Y direction, an X-direction slit portion 71c2 extending in the X direction, and a Y-direction slit portion 71c3 extending in the Y direction. . The Y-direction slit portion 71c1, the X-direction slit portion 71c2, and the Y-direction slit portion 71c3 are continuous. The slit 71c and the pin 70d restrict or enable sliding of the first slide plate 70 in the X direction and sliding of the loading plate 71 in the Y direction.
[0038]
The substantially L-shaped slit 71d includes a slit portion 71d1 extending in the direction between X1 and Y2, and a Y-direction slit portion 71d2 connected to the slit portion 71d2 and extending in the Y direction.
[0039]
The substantially L-shaped slit 71d and the lug portion 71e are engaged with the disk pushing / pushing mechanism 24. The pin 71 f is engaged with the disc guide / support mechanism 25.
[0040]
Before the disc 11 is inserted, as shown in FIG. 3, the first slide plate 70 is positioned in the X2 direction, and the loading plate 71 is positioned in the Y2 direction.
[0041]
[Disc push-in / push-out mechanism 24]
As shown in FIGS. 1, 2, and 3, the disk push-in / push-out mechanism 24 is provided on the top surface of the bottom plate portion 40 a on the X2 direction side of the housing 20. As shown in FIG. 12, the disk push-in / push-out mechanism 24 includes a first arm 80, a torsion coil spring 81, an oil damper 82, a second arm 83, and a switch SW2. In the first arm 80 and the second arm 83, the shaft portion of the first arm 80 and the shaft portion of the second arm 83 are close to each other, and the shaft portion of the first arm 80 is the Y1 side, The shaft portion of the arm 83 is arranged on the Y2 side.
[0042]
The first arm 80 has a gear portion 80a and a cam 80b at the base, a pin 80c on the top surface of the tip, and is rotatably supported by a shaft 84 that is caulked to the bottom plate portion 40a. The torsion coil spring 81 is urged to rotate clockwise. The first arm 80 is provided so that the peripheral edge 11c on the insertion direction side of the disk 11 contacts the pin 80c when the disk 11 is manually inserted. The cam 80b operates the switch SW2 when the first arm 80 is rotated counterclockwise. The gear portion 80a meshes with a gear 82a of an oil damper 82 fixed to the bottom plate portion 40a.
[0043]
The end 80b1 of the cam 80b is in contact with the lug 71e of the loading plate 71, and the rotational position of the first arm 80 is determined by the position of the loading plate 71.
[0044]
The second arm 83 has a convex portion 83a protruding upward at the tip, has a pin-shaped convex portion 83b on the lower surface of the middle position, and is rotatable about a shaft 85 that is caulked at the base plate portion 40a. It is supported and arranged above the loading plate 71. The convex portion 83a is at a height facing the peripheral edge 11c of the inserted disk 11. The pin-shaped convex portion 83 b is fitted in a substantially L-shaped slit 71 d of the loading plate 71, and the second arm 83 is rotated according to the sliding of the loading plate 71, and The rotation position is determined by the position of the loading plate 71. That is, the position of the loading plate 71 determines the rotational positions of both the first arm 80 and the second arm 81.
[0045]
Before the disk 11 is inserted, as shown in FIG. 3, the first arm 80 is directed substantially in the X1 direction, and the second arm 83 is directed in the Y2 direction. The protrusion 83a is at a position that does not hinder the insertion of the disk 11, and the pin 80c protrudes into the path of the disk 11 to be inserted.
[0046]
Further, both the first arm 80 and the second arm 83 rotate in the XY plane. That is, the disk 11 rotates in a plane parallel to the plane on which the disk 11 moves during loading and unloading. Therefore, the disk loading device 10 is thin.
[Disc support / guide mechanism 25]
As shown in FIGS. 1, 2, 4, 5, 6, and 13, the disk support / guide mechanism 25 includes a disk support / guide member 90 on the X1 side and a disk support / guide member 91 on the X2 side. And a pinion 92.
[0047]
The X1 side disk support / guide member 90 includes an X1 side plate 90a for guiding the disk 11, an upper plate 90b in which slits 90b1 are formed, and a lower plate for supporting the disk 11. It has a U-shape formed of a portion 90c, and has an arm portion 90d protruding in the X2 direction from the upper plate portion 90b and a lug portion 90e protruding in the Y1 direction from the upper plate portion 90b. A rack 90f is formed on the arm 90d.
[0048]
The X2-side disk support / guide member 91 includes an X2-side plate 91a for guiding the disk 11, an upper plate 91b in which slits 91a1 are formed, and a lower plate for supporting the disk 11. It has a U-shape formed of a portion 91c, and has an arm portion 91d protruding in the X1 direction from the upper plate portion 91b, and a lug portion 91e protruding in the Y1 direction from the upper plate portion 91b. A rack 91f is formed on the arm portion 91d. A substantially L-shaped slit 90g is formed in the lower plate portion 91c. The slit 90g includes a slit portion 90g1 extending in the X1 direction, a slit portion 90g2 extending in the Y1 direction, and a slit portion 90g3 extending in the middle direction between X1 and Y1.
[0049]
The disk support / guide member 90 has a slit 90b1 supported by a hooked pin 41a4, a lug portion 90e supported by a receiving portion 41a2, and is supported on the lower surface of the top plate portion 41a so as to be movable in the X direction. Similarly, the disk support / guide member 91 is supported by the pin 41a3 with the slit 91b1 and supported by the receiving portion 41a1 by the lug portion 91e, and is supported by the lower surface of the top plate portion 41a so as to be movable in the X direction. .
[0050]
The lower plate portions 90c and 91c of the left and right disk support / guide members 90 and 91 have disk support surfaces 90c1 and 91c1 for supporting the disk on the upper side. As shown in FIG. 5, the disc support surfaces 90c1 and 91c1 are inclined planes that are lowest on the center line CL side and are displaced upward as they approach the side plate portions 90a and 91a. The inclination angle of the disk support surfaces 90c1 and 91c1 is α. The reason why the disk support surfaces 90c1 and 91c1 are inclined is to prevent the recording surface 11a of the disk 11 to be supported from being damaged.
[0051]
Further, the rack 90f and the rack 91f are in a positional relationship facing each other, and mesh with a pinion 92 attached to the lower surface of the top plate portion 41a by a cross-shaped member 93. Therefore, the disk support / guide member 90 moves in the direction opposite to the direction of movement of the disk support / guide member 91 in conjunction with the movement of the disk support / guide member 91. Therefore, the disk support / guide members 90 and 91 move in the opposite directions in the same manner in conjunction with each other, and always maintain a bilaterally symmetric relationship with respect to the X-direction upper center line CL. Further, the disk support / guide member 91 is biased in the X1 direction by the coil spring 96.
[0052]
Further, the opposing disk support / guide members 90 and 91 form a flat space 95 for receiving the disk 11. The space 95 expands in the X direction when the disk support / guide members 90 and 91 are separated from each other, and the width in the X direction changes.
[0053]
[Turntable / Optical Pickup Unit 26]
As shown in FIGS. 1, 2, 5, 6, and 14, the turntable / optical pickup unit 26 has a flat shape, a flat plate-like housing 100, a grip plate shape, and a turntable. 14, an optical pickup 17, a turntable motor 101, and an optical pickup moving mechanism 102 are incorporated.
[0054]
A pin-like protrusion 103 is provided on the surface 100a on the Y2 direction side of the housing 100, and two pin-like protrusions 104 and 105 are provided on the surface 100b on the Y2 direction side.
[0055]
The unit 26 cuts and raises the pin-like protrusion 103 and fits it into the guide groove 40a1 of the piece 40a2, and fits the pin-like protrusions 104 and 105 into the guide grooves 40b1 and 40b2 of the back plate 40b, respectively. Positioned on the upper surface of 40 and supported so as to be movable in the Z1 and Z2 directions.
[0056]
[Turntable / Optical Pickup Unit Lifting Mechanism 27]
As shown in FIGS. 1, 2, 3, 7, and 14, the turntable / optical pickup unit lifting mechanism 27 includes a first slide plate 70 (see FIG. 11), a second slide plate 110, and the like. The connecting lever 113 is provided on the upper surface of the base member 40. The turntable / optical pickup unit 26 is normally located at a position lowered in the Z2 direction.
[0057]
In the first slide plate 70, the slit 70g is cut and raised and fitted into the piece 40a2, and the oblique slit 70f faces the guide groove 40a.
[0058]
As shown in FIG. 7, the second slide plate 110 is formed by fitting the long holes 110 a 1, 110 a 2, 110 b 1, 110 b 2 to the pins 111 a, 111 b, 112 a, 112 b that are caulked to the back plate part 40 b of the base member 40. In addition, it is slidable in the X1-X2 direction in a vertical posture inside the back plate portion 40b. The second slide plate 110 is formed with oblique slits 110c and 110d. The oblique slit 110c faces the guide groove 40b1, and the oblique slit 110d faces the guide groove 40b2. The oblique slits 70f and the oblique slits 110c and 110d are opposite in inclination direction.
[0059]
The second slide plate 110 has a horizontal arm portion 110e along the top surface of the bottom plate portion 40a on the X2 direction end side, and a rack portion 110f is formed on the horizontal arm portion 110e.
[0060]
Further, the second slide plate 110 is formed with a pair of lugs 110g and 110h related to the clamp release mechanism 29.
[0061]
The connecting lever 113 is pivotally attached to the upper surface of the bottom plate portion 40a by a pin 114 that has a substantially central hole 113a crimped to the bottom plate portion 40a, and has a first pinion portion 113b and a slit 113c at the end in the Y2 direction. And has a second pinion portion 113d and a slit 113e at the end in the Y1 direction. The pinion parts 113b and 113d and the slits 113c and 113e are formed along a circular arc centered on the pin 114 described above. On the upper surface of the bottom plate portion 40a, the pinion portion 113b is abutted and meshed with the rack portion 70c of the X-direction sliding lever 70, and the pinion portion 113d is abutted and meshed with the rack portion 110f of the second slide plate 110. .
[0062]
Therefore, the first slide plate 70, the second slide plate 110, and the connecting lever 113 are connected to the connecting lever 113 via the rack portion 70c and the pinion portion 113b when the first slide plate 70 slides in the X2 direction. 113 is rotated clockwise, the second slide plate 110 slides in the X1 direction via the pinion portion 113d and the rack portion 110f, and conversely, the first slide plate 70 slides in the X1 direction. Then, the connecting lever 113 is rotated counterclockwise, and the second slide plate 110 slides in the X2 direction.
[0063]
As shown in FIG. 3, the headed pins 115 and 116 crimped to the bottom plate portion 40a hold the edges of the slits 113c and 113e, and the pinion portions 113b and 113d are restricted from floating from the bottom plate portion 40a. ing. Therefore, the engagement between the pinion portion 113b and the rack portion 70c and the engagement between the pinion portion 113d and the rack portion 110f are ensured.
[0064]
The pin-like protrusion 103 of the housing 100 is fitted in the oblique slit 70f and the guide groove 40a1, the pin-like protrusion 104 is fitted in the oblique slit 110c and the guide groove 40b1, and the pin-like protrusion 105 is , And fitted into the oblique slit 110d and the guide groove 40b2.
[0065]
Therefore, when the X-direction sliding lever 70 slides in the X2 direction, the second slide plate 110 slides in the X1 direction via the connecting lever 113, and the oblique slits 70f, 110c, and 110d are pin-shaped protrusions 103, respectively. , 104, 105 are pushed up, and the turntable / optical pickup unit 26 is raised in the Z1 direction. Conversely, when the first slide plate 70 slides in the X1 direction, the second slide plate 110 slides in the X2 direction via the connecting lever 113, and the oblique slits 70f, 110c, and 110d are pin-shaped protrusions, respectively. 103, 104, and 105 are lowered, and the turntable / optical pickup unit 26 is lowered in the Z2 direction.
[0066]
The connecting lever 113, the first slide plate 70, and the second slide plate 110 are arranged in a plane on the bottom plate portion 40a and do not overlap. Therefore, the optical pickup unit elevating mechanism 27 is not bulky and is thin.
[0067]
[Clamp mechanism 28]
As shown in FIGS. 4, 6, 15, and 16 (A) and 16 (B), the clamp mechanism 28 includes a clamper 15, a clamper support member 123, and a turntable 14. 16A and 16B show a state before clamping, and FIG. 24 shows a clamped state.
[0068]
As shown in FIG. 16B, the clamper 15 has a structure in which a circular iron plate member 122 is fixed to the center of a synthetic resin clamper body 121. The clamper main body 121 has a clamp part 121a that presses against the disk and a flange part 121b that extends outward from the clamp part 121a. A concave recess 121c is formed on the lower surface side of the clamp portion 121a. The circular iron plate member 122 is exposed at the ceiling of the recess 121c.
[0069]
The clamper support member 123 has a half ring shape, that is, a substantially U-shape, and has an inner flange portion 123a projecting in a flange shape on the inside, and an attachment portion 123b projecting in a flange shape on the outer side. Have The clamper support member 123 is attached with the attachment portion 123b fixed to the lower surface of the top plate portion 41a of the cover member 41. As shown in FIG. 4, the clamper support member 123 is attached with the opening 123c facing the X2 direction in relation to the arrangement with the clamp release member 130 described later. A U-shaped fork portion 130a of the clamp release member 130 faces the opening 123c.
[0070]
As shown in FIGS. 16A and 16B, the turntable 14 has a peripheral flange portion 14a and a central convex portion 14b. The central convex portion 14b has an inclined surface 14b1 around it and has a truncated cone shape. The central convex portion 14b has a concave portion 14b2 on the upper surface. A disc-shaped back yoke 124 and a disc-shaped permanent magnet 125 magnetized in the thickness direction are fitted into the spindle 16a of the motor 16 and incorporated in the recess 14b2.
[0071]
In the initial state, the clamp mechanism 28 is in the state shown in FIGS. The clamp release member 130 is fitted in the clamper support member 123. The clamper 15 is surrounded by the clamper support member 123 and the U-shaped fork portion 130a of the clamp release member 130, and is prevented from coming out of the clamper support member 123, and the flange portion 121b is placed on the fork portion 130a and Z1 It is supported in a displaced state. The turntable 14 is located at a lowered position.
[0072]
As will be described later, when the disk 11 is pushed into the apparatus and the first slide plate 70 and the second slide plate 110 slide, the clamp release member 130 is rotated clockwise along the two-dot chain line in FIG. As shown in the figure, the turntable 14 is pulled out from the clamper support member 123 and the turntable 14 is raised in the Z1 direction.
[0073]
When the turntable 14 is raised in the Z1 direction, the center convex portion 16b is fitted into the center hole 11b of the disc 11 to position the disc 11, and the flange portion 16a is located around the center hole 11b on the lower surface of the disc 11. Support the part. When the clamp release member 130 comes out of the clamper support member 123, the clamper 15 is released from the support by the fork portion 130a and displaced in the Z2 direction, and the iron plate member 122 is attracted by the permanent magnet 125, as shown in FIG. The clamper 15 is magnetically attracted to the turntable 14, and the clamper 15 presses a portion of the upper surface 11d of the disk 11 around the center hole 11b, so that the disk 11 is clamped on the turntable 14. A gap 127 exists between the permanent magnet 125 and the iron plate member 122.
[0074]
Here, the clamping mechanism 28 is in a state before clamping shown in FIGS.
Before the disk 11 is clamped, the magnetic force of the permanent magnet 125 acts on the iron plate member 122 with such a strength that the iron plate member 122 is drawn to a position directly above the permanent magnet 125. Therefore, the clamper 15 is attracted to the position just above the turntable 14 and is centered. For this reason, when the disk 11 is clamped on the turntable 14, the concave portion 121c of the clamper 15 is smoothly and reliably fitted to the central convex portion 14b of the turntable 14. Clamping to is ensured.
[0075]
[Clamp release mechanism 29]
As shown in FIGS. 2, 4, 15, and 16 (A) and 16 (B), the clamp mechanism 28 includes a clamp release member 130 and a second slide plate 110.
[0076]
The clamp release member 130 has a U-shaped fork part 130a on one end side and a lug part 130b bent in the Z2 direction on the other end. The fork portion 130a has a size that enters the clamper support member 123 from the lateral direction, and has wedge-shaped tip portions 130a1 and 130a2 as shown in FIG.
[0077]
The clamp releasing member 130 is supported by a pin 131 with a head caulked on a top plate 41a of the cover member 41 at a hole 130c at a position closer to the lug 130b than the center, and an edge 130a3 of the fork 130a. Is supported by the receiving portion 41a5 of the top plate portion 41a and supported by the lower surface of the top plate portion 41a. The lug portion 130b is engaged between the pair of lugs 110g and 110h of the second slide plate 110. Therefore, the clamp release member 130 is rotated in parallel with the top plate portion 41a on the lower surface side of the top plate portion 41a in accordance with the movement of the second slide plate 110 in the X direction. The fork portion 130a is located on the X2 side from the clamper support member 123.
[0078]
As shown in FIG. 24, when a command for ejecting the disk 11 is input in a state where the disk 11 is clamped on the turntable 14 by the clamper 15 by the magnetic force, the second slide plate 110 moves in the X2 direction. Then, the clamp release member 130 rotates counterclockwise, the fork portion 130a enters the clamper support member 123, enters the gap between the inner flange portion 123a and the flange portion 121b, pushes up the flange portion 121b, and the clamper 15 Is released from the magnetic attraction with the turntable 14, is released from the turntable 14, and the clamp of the disk 11 is released.
[0079]
Since the clamper support member 123 is fixed to the lower surface of the top plate portion 41a of the cover member 41 and the clamp release member 130 is configured to move in parallel with the lower surface of the top plate portion 41a, the clamp release mechanism 29 is thin. It has a structure.
[0080]
[Disc center hole hooking support mechanism 30]
As shown in FIGS. 2, 4, 17, 18 (A) and 18 (B), the disk center hole hooking support mechanism 30 includes a hook member 140, a U-shaped leaf spring member 141, and an X1-side disk. And a part of the support / guide member 90 and provided on the lower surface of the top plate portion 41 a of the cover member 41.
[0081]
The hook member 140 has a hook portion 140a for hooking the disc center hole 11b at one end, an arm portion 140b at the other end, and shaft portions 140c and 140d protruding in the middle. One end portion 141 a of a U-shaped leaf spring member 141 is fixed to the upper surface of the hook member 140.
[0082]
The hook member 140 is supported by bearing portions 41a6 and 41a7 formed by cutting and raising the shaft portions 140c and 140d in the top plate portion 41a, and the other end portion 141b of the leaf spring member 141 is the lower surface of the top plate portion 41a. Is attached to the lower surface of the top plate portion 41a in a state in which the U-shaped leaf spring member 141 is elastically deformed in a direction to collapse. The shaft portions 140c and 140d face the X direction, the hook member 140 faces the Y direction, and the hook portion 140a is located on the Y2 direction side and faces downward.
[0083]
The arm portion 140b on the Y2 direction side of the hook member 140 is in contact with the lower surface of the arm portion 90d of the X1-side disk support / guide member 90. The arm portion 90d is formed with a step portion 90g protruding in the Z2 direction.
[0084]
In the initial state, the stepped portion 90f is in contact with the arm portion 140b, the hook member 140 is in a substantially horizontal state as shown in FIG. 18A, the hook portion 140a is raised in the Z1 direction, and the disk 11 Is retracted upward from the moving path.
When the X1-side disk support / guide member 90 moves in the X1 direction, the stepped portion 90f is disengaged from the arm portion 140b, and the hook member 140 causes the shaft portion 140c to be moved by the leaf spring member 141 as shown in FIG. The hook portion 140a is tilted by turning counterclockwise about the center, and the hook portion 140a is lowered in the Z2 direction, enters the path in which the disk 11 moves, and can be hooked on the disk center hole 11b.
[0085]
The above is the configuration of each mechanism of the disk loading device 10.
[0086]
Next, the operation of each mechanism described above when loading the disk 11 will be described.
[0087]
Prior to loading the disk 11, the mechanisms are in the states shown in FIGS. 3, 4, 12, 13, 13, 16A, 16B, and 18A. In the disk support / guide mechanism 25, as shown in FIGS. 4, 5, and 19G, the disk support / guide members 90 and 91 are close to the center line CL side, and the width in the X direction is W1. It is in a “narrow” state. The width W1 is smaller than the diameter D of the disk 11.
[0088]
19A to 19K show the operation of each member in association with each other.
[0089]
The naked disk 11 taken out from the case by the operator is inserted into the disk insertion slot 13 of the front bezel 12 in a horizontal posture with the recording surface 11a facing downward, as shown in FIG. An operation is performed (t0-t6). In FIG. 19K, the broken line indicates manual movement, and the solid line indicates movement by the mechanism.
[0090]
By this operation, as shown in FIG. 4, about a quarter of the disk 11 on the Y1 side enters the space 95 of the disk support / guide mechanism 25 in the “narrow” state. The side plates 90a and 91a of the support / guide members 90 and 91 abut against the edges 90a1 and 91a1 at the ends in the Y2 direction. Here, since the disk support / guide members 90 and 91 are in a symmetrical position with respect to the center line CL in the X direction, the disk 11 is positioned in the X direction so that the center of the center hole 11b coincides with the center line CL. Determined. The disk support / guide members 90 and 91 are interlocked to move the same distance in the opposite directions to each other and always maintain a bilaterally symmetric relationship with respect to the upper center line CL in the X direction. Is maintained after the disc 11 further enters the space 95 of the disc support / guide mechanism 25.
[0091]
When the disk 11 is further pushed in, it is pushed by the peripheral edge 11c and the disk support / guide members 90 and 91 are moved in the direction away from each other left and right, and the disk 11 enters the space 95 while expanding the space 95 in the X direction.
[0092]
When the disk support / guide member 91 moves in the X2 direction (between t1 and t5), the pin 71f relatively moves in the X1 direction in the slit portion 91g1 of the slit 91g.
[0093]
When half of the disk 11 enters the space 95, the end of the disk 11 having the diameter D of the peripheral edge 11c comes into contact with the inner surfaces of the side plate portions 90a and 91a. The width of the space 95 in the X direction is W2, which is equal to the diameter D of the disk 11. The disk 11 is supported in a horizontal posture. Thereafter, the disc 11 is in a state in which the end portion of the X direction diameter of the disc 11 in the peripheral edge 11c is guided by the inner surfaces of the side plate portions 90a and 91a and the center of the center hole 11b of the disc 11 coincides with the center line CL. While moving in the Y1 direction.
[0094]
Note that the Y1 side of the disk 11 moves between the clamper 15 and the turntable 14 to Y1 as shown in FIG.
[0095]
Here, since the disk support surfaces 90c1 and 91c1 of the disk support / guide members 90 and 91 are inclined, the disk 11 faces the peripheral edge 11c of the recording surface 11a as shown in FIGS. The edge portion 11a1 is in contact with the disk support surfaces 90c1 and 91c1, and the recording surface 11a is floating away from the disk support surfaces 90c1 and 91c1. As a result, the recording surface 11a of the disk 11 is rubbed in the process in which the disk 11 enters the space 95 of the disk support / guide mechanism 25 and in the process in which the disk 11 described later exits the space 95 of the disk support / guide mechanism 25. Therefore, it is not damaged and protected.
[0096]
The disk insertion slot 13 has a flat inverted trapezoid so that the recording surface 11 a is not rubbed even when the disk 11 passes through the slot 13.
[0097]
Secondly, when the disc support / guide members 90 and 91 are moved in the left and right directions, the stepped portion 90f is detached from the arm portion 140b, and the hook member 140 is moved as shown in FIG. Can be tilted. As shown between t2 and t4 in FIG. 19 (H), the hook portion 140a once enters the center hole 11b of the disk 11, and is pushed up at a portion near the edge on the opposite side of the center hole 11b.
[0098]
Third, as shown in FIG. 20, the peripheral edge 11c of the inserted disk 11 pushes the pin 80c, and the first arm 80 is rotated counterclockwise while twisting the torsion coil spring 81, and FIG. As shown in A), the switch SW2 is turned on and the motor 21 is started. Here, since the oil damper 82 is connected to the first arm 80, the oil damper 82 is effective, and the disk 11 is inserted slowly with an appropriate heavy feeling.
[0099]
Thereafter, each mechanism of the disk loading device 10 is mainly operated by the motor 21.
[0100]
The rotation of the motor 21 is transmitted to the plate mechanism 23 via the reduction gear mechanism 22, and the crank-shaped slit 71c and the pin 70d fitted to the crank-shaped slit 71c, as shown in FIGS. 19 (F) and 19 (D). First, the loading plate 71 slides in the Y1 direction between t6 and t7, and then temporarily stops. During this stop (between t7 and t8), the first slide plate 70 slides in the X2 direction. After the first slide plate 70 stops, the loading plate 71 slides again in the Y1 direction between t8 and t9.
[0101]
By sliding the loading plate 71 and the first slide plate 70, the disk push-in / push-out mechanism 24, the disk support / guide mechanism 25, the turntable / optical pickup unit lifting / lowering mechanism 27, the clamp mechanism 28, the clamp release mechanism 29, the disk hooking The support mechanism 30 is operated at a predetermined timing.
[0102]
Operation performed by the first sliding of the loading plate 71 (t6-t7):
First, the first arm 80 of the disk push-in / push-out mechanism 24 is pushed by the lug portion 71e and rotated in the counterclockwise (CCW) direction as shown in FIGS. 19 (I) and 21 (A). Then, the pin 80c moves backward in the Y1 direction.
[0103]
Secondly, the second arm 83 is guided in the pin-like convex portion 83b by the slit 71d1 of the slit 71d and rotates counterclockwise (CCW) as shown in FIGS. 19 (J) and 21 (A). The disk 11 is completely pushed into the disk loading device 10 by pushing the peripheral edge 11c on the Y2 direction side of the disk 11 in which the convex portion 83a is inserted halfway. The disk 11 is in the state shown in FIG. 22 in which the center hole 11b is located directly above the turntable 14.
[0104]
The pin 71f moves in the Y1 direction within the slit portion 91g2 of the slit 91g. The pin 70d relatively moves in the Y1 direction within the slit portion 91g2 of the slit 91g.
[0105]
Operation performed by sliding the first slide plate 70 in the X2 direction (t7-t8):
When the first slide plate 70 slides in the X2 direction, the second slide plate 110 slides in the X1 direction via the connecting lever 113 as shown in FIG. 19E, and the turntable / optical pickup unit is moved up and down. The mechanism 27 is raised in the Z1 direction as shown in FIG. As a result, the convex portion 14 b at the center of the turntable 14 is fitted into the central hole 11 b of the disk 11, and the flange portion 14 a supports the disk 11. Further, the optical pickup 17 approaches the recording surface 11 a of the disk 11.
[0106]
Further, as the second slide plate 110 slides in the X1 direction, the clamp release member 130 is rotated in the clockwise (CW) direction as shown in FIG. 23B, and the fork portion 130a is pulled out from the clamper support member 123. The clamper 15 is unlocked as shown in FIG. The released clamper 15 is magnetically attracted to the turntable 14 by the permanent magnet 125, and the disk 11 is clamped on the turntable 14 as shown in FIG.
[0107]
Operation performed by sliding the loading plate 71 again (t8-t9):
First, the first arm 80 of the disk push-in / push-out mechanism 24 is further pushed by the lug 71e, and rotates counterclockwise (CCW) as shown in FIGS. 19 (I) and 25 (A). As a result, the pin 80c is displaced in the X2 direction and is separated from the peripheral edge 11c of the disk 11.
[0108]
Second, the second arm 83 guides the pin-shaped convex portion 83b to the Y-direction slit portion 71d2 at the end of the slit 71d, and as shown in FIGS. 19 (J) and 25 (A), it rotates clockwise. The projection 83a is displaced substantially in the X2 direction and is separated from the peripheral edge 11c of the disk 11.
[0109]
Third, the pin 71f enters the slit portion 90g3, and as shown in FIGS. 19G and 25B, the disk support / guide member 91 is slightly moved in the X2 direction, and the disk support / guide member is moved. 90 is slightly moved in the X1 direction, and the disk support / guide mechanism 25 is in the “wide” state. The width of the space 95 in the X direction is W2 larger than the diameter D of the disk 11. As a result, the inner surfaces of the side plate portions 90 a and 91 a of the disk support / guide members 90 and 91 are separated from the peripheral edge 11 c of the disk 11 as shown in FIG. Further, since the disk support surfaces 90c1 and 91c1 are inclined, the disk support surfaces 90c1 and 91c1 move in the direction away from each other so that the disk support surfaces 90c1 and 91c1 are at the lower end of the peripheral edge 11c of the disk 11, that is, the aforementioned. Is away from the edge portion 11a1 of the recording surface 11a. In FIG. 8B, reference numerals 150 and 151 denote gaps formed between the edge portion 11a1 and the disk support surfaces 90c1 and 91c1.
[0110]
By the above first, second, and third operations, the disk 11 is released from the restraint with respect to the peripheral edge 11c, and is freely rotated, and is loaded into the disk loading device 10. By this time, the switch SW1 is repeatedly turned on and off a predetermined number of times, and the motor 21 is stopped.
[0111]
Subsequently, the turntable / optical pickup unit 26 is operated, and the disk 11 is rotated and reproduced by the optical pickup 17 (t10-t11).
[0112]
Next, the operation of each mechanism when the disk 11 is unloaded will be described.
[0113]
When the ejection operation is performed after the reproduction is completed, the motor 21 is started and reversely rotated, and the first slide plate 70 of the plate mechanism 23 is moved as described above between t12 and t15 in FIGS. 19D and 19F. It operates in the reverse order and in the reverse direction from when loading the disk.
That is, as shown in FIGS. 19 (F) and 19 (D), the loading plate 71 first slides in the Y2 direction between t12 and t13, and then temporarily stops. During this stop (t13− The first slide plate 70 slides in the X1 direction and stops during the period t14), and after the first slide plate 70 stops, the loading plate 71 slides again in the Y2 direction between t14 and t15. The plate mechanism 23 returns to the initial state.
[0114]
Operation performed by the first sliding of the loading plate 71 (t12-t13):
The second arm 83 is slightly rotated counterclockwise as shown in FIGS. 19J and 23A, and the convex portion 83a comes into contact with the peripheral edge 11c of the disk 11. Further, the lug 71e moves in the Y2 direction, and the restoring force of the torsion coil spring 82 causes the first arm 80 to rotate clockwise as shown in FIGS. 19 (I) and 23 (A). 80 c contacts the peripheral edge 11 c of the disk 11. As shown in FIGS. 19 (G) and 23 (B), the disk support / guide members 90, 91 move in a direction approaching each other, and the inner surfaces of the side plate portions 90 a, 91 a abut against the peripheral edge 11 c of the disk 11. As a result, the peripheral edge 11c of the disk 11 is restrained.
[0115]
Operation performed by sliding the first slide plate 70 in the X1 direction (t13-t14):
When the first slide plate 70 slides in the X1 direction, the second slide plate 110 slides in the X2 direction via the connecting lever 113 as shown in FIG. 19E, and the turntable / optical pickup unit is moved up and down. The mechanism 27 is lowered in the Z2 direction as shown in FIG. Also, as the second slide plate 110 slides in the X1 direction, the clamp release member 130 is rotated counterclockwise as shown in FIG. 23B, and the fork portion 130a enters the clamper support member 123, As shown in FIG. 19B, the clamper 15 is pushed up against the magnetic attraction force by the permanent magnet 125. As a result, as shown in FIG. 22, this causes the central convex portion 16b of the turntable 14 to come out of the center hole 11b of the disk 11, and the clamper 15 is released from the turntable 14 so that the clamp of the disk 11 is released. The
[0116]
Operation performed by sliding the loading plate 71 again (t14-t15):
First, the second arm 83 is guided by the pin-like convex portion 83b through the slit 71d and rotated clockwise as shown in FIGS. 19 (J) and 20, and the convex portion 83a Evacuate from the passage.
[0117]
Second, the lug portion 71e moves in the Y2 direction, whereby the first arm 80 is rotated clockwise by the torsion coil spring 81, the pin 80c pushes the peripheral edge 11c of the disk 11, and the disk 11 moves in the Y2 direction. Is pushed out of the front bezel 12 and ejected. The disk 11 is moved while being guided by the inner surfaces of the side plate portions 90 a and 91 a of the disk support / guide members 90 and 91. Further, the oil damper 82 is effective, and the rotation of the first arm 80 is performed at a low speed after the sliding of the loading plate 71, and the ejection of the disk 11 is performed at a low speed.
[0118]
The stepped portion 90f is detached from the arm portion 140b, and the hook member 140 is in a tiltable state as shown in FIG. When the disk 11 is moved in the Y2 direction and the center hole 11b is opposed to the hook portion 140a, the disk hooking support mechanism 30 moves between t17 and t18 in FIG. 19 (H) in FIGS. 26 (A) and 26 (B). The hook part 140a falls into the center hole 11b of the disk 11 and enters, and the hook part 140a locks the edge of the center hole 11b. Therefore, as shown in FIGS. 26A and 26B, the disk 11 is hooked on the edge of the center hole 11b by the hook member 140, and the movement in the Y2 direction is stopped, and half of the disk 11 is moved from the front bezel 12. It will be in the state supported in the state which does not fall in the state which protruded outside. FIGS. 26A and 26B show a state in which unloading has been completed.
[0119]
In this state, the operator inserts the finger of the hand into the center hole 11b of the disk 11, holds the disk 11 with the peripheral edge 11c and the edge of the center hole 11b, and pulls it. As a result, the hook portion 140a is placed on the upper surface of the disk 11 and detached from the center hole 11b, and the disk 11 is taken out.
[0120]
When the disk 11 is taken out, the disk support / guide members 90 and 91 are further moved closer by the spring 96, and the disk support / guide mechanism 25 is in the initial "narrow" state. In the process, the hook portion 40a moves in the Z1 direction. To rise.
[0121]
The present invention is not limited to the above embodiment, and it is also possible to adopt a configuration in which the disk 11 is inserted in a vertical direction and the turntable / optical pickup unit 26 moves in the X1 and X2 directions.
[0122]
【The invention's effect】
As described above, according to the first aspect of the present invention, in the disk loading apparatus in which the disk is inserted and loaded onto the turntable, and then the disk is ejected to the outside and unloaded, the first arm and the second arm This arm is configured to be rotatable in a plane parallel to the surface on which the disk moves, so compared to a configuration in which long rollers that cross the disk are provided above and below the disk path, Thinning can be achieved.
[0123]
Each of the first arm and the second arm has a locking portion, and the locking portion locks and pushes the periphery of the disc to push the disc into the disc loading device and outside the disc loading device. Since it is configured to move in the ejection direction, the first arm and the second arm do not contact the recording surface of the disc, and therefore, loading and unloading of the disc should be performed without damaging the recording surface of the disc. I can do it.
[0124]
In addition, since the engaging portion of the first arm and the second arm is configured to move the disk by locking the periphery of the disk and pushing it, compared to the conventional structure for moving the disk using friction, Disk loading and unloading can be performed reliably.
[0125]
Furthermore, by supporting and guiding the disc in the process of being Russia over loading, during disc reproduction, because it is obtained by a configuration having a disk support guide members away to the disk, the movement to the loading position of the disk smoothly and stably Can be done. In addition, since the disc support guide member is separated from the disc during reproduction of the disc, it does not become a load against the rotation of the disc during reproduction and the disc can be prevented from being damaged.
[Brief description of the drawings]
FIG. 1 is a perspective view showing a disk loading device according to an embodiment of the present invention as seen through the inside thereof;
FIG. 2 is an exploded view of the disk loading device of FIG.
3 is a plan view showing a mechanism attached to a base member of the disk loading apparatus of FIG. 1; FIG.
4 is a plan view showing a mechanism attached to a lower surface of a cover member of the disk loading apparatus of FIG. 1. FIG.
FIG. 5 is a schematic front view of the disk loading apparatus of FIG. 1;
6 is a schematic side view of the disk loading apparatus of FIG. 1; FIG.
7 is a rear view of the disk loading device of FIG. 1. FIG.
8 is a front view of the apparatus for explaining the schematic operation of the disk loading apparatus of FIG. 1; FIG.
9 is a side view of the apparatus for explaining the schematic operation of the disk loading apparatus of FIG. 1. FIG.
FIG. 10 is a diagram showing a gear mechanism.
FIG. 11 is a diagram showing a plate mechanism.
FIG. 12 is a diagram showing a disc pushing / pushing mechanism.
FIG. 13 is a diagram showing a disk support / guide mechanism.
FIG. 14 is a diagram showing a turntable / optical pickup unit and a unit lifting mechanism.
FIG. 15 is a diagram showing a clamp mechanism and a clamp release mechanism.
FIG. 16 is a diagram showing a clamp mechanism and a clamp release mechanism in a clamp release state.
FIG. 17 is an exploded perspective view showing a disk hooking support mechanism.
FIG. 18 is a side view showing a disk hooking support mechanism.
FIG. 19 is a time chart showing the operation of each component during disk loading and disk unloading.
FIG. 20 is a diagram showing a state when a disc is inserted.
FIG. 21 is a diagram showing a state when the state when the disc is completely pushed into the apparatus is inserted.
22 is a diagram showing a positional relationship between the disc, the clamper, and the turntable in FIG. 21. FIG.
FIG. 23 is a diagram showing a state where a disk is clamped.
FIG. 24 is a diagram showing a clamping mechanism in a state where a disc is clamped.
FIG. 25 is a diagram illustrating a state where loading of a disc is completed.
FIG. 26 is a diagram showing a state in which the unloading of the disc is completed.
[Explanation of symbols]
DESCRIPTION OF SYMBOLS 10 Disc loading apparatus 11 Disc 14 Turntable 17 Optical pick-up 20 Case 21 Motor 22 Reduction gear mechanism 23 Plate mechanism 24 Disc pushing-in / out mechanism 25 Disc support / guide mechanism 26 Turntable / optical pick-up unit 27 Turntable / optical pick-up unit Lift mechanism 28 Clamp mechanism 29 Clamp release mechanism 30 Disc hook support mechanism 40 Base member 41 Cover member 53 Planetary gear mechanism 70 First slide plate 71 Loading plate 80 First arm 80c Pin 82 Oil damper 83 Second arm 83c Convex Part 90 X1 side disk support / guide member 91 X2 side disk support / guide member 90a, 91a Side plate part 90c, 91c Lower side plate part 90c1, 91c1 Disk support surface 92 the pinion 110 and the second slide plate 113 coupling lever 123 clamper support member 130 unclamping member 140 hook member

Claims (1)

ディスクが挿入されターンテーブル上にローディングされ、その後に、ディスクが外部に排出されてアンローディングされるディスクローディング装置において、
モータと、
ディスクの周縁のうちディスクの挿入方向側の周縁を係止する係止部を有し、ディスクの移動する面と平行な面内で回動可能に設けた第1のアームと、
先端が途中まで挿入されたディスクの周縁のうちディスクの挿入方向側とは反対側の周縁を係止する係止部を有し、ディスクの移動する面と平行な面内で回動可能に設けた第2のアームと、
ディスクをローディングする過程では、手動によってディスクが途中まで挿入されたときに、上記モータによって、上記第2のアームを、その係止部がディスクの周縁を係止して押してディスクをディスクローディング装置内に押し込むように回動させ、ディスクをアンローディングする過程では、上記モータによって、上記第1のアームを、その係止部がディスクの周縁を係止して押してディスクをディスクローディング装置の外に押し出すように回動させるように制御する制御機構と、
ローディングされる過程のディスクを支持案内し、ディスク再生時には、ディスクに対して離れるディスク支持ガイド機構とを有し、
該ディスク支持ガイド機構は、
上側板部と、下側板部と、側板部とよりなるコ字形状であり、且つ、ラックを有し、挿入されるディスクの両側に、ディスクの挿入方向に対して直交方向に移動可能に支持されたディスク支持ガイド部材と、両側のディスク支持ガイド部材の対向する位置関係にあるラックが噛み合うピニオンとよりなり、両側のディスク支持ガイド部材が連動して互いに逆方向に同じ距離移動し、両側のディスク支持ガイド部材の側板部の間でローディングされる過程のディスクの周縁を支持案内し、ディスク再生時には、両側のディスク支持ガイド部材が連動して互いに離れる方向に移動され、両側のディスク支持ガイド部材の側板部がディスクの周縁から離れる構成としたことを特徴とするディスクローディング装置。
In a disk loading device in which a disk is inserted and loaded on a turntable, and then the disk is ejected to the outside and unloaded,
A motor,
A first arm that has a locking portion that locks the peripheral edge of the disk in the insertion direction side of the disk, and that can be rotated in a plane parallel to the surface on which the disk moves;
It has a locking part that locks the periphery of the disc that is inserted to the middle on the opposite side to the insertion direction side of the disc, and is provided so as to be rotatable in a plane parallel to the moving surface of the disc. A second arm,
In the process of loading the disk, when the disk is manually inserted halfway, the motor pushes the second arm and its locking part locks the periphery of the disk to push the disk into the disk loading device. is rotated so as to push, in the process of unloading the disk, by the motor, out of the first a over arm, the disk loading device disk that locking portion presses engages the periphery of the disc and a control mechanism for controlling so as to rotate as out press on,
A disc support guide mechanism that supports and guides the disc in the loading process and separates from the disc at the time of disc reproduction;
The disk support guide mechanism includes:
It has a U-shape consisting of an upper plate, a lower plate, and a side plate, has a rack, and is supported on both sides of the inserted disc so as to be movable in a direction orthogonal to the disc insertion direction. The disc support guide members and the pinions on which the racks facing each other on the opposite sides of the disc support guide members engage with each other, and the disc support guide members on both sides move in the opposite directions and move the same distance in the opposite directions. Supports and guides the periphery of the disk in the process of loading between the side plate portions of the disk support guide member, and at the time of reproducing the disk, the disk support guide members on both sides are moved away from each other in conjunction with each other. A disc loading device characterized in that the side plate portion of the disc is separated from the periphery of the disc.
JP2000169415A 2000-06-06 2000-06-06 Disc loading device Expired - Fee Related JP3772645B2 (en)

Priority Applications (4)

Application Number Priority Date Filing Date Title
JP2000169415A JP3772645B2 (en) 2000-06-06 2000-06-06 Disc loading device
TW090112333A TW516022B (en) 2000-06-06 2001-05-23 Compact disc loader
US09/872,389 US6799322B2 (en) 2000-06-06 2001-06-01 Disk loading device
KR10-2001-0030954A KR100425792B1 (en) 2000-06-06 2001-06-02 Disk loading device

Applications Claiming Priority (1)

Application Number Priority Date Filing Date Title
JP2000169415A JP3772645B2 (en) 2000-06-06 2000-06-06 Disc loading device

Publications (2)

Publication Number Publication Date
JP2001351295A JP2001351295A (en) 2001-12-21
JP3772645B2 true JP3772645B2 (en) 2006-05-10

Family

ID=18672281

Family Applications (1)

Application Number Title Priority Date Filing Date
JP2000169415A Expired - Fee Related JP3772645B2 (en) 2000-06-06 2000-06-06 Disc loading device

Country Status (1)

Country Link
JP (1) JP3772645B2 (en)

Families Citing this family (2)

* Cited by examiner, † Cited by third party
Publication number Priority date Publication date Assignee Title
JP3522235B2 (en) 2001-05-25 2004-04-26 松下電器産業株式会社 Disk unit
KR100499951B1 (en) * 2002-11-18 2005-07-07 현대모비스 주식회사 optical disk eject device

Also Published As

Publication number Publication date
JP2001351295A (en) 2001-12-21

Similar Documents

Publication Publication Date Title
KR100425792B1 (en) Disk loading device
JP3772645B2 (en) Disc loading device
US20100083292A1 (en) Storage medium carrying mechanism in storage medium reproducing apparatus or storage medium recording/reproducing apparatus
JP3755383B2 (en) Disc loading device
JP3659130B2 (en) Disc loading device
JP5064076B2 (en) Disk unit
JP2001351362A (en) Disc loading device
JP2001351294A (en) Disc loading device
JP2001351290A (en) Disc loading device
JP4493714B2 (en) Disc player
JP3042769B2 (en) Disc playback device
WO2007083760A1 (en) Slot-in type disk device
US20090025018A1 (en) Disc Player, and Control Method and Control Program for the Same
CN100389465C (en) Optical disk drive
JP2008130172A (en) Disk unit
JP2004039193A (en) Disk release mechanism of disk drive device
JP4331171B2 (en) Slot-in type disk unit
JP2875032B2 (en) Slide deck type disc player
JP2508582B2 (en) Disk cassette loading device
JP2008198278A (en) Disk device
JP2003022664A (en) Disk drive device
JP2007207373A5 (en)
JP2009020956A (en) Disk conveying mechanism and disk reproduction device using the same
JP2000021153A (en) Floating support structure
JP2004118961A (en) Eject mechanism and disk recording and / or reproducing apparatus

Legal Events

Date Code Title Description
A977 Report on retrieval

Free format text: JAPANESE INTERMEDIATE CODE: A971007

Effective date: 20050307

A131 Notification of reasons for refusal

Free format text: JAPANESE INTERMEDIATE CODE: A131

Effective date: 20050329

A521 Written amendment

Free format text: JAPANESE INTERMEDIATE CODE: A523

Effective date: 20050527

TRDD Decision of grant or rejection written
A01 Written decision to grant a patent or to grant a registration (utility model)

Free format text: JAPANESE INTERMEDIATE CODE: A01

Effective date: 20060124

A61 First payment of annual fees (during grant procedure)

Free format text: JAPANESE INTERMEDIATE CODE: A61

Effective date: 20060206

R150 Certificate of patent or registration of utility model

Free format text: JAPANESE INTERMEDIATE CODE: R150

FPAY Renewal fee payment (event date is renewal date of database)

Free format text: PAYMENT UNTIL: 20090224

Year of fee payment: 3

S531 Written request for registration of change of domicile

Free format text: JAPANESE INTERMEDIATE CODE: R313531

FPAY Renewal fee payment (event date is renewal date of database)

Free format text: PAYMENT UNTIL: 20090224

Year of fee payment: 3

R350 Written notification of registration of transfer

Free format text: JAPANESE INTERMEDIATE CODE: R350

FPAY Renewal fee payment (event date is renewal date of database)

Free format text: PAYMENT UNTIL: 20100224

Year of fee payment: 4

LAPS Cancellation because of no payment of annual fees