JP3772625B2 - Air-conditioning duct blower - Google Patents

Air-conditioning duct blower Download PDF

Info

Publication number
JP3772625B2
JP3772625B2 JP2000040307A JP2000040307A JP3772625B2 JP 3772625 B2 JP3772625 B2 JP 3772625B2 JP 2000040307 A JP2000040307 A JP 2000040307A JP 2000040307 A JP2000040307 A JP 2000040307A JP 3772625 B2 JP3772625 B2 JP 3772625B2
Authority
JP
Japan
Prior art keywords
air
duct
nozzle
orifice
nozzle member
Prior art date
Legal status (The legal status is an assumption and is not a legal conclusion. Google has not performed a legal analysis and makes no representation as to the accuracy of the status listed.)
Expired - Fee Related
Application number
JP2000040307A
Other languages
Japanese (ja)
Other versions
JP2001191790A (en
Inventor
圭 北林
Current Assignee (The listed assignees may be inaccurate. Google has not performed a legal analysis and makes no representation or warranty as to the accuracy of the list.)
Mitsubishi Fuso Truck and Bus Corp
Original Assignee
Mitsubishi Fuso Truck and Bus Corp
Priority date (The priority date is an assumption and is not a legal conclusion. Google has not performed a legal analysis and makes no representation as to the accuracy of the date listed.)
Filing date
Publication date
Application filed by Mitsubishi Fuso Truck and Bus Corp filed Critical Mitsubishi Fuso Truck and Bus Corp
Priority to JP2000040307A priority Critical patent/JP3772625B2/en
Publication of JP2001191790A publication Critical patent/JP2001191790A/en
Application granted granted Critical
Publication of JP3772625B2 publication Critical patent/JP3772625B2/en
Anticipated expiration legal-status Critical
Expired - Fee Related legal-status Critical Current

Links

Images

Landscapes

  • Air-Conditioning For Vehicles (AREA)

Description

【0001】
【発明の属する技術分野】
本発明は、バス等自動車における空気調和装置で調温された空気を車室内に吹出す空調ダクトの吹出装置に関するものである。
【0002】
【従来の技術】
従来、バス等の空調ダクトには座席に着座した乗員或いは乗客に向って調温された空気、例えば冷房時に冷風を吹出す開口部が設けられ、同開口部には、通常、適宜の間隔を存して複数個のフィンを並設したルーバと、上記ルーバのフィンに対し直角方向に複数個並設されルーバを通過した冷風等を所望の方向に流出させることができるように設けられた調整可能のフィンとを備えた吹出装置が広く用いられている。
上記従来の吹出装置では、冷房時に、空調ダクトに供給される風量を調整することによって涼風感(ここでは冷風を直接乗員或いは乗客の体に当てて涼感を得ることを意味する)を制御するように構成されているが、例えばバスの場合、多くの乗客が寒いと感じて夫々の座席上方に設けられている空調ダクトの吹出装置の吹出風量を絞ってしまうと、総風量が減少して冷房能力が低下すると共に、車室内各部分の温度分布が不適切になる欠点がある。
【0003】
【発明が解決しようとする課題】
本発明は、上記従来の空調ダクトにおける吹出装置の欠点に鑑み創案されたもので、バス等車両の乗員及び乗客が、空調装置の冷房運転時に、各人の涼風感に対する感覚的な差異、或いは座席位置によって異る日射量の差異等により、冷風の速度が小さいそよ風のような柔らかな涼風感、又は冷風の速度が比較的大きく強い涼風感の何れを選択しても、全体としての風量に大きな変化がなく、また車室内の温度分布にも部分的に大きな変化を生じる不都合がなく、この結果、冷房能力の低下を招くことなく個々の乗員、乗客のフィーリングを向上することができる空調ダクトの吹出装置を提供することを、主たる目的とするものである。
【0004】
【課題を解決するための手段】
上記目的を達成するため、本発明は、空調ダクトに設けられ調温された空気を車室内に吹出す開口部に、同軸的にかつ相対回転可能に配設された筒状部材及び回転部材と、上記筒状部材内に軸線方向に摺動自在に嵌装され、その内部にダクト側より車室側の通路面積が小さく形成されたベルマウス形の空気通路を備えたノズル部材と、上記回転部材の車室側端部に設けられ、ダクト側から車室側に向い拡開した形状を有すると共に上記ノズル部材のベルマウス形空気通路と等価開口面積を有する空気通路を備えたオリフィスと、上記筒状部材及び回転部材の何れか一方を他方に対し回転させることにより上記ノズル部材を上記オリフィスに近接した第1位置と同オリフィスからダクト内方に離隔した第2位置との間で軸線方向に変位させるノズル移動機構と、上記筒状部材の外周壁に開設され、ノズル部材が上記第1位置にあるとき上記ダクトと同ノズル部材のベルマウス形空気通路とを連通させる第1流入口、及び上記ノズル部材が第2位置にあるとき上記ダクトと上記オリフィスの拡開した空気通路とを連通させる第2流入口とを備え、上記ノズル移動機構が、上記筒状部材又は回転部材の外周壁に設けられ、上記軸線に対し略直交する方向に沿って延びた横溝部分と同横溝部分の一端から上記略直交する方向に対し傾斜して延びた斜溝部分とからなる第1案内溝と、上記筒状部材又は回転部材の他方の外周壁に設けられ軸線に対し略平行に延びた第2案内溝と、上記ノズル部材の外周面に直径方向に延在して突設され、上記第1及び第2案内溝に共通に挿通された摺動ピンとから構成されていることを特徴とする空調ダクトの吹出装置を提案するものである。
【0005】
【発明の実施の形態】
以下本発明の好ましい実施形態を添付図面について具体的に説明する。
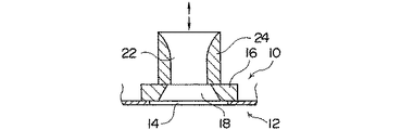
先ず、図1ないし図3において、符号10は車両、特にバスの車室12の天井部分に車両前後方向に延在して配置され調温された空気、例えば冷風を車室内に供給する空調ダクト(図ではその一部のみが示されている)を示し、14は同空調ダクト10の乗員又は乗客用座席の略上方位置に開設された開口部即ち吹出口である。16は上記吹出口14に配置され、ダクト10側から車室12側に向い拡開した空気通路18を有する拡散形のオリフィスである。また、24は上記吹出口14に配置され、ダクト10側より車室12側の通路面積が小さく形成されたベルマウス形の空気通路22を備えたノズル部材である。
【0006】
空調ダクト10の吹出口14に拡散形のオリフィス16を設けた図1の場合は、空調ダクト10内の冷風が、図中に矢印で示したように、拡散して低速度で車室12内に流入するため、吹出口14の下方に設けられた座席に着座する乗員又は乗客は、柔らかいそよ風のような涼風感を得る。一方、吹出口14にノズル部材24を設けた図2の場合は、空調ダクト10内の冷風が、図中に矢印で示したように、ベルマウス形の収斂した空気通路22から相対的に高速度で車室12内に流入するため、吹出口14の下方の座席に着座する乗員又は乗客は、冷風自体の温度より一層涼しい体感温度を感受することとなる。
【0007】
従って、図3に示されているように、空調ダクト10の吹出口14にオリフィス16とノズル部材24とを実質的に同軸的に配置し、オリフィス16とノズル部材24を図示のように近接配置することによって、ベルマウス形空気通路22を流れる相対的に高速の冷風により強い涼風感が得られる(上記近接配置には、図示のようにノズル部材24をオリフィス16に当接させる場合は勿論、ベルマウス通路22による冷風の流れが主流として維持される程度に、ノズル部材24とオリフィス16との間に多少の隙間が形成される場合が含まれる。)。また、図3に上向きの矢印で示されているように、ノズル部材24をオリフィス16から軸線方向上方に十分離隔させると、空調ダクト10内の冷風が実質的にオリフィス16の拡散形空気通路18から車室12内に低速で流出して、そよ風のような柔らかい涼風感が得られることとなる。
【0008】
そこで、オリフィス16の空気通路18とノズル部材24の空気通路22とが、後述する等価開口面積を有するように、予め夫々の空気通路形状及び断面積を設定しておくことによって、空調ダクト10内の冷風が、オリフィス16又はノズル部材24の何れから吹出した場合でも、実質的に流量に変化がなく、従って複数の吹出口14を備えた空調ダクト10全体としての冷風流量が変らないので、冷房能力を低下させたり、車室12内の温度分布に悪影響を与えることを防止しながら、個々の乗員、乗客は、夫々の体質や、座席位置による日射量の差異等に対応した好みの涼風感を得ることができる。なお、上記等価開口面積とは、種々の通路形状及び断面積を有するオリフィス16、ノズル部材24等の吹出部材を、同一のダクト内外の圧力差の下で、同一の風量が得られるような開口部に置き換え、計算によって算出する面積を意味するものである。即ち、上記吹出部材の通路形状の差異により流通損失が異るため、出口面積が同じでも通常等価開口面積は異る。
【0009】
上記拡散形の空気通路18を有するオリフィス16とベルマウス形の空気通路22を有するノズル部材24とを組み合わせ、オリフィス16に対しノズル部材24を軸線方向に相対変位させるようにした吹出装置の第1の実施形態が図4ないし図10に示されている。
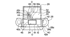
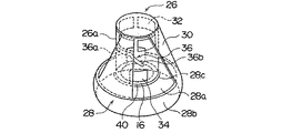
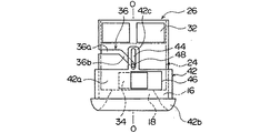
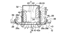
先ず、図4において、26は下端が開口した有底円筒状の筒状部材であって、同筒状部材26の下端部に同軸的に環状の基台28が配設され、同基台28と筒状部材26とは複数個(図では2個のみが示されている)のステイ30により一体的に連結されている。上記筒状部材26の円筒状をなす外周壁26aの上方部分には、円周方向に適宜の間隔を存し複数個例えば4個の第1流入口を形成する上方開口32が設けられ、また同外周壁26aの下方部分には、複数個例えば直径方向の対称位置に2個の第2流入口を形成する下方開口34が設けられている。さらに、上記上方開口32と下方開口34の中間の外周壁26aには、軸線に対し略直交する方向に延びた中心線を有する横溝部分36aと、同横溝部分36aの一端から上記中心線に対し斜交する方向に下向きに延びた斜溝部分36bとからなる第1案内溝36 が設けられている。図4では、図の過度の混雑を防ぐため正面側の第1案内溝36のみが示されているが、直径方向反対側の外周壁26aにも対をなす案内溝36が設けられている。さらに、上記外周壁26aの下端には、半径方向内方に延びたフランジが設けられ、同フランジが前記オリフィス16を形成している。
【0010】
また、上記基台28の底壁28aから立上った周壁28bは図10に良く示されているように球面状に形成され、前記空調ダクト10の吹出口14に設けられた協働する球面座38に支持される。従って基台28は、上記筒状部材26と一体に或る角度範囲内で上記空調ダクト10に対し自在に傾動し得るように構成されている。一方、基台28の底壁28aの中央部分には円形の透孔28cが形成され、同透孔28cと筒状部材26の外周壁26aとの間には、環状の空隙40が形成されている。
【0011】
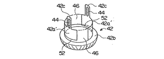
次に、図5は上記空隙40に挿通されて上記筒状部材26の外周壁26aに対し同軸的にかつ回転自在に外嵌される中空円筒状の外周壁42aと、同外周壁42aの下端に一体的に形成された操作リング42bと、同外周壁42aの上端縁に直径方向に対をなして突設され夫々筒状部材26の軸線に対し略平行に延びた第2案内溝44を有する突起42cとを備えた回転部材42を示す。上記外周壁42aには、筒状部材26の下方開口34と協働する対をなす開口46が設けられている。なお、上記外周壁42a及び突起42cは、上記空隙40の半径方向の幅より若干小さい肉厚を有するが、図5では簡単のため便宜的に肉厚を無視した単一の線で示されている。
さらに、図6は全体として円筒状をなし、その中央部分に、前記空調ダクト10側の断面積が大きく、かつ車室12側の断面積が小さいベルマウス形の空気通路22を備えたノズル部材24を示し、同ノズル部材24の外周面には直径方向に一線をなす一対の摺動ピン48が突設され、同ピン48は、上記筒状部材26に回転部材42を同軸的に、かつ相対回転自在に外嵌すると共に、筒状部材26の内部にノズル部材26を軸線方向に摺動自在に内嵌して三者を組付けた状態で、上記第1案内溝36及び第2案内溝44を共通に貫通する。
【0012】
上記筒状部材26、回転部材42及びノズル部材24の組立体からなる吹出装置の作動態様を、図7ないし図10を参照して説明する。先ず、図7及び図10では、筒状部材26と一体の上記基台28が記載されているが、図8及び図9では簡単のために上記基台28は図示を省略されている。
さて、図7は乗員又は乗客が回転部材42の下端の操作リング42bを把持して軸線O−Oの回りに回転させ、図中に2点鎖線で示したノズル部材24の摺動ピン48が、第1案内溝36の横溝部分36aと斜溝部分36bとの接続部分に位置すると共に第2案内溝44の上端部分に位置している状態を示す。この状態では、筒状部材26の上方開口32は、図10の軸線O−Oの右側部分に明示されているように上昇位置又は第2位置にあるノズル部材24の外周面により閉塞されると共に、筒状部材26の下方開口34と、回転部材42の開口46とが連通している。この結果、空調ダクト10内の冷風が上記開口46及び下方開口34を通ってオリフィス16の拡散形空気通路18を経て車室12内に緩やかな速度で拡散しながら流入し、従って前述したようにそよ風のようなおだやかな涼風感が得られる。
【0013】
次に、回転部材42の操作リング42bを軸線O−Oの回りに右回転させると、突起42cに設けられた第2案内溝44がノズル部材24の摺動ピン48を右方に押すので、摺動ピン48が第1案内溝36の斜溝部分36bに沿って下降し、従ってノズル部材24が下降して筒状部材26の下端のオリフィス16に当接し又は小間隙を存した近接位置即ち第1位置まで変位し、図8に示す状態となる。
この結果、筒状部材26の第1流入口即ち上方開口32が開くと共に、第2流入口即ち下方開口34がノズル部材24の外周面により閉鎖される。また回転部材42の開口46もノズル部材24の外周面によって閉鎖される。従って、図10に軸線O−Oの左側部分に示されているように、空調ダクト10内の冷風が上方開口32からノズル部材24のベルマウス形空気通路22を通り相対的に高い速度で車室12内に流出し、前述したように一層高い涼風感が得られる。このときノズル部材24と上記オリフィス16とは等価開口面積を有するので、涼風感の変化にも拘わらず、何れの場合も冷風流量は実質的に等しい。
なお、図8の状態に回転部材42を回転させた後、乗員又は乗客が操作リング42bから手を離したときに、摺動ピン48は第2案内溝44に沿って上方に自由に相対変位し得る状態となり、換言すれば、回転部材42が、自重によってその摺動ピン48が第2案内溝44の上端に当接する位置まで下降することができることとなり、外観上好ましくないので、図10に示されているように回転部材42の外周壁42aに適宜のストッパ部材50を設ける。
【0014】
また、上記図7の状態から回転部材42の操作リング42bを軸線O−Oの回りに左回転させると、上昇位置にあるノズル部材24の摺動ピン48が第1案内溝36の横溝部分36aの他端(図中左方の端部)まで変位し図9の状態となる。この状態では、筒状部材26の上方開口32が上昇位置にあるノズル部材24によって閉塞されると共に、筒状部材26の下方開口34と回転部材42の開口46が円周方向に離隔した位置に変位するので、空調ダクト10から車室12への冷風の流出が停止される。なお、冬期等冷房が行なわれない場合、空調ダクト10のすべての吹出口14に設けられた吹出装置を図9の閉鎖状態とすることが好ましい。
【0015】
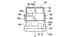
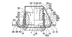
次に、図11ないし図12は、本発明の第2の実施形態を示すものである。第2実施形態と上記第1実施形態との差異は、先ず、図12に示されているように回転部材42の外周壁42aが円周方向に連続せず、直径方向に対向して配置された二つの部分円筒状の外周壁42a′から形成されていて、同外周壁42a′相互間の円周方向の空間が開口46を形成していること、及び上記外周壁42a′の下端部分にスリット52が形成されていることである。また、図11に示されているように、筒状部材26の下端部と基台28の底壁28aとが一体的に連結され、また同底壁28aに、上記外周壁42a′を挿入して筒状部材26の外周壁26aに外嵌するための円弧状の溝40′が設けられていることである。なお上記外周壁42a′の下端部分に設けられる上記スリット52は上記底壁28aの肉厚より若干大きい軸線方向の高さを有する。筒状部材26及び基台28のその他の構成、並びにノズル部材24の構成は、上記第1実施形態と実質的に同等であり、したがつて同一の符号を付し詳細な説明は省略する。
【0016】
上記筒状部材26、回転部材42及びノズル部材24を組付けた第2実施形態の作動態様は、図13に示すとおりである。軸線O−Oの右側部分は、ノズル部材24の摺動ピン48が第1案内溝36の横溝部分36aの斜溝部分36bとの接続部分に位置している状態を示し、このときノズル部材24は上昇位置即ち第2位置にあるので、筒状部材26の第1流入口即ち上方開口32は閉塞され、同筒状部材26の第2流入口即ち下方開口34と回転部材42の開口46とが一致し、空調ダクト10内の冷風が上記下方開口34及び開口46を通って筒状部材26の下端内方に形成されたオリフィス16の拡散形空気通路18から車室12内に低い速度で流入し、従ってそよ風のようなおだやかな涼風感が得られる。
【0017】
次に、回転部材42の操作リング42bを軸線O−Oの回りに右回りに回転させるとノズル部材24の摺動ピン48が第1案内溝36の斜溝部分36bに沿って下降し、ノズル部材24がオリフィス16の上面に当接するか小間隙を存する近接位置即ち第1位置まで下降し、図13において軸線O−Oの左側に図示した状態となる。ノズル部材24の下降により筒状部材26の上方開口32が開かれると共に下方開口34及び回転部材42の開口46が閉塞されるので、空調ダクト10内の冷風がベルマウス形空気通路22を通って相対的に高い速度で車室12内に流入し、より強い涼風感が得られる。なお、ノズル部材24とオリフィス16とは等価開口面積を有するように設定されているので、上記涼風感の変化にも拘わらず、空調ダクト10から車室12内への冷風吹出流量は実質的に等しい。
【0018】
さらに、上記のように回転部材42を右回転させたときに、部分円筒壁下端のスリット52が円弧状の溝40′の円周方向の延長部分に挟持されているので、摺動ピン48が第2案内溝44の下端に位置していても、回転部材42が自重により下方に変位することはない。なお、図示は省略されているが、摺動ピン48が第1案内溝36の横溝部分36aの右端位置にある状態、即ち図13の右半部分に示した状態から、回転部材42を左方に回転させることによって、第1実施形態における図9の状態と同様に、空調ダクト10から車室12内への冷風の吹出しを停止させるように構成することができる。
【0019】
本発明は、上述した第1及び第2実施形態に限定されるものではなく、特許請求の範囲内で種々の変更、修正を加えて実施することができる。例えば、基台28を単なるフランジとして空調ダクト10の吹出口14にねじ、ボルト等により固定しても良く、勿論この場合筒状部材26の軸線O−Oの方向、即ち冷風の吹出流の指向方向を変化させることはできなくなるが、なお本発明の利点又は効果を奏することができる。また、第1案内溝36の斜溝部分36bの下向きの傾斜方向を上記構成とは逆にし、回転部材42の回転操作方向を上記とは逆方向にしても良く、また第1案内溝36における斜溝部分36bを上向きに延びるように変更することができる。さらに、上記ノズル部材24のオリフィス16に対する軸線O−O方向の変位は、筒状部材26と回転部材42の軸線O−Oの回りの相対回転によって行なわれるので、上記実施形態とは逆に、第1案内溝36を回転部材42側に設け、第2案内溝44を筒状部材26側に設けることができ、さらにまた、上記実施形態とは反対に、回転部材42に対し筒状部材26を回転させるように変更することもできる。なおまた、本発明はバスの車室天井付近に設けられる空調ダクトの吹出装置に適用されて特に好適であるが、バス以外の種々の車両に広く適用し得ることは、明らかである。
【0020】
【発明の効果】
叙上のように、本発明に係る空調ダクトの吹出装置は、空調ダクトに設けられ調温された空気を車室内に吹出す開口部に、同軸的にかつ相対回転可能に配設された筒状部材及び回転部材と、上記筒状部材内に軸線方向に摺動自在に嵌装され、その内部にダクト側より車室側の通路面積が小さく形成されたベルマウス形の空気通路を備えたノズル部材と、上記回転部材の車室側端部に設けられ、ダクト側から車室側に向い拡開した形状を有すると共に上記ノズル部材のベルマウス形空気通路と等価開口面積を有する空気通路を備えたオリフィスと、上記筒状部材及び回転部材の何れか一方を他方に対し回転させることにより上記ノズル部材を上記オリフィスに近接した第1位置と同オリフィスからダクト内方に離隔した第2位置との間で軸線方向に変位させるノズル移動機構と、上記筒状部材の外周壁に開設され、ノズル部材が上記第1位置にあるとき上記ダクトと同ノズル部材のベルマウス形空気通路とを連通させる第1流入口、及び上記ノズル部材が第2位置にあるとき上記ダクトと上記オリフィスの拡開した空気通路とを連通させる第2流入口とを備えたことを特徴とし、空調装置の冷房運転時に、空調ダクトの吹出装置から車室内に流入する冷風の速度を乗員及び乗客の感覚的な好み、日射量の差異等に応じ、柔らかな涼風感又は強い涼風感が得られるように切換えることができ、また、上記切換えによって冷風流量に大きな変化を生じることがなく、従って冷房能力の低下や車室内の温度分布の大きな変動を招くことなく個々の乗員、乗客のフィーリングを向上することができる利点がある。
また、本発明において、上記ノズル移動機構が、上記筒状部材又は回転部材の外周壁に設けられ、上記軸線に対し略直交する方向に沿って延びた横溝部分と同横溝部分の一端から上記略直交する方向に対し傾斜して延びた斜溝部分とからなる第1案内溝と、筒状部材又は回転部材の他方の外周壁に設けられ軸線に対し略平行に延びた第2案内溝と、上記ノズル部材の外周面に直径方向に延在して突設され、上記第1及び第2案内溝に共通に挿通された摺動ピンとから構成されていることにより、構造的にコンパクトでバス等の空調ダクトに容易に取付けることが可能な吹出装置を提供することができる。
【図面の簡単な説明】
【図1】空調ダクトの吹出口に拡散形空気通路を有するオリフィスを配置した場合を示す概念的断面図である。
【図2】空調ダクトの吹出口にベルマウス形空気通路を有するノズル部材を配置した場合を示す概念的断面図である。
【図3】空調ダクトの吹出口にオリフィスとノズル部材とを配置した場合を示す概念的断面図である。
【図4】本発明の第1実施形態における筒状部材及び基台の斜視図である。
【図5】本発明の第1実施形態における回転部材の斜視図である。
【図6】本発明の第1実施形態におけるノズル部材の斜視図である。
【図7】図4〜図6に示した部材を組付けオリフィスを作用させた状態の吹出装置を示す正面図である。
【図8】図7に示した吹出装置においてノズル部材を作用させた状態を示す正面図である。
【図9】図7に示した吹出装置の不作動時を示す正面図である。
【図10】軸線O−Oの右側に図7に示す状態を、左側に図8に示す状態を示した第1実施形態の断面図である。
【図11】本発明の第2実施形態における筒状部材及び基台の斜視図である。
【図12】本発明の第2実施形態における回転部材の斜視図である。
【図13】軸線O−Oの右側にオリフィスの作動時を示し、左側にノズル部材の作動時を示した第2実施形態の断面図である。
【符号の説明】
10…空調ダクト、12…車室、14…吹出口(吹出し開口部)、16…オリフィス、18…拡散形空気通路、22…ベルマウス形空気通路、24…ノズル部材、26…筒状部材、26a…筒状部材の外周壁、28…基台、32…上方開口(第1流入口)、34…下方開口(第2流入口)、36…第1案内溝、36a…横溝部分、36b…斜溝部分、42…回転部材、42a及び42a′…回転部材の外周壁、44…第2案内溝、48…摺動ピン。
[0001]
BACKGROUND OF THE INVENTION
The present invention relates to a blowout device for an air conditioning duct that blows out air, which is temperature-controlled by an air conditioner in a car such as a bus, into a vehicle interior.
[0002]
[Prior art]
Conventionally, air conditioning ducts such as buses have been provided with openings that are conditioned to the passengers or passengers seated on the seats, for example, blown out cold air during cooling, and the openings are usually spaced at appropriate intervals. A louver having a plurality of fins arranged side by side and an adjustment provided so that a plurality of louvers arranged side by side in a direction perpendicular to the fins of the louver can flow out the cold air passing through the louver in a desired direction. Blowout devices with possible fins are widely used.
In the above-described conventional blow-out device, the cool air feeling (which means that the cool air is directly applied to the body of an occupant or passenger) is controlled by adjusting the amount of air supplied to the air-conditioning duct during cooling. For example, in the case of buses, if many passengers feel cold and the air volume of the air-conditioning duct blower installed above each seat is reduced, the total air volume decreases and cooling There are drawbacks in that the capacity is lowered and the temperature distribution in each part of the passenger compartment becomes inappropriate.
[0003]
[Problems to be solved by the invention]
The present invention was devised in view of the drawbacks of the blowout device in the conventional air-conditioning duct. Regardless of the difference in the amount of solar radiation that varies depending on the seat position, the overall air volume can be adjusted regardless of whether you choose a soft cool breeze with a low wind speed or a cool breeze with a relatively large and cool air. Air conditioning that can improve the feeling of individual passengers and passengers without causing major changes and without causing inconveniences that cause partial changes in the temperature distribution in the passenger compartment. The main object is to provide a duct blowing device.
[0004]
[Means for Solving the Problems]
In order to achieve the above object, the present invention provides a cylindrical member and a rotating member that are coaxially and relatively rotatably disposed in an opening that blows out temperature-controlled air provided in an air conditioning duct into a vehicle interior. A nozzle member having a bell mouth-shaped air passage which is slidably fitted in the axial direction in the cylindrical member and has a passage area on the vehicle compartment side smaller than that on the duct side, and the rotation An orifice provided at an end of the member on the side of the passenger compartment, having an expanded shape from the duct side toward the passenger compartment, and having an air passage having an equivalent opening area to the bell mouth air passage of the nozzle member; and By rotating one of the cylindrical member and the rotating member with respect to the other, the nozzle member is moved in the axial direction between a first position close to the orifice and a second position spaced inward from the orifice toward the duct. Displacement And a nozzle that is opened on the outer peripheral wall of the tubular member and communicates the duct with the bell mouth air passage of the nozzle member when the nozzle member is in the first position, and the nozzle A second inflow port for communicating the duct and the air passage having the orifice opened when the member is in the second position, and the nozzle moving mechanism is provided on an outer peripheral wall of the cylindrical member or the rotating member. A first guide groove comprising a transverse groove portion extending along a direction substantially orthogonal to the axis, and a slant groove portion extending obliquely from one end of the transverse groove portion with respect to the substantially orthogonal direction, and the cylindrical shape A second guide groove provided on the other outer peripheral wall of the member or the rotary member and extending substantially parallel to the axis, and extending in the diametrical direction on the outer peripheral surface of the nozzle member, the first and second A sliding pin inserted in the guide groove in common It proposes a blowing device of the air conditioning duct, characterized in that is al configured.
[0005]
DETAILED DESCRIPTION OF THE INVENTION
Hereinafter, preferred embodiments of the present invention will be described in detail with reference to the accompanying drawings.
First, in FIGS. 1 to 3, reference numeral 10 denotes an air conditioning duct for supplying air, for example, cold air, which is arranged and extended in the vehicle front-rear direction to a vehicle, in particular, a ceiling portion of a passenger compartment 12 of a bus. (Only a part thereof is shown in the figure), and 14 is an opening, that is, a blow-out opening, which is opened substantially above the passenger or passenger seat of the air-conditioning duct 10. Reference numeral 16 denotes a diffusing orifice having an air passage 18 which is disposed at the outlet 14 and expands from the duct 10 side toward the vehicle compartment 12 side. Reference numeral 24 denotes a nozzle member that is disposed at the outlet 14 and includes a bell mouth-shaped air passage 22 in which a passage area on the vehicle compartment 12 side is smaller than that on the duct 10 side.
[0006]
In the case of FIG. 1 in which a diffusing orifice 16 is provided at the air outlet 14 of the air conditioning duct 10, the cold air in the air conditioning duct 10 diffuses as shown by the arrows in the figure and enters the passenger compartment 12 at a low speed. Therefore, an occupant or passenger sitting in a seat provided below the air outlet 14 has a cool breeze feeling like a soft breeze. On the other hand, in the case of FIG. 2 in which the nozzle member 24 is provided at the air outlet 14, the cold air in the air conditioning duct 10 is relatively high from the bell mouth-shaped converged air passage 22 as indicated by arrows in the figure. Since it flows into the passenger compartment 12 at a speed, an occupant or passenger seated in a seat below the outlet 14 senses a cooler sensible temperature than the temperature of the cold air itself.
[0007]
Therefore, as shown in FIG. 3, the orifice 16 and the nozzle member 24 are arranged substantially coaxially at the air outlet 14 of the air conditioning duct 10, and the orifice 16 and the nozzle member 24 are arranged close to each other as shown. By doing so, a strong cool air feeling can be obtained by relatively high-speed cold air flowing through the bell mouth type air passage 22 (in the above-mentioned proximity arrangement, of course, when the nozzle member 24 is brought into contact with the orifice 16 as shown in the drawing, This includes a case where a slight gap is formed between the nozzle member 24 and the orifice 16 to such an extent that the flow of the cold air through the bell mouth passage 22 is maintained as the main flow). Further, as indicated by an upward arrow in FIG. 3, when the nozzle member 24 is separated from the orifice 16 in the axial direction, the cold air in the air conditioning duct 10 is substantially diffused through the air passage 18 of the orifice 16. Then, the vehicle flows out into the passenger compartment 12 at a low speed, and a soft cool breeze feeling like a breeze is obtained.
[0008]
Therefore, the air passage 18 of the orifice 16 and the air passage 22 of the nozzle member 24 have their respective air passage shapes and cross-sectional areas set in advance so as to have an equivalent opening area to be described later. Even if the cool air is blown out of either the orifice 16 or the nozzle member 24, the flow rate is substantially unchanged, and therefore the flow rate of the cool air as the entire air conditioning duct 10 having the plurality of air outlets 14 does not change. Individual passengers and passengers can enjoy the feeling of cool wind according to their constitutions and differences in the amount of solar radiation depending on their seating position, while preventing them from degrading their performance or adversely affecting the temperature distribution in the passenger compartment 12. Can be obtained. The equivalent opening area refers to an opening that can obtain the same air volume from the blowing member such as the orifice 16 and the nozzle member 24 having various passage shapes and cross-sectional areas under the same pressure difference between inside and outside the duct. It means an area calculated by calculation by replacing with a part. That is, since the flow loss varies depending on the passage shape of the blowing member, the equivalent opening area is usually different even if the outlet area is the same.
[0009]
A first blow-out device in which the orifice 16 having the diffusion type air passage 18 and the nozzle member 24 having the bell mouth type air passage 22 are combined and the nozzle member 24 is displaced relative to the orifice 16 in the axial direction. This embodiment is shown in FIGS.
First, in FIG. 4, reference numeral 26 denotes a bottomed cylindrical cylindrical member having an open lower end. A coaxial base 28 is disposed at the lower end of the cylindrical member 26. The cylindrical member 26 is integrally connected by a plurality of stays 30 (only two are shown in the figure). In the upper part of the cylindrical outer wall 26a of the cylindrical member 26, there are provided a plurality of upper openings 32 that form, for example, four first inlets at appropriate intervals in the circumferential direction. In the lower part of the outer peripheral wall 26a, a plurality of, for example, lower openings 34 that form two second inlets are provided at symmetrical positions in the diameter direction. Further, an outer peripheral wall 26a between the upper opening 32 and the lower opening 34 has a lateral groove portion 36a having a center line extending in a direction substantially perpendicular to the axis, and one end of the lateral groove portion 36a from the one end to the center line. There is provided a first guide groove 36 comprising a slant groove portion 36b extending downward in the oblique direction. In FIG. 4, only the first guide groove 36 on the front side is shown to prevent excessive congestion in the figure, but a pair of guide grooves 36 is also provided on the outer peripheral wall 26 a on the diametrically opposite side. Further, a flange extending inward in the radial direction is provided at the lower end of the outer peripheral wall 26 a, and the flange forms the orifice 16.
[0010]
Further, the peripheral wall 28b rising from the bottom wall 28a of the base 28 is formed in a spherical shape as shown well in FIG. 10, and a cooperating spherical surface provided in the air outlet 14 of the air conditioning duct 10 is provided. Supported by a seat 38. Accordingly, the base 28 is configured to be freely tiltable with respect to the air conditioning duct 10 within a certain angle range integrally with the cylindrical member 26. On the other hand, a circular through hole 28c is formed in the central portion of the bottom wall 28a of the base 28, and an annular gap 40 is formed between the through hole 28c and the outer peripheral wall 26a of the cylindrical member 26. Yes.
[0011]
Next, FIG. 5 shows a hollow cylindrical outer peripheral wall 42a that is inserted into the gap 40 and is coaxially and rotatably fitted to the outer peripheral wall 26a of the cylindrical member 26, and a lower end of the outer peripheral wall 42a. And a second guide groove 44 projecting from the upper end edge of the outer peripheral wall 42a in a diametrical pair and extending substantially parallel to the axis of the cylindrical member 26. The rotation member 42 provided with the protrusion 42c which has is shown. The outer peripheral wall 42 a is provided with a pair of openings 46 that cooperate with the lower opening 34 of the tubular member 26. The outer peripheral wall 42a and the protrusion 42c have a thickness slightly smaller than the radial width of the gap 40. In FIG. 5, for simplicity, the outer peripheral wall 42a and the protrusion 42c are shown by a single line neglecting the thickness. Yes.
Further, FIG. 6 has a cylindrical shape as a whole, and a nozzle member provided with a bell mouth-shaped air passage 22 having a large cross-sectional area on the air conditioning duct 10 side and a small cross-sectional area on the vehicle compartment 12 side in the central portion thereof. 24, a pair of sliding pins 48 that are aligned in the diameter direction project from the outer peripheral surface of the nozzle member 24, and the pins 48 coaxially connect the rotating member 42 to the cylindrical member 26, and The first guide groove 36 and the second guide are fitted in a state in which the nozzle member 26 is fitted inside the tubular member 26 so as to be slidable in the axial direction and assembled in three directions. It penetrates the groove 44 in common.
[0012]
The operation mode of the blowing device comprising the assembly of the cylindrical member 26, the rotating member 42 and the nozzle member 24 will be described with reference to FIGS. First, in FIG. 7 and FIG. 10, the base 28 integrated with the tubular member 26 is described, but in FIG. 8 and FIG. 9, the base 28 is not shown for simplicity.
Now, in FIG. 7, the occupant or the passenger grips the operation ring 42b at the lower end of the rotating member 42 and rotates it around the axis OO, and the sliding pin 48 of the nozzle member 24 indicated by a two-dot chain line in the figure. 2 shows a state where the first guide groove 36 is located at the connection portion between the lateral groove portion 36a and the oblique groove portion 36b and is located at the upper end portion of the second guide groove 44. In this state, the upper opening 32 of the cylindrical member 26 is blocked by the outer peripheral surface of the nozzle member 24 in the raised position or the second position as clearly shown in the right portion of the axis OO in FIG. The lower opening 34 of the cylindrical member 26 and the opening 46 of the rotating member 42 communicate with each other. As a result, the cold air in the air conditioning duct 10 flows through the opening 46 and the lower opening 34 through the diffusion air passage 18 of the orifice 16 while diffusing into the passenger compartment 12 at a moderate speed, and as described above. You can get a gentle cool breeze like a breeze.
[0013]
Next, when the operation ring 42b of the rotating member 42 is rotated clockwise around the axis OO, the second guide groove 44 provided in the protrusion 42c pushes the sliding pin 48 of the nozzle member 24 to the right. The sliding pin 48 descends along the oblique groove portion 36b of the first guide groove 36, so that the nozzle member 24 descends and abuts against the orifice 16 at the lower end of the cylindrical member 26, or a close position where a small gap exists. Displacement to the first position results in the state shown in FIG.
As a result, the first inlet or upper opening 32 of the cylindrical member 26 is opened, and the second inlet or lower opening 34 is closed by the outer peripheral surface of the nozzle member 24. The opening 46 of the rotating member 42 is also closed by the outer peripheral surface of the nozzle member 24. Accordingly, as shown in the left portion of the axis OO in FIG. 10, the cool air in the air conditioning duct 10 passes from the upper opening 32 through the bell mouth air passage 22 of the nozzle member 24 at a relatively high speed. It flows out into the chamber 12, and a higher cool wind feeling is obtained as described above. At this time, since the nozzle member 24 and the orifice 16 have an equivalent opening area, the flow rate of the cool air is substantially equal in any case regardless of the change in the cool wind feeling.
After the rotating member 42 is rotated to the state shown in FIG. 8, when the occupant or the passenger releases his / her hand from the operation ring 42 b, the sliding pin 48 is freely displaced upward along the second guide groove 44. In other words, the rotating member 42 can be lowered to the position where the sliding pin 48 abuts against the upper end of the second guide groove 44 due to its own weight. As shown, an appropriate stopper member 50 is provided on the outer peripheral wall 42 a of the rotating member 42.
[0014]
Further, when the operation ring 42b of the rotating member 42 is rotated counterclockwise around the axis OO from the state shown in FIG. 7, the sliding pin 48 of the nozzle member 24 at the raised position causes the lateral groove portion 36a of the first guide groove 36 to move. 9 is displaced to the other end (the left end in the figure). In this state, the upper opening 32 of the cylindrical member 26 is closed by the nozzle member 24 in the raised position, and the lower opening 34 of the cylindrical member 26 and the opening 46 of the rotating member 42 are separated from each other in the circumferential direction. Since it is displaced, the outflow of cold air from the air conditioning duct 10 to the passenger compartment 12 is stopped. In addition, when cooling in winter is not performed, it is preferable that the blowing devices provided in all the air outlets 14 of the air conditioning duct 10 are in the closed state of FIG.
[0015]
Next, FIGS. 11 to 12 show a second embodiment of the present invention. The difference between the second embodiment and the first embodiment is that, as shown in FIG. 12, the outer peripheral wall 42a of the rotating member 42 is not continuous in the circumferential direction but is arranged facing the diameter direction. The outer circumferential wall 42a 'is formed of two partial cylindrical walls, and a circumferential space between the outer circumferential walls 42a' forms an opening 46, and at the lower end portion of the outer circumferential wall 42a '. That is, the slit 52 is formed. Further, as shown in FIG. 11, the lower end of the cylindrical member 26 and the bottom wall 28a of the base 28 are integrally connected, and the outer peripheral wall 42a 'is inserted into the bottom wall 28a. In other words, an arcuate groove 40 ′ for externally fitting to the outer peripheral wall 26 a of the cylindrical member 26 is provided. The slit 52 provided at the lower end portion of the outer peripheral wall 42a 'has an axial height that is slightly larger than the thickness of the bottom wall 28a. The other configurations of the cylindrical member 26 and the base 28 and the configuration of the nozzle member 24 are substantially the same as those of the first embodiment, and therefore, the same reference numerals are given and detailed description thereof is omitted.
[0016]
The operation mode of the second embodiment in which the cylindrical member 26, the rotating member 42, and the nozzle member 24 are assembled is as shown in FIG. The right side portion of the axis OO shows a state in which the sliding pin 48 of the nozzle member 24 is located at a connection portion between the lateral groove portion 36a of the first guide groove 36 and the oblique groove portion 36b. Is in the raised or second position, the first inlet or upper opening 32 of the cylindrical member 26 is closed, the second inlet or lower opening 34 of the cylindrical member 26 and the opening 46 of the rotating member 42. The cold air in the air conditioning duct 10 passes through the lower opening 34 and the opening 46 at a low speed from the diffusion air passage 18 of the orifice 16 formed in the lower end inward of the cylindrical member 26 into the vehicle interior 12. Inflow, and thus a gentle cool breeze like a breeze is obtained.
[0017]
Next, when the operation ring 42b of the rotating member 42 is rotated clockwise around the axis OO, the sliding pin 48 of the nozzle member 24 descends along the oblique groove portion 36b of the first guide groove 36, and the nozzle The member 24 comes into contact with the upper surface of the orifice 16 or descends to a close position having a small gap, that is, the first position, and is in a state illustrated on the left side of the axis OO in FIG. As the nozzle member 24 descends, the upper opening 32 of the cylindrical member 26 is opened and the lower opening 34 and the opening 46 of the rotating member 42 are closed, so that the cold air in the air conditioning duct 10 passes through the bell mouth type air passage 22. It flows into the passenger compartment 12 at a relatively high speed, and a stronger cool wind feeling is obtained. In addition, since the nozzle member 24 and the orifice 16 are set to have an equivalent opening area, the flow rate of the cool air blown from the air conditioning duct 10 into the passenger compartment 12 is substantially equal to the change in the cool wind feeling. equal.
[0018]
Further, when the rotating member 42 is rotated to the right as described above, the slit 52 at the lower end of the partial cylindrical wall is sandwiched by the circumferential extension of the arc-shaped groove 40 ′. Even if it is located at the lower end of the second guide groove 44, the rotating member 42 is not displaced downward by its own weight. Although illustration is omitted, the rotating member 42 is moved to the left from the state where the sliding pin 48 is at the right end position of the lateral groove portion 36a of the first guide groove 36, that is, the state shown in the right half portion of FIG. By rotating to the same position as in the state of FIG. 9 in the first embodiment, the blowout of the cold air from the air conditioning duct 10 into the passenger compartment 12 can be stopped.
[0019]
The present invention is not limited to the first and second embodiments described above, and can be implemented with various changes and modifications within the scope of the claims. For example, the base 28 may be a simple flange and may be fixed to the air outlet 14 of the air conditioning duct 10 with screws, bolts, etc. Of course, in this case, the direction of the axial line OO of the cylindrical member 26, that is, the direction of the cold air blowing flow. Although the direction cannot be changed, the advantages or effects of the present invention can still be obtained. Further, the downward inclination direction of the oblique groove portion 36b of the first guide groove 36 may be reversed from the above-described configuration, and the rotation operation direction of the rotating member 42 may be reversed from the above-described configuration. The oblique groove portion 36b can be changed to extend upward. Further, since the displacement of the nozzle member 24 in the direction of the axis OO with respect to the orifice 16 is performed by relative rotation around the axis OO of the cylindrical member 26 and the rotating member 42, contrary to the above embodiment, The first guide groove 36 can be provided on the rotating member 42 side, and the second guide groove 44 can be provided on the cylindrical member 26 side. Furthermore, contrary to the above-described embodiment, the cylindrical member 26 with respect to the rotating member 42. It can also be changed to rotate. Further, the present invention is particularly suitable when applied to an air-conditioning duct blowing device provided near the ceiling of a passenger compartment of a bus. However, it is obvious that the present invention can be widely applied to various vehicles other than buses.
[0020]
【The invention's effect】
As described above, the air-conditioning duct blowing device according to the present invention is a cylinder that is provided coaxially and relatively rotatably in an opening provided in the air-conditioning duct for blowing out temperature-controlled air into the passenger compartment. And a rotating member, and a bell mouth type air passage that is slidably fitted in the axial direction in the cylindrical member and has a passage area on the vehicle compartment side smaller than that on the duct side. A nozzle member and an air passage which is provided at an end of the rotating member on the side of the passenger compartment and has a shape that expands from the duct side toward the passenger compartment and has an equivalent opening area to the bell mouth air passage of the nozzle member. An orifice provided; a first position adjacent to the orifice by rotating one of the cylindrical member and the rotating member relative to the other; and a second position spaced apart from the orifice toward the inside of the duct. Axis direction between A first moving inlet that is connected to the duct and the bell mouth air passage of the nozzle member when the nozzle member is in the first position, And a second inflow port for communicating the duct and the air passage having the orifice opened when the nozzle member is in the second position, and blowing out the air conditioning duct during the cooling operation of the air conditioner. The speed of the cool air flowing into the passenger compartment from the device can be switched according to the sensual preference of passengers and passengers, the difference in the amount of solar radiation, etc., so that a soft cool wind feeling or a strong cool wind feeling can be obtained. Therefore, it is possible to improve the feelings of individual passengers and passengers without causing a large change in the cooling air flow rate, and without causing a decrease in cooling capacity and a large fluctuation in the temperature distribution in the passenger compartment. There is an advantage that you can.
Further, in the present invention, the nozzle moving mechanism is provided on an outer peripheral wall of the cylindrical member or the rotating member, and extends substantially along a direction substantially orthogonal to the axis, and the substantially groove portion extends from one end of the horizontal groove portion. A first guide groove comprising a slanted groove portion extending obliquely with respect to an orthogonal direction, a second guide groove provided on the other outer peripheral wall of the cylindrical member or the rotating member and extending substantially parallel to the axis, The nozzle member is configured to include a sliding pin that extends in the diametrical direction on the outer peripheral surface of the nozzle member and is inserted into the first and second guide grooves in common. It is possible to provide a blowing device that can be easily attached to the air conditioning duct.
[Brief description of the drawings]
FIG. 1 is a conceptual cross-sectional view showing a case where an orifice having a diffusion air passage is arranged at an air outlet of an air conditioning duct.
FIG. 2 is a conceptual cross-sectional view showing a case where a nozzle member having a bellmouth air passage is disposed at an air outlet of an air conditioning duct.
FIG. 3 is a conceptual cross-sectional view showing a case where an orifice and a nozzle member are arranged at an air outlet of an air conditioning duct.
FIG. 4 is a perspective view of a cylindrical member and a base in the first embodiment of the present invention.
FIG. 5 is a perspective view of a rotating member according to the first embodiment of the present invention.
FIG. 6 is a perspective view of a nozzle member according to the first embodiment of the present invention.
FIG. 7 is a front view showing the blowing device in a state where the members shown in FIGS. 4 to 6 are assembled and the orifice is operated.
8 is a front view showing a state in which a nozzle member is acted on the blowing device shown in FIG. 7;
FIG. 9 is a front view showing when the blowing device shown in FIG. 7 is not operating;
10 is a cross-sectional view of the first embodiment showing the state shown in FIG. 7 on the right side of the axis OO and the state shown in FIG. 8 on the left side.
FIG. 11 is a perspective view of a cylindrical member and a base in a second embodiment of the present invention.
FIG. 12 is a perspective view of a rotating member according to a second embodiment of the present invention.
FIG. 13 is a cross-sectional view of the second embodiment showing when the orifice is operating on the right side of the axis OO and when the nozzle member is operating on the left side.
[Explanation of symbols]
DESCRIPTION OF SYMBOLS 10 ... Air-conditioning duct, 12 ... Car compartment, 14 ... Air outlet (blowing opening), 16 ... Orifice, 18 ... Diffusion type air passage, 22 ... Bellmouth type air passage, 24 ... Nozzle member, 26 ... Cylindrical member, 26a ... outer peripheral wall of cylindrical member, 28 ... base, 32 ... upper opening (first inlet), 34 ... lower opening (second inlet), 36 ... first guide groove, 36a ... lateral groove portion, 36b ... Oblique groove portion, 42... Rotating member, 42 a and 42 a ′, outer peripheral wall of rotating member, 44, second guide groove, 48, sliding pin.

Claims (1)

空調ダクトに設けられ調温された空気を車室内に吹出す開口部に、同軸的にかつ相対回転可能に配設された筒状部材及び回転部材と、上記筒状部材内に軸線方向に摺動自在に嵌装され、その内部にダクト側より車室側の通路面積が小さく形成されたベルマウス形の空気通路を備えたノズル部材と、上記回転部材の車室側端部に設けられ、ダクト側から車室側に向い拡開した形状を有すると共に上記ノズル部材のベルマウス形空気通路と等価開口面積を有する空気通路を備えたオリフィスと、上記筒状部材及び回転部材の何れか一方を他方に対し回転させることにより上記ノズル部材を上記オリフィスに近接した第1位置と同オリフィスからダクト内方に離隔した第2位置との間で軸線方向に変位させるノズル移動機構と、上記筒状部材の外周壁に開設され、ノズル部材が上記第1位置にあるとき上記ダクトと同ノズル部材のベルマウス形空気通路とを連通させる第1流入口、及び上記ノズル部材が第2位置にあるとき上記ダクトと上記オリフィスの拡開した空気通路とを連通させる第2流入口とを備え、
上記ノズル移動機構が、上記筒状部材又は回転部材の外周壁に設けられ、上記軸線に対し略直交する方向に沿って延びた横溝部分と同横溝部分の一端から上記略直交する方向に対し傾斜して延びた斜溝部分とからなる第1案内溝と、上記筒状部材又は回転部材の他方の外周壁に設けられ軸線に対し略平行に延びた第2案内溝と、上記ノズル部材の外周面に直径方向に延在して突設され、上記第1及び第2案内溝に共通に挿通された摺動ピンとから構成されていることを特徴とする空調ダクトの吹出装置。
A cylindrical member and a rotating member that are coaxially and relatively rotatably disposed at an opening provided in the air-conditioning duct to blow out temperature-controlled air into the vehicle interior, and slide in the axial direction within the cylindrical member. A nozzle member provided with a bell mouth-shaped air passage which is movably fitted and has a passage area on the vehicle compartment side smaller than the duct side in the interior thereof, and is provided at the vehicle compartment side end of the rotating member, An orifice having an expanded shape from the duct side toward the passenger compartment side and having an air passage having an equivalent opening area to the bell mouth air passage of the nozzle member, and any one of the tubular member and the rotating member. A nozzle moving mechanism for displacing the nozzle member in an axial direction between a first position close to the orifice and a second position spaced inward of the duct from the orifice by rotating relative to the other; and the cylindrical member Outer circumference And when the nozzle member is in the first position, the duct and the bell mouth-shaped air passage of the nozzle member communicate with each other, and when the nozzle member is in the second position, the duct and the above A second inflow port communicating with an air passage having an expanded orifice;
The nozzle moving mechanism is provided on an outer peripheral wall of the cylindrical member or the rotating member, and extends along a direction substantially orthogonal to the axis, and is inclined with respect to the substantially orthogonal direction from one end of the horizontal groove portion. And a second guide groove provided on the other outer peripheral wall of the tubular member or rotating member and extending substantially parallel to the axis, and an outer periphery of the nozzle member. A blowout device for an air conditioning duct, characterized by comprising a sliding pin extending in a diametrical direction on a surface and inserted in common into the first and second guide grooves .
JP2000040307A 2000-01-12 2000-01-12 Air-conditioning duct blower Expired - Fee Related JP3772625B2 (en)

Priority Applications (1)

Application Number Priority Date Filing Date Title
JP2000040307A JP3772625B2 (en) 2000-01-12 2000-01-12 Air-conditioning duct blower

Applications Claiming Priority (1)

Application Number Priority Date Filing Date Title
JP2000040307A JP3772625B2 (en) 2000-01-12 2000-01-12 Air-conditioning duct blower

Publications (2)

Publication Number Publication Date
JP2001191790A JP2001191790A (en) 2001-07-17
JP3772625B2 true JP3772625B2 (en) 2006-05-10

Family

ID=18563706

Family Applications (1)

Application Number Title Priority Date Filing Date
JP2000040307A Expired - Fee Related JP3772625B2 (en) 2000-01-12 2000-01-12 Air-conditioning duct blower

Country Status (1)

Country Link
JP (1) JP3772625B2 (en)

Families Citing this family (2)

* Cited by examiner, † Cited by third party
Publication number Priority date Publication date Assignee Title
JP4467053B2 (en) 2004-09-07 2010-05-26 本田技研工業株式会社 Air conditioner
CN107428221A (en) * 2015-04-02 2017-12-01 株式会社电装 Vehicle seat used air-conditioning unit

Also Published As

Publication number Publication date
JP2001191790A (en) 2001-07-17

Similar Documents

Publication Publication Date Title
US20100120347A1 (en) Air Vent Providing Diffusion
US6113483A (en) Variable mode air distribution system
JPH0680015A (en) Device for heating and ventilating passenger compartment of automobile
CN109070684B (en) Air conditioner for vehicle
JP2005170376A (en) Air distribution module of air-conditioning system for vehicle
JP6101065B2 (en) Air conditioner for vehicles
JP2005225448A (en) Air conditioner for automobile
JP6627976B2 (en) Vehicle air conditioner
JP3772625B2 (en) Air-conditioning duct blower
US12441219B2 (en) Air distribution device for a vehicle seat
JP6508410B2 (en) Vehicle air conditioning unit
JP2007203794A (en) Air conditioner for vehicles
CN113631400A (en) Vehicle ventilation assembly
JP2020069961A (en) Wind direction adjustment device
JP2002267246A (en) Air-flow direction controller
JP2017159861A (en) register
JP2009120079A (en) Vehicle seat air conditioner
WO2009069148A1 (en) Circular diffused air vent
JP5243674B2 (en) Vehicle air distribution device
JPH07172144A (en) Vehicular air conditioner
JPS5932325B2 (en) Automotive air conditioner
KR102789677B1 (en) Air conditioner for vehicle
CN217532491U (en) Vehicle air outlet structure, vice instrument desk and vehicle
KR102629327B1 (en) Air conditioner for vehicles
JP2024168935A (en) Vehicle air conditioning system

Legal Events

Date Code Title Description
A977 Report on retrieval

Free format text: JAPANESE INTERMEDIATE CODE: A971007

Effective date: 20050829

A131 Notification of reasons for refusal

Free format text: JAPANESE INTERMEDIATE CODE: A131

Effective date: 20051011

A521 Written amendment

Free format text: JAPANESE INTERMEDIATE CODE: A523

Effective date: 20051209

TRDD Decision of grant or rejection written
A01 Written decision to grant a patent or to grant a registration (utility model)

Free format text: JAPANESE INTERMEDIATE CODE: A01

Effective date: 20060124

A61 First payment of annual fees (during grant procedure)

Free format text: JAPANESE INTERMEDIATE CODE: A61

Effective date: 20060206

R150 Certificate of patent or registration of utility model

Free format text: JAPANESE INTERMEDIATE CODE: R150

S531 Written request for registration of change of domicile

Free format text: JAPANESE INTERMEDIATE CODE: R313531

R371 Transfer withdrawn

Free format text: JAPANESE INTERMEDIATE CODE: R371

S531 Written request for registration of change of domicile

Free format text: JAPANESE INTERMEDIATE CODE: R313531

R350 Written notification of registration of transfer

Free format text: JAPANESE INTERMEDIATE CODE: R350

LAPS Cancellation because of no payment of annual fees