JP2024029717A - Posture maintenance device - Google Patents

Posture maintenance device Download PDF

Info

Publication number
JP2024029717A
JP2024029717A JP2022132137A JP2022132137A JP2024029717A JP 2024029717 A JP2024029717 A JP 2024029717A JP 2022132137 A JP2022132137 A JP 2022132137A JP 2022132137 A JP2022132137 A JP 2022132137A JP 2024029717 A JP2024029717 A JP 2024029717A
Authority
JP
Japan
Prior art keywords
contact
chin
chest
shoulder
contact part
Prior art date
Legal status (The legal status is an assumption and is not a legal conclusion. Google has not performed a legal analysis and makes no representation as to the accuracy of the status listed.)
Granted
Application number
JP2022132137A
Other languages
Japanese (ja)
Other versions
JP7453497B2 (en
Inventor
洋 川平
Hiroshi Kawahira
義弘 下村
Yoshihiro Shimomura
Current Assignee (The listed assignees may be inaccurate. Google has not performed a legal analysis and makes no representation or warranty as to the accuracy of the list.)
Obligato Co Ltd
Original Assignee
Obligato Co Ltd
Priority date (The priority date is an assumption and is not a legal conclusion. Google has not performed a legal analysis and makes no representation as to the accuracy of the date listed.)
Filing date
Publication date
Application filed by Obligato Co Ltd filed Critical Obligato Co Ltd
Priority to JP2022132137A priority Critical patent/JP7453497B2/en
Publication of JP2024029717A publication Critical patent/JP2024029717A/en
Application granted granted Critical
Publication of JP7453497B2 publication Critical patent/JP7453497B2/en
Active legal-status Critical Current
Anticipated expiration legal-status Critical

Links

Images

Landscapes

  • Orthopedics, Nursing, And Contraception (AREA)

Abstract

To provide a head posture maintenance support tool which can maintain a posture of the head with a simple configuration.SOLUTION: A head posture maintenance support tool 10 comprises: a jaw contact part 12 which may be in contact with a jaw; a left shoulder contact part 14a which may be in contact with a left shoulder; a right shoulder contact part 14b which may be in contact with a right shoulder; a left chest contact part 16a which may be in contact with a left chest; a right chest contact part 16b which may be in contact with a right chest; a first connection part 20 which connects the left chest contact part 16a with the left shoulder contact part 14a; a second connection part 22 which connects the right chest contact part 16b with the right shoulder contact part 14b; a third connection part 24 which connects the left chest contact part 16a with the jaw contact part 12; and a fourth connection part 26 which connects the right chest contact part 16b with the jaw contact part 12.SELECTED DRAWING: Figure 1

Description

本発明は、頭部の姿勢維持のための頭部姿勢維持支援具に関する。 The present invention relates to a head posture maintenance support device for maintaining head posture.

身体の一部の姿勢を維持する姿勢維持補助具が提案されている(特許文献1)。 A posture maintenance aid that maintains the posture of a part of the body has been proposed (Patent Document 1).

特開2005-237811号公報Japanese Patent Application Publication No. 2005-237811

本発明の目的は、簡易な構成で頭部の姿勢を維持することができる頭部姿勢維持支援具を提供することにある。 An object of the present invention is to provide a head posture maintenance support device that can maintain the head posture with a simple configuration.

本願発明者らは、手術の際に外科医は、頭部を動かさずに同じ姿勢で長時間にわたり手術対象部位や手術対象者の状況を示すモニターを見続けなければならないことが多くあり、その際に、首に負担がかかることから首を痛めることがよくあり、特に外科医にとって非常に悩ましい問題であることを確認した。 The inventors of the present application discovered that during surgery, surgeons often have to keep their heads in the same position for long periods of time while looking at a monitor that shows the surgical site and the status of the surgical patient. It was confirmed that neck pain is common due to the strain placed on the neck, which is a very troubling problem for surgeons in particular.

本願発明者らは、その問題をいかに簡易なデバイスで解決することができるかを考え、本発明に至った。 The inventors of the present application considered how this problem could be solved with a simple device, and arrived at the present invention.

本発明の頭部姿勢維持支援具は、
顎と当接され得る顎当接部と、
左肩と当接され得る左肩当接部と、
右肩と当接され得る右肩当接部と、
左胸と当接され得る左胸当接部と、
右胸と当接され得る右胸当接部と、を含むことができる。
The head posture maintenance support device of the present invention includes:
a chin abutment part that can be brought into contact with the chin;
a left shoulder contact portion that can come into contact with the left shoulder;
a right shoulder contact portion that can come into contact with the right shoulder;
a left chest contact portion that can be brought into contact with the left chest;
A right chest contact part that can be brought into contact with the right chest.

本発明において、
前記左胸当接部と前記左肩当接部とを接続する第1の接続部と、
前記右胸当接部と前記右肩当接部とを接続する第2の接続部と、
前記左胸当接部と前記顎当接部とを接続する第3の接続部と、
前記右胸当接部と前記顎当接部とを接続する第4の接続部とを含むことができる。
In the present invention,
a first connection part that connects the left chest contact part and the left shoulder contact part;
a second connection part that connects the right chest contact part and the right shoulder contact part;
a third connection part that connects the left chest contact part and the chin contact part;
The device may further include a fourth connection portion connecting the right chest contact portion and the chin contact portion.

本発明の頭部姿勢維持支援具は、
顎と当接され得る顎当接部と、
左肩と当接され得る左肩当接部と、
右肩と当接され得る右肩当接部と、
左胸と当接され得る左胸当接部と、
右胸と当接され得る右胸当接部と、
前記左胸当接部と前記左肩当接部とを接続する第1の接続部と、
前記右胸当接部と前記右肩当接部とを接続する第2の接続部と、を含み、
前記左胸当接部と前記右胸当接部とは同一の接続部により前記顎当接部に接続されていることができる。
The head posture maintenance support device of the present invention includes:
a chin abutment part that can be brought into contact with the chin;
a left shoulder contact portion that can come into contact with the left shoulder;
a right shoulder contact portion that can come into contact with the right shoulder;
a left chest contact portion that can be brought into contact with the left chest;
a right chest contact part that can be brought into contact with the right chest;
a first connection part that connects the left chest contact part and the left shoulder contact part;
a second connection part that connects the right chest contact part and the right shoulder contact part,
The left chest contact part and the right chest contact part may be connected to the chin contact part by the same connection part.

本発明において、
顎を前記顎当接部に置いたときに、首を左右に回すことができるように前記顎当接部が頭部姿勢維持支援具に対して回転または回動可能に設けられていることができる。
In the present invention,
The chin abutment part may be rotatably or rotatably provided with respect to the head posture maintenance support device so that the neck can be rotated from side to side when the chin is placed on the chin abutment part. can.

本発明において、
顎を前記顎当接部に置いたときに、首を前後に動かすことができるように前記顎当接部が前記頭部姿勢維持装置に対して回転または回動可能に設けられていることができる。
In the present invention,
The chin abutment part may be rotatably or rotatably provided with respect to the head posture maintaining device so that the neck can be moved back and forth when the chin is placed on the chin abutment part. can.

本発明によれば、作業をしながらでも頭部の姿勢を維持しやすい。 According to the present invention, it is easy to maintain the posture of the head even while working.

実施の形態に係る頭部姿勢維持支援具を模式的に示す図である。FIG. 1 is a diagram schematically showing a head posture maintenance support device according to an embodiment. 実施の形態に係る頭部姿勢維持支援具を模式的に示す図である。FIG. 1 is a diagram schematically showing a head posture maintenance support device according to an embodiment. 実施の形態に係る頭部姿勢維持支援具を模式的に示す図である。FIG. 1 is a diagram schematically showing a head posture maintenance support device according to an embodiment. 実施の形態に係る頭部姿勢維持支援具を示す写真である。1 is a photograph showing a head posture maintenance support device according to an embodiment. 実施の形態に係る顎当接部の一態様を模式的に示す図である。FIG. 3 is a diagram schematically showing one aspect of the chin abutment part according to the embodiment. 実施の形態に係る変形例を模式的に示す図である。It is a figure which shows typically the modification based on embodiment. 実施の形態に係る変形例を模式的に示す図である。It is a figure which shows typically the modification based on embodiment.

以下、本発明の実施の形態について図面を参照しながら説明する。 Embodiments of the present invention will be described below with reference to the drawings.

1.頭部姿勢維持支援具
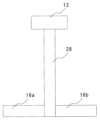
図1~図4に示すように、実施の形態に係る頭部姿勢維持支援具10は、顎と当接され得る顎当接部12と、左肩と当接され得る左肩当接部14aと、右肩と当接され得る右肩当接部14bと、左胸と当接され得る左胸当接部16aと、右胸と当接され得る右胸当接部16bと、を含む。
1. Head Posture Maintenance Support Device As shown in FIGS. 1 to 4, the head posture maintenance support device 10 according to the embodiment includes a chin contact portion 12 that can be brought into contact with the chin, and a left shoulder that can be brought into contact with the left shoulder. A contact part 14a, a right shoulder contact part 14b that can be brought into contact with the right shoulder, a left chest contact part 16a that can be brought into contact with the left chest, and a right chest contact part 16b that can be brought into contact with the right chest. including.

頭部姿勢維持支援具10は、左胸当接部16aと左肩当接部14aとを接続する第1の接続部20と、右胸当接部16bと右肩当接部14bとを接続する第2の接続部22と、左胸当接部16aと顎当接部12とを接続する第3の接続部24と、右胸当接部16bと顎当接部12とを接続する第4の接続部26とを含むことができる。 The head posture maintenance support device 10 includes a first connecting portion 20 that connects the left chest abutting portion 16a and the left shoulder abutting portion 14a, and a first connecting portion 20 that connects the right chest abutting portion 16b and the right shoulder abutting portion 14b. a third connecting portion 24 that connects the left chest abutting portion 16a and the chin abutting portion 12, and a fourth connecting portion 24 that connects the right chest abutting portion 16b and the chin abutting portion 12. A connecting portion 26 may be included.

顎当接部12、左肩当接部14a、右肩当接部14b、左胸当接部16aおよび右胸当接部16bには、身体への負担を軽減するために、身体に当たる箇所に衝撃吸収部材が設けられていることができる。顎当接部12、左肩当接部14a、右肩当接部14b、左胸当接部16aおよび右胸当接部16bは、当接する身体の部位に沿ったかたちのものであることが好ましい。 The chin contact part 12, the left shoulder contact part 14a, the right shoulder contact part 14b, the left chest contact part 16a, and the right chest contact part 16b have shock absorbing parts that contact the body to reduce the burden on the body. A member may be provided. It is preferable that the chin contact part 12, the left shoulder contact part 14a, the right shoulder contact part 14b, the left chest contact part 16a, and the right chest contact part 16b have a shape that conforms to the part of the body that they contact.

第1の接続部20、第2の接続部22、第3の接続部24および第4の接続部26は、それぞれの接続機能を実現するものであれば特に限定されない。 The first connection part 20, the second connection part 22, the third connection part 24, and the fourth connection part 26 are not particularly limited as long as they realize the respective connection functions.

左肩当接部14a、右肩当接部14b、左胸当接部16a、右胸当接部16b、第1の接続部20、第2の接続部22、第3の接続部24および第4の接続部26は、パイプにより構成することができる。隣り合うパイプの径を変えて、隣り合うパイプを嵌め合せて構成することができる。パイプは、重量との関係から、たとえばプラスチック製のものが好適である。 Left shoulder contact portion 14a, right shoulder contact portion 14b, left chest contact portion 16a, right chest contact portion 16b, first connection portion 20, second connection portion 22, third connection portion 24, and fourth The connecting portion 26 can be configured by a pipe. It can be constructed by changing the diameters of adjacent pipes and fitting the adjacent pipes together. In view of weight, the pipe is preferably made of plastic, for example.

顎当接部12、左肩当接部14a、右肩当接部14b、左胸当接部16a、右胸当接部16b、第1の接続部20、第2の接続部22、第3の接続部24および第4の接続部26は、それぞれ、隣接する機能部と一体的に設けることができる。 Chin contact part 12, left shoulder contact part 14a, right shoulder contact part 14b, left chest contact part 16a, right chest contact part 16b, first connection part 20, second connection part 22, third connection The portion 24 and the fourth connecting portion 26 can each be provided integrally with an adjacent functional portion.

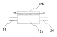
顎当接部12を頭部の左右方向、または、頭部の前後方向に回転または回動させるようにしてもよい。これにより、顎が顎当接部12に置かれた場合にて、首が回るように回転または回動させることができ、横を向いたり首を振ることができるように顎当接部12を構成してもよい。具体的には、顎を顎当接部12に置いたときに、首を左右に回すことができるように顎当接部12が頭部姿勢維持支援具10に対して回転または回動可能に設けることができる。また、顎を顎当接部12に置いたときに、首を前後に動かすことができるように顎当接部12が頭部姿勢維持装置に対して回転または回動可能に設けることができる。顎当接部12は、図5に示すように、基体12aと基体12aに対して回転または回動可能に設けられた顎載置部12bにより構成することができる。基体12aは、第3の接続部24および第4の接続部26に対して回転または回動可能に設けることができる。基体12aに第3の接続部24および第2の接続部26が接続されすることができる。 The chin contact part 12 may be rotated or rotated in the left-right direction of the head or in the front-back direction of the head. As a result, when the chin is placed on the chin abutment part 12, the chin can be rotated or pivoted so that the neck can turn, and the chin abutment part 12 can be turned to the side or shaken. may be configured. Specifically, when the chin is placed on the chin abutting part 12, the chin abutting part 12 is rotatable or rotatable relative to the head posture maintenance support device 10 so that the neck can be rotated from side to side. can be provided. Moreover, the chin abutting part 12 can be provided to be rotatable or rotatable relative to the head posture maintaining device so that the neck can be moved back and forth when the chin is placed on the chin abutting part 12. As shown in FIG. 5, the chin abutting part 12 can be composed of a base body 12a and a chin rest part 12b that is rotatably or rotatably provided with respect to the base body 12a. The base body 12a can be provided to be rotatable or rotatable relative to the third connection part 24 and the fourth connection part 26. A third connecting portion 24 and a second connecting portion 26 can be connected to the base body 12a.

顎当接部12は、顎と当接する面を顎に沿った形状にする他に、顎の大きさよりも大きくして、顎を動かしやすい構成とし、いろいろな姿勢に対応し得るような面形状とすることができる。顎と当接する面を顎の大きさよりも大きくしたときには、顎当接部12が頭部姿勢維持具12に対して相対的に動かないように設定したときに特に効果的である。 The chin abutting part 12 has a surface that comes into contact with the chin in a shape that follows the chin, and also has a surface shape that is larger than the size of the chin so that it is easy to move the chin, and can accommodate various postures. It can be done. When the surface that contacts the jaw is made larger than the size of the jaw, it is particularly effective when the jaw contact part 12 is set so as not to move relative to the head posture maintaining device 12.

2.作用効果
本願発明者らは、手術の際に外科医は、頭部を動かさずに同じ姿勢で長時間にわたり手術対象部位や手術対象者の状況を示すモニターを見続けなければならないことが多くあり、その際に、首に負担がかかることから首を痛めることがよくあり、特に外科医にとって非常に悩ましい問題であることを確認した。具体的には、手術中は患者や器材の関係でモニターを正面視できないことが多々ある。そのため、「モニターを正面しできず、頸部に無理のかかる横向きで頭位を固定するような姿勢」をとることが頸部に負担をかけ、肩こりや頸部痛の原因になっている。
2. Effects The inventors of the present application have discovered that during surgery, surgeons often have to keep their heads in the same position for a long time while looking at a monitor that shows the surgical site and the status of the surgical patient. At that time, it was confirmed that neck pain is common due to the strain placed on the neck, which is a particularly troubling problem for surgeons. Specifically, during surgery, it is often impossible to look directly at the monitor due to the patient and equipment. For this reason, ``a posture in which the monitor cannot be faced directly and the head is fixed in a sideways position that puts strain on the neck'' puts strain on the neck, causing stiff shoulders and neck pain.

本願発明者らは、その問題をいかに簡易なデバイスで解決することができるかを考え、本実施の形態に至った。 The inventors of the present application considered how this problem could be solved with a simple device, and arrived at the present embodiment.

顎を顎当接部12に載せることで、顎当接部12に下方向への力が作用し、その下方向への力を受けて左胸当接部16aおよび右胸当接部16bが胸部を押圧し、かつ、左肩当接部14aおよび右肩当接部14bが肩を押圧して、顎当接部12の位置が固定され、顎当接部12に顎が当接した頭部がその姿勢を維持することができる。 By placing the chin on the chin abutment part 12, a downward force acts on the chin abutment part 12, and the left chest abutment part 16a and the right chest abutment part 16b receive the downward force. The chest is pressed, and the left shoulder contact part 14a and the right shoulder contact part 14b press the shoulder, and the position of the chin contact part 12 is fixed, and the head with the chin in contact with the chin contact part 12 is fixed. You can maintain that posture.

本実施の形態に係る頭部姿勢維持支援具によれば、作業をしながらでも頭部の姿勢を維持することができる。 According to the head posture maintenance support device according to the present embodiment, the head posture can be maintained even while working.

3.変形例
なお、図6に示すように、左胸当接部16aと右胸当接部16bとは同一の接続部28により顎当接部12に接続されていてもよい。図7に示すように、接続部28が左胸当接部16aおよび右胸当接部16bに接続するために分岐していてもよい。顎当接部12を接続部28との連結手段により360度方向の前後および左右に回転または回動させてもよい。連結手段としては、たとえばユニバーサルジョイントやボールジョイントを適用することができる。
3. Modifications Note that, as shown in FIG. 6, the left chest contact portion 16a and the right chest contact portion 16b may be connected to the chin contact portion 12 by the same connection portion 28. As shown in FIG. 7, the connecting portion 28 may be branched to connect to the left chest contact portion 16a and the right chest contact portion 16b. The chin abutment part 12 may be rotated or pivoted back and forth in a 360 degree direction and left and right by means of connection with the connecting part 28. As the connecting means, for example, a universal joint or a ball joint can be used.

実施の形態に係る頭部姿勢維持支援具10は、人のみでなく、動物においても適用可能である。実施の形態に係る頭部姿勢維持支援具10は、医師の他に、介護を必要とする者、工場の目視検査者、VDT(Visual Display Terminals)作業者を含むコンピュータ作業者などにも好適である。 The head posture maintenance support device 10 according to the embodiment is applicable not only to humans but also to animals. The head posture maintenance support device 10 according to the embodiment is suitable not only for doctors but also for people who require nursing care, visual inspectors in factories, computer workers including VDT (Visual Display Terminals) workers, etc. be.

本実施の形態は、本発明の範囲内において種々の変形が可能である。 This embodiment can be modified in various ways within the scope of the present invention.

10 頭部姿勢維持支援具
12 顎当接部
12a 基体
12b 顎載置部
14a 左肩当接部
14b 右肩当接部
16a 左胸当接部
16b 右胸当接部
20 第1の接続部
22 第2の接続部
24 第3の接続部
26 第4の接続部
28 接続部

10 Head posture maintenance support device 12 Chin contact part 12a Base body 12b Chin rest part 14a Left shoulder contact part 14b Right shoulder contact part 16a Left chest contact part 16b Right chest contact part 20 First connection part 22 Second Connection part 24 Third connection part 26 Fourth connection part 28 Connection part

Claims (5)

顎と当接され得る顎当接部と、
左肩と当接され得る左肩当接部と、
右肩と当接され得る右肩当接部と、
左胸と当接され得る左胸当接部と、
右胸と当接され得る右胸当接部と、を含む頭部姿勢維持支援具。
a chin abutment part that can be brought into contact with the chin;
a left shoulder contact portion that can come into contact with the left shoulder;
a right shoulder contact portion that can come into contact with the right shoulder;
a left chest contact portion that can be brought into contact with the left chest;
A head posture maintenance support device including: a right chest contact portion that can be brought into contact with the right chest;
請求項1において、
前記左胸当接部と前記左肩当接部とを接続する第1の接続部と、
前記右胸当接部と前記右肩当接部とを接続する第2の接続部と、
前記左胸当接部と前記顎当接部とを接続する第3の接続部と、
前記右胸当接部と前記顎当接部とを接続する第4の接続部とを含む、頭部姿勢維持支援具。
In claim 1,
a first connection part that connects the left chest contact part and the left shoulder contact part;
a second connection part that connects the right chest contact part and the right shoulder contact part;
a third connection part that connects the left chest contact part and the chin contact part;
A head posture maintenance support device including a fourth connecting portion connecting the right chest contact portion and the chin contact portion.
顎と当接され得る顎当接部と、
左肩と当接され得る左肩当接部と、
右肩と当接され得る右肩当接部と、
左胸と当接され得る左胸当接部と、
右胸と当接され得る右胸当接部と、
前記左胸当接部と前記左肩当接部とを接続する第1の接続部と、
前記右胸当接部と前記右肩当接部とを接続する第2の接続部と、を含み、
前記左胸当接部と前記右胸当接部とは同一の接続部により前記顎当接部に接続されている頭部姿勢維持支援具。
a chin abutment part that can be brought into contact with the chin;
a left shoulder contact portion that can come into contact with the left shoulder;
a right shoulder contact portion that can come into contact with the right shoulder;
a left chest contact portion that can be brought into contact with the left chest;
a right chest contact part that can be brought into contact with the right chest;
a first connection part that connects the left chest contact part and the left shoulder contact part;
a second connection part that connects the right chest contact part and the right shoulder contact part,
In the head posture maintenance support device, the left chest contact portion and the right chest contact portion are connected to the chin contact portion through the same connection portion.
請求項1~3のいずれかにおいて
顎を前記顎当接部に置いたときに、首を左右に回すことができるように前記顎当接部が頭部姿勢維持支援具に対して回転または回動可能に設けられている頭部姿勢維持支援具。
In any one of claims 1 to 3, the chin abutment part rotates or rotates with respect to the head posture maintenance support device so that when the chin is placed on the chin abutment part, the neck can be rotated from side to side. A movable head posture maintenance support device.
請求項1~3のいずれかにおいて、
顎を前記顎当接部に置いたときに、首を前後に動かすことができるように前記顎当接部が前記頭部姿勢維持装置に対して回転または回動可能に設けられている頭部姿勢維持支援具。


In any one of claims 1 to 3,
A head in which the chin abutment part is rotatably or rotatably provided with respect to the head posture maintaining device so that the neck can be moved back and forth when the chin is placed on the chin abutment part. Posture maintenance support device.


JP2022132137A 2022-08-22 2022-08-22 Posture maintenance device Active JP7453497B2 (en)

Priority Applications (1)

Application Number Priority Date Filing Date Title
JP2022132137A JP7453497B2 (en) 2022-08-22 2022-08-22 Posture maintenance device

Applications Claiming Priority (1)

Application Number Priority Date Filing Date Title
JP2022132137A JP7453497B2 (en) 2022-08-22 2022-08-22 Posture maintenance device

Publications (2)

Publication Number Publication Date
JP2024029717A true JP2024029717A (en) 2024-03-06
JP7453497B2 JP7453497B2 (en) 2024-03-21

Family

ID=90104962

Family Applications (1)

Application Number Title Priority Date Filing Date
JP2022132137A Active JP7453497B2 (en) 2022-08-22 2022-08-22 Posture maintenance device

Country Status (1)

Country Link
JP (1) JP7453497B2 (en)

Family Cites Families (6)

* Cited by examiner, † Cited by third party
Publication number Priority date Publication date Assignee Title
CN201775702U (en) 2010-09-09 2011-03-30 筴彦雷 Neck fixing and traction device
JP2012235993A (en) 2011-05-11 2012-12-06 Rakuhoku Gishi:Kk Cervical orthosis
JP3194595U (en) 2014-06-13 2014-12-04 合同会社うさぎ Head holder
CN105342742A (en) 2015-12-08 2016-02-24 浙江广播电视大学 Folding head support frame
CN111228016B (en) 2019-12-23 2025-05-16 安徽医科大学第一附属医院 A posture health care device for office and study
JP7034563B2 (en) 2020-02-12 2022-03-14 陶山 佳世 Abdominal pressure vocal training equipment

Also Published As

Publication number Publication date
JP7453497B2 (en) 2024-03-21

Similar Documents

Publication Publication Date Title
JP7765574B2 (en) exercise aid device
US20190201273A1 (en) Robotic upper limb rehabilitation device
Pacifico et al. An experimental evaluation of the proto-mate: a novel ergonomic upper-limb exoskeleton to reduce workers' physical strain
CN105979919B (en) Non-exoskeleton rehabilitation equipment with multiple active axes
WO2018093448A2 (en) Robotic upper limb rehabilitation device
CN107028662B (en) Remote operation device and remote operation system
WO2017167349A1 (en) Spherical joint mechanism with a double parallelogram mechanism
Rossini et al. Design and evaluation of a passive cable-driven occupational shoulder exoskeleton
KR101471385B1 (en) Wearable robot for arms
Kooren et al. Design and pilot validation of A-gear: a novel wearable dynamic arm support
US10925798B2 (en) Movable apparatus, movable sheet, and method of manufacturing movable apparatus
JP6894497B2 (en) Patient support and patient positioning system
US11259981B2 (en) Exoskeleton for lower-limbs
US12377009B2 (en) Exoskeleton for upper arm
US6526331B2 (en) Robot arm
Zhang et al. A spring-loaded compliant neck brace with adjustable supports
US20100279249A1 (en) Dental oral mirror
TW202208130A (en) Exoskeleton load handling device
Buckingham Robotics in surgery
WO2005025709A1 (en) Paper doll
JP7453497B2 (en) Posture maintenance device
Demaree et al. A structurally enhanced neck exoskeleton to assist with head-neck motion
KR102325979B1 (en) Mask type turtle neck posture corrector
KR102721936B1 (en) Femoral support module of muscle suppoert robot
Cordella et al. A biofeedback-based posture correction system for working environments

Legal Events

Date Code Title Description
A621 Written request for application examination

Free format text: JAPANESE INTERMEDIATE CODE: A621

Effective date: 20230827

A521 Request for written amendment filed

Free format text: JAPANESE INTERMEDIATE CODE: A523

Effective date: 20231108

A871 Explanation of circumstances concerning accelerated examination

Free format text: JAPANESE INTERMEDIATE CODE: A871

Effective date: 20231108

A131 Notification of reasons for refusal

Free format text: JAPANESE INTERMEDIATE CODE: A131

Effective date: 20231208

A521 Request for written amendment filed

Free format text: JAPANESE INTERMEDIATE CODE: A523

Effective date: 20240122

TRDD Decision of grant or rejection written
A01 Written decision to grant a patent or to grant a registration (utility model)

Free format text: JAPANESE INTERMEDIATE CODE: A01

Effective date: 20240130

A61 First payment of annual fees (during grant procedure)

Free format text: JAPANESE INTERMEDIATE CODE: A61

Effective date: 20240217

R150 Certificate of patent or registration of utility model

Ref document number: 7453497

Country of ref document: JP

Free format text: JAPANESE INTERMEDIATE CODE: R150

S111 Request for change of ownership or part of ownership

Free format text: JAPANESE INTERMEDIATE CODE: R313113

R350 Written notification of registration of transfer

Free format text: JAPANESE INTERMEDIATE CODE: R350