JP2022064555A - 遊技機 - Google Patents
遊技機 Download PDFInfo
- Publication number
- JP2022064555A JP2022064555A JP2020173263A JP2020173263A JP2022064555A JP 2022064555 A JP2022064555 A JP 2022064555A JP 2020173263 A JP2020173263 A JP 2020173263A JP 2020173263 A JP2020173263 A JP 2020173263A JP 2022064555 A JP2022064555 A JP 2022064555A
- Authority
- JP
- Japan
- Prior art keywords
- unit
- shows
- view
- effect
- game
- Prior art date
- Legal status (The legal status is an assumption and is not a legal conclusion. Google has not performed a legal analysis and makes no representation as to the accuracy of the status listed.)
- Pending
Links
- 230000000694 effects Effects 0.000 claims description 553
- 230000008859 change Effects 0.000 claims description 277
- 230000007423 decrease Effects 0.000 abstract description 23
- 238000000034 method Methods 0.000 description 1041
- 230000008569 process Effects 0.000 description 947
- 238000004364 calculation method Methods 0.000 description 844
- 230000002093 peripheral effect Effects 0.000 description 440
- 238000012545 processing Methods 0.000 description 391
- 238000003860 storage Methods 0.000 description 288
- 230000005856 abnormality Effects 0.000 description 285
- 239000000872 buffer Substances 0.000 description 255
- 230000006870 function Effects 0.000 description 186
- 238000001514 detection method Methods 0.000 description 157
- 238000004519 manufacturing process Methods 0.000 description 127
- 230000002159 abnormal effect Effects 0.000 description 113
- 230000005540 biological transmission Effects 0.000 description 92
- 238000010586 diagram Methods 0.000 description 89
- 230000001186 cumulative effect Effects 0.000 description 83
- 238000007689 inspection Methods 0.000 description 67
- 238000012790 confirmation Methods 0.000 description 59
- 238000004891 communication Methods 0.000 description 56
- 230000015654 memory Effects 0.000 description 51
- 230000004048 modification Effects 0.000 description 45
- 238000012986 modification Methods 0.000 description 45
- 230000002829 reductive effect Effects 0.000 description 43
- 230000000875 corresponding effect Effects 0.000 description 41
- 238000012360 testing method Methods 0.000 description 38
- 230000004397 blinking Effects 0.000 description 36
- FFBHFFJDDLITSX-UHFFFAOYSA-N benzyl N-[2-hydroxy-4-(3-oxomorpholin-4-yl)phenyl]carbamate Chemical compound OC1=C(NC(=O)OCC2=CC=CC=C2)C=CC(=C1)N1CCOCC1=O FFBHFFJDDLITSX-UHFFFAOYSA-N 0.000 description 32
- 230000009467 reduction Effects 0.000 description 31
- 238000006722 reduction reaction Methods 0.000 description 31
- 238000005034 decoration Methods 0.000 description 30
- 238000010304 firing Methods 0.000 description 26
- 238000009826 distribution Methods 0.000 description 24
- 230000000630 rising effect Effects 0.000 description 21
- 239000000758 substrate Substances 0.000 description 21
- 238000012423 maintenance Methods 0.000 description 20
- 230000001276 controlling effect Effects 0.000 description 18
- 239000010410 layer Substances 0.000 description 18
- 230000007704 transition Effects 0.000 description 18
- 230000007246 mechanism Effects 0.000 description 17
- 238000013461 design Methods 0.000 description 16
- 230000001965 increasing effect Effects 0.000 description 15
- 238000012544 monitoring process Methods 0.000 description 14
- 238000007726 management method Methods 0.000 description 13
- 238000003825 pressing Methods 0.000 description 13
- 239000000203 mixture Substances 0.000 description 12
- 210000000282 nail Anatomy 0.000 description 11
- 230000003028 elevating effect Effects 0.000 description 10
- 230000001976 improved effect Effects 0.000 description 10
- 239000002243 precursor Substances 0.000 description 10
- 239000003990 capacitor Substances 0.000 description 9
- 210000003128 head Anatomy 0.000 description 9
- 239000004973 liquid crystal related substance Substances 0.000 description 9
- 230000001360 synchronised effect Effects 0.000 description 9
- 238000012546 transfer Methods 0.000 description 9
- 241000670727 Amida Species 0.000 description 8
- 238000004458 analytical method Methods 0.000 description 8
- 230000006872 improvement Effects 0.000 description 8
- 241000722921 Tulipa gesneriana Species 0.000 description 7
- 238000001994 activation Methods 0.000 description 7
- 230000003247 decreasing effect Effects 0.000 description 7
- 238000006243 chemical reaction Methods 0.000 description 6
- 239000000284 extract Substances 0.000 description 6
- 230000033001 locomotion Effects 0.000 description 6
- 230000004913 activation Effects 0.000 description 5
- 238000007599 discharging Methods 0.000 description 5
- 238000003780 insertion Methods 0.000 description 5
- 230000037431 insertion Effects 0.000 description 5
- 230000007774 longterm Effects 0.000 description 5
- 230000005389 magnetism Effects 0.000 description 5
- 230000007257 malfunction Effects 0.000 description 5
- 229910052751 metal Inorganic materials 0.000 description 5
- 239000002184 metal Substances 0.000 description 5
- 230000002265 prevention Effects 0.000 description 5
- 230000005855 radiation Effects 0.000 description 5
- 229920005989 resin Polymers 0.000 description 5
- 239000011347 resin Substances 0.000 description 5
- 230000000717 retained effect Effects 0.000 description 5
- 208000001613 Gambling Diseases 0.000 description 4
- 235000008331 Pinus X rigitaeda Nutrition 0.000 description 4
- 235000011613 Pinus brutia Nutrition 0.000 description 4
- 241000018646 Pinus brutia Species 0.000 description 4
- 238000012937 correction Methods 0.000 description 4
- 238000013480 data collection Methods 0.000 description 4
- 230000003111 delayed effect Effects 0.000 description 4
- 238000005259 measurement Methods 0.000 description 4
- 230000000149 penetrating effect Effects 0.000 description 4
- 238000011084 recovery Methods 0.000 description 4
- 238000005096 rolling process Methods 0.000 description 4
- 230000001960 triggered effect Effects 0.000 description 4
- 230000008901 benefit Effects 0.000 description 3
- 238000009795 derivation Methods 0.000 description 3
- 210000003811 finger Anatomy 0.000 description 3
- 230000007935 neutral effect Effects 0.000 description 3
- 238000002360 preparation method Methods 0.000 description 3
- 238000007789 sealing Methods 0.000 description 3
- 230000009466 transformation Effects 0.000 description 3
- 206010012374 Depressed mood Diseases 0.000 description 2
- 230000003213 activating effect Effects 0.000 description 2
- 230000001174 ascending effect Effects 0.000 description 2
- PZTQVMXMKVTIRC-UHFFFAOYSA-L chembl2028348 Chemical compound [Ca+2].[O-]S(=O)(=O)C1=CC(C)=CC=C1N=NC1=C(O)C(C([O-])=O)=CC2=CC=CC=C12 PZTQVMXMKVTIRC-UHFFFAOYSA-L 0.000 description 2
- 239000003086 colorant Substances 0.000 description 2
- 239000000470 constituent Substances 0.000 description 2
- 230000007547 defect Effects 0.000 description 2
- 238000012217 deletion Methods 0.000 description 2
- 230000037430 deletion Effects 0.000 description 2
- 238000011161 development Methods 0.000 description 2
- 230000018109 developmental process Effects 0.000 description 2
- 239000011521 glass Substances 0.000 description 2
- 238000009434 installation Methods 0.000 description 2
- 230000010355 oscillation Effects 0.000 description 2
- 230000036961 partial effect Effects 0.000 description 2
- 239000000047 product Substances 0.000 description 2
- 230000001629 suppression Effects 0.000 description 2
- 238000011144 upstream manufacturing Methods 0.000 description 2
- BDEDPKFUFGCVCJ-UHFFFAOYSA-N 3,6-dihydroxy-8,8-dimethyl-1-oxo-3,4,7,9-tetrahydrocyclopenta[h]isochromene-5-carbaldehyde Chemical compound O=C1OC(O)CC(C(C=O)=C2O)=C1C1=C2CC(C)(C)C1 BDEDPKFUFGCVCJ-UHFFFAOYSA-N 0.000 description 1
- ZHVOBYWXERUHMN-KVJKMEBSSA-N 3-[(3s,5r,8r,9s,10s,13s,14s,17s)-10,13-dimethyl-3-[(2r,3r,4s,5s,6r)-3,4,5-trihydroxy-6-(hydroxymethyl)oxan-2-yl]oxy-2,3,4,5,6,7,8,9,11,12,14,15,16,17-tetradecahydro-1h-cyclopenta[a]phenanthren-17-yl]-2h-furan-5-one Chemical compound O([C@@H]1C[C@H]2CC[C@@H]3[C@@H]([C@]2(CC1)C)CC[C@]1([C@H]3CC[C@@H]1C=1COC(=O)C=1)C)[C@@H]1O[C@H](CO)[C@@H](O)[C@H](O)[C@H]1O ZHVOBYWXERUHMN-KVJKMEBSSA-N 0.000 description 1
- 238000012935 Averaging Methods 0.000 description 1
- 238000006711 Chan reduction reaction Methods 0.000 description 1
- RYGMFSIKBFXOCR-UHFFFAOYSA-N Copper Chemical compound [Cu] RYGMFSIKBFXOCR-UHFFFAOYSA-N 0.000 description 1
- 101000746134 Homo sapiens DNA endonuclease RBBP8 Proteins 0.000 description 1
- 101000969031 Homo sapiens Nuclear protein 1 Proteins 0.000 description 1
- HBBGRARXTFLTSG-UHFFFAOYSA-N Lithium ion Chemical compound [Li+] HBBGRARXTFLTSG-UHFFFAOYSA-N 0.000 description 1
- 208000035450 Malformed Nails Diseases 0.000 description 1
- 208000002693 Multiple Abnormalities Diseases 0.000 description 1
- 101100205847 Mus musculus Srst gene Proteins 0.000 description 1
- 102100021133 Nuclear protein 1 Human genes 0.000 description 1
- 244000208734 Pisonia aculeata Species 0.000 description 1
- 230000009471 action Effects 0.000 description 1
- 230000002730 additional effect Effects 0.000 description 1
- 238000013459 approach Methods 0.000 description 1
- 230000006399 behavior Effects 0.000 description 1
- 244000145845 chattering Species 0.000 description 1
- 235000019504 cigarettes Nutrition 0.000 description 1
- 238000010924 continuous production Methods 0.000 description 1
- 239000011889 copper foil Substances 0.000 description 1
- 238000005520 cutting process Methods 0.000 description 1
- 230000006378 damage Effects 0.000 description 1
- 238000013523 data management Methods 0.000 description 1
- 230000007123 defense Effects 0.000 description 1
- 230000002950 deficient Effects 0.000 description 1
- 238000005265 energy consumption Methods 0.000 description 1
- 230000001747 exhibiting effect Effects 0.000 description 1
- 238000007667 floating Methods 0.000 description 1
- 239000000446 fuel Substances 0.000 description 1
- 230000012447 hatching Effects 0.000 description 1
- 230000017525 heat dissipation Effects 0.000 description 1
- 238000011065 in-situ storage Methods 0.000 description 1
- 238000011423 initialization method Methods 0.000 description 1
- 230000002452 interceptive effect Effects 0.000 description 1
- 238000010030 laminating Methods 0.000 description 1
- 229910001416 lithium ion Inorganic materials 0.000 description 1
- 230000013011 mating Effects 0.000 description 1
- 238000002156 mixing Methods 0.000 description 1
- 230000003287 optical effect Effects 0.000 description 1
- 239000002245 particle Substances 0.000 description 1
- 244000144985 peep Species 0.000 description 1
- 230000000737 periodic effect Effects 0.000 description 1
- 238000007639 printing Methods 0.000 description 1
- 230000003014 reinforcing effect Effects 0.000 description 1
- 230000008439 repair process Effects 0.000 description 1
- 230000002441 reversible effect Effects 0.000 description 1
- 239000004576 sand Substances 0.000 description 1
- 238000007493 shaping process Methods 0.000 description 1
- 238000004904 shortening Methods 0.000 description 1
- 230000008054 signal transmission Effects 0.000 description 1
- 238000000638 solvent extraction Methods 0.000 description 1
- 239000002344 surface layer Substances 0.000 description 1
- 239000000725 suspension Substances 0.000 description 1
- 239000000057 synthetic resin Substances 0.000 description 1
- 229920003002 synthetic resin Polymers 0.000 description 1
- 210000003813 thumb Anatomy 0.000 description 1
- 230000000007 visual effect Effects 0.000 description 1
Images
Classifications
-
- Y—GENERAL TAGGING OF NEW TECHNOLOGICAL DEVELOPMENTS; GENERAL TAGGING OF CROSS-SECTIONAL TECHNOLOGIES SPANNING OVER SEVERAL SECTIONS OF THE IPC; TECHNICAL SUBJECTS COVERED BY FORMER USPC CROSS-REFERENCE ART COLLECTIONS [XRACs] AND DIGESTS
- Y02—TECHNOLOGIES OR APPLICATIONS FOR MITIGATION OR ADAPTATION AGAINST CLIMATE CHANGE
- Y02E—REDUCTION OF GREENHOUSE GAS [GHG] EMISSIONS, RELATED TO ENERGY GENERATION, TRANSMISSION OR DISTRIBUTION
- Y02E60/00—Enabling technologies; Technologies with a potential or indirect contribution to GHG emissions mitigation
- Y02E60/10—Energy storage using batteries
Landscapes
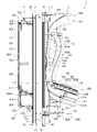
- Display Devices Of Pinball Game Machines (AREA)
Priority Applications (2)
| Application Number | Priority Date | Filing Date | Title |
|---|---|---|---|
| JP2020173263A JP2022064555A (ja) | 2020-10-14 | 2020-10-14 | 遊技機 |
| JP2023038076A JP7421782B2 (ja) | 2020-10-14 | 2023-03-10 | 遊技機 |
Applications Claiming Priority (1)
| Application Number | Priority Date | Filing Date | Title |
|---|---|---|---|
| JP2020173263A JP2022064555A (ja) | 2020-10-14 | 2020-10-14 | 遊技機 |
Related Child Applications (1)
| Application Number | Title | Priority Date | Filing Date |
|---|---|---|---|
| JP2023038076A Division JP7421782B2 (ja) | 2020-10-14 | 2023-03-10 | 遊技機 |
Publications (1)
| Publication Number | Publication Date |
|---|---|
| JP2022064555A true JP2022064555A (ja) | 2022-04-26 |
Family
ID=81385904
Family Applications (2)
| Application Number | Title | Priority Date | Filing Date |
|---|---|---|---|
| JP2020173263A Pending JP2022064555A (ja) | 2020-10-14 | 2020-10-14 | 遊技機 |
| JP2023038076A Active JP7421782B2 (ja) | 2020-10-14 | 2023-03-10 | 遊技機 |
Family Applications After (1)
| Application Number | Title | Priority Date | Filing Date |
|---|---|---|---|
| JP2023038076A Active JP7421782B2 (ja) | 2020-10-14 | 2023-03-10 | 遊技機 |
Country Status (1)
| Country | Link |
|---|---|
| JP (2) | JP2022064555A (enExample) |
Cited By (2)
| Publication number | Priority date | Publication date | Assignee | Title |
|---|---|---|---|---|
| JP2025037484A (ja) * | 2023-09-06 | 2025-03-18 | 株式会社藤商事 | 遊技機 |
| JP2025037483A (ja) * | 2023-09-06 | 2025-03-18 | 株式会社藤商事 | 遊技機 |
Citations (1)
| Publication number | Priority date | Publication date | Assignee | Title |
|---|---|---|---|---|
| JP2019208830A (ja) * | 2018-06-04 | 2019-12-12 | 京楽産業.株式会社 | 遊技機 |
Family Cites Families (4)
| Publication number | Priority date | Publication date | Assignee | Title |
|---|---|---|---|---|
| JP7239193B2 (ja) | 2020-10-14 | 2023-03-14 | 株式会社大一商会 | 遊技機 |
| JP7405426B2 (ja) | 2020-10-15 | 2023-12-26 | 株式会社大一商会 | 遊技機 |
| JP7405425B2 (ja) | 2020-10-15 | 2023-12-26 | 株式会社大一商会 | 遊技機 |
| JP7405427B2 (ja) | 2020-10-15 | 2023-12-26 | 株式会社大一商会 | 遊技機 |
-
2020
- 2020-10-14 JP JP2020173263A patent/JP2022064555A/ja active Pending
-
2023
- 2023-03-10 JP JP2023038076A patent/JP7421782B2/ja active Active
Patent Citations (1)
| Publication number | Priority date | Publication date | Assignee | Title |
|---|---|---|---|---|
| JP2019208830A (ja) * | 2018-06-04 | 2019-12-12 | 京楽産業.株式会社 | 遊技機 |
Cited By (4)
| Publication number | Priority date | Publication date | Assignee | Title |
|---|---|---|---|---|
| JP2025037484A (ja) * | 2023-09-06 | 2025-03-18 | 株式会社藤商事 | 遊技機 |
| JP2025037483A (ja) * | 2023-09-06 | 2025-03-18 | 株式会社藤商事 | 遊技機 |
| JP7706513B2 (ja) | 2023-09-06 | 2025-07-11 | 株式会社藤商事 | 遊技機 |
| JP7706512B2 (ja) | 2023-09-06 | 2025-07-11 | 株式会社藤商事 | 遊技機 |
Also Published As
| Publication number | Publication date |
|---|---|
| JP2023063402A (ja) | 2023-05-09 |
| JP7421782B2 (ja) | 2024-01-25 |
Similar Documents
| Publication | Publication Date | Title |
|---|---|---|
| JP7073012B2 (ja) | 遊技機 | |
| JP7009421B2 (ja) | 遊技機 | |
| JP7072875B2 (ja) | 遊技機 | |
| JP7009420B2 (ja) | 遊技機 | |
| JP7009422B2 (ja) | 遊技機 | |
| JP2021178129A (ja) | 遊技機 | |
| JP2022064554A (ja) | 遊技機 | |
| JP2022032326A (ja) | 遊技機 | |
| JP7072331B2 (ja) | 遊技機 | |
| JP2022015301A (ja) | 遊技機 | |
| JP7072333B2 (ja) | 遊技機 | |
| JP2022064555A (ja) | 遊技機 | |
| JP2022065456A (ja) | 遊技機 | |
| JP2022065453A (ja) | 遊技機 | |
| JP2022065454A (ja) | 遊技機 | |
| JP2022064552A (ja) | 遊技機 | |
| JP2022065459A (ja) | 遊技機 | |
| JP2022015299A (ja) | 遊技機 | |
| JP2022015308A (ja) | 遊技機 | |
| JP2022015307A (ja) | 遊技機 | |
| JP2022015300A (ja) | 遊技機 | |
| JP7072336B2 (ja) | 遊技機 | |
| JP7072334B2 (ja) | 遊技機 | |
| JP7072335B2 (ja) | 遊技機 | |
| JP7072337B2 (ja) | 遊技機 |
Legal Events
| Date | Code | Title | Description |
|---|---|---|---|
| A621 | Written request for application examination |
Free format text: JAPANESE INTERMEDIATE CODE: A621 Effective date: 20211018 |
|
| A131 | Notification of reasons for refusal |
Free format text: JAPANESE INTERMEDIATE CODE: A131 Effective date: 20220823 |
|
| A521 | Request for written amendment filed |
Free format text: JAPANESE INTERMEDIATE CODE: A523 Effective date: 20221024 |
|
| A131 | Notification of reasons for refusal |
Free format text: JAPANESE INTERMEDIATE CODE: A131 Effective date: 20230221 |
|
| A02 | Decision of refusal |
Free format text: JAPANESE INTERMEDIATE CODE: A02 Effective date: 20230815 |