JP2017196002A - Masticatory ability evaluation device - Google Patents

Masticatory ability evaluation device Download PDF

Info

Publication number
JP2017196002A
JP2017196002A JP2016087626A JP2016087626A JP2017196002A JP 2017196002 A JP2017196002 A JP 2017196002A JP 2016087626 A JP2016087626 A JP 2016087626A JP 2016087626 A JP2016087626 A JP 2016087626A JP 2017196002 A JP2017196002 A JP 2017196002A
Authority
JP
Japan
Prior art keywords
bite
container
distance information
fragment
ability evaluation
Prior art date
Legal status (The legal status is an assumption and is not a legal conclusion. Google has not performed a legal analysis and makes no representation as to the accuracy of the status listed.)
Granted
Application number
JP2016087626A
Other languages
Japanese (ja)
Other versions
JP6637828B2 (en
Inventor
小山和泉
Izumi Koyama
Current Assignee (The listed assignees may be inaccurate. Google has not performed a legal analysis and makes no representation or warranty as to the accuracy of the list.)
Koyu Kai
Original Assignee
Koyu Kai
Priority date (The priority date is an assumption and is not a legal conclusion. Google has not performed a legal analysis and makes no representation as to the accuracy of the date listed.)
Filing date
Publication date
Application filed by Koyu Kai filed Critical Koyu Kai
Priority to JP2016087626A priority Critical patent/JP6637828B2/en
Publication of JP2017196002A publication Critical patent/JP2017196002A/en
Application granted granted Critical
Publication of JP6637828B2 publication Critical patent/JP6637828B2/en
Active legal-status Critical Current
Anticipated expiration legal-status Critical

Links

Images

Landscapes

  • Dental Tools And Instruments Or Auxiliary Dental Instruments (AREA)
  • Investigating Or Analysing Materials By Optical Means (AREA)
  • Measurement Of The Respiration, Hearing Ability, Form, And Blood Characteristics Of Living Organisms (AREA)

Abstract

【課題】咬断片の大きさのばらつきを考慮して咀嚼能力を評価することができる咀嚼能力評価装置を提供する。【解決手段】咀嚼能力評価装置100は、被験者により咀嚼された試験食の咬断片2が載置される載置面11aを有する測定台10と、載置面11aから所定距離L0だけ離れた測定位置から、載置面11a上の咬断片2までの距離情報を取得する距離情報取得手段22と、距離情報取得手段22により取得された距離情報に基づき、咀嚼能力を評価するための評価値を導出する評価値導出手段30とを備える。【選択図】図1A masticatory ability evaluation apparatus capable of evaluating masticatory ability in consideration of variation in the size of a bite fragment is provided. A chewing ability evaluation apparatus 100 includes a measuring table 10 having a mounting surface 11a on which a bite piece 2 of a test meal chewed by a subject is mounted, and a measurement separated from the mounting surface 11a by a predetermined distance L0. Based on the distance information acquisition means 22 for acquiring the distance information from the position to the bite fragment 2 on the placement surface 11a and the distance information acquired by the distance information acquisition means 22, an evaluation value for evaluating the masticatory ability Evaluation value deriving means 30 for deriving. [Selection] Figure 1

Description

本発明は、咀嚼能力を評価する咀嚼能力評価装置に関する。   The present invention relates to a masticatory ability evaluation apparatus for evaluating masticatory ability.

従来より、咀嚼能力測定用の試験食を所定条件の下で被験者に咀嚼させ、咀嚼後の咬断片の状態に応じて咀嚼能力を評価する装置が知られている(例えば特許文献1参照)。特許文献1記載の装置では、咀嚼能力測定用試験食としてグミゼリーを用い、咀嚼後の咬断片の表面から水中に溶出するゼラチンあるいはグルコースの濃度を測定し、その濃度から被験者の咀嚼能力の評価値を導出する。   2. Description of the Related Art Conventionally, there has been known an apparatus that allows a subject to chew a test meal for measuring chewing ability under a predetermined condition and evaluates the chewing ability according to the state of the bite fragment after chewing (see, for example, Patent Document 1). In the apparatus described in Patent Document 1, gummy jelly is used as a test meal for measuring chewing ability, the concentration of gelatin or glucose eluted from the surface of the bite fragment after chewing is measured, and the evaluation value of the subject's chewing ability is determined from the concentration Is derived.

国際公開第2006/046377号International Publication No. 2006/046377

ところで、例えば被験者の口腔内の左右いずれかに麻痺が起こると、左右の咀嚼能力に差が生じ、咬断片の大きさにばらつきが生じる。したがって、被験者の咀嚼能力を精度よく評価するためには、咬断片の大きさのばらつきを考慮することが好ましい。しかしながら、上記特許文献1記載の装置のように、水中に溶出した物質の濃度を測定して咀嚼能力を評価する手法では、咬断片の大きさのばらつきを考慮することが困難である。   By the way, for example, when paralysis occurs on either the left or right side of the oral cavity of the subject, the left and right chewing abilities differ, and the size of the bite fragment varies. Therefore, in order to accurately evaluate the masticatory ability of the subject, it is preferable to consider variation in the size of the bite fragment. However, in the method of measuring the concentration of a substance eluted in water and evaluating the masticatory ability as in the device described in Patent Document 1, it is difficult to consider the variation in the size of the bite fragment.

本発明の一態様である咀嚼能力評価装置は、被験者により咀嚼された試験食の咬断片が載置される載置面を有する測定台と、載置面から所定距離だけ離れた測定位置から、載置面上の咬断片までの距離情報を取得する距離情報取得手段と、距離情報取得手段により取得された距離情報に基づき、咀嚼能力を評価するための評価値を導出する評価値導出手段と、を備えることを特徴とする。   The masticatory ability evaluation apparatus according to one aspect of the present invention includes a measurement table having a mounting surface on which a bite piece of a test meal chewed by a subject is mounted, and a measurement position separated from the mounting surface by a predetermined distance, Distance information acquiring means for acquiring distance information to the bite fragment on the mounting surface, and evaluation value deriving means for deriving an evaluation value for evaluating masticatory ability based on the distance information acquired by the distance information acquiring means; It is characterized by providing.

本発明によれば、咬断片の載置面から所定距離だけ離れた測定位置から載置面上の咬断片までの距離情報を取得し、この距離情報に基づき咀嚼能力を評価するための評価値を導出するので、咬断片の大きさのばらつきを考慮した咀嚼能力の評価が可能となる。   According to the present invention, the evaluation value for obtaining the distance information from the measurement position away from the mounting surface of the bite fragment by a predetermined distance to the bite fragment on the mounting surface and evaluating the masticatory ability based on this distance information Therefore, it is possible to evaluate the masticatory ability in consideration of the variation in the size of the bite fragment.

本発明の第1の実施形態に係る咀嚼能力評価装置の全体構成を概略的に示す図。The figure which shows schematically the whole structure of the masticatory ability evaluation apparatus which concerns on the 1st Embodiment of this invention. 本発明の第1の実施形態に係る咀嚼能力評価方法の手順を示すフローチャート。The flowchart which shows the procedure of the masticatory ability evaluation method which concerns on the 1st Embodiment of this invention. 図1の咀嚼能力評価装置のセンサ部によって測定される咬断片上の測定点の一例を示す図。The figure which shows an example of the measurement point on the bite piece measured by the sensor part of the masticatory ability evaluation apparatus of FIG. 図1の出力部に表示される評価値の一例を示す図。The figure which shows an example of the evaluation value displayed on the output part of FIG. 図1の出力部に表示される評価値の他の例を示す図。The figure which shows the other example of the evaluation value displayed on the output part of FIG. 本発明の第2の実施形態に係る咀嚼能力評価装置の全体構成を概略的に示す図。The figure which shows schematically the whole structure of the masticatory ability evaluation apparatus which concerns on the 2nd Embodiment of this invention. 図5の第2容器の斜視図。The perspective view of the 2nd container of FIG.

−第1の実施形態−
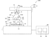
以下、図1〜図4Bを参照して本発明の第1の実施形態について説明する。図1は、本発明の第1の実施形態に係る咀嚼能力評価装置100の全体構成を概略的に示す図である。咀嚼能力評価装置100は、ベース1上に配置された容器10と、容器10の上方に設けられたセンサユニット20と、センサユニット20からの信号に基づき咀嚼能力を評価するコントローラ30とを有する。
-First embodiment-
Hereinafter, a first embodiment of the present invention will be described with reference to FIGS. FIG. 1 is a diagram schematically showing an overall configuration of a masticatory ability evaluation apparatus 100 according to the first embodiment of the present invention. The masticatory ability evaluation apparatus 100 includes a container 10 disposed on the base 1, a sensor unit 20 provided above the container 10, and a controller 30 that evaluates the masticatory ability based on a signal from the sensor unit 20.

容器10は、底壁11と底壁11の周縁部から立設する側壁12とを有し、上方が開口されている。ベース1の上面には位置決め部1aが設けられ、容器10は、位置決め部1aを介してベース1上の所定位置に位置決めした状態で搭載される。ベース1上に容器10が搭載された状態では、底壁11の上面11aは水平となり、この上面11aに、被験者により咀嚼された咀嚼能力測定用の試験食の咬断片2が載置される。試験食としては、被験者が咀嚼することで、口腔内で溶けずに細分化することが可能な所定形状でかつ所定の硬さを有する食品が用いられる。例えば立方体形状のグミゼリーが試験食として用いられる。   The container 10 has a bottom wall 11 and a side wall 12 erected from the peripheral edge of the bottom wall 11, and the upper side is opened. A positioning portion 1a is provided on the upper surface of the base 1, and the container 10 is mounted in a state of being positioned at a predetermined position on the base 1 via the positioning portion 1a. In a state where the container 10 is mounted on the base 1, the upper surface 11a of the bottom wall 11 is horizontal, and the bite piece 2 of the test meal for measuring mastication ability chewed by the subject is placed on the upper surface 11a. As the test meal, a food having a predetermined shape and a predetermined hardness that can be subdivided without being dissolved in the oral cavity when the subject chews is used. For example, a cube-shaped gummy jelly is used as a test meal.

センサユニット20はアーム3により支持される。アーム3は、ベース1から立設された第1アーム3Aと、第1アーム3Aの上端からベース1の上方に向けて延設された第2アーム3Bとを有する。容器10の中心部上方における第2アーム3Bの下面には、雌ねじ部4aを有するソケット4が設けられる。センサユニット20は、筐体21と、筐体21内にそれぞれ配置されたセンサ部22および無線通信部23とを有する。   The sensor unit 20 is supported by the arm 3. The arm 3 includes a first arm 3A standing from the base 1 and a second arm 3B extending from the upper end of the first arm 3A toward the upper side of the base 1. A socket 4 having an internal thread portion 4a is provided on the lower surface of the second arm 3B above the central portion of the container 10. The sensor unit 20 includes a housing 21, and a sensor unit 22 and a wireless communication unit 23 disposed in the housing 21.

筐体21は、軸線CLを中心とした対称形状を呈する。より具体的には、筐体21は、軸線CLからその外周面までの距離が下方にかけて拡大する拡径部21aを有し、全体が略電球形状を呈する。筐体21の上端部には、口金24が設けられる。口金24は、ソケット4の雌ねじ部4aに対応した雄ねじ部24aを有し、雄ねじ部24aを介してソケット4の雌ねじ部4aに螺合される。これによりセンサユニット20がアーム3の所定位置に保持されるとともに、口金24を介してセンサ部22と無線通信部23とに電力を供給できる。   The casing 21 has a symmetrical shape with the axis CL as the center. More specifically, the housing 21 has an enlarged diameter portion 21a in which the distance from the axis CL to the outer peripheral surface expands downward, and the whole has a substantially bulb shape. A base 24 is provided at the upper end of the housing 21. The base 24 has a male screw portion 24 a corresponding to the female screw portion 4 a of the socket 4, and is screwed into the female screw portion 4 a of the socket 4 via the male screw portion 24 a. As a result, the sensor unit 20 is held at a predetermined position of the arm 3, and power can be supplied to the sensor unit 22 and the wireless communication unit 23 via the base 24.

センサ部22は、咬断片2が搭載される容器10の上面11aに対向して、かつ、上面11aから所定距離L0だけ離れて配置された距離センサにより構成される。距離センサとしては、例えば咬断片2に向けて赤外線を照射し、その反射光を受光することで咬断片2までの距離を検出する赤外線距離センサが用いられ、センサ部22は、赤外線の投光部22Aと受光部22Bとを有する。受光部22Bは、所定帯域の赤外線が透過するレンズ部を有する赤外線カメラにより構成される。センサ部22からの信号は無線通信部23を介してコントローラ30に送信される。   The sensor unit 22 is configured by a distance sensor disposed opposite to the upper surface 11a of the container 10 on which the bite piece 2 is mounted and separated from the upper surface 11a by a predetermined distance L0. As the distance sensor, for example, an infrared distance sensor that detects the distance to the bite fragment 2 by irradiating infrared rays toward the bite fragment 2 and receiving the reflected light is used. The sensor unit 22 emits infrared rays. It has a part 22A and a light receiving part 22B. The light receiving unit 22B is configured by an infrared camera having a lens unit that transmits infrared rays in a predetermined band. A signal from the sensor unit 22 is transmitted to the controller 30 via the wireless communication unit 23.

コントローラ30は、CPU,ROM,RAM、その他の周辺回路などを有する演算処理装置を含んで構成されるコンピュータを含み、センサ部22からの信号に基づき、咀嚼能力を評価するための評価値(咀嚼評価値)を導出する。コントローラ30には、センサ部22から容器10の上面11aまでの所定距離L0が予め記憶されている。コントローラ30は、各種指令や設定値等を入力する入力部31と、咀嚼評価値を出力する出力部32とを有する。入力部31と出力部32とは、例えばタッチパネルにより一体に構成することができる。   The controller 30 includes a computer including an arithmetic processing unit having a CPU, a ROM, a RAM, and other peripheral circuits. Based on a signal from the sensor unit 22, an evaluation value (mastication) for evaluating the mastication ability. (Evaluation value) is derived. The controller 30 stores a predetermined distance L0 from the sensor unit 22 to the upper surface 11a of the container 10 in advance. The controller 30 includes an input unit 31 for inputting various commands, setting values, and the like, and an output unit 32 for outputting a mastication evaluation value. The input unit 31 and the output unit 32 can be integrally configured by a touch panel, for example.

次に、本実施形態に係る咀嚼能力評価装置100を用いた咀嚼能力評価方法について説明する。図2は、本発明の第1の実施形態に係る咀嚼能力評価方法の手順を示すフローチャートである。   Next, a masticatory ability evaluation method using the masticatory ability evaluation apparatus 100 according to the present embodiment will be described. FIG. 2 is a flowchart showing the procedure of the masticatory ability evaluation method according to the first embodiment of the present invention.

まず、所定条件の下で、被験者に試験食(グミゼリー)を咀嚼させる(ステップS1)。例えば、所定回数だけあるいは所定時間だけ試験食を咀嚼させる。次に、被験者の口腔内から咀嚼後の全ての咬断片2を取り出し、水道水等により洗浄した後、咬断片2を容器10内に配置する(ステップS2)。このとき、咬断片2が互いに重ならないように容器10の上面11aに咬断片2を載置し、その後、位置決め部1aを介して容器10をベース1上の所定位置に搭載する。   First, a test meal (gummy jelly) is chewed by a subject under predetermined conditions (step S1). For example, the test meal is chewed only a predetermined number of times or for a predetermined time. Next, after all the bite fragments 2 after mastication are taken out from the oral cavity of the subject and washed with tap water or the like, the bite fragments 2 are placed in the container 10 (step S2). At this time, the bite piece 2 is placed on the upper surface 11a of the container 10 so that the bite pieces 2 do not overlap each other, and then the container 10 is mounted at a predetermined position on the base 1 via the positioning portion 1a.

なお、ベース1に振動装置を設け、振動装置により容器10を振動させることで、咬断片2の重なりを防ぐようにしてもよい。この場合、振動装置をコントローラ30に接続し、入力部31により振動装置の駆動を指令するようにしてもよい。   The base 1 may be provided with a vibration device, and the container 10 may be vibrated by the vibration device to prevent the bite fragments 2 from overlapping. In this case, the vibration device may be connected to the controller 30 and the drive of the vibration device may be commanded by the input unit 31.

次いで、センサ部22から咬断片2までの距離(鉛直方向距離)L1を測定する(ステップS3)。この距離測定は、例えば入力部31の操作により距離測定の開始が指令され、コントローラ30からセンサ部22に動作開始指令が出力されることで行われる。これにより、投光部22Aから咬断片2に向けて赤外線が照射されるとともに、咬断片2上の各測定点で反射した赤外線が受光部22Bで受光される。センサ部22が取得した信号はコントローラ30に送信される。   Next, a distance (vertical direction distance) L1 from the sensor unit 22 to the bite fragment 2 is measured (step S3). This distance measurement is performed by, for example, instructing the start of distance measurement by operating the input unit 31 and outputting an operation start command from the controller 30 to the sensor unit 22. Thereby, infrared rays are irradiated toward the bite piece 2 from the light projecting unit 22A, and infrared rays reflected at each measurement point on the bite piece 2 are received by the light receiving unit 22B. The signal acquired by the sensor unit 22 is transmitted to the controller 30.

図3は、咬断片2上の測定点Pの一例を示す図である。測定点Pは、容器10の水平方向全域にわたり、咬断片2上に所定間隔毎に設定される。コントローラ30は、センサ部22からの信号を用いて、センサ部22から咬断片2上の各測定点Pまでの距離L1を算出する。これにより咬断片2の測定点P毎の複数の距離データが得られる。なお、咬断片2の大きさが大きいほど水平方向における咬断片2の面積が大きくなり、したがって、同一の咬断片2に設定される測定点Pの個数が多くなる。   FIG. 3 is a diagram illustrating an example of the measurement point P on the bite fragment 2. The measurement points P are set at predetermined intervals on the bite piece 2 over the entire horizontal direction of the container 10. The controller 30 calculates a distance L1 from the sensor unit 22 to each measurement point P on the bite fragment 2 using a signal from the sensor unit 22. Thereby, a plurality of distance data for each measurement point P of the bite fragment 2 is obtained. In addition, the area of the bite piece 2 in the horizontal direction increases as the size of the bite piece 2 increases, and accordingly, the number of measurement points P set in the same bite piece 2 increases.

センサ部22から各測定点Pまでの距離L1は測定点Pにおける咬断片2の大きさ(高さ)に応じて変化する。例えば図3に示すように、大きさの異なる咬断片2a,2bが存在する場合に、咬断片2a上の測定点Paまでの距離L1aは、咬断片2b上の測定点Pbまでの距離L1bよりも短い。なお、容器10の上面11aに咬断片2が存在しない場合には、容器10の上面11aに測定点Pが設定され、測定距離L1は所定距離L0となる。   The distance L1 from the sensor unit 22 to each measurement point P changes according to the size (height) of the bite fragment 2 at the measurement point P. For example, as shown in FIG. 3, when there are the bite fragments 2a and 2b having different sizes, the distance L1a to the measurement point Pa on the bite fragment 2a is greater than the distance L1b to the measurement point Pb on the bite fragment 2b. Also short. In addition, when the bite piece 2 does not exist on the upper surface 11a of the container 10, the measurement point P is set on the upper surface 11a of the container 10, and the measurement distance L1 becomes the predetermined distance L0.

次に、コントローラ30は、所定距離L0から各測定点Pの測定距離L1を減算し、各測定点Pにおける咬断片2の大きさh(高さ)を算出する(ステップS4)。例えば図3に示すように、測定点Paにおける咬断片2aの大きさha、および測定点Pbにおける咬断片2bの大きさhbをそれぞれ算出する。   Next, the controller 30 subtracts the measurement distance L1 of each measurement point P from the predetermined distance L0 to calculate the size h (height) of the bite fragment 2 at each measurement point P (step S4). For example, as shown in FIG. 3, the size ha of the bite fragment 2a at the measurement point Pa and the size hb of the bite fragment 2b at the measurement point Pb are calculated.

次に、コントローラ30は、算出した咬断片2の大きさhに対応する測定点Pの割合、すなわち、咬断片2の大きさhに対応する測定点Pの個数Nを、咀嚼能力を評価するための評価値A1として算出する(ステップS5)。これにより同一の大きさhの咬断片2が容器10内にどの程度存在するか、換言すると、咬断片2の大きさhの分布を、評価値A1を用いて把握できる。次いで、コントローラ30は、算出した評価値A1を出力部32に出力する(ステップS6)。   Next, the controller 30 evaluates the masticatory ability based on the ratio of the measurement points P corresponding to the calculated size h of the bite fragment 2, that is, the number N of measurement points P corresponding to the size h of the bite fragment 2. Is calculated as an evaluation value A1 (step S5). Thereby, how much the bite fragment 2 having the same size h exists in the container 10, in other words, the distribution of the size h of the bite fragment 2 can be grasped using the evaluation value A1. Next, the controller 30 outputs the calculated evaluation value A1 to the output unit 32 (step S6).

図4A,図4Bは、それぞれ出力部32に表示される評価値A1の一例を示す図である。図では、横軸が咬断片2の大きさhを、縦軸が咬断片2の大きさhに対応する測定点Pの個数N、すなわち評価値A1をそれぞれ示す。図中の特性f1,f2,f3は、それぞれ異なる被験者による咀嚼結果から得られた特性である。   4A and 4B are diagrams illustrating an example of the evaluation value A1 displayed on the output unit 32, respectively. In the figure, the horizontal axis indicates the size h of the bite fragment 2, and the vertical axis indicates the number N of measurement points P corresponding to the size h of the bite fragment 2, that is, the evaluation value A1. Characteristics f1, f2, and f3 in the figure are characteristics obtained from the results of chewing by different subjects.

図4Aに示すように、特性f1と特性f2とを比較すると、特性f1は、大きさh1において評価値A1が最大となる。すなわち、大きさh1に、測定点Pの個数Nのピーク値が存在し、測定点Pの個数Nが最も多くなる。これに対し、特性f2は、大きさh2において評価値A1が最大となる。評価値A1が最大となる大きさh1,h2は、容器10内に最も多く存在する咬断片2の大きさh(高さ)を意味し、以降、これを代表大きさと呼ぶこともある。図4Aでは、特性f2の代表大きさh2は、特性f1の代表大きさh1よりも小さい。代表大きさが小さいほど、試験食が細かく咀嚼されることとなるため、咀嚼能力が高いと評価できる。   As shown in FIG. 4A, when the characteristic f1 and the characteristic f2 are compared, the evaluation value A1 of the characteristic f1 becomes the maximum at the magnitude h1. That is, the peak value of the number N of measurement points P exists in the size h1, and the number N of measurement points P is the largest. On the other hand, the characteristic f2 has the maximum evaluation value A1 at the magnitude h2. The sizes h1 and h2 at which the evaluation value A1 is the maximum mean the size h (height) of the bite fragment 2 that exists most in the container 10, and are hereinafter also referred to as representative sizes. In FIG. 4A, the representative magnitude h2 of the characteristic f2 is smaller than the representative magnitude h1 of the characteristic f1. The smaller the representative size, the finer the test meal is chewed, so it can be evaluated that the chewing ability is high.

一方、例えば被験者の口腔内の左右いずれかに麻痺が起こると、左右の咀嚼能力に差が生じ、咬断片2の大きさhにばらつきが生じる。すなわち、麻痺が起こっていない側での咬断片2は小さく、麻痺が起こっている側での咬断片2は大きくなる。このため、例えば図4Bの特性f3に示すように、評価値A1のピーク値が2箇所で発生し、2つの代表大きさh3,h4が得られる。したがって、評価値A1の特性に複数のピーク値が存在するか否かを判定することにより、被験者の口腔内に麻痺が起きているか否かを判断することが可能となる。   On the other hand, for example, when paralysis occurs on either the left or right side of the subject's mouth, the left and right chewing ability is different, and the size h of the bite fragment 2 varies. That is, the bite segment 2 on the side where the paralysis has not occurred is small, and the bite segment 2 on the side where the paralysis has occurred is large. For this reason, for example, as indicated by the characteristic f3 in FIG. 4B, the peak value of the evaluation value A1 occurs at two locations, and two representative magnitudes h3 and h4 are obtained. Therefore, by determining whether or not there are a plurality of peak values in the characteristics of the evaluation value A1, it is possible to determine whether or not paralysis is occurring in the oral cavity of the subject.

第1の実施形態によれば以下のような作用効果を奏することができる。
(1)第1の実施形態に係る咀嚼能力評価装置100は、被験者により咀嚼された試験食の咬断片2が載置される上面11aを有する容器10と、上面11aから所定距離L0だけ離れた測定位置から、上面11a上の咬断片2までの距離情報を取得するセンサ部22と、センサ部22により取得された距離情報に基づき、咀嚼能力を評価するための評価値A1を導出するコントローラ30とを備える。
According to 1st Embodiment, there can exist the following effects.
(1) The chewing ability evaluation apparatus 100 according to the first embodiment is separated from the upper surface 11a by a predetermined distance L0 from the container 10 having the upper surface 11a on which the bite piece 2 of the test meal masticated by the subject is placed. A sensor unit 22 that acquires distance information from the measurement position to the bite fragment 2 on the upper surface 11a, and a controller 30 that derives an evaluation value A1 for evaluating masticatory ability based on the distance information acquired by the sensor unit 22. With.

このようにセンサ部22により咬断片2までの距離情報を取得することで、容器10全域における咬断片2の大きさを把握することができ、咬断片2の大きさのばらつきを考慮した咀嚼能力の評価が可能となる。その結果、口腔内の左右いずれかに麻痺が生じているか否かなどの判定が可能となる。また、本実施形態のように、咬断片2までの距離情報によって咀嚼能力を評価する手法を採用すると、咀嚼後の咬断片2を水中に溶出させる必要がないため、特殊な試験食を準備する必要がなく、咀嚼能力を安価に評価することができる。咀嚼後の咬断片2を乾燥させる必要もないため、咀嚼能力の評価を迅速に実施することも可能である。   Thus, by acquiring the distance information to the bite fragment 2 by the sensor unit 22, the size of the bite fragment 2 in the entire region of the container 10 can be grasped, and the chewing ability in consideration of the variation in the size of the bite fragment 2 Can be evaluated. As a result, it is possible to determine whether or not the left or right side of the oral cavity is paralyzed. In addition, when a method of evaluating mastication ability based on distance information to the bite piece 2 is employed as in the present embodiment, it is not necessary to elute the bite piece 2 after mastication into water, so a special test meal is prepared. There is no need, and chewing ability can be evaluated at low cost. Since it is not necessary to dry the bite piece 2 after mastication, it is possible to quickly evaluate the mastication ability.

(2)センサ部22は、容器10の上面11aに対向して配置された距離センサとして投光部22Aと受光部22Bとを有する。したがって、センサ部22から咬断片2の上面までの距離情報を取得することができ、咬断片2の大きさ(高さ)を容易に把握できる。 (2) The sensor unit 22 includes a light projecting unit 22 </ b> A and a light receiving unit 22 </ b> B as distance sensors disposed to face the upper surface 11 a of the container 10. Therefore, distance information from the sensor unit 22 to the upper surface of the bite fragment 2 can be acquired, and the size (height) of the bite fragment 2 can be easily grasped.

(3)コントローラ30は、センサ部22により取得された距離情報に対応する咬断片2の分布を評価値A1として導出する。これにより評価値A1がピークとなる咬断片2の大きさh(代表大きさ)、すなわち最も個数の多い咬断片2の大きさhを求めることができ、咀嚼能力の評価にとって有用な情報が得られる。 (3) The controller 30 derives the distribution of the bite fragment 2 corresponding to the distance information acquired by the sensor unit 22 as the evaluation value A1. As a result, the size h (representative size) of the bite fragment 2 at which the evaluation value A1 has a peak, that is, the size h of the most numerous bite fragment 2 can be obtained, and useful information for evaluation of masticatory ability is obtained. It is done.

−第2の実施形態−
図5,6を参照して本発明の第2の実施形態について説明する。以下では第1の実施形態との相違点を主に説明する。第1の実施形態では単一の容器10に咬断片2を配置したが、第2の実施形態では、咬断片2の大きさに応じて咬断片2を複数のグループに分離し、咬断片2をグループ毎に異なる容器10に配置する。さらに、第2の実施形態では、容器10に対してセンサユニット20を相対移動可能に設ける。
-Second Embodiment-
A second embodiment of the present invention will be described with reference to FIGS. Hereinafter, differences from the first embodiment will be mainly described. In the first embodiment, the bite fragment 2 is arranged in a single container 10, but in the second embodiment, the bite fragment 2 is separated into a plurality of groups according to the size of the bite fragment 2, and the bite fragment 2 Are placed in different containers 10 for each group. Furthermore, in 2nd Embodiment, the sensor unit 20 is provided with respect to the container 10 so that relative movement is possible.

図5は、本発明の第2の実施形態に係る咀嚼能力評価装置100Aの全体構成を概略的に示す図である。なお、図1と同一の箇所には同一の符号を付す。以下では、図示のように直交3軸方向をX方向、Y方向、およびZ方向と定義する。なお、Z方向は、第1アーム3Aの延在する方向、すなわち重力方向(上下方向)であり、X方向は、第2アーム3Bの延在する方向である。   FIG. 5 is a diagram schematically showing an overall configuration of a masticatory ability evaluation apparatus 100A according to the second embodiment of the present invention. In addition, the same code | symbol is attached | subjected to the location same as FIG. Hereinafter, the orthogonal three-axis directions are defined as an X direction, a Y direction, and a Z direction as illustrated. The Z direction is the direction in which the first arm 3A extends, that is, the gravitational direction (vertical direction), and the X direction is the direction in which the second arm 3B extends.

図5に示すように、咀嚼能力評価装置100Aは、複数(図では3個)の容器10を有する。これら容器10を、上から順に第1容器101、第2容器102、第3容器103と称する。第1アーム3Aにはステイ支持部104が設けられ、ステイ支持部104にステイ105が取り付けられる。ステイ105は、先端部に第1容器101〜第3容器103の容器支持部105aを有し、各容器支持部105aにそれぞれ第1容器101〜第3容器103が支持される。第1容器101〜第3容器103は、容器101〜103の上方空間が開放されるようにそのX方向位置が互いにずれている。なお、各容器101〜103のY方向位置は互いに一致している。   As shown in FIG. 5, the masticatory ability evaluation device 100 </ b> A has a plurality (three in the figure) of containers 10. These containers 10 are referred to as a first container 101, a second container 102, and a third container 103 in order from the top. A stay support portion 104 is provided on the first arm 3 </ b> A, and a stay 105 is attached to the stay support portion 104. The stay 105 has container support portions 105a for the first container 101 to the third container 103 at the tip, and the first container 101 to the third container 103 are supported by the container support portions 105a, respectively. The positions of the first container 101 to the third container 103 are shifted from each other so that the upper space of the containers 101 to 103 is opened. Note that the Y-direction positions of the containers 101 to 103 coincide with each other.

図6は、第2容器102の斜視図である。図6に示すように、第2容器102はXZ断面において略V字形状に配置された略矩形状の一対の底板1021,1022と、Y方向端部の開口を塞ぐ一対の側板1023,1024とを有する。一対の底板1021,1022の底部はX方向に互いに所定幅ΔX2だけ隔てられ、第2容器102の底部には、X方向の幅ΔXで、Z方向に貫通する開口部102aがY方向に沿って形成される。   FIG. 6 is a perspective view of the second container 102. As shown in FIG. 6, the second container 102 includes a pair of substantially rectangular bottom plates 1021 and 1022 arranged in a substantially V shape in the XZ cross section, and a pair of side plates 1023 and 1024 that block the opening at the end in the Y direction. Have The bottoms of the pair of bottom plates 1021 and 1022 are separated from each other by a predetermined width ΔX2 in the X direction, and an opening 102a penetrating in the Z direction with a width ΔX in the X direction is provided along the Y direction at the bottom of the second container 102. It is formed.

図5に示すように、第1容器101は第2容器102と同様、断面略V字状に形成される。但し、第1容器101のX方向の開口部101aの幅ΔX1は、第2容器102の開口部102aの幅ΔX2よりも大きい。第3容器103も断面略V字状に形成されるが、第3容器103の底部には開口部は設けられない。これにより所定幅ΔX1よりも小さな咬断片2は、第1容器101の開口部101aを介して落下し、所定幅ΔX2よりも小さな咬断片2は、第2容器102の開口部102aを介して落下する。   As shown in FIG. 5, the first container 101 is formed in a substantially V-shaped cross section like the second container 102. However, the width ΔX1 of the opening 101a in the X direction of the first container 101 is larger than the width ΔX2 of the opening 102a of the second container 102. The third container 103 is also formed in a substantially V-shaped cross section, but no opening is provided at the bottom of the third container 103. Accordingly, the bite fragment 2 smaller than the predetermined width ΔX1 falls through the opening 101a of the first container 101, and the bite fragment 2 smaller than the predetermined width ΔX2 falls through the opening 102a of the second container 102. To do.

第2の実施形態では、各容器101〜103の底部、特に第1容器101,第2容器102においては開口部101a,102aよりも上方に、咬断片2が載置される面、すなわち容器101〜103の上面11a(点線)が形成される。第1容器101,第2容器102にそれぞれ開口部101a,102aを設けたことにより、第1容器101の上面11aには所定幅ΔX1以上の大型の咬断片2aが載置され、第2容器102の上面11aには所定幅ΔX2以上かつ所定幅ΔX1未満の中型の咬断片2bが載置され、第3容器103の上面11aには所定幅ΔX2未満の小型の咬断片2cが載置される。これにより咬断片2をその大きさに応じて3つのグループに分離し、それぞれを互いに異なる容器101〜103に配置できる。   In 2nd Embodiment, in the bottom part of each container 101-103, especially in the 1st container 101 and the 2nd container 102, the surface in which the bite piece 2 is mounted above the opening parts 101a and 102a, ie, the container 101. ˜103, the upper surface 11a (dotted line) is formed. By providing the openings 101 a and 102 a in the first container 101 and the second container 102, respectively, the large bite piece 2 a having a predetermined width ΔX1 or more is placed on the upper surface 11 a of the first container 101, and the second container 102. A medium-sized bite fragment 2b having a predetermined width ΔX2 or more and less than a predetermined width ΔX1 is placed on the upper surface 11a, and a small bite piece 2c having a width less than the predetermined width ΔX2 is placed on the upper surface 11a of the third container 103. Thereby, the bite piece 2 can be divided into three groups according to the size, and each can be arranged in different containers 101 to 103.

第1アーム3Aのステイ支持部104には加振装置106が設けられ、加振装置106により、ステイ105を介して各容器101〜103を加振することができる。これにより各容器101〜103内の咬断片2の重なりを防ぐことができ、各容器101〜103の底部に沿って咬断片2をY方向に一列に並んで配置することができる。   The stay support portion 104 of the first arm 3 </ b> A is provided with a vibration device 106, and the vibration devices 106 can vibrate the containers 101 to 103 through the stay 105. Thereby, the overlap of the bite piece 2 in each container 101-103 can be prevented, and the bite piece 2 can be arranged in a line in the Y direction along the bottom part of each container 101-103.

第2の実施形態では、センサユニット20(センサ部22)が移動機構を介して容器10に対し相対移動可能に設けられる。具体的には、第2アーム3Bは、駆動機構110により第1アーム3Aに対しX方向に移動可能に設けられる。第2アーム3Bの先端部には、Z方向に延在する第3アーム3Cが設けられ、第3アーム3Cの下端部にソケット4が固定される。第3アーム3Cは、駆動機構120により第2アーム3Bに対しZ方向に移動可能に設けられる。これによりセンサ部22を、第1容器101の上面11aから所定距離L0上方である第1位置PS1、第2容器102の上面11aから所定距離L0上方である第2位置PS2、および第3容器103の上面11aから所定距離L0上方である第3位置PS3にそれぞれ移動することができる。   In 2nd Embodiment, the sensor unit 20 (sensor part 22) is provided so that relative movement with respect to the container 10 is possible via a moving mechanism. Specifically, the second arm 3B is provided to be movable in the X direction with respect to the first arm 3A by the drive mechanism 110. A third arm 3C extending in the Z direction is provided at the tip of the second arm 3B, and the socket 4 is fixed to the lower end of the third arm 3C. The third arm 3C is provided to be movable in the Z direction with respect to the second arm 3B by the drive mechanism 120. As a result, the sensor unit 22 is moved to a first position PS1 that is a predetermined distance L0 above the upper surface 11a of the first container 101, a second position PS2 that is a predetermined distance L0 above the upper surface 11a of the second container 102, and a third container 103. Can move to a third position PS3 that is a predetermined distance L0 above the upper surface 11a.

なお、駆動機構110,120は、例えば電動モータと、電動モータの回転運動をアーム3B,3Cの直進運動に変換するボールねじなどの動力変換機構とにより構成することができる。図示は省略するが、咀嚼能力評価装置100Aは、センサ部22のX方向およびZ方向の位置を検出するセンサを有し、コントローラ30は、センサからの信号に応じて駆動機構(電動モータ)の動作を制御する。   The drive mechanisms 110 and 120 can be configured by, for example, an electric motor and a power conversion mechanism such as a ball screw that converts the rotational motion of the electric motor into the linear motion of the arms 3B and 3C. Although illustration is omitted, the masticatory ability evaluation device 100A includes sensors that detect the positions of the sensor unit 22 in the X direction and the Z direction, and the controller 30 determines the driving mechanism (electric motor) according to the signal from the sensor. Control the behavior.

第2の実施形態において、被験者の咀嚼能力を評価する際には、咀嚼後の咬断片2を第1容器101に投入するとともに、加振装置106により容器101〜103を加振する。容器101〜103が加振されると、小型および中型の咬断片2b,2cが第1容器101から第2容器102に振るい落とされ、さらに小型の咬断片2cが第2容器102から第3容器103に振るい落とされる。これにより咬断片2の大きさに応じて咬断片2が各容器101〜103に分離され、各容器101〜103の底部に一列に並んで配置される。   In the second embodiment, when evaluating the chewing ability of the subject, the bite fragment 2 after mastication is put into the first container 101 and the containers 101 to 103 are vibrated by the vibration device 106. When the containers 101 to 103 are vibrated, the small and medium-sized bite pieces 2b and 2c are shaken off from the first container 101 to the second container 102, and the further small bite piece 2c is transferred from the second container 102 to the third container. 103 is shaken off. Thereby, according to the magnitude | size of the bite piece 2, the bite piece 2 is isolate | separated into each container 101-103, and is arrange | positioned along with the bottom part of each container 101-103 in a line.

この状態から、コントローラ30が駆動機構110,120に制御信号を出力することにより、センサ部22を第1位置PS1、第2位置PS2、および第3位置PS3に順次移動する。そして、コントローラ30からの指令により、各位置PS1〜PS3でセンサ部22を動作させ、センサ部22から咬断片2までの距離を測定するとともに、測定結果をコントローラ30に送信する。この場合、各容器101〜103には、ほぼ同一の大きさの咬断片2が一列に並んで配置されるため、センサ部22により咬断片2までの距離を精度よく測定することができる。コントローラ30は、センサ部22からの信号に基づいて第1の実施形態と同様に、咬断片の大きさhの分布(評価値A1)を算出し、出力部32に出力する。   From this state, when the controller 30 outputs a control signal to the drive mechanisms 110 and 120, the sensor unit 22 is sequentially moved to the first position PS1, the second position PS2, and the third position PS3. And according to the command from the controller 30, the sensor unit 22 is operated at each position PS <b> 1 to PS <b> 3, the distance from the sensor unit 22 to the bite fragment 2 is measured, and the measurement result is transmitted to the controller 30. In this case, since the bites 2 having almost the same size are arranged in a line in each of the containers 101 to 103, the distance to the bite 2 can be accurately measured by the sensor unit 22. The controller 30 calculates the distribution (evaluation value A1) of the size h of the bite fragment based on the signal from the sensor unit 22 and outputs the distribution to the output unit 32, as in the first embodiment.

このように第2の実施形態では、咬断片2の大きさに応じて咬断片2を複数のグループに分離するために、開口部101a,102aの大きさの異なる複数の容器101〜103を備え、分離された各グループの咬断片2a〜2cがそれぞれ容器101〜103の上面11aに載置される。これにより例えば小型の咬断片2cが大型の咬断片2aの影に隠れてセンサ部22で認識されなくなることを防止し、各々の咬断片2上に確実に測定点Pを設定できる。よって、全ての咬断片2に対し距離測定を行うことができ、評価値A1を精度よく算出することができる。   Thus, in 2nd Embodiment, in order to isolate | separate the bite fragment 2 into a some group according to the magnitude | size of the bite fragment 2, the some containers 101-103 from which the magnitude | size of opening part 101a, 102a differs are provided. The separated bite fragments 2a to 2c of each group are placed on the upper surface 11a of the containers 101 to 103, respectively. This prevents, for example, the small bite fragment 2c from being hidden by the shadow of the large bite fragment 2a and not being recognized by the sensor unit 22, and the measurement point P can be reliably set on each bite fragment 2. Therefore, distance measurement can be performed on all the bite fragments 2, and the evaluation value A1 can be calculated with high accuracy.

複数の容器101〜103は、各容器101〜103の上面11aの上方空間が開放されるように互いに水平方向の位置をずらして配置される。これにより、単一のセンサ部22を、移動機構を介して第1位置PS1、第2位置PS2および第3位置PS3へと順次移動させることで、各容器101〜103内の咬断片2の大きさを測定することができる。したがって、センサ部22の個数を増加させる必要がなく、安価に構成することができる。   The plurality of containers 101 to 103 are arranged with their horizontal positions shifted from each other so that the space above the upper surface 11a of each container 101 to 103 is opened. Thereby, the single sensor unit 22 is sequentially moved to the first position PS1, the second position PS2, and the third position PS3 via the moving mechanism, so that the size of the bite fragment 2 in each of the containers 101 to 103 is increased. Can be measured. Therefore, it is not necessary to increase the number of sensor units 22 and can be configured at low cost.

容器101〜103が下方にかけてすぼめられ、断面略V字形状を呈するようにしたので、各容器101〜103内に咬断片2が一列に並んで配置される。したがって、センサ部22による距離測定の範囲を狭い範囲に抑えることができる。よって、第2の実施形態のように複数の容器10のZ方向およびX方向の位置をずらして配置する場合においてセンサ部22の移動範囲が抑えられ、装置全体の大型化を防ぐことができる。   Since the containers 101 to 103 are depressed downward and have a substantially V-shaped cross section, the bite fragments 2 are arranged in a line in each of the containers 101 to 103. Therefore, the range of distance measurement by the sensor unit 22 can be suppressed to a narrow range. Therefore, when the positions of the plurality of containers 10 in the Z direction and the X direction are shifted as in the second embodiment, the movement range of the sensor unit 22 is suppressed, and the overall size of the apparatus can be prevented.

(変形例)
上記実施形態は種々の形態に変形することができる。例えば、上記第2の実施形態では、移動機構を介して、容器101〜103に対してセンサ部22を移動させるようにしたが、センサ部22に対して容器101〜103を移動させるようにしてもよい。あるいはセンサ部22と容器101〜103の両方を移動させるようにしてもよい。駆動機構110,120により、センサ部22を容器10に対してX方向(水平方向)およびZ方向(鉛直方向)に相対移動させるようにしたが、斜め方向に移動させるようにしてもよく、移動機構の構成は上述したものに限らない。
(Modification)
The above embodiment can be modified into various forms. For example, in the second embodiment, the sensor unit 22 is moved with respect to the containers 101 to 103 via the moving mechanism. However, the containers 101 to 103 are moved with respect to the sensor unit 22. Also good. Or you may make it move both the sensor part 22 and the containers 101-103. Although the drive mechanism 110, 120 moves the sensor unit 22 relative to the container 10 in the X direction (horizontal direction) and the Z direction (vertical direction), it may be moved in an oblique direction. The structure of the mechanism is not limited to that described above.

上記第2の実施形態では、所定幅ΔX1の開口部101aを有する第1容器101と、所定幅ΔX2(<ΔX1)の開口部102aを有する第2容器102と、開口部を有しない第3容器103とを、上下方向に一部が重なるように配置し、第1容器101に咬断片2を投入することにより、咬断片2の大きさに応じて咬断片2を複数のグループに分離するようにしたが、分離手段の構成はこれに限らない。各容器101〜103の上面11a(載置面)の上方空間が開放されるように互いに水平方向の位置をずらして容器101〜103を配置したが、各容器101〜103内の咬断片2のセンサ部22による距離測定が可能であれば、容器101〜103の配置はこれに限らない。容器10の個数も上述したものに限定されない。   In the second embodiment, the first container 101 having the opening 101a having the predetermined width ΔX1, the second container 102 having the opening 102a having the predetermined width ΔX2 (<ΔX1), and the third container having no opening. 103 are arranged so as to partially overlap in the vertical direction, and the bite fragment 2 is put into the first container 101 so that the bite fragment 2 is separated into a plurality of groups according to the size of the bite fragment 2. However, the configuration of the separating means is not limited to this. The containers 101 to 103 are arranged so as to be displaced from each other in the horizontal direction so that the space above the upper surface 11a (mounting surface) of each container 101 to 103 is opened. The arrangement of the containers 101 to 103 is not limited to this as long as the distance measurement by the sensor unit 22 is possible. The number of containers 10 is not limited to that described above.

上記第1の実施形態では、被験者により咀嚼された試験食の咬断片2が載置される載置面(上面11a)を有する測定台として、底壁11と側壁12とを有する容器10を用い、第2の実施形態では、下方にかけてすぼめられた断面略V字形状の容器を用いたが、測定台の構成は上述したものに限らない。上記実施形態では、センサ部22として赤外線カメラ(受光部22B)を用いが、載置面から所定距離L0だけ離れた測定位置から、載置面上の咬断片2までの距離情報を取得するのであれば、距離情報取得手段の構成はいかなるものもよい。載置面に対向して赤外線距離センサを配置したが、レーザー距離センサ等、他の距離センサを配置してもよい。センサ部22を有するセンサユニット20をソケット4に取り付けるようにしたが、センサ部22の取付部の構成はこれに限らない。センサ部22からの信号をコントローラ30に無線で送信するようにしたが、有線で送信してもよい。   In the said 1st Embodiment, the container 10 which has the bottom wall 11 and the side wall 12 is used as a measurement stand which has the mounting surface (upper surface 11a) in which the bite piece 2 of the test meal masticated by the test subject is mounted. In the second embodiment, a container having a substantially V-shaped cross section that is recessed downward is used, but the configuration of the measurement table is not limited to that described above. In the above embodiment, an infrared camera (light receiving unit 22B) is used as the sensor unit 22, but distance information from the measurement position separated by a predetermined distance L0 from the placement surface to the bite fragment 2 on the placement surface is acquired. If so, any configuration of the distance information acquisition means may be used. Although the infrared distance sensor is arranged facing the mounting surface, other distance sensors such as a laser distance sensor may be arranged. Although the sensor unit 20 having the sensor portion 22 is attached to the socket 4, the configuration of the attachment portion of the sensor portion 22 is not limited thereto. Although the signal from the sensor unit 22 is wirelessly transmitted to the controller 30, it may be transmitted by wire.

上記実施形態では、コントローラ30が、センサ部22により取得された距離情報に対応する咬断片2の分布を評価値A1として導出したが、取得された距離情報に基づき咀嚼能力を評価するための評価値を導出するのであれば、評価値導出手段としてのコントローラ30の構成はいかなるものでもよい。センサ部22からの信号により個々の咬断片2の形状を特定し、これを評価値A1として用いてもよい。例えば距離測定値がL0となる測定点Pは容器10の上面11aにあるものとして、上面11aの複数の測定点Pによって囲まれた領域を単一の咬断片2であると判定し、咬断片2の形状を特定するようにしてもよい。   In the above embodiment, the controller 30 derives the distribution of the bite fragment 2 corresponding to the distance information acquired by the sensor unit 22 as the evaluation value A1, but the evaluation for evaluating the masticatory ability based on the acquired distance information. As long as the value is derived, any configuration of the controller 30 as the evaluation value deriving unit may be used. The shape of each bite fragment 2 may be specified by a signal from the sensor unit 22 and used as the evaluation value A1. For example, assuming that the measurement point P at which the distance measurement value is L0 is on the upper surface 11a of the container 10, the region surrounded by the plurality of measurement points P on the upper surface 11a is determined as the single bite fragment 2, and the bite fragment The shape of 2 may be specified.

以上の説明はあくまで一例であり、本発明の特徴を損なわない限り、上述した実施形態および変形例により本発明が限定されるものではない。上記実施形態および変形例の構成要素には、発明の同一性を維持しつつ置換可能かつ置換自明なものが含まれる。すなわち、本発明の技術的思想の範囲内で考えられる他の形態についても、本発明の範囲内に含まれる。また、上記実施形態と変形例の1つまたは複数、または変形例同士を任意に組み合わせることも可能である。   The above description is merely an example, and the present invention is not limited to the above-described embodiments and modifications unless the features of the present invention are impaired. The constituent elements of the embodiment and the modified examples include those that can be replaced while maintaining the identity of the invention and that are obvious for replacement. That is, other forms conceivable within the scope of the technical idea of the present invention are also included in the scope of the present invention. Moreover, it is also possible to arbitrarily combine one or more of the above-described embodiments and modified examples, or modified examples.

2 咬断片、10 容器、11a 上面、22 センサ部、30 コントローラ、A1 評価値、L0 距離、100,100A 咀嚼能力評価装置 2 bite fragment, 10 container, 11a upper surface, 22 sensor unit, 30 controller, A1 evaluation value, L0 distance, 100, 100A mastication ability evaluation device

Claims (6)

被験者により咀嚼された試験食の咬断片が載置される載置面を有する測定台と、
前記載置面から所定距離だけ離れた測定位置から、前記載置面上の前記咬断片までの距離情報を取得する距離情報取得手段と、
前記距離情報取得手段により取得された距離情報に基づき、咀嚼能力を評価するための評価値を導出する評価値導出手段と、を備えることを特徴とする咀嚼能力評価装置。
A measuring table having a mounting surface on which the bite piece of the test meal chewed by the subject is mounted;
Distance information acquisition means for acquiring distance information from the measurement position away from the placement surface by a predetermined distance to the bite fragment on the placement surface;
An evaluation value deriving unit for deriving an evaluation value for evaluating the mastication ability based on the distance information acquired by the distance information acquisition unit.
請求項1に記載の咀嚼能力評価装置において、
前記距離情報取得手段は、前記載置面に対向して配置された距離センサを有することを特徴とする咀嚼能力評価装置。
The masticatory ability evaluation apparatus according to claim 1,
The distance information acquisition unit includes a distance sensor arranged to face the placement surface, and a masticatory ability evaluation device.
請求項1または2に記載の咀嚼能力評価装置において、
前記評価値導出手段は、前記距離情報取得手段により取得された距離情報に対応する前記咬断片の大きさの分布を前記評価値として導出することを特徴とする咀嚼能力評価装置。
In the masticatory ability evaluation apparatus according to claim 1 or 2,
The evaluation value deriving unit derives a size distribution of the bite fragment corresponding to the distance information acquired by the distance information acquiring unit as the evaluation value.
請求項1〜3のいずれか1項に記載の咀嚼能力評価装置において、
前記咬断片の大きさに応じて前記咬断片を複数のグループに分離する分離手段をさらに備え、前記測定台は、前記分離手段により分離された各グループの前記咬断片がそれぞれ載置される複数の載置面を有することを特徴とする咀嚼能力評価装置。
In the masticatory ability evaluation apparatus according to any one of claims 1 to 3,
Separating means for separating the bite fragment into a plurality of groups according to the size of the bite fragment is further provided, and the measuring table is a plurality of the bite fragments of each group separated by the separating means are respectively mounted. A masticatory ability evaluation apparatus having a mounting surface.
請求項4に記載の咀嚼能力評価装置において、
前記複数の載置面は、各々の載置面の上方空間が開放されるように互いに水平方向の位置をずらして配置されることを特徴とする咀嚼能力評価装置。
In the chewing ability evaluation apparatus according to claim 4,
The masticatory ability evaluation device according to claim 1, wherein the plurality of placement surfaces are arranged so as to be displaced from each other in a horizontal direction so that an upper space of each placement surface is opened.
請求項1〜5のいずれか1項に記載の咀嚼能力評価装置において、
前記測定台は、下方にかけてすぼめられ、断面V字形状を呈することを特徴とする咀嚼能力評価装置。
In the masticatory ability evaluation apparatus according to any one of claims 1 to 5,
The masticatory ability evaluation apparatus according to claim 1, wherein the measurement table is depressed downward and has a V-shaped cross section.
JP2016087626A 2016-04-26 2016-04-26 Chewing ability evaluation device Active JP6637828B2 (en)

Priority Applications (1)

Application Number Priority Date Filing Date Title
JP2016087626A JP6637828B2 (en) 2016-04-26 2016-04-26 Chewing ability evaluation device

Applications Claiming Priority (1)

Application Number Priority Date Filing Date Title
JP2016087626A JP6637828B2 (en) 2016-04-26 2016-04-26 Chewing ability evaluation device

Publications (2)

Publication Number Publication Date
JP2017196002A true JP2017196002A (en) 2017-11-02
JP6637828B2 JP6637828B2 (en) 2020-01-29

Family

ID=60236683

Family Applications (1)

Application Number Title Priority Date Filing Date
JP2016087626A Active JP6637828B2 (en) 2016-04-26 2016-04-26 Chewing ability evaluation device

Country Status (1)

Country Link
JP (1) JP6637828B2 (en)

Citations (4)

* Cited by examiner, † Cited by third party
Publication number Priority date Publication date Assignee Title
JP2011103586A (en) * 2009-11-11 2011-05-26 Examastica:Kk Photographing apparatus and image processing method for image photographed by the same
JP2012045196A (en) * 2010-08-27 2012-03-08 Osaka Univ Masticatory ability measuring device
WO2012060353A1 (en) * 2010-11-05 2012-05-10 株式会社エグザマスティカ Imaging device, method for processing images captured by said imaging device, and image capture system
DE102016107689A1 (en) * 2016-04-26 2017-10-26 Bredent Medical Gmbh & Co. Kg Method for evaluating a purchase function test

Patent Citations (4)

* Cited by examiner, † Cited by third party
Publication number Priority date Publication date Assignee Title
JP2011103586A (en) * 2009-11-11 2011-05-26 Examastica:Kk Photographing apparatus and image processing method for image photographed by the same
JP2012045196A (en) * 2010-08-27 2012-03-08 Osaka Univ Masticatory ability measuring device
WO2012060353A1 (en) * 2010-11-05 2012-05-10 株式会社エグザマスティカ Imaging device, method for processing images captured by said imaging device, and image capture system
DE102016107689A1 (en) * 2016-04-26 2017-10-26 Bredent Medical Gmbh & Co. Kg Method for evaluating a purchase function test

Non-Patent Citations (3)

* Cited by examiner, † Cited by third party
Title
A.VAN DER BILT ET AL.: "A COMPARISON BETWEEN SIEVING AND OPTICAL SCANNING FOR THE DETERMINATION OF PARTICLE SIZE DISTRIBUTIO", ARCHIVES OF ORAL BIOLOGY, vol. 38, no. 2, JPN5019003630, February 1993 (1993-02-01), pages 159 - 162, ISSN: 0004172012 *
K. SUGIMOTO ET AL.: "New image analysis of large food particles can discriminate experimentally suppressed mastication", JOURNAL OF ORAL REHABILITATION, vol. Vol.39,Issue.6, JPN5019003631, June 2012 (2012-06-01), pages 405 - 410, ISSN: 0004172013 *
W.A.MAHMOOD ET AL.: "Use of Image Analysis in Determining Masticatory Efficiency in Patients Presenting for Immediate Den", THE INTERNATIONAL JOURNAL OF PROSTHODONTICS, vol. 5, no. 4, JPN5019003629, July 1992 (1992-07-01), US, pages 359 - 366, ISSN: 0004172014 *

Also Published As

Publication number Publication date
JP6637828B2 (en) 2020-01-29

Similar Documents

Publication Publication Date Title
US9104981B2 (en) Robot teaching system and method using imaging based on training position
US11420330B2 (en) Robot control device, robot, and simulation device
JP2011186928A (en) Information processing appratus and control method thereof
JP6875010B2 (en) Tactile information conversion device, tactile information conversion method, and tactile information conversion program
JP6334276B2 (en) Rehabilitation support system
EP2005887B1 (en) Gait assessment system
EP4002385A2 (en) Motor task analysis system and method
EP3123943B1 (en) Detection device and detection method
JP2010200856A (en) Jaw motion measurement system
JP2020192640A (en) Control device, control system, mechanical device system and control method
CN1774206A (en) Acceleration sensor axis information correction device and correction method thereof
JP6372198B2 (en) Robot system and processing apparatus
JP2006006896A (en) Driving apparatus for three-dimensional scanning system and three-dimensional scanning system for computer modelling of tooth using the same
JP6834614B2 (en) Information processing equipment, information processing methods, and programs
JP2017196002A (en) Masticatory ability evaluation device
CN114845618A (en) Computer-assisted surgery system, surgery control apparatus, and surgery control method
US20250113986A1 (en) Intraoral camera, illumination control device, and illumination control method
JP2019118993A (en) Robot, self-diagnostic program and self-diagnostic method
Hsieh et al. A wearable walking monitoring system for gait analysis
JP2018108167A (en) Visual function test apparatus, visual function test method, and computer program
JP7027958B2 (en) Evaluation device, evaluation method, and evaluation program
JP5175916B2 (en) Parts search system
KR20210041402A (en) Glove-type Motion Recognizing Apparatus Capable of Inspecting Sensor Faults and Recognizing Method thereof
EP4295749A1 (en) Intraoral camera system and photography operation determination method
KR20220149923A (en) Grass module for golf swing training and operating method thereof

Legal Events

Date Code Title Description
A621 Written request for application examination

Free format text: JAPANESE INTERMEDIATE CODE: A621

Effective date: 20190313

TRDD Decision of grant or rejection written
A01 Written decision to grant a patent or to grant a registration (utility model)

Free format text: JAPANESE INTERMEDIATE CODE: A01

Effective date: 20191210

A977 Report on retrieval

Free format text: JAPANESE INTERMEDIATE CODE: A971007

Effective date: 20191213

A61 First payment of annual fees (during grant procedure)

Free format text: JAPANESE INTERMEDIATE CODE: A61

Effective date: 20191223

R150 Certificate of patent or registration of utility model

Ref document number: 6637828

Country of ref document: JP

Free format text: JAPANESE INTERMEDIATE CODE: R150

R250 Receipt of annual fees

Free format text: JAPANESE INTERMEDIATE CODE: R250

R250 Receipt of annual fees

Free format text: JAPANESE INTERMEDIATE CODE: R250

R250 Receipt of annual fees

Free format text: JAPANESE INTERMEDIATE CODE: R250

R250 Receipt of annual fees

Free format text: JAPANESE INTERMEDIATE CODE: R250