JP2016060978A - Pelvis support appliance - Google Patents

Pelvis support appliance Download PDF

Info

Publication number
JP2016060978A
JP2016060978A JP2014187918A JP2014187918A JP2016060978A JP 2016060978 A JP2016060978 A JP 2016060978A JP 2014187918 A JP2014187918 A JP 2014187918A JP 2014187918 A JP2014187918 A JP 2014187918A JP 2016060978 A JP2016060978 A JP 2016060978A
Authority
JP
Japan
Prior art keywords
belt
elastic belt
iliac
free ends
spats
Prior art date
Legal status (The legal status is an assumption and is not a legal conclusion. Google has not performed a legal analysis and makes no representation as to the accuracy of the status listed.)
Granted
Application number
JP2014187918A
Other languages
Japanese (ja)
Other versions
JP5959123B2 (en
Inventor
八大 ▲土▼屋
八大 ▲土▼屋
Hachidai Tsuchiya
美代子 片岡
Miyoko Kataoka
美代子 片岡
Current Assignee (The listed assignees may be inaccurate. Google has not performed a legal analysis and makes no representation or warranty as to the accuracy of the list.)
You Co Ltd
Original Assignee
You Co Ltd
Priority date (The priority date is an assumption and is not a legal conclusion. Google has not performed a legal analysis and makes no representation as to the accuracy of the date listed.)
Filing date
Publication date
Application filed by You Co Ltd filed Critical You Co Ltd
Priority to JP2014187918A priority Critical patent/JP5959123B2/en
Publication of JP2016060978A publication Critical patent/JP2016060978A/en
Application granted granted Critical
Publication of JP5959123B2 publication Critical patent/JP5959123B2/en
Active legal-status Critical Current
Anticipated expiration legal-status Critical

Links

Images

Landscapes

  • Corsets Or Brassieres (AREA)
  • Orthopedics, Nursing, And Contraception (AREA)

Abstract

PROBLEM TO BE SOLVED: To provide pelvis support appliances correctively supporting the pelvis on a right position by a repulsive force while applying to the iliac bone/sacral/hip joint of the human body, allowing a user to effectively demonstrate a motor function, and suitable for athletes of various kind of sports.SOLUTION: There are included: a stretchable spat body 2 covering a waist part 12 and a thigh part 13; an upper stage non-elastic belt 4 sewn on the back external surface of the spat body 2 so as to cover both iliac bones 16 and the sacral 17; and a lower stage elastic belt 7 sewn on the back internal surface of the spat body 2 so as to cover both hip joints 19 and both iliac bones 16, and having both free ends projected to both outsides of the spat body 2. The spat body 2 is worn on the human body, both free ends of the upper stage non-elastic belt 4 are wound around the waist part along both iliac bones 16 and the sacral 17, and both free ends of the lower stage elastic belt 7 are engaged with the upper stage non-elastic belt 4 through engaging members 5 and 8 while being pulled in a cross state from both hip joints 19 along both iliac bones 16.SELECTED DRAWING: Figure 1

Description

本発明は、骨盤サポ−ト装具に関し、さらに詳細には、骨盤を常に正しい位置に矯正的
にサポ−トせしめつつ運動機能を有効に発揮せしめることが出来る、各種スポ−ツのアス
リ−トに好適な骨盤サポ−ト装具に関する。
The present invention relates to a pelvic support orthosis, and more specifically, to an athlete of various sports that can exercise its function effectively while always supporting the pelvis in a correct position. The present invention relates to a suitable pelvic support brace.

一般に、現代人の大半は、運動不足による筋肉の弱体化と悪い姿勢の多い生活習慣によ
り骨盤が開いて後に傾斜している方が多く見受けられる。更に、中でも各種のスポ−ツの
アスリ−トには、競技によって差があるものの過度な運動などにより慢性的に腰痛を抱え
ている比率が極めて高いことも一般的に知られている。そして、腰痛だけにとどまらず様
々な慢性病を併発することが指摘されている。
In general, the majority of modern people are more likely to lean after opening the pelvis due to weak muscles due to lack of exercise and lifestyle habits with many bad postures. Furthermore, among athletes of various sports, it is generally known that the ratio of chronic low back pain due to excessive exercise is extremely high although there are differences depending on the competition. And it has been pointed out that not only low back pain but also various chronic illnesses occur.

ところで、かかる骨盤を矯正するサポ−ト装具としては、本願出願人が先に開示した骨
盤矯正ベルト、即ち、弾性を有する布地製でかつ主として腸骨および仙腸関節を覆う上段
ベルト片と、同弾性を有する布地製でかつ主として股関節を覆う下段ベルト片とを備え、
該上下段ベルト片の両端部は各々重合状態に結合されると共に、中間部分は複数の弾性を
有する布地製連結片により互いに連結され、かつ、上下段ベルト片の両端結合部どうしが
係着部材を介して着脱自在に連結すべく構成された基本構成を有する、骨盤矯正ベルトが
知られている(特許文献1、特許文献2、特許文献3参照)。
By the way, as a support device for correcting the pelvis, the pelvis correction belt disclosed by the applicant of the present application, that is, an upper belt piece made of elastic cloth and mainly covering the iliac and sacroiliac joints, A lower belt piece made of elastic cloth and mainly covering the hip joint,
Both ends of the upper and lower belt pieces are coupled in a superposed state, and the intermediate portions are connected to each other by a plurality of elastic fabric connecting pieces, and the both ends of the upper and lower belt pieces are engaged with each other. There is known a pelvic correction belt having a basic configuration that is configured to be detachably connected to each other (see Patent Document 1, Patent Document 2, and Patent Document 3).

そして、上述の如く構成された従来例は、上下段ベルト片を各々人体の腸骨・仙腸関節
・股関節個所に当てがいつつ、上下段ベルト片の両端結合部どうしを係着部材により適度
の締付け力でもって連結せしめることにより装着し、骨盤を常に正しい位置に安定せしめ
て矯正せしめるものである。
In the conventional example constructed as described above, the upper and lower belt pieces are respectively applied to the iliac, sacroiliac and hip joints of the human body, and the both ends of the upper and lower belt pieces are connected to each other by an engaging member. The pelvis is always fixed in the correct position and corrected by being connected with a tightening force.

特開平11−56887号公報Japanese Patent Laid-Open No. 11-56887 特開2001−87295号公報JP 2001-87295 A 特開2010−115303号公報JP 2010-115303 A

ところで、上記従来例は、単に弾性を有する2本の上下段ベルト片を人体の腸骨・仙腸
関節・股関節個所に当てがいつつその弾発力により締付けて矯正的にサポ−トするもので
、肌に直接着用するものであるため着用後のサイズ調節などが困難であることと、腰の左
右から4本の巾広い弾性ベルト片で緊締するため、装着後は表面にひびく(上着の表面に
下着の形が出て見苦しいこと)という難点があった。また、従来例では大腿部に弾性ベル
ト片のずりあがりを防ぐ幅7cmで面ファスナ−を用いて留める機能が備えてあるが、ア
スリ−トにとっては妨げになると共に美的感覚に欠けるという難点があった。
By the way, the above conventional example simply supports two upper and lower belt pieces having elasticity to the iliac, sacroiliac, and hip joints of the human body and tightens them by their elastic force to provide corrective support. Because it is worn directly on the skin, it is difficult to adjust the size after wearing, and it is tightened with four wide elastic belt pieces from the left and right sides of the waist. There was a difficulty in that the shape of underwear appeared on the surface and was unsightly. In addition, the conventional example has a function of fastening the elastic belt piece to the thigh with a width of 7 cm using a hook-and-loop fastener, but it has a drawback that it is an obstacle for an athlete and lacks an aesthetic sense. there were.

本発明は、従来例の課題を解決し、特に、アスリ−ト用に適した1本の下段弾性ベルト
で両腸骨並びに両股関節の4点を同時にサポ−トする構造となっている上に、競技中でも
必要に応じて上段非弾性ベルトと下段弾性ベルトは係着部材の調節で緊締パワ−の変更が
容易に出来るものである。また、伸縮性のスパッツ体を用いることで下段弾性ベルトの位
置がずり上がることがなくなった。そのため、人体の腸骨・仙骨・股関節個所に各々当て
がいつつ適正な弾発力でもって常に骨盤を正しい位置に矯正的にサポ−トせしめ、スム−
ズに運動機能を有効に発揮せしめることが出来る、各種スポ−ツのアスリ−トに好適な骨
盤サポ−ト装具を提供しようとするものである。
The present invention solves the problems of the prior art, and in particular, has a structure that supports four points of both iliac bones and both hip joints simultaneously with one lower elastic belt suitable for athletes. Even during the competition, if necessary, the upper inelastic belt and the lower elastic belt can be easily changed in tightening power by adjusting the engaging member. Moreover, the position of the lower elastic belt is not raised by using the stretchable spats body. For this reason, the pelvis is always supported in the correct position with proper elasticity while being applied to the iliac, sacral, and hip joints of the human body.
It is an object of the present invention to provide a pelvic support brace suitable for athletes of various sports that can effectively exert motor functions.

上記の課題を解決するため、本願請求項1記載の発明は、腰部および大腿部を覆うべく
両側一対のベルト挿通口付き伸縮性スパッツ体と、両腸骨および仙骨を覆うべく該スパッ
ツ体背部の外面中心に沿って略スポット状に縫着された上段非弾性ベルトと、両股関節お
よび両腸骨を覆うべくスパッツ体背部の内面中心に沿って略スポット状に縫着されると共
に、その両自由端がベルト挿通口を通して各々外方に突設せしめられてなる下段弾性ベル
トとよりなり、上記スパッツ体を人体に着用せしめつつ、上段非弾性ベルトの両自由端を
各々両腸骨および仙骨に沿って腰部に巻付けると共に、下段弾性ベルトの両自由端を各々
両股関節から両腸骨に沿って交差状に引張せしめつつ、対応する上段非弾性ベルトに係着
部材を介して係着せしめるべく構成されてなることを特徴とする、骨盤サポ−ト装具を要
旨とするものである。
In order to solve the above-mentioned problems, the invention described in claim 1 of the present application includes a pair of elastic spats with belt insertion openings on both sides to cover the waist and thighs, and the back of the spats to cover both iliac bones and sacrum. The upper inelastic belt sewn in a substantially spot shape along the center of the outer surface of the body, and a substantially spot-shaped sewn along the center of the inner surface of the back of the spats to cover both hip joints and both iliac bones. It consists of a lower elastic belt with its free ends protruding outwards through the belt insertion openings, and both free ends of the upper inelastic belt are attached to both the iliac and sacrum while allowing the human body to wear the spats body. The lower elastic belts are wound around the waist and pulled together in the cross shape along both iliac bones from both hip joints, and are engaged with the corresponding upper inelastic belts via the engaging members. Made is characterized by comprising, pelvic support - it is an gist the door brace.

本願請求項2記載の発明は、上段非弾性ベルトの両自由端外面には下段弾性ベルトの係
着位置決め用目盛部が各々形成されてなることを特徴とする、請求項1記載の骨盤サポ−
ト装具を要旨とするものである。
The invention according to claim 2 of the present application is characterized in that the scales for engaging and positioning the lower elastic belt are respectively formed on the outer surfaces of both free ends of the upper inelastic belt.
The gist is a glove.

本願請求項3記載の発明は、スパッツ体の背部内面には仙腸関節をサポ−トすべく仙骨
サポ−タ−が取着されてなることを特徴とする、請求項1または2記載の骨盤サポ−ト装
具を要旨とするものである。
The invention according to claim 3 of the present application is characterized in that a sacral supporter is attached to the inner surface of the back part of the spats body in order to support the sacroiliac joint. The gist is a support brace.

本発明の請求項1記載の発明は、上述のように構成されているから、特に、アスリ−ト
用に適した1本の下段弾性ベルトで両腸骨並びに両股関節の4点を同時にサポ−トする構
造となっている上に、競技中でも必要に応じて上段非弾性ベルトと下段弾性ベルトは係着
部材の調節で緊締パワ−の変更が容易に出来るものである。また、伸縮性のスパッツ体を
用いることで下段弾性ベルトの位置がずり上がることがなくなった。そのため、上段非弾
性ベルトおよび下段弾性ベルトを人体の各々腸骨・仙骨・股関節に当てがいつつ、交差状
に引張する下段弾性ベルトの適正な弾発力でもって骨盤を正しい位置に矯正的にサポ−ト
せしめ、スム−ズに運動機能を有効に発揮せしめることが出来るのみならず、良好な着用
感を呈するものである。
Since the invention according to claim 1 of the present invention is constructed as described above, it is possible to support four iliac bones and both hip joints at the same time with one lower elastic belt particularly suitable for athletes. In addition, the tightening power of the upper inelastic belt and the lower elastic belt can be easily changed by adjusting the engaging member as necessary even during the competition. Moreover, the position of the lower elastic belt is not raised by using the stretchable spats body. For this reason, the upper inelastic belt and the lower elastic belt are applied to the iliac, sacral, and hip joints of the human body, and the pelvis is corrected to the correct position with the appropriate elastic force of the lower elastic belt that pulls in a cross shape. -Not only can the smooth and smooth exercise function be exhibited effectively, but also exhibits a good wearing feeling.

本発明の請求項2記載の発明は、上述のように構成されているから、下段弾性ベルトは
目盛部を目印として引張せしめつつ上段非弾性ベルトに係着せしめることが出来るもので
あって、常に下段弾性ベルトの弾発力を調整せしめつつ容易に、しかも適正位置に係着せ
しめることが出来るものである。
Since the invention described in claim 2 of the present invention is configured as described above, the lower elastic belt can be engaged with the upper inelastic belt while being pulled using the scale portion as a mark, The elastic force of the lower elastic belt can be easily adjusted while being engaged at an appropriate position.

本発明の請求項3記載の発明は、上述のように構成されているから、仙骨サポ−タ−を
仙腸関節に当てがいつつ有効にサポ−トすることが出来るものである。
Since the invention according to claim 3 of the present invention is configured as described above, the sacral support can be effectively supported while being applied to the sacroiliac joint.

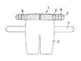
本発明の一実施例を示す一部を破砕した正面図である。It is the front view which fractured a part showing one example of the present invention. 本発明の一実施例を示す背面図である。It is a rear view which shows one Example of this invention. 図1のA−A線に沿う一部拡大断面図である。It is a partially expanded sectional view which follows the AA line of FIG. 実施例のスパッツ体2を着用せしめつつ、上段非弾性ベルト4の一端に下段弾性ベルト7の一端を係着せしめた使用状態を示す正面図である。It is a front view which shows the use condition which attached the end of the lower elastic belt 7 to the end of the upper inelastic belt 4 while wearing the spats body 2 of an Example. 実施例のスパッツ体2を着用せしめつつ、下段弾性ベルト7を交差状に引張せしめて上段非弾性ベルト4に係着せしめた使用状態を示す正面図である。It is a front view which shows the use condition which pulled the lower | lower elastic belt 7 in the cross shape and was engaged with the upper inelastic belt 4 while wearing the spats body 2 of an Example. 図5に示す使用状態の背面図である。It is a rear view of the use condition shown in FIG. 図5に示す使用状態の側面図である。It is a side view of the use condition shown in FIG.

以下に、本発明を実施するための形態を図面に示す一実施例に基づいて説明する。   EMBODIMENT OF THE INVENTION Below, the form for implementing this invention is demonstrated based on one Example shown on drawing.

図1〜図7は本発明の一実施例を示すもので、同図中、1は骨盤サポ−ト装具、2は該
骨盤サポ−ト装具1を構成する伸縮性スパッツ体で、該スパッツ体2は後記する人体11
の腰部12および大腿部13を覆う大きさにスパンテックスなどの伸縮性素材でもって形
成されると共に、両側に一対のベルト挿通口3が形成されている。4は後記する人体11
の両腸骨16および仙骨17を覆うべく該スパッツ体2の背部外面中心に沿って略スポッ
ト状に縫着された布地製の上段非弾性ベルト、5は該上段非弾性ベルト4の外面に止着さ
れた雄面ファスナ−、6は該雄面ファスナ−5の両端部に各々形成された後記する下段弾
性ベルト7の係着位置決め用目盛部で、該上段非弾性ベルト4の寸法は、例えば、M寸基
準として幅が約8cm、長さは縫着点を中心として左右に約30cmに設定せしめるとよ
い。7は後記する人体11の両股関節19および両腸骨16を覆うべくスパッツ体2の背
部内面中心に沿って略スポット状に縫着された下段弾性ベルト、8は上記上段非弾性ベル
ト4の雄面ファスナ−5に係着せしめるべく該下段弾性ベルト7の両端内面に各々止着さ
れた雌面ファスナ−で、該下段弾性ベルト7はポリウレタン繊維やアクリル繊維などの弾
性繊維でもって形成されると共に、該下段弾性ベルト7の寸法は、例えば、M寸基準とし
て幅が約8cm、長さは縫着点を中心として左右に約38cmに設定せしめるとよい。9
は後記する仙腸関節18をサポ−トすべくスパッツ体2の背部内面にポケット部材10を
介して取着されたシリコンなどの弾性部材よりなる仙骨サポ−タ−である。
1 to 7 show an embodiment of the present invention, in which 1 is a pelvic support device, 2 is an elastic spats body constituting the pelvis support device 1, and the spats body 2 is the human body 11 to be described later
The waist portion 12 and the thigh portion 13 are covered with a stretchable material such as spantex, and a pair of belt insertion openings 3 are formed on both sides. 4 is the human body 11 described later.
The upper inelastic belt 5 made of a cloth sewn in a substantially spot shape along the center of the outer surface of the back portion of the spats body 2 to cover both the iliac bone 16 and the sacrum 17 is fixed to the outer surface of the upper inelastic belt 4. The attached male surface fasteners 6 and 6 are engagement positioning scale portions of the lower elastic belt 7 to be described later formed at both ends of the male surface fastener 5, and the dimensions of the upper inelastic belt 4 are, for example, The width is about 8 cm as the M dimension standard, and the length is preferably about 30 cm on the left and right with the sewing point as the center. Reference numeral 7 denotes a lower elastic belt sewn in a substantially spot shape along the center of the inner surface of the back part of the spats body 2 so as to cover both hip joints 19 and both iliacs 16 of the human body 11, and 8 is a male of the upper inelastic belt 4. The lower elastic belt 7 is formed of elastic fibers such as polyurethane fiber and acrylic fiber, and is a female surface fastener fastened to the inner surfaces of both ends of the lower elastic belt 7 so as to be engaged with the surface fastener 5. The size of the lower elastic belt 7 may be set, for example, to a width of about 8 cm on the basis of the M dimension and a length of about 38 cm on the left and right with the sewing point as the center. 9
Is a sacral supporter made of an elastic member such as silicon attached to the back inner surface of the spats body 2 via the pocket member 10 to support the sacroiliac joint 18 described later.

その他、11は人体、12は該人体11の腰部、13は大腿部、14は骨盤、15は腰
椎、16は腸骨、17は仙骨、18は仙骨関節、19は股関節、20は大腿骨、21は恥
骨結合部を各々示す。
In addition, 11 is the human body, 12 is the lumbar region of the human body 11, 13 is the thigh, 14 is the pelvis, 15 is the lumbar spine, 16 is the iliac bone, 17 is the sacrum, 18 is the sacral joint, 19 is the hip joint, and 20 is the femur. , 21 indicates the pubic joint.

そして、上述の如く構成された骨盤サポ−ト装具1は、図4〜図7に図示するように、
先ず、スパッツ体2を人体11に着用せしめ、腰部12および大腿部13を被覆せしめる
と共に、仙骨サポ−タ−9を仙腸関節18に当てがいつつサポ−トせしめる。しかるのち
、上段非弾性ベルト4の両自由端を各々対応する両腸骨16および仙骨17に当てがいつ
つスパッツ体2の前部がわに巻付けると共に、下段弾性ベルト7の両自由端を各々両股関
節19から両腸骨16に沿って交差状に引張せしめ、その交差部に恥骨結合部21を挾み
こみつつ対応する上段非弾性ベルト4の自由端に雌雄面ファスナ−5・8を介して緊締状
に係着せしめることにより装着せしめる。
And the pelvis support device 1 configured as described above, as shown in FIGS.
First, the spats body 2 is worn on the human body 11 to cover the waist 12 and the thigh 13, and the sacral supporter 9 is supported while being applied to the sacroiliac joint 18. Thereafter, the front ends of the spats body 2 are wound around the crocodile while the free ends of the upper inelastic belt 4 are respectively applied to the corresponding iliac bones 16 and sacrum 17, and the free ends of the lower elastic belt 7 are respectively connected. The two hip joints 19 are pulled in a crossing manner along the iliac bones 16 and the pubic joint 21 is swallowed into the crossing portion, and the corresponding upper end of the inelastic belt 4 is inserted into the free end of the upper inelastic belt 4 via male and female face fasteners 5 and 8. Attach by tightening to the tightening shape.

このさい、骨盤サポ−ト装具1は着用する伸縮性のスパッツ体2により腰部11と大腿
部13に安定的に支持せしめることが出来るもので、下段弾性ベルト7の位置がずり上る
おそれがないのみならず、仙骨サポ−タ−9により仙腸関節18を有効にサポ−トするこ
とが出来るものである。また、上段非弾性ベルト4を両腸骨16および仙骨17に当てが
いつつ、下段弾性ベルト7を両股関節19から両腸骨16に沿って交差状に引張せしめ、
上段非弾性ベルト4に緊締状に係着せしめるものであるから、常に人体11の骨盤14、
特に両腸骨16並びに両股関節19を同時に左右から引張する下段弾性ベルト7の両自由
端でもって4点(両腸骨16と両股関節19)を矯正的にサポ−トせしめることが出来る
ものであり、ひいては、各種スポ−ツにおけるアスリ−トのスム−ズな運動機能を有効に
発揮せしめることが出来るものである。さらに、下段弾性ベルト7の係着は上段非弾性ベ
ルト4の目盛部6を目印として弾発力を調整せしめつつ容易に、しかも適正位置に係着せ
しめることが出来るのみならず、競技中においても必要に応じて適宜下段弾性ベルト7と
の係着位置を変更せしめて緊締力を調整することが出来るものである。
At this time, the pelvic support device 1 can be stably supported on the waist 11 and the thigh 13 by the stretchable spats 2 to be worn, and there is no possibility that the position of the lower elastic belt 7 is raised. In addition, the sacroiliac joint 18 can be effectively supported by the sacral supporter 9. Further, the upper elastic belt 4 is applied to both the iliac bone 16 and the sacrum 17 while the lower elastic belt 7 is pulled from both hip joints 19 along the both iliac bones 16 in a cross shape.
Since the upper inelastic belt 4 is engaged in a tightening shape, the pelvis 14 of the human body 11 is always
In particular, it is possible to support four points (both iliac bone 16 and both hip joints 19) in a corrective manner with both free ends of the lower elastic belt 7 that pulls both iliac bones 16 and both hip joints 19 from the left and right at the same time. Yes, as a result, the smooth motor function of athletes in various sports can be exhibited effectively. Furthermore, the lower elastic belt 7 can be easily engaged with an appropriate position while adjusting the elastic force using the scale 6 of the upper inelastic belt 4 as a mark, and also during the competition. The tightening force can be adjusted by changing the engagement position with the lower elastic belt 7 as needed.

なお、上記実施例において、上段非弾性ベルト4と下段弾性ベルト7の係着は雌雄面フ
ァスナ−5・8により行なうものとされているが、これに限定されるものではなく、例え
ば、雌雄カギホックなど公知の係着部材を使用してもよいものである。
In the above-described embodiment, the upper inelastic belt 4 and the lower elastic belt 7 are engaged by the male and female surface fasteners 5 and 8. However, the present invention is not limited to this. For example, a known engaging member may be used.

1 骨盤サポ−ト装具
2 スパッツ体
3 ベルト挿通口
4 上段非弾性ベルト
5 雄面ファスナ−
6 目盛部
7 下段弾性ベルト
8 雌面ファスナ−
9 仙骨サポ−タ−
11 人体
12 腰部
13 大腿部
14 骨盤
16 腸骨
17 仙骨
18 仙腸関節
19 股関節
DESCRIPTION OF SYMBOLS 1 Pelvic support orthosis 2 Spats body 3 Belt insertion port 4 Upper inelastic belt 5 Male fastener
6 Scale part 7 Lower elastic belt 8 Female face fastener
9 Sacral supporter
11 Human Body 12 Lumbar 13 Thigh 14 Pelvis 16 Ilium 17 Sacrum 18 Sacroiliac Joint 19 Hip Joint

本発明は、骨盤サポト装具に関し、さらに詳細には、骨盤を常に正しい位置に矯正的
にサポトせしめつつ運動機能を有効に発揮せしめることが出来る、各種スポツのアス
トに好適な骨盤サポト装具に関する。
The present invention relates to a pelvic support brace, and more particularly, pelvic corrective manner can be allowed to effectively exhibit the motor function while brought support always in the correct position, various sports of Ass <br / > of the preferred pelvic support equipment to re-over door.

一般に、現代人の大半は、運動不足による筋肉の弱体化と悪い姿勢の多い生活習慣によ
り骨盤が開いて後に傾斜している方が多く見受けられる。更に、中でも各種のスポツの
アスリトには、競技によって差があるものの過度な運動などにより慢性的に腰痛を抱え
ている比率が極めて高いことも一般的に知られている。そして、腰痛だけにとどまらず様
々な慢性病を併発することが指摘されている。
In general, the majority of modern people are more likely to lean after opening the pelvis due to weak muscles due to lack of exercise and lifestyle habits with many bad postures. Furthermore, the <br/> athlete preparative inter alia various sports, the ratio are having chronic low back pain due excessive movement although there is a difference between the competition is also known generally very high that Yes. And it has been pointed out that not only low back pain but also various chronic illnesses occur.

ところで、かかる骨盤を矯正するサポト装具としては、本願出願人が先に開示した骨
盤矯正ベルト、即ち、弾性を有する布地製でかつ主として腸骨および仙腸関節を覆う上段
ベルト片と、同弾性を有する布地製でかつ主として股関節を覆う下段ベルト片とを備え、
該上下段ベルト片の両端部は各々重合状態に結合されると共に、中間部分は複数の弾性を
有する布地製連結片により互いに連結され、かつ、上下段ベルト片の両端結合部どうしが
係着部材を介して着脱自在に連結すべく構成された基本構成を有する、骨盤矯正ベルトが
知られている(特許文献1、特許文献2、特許文献3参照)。
Meanwhile, the support brace to correct such pelvis, correct pelvic belt present applicant previously disclosed, i.e., the upper belt panels for covering the fabric made a and predominantly iliac and sacroiliac joints having elasticity, the A lower belt piece made of elastic cloth and mainly covering the hip joint,
Both ends of the upper and lower belt pieces are coupled in a superposed state, and the intermediate portions are connected to each other by a plurality of elastic fabric connecting pieces, and the both ends of the upper and lower belt pieces are engaged with each other. There is known a pelvic correction belt having a basic configuration that is configured to be detachably connected to each other (see Patent Document 1, Patent Document 2, and Patent Document 3).

そして、上述の如く構成された従来例は、上下段ベルト片を各々人体の腸骨・仙腸関節
・股関節個所に当てがいつつ、上下段ベルト片の両端結合部どうしを係着部材により適度
の締付け力でもって連結せしめることにより装着し、骨盤を常に正しい位置に安定せしめ
て矯正せしめるものである。
In the conventional example constructed as described above, the upper and lower belt pieces are respectively applied to the iliac, sacroiliac and hip joints of the human body, and the both ends of the upper and lower belt pieces are connected to each other by an engaging member. The pelvis is always fixed in the correct position and corrected by being connected with a tightening force.

特開平11−56887号公報Japanese Patent Laid-Open No. 11-56887 特開2001−87295号公報JP 2001-87295 A 特開2010−115303号公報JP 2010-115303 A

ところで、上記従来例は、単に弾性を有する2本の上下段ベルト片を人体の腸骨・仙腸
関節・股関節個所に当てがいつつその弾発力により締付けて矯正的にサポトするもので
、肌に直接着用するものであるため着用後のサイズ調節などが困難であることと、腰の左
右から4本の巾広い弾性ベルト片で緊締するため、装着後は表面にひびく(上着の表面に
下着の形が出て見苦しいこと)という難点があった。また、従来例では大腿部に弾性ベル
ト片のずりあがりを防ぐ幅7cmで面ファスナを用いて留める機能が備えてあるが、ア
スリトにとっては妨げになると共に美的感覚に欠けるという難点があった。
However, the conventional example, merely correcting manner support tightened by the elastic force over the two lower belt piece while There are applied to the human body iliac-sacroiliac joint and hip joint locations with elastic Because it is worn directly on the skin, it is difficult to adjust the size after wearing, and it is tightened with four wide elastic belt pieces from the left and right sides of the waist. There was a difficulty in that the shape of underwear appeared on the surface and was unsightly. Further, aesthetics with but in the prior art are provided with the ability to keep using the fastener over a width 7cm prevent ride up the elastic belt piece thigh, hinder for the A <br/> Seri over preparative There was a difficulty of lacking.

本発明は、従来例の課題を解決し、特に、アスリト用に適した1本の下段弾性ベルト
で両腸骨並びに両股関節の4点を同時にサポトする構造となっている上に、競技中でも
必要に応じて上段非弾性ベルトと下段弾性ベルトは係着部材の調節で緊締パワの変更が
容易に出来るものである。また、伸縮性のスパッツ体を用いることで下段弾性ベルトの位
置がずり上がることがなくなった。そのため、人体の腸骨・仙骨・股関節個所に各々当て
がいつつ適正な弾発力でもって常に骨盤を正しい位置に矯正的にサポトせしめ、スム
ズに運動機能を有効に発揮せしめることが出来る、各種スポツのアスリトに好適な骨
盤サポト装具を提供しようとするものである。
The present invention solves the problems of the prior art, in particular, on structured for simultaneously support one in the lower resilient belt 4 points of the two iliac and hip joints suitable for athlete preparative , upper optionally even during the competition inelastic belt and the lower elastic belt is one that can be changed easily tightening power over the regulation of the fastening members. Moreover, the position of the lower elastic belt is not raised by using the stretchable spats body. For this reason, it allowed corrective to support always the pelvis in the correct position with at an appropriate resilient force while There are respectively applied to the human body of the iliac-sacral-hip place, to enable the motor function in Smoothing <br/>'s can be allowed to demonstrate, it is intended to provide suitable pelvic support equipment to the athlete door of various sports.

上記の課題を解決するため、本願請求項1記載の発明は、腰部および大腿部を覆うべく
両側一対のベルト挿通口付き伸縮性スパッツ体と、両腸骨および仙骨を覆うべく該スパッ
ツ体背部の外面中心に一部が縫着されると共に両端が自由端とされてなる係着部材付き上段非弾性ベルトと、両股関節および両腸骨を覆うべくスパッツ体背部の内面中心に一部が縫着されると共に両端が自由端とされ、該両自由端がベルト挿通口を通して各々外方に突設せしめられてなる係着部材付き下段弾性ベルトとよりなり、上記スパッツ体を人体に着用せしめつつ、上段非弾性ベルトの両自由端を各々両腸骨および仙骨に沿って腰部に巻付けると共に、下段弾性ベルトの両自由端を各々両股関節から両腸骨に沿って交差状に引張せしめつつ、対応する上段非弾性ベルトに係着部材を介して係着せしめるべく構成されてなることを特徴とする、骨盤サポト装具を要旨とするものである。
In order to solve the above-mentioned problems, the invention described in claim 1 of the present application includes a pair of elastic spats with belt insertion openings on both sides to cover the waist and thighs, and the back of the spats to cover both iliac bones and sacrum. and engaging member with the upper non-elastic belt Rutotomoni both ends part is sewed is formed by a free end to the outer surface center of the part on the inner surface center of the wheel pant body back is sewn to cover both hip joints and both iliac both ends being a free end while being worn, the free ends and more becomes each outwardly composed been brought projecting fastening members subscript variable elastic belt through the belt insertion opening, allowed wearing the tights body on the human body While wrapping both free ends of the upper inelastic belt around the lumbar region along both iliac and sacrum, while pulling the free ends of the lower elastic belt from both hip joints along both iliac bones The corresponding upper bullet Characterized by comprising configured to occupy clothed engaged via the fastening members to the belt, it is an gist pelvic support brace.

本願請求項2記載の発明は、上段非弾性ベルトの両自由端外面には下段弾性ベルトの係
着位置決め用目盛部が各々形成されてなることを特徴とする、請求項1記載の骨盤サポ
ト装具を要旨とするものである。
The invention of claim 2 wherein is characterized by comprising fastening positioning scale part of the lower elastic belt is respectively formed on both free ends the outer surface of the upper non-elastic belt, pelvic support over of claim 1, wherein <br/> The gist of the orthosis is.

本願請求項3記載の発明は、スパッツ体の背部内面には仙腸関節をサポトすべく仙骨
サポが取着されてなることを特徴とする、請求項1または2記載の骨盤サポト装
具を要旨とするものである。
The invention of claim 3, wherein the the back inner surface of the wheel pant body, characterized in that the sacral <br/> support COMPUTER Beku support over toss sacroiliac joints, which are mounted, according to claim 1 or pelvic support brace 2, wherein it is an gist.

本発明の請求項1記載の発明は、上述のように構成されているから、特に、アスリ
用に適した1本の下段弾性ベルトで両腸骨並びに両股関節の4点を同時にサポトする構
造となっている上に、競技中でも必要に応じて上段非弾性ベルトと下段弾性ベルトは係着
部材の調節で緊締パワの変更が容易に出来るものである。また、伸縮性のスパッツ体を
用いることで下段弾性ベルトの位置がずり上がることがなくなった。そのため、上段非弾
性ベルトおよび下段弾性ベルトを人体の各々腸骨・仙骨・股関節に当てがいつつ、交差状
に引張する下段弾性ベルトの適正な弾発力でもって骨盤を正しい位置に矯正的にサポ
せしめ、スムズに運動機能を有効に発揮せしめることが出来るのみならず、良好な着用
感を呈するものである。
The invention of claim 1, wherein the present invention from being configured as described above, in particular, at the same time support over one with lower elastic belt four points of both iliac and hip joints suitable for athlete preparative on which a preparative structures, upper inelastic belt and the lower elastic belt as necessary even during the competition are those that can be changed easily tightening power over the regulation of the fastening members. Moreover, the position of the lower elastic belt is not raised by using the stretchable spats body. Therefore, the upper inelastic belt and the lower elastic belt are applied to the iliac, sacral, and hip joints of the human body, and the pelvis is corrected to the correct position with the appropriate elastic force of the lower elastic belt that pulls in a cross shape. allowed over door, not only can be allowed to effectively exhibit the motor function in Smoothing's is one that exhibits a good feeling of wear.

本発明の請求項2記載の発明は、上述のように構成されているから、下段弾性ベルトは
目盛部を目印として引張せしめつつ上段非弾性ベルトに係着せしめることが出来るもので
あって、常に下段弾性ベルトの弾発力を調整せしめつつ容易に、しかも適正位置に係着せ
しめることが出来るものである。
Since the invention described in claim 2 of the present invention is configured as described above, the lower elastic belt can be engaged with the upper inelastic belt while being pulled using the scale portion as a mark, The elastic force of the lower elastic belt can be easily adjusted while being engaged at an appropriate position.

本発明の請求項3記載の発明は、上述のように構成されているから、仙骨サポ
仙腸関節に当てがいつつ有効にサポトすることが出来るものである。
Invention according to claim 3 of the present invention, because they are constructed as described above, in which the sacral support COMPUTER can effectively support while There are applied to the sacroiliac joints.

本発明の一実施例を示す一部を破砕した正面図である。It is the front view which fractured a part showing one example of the present invention. 本発明の一実施例を示す背面図である。It is a rear view which shows one Example of this invention. 図1のA−A線に沿う一部拡大断面図である。It is a partially expanded sectional view which follows the AA line of FIG. 実施例のスパッツ体2を着用せしめつつ、上段非弾性ベルト4の一端に下段弾性ベルト7の一端を係着せしめた使用状態を示す正面図である。It is a front view which shows the use condition which attached the end of the lower elastic belt 7 to the end of the upper inelastic belt 4 while wearing the spats body 2 of an Example. 実施例のスパッツ体2を着用せしめつつ、下段弾性ベルト7を交差状に引張せしめて上段非弾性ベルト4に係着せしめた使用状態を示す正面図である。It is a front view which shows the use condition which pulled the lower | lower elastic belt 7 in the cross shape and was engaged with the upper inelastic belt 4 while wearing the spats body 2 of an Example. 図5に示す使用状態の背面図である。It is a rear view of the use condition shown in FIG. 図5に示す使用状態の側面図である。It is a side view of the use condition shown in FIG.

以下に、本発明を実施するための形態を図面に示す一実施例に基づいて説明する。   EMBODIMENT OF THE INVENTION Below, the form for implementing this invention is demonstrated based on one Example shown on drawing.

図1〜図7は本発明の一実施例を示すもので、同図中、1は骨盤サポト装具、2は該
骨盤サポト装具1を構成する伸縮性スパッツ体で、該スパッツ体2は後記する人体11
の腰部12および大腿部13を覆う大きさにスパンテックスなどの伸縮性素材でもって形
成されると共に、両側に一対のベルト挿通口3が形成されている。4は後記する人体11
の両腸骨16および仙骨17を覆うべく該スパッツ体2の背部外面中心に一部が縫着されると共に両端が自由端とされてなる布地製の上段非弾性ベルト、5は該上段非弾性ベルト4の外面に止着された雄面ファスナ、6は該雄面ファスナ5の両端部に各々形成された後記する下段弾性ベルト7の係着位置決め用目盛部で、該上段非弾性ベルト4の寸法は
、例えば、M寸基準として幅が約8cm、長さは縫着点を中心として左右に約30cmに設定せしめるとよい。7は後記する人体11の両股関節19および両腸骨16を覆うべくスパッツ体2の背部内面中心に一部が縫着されると共に両端が自由端とされ、該両自由端がベルト挿通口3を通して各々外方に突設されてなる下段弾性ベルト、8は上記上段非弾性ベルト4の雄面ファスナ5に係着せしめるべく該下段弾性ベルト7の両端内面に各々止着された雌面ファスナで、該下段弾性ベルト7はポリウレタン繊維やアクリル繊維などの弾性繊維でもって形成されると共に、該下段弾性ベルト7の寸法は、例えば、M寸基準として幅が約8cm、長さは縫着点を中心として左右に約38cmに設定せしめるとよい。9は後記する仙腸関節18をサポトすべくスパッツ体2の背部内面にポケット部材10を介して取着されたシリコンなどの弾性部材よりなる仙骨サポである。
1 to 7 show an embodiment of the present invention, in the figure, 1 is pelvic support brace 2 in stretch tights constituting the pelvic support orthosis 1, the spats body 2 is the human body 11 to be described later
The waist portion 12 and the thigh portion 13 are covered with a stretchable material such as spantex, and a pair of belt insertion openings 3 are formed on both sides. 4 is the human body 11 described later.
An upper inelastic belt made of a fabric, part of which is sewn at the center of the outer surface of the back portion of the spats body 2 and having both ends as free ends to cover both the iliac bone 16 and the sacrum 17, outer surface secured to the Yumen fastener over the belt 4, 6 in the engaging positioning scale part of the lower elastic belt 7 to be described later are respectively formed on both end portions of said male surface fastener -5, upper stage inelastic belt For example, the dimension of 4 may be set to a width of about 8 cm with respect to the M dimension, and a length of about 30 cm to the left and right with the sewing point as the center. 7 Rutotomoni ends are part on the back inner surface center of the wheel pant member 2 to cover both hip 19 and both iliac 16 of the body 11 to be described later sewn is a free end, the both free ends of the belt insertion opening 3 each lower elastic belt formed by projecting outwards, 8 the upper inelastic belt 4 of Yumen each secured females surface fastener across the inner surface of the lower stage elastic belt 7 to occupy dressed engages the fastener -5 through The lower elastic belt 7 is formed of elastic fibers such as polyurethane fiber and acrylic fiber, and the size of the lower elastic belt 7 is, for example, a width of about 8 cm on the basis of the M dimension, and the length is sewn. It is good to set it to about 38 cm to the left and right with the point as the center. 9 is a sacral support COMPUTER made of an elastic member, such as attached silicon through the pocket member 10 the sacroiliac joint 18 to be described later to the back inside surface of the support over Tosu Beku spats body 2.

その他、11は人体、12は該人体11の腰部、13は大腿部、14は骨盤、15は腰
椎、16は腸骨、17は仙骨、18は仙骨関節、19は股関節、20は大腿骨、21は恥
骨結合部を各々示す。
In addition, 11 is the human body, 12 is the lumbar region of the human body 11, 13 is the thigh, 14 is the pelvis, 15 is the lumbar spine, 16 is the iliac bone, 17 is the sacrum, 18 is the sacral joint, 19 is the hip joint, and 20 is the femur. , 21 indicates the pubic joint.

そして、上述の如く構成された骨盤サポト装具1は、図4〜図7に図示するように、
先ず、スパッツ体2を人体11に着用せしめ、腰部12および大腿部13を被覆せしめる
と共に、仙骨サポ9を仙腸関節18に当てがいつつサポトせしめる。しかるのち
、上段非弾性ベルト4の両自由端を各々対応する両腸骨16および仙骨17に当てがいつ
つスパッツ体2の前部がわに巻付けると共に、下段弾性ベルト7の両自由端を各々両股関
節19から両腸骨16に沿って交差状に引張せしめ、その交差部に恥骨結合部21を挾み
こみつつ対応する上段非弾性ベルト4の自由端に雌雄面ファスナ5・8を介して緊締状
に係着せしめることにより装着せしめる。
As pelvic support orthosis 1 configured as described above is illustrated in FIGS. 4 to 7,
First, it allowed wear spats body 2 to the body 11, with allowed to cover the waist 12 and the thigh 13, the sacral support COMPUTER 9 allowed to support while There are against the sacroiliac joints 18. Thereafter, the front ends of the spats body 2 are wound around the crocodile while the free ends of the upper inelastic belt 4 are respectively applied to the corresponding iliac bones 16 and sacrum 17, and the free ends of the lower elastic belt 7 are respectively connected. tensile allowed to cross shape along the hip joints 19 on both iliac 16, through the male and female surface fastener over 5.8 the free end of the upper non-elastic belt 4 corresponding with crowded sandwiched the pubic symphysis 21 to its intersection Attach by tightening to the tightening shape.

このさい、骨盤サポト装具1は着用する伸縮性のスパッツ体2により腰部11と大腿
部13に安定的に支持せしめることが出来るもので、下段弾性ベルト7の位置がずり上る
おそれがないのみならず、仙骨サポ9により仙腸関節18を有効にサポトするこ
とが出来るものである。また、上段非弾性ベルト4を両腸骨16および仙骨17に当てが
いつつ、下段弾性ベルト7を両股関節19から両腸骨16に沿って交差状に引張せしめ、
上段非弾性ベルト4に緊締状に係着せしめるものであるから、常に人体11の骨盤14、
特に両腸骨16並びに両股関節19を同時に左右から引張する下段弾性ベルト7の両自由
端でもって4点(両腸骨16と両股関節19)を矯正的にサポトせしめることが出来る
ものであり、ひいては、各種スポツにおけるアスリトのスムズな運動機能を有効に
発揮せしめることが出来るものである。さらに、下段弾性ベルト7の係着は上段非弾性ベ
ルト4の目盛部6を目印として弾発力を調整せしめつつ容易に、しかも適正位置に係着せ
しめることが出来るのみならず、競技中においても必要に応じて適宜下段弾性ベルト7と
の係着位置を変更せしめて緊締力を調整することが出来るものである。
This again, pelvic support brace 1 as it can allowed to stably supported to the waist 11 and the thigh 13 by expansion and contraction of the spats body 2 to wear, there is no possibility that the position of the lower elastic belt 7 climb shear not only the one in which it is possible to effectively support the sacroiliac joint 18 by the sacrum support COMPUTER 9. Further, the upper elastic belt 4 is applied to both the iliac bone 16 and the sacrum 17 while the lower elastic belt 7 is pulled from both hip joints 19 along the both iliac bones 16 in a cross shape.
Since the upper inelastic belt 4 is engaged in a tightening shape, the pelvis 14 of the human body 11 is always
In particular those both iliac 16 and 4 points with both free ends of the lower elastic belt 7 to pull the right and left hip joints 19 simultaneously (both iliac 16 and hip joints 19) corrective manner can be allowed to support There is, thus, it is what can you allowed to effectively exhibit the athlete door of Smoothing's motor function in a variety of sports. Furthermore, the lower elastic belt 7 can be easily engaged with an appropriate position while adjusting the elastic force using the scale 6 of the upper inelastic belt 4 as a mark, and also during the competition. The tightening force can be adjusted by changing the engagement position with the lower elastic belt 7 as needed.

なお、上記実施例において、上段非弾性ベルト4と下段弾性ベルト7の係着は雌雄面フ
ァスナ5・8により行なうものとされているが、これに限定されるものではなく、例え
ば、雌雄カギホックなど公知の係着部材を使用してもよいものである。
In the above embodiment, engaging the upper non-elastic belt 4 and the lower elastic belt 7 is assumed to be performed by the male and female surface-off <br/> Asuna over 5.8, it is not limited thereto For example, a known engaging member such as a male and female key hook may be used.

1 骨盤サポト装具
2 スパッツ体
3 ベルト挿通口
4 上段非弾性ベルト
5 雄面ファスナ
6 目盛部
7 下段弾性ベルト
8 雌面ファスナ
9 仙骨サポ
11 人体
12 腰部
13 大腿部
14 骨盤
16 腸骨
17 仙骨
18 仙腸関節
19 股関節
1 pelvic support brace 2 spats body 3 belt insertion opening 4 upper inelastic belt 5 Yumen fastener -6 scale part 7 lower elastic belt 8 Mesmin fastener -9 sacral support COMPUTER 11 body 12 waist 13 thigh 14 Pelvis 16 iliac bone 17 sacrum 18 sacroiliac joint 19 hip joint

Claims (3)

腰部および大腿部を覆うべく両側一対のベルト挿通口付き伸縮性スパッツ体と、両腸骨
および仙骨を覆うべく該スパッツ体背部の外面中心に沿って略スポット状に縫着された上
段非弾性ベルトと、両股関節および両腸骨を覆うべくスパッツ体背部の内面中心に沿って
略スポット状に縫着されると共に、その両自由端がベルト挿通口を通して各々外方に突設
せしめられてなる下段弾性ベルトとよりなり、上記スパッツ体を人体に着用せしめつつ、
上段非弾性ベルトの両自由端を各々両腸骨および仙骨に沿って腰部に巻付けると共に、下
段弾性ベルトの両自由端を各々両股関節から両腸骨に沿って交差状に引張せしめつつ、対
応する上段非弾性ベルトに係着部材を介して係着せしめるべく構成されてなることを特徴
とする、骨盤サポ−ト装具。
A pair of elastic spats with a belt insertion opening on both sides to cover the waist and thighs, and upper inelasticity sewn in a spot shape along the center of the outer surface of the back of the spats to cover both iliacs and sacrum The belt is sewn in a substantially spot shape along the center of the inner surface of the back of the spats body so as to cover both hip joints and both iliac bones, and both free ends thereof protrude outwardly through the belt insertion opening. It consists of a lower elastic belt, allowing the human body to wear the spats body,
Wrap the free ends of the upper elastic belt along the iliac and sacrum around the lumbar region, and pull both free ends of the lower elastic belt from the hip joints along the iliac and cross each other. A pelvis support brace configured to be engaged with an upper inelastic belt via an engaging member.
上段非弾性ベルトの両自由端外面には下段弾性ベルトの係着位置決め用目盛部が各々形
成されてなることを特徴とする、請求項1記載の骨盤サポ−ト装具。
2. The pelvis support device according to claim 1, wherein a graduation portion for engaging and positioning the lower elastic belt is formed on the outer surfaces of both free ends of the upper inelastic belt.
スパッツ体の背部内面には仙腸関節をサポ−トすべく仙骨サポ−タ−が取着されてなる
ことを特徴とする、請求項1または2記載の骨盤サポ−ト装具。
3. The pelvic support device according to claim 1, wherein a sacral supporter is attached to the back inner surface of the spats body to support the sacroiliac joint.
JP2014187918A 2014-09-16 2014-09-16 Pelvic support orthosis Active JP5959123B2 (en)

Priority Applications (1)

Application Number Priority Date Filing Date Title
JP2014187918A JP5959123B2 (en) 2014-09-16 2014-09-16 Pelvic support orthosis

Applications Claiming Priority (1)

Application Number Priority Date Filing Date Title
JP2014187918A JP5959123B2 (en) 2014-09-16 2014-09-16 Pelvic support orthosis

Publications (2)

Publication Number Publication Date
JP2016060978A true JP2016060978A (en) 2016-04-25
JP5959123B2 JP5959123B2 (en) 2016-08-02

Family

ID=55797139

Family Applications (1)

Application Number Title Priority Date Filing Date
JP2014187918A Active JP5959123B2 (en) 2014-09-16 2014-09-16 Pelvic support orthosis

Country Status (1)

Country Link
JP (1) JP5959123B2 (en)

Cited By (4)

* Cited by examiner, † Cited by third party
Publication number Priority date Publication date Assignee Title
WO2018131231A1 (en) * 2017-01-16 2018-07-19 有限会社Q・O・L Sacrum-pressing implement and sacrum-pressing unit
JP2019055014A (en) * 2017-09-21 2019-04-11 トヨタ自動車株式会社 Orthosis
WO2021177221A1 (en) * 2020-03-03 2021-09-10 將 大舘 Pants with belt
KR20230158905A (en) * 2022-05-12 2023-11-21 이노엘에스티 주식회사 Waist protection belts for weight training

Citations (11)

* Cited by examiner, † Cited by third party
Publication number Priority date Publication date Assignee Title
JPS61176206U (en) * 1985-04-23 1986-11-04
JPH11253474A (en) * 1998-03-10 1999-09-21 Assist:Kk Corset belt
WO2002049549A1 (en) * 2000-12-20 2002-06-27 Shunichirou Ishii Lumbago treating girdle
JP2002238931A (en) * 2001-02-15 2002-08-27 Hiroshi Kinoshita Supporter for waist
JP3513750B2 (en) * 2000-03-31 2004-03-31 俊一郎 石井 Girdle for back pain treatment
JP3530787B2 (en) * 1999-09-28 2004-05-24 株式会社ユ− Pelvic correction belt
JP2004305600A (en) * 2003-04-09 2004-11-04 Kao Corp Disposable diapers
JP2006192260A (en) * 2004-12-13 2006-07-27 Koji Kato Pelvis correction girdle, pelvis correction spats, pelvis correction sweat pants, and their manufacturing methods
JP3974690B2 (en) * 1997-08-26 2007-09-12 株式会社ユ− Pelvic correction belt
JP4444359B2 (en) * 2004-12-13 2010-03-31 好司 加藤 Pelvic correction girdle
JP2010115303A (en) * 2008-11-12 2010-05-27 You Co Ltd Pelvis correcting belt

Patent Citations (11)

* Cited by examiner, † Cited by third party
Publication number Priority date Publication date Assignee Title
JPS61176206U (en) * 1985-04-23 1986-11-04
JP3974690B2 (en) * 1997-08-26 2007-09-12 株式会社ユ− Pelvic correction belt
JPH11253474A (en) * 1998-03-10 1999-09-21 Assist:Kk Corset belt
JP3530787B2 (en) * 1999-09-28 2004-05-24 株式会社ユ− Pelvic correction belt
JP3513750B2 (en) * 2000-03-31 2004-03-31 俊一郎 石井 Girdle for back pain treatment
WO2002049549A1 (en) * 2000-12-20 2002-06-27 Shunichirou Ishii Lumbago treating girdle
JP2002238931A (en) * 2001-02-15 2002-08-27 Hiroshi Kinoshita Supporter for waist
JP2004305600A (en) * 2003-04-09 2004-11-04 Kao Corp Disposable diapers
JP2006192260A (en) * 2004-12-13 2006-07-27 Koji Kato Pelvis correction girdle, pelvis correction spats, pelvis correction sweat pants, and their manufacturing methods
JP4444359B2 (en) * 2004-12-13 2010-03-31 好司 加藤 Pelvic correction girdle
JP2010115303A (en) * 2008-11-12 2010-05-27 You Co Ltd Pelvis correcting belt

Cited By (9)

* Cited by examiner, † Cited by third party
Publication number Priority date Publication date Assignee Title
WO2018131231A1 (en) * 2017-01-16 2018-07-19 有限会社Q・O・L Sacrum-pressing implement and sacrum-pressing unit
JP2019055014A (en) * 2017-09-21 2019-04-11 トヨタ自動車株式会社 Orthosis
WO2021177221A1 (en) * 2020-03-03 2021-09-10 將 大舘 Pants with belt
JP2021139060A (en) * 2020-03-03 2021-09-16 將 大舘 Pants with belt
CN115209846A (en) * 2020-03-03 2022-10-18 大馆将 Trousers with waistband
US12285057B2 (en) 2020-03-03 2025-04-29 Susumu ODATE Pants with belt
CN115209846B (en) * 2020-03-03 2026-01-02 大馆将 Pants with a belt
KR20230158905A (en) * 2022-05-12 2023-11-21 이노엘에스티 주식회사 Waist protection belts for weight training
KR102722745B1 (en) * 2022-05-12 2024-10-28 이노엘에스티 주식회사 Waist protection belts for weight training

Also Published As

Publication number Publication date
JP5959123B2 (en) 2016-08-02

Similar Documents

Publication Publication Date Title
US9161854B2 (en) Postpartum abdominal support
US10987534B2 (en) Exercise garment
JP5515395B2 (en) Posture improvement support clothing
JP2008279065A (en) Posture correction clothes
JP2004011055A (en) Corrective garment with crotch
US11344443B2 (en) Posture support device and method for supporting posture
US7241252B1 (en) Fitness wear with hidden back support
WO2005051110A1 (en) Corrective clothes with crotch
JP5959123B2 (en) Pelvic support orthosis
JP3189172B2 (en) Pelvis supporter
RU2753836C2 (en) Torso bandage and clothes with bandage
US20150032040A1 (en) Garment-Based System, Construction, and Method for Controllably Bracing a Knee
JP2015030922A (en) Bottom clothing
JP6037271B2 (en) Iliac crest belt
JPH11131306A (en) Belly supporter
KR200472601Y1 (en) A belt for correction of the pelvis
JP5592871B2 (en) Waist supporter
JP2020127701A (en) Posture correction implement and usage of same
JP3179944U (en) Hip supporter
JP6361463B2 (en) Pelvic belt
CN211560574U (en) Human body dynamic correction wearing coat
JPH08322865A (en) Pelvis stabilizing supported and pelvis stabilizing shorts
CN220832025U (en) Ankle protector
KR20120002087U (en) Body and posture lingerie
JP5693758B1 (en) Buttocks protection belt and clothing with buttocks protection belt

Legal Events

Date Code Title Description
A131 Notification of reasons for refusal

Free format text: JAPANESE INTERMEDIATE CODE: A131

Effective date: 20160412

A521 Request for written amendment filed

Free format text: JAPANESE INTERMEDIATE CODE: A523

Effective date: 20160420

RD02 Notification of acceptance of power of attorney

Free format text: JAPANESE INTERMEDIATE CODE: A7422

Effective date: 20160427

RD04 Notification of resignation of power of attorney

Free format text: JAPANESE INTERMEDIATE CODE: A7424

Effective date: 20160427

TRDD Decision of grant or rejection written
A01 Written decision to grant a patent or to grant a registration (utility model)

Free format text: JAPANESE INTERMEDIATE CODE: A01

Effective date: 20160617

A61 First payment of annual fees (during grant procedure)

Free format text: JAPANESE INTERMEDIATE CODE: A61

Effective date: 20160620

R150 Certificate of patent or registration of utility model

Ref document number: 5959123

Country of ref document: JP

Free format text: JAPANESE INTERMEDIATE CODE: R150

R250 Receipt of annual fees

Free format text: JAPANESE INTERMEDIATE CODE: R250

R250 Receipt of annual fees

Free format text: JAPANESE INTERMEDIATE CODE: R250

R250 Receipt of annual fees

Free format text: JAPANESE INTERMEDIATE CODE: R250