JP2015073744A - Light irradiation type beauty equipment - Google Patents

Light irradiation type beauty equipment Download PDF

Info

Publication number
JP2015073744A
JP2015073744A JP2013212148A JP2013212148A JP2015073744A JP 2015073744 A JP2015073744 A JP 2015073744A JP 2013212148 A JP2013212148 A JP 2013212148A JP 2013212148 A JP2013212148 A JP 2013212148A JP 2015073744 A JP2015073744 A JP 2015073744A
Authority
JP
Japan
Prior art keywords
light
attachment
beauty
skin surface
unit
Prior art date
Legal status (The legal status is an assumption and is not a legal conclusion. Google has not performed a legal analysis and makes no representation as to the accuracy of the status listed.)
Granted
Application number
JP2013212148A
Other languages
Japanese (ja)
Other versions
JP6296743B2 (en
Inventor
山▲崎▼ 岩男
Iwao Yamazaki
岩男 山▲崎▼
Current Assignee (The listed assignees may be inaccurate. Google has not performed a legal analysis and makes no representation or warranty as to the accuracy of the list.)
Ya Man Ltd
Original Assignee
Ya Man Ltd
Priority date (The priority date is an assumption and is not a legal conclusion. Google has not performed a legal analysis and makes no representation as to the accuracy of the date listed.)
Filing date
Publication date
Application filed by Ya Man Ltd filed Critical Ya Man Ltd
Priority to JP2013212148A priority Critical patent/JP6296743B2/en
Priority to PCT/JP2014/005124 priority patent/WO2015052929A1/en
Priority to TW103135196A priority patent/TW201526940A/en
Publication of JP2015073744A publication Critical patent/JP2015073744A/en
Application granted granted Critical
Publication of JP6296743B2 publication Critical patent/JP6296743B2/en
Active legal-status Critical Current
Anticipated expiration legal-status Critical

Links

Images

Classifications

    • AHUMAN NECESSITIES
    • A61MEDICAL OR VETERINARY SCIENCE; HYGIENE
    • A61NELECTROTHERAPY; MAGNETOTHERAPY; RADIATION THERAPY; ULTRASOUND THERAPY
    • A61N1/00Electrotherapy; Circuits therefor
    • A61N1/02Details
    • A61N1/04Electrodes
    • A61N1/06Electrodes for high-frequency therapy
    • AHUMAN NECESSITIES
    • A61MEDICAL OR VETERINARY SCIENCE; HYGIENE
    • A61BDIAGNOSIS; SURGERY; IDENTIFICATION
    • A61B18/00Surgical instruments, devices or methods for transferring non-mechanical forms of energy to or from the body
    • A61B18/18Surgical instruments, devices or methods for transferring non-mechanical forms of energy to or from the body by applying electromagnetic radiation, e.g. microwaves
    • AHUMAN NECESSITIES
    • A61MEDICAL OR VETERINARY SCIENCE; HYGIENE
    • A61BDIAGNOSIS; SURGERY; IDENTIFICATION
    • A61B18/00Surgical instruments, devices or methods for transferring non-mechanical forms of energy to or from the body
    • A61B2018/00315Surgical instruments, devices or methods for transferring non-mechanical forms of energy to or from the body for treatment of particular body parts
    • A61B2018/00452Skin
    • A61B2018/00476Hair follicles
    • AHUMAN NECESSITIES
    • A61MEDICAL OR VETERINARY SCIENCE; HYGIENE
    • A61BDIAGNOSIS; SURGERY; IDENTIFICATION
    • A61B18/00Surgical instruments, devices or methods for transferring non-mechanical forms of energy to or from the body
    • A61B18/18Surgical instruments, devices or methods for transferring non-mechanical forms of energy to or from the body by applying electromagnetic radiation, e.g. microwaves
    • A61B2018/1807Surgical instruments, devices or methods for transferring non-mechanical forms of energy to or from the body by applying electromagnetic radiation, e.g. microwaves using light other than laser radiation
    • AHUMAN NECESSITIES
    • A61MEDICAL OR VETERINARY SCIENCE; HYGIENE
    • A61BDIAGNOSIS; SURGERY; IDENTIFICATION
    • A61B90/00Instruments, implements or accessories specially adapted for surgery or diagnosis and not covered by any of the groups A61B1/00 - A61B50/00, e.g. for luxation treatment or for protecting wound edges
    • A61B90/04Protection of tissue around surgical sites against effects of non-mechanical surgery, e.g. laser surgery
    • A61B2090/0409Specification of type of protection measures
    • A61B2090/0436Shielding
    • A61B2090/0445Shielding by absorption
    • AHUMAN NECESSITIES
    • A61MEDICAL OR VETERINARY SCIENCE; HYGIENE
    • A61BDIAGNOSIS; SURGERY; IDENTIFICATION
    • A61B90/00Instruments, implements or accessories specially adapted for surgery or diagnosis and not covered by any of the groups A61B1/00 - A61B50/00, e.g. for luxation treatment or for protecting wound edges
    • A61B90/04Protection of tissue around surgical sites against effects of non-mechanical surgery, e.g. laser surgery
    • A61B2090/049Protection of tissue around surgical sites against effects of non-mechanical surgery, e.g. laser surgery against light, e.g. laser

Landscapes

  • Health & Medical Sciences (AREA)
  • Life Sciences & Earth Sciences (AREA)
  • Surgery (AREA)
  • Engineering & Computer Science (AREA)
  • Biomedical Technology (AREA)
  • Nuclear Medicine, Radiotherapy & Molecular Imaging (AREA)
  • Animal Behavior & Ethology (AREA)
  • General Health & Medical Sciences (AREA)
  • Public Health (AREA)
  • Veterinary Medicine (AREA)
  • Radiology & Medical Imaging (AREA)
  • Electromagnetism (AREA)
  • Otolaryngology (AREA)
  • Physics & Mathematics (AREA)
  • Heart & Thoracic Surgery (AREA)
  • Medical Informatics (AREA)
  • Molecular Biology (AREA)
  • Radiation-Therapy Devices (AREA)
  • Electrotherapy Devices (AREA)

Abstract

【課題】フラッシュランプの光が眼に入ってしまうリスクを低減することが可能な光照射型美容装置を提供すること。【解決手段】光照射型美容装置1が本体と、本体に装着された場合に前記電源供給部から電流を受ける第1の接続電極116、該第1の接続電極が受けた電流をユーザの肌面に供給する第1の供給電極、及び、前記肌面に第1の光を照射する第1の発光素子を有する第1の美容アタッチメント300と、前記第1の美容アタッチメントと着脱可能に構成され、前記第1の美容アタッチメントに装着された場合に前記第1の供給電極と接触して電流を受ける第2の接続電極、該第2の接続電極が受けた電流に基づいて前記肌面に電流及びまたは第2の光を供給する刺激付与部、及び、前記第1の発光素子の光を遮光して前記肌面上の前記光の照射面積を縮小させる遮光窓を有する第2の美容アタッチメント400とを具備する。【選択図】図1To provide a light irradiation type beauty device capable of reducing a risk that light of a flash lamp enters an eye. When a light-irradiating beauty device 1 is attached to a main body, a first connection electrode 116 that receives a current from the power supply unit when the light-irradiating beauty device 1 is attached to the main body, and the current received by the first connection electrode is applied to a user's skin. A first beauty attachment 300 having a first supply electrode to be supplied to the surface, and a first light emitting element for irradiating the skin surface with the first light, and the first beauty attachment are detachable. A second connection electrode that receives current in contact with the first supply electrode when attached to the first cosmetic attachment, and current is applied to the skin surface based on the current received by the second connection electrode. And / or the second beauty attachment 400 including a stimulus applying unit that supplies the second light, and a light shielding window that shields the light of the first light emitting element and reduces the irradiation area of the light on the skin surface. It comprises. [Selection] Figure 1

Description

本発明は、光照射型美容装置に関する。   The present invention relates to a light irradiation type beauty apparatus.

従来から、ユーザの体毛を切りそろえたり焼いたりする処理(除毛処理)を行うために、剃毛用の刃部及び体毛に光を照射するフラッシュランプを備える光照射型美容装置が知られている(例えば、特許文献1参照)。
この光照射型美容装置では、刃部によって切りそろえられた体毛に対してフラッシュランプの光を照射してこの体毛の毛根にダメージを与えることによって、体毛が再び生えそろうスピードを抑制することが可能となる。
2. Description of the Related Art Conventionally, a light-irradiation type beauty apparatus including a blade for shaving and a flash lamp that irradiates light on body hair is known in order to perform processing (hair removal processing) for trimming or burning the user's body hair. (For example, refer to Patent Document 1).
In this light irradiation type beauty device, it is possible to suppress the speed at which the body hair grows again by irradiating the hair of the hair trimmed by the blade part with the light of the flash lamp and damaging the hair root of the hair. Become.

特開2012-239874号JP 2012-239874 A

ユーザが、除毛処理を行いたいと所望する場所は、手や足や顔など多岐にわたる。手や足の体毛に対して除毛処理を行う場合には、広範囲の体毛に対してフラッシュランプの光を照射することによって除毛処理の効率を上げることができる。しかしながら、顔の産毛に対して除毛処理を行うときには、広範囲の産毛に対してフラッシュランプの光を照射することによって、フラッシュランプの光が眼に入ってしまう怖れがある。
本発明は、上記した事情に鑑みてなされたものであり、フラッシュランプの光が眼に入ってしまうリスクを容易に低減することが可能な光照射型美容装置を提供することを目的とする。
There are various places where a user desires to perform hair removal processing, such as hands, feet, and faces. When performing hair removal treatment on the body hair of hands and feet, the efficiency of the hair removal treatment can be increased by irradiating a wide range of body hair with the light of a flash lamp. However, when the hair removal treatment is performed on the facial hair, there is a fear that the light from the flash lamp may enter the eye by irradiating the light from the flash lamp on a wide range of hair.
The present invention has been made in view of the above circumstances, and an object of the present invention is to provide a light irradiation type beauty apparatus capable of easily reducing the risk that light from a flash lamp enters an eye.

本発明の実施形態の光照射型美容装置は、電源供給部及び把持部を有する本体と、前記本体と着脱可能に構成され、前記本体に装着された場合に前記電源供給部から電流を受ける第1の接続電極、該第1の接続電極が受けた電流をユーザの肌面に供給する第1の供給電極、及び、前記肌面に第1の光を照射する第1の発光素子を有する第1の美容アタッチメントと、前記第1の美容アタッチメントと着脱可能に構成され、前記第1の美容アタッチメントに装着された場合に前記第1の供給電極と接触して電流を受ける第2の接続電極、該第2の接続電極が受けた電流に基づいて前記肌面に電流及びまたは第2の光を供給する刺激付与部、及び、前記第1の発光素子の光を遮光して前記肌面上の前記光の照射面積を縮小させる遮光窓を有する第2の美容アタッチメントとを具備する。   A light-irradiating beauty device according to an embodiment of the present invention includes a main body having a power supply unit and a gripping unit, and is configured to be detachable from the main body, and receives a current from the power supply unit when attached to the main body. A first connection electrode, a first supply electrode for supplying a current received by the first connection electrode to a user's skin surface, and a first light emitting element for irradiating the skin surface with a first light. A first attachment for attachment, and a second connection electrode configured to be detachable from the first attachment for attachment and receiving a current in contact with the first supply electrode when attached to the first attachment for attachment; A stimulus applying unit that supplies current and / or second light to the skin surface based on a current received by the second connection electrode, and light from the first light emitting element is shielded from light on the skin surface. A light shielding window for reducing the light irradiation area; ; And a beauty attachment.

本発明の光照射型美容装置によれば、フラッシュランプの光が眼に入ってしまうリスクを容易に低減することが可能な光照射型美容装置を提供することができる。   According to the light irradiation type beauty apparatus of the present invention, it is possible to provide a light irradiation type beauty apparatus capable of easily reducing the risk of the light from the flash lamp entering the eye.

光照射型美容装置1の概略図である。1 is a schematic view of a light irradiation type beauty apparatus 1. FIG. ボディ用アタッチメント300の斜視図である。It is a perspective view of the attachment 300 for bodies. ボディ用アタッチメント300の断面図である。It is sectional drawing of the attachment 300 for bodies. フェイス用アタッチメント400の斜視図である。It is a perspective view of the attachment 400 for faces. フェイス用アタッチメント400を後ろ側から見た平面図である。It is the top view which looked at the attachment 400 for faces from the back side. フェイス用アタッチメント400の断面図である。It is sectional drawing of the attachment 400 for faces. 光照射型美容装置1の機能ブロック図である。It is a functional block diagram of the light irradiation type beauty apparatus 1. 光照射型美容装置2の機能ブロック図である。It is a functional block diagram of the light irradiation type beauty apparatus 2. 冷却アタッチメント500を示す斜視図である。It is a perspective view which shows the cooling attachment 500. FIG. 冷却アタッチメント600を示す斜視図である。It is a perspective view which shows the cooling attachment 600. FIG. 冷却アタッチメント600の一部断面図である。3 is a partial cross-sectional view of a cooling attachment 600. FIG.

[第1の実施形態]
以下、第1の実施形態を図に基づき説明する。図1は、光照射型美容装置1の概略図である。
(光照射型美容装置1について)
図1に示すように第1の実施形態の光照射型美容装置1は、美容プローブ100、収容筐体200、ボディ用アタッチメント300及びフェイス用アタッチメント400、保護ケーブル部150を具備する。
[First Embodiment]
Hereinafter, the first embodiment will be described with reference to the drawings. FIG. 1 is a schematic diagram of a light irradiation type beauty apparatus 1.
(About the light irradiation type beauty device 1)
As shown in FIG. 1, the light-irradiation beauty device 1 of the first embodiment includes a beauty probe 100, a housing 200, a body attachment 300, a face attachment 400, and a protective cable unit 150.

光照射型美容装置1は、美容プローブ100に装着されたボディ用アタッチメント300やこのボディ用アタッチメント300に装着されたフェイス用アタッチメント400によってユーザの顔や手や足や腹などに高輝度の光を供給したり高周波電流を流したりして、体毛の成長や再生を抑制する装置である。   The light-irradiating beauty device 1 emits high-luminance light to the user's face, hands, feet, abdomen, and the like by the body attachment 300 attached to the beauty probe 100 and the face attachment 400 attached to the body attachment 300. It is a device that suppresses the growth and regeneration of body hair by supplying or supplying a high-frequency current.

(収容筐体200について)
収容筐体200は、筐体210、メインスイッチ211、給電ケーブル接続部212、メイン基板214及びケーブル部216を備える。
筐体210は、ABS樹脂などのエンジニアリングプラスチックを射出成形することによって形成されている。筐体210は、上面に美容プローブ100を載置収納する収容部を有することが望ましい。
(About the housing 200)
The housing case 200 includes a case 210, a main switch 211, a power supply cable connection part 212, a main board 214, and a cable part 216.
The casing 210 is formed by injection molding engineering plastics such as ABS resin. It is desirable that the housing 210 has a housing portion on which the cosmetic probe 100 is placed and stored.

給電ケーブル接続部212は、図示はしないケーブルにより家庭用コンセントと接続される。したがって給電ケーブル接続部212によって商用電源から電力を得ることができる。給電ケーブル接続部212から得られた電力は、メイン基板214に供給される。
メインスイッチ211は、給電ケーブル接続部212とメイン基板214との間に配設される。メインスイッチ211は、メイン基板214への商用電源からの給電をON・OFFする。
The power feeding cable connection unit 212 is connected to a household outlet by a cable (not shown). Therefore, electric power can be obtained from the commercial power supply by the power feeding cable connecting portion 212. The electric power obtained from the power supply cable connection unit 212 is supplied to the main board 214.
The main switch 211 is disposed between the power supply cable connection part 212 and the main board 214. The main switch 211 turns on / off the power supply from the commercial power source to the main board 214.

メイン基板214は、ユーザの肌面に供給される光の発光を制御する第1の発光制御部である。メイン基板214は、回路素子214a(例えば、ICチップ、抵抗素子、コンデンサ、コイル素子など)とこれらを電気的に接続する配線によって形成される電子回路220を有している。
メイン基板214は、商用電源から得られた電圧を昇圧したり降圧したりして、美容プローブ100に供給するための電源装置としての機能を有する。
The main board 214 is a first light emission control unit that controls light emission of light supplied to the skin surface of the user. The main substrate 214 includes an electronic circuit 220 formed by circuit elements 214a (for example, IC chips, resistor elements, capacitors, coil elements, etc.) and wirings that electrically connect them.
The main board 214 has a function as a power supply device for boosting or lowering a voltage obtained from a commercial power source and supplying the voltage to the beauty probe 100.

メイン基板214の電子回路220は、ケーブル部216を介して美容プローブ100と接続されている。保護ケーブル部150は、ケーブル部216が外から加わる力によって断線してしまうことを防止するための保護部材である。
以上のように構成された収容筐体200では、メイン基板214の電子回路220が、ケーブル部216を介して美容プローブ100、ボディ用アタッチメント300及びフェイス用アタッチメント400の駆動を制御する。
The electronic circuit 220 of the main board 214 is connected to the beauty probe 100 via the cable portion 216. The protective cable part 150 is a protective member for preventing the cable part 216 from being disconnected by a force applied from the outside.
In the housing case 200 configured as described above, the electronic circuit 220 of the main board 214 controls driving of the beauty probe 100, the body attachment 300, and the face attachment 400 via the cable portion 216.

(美容プローブ100について)
美容プローブ100は、主要なユーザである成人女性が、片手で持ちやすいように形成されたハンディタイプの装置である。美容プローブ100は、電源供給部及び把持部を有する本体である。美容プローブ100にはボディ用アタッチメント300が着脱自在に取り付けられる。
美容プローブ100は、筐体110、剃毛部112、電源供給コネクタ116、信号線接続コネクタ118、冷却ファン120、スイッチ122及びこれらを制御する基板130を備える。
(About the beauty probe 100)
The beauty probe 100 is a handy type device formed so that an adult woman who is a main user can easily hold it with one hand. The beauty probe 100 is a main body having a power supply unit and a gripping unit. A body attachment 300 is detachably attached to the beauty probe 100.
The beauty probe 100 includes a housing 110, a shaving portion 112, a power supply connector 116, a signal line connector 118, a cooling fan 120, a switch 122, and a substrate 130 for controlling them.

筐体110は、使用者が片手で持ちやすいように角部を丸めた縦長の直方体形状に形成されている。筐体110は、ABS樹脂などのエンジニアリングプラスチックを射出成形することによって形成されている。このため筐体110を軽量化することができる。
筐体110は、背面部110a、下面部110b、上面部110c及び正面部110dを備える。
The casing 110 is formed in a vertically long rectangular parallelepiped shape with rounded corners so that the user can easily hold it with one hand. The casing 110 is formed by injection molding engineering plastics such as ABS resin. For this reason, the housing 110 can be reduced in weight.
The housing 110 includes a back surface portion 110a, a lower surface portion 110b, an upper surface portion 110c, and a front surface portion 110d.

背面部110aには、スイッチ122が配設される。背面部110aに配設されたスイッチ122をユーザがON・OFF操作することによって、美容プローブ100に装着されたボディ用アタッチメント300から光が照射される。また、スイッチ122によって、剃毛部112の駆動のON・OFFを制御することもできる。
下面部110bには、保護ケーブル部150によって保護されたケーブル部216が配設される。正面部110dには、剃毛部収納口110e及びアタッチメント装着部111が形成される。
A switch 122 is disposed on the back surface portion 110a. When the user turns ON / OFF the switch 122 disposed on the back surface portion 110a, light is emitted from the body attachment 300 attached to the beauty probe 100. Further, the switch 122 can control ON / OFF of the driving of the shaving portion 112.
A cable portion 216 protected by the protective cable portion 150 is disposed on the lower surface portion 110b. A shaving portion storage opening 110e and an attachment mounting portion 111 are formed on the front portion 110d.

剃毛収納口110eには、剃毛部112が収容される。剃毛収納口110eの奥側には、排気孔110fが配設される。
排気孔110fは、剃毛収納口110eから筐体110の内部にかけて貫通するように設けられた多数の孔である。排気孔110fからは、冷却ファン120の駆動によって流れた筐体110内の空気が排気される(図中のAir2参照)。
The shaving storage port 110e houses the shaving portion 112. An exhaust hole 110f is disposed on the back side of the shaving storage opening 110e.
The exhaust holes 110f are a large number of holes provided so as to penetrate from the shaving storage opening 110e to the inside of the housing 110. From the exhaust hole 110f, the air in the housing 110 that has flowed by driving the cooling fan 120 is exhausted (see Air2 in the figure).

剃毛部112は、本体部112a、剃毛刃112b、振動モータ112c、ヒンジ部112dを備える。
剃毛部112は、剃毛刃112bに当接した体毛を振動モータ112cによる振動を利用して剃ることが可能な小型の電気シェーバーである。剃毛刃112bは、取り換え自在であることが望ましい。振動モータ112cは、導線112eによって基板130と電気的に接続される。
本体部112aは、剃毛刃112b及び振動モータ112cを保持する筐体である。本体部112aは、筐体110内部に固定されたヒンジ部112dを軸として、保持した剃毛刃112b及び振動モータ112cとともに剃毛収納口110eからアタッチメント装着部111の縁部まで回動(図1中のS1参照)するように筐体110に配設される。アタッチメント装着部111の縁部まで回動した本体部112aは、例えばここでは図示を省略したばねや引っ掛け爪により、姿勢が保持される。
The shaving portion 112 includes a main body portion 112a, a shaving blade 112b, a vibration motor 112c, and a hinge portion 112d.
The shaving portion 112 is a small electric shaver that can shave the body hair in contact with the shaving blade 112b by using the vibration of the vibration motor 112c. It is desirable that the shaving blade 112b is replaceable. The vibration motor 112c is electrically connected to the substrate 130 by a conducting wire 112e.
The main body 112a is a housing that holds the shaving blade 112b and the vibration motor 112c. The main body 112a rotates from the shaving storage opening 110e to the edge of the attachment mounting portion 111 together with the held shaving blade 112b and the vibration motor 112c with the hinge portion 112d fixed inside the housing 110 as an axis (FIG. 1). (See S1 in the figure). The posture of the main body 112a rotated to the edge of the attachment mounting portion 111 is maintained by, for example, a spring or a hooking claw not shown here.

アタッチメント装着部111は、剃毛収納口110eの上方に配設された開口である。アタッチメント装着部111は、筐体110の外側面から筐体110の内部にかけて凹んでいる。アタッチメント装着部111は、ボディ用アタッチメント300の外形と対応する形状を有する。アタッチメント装着部111は、ボディ用アタッチメント300の外形寸法よりもわずかに大きな寸法を有する。したがって、アタッチメント装着部111に、ボディ用アタッチメント300を着脱自在に取り付けることができる。   The attachment mounting part 111 is an opening disposed above the shaving storage opening 110e. The attachment mounting portion 111 is recessed from the outer surface of the housing 110 to the inside of the housing 110. The attachment mounting part 111 has a shape corresponding to the outer shape of the body attachment 300. The attachment mounting part 111 has a dimension slightly larger than the outer dimension of the body attachment 300. Therefore, the body attachment 300 can be detachably attached to the attachment mounting portion 111.

アタッチメント装着部111は、壁面部111a及び底面部111bを有する。
壁面部111aの所定の箇所には、底面部111bを挟んで互いに対向するように設けられた一対の係止突起111cが配設される(図1では、一対の内の片側の一対の係止突起111cのみを図示している)。底面部111bには、複数の通風孔111d、電源供給コネクタ116及び信号線接続コネクタ118が配設される。
一対の係止突起111cは、アタッチメント装着部111に装着されたボディ用アタッチメント300がアタッチメント装着部111から脱落してしまうことを防止するための係止部である。一対の係止突起111cは、例えばゴムなどの弾性体で形成することが望ましい。一対の係止突起111cを弾性体で形成することにより、ボディ用アタッチメント300のアタッチメント装着部111に対する装着または取り外しが容易になる。
The attachment mounting portion 111 has a wall surface portion 111a and a bottom surface portion 111b.
A pair of locking projections 111c provided to face each other across the bottom surface portion 111b is disposed at a predetermined portion of the wall surface portion 111a (in FIG. 1, a pair of locking protrusions on one side of the pair is disposed). Only the protrusion 111c is illustrated). A plurality of ventilation holes 111d, a power supply connector 116, and a signal line connector 118 are disposed on the bottom surface portion 111b.
The pair of locking projections 111 c are locking portions for preventing the body attachment 300 mounted on the attachment mounting portion 111 from dropping off from the attachment mounting portion 111. The pair of locking protrusions 111c are preferably formed of an elastic body such as rubber. By forming the pair of locking projections 111c with an elastic body, the attachment or detachment of the body attachment 300 to or from the attachment attachment portion 111 is facilitated.

一対の係止突起111cは、壁面部111aの所定の箇所から底面部111bを挟んだ反対側の壁面部111aに向かって突き出るように設けられる。
複数の通風孔111dは、底面部111bの略中央に形成された密集する孔である。複数の通風孔111dは、底面部111bの表面(筐体110の正面部110d側の面)から裏面(筐体110の背面部110a側の面)にかけて貫通するように形成されている。
The pair of locking projections 111c are provided so as to protrude from a predetermined portion of the wall surface portion 111a toward the opposite wall surface portion 111a with the bottom surface portion 111b interposed therebetween.
The plurality of ventilation holes 111d are dense holes formed at substantially the center of the bottom surface portion 111b. The plurality of ventilation holes 111d are formed so as to penetrate from the front surface (surface on the front surface 110d side of the housing 110) to the back surface (surface on the back surface 110a side of the housing 110) of the bottom surface portion 111b.

電源供給コネクタ116は、ボディ用アタッチメント300及びまたはフェイス用アタッチメント400に高周波電圧及びまたは直流電圧を印加するための電源供給部である。電源供給コネクタ116は、複数の導線116aによって基板130と電気的に接続される。
信号線接続コネクタ118は、ボディ用アタッチメント300及びまたはフェイス用アタッチメント400に基板130からの種々の信号を入力するための接続部である。信号線接続コネクタ118は、導線118aによって基板130と電気的に接続される。
The power supply connector 116 is a power supply unit for applying a high frequency voltage and / or a direct current voltage to the body attachment 300 and / or the face attachment 400. The power supply connector 116 is electrically connected to the substrate 130 by a plurality of conductive wires 116a.
The signal line connector 118 is a connection part for inputting various signals from the substrate 130 to the body attachment 300 and / or the face attachment 400. The signal line connector 118 is electrically connected to the substrate 130 by a conducting wire 118a.

冷却ファン120は、ボディ用アタッチメント300の内部や基板130を冷却するための送風機である。冷却ファン120には、シロッコファン、ターボファンなどを採用することができる。冷却ファン120は、複数の通風孔111dに密接するように配置される。冷却ファン120は、アタッチメント装着部111に装着されたボディ用アタッチメント300を介して複数の通風孔111dから筐体110外部の空気を取り込み(図中のAir1参照)、筐体110内部に向けて送風する。   The cooling fan 120 is a blower for cooling the inside of the body attachment 300 and the substrate 130. As the cooling fan 120, a sirocco fan, a turbo fan, or the like can be employed. The cooling fan 120 is disposed in close contact with the plurality of ventilation holes 111d. The cooling fan 120 takes in air outside the housing 110 from the plurality of ventilation holes 111d via the body attachment 300 attached to the attachment attachment portion 111 (see Air1 in the figure) and blows air toward the inside of the housing 110. To do.

基板130は、回路素子130a(例えば、ICチップ、抵抗素子、コンデンサ、コイル素子など)とこれらを電気的に接続する配線によって形成される電子回路を有している。基板130は、ケーブル部216を介して収容筐体200と電気的に接続される。基板130には、ケーブル部216を介して収容筐体200から電力が給電される。基板130は、給電された電力を用いて冷却ファン120を駆動したり電源供給コネクタ116に対して給電を行ったりする。   The substrate 130 includes an electronic circuit formed by a circuit element 130a (for example, an IC chip, a resistance element, a capacitor, a coil element, and the like) and wiring that electrically connects them. The substrate 130 is electrically connected to the housing case 200 via the cable portion 216. Electric power is supplied to the board 130 from the housing 200 through the cable portion 216. The board 130 drives the cooling fan 120 using the supplied power or supplies power to the power supply connector 116.

(ボディ用アタッチメント300について)
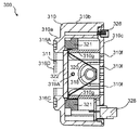
次に図2A及び図2Bを用いてボディ用アタッチメント300について詳細に説明する。図2Aは、ボディ用アタッチメント300の斜視図である。図2Bは、図2Aに示すボディ用アタッチメント300のA-A断面を示す断面図である。
ボディ用アタッチメント300は、第1の美容アタッチメントである。
ボディ用アタッチメント300は、筐体310、RF電極314A〜314D、LEDユニット316A〜316D、キセノン管318、照度センサ319A,319B、リフレクタ320、マグネット321、透過ガラス322、サーミスタ323、一対の係止溝324、給電部326及び信号線コネクタ部328を備える。
(About body attachment 300)
Next, the body attachment 300 will be described in detail with reference to FIGS. 2A and 2B. FIG. 2A is a perspective view of the body attachment 300. FIG. 2B is a cross-sectional view showing an AA cross section of the body attachment 300 shown in FIG. 2A.
The body attachment 300 is a first beauty attachment.
The body attachment 300 includes a housing 310, RF electrodes 314A to 314D, LED units 316A to 316D, a xenon tube 318, illuminance sensors 319A and 319B, a reflector 320, a magnet 321, a transmission glass 322, a thermistor 323, and a pair of locking grooves. 324, a power feeding unit 326, and a signal line connector unit 328 are provided.

筐体310は、筐体210などと同様に、ABS樹脂などのエンジニアリングプラスチックを射出成形することによって筒状に形成される。筐体310は、美容プローブ100のアタッチメント装着部111に装着可能となるように形成される。すなわち、筐体310はアタッチメント装着部111と対応する外形寸法を有する。この第1の実施形態では、筐体310は、角部の丸まった略直方体状(略楕円柱形状)に形成されている。   The casing 310 is formed in a cylindrical shape by injection molding engineering plastics such as ABS resin, like the casing 210. The housing 310 is formed so as to be attachable to the attachment mounting portion 111 of the beauty probe 100. That is, the housing 310 has an outer dimension corresponding to the attachment mounting portion 111. In the first embodiment, the housing 310 is formed in a substantially rectangular parallelepiped shape (substantially elliptic cylinder shape) with rounded corners.

筐体310は、表面部310a、側面部310b、裏面部310cを有する。
表面部310aは、ボディ用アタッチメント300がアタッチメント装着部111に装着されたときにユーザの肌面と対向する面である。表面部310aの略中央部には、開口311が形成される。
側面部310bは、ボディ用アタッチメント300がアタッチメント装着部111に装着されたときに図1に示すアタッチメント装着部111の壁面部111aと接触する。側面部310bの所定の箇所には、通風孔310e及び一対の係止溝324が設けられる。
The housing 310 includes a front surface portion 310a, a side surface portion 310b, and a back surface portion 310c.
The front surface portion 310 a is a surface that faces the user's skin when the body attachment 300 is mounted on the attachment mounting portion 111. An opening 311 is formed at a substantially central portion of the surface portion 310a.
The side surface portion 310b contacts the wall surface portion 111a of the attachment mounting portion 111 shown in FIG. 1 when the body attachment 300 is mounted on the attachment mounting portion 111. A ventilation hole 310e and a pair of locking grooves 324 are provided at predetermined locations on the side surface portion 310b.

通風孔310eは、側面部310bの表面(外部に露出する面)から筐体310の内部にかけて貫通するように形成されている。通風孔310eから外気が筐体310内部に流入する。
一対の係止溝324は、ボディ用アタッチメント300がアタッチメント装着部111に装着されたときに、図1に示すアタッチメント装着部111に配設された一対の係止突起111cと係合するように設けられた溝である。係止溝324の内の一方は、係止溝324の他方に対して裏面部310cを挟んだ反対側に位置している。
The ventilation hole 310e is formed so as to penetrate from the surface of the side surface portion 310b (surface exposed to the outside) to the inside of the housing 310. Outside air flows into the housing 310 from the ventilation holes 310e.
The pair of locking grooves 324 are provided so as to engage with the pair of locking protrusions 111c provided in the attachment mounting portion 111 shown in FIG. 1 when the body attachment 300 is mounted on the attachment mounting portion 111. Groove. One of the locking grooves 324 is located on the opposite side of the other side of the locking groove 324 with the back surface portion 310c interposed therebetween.

一対の係止溝324に一対の係止突起111cの先端部が入り込むことで、ボディ用アタッチメント300がアタッチメント装着部111に着脱自在に固定される。
裏面部310cは、ボディ用アタッチメント300がアタッチメント装着部111に装着されたときに底面部111bと対向する面である。
裏面部310cには、通風孔310fが配設される。通風孔310fは、裏面部310cの略中央に形成された多数の密集する孔である。通風孔310fは、裏面部310cの表面(底面部111bと接触する面)から裏面(筐体310の内部に露出する面)にかけて貫通するように形成されている。通風孔310fによって、通風孔310eから流入した外気が美容プローブ100内部に排気される。
The body attachment 300 is detachably fixed to the attachment mounting portion 111 by the tip portions of the pair of locking projections 111c entering the pair of locking grooves 324.
The back surface portion 310 c is a surface that faces the bottom surface portion 111 b when the body attachment 300 is mounted on the attachment mounting portion 111.
A ventilation hole 310f is disposed in the back surface portion 310c. The ventilation holes 310f are a large number of dense holes formed substantially at the center of the back surface portion 310c. The ventilation hole 310f is formed so as to penetrate from the surface of the back surface portion 310c (the surface in contact with the bottom surface portion 111b) to the back surface (the surface exposed inside the housing 310). The outside air flowing from the ventilation hole 310e is exhausted into the beauty probe 100 by the ventilation hole 310f.

RF電極314A〜314D及びLEDユニット316A〜316Dは、開口311を囲うように、それぞれ表面部310aの縁部に配設される。
RF電極314A〜314Dは、ユーザの肌面に電流を供給する第1の供給電極である。RF電極314A〜314Dは銅やアルミニウムなどの金属材料で構成されている。RF電極314A〜314Dは、それぞれ開口311の角部に沿うように、略L字状に形成されている。RF電極314A〜314Dは、それぞれ開口311の角部に沿うように表面部310aの角部に配設される。
The RF electrodes 314 </ b> A to 314 </ b> D and the LED units 316 </ b> A to 316 </ b> D are respectively disposed on the edges of the surface portion 310 a so as to surround the opening 311.
The RF electrodes 314A to 314D are first supply electrodes that supply current to the skin surface of the user. The RF electrodes 314A to 314D are made of a metal material such as copper or aluminum. The RF electrodes 314 </ b> A to 314 </ b> D are each formed in a substantially L shape so as to follow the corners of the opening 311. The RF electrodes 314 </ b> A to 314 </ b> D are disposed at the corners of the surface portion 310 a so as to follow the corners of the opening 311.

LEDユニット316A〜316Dは、ユーザの肌面に第3の光を照射する第3の発光素子である。LEDユニット316A〜316Dは、それぞれ単体または複数のLED素子や、このLED素子に過電流が流れることを防止するための保護抵抗素子などを透明な樹脂で一つの板状の部材としてパッケージングしたものである。
LEDユニット316A〜316Dは、それぞれ開口311の辺部に沿うように、略長方形状に形成されている。LEDユニット316A〜316Dは、それぞれRF電極314A〜314Dに挟まれるように配設される。例えば、LEDユニット316Aは、RF電極314A及び、RF電極314Bの間に挟まれるように配設される。
LED unit 316A-316D is a 3rd light emitting element which irradiates a user's skin surface with 3rd light. Each of the LED units 316A to 316D is a single or a plurality of LED elements, and a protective resistance element for preventing an overcurrent from flowing through the LED elements, and is packaged as a single plate member with a transparent resin. It is.
The LED units 316 </ b> A to 316 </ b> D are formed in a substantially rectangular shape so as to be along the side of the opening 311. The LED units 316A to 316D are disposed so as to be sandwiched between the RF electrodes 314A to 314D, respectively. For example, the LED unit 316A is disposed so as to be sandwiched between the RF electrode 314A and the RF electrode 314B.

キセノン管318は、ユーザの肌面に第1の光を照射する第1の発光素子である。キセノン管318及びリフレクタ320は、隔壁310gに囲まれた開口311内部の空間に配設される。リフレクタ320は、キセノン管318から放射された光を開口311方向へ反射する。
この結果、キセノン管318から放射されたほぼすべての光が、開口311から外部に放出される。なお、キセノン管318に替えて、ハロゲンランプやLEDランプを備えるように構成してもよい。
The xenon tube 318 is a first light emitting element that irradiates the user's skin surface with the first light. The xenon tube 318 and the reflector 320 are disposed in a space inside the opening 311 surrounded by the partition wall 310g. The reflector 320 reflects the light emitted from the xenon tube 318 toward the opening 311.
As a result, almost all the light emitted from the xenon tube 318 is emitted to the outside from the opening 311. Note that, instead of the xenon tube 318, a halogen lamp or an LED lamp may be provided.

照度センサ319A,319Bは、開口311近傍のキセノン管318の両端側にそれぞれ設けられる。照度センサ319A,319Bは、信号線コネクタ部328を介して図1に示した基板130と電気的に接続されている。照度センサ319A,319Bは、フォトダイオードやフォトトランジスタにより構成されている。照度センサ319A,319Bによって開口311内部の照度を検出することができる。開口311内部の照度は、美容プローブ100にボディ用アタッチメント300だけが取り付けられた場合と、このボディ用アタッチメント300にフェイス用アタッチメント400が取り付けられた場合とで、30ルクス程度の違いが出る。   The illuminance sensors 319A and 319B are provided on both ends of the xenon tube 318 in the vicinity of the opening 311. The illuminance sensors 319A and 319B are electrically connected to the substrate 130 shown in FIG. The illuminance sensors 319A and 319B are configured by photodiodes or phototransistors. The illuminance inside the opening 311 can be detected by the illuminance sensors 319A and 319B. The illuminance inside the opening 311 differs by about 30 lux between when the body attachment 300 is attached to the beauty probe 100 and when the face attachment 400 is attached to the body attachment 300.

マグネット321は、側面部310bと隔壁310gとの間に位置する空間に配設される。マグネット321は、中心部に開口を有するリング型の磁石である。マグネット321は、略中央部に形成された孔部に隔壁310gの一端部側が嵌め込まれるようにして、この隔壁310gの外周面を囲うように設けられる。   The magnet 321 is disposed in a space located between the side surface portion 310b and the partition wall 310g. The magnet 321 is a ring-type magnet having an opening at the center. The magnet 321 is provided so as to surround the outer peripheral surface of the partition wall 310g so that one end portion side of the partition wall 310g is fitted into a hole formed in a substantially central portion.

透過ガラス322は開口311に嵌め込まれるように配設されている。透過ガラス322は、キセノン管318の光に含まれる紫外線をカットする機能を有する。透過ガラス322によって、開口311内部にユーザが不用意に指などを入れてしまうことを防止することができる。
サーミスタ323は、キセノン管318近傍に配置される。サーミスタ323は、信号線コネクタ部328を介して図1に示した基板130と電気的に接続されている。サーミスタ323は、キセノン管318近傍の雰囲気温度を検出する温度検出センサとして機能する。
The transmission glass 322 is disposed so as to be fitted into the opening 311. The transmission glass 322 has a function of cutting ultraviolet rays included in the light of the xenon tube 318. The transmission glass 322 can prevent the user from inadvertently putting a finger or the like inside the opening 311.
The thermistor 323 is disposed in the vicinity of the xenon tube 318. The thermistor 323 is electrically connected to the substrate 130 shown in FIG. 1 via the signal line connector 328. The thermistor 323 functions as a temperature detection sensor that detects the ambient temperature near the xenon tube 318.

給電部326は、電源供給コネクタ116から電流を受け取る第1の接続電極である。給電部326は、ボディ用アタッチメント300がアタッチメント装着部111に装着されたときに図1に示すアタッチメント装着部111に配設された電源供給コネクタ116に接続されるように裏面部310cから外側に突き出するように設けられる。
ここでは図示は省略したが、給電部326は、筐体310内部においてLEDユニット316A〜316DのLED素子、キセノン管318及びRF電極314A〜314Dとそれぞれ電気的に接続されている。
The power feeding unit 326 is a first connection electrode that receives current from the power supply connector 116. The power feeding unit 326 protrudes outward from the back surface part 310c so as to be connected to the power supply connector 116 disposed in the attachment mounting part 111 shown in FIG. 1 when the body attachment 300 is mounted on the attachment mounting part 111. To be provided.
Although not shown here, the power feeding unit 326 is electrically connected to the LED elements of the LED units 316A to 316D, the xenon tube 318, and the RF electrodes 314A to 314D, respectively, inside the housing 310.

給電部326には、基板130から出力された高周波電圧及びまたは直流電圧がそれぞれ印加される。この結果、給電部326を介してLEDユニット316A〜316D、キセノン管318の駆動に必要な電流及びRF電極314A〜314Dに供給される電流を基板130から流すことができる。   A high-frequency voltage and / or a DC voltage output from the substrate 130 are applied to the power supply unit 326, respectively. As a result, the current necessary for driving the LED units 316 </ b> A to 316 </ b> D and the xenon tube 318 and the current supplied to the RF electrodes 314 </ b> A to 314 </ b> D can be supplied from the substrate 130 via the power feeding unit 326.

信号線コネクタ部328は、ボディ用アタッチメント300がアタッチメント装着部111に装着されたときに図1に示すアタッチメント装着部111に配設された信号線接続コネクタ118に接続されるように裏面部310cから外側に向かって突き出するように設けられる。   When the body attachment 300 is attached to the attachment attachment portion 111, the signal line connector portion 328 is connected to the signal line connection connector 118 provided in the attachment attachment portion 111 shown in FIG. It is provided so as to protrude outward.

以上のように構成されたボディ用アタッチメント300を美容プローブ100に装着されることによって、RF電極314A〜314Dによる高周波電流、キセノン管318によるフラッシュ、LEDユニット316A〜316Dの光を用いて除毛処理を行うことができる。   By attaching the body attachment 300 configured as described above to the beauty probe 100, the hair removal treatment is performed using the high-frequency current from the RF electrodes 314A to 314D, the flash from the xenon tube 318, and the light from the LED units 316A to 316D. It can be performed.

(フェイス用アタッチメント400について)
次に図3Aないし図3Cを用いてフェイス用アタッチメント400について詳細に説明する。図3Aは、フェイス用アタッチメント400の斜視図である。図3Bは、フェイス用アタッチメント400を後ろ側から見た平面図である。図3Cは、図3Aに示すフェイス用アタッチメント400のA-A断面及び図2Aに示すボディ用アタッチメント300のB-B断面を示す断面図である。
(About face attachment 400)
Next, the face attachment 400 will be described in detail with reference to FIGS. 3A to 3C. FIG. 3A is a perspective view of the face attachment 400. FIG. 3B is a plan view of the face attachment 400 as seen from the rear side. 3C is a cross-sectional view showing an AA cross section of the face attachment 400 shown in FIG. 3A and a BB cross section of the body attachment 300 shown in FIG. 2A.

フェイス用アタッチメント400は、第2の美容アタッチメントである。
図3A及び図3Bに示すように、フェイス用アタッチメント400は、筐体410、電気接点部412A〜412D、RF電極414A〜414D、LEDユニット416A,416B、透過ガラス422及び金属部424を備える。
筐体410は、筐体210などと同様に、ABS樹脂などのエンジニアリングプラスチックを射出成形することによって筒状に形成される。
筐体410は、表面部410a、側面部410b、裏面部410c及び光照射通路411aを有する。
The face attachment 400 is a second beauty attachment.
As shown in FIGS. 3A and 3B, the face attachment 400 includes a housing 410, electrical contact portions 412A to 412D, RF electrodes 414A to 414D, LED units 416A and 416B, a transmissive glass 422, and a metal portion 424.
The housing 410 is formed in a cylindrical shape by injection molding engineering plastics such as ABS resin, like the housing 210.
The housing 410 includes a front surface portion 410a, a side surface portion 410b, a back surface portion 410c, and a light irradiation path 411a.

表面部410aは、フェイス用アタッチメント400がボディ用アタッチメント300に装着されたときにユーザの肌面と対向する。裏面部410cは、フェイス用アタッチメント400がボディ用アタッチメント300に装着されるときにボディ用アタッチメント300の表面部310aを覆う。   The front surface portion 410 a faces the user's skin when the face attachment 400 is attached to the body attachment 300. The back surface portion 410 c covers the front surface portion 310 a of the body attachment 300 when the face attachment 400 is attached to the body attachment 300.

光照射通路411aは、遮光窓として機能する。光照射通路411aは、表面部410aから裏面部410cにかけて設けられた貫通孔である。光照射通路411aは、筐体410の略中央部に設けられる。光照射通路411aは、表面部410aの略中央部に位置する開口411b及び裏面部410cの略中央に位置する開口411cを有する。光照射通路411aは、裏面部410c近傍部から開口411cに向かって径が拡大する略ベル型形状を有している(以下、径が拡大し始める部位を拡大部411dと称す)。すなわち、図3Cに示すように開口411cの径φ1は、開口411bの径φ2よりも大きい。   The light irradiation path 411a functions as a light shielding window. The light irradiation passage 411a is a through hole provided from the front surface portion 410a to the back surface portion 410c. The light irradiation passage 411 a is provided at a substantially central portion of the housing 410. The light irradiation passage 411a has an opening 411b located at a substantially central portion of the front surface portion 410a and an opening 411c located at a substantially central portion of the back surface portion 410c. The light irradiation path 411a has a substantially bell shape whose diameter increases from the vicinity of the back surface portion 410c toward the opening 411c (hereinafter, a portion where the diameter starts to increase is referred to as an enlarged portion 411d). That is, as shown in FIG. 3C, the diameter φ1 of the opening 411c is larger than the diameter φ2 of the opening 411b.

開口411cの径φ1は、ボディ用アタッチメント300の開口311の径と対応するように形成されている。したがって開口411bから拡大部411dまでの径である径φ2は、開口311よりも小さく形成されている。このことにより、開口311から照射されたキセノン管318は、略すべてが開口411cに入射するとともに拡大部411dで、反射、吸収され、または減衰して、開口411bから出ていく。結果として、光照射通路411aによってキセノン管318の光を遮光することができる。   The diameter φ1 of the opening 411c is formed to correspond to the diameter of the opening 311 of the body attachment 300. Therefore, the diameter φ2 that is the diameter from the opening 411b to the enlarged portion 411d is formed smaller than the opening 311. As a result, almost all of the xenon tube 318 irradiated from the opening 311 enters the opening 411c and is reflected, absorbed, or attenuated by the enlarged portion 411d and exits from the opening 411b. As a result, the light of the xenon tube 318 can be blocked by the light irradiation passage 411a.

RF電極414A〜414D及びLEDユニット416A,416Bは、刺激付与部として機能する。
図3Aに示すように、RF電極414A〜414D及びLEDユニット416A,416Bは、開口411bを囲うように、それぞれ表面部410aに配設される。
RF電極414A〜414Dは、電気接点部412A〜412Dが受けた電流をユーザの肌面に供給する第2の供給電極である。RF電極414A〜414Dは、略円筒形状に形成されている。RF電極414A〜414Dは、RF電極314A〜314Dと同様に銅やアルミニウムなどの金属で構成されている。
電気接点部412A〜412Dは、それぞれRF電極314A〜314Dと接触して電流を受ける第2の接続電極である。
図3Bに示すように電気接点部412A〜412Dは、RF電極314A〜314Dと同様に銅やアルミニウムなどの金属材料で構成されている。電気接点部412A〜412Dは、RFは、電極314A〜314Dと対応するように略L状に形成されている。
The RF electrodes 414A to 414D and the LED units 416A and 416B function as a stimulus applying unit.
As shown to FIG. 3A, RF electrode 414A-414D and LED unit 416A, 416B are each arrange | positioned at the surface part 410a so that the opening 411b may be enclosed.
The RF electrodes 414A to 414D are second supply electrodes that supply the current received by the electrical contact portions 412A to 412D to the user's skin surface. The RF electrodes 414A to 414D are formed in a substantially cylindrical shape. The RF electrodes 414A to 414D are made of a metal such as copper or aluminum, like the RF electrodes 314A to 314D.
The electrical contact portions 412A to 412D are second connection electrodes that receive current in contact with the RF electrodes 314A to 314D, respectively.
As shown in FIG. 3B, the electrical contact portions 412A to 412D are made of a metal material such as copper or aluminum, like the RF electrodes 314A to 314D. The electrical contact portions 412A to 412D are formed in a substantially L shape so that the RF corresponds to the electrodes 314A to 314D.

電気接点部412A〜412Dは、裏面部410cに配設されている。具体的には、電気接点部412A〜412Dはフェイス用アタッチメント400が、ボディ用アタッチメント300に装着されたときに、図2Aに示すRF電極314A〜314Dとそれぞれ接触する裏面部410cの位置に配設されている。   The electrical contact portions 412A to 412D are disposed on the back surface portion 410c. Specifically, the electrical contact portions 412A to 412D are disposed at the positions of the back surface portions 410c that contact the RF electrodes 314A to 314D shown in FIG. 2A when the face attachment 400 is attached to the body attachment 300, respectively. Has been.

つまり電気接点部412Aは、RF電極314Aと接触する(図3C参照)。電気接点部412Bは、RF電極314Bと接触する。電気接点部412Cは、RF電極314Cと接触する。電気接点部412Dは、RF電極314Dと接触する(図3C参照)。
電気接点部412A〜412Dは、筐体410内部において、ここでは図示を省略した導線によって、RF電極414A〜414D及びLEDユニット416A,416Bとそれぞれ電気的に接続される。
That is, the electric contact portion 412A is in contact with the RF electrode 314A (see FIG. 3C). The electrical contact portion 412B is in contact with the RF electrode 314B. The electrical contact portion 412C is in contact with the RF electrode 314C. The electrical contact portion 412D is in contact with the RF electrode 314D (see FIG. 3C).
The electrical contact portions 412A to 412D are electrically connected to the RF electrodes 414A to 414D and the LED units 416A and 416B, respectively, in the housing 410 by conducting wires not shown here.

例えば、電気接点部412Aは、RF電極414A及びLEDユニット416Aのアノードと接続される。電気接点部412Bは、RF電極414B及びLEDユニット416Aのカソードと接続される。電気接点部412Cは、RF電極414C及びLEDユニット416Bのカソードと接続される。電気接点部412Dは、RF電極414D及びLEDユニット416Bのアノードと接続される。この結果、RF電極414A〜414D及びLEDユニット416A,416Bそれぞれにボディ用アタッチメント300からの電力を供給することができる。   For example, the electrical contact portion 412A is connected to the RF electrode 414A and the anode of the LED unit 416A. The electrical contact portion 412B is connected to the RF electrode 414B and the cathode of the LED unit 416A. The electrical contact portion 412C is connected to the RF electrode 414C and the cathode of the LED unit 416B. The electrical contact portion 412D is connected to the RF electrode 414D and the anode of the LED unit 416B. As a result, the power from the body attachment 300 can be supplied to each of the RF electrodes 414A to 414D and the LED units 416A and 416B.

LEDユニット416A,416Bは、ユーザの肌面に第2の光を照射する第2の発光素子である。LEDユニット416A,416Bは、LEDユニット316A〜316Dと同様に、それぞれ単体または複数のLED素子と、このLED素子に過電流を防止するための保護抵抗素子などを透明な樹脂で一つの板状の部材としてパッケージングしたものである。LEDユニット416A,416Bは、開口411bの円周形状に対応するようにアーチ形状に形成されている。LEDユニット416A,416Bはそれぞれ開口411bに沿って配設される。   LED unit 416A, 416B is a 2nd light emitting element which irradiates a user's skin surface with 2nd light. As with the LED units 316A to 316D, the LED units 416A and 416B each include a single or a plurality of LED elements and a protective resistance element for preventing overcurrent in the LED elements in a single plate shape with a transparent resin. Packaged as a member. The LED units 416A and 416B are formed in an arch shape so as to correspond to the circumferential shape of the opening 411b. The LED units 416A and 416B are disposed along the opening 411b.

筐体410に裏面部410cから表面部410aにかけて貫通する貫通口を設けて、LEDユニット316A〜316Dの光をこの貫通口に導光して、表面部410aからLEDユニット316A〜316Dの光を射出するような構成としてもよい。   The casing 410 is provided with a through hole penetrating from the back surface portion 410c to the front surface portion 410a, and the light of the LED units 316A to 316D is guided to the through hole, and the light of the LED units 316A to 316D is emitted from the front surface portion 410a. It is good also as a structure which does.

透過ガラス422は、光照射通路411aの略中間に配設されている。透過ガラス422は、透過ガラス422によって、開口411bの奥にユーザが不用意に指などを入れてしまうことを防止することができる。透過ガラス422には、透過ガラス322と同様にキセノン管318の光に含まれる紫外線をカットする機能を備えさせてもさせてもよい。
金属部424は、銅やアルミニウムなどの金属材料で構成されている板部材である。金属部424は、裏面部410cの外周部の縁部を覆うように配設されている。
The transmission glass 422 is disposed substantially in the middle of the light irradiation passage 411a. The transmissive glass 422 can prevent the user from inadvertently putting a finger or the like behind the opening 411b by the transmissive glass 422. The transmission glass 422 may be provided with a function of cutting ultraviolet rays contained in the light of the xenon tube 318 in the same manner as the transmission glass 322.
The metal part 424 is a plate member made of a metal material such as copper or aluminum. The metal part 424 is disposed so as to cover the edge of the outer peripheral part of the back surface part 410c.

以上のような構成を有するフェイス用アタッチメント400では、金属部424がボディ用アタッチメント300に配設されたマグネット321に引き寄せられる。このことにより、フェイス用アタッチメント400をボディ用アタッチメント300に対して容易に着脱することができる。   In the face attachment 400 having the above-described configuration, the metal portion 424 is attracted to the magnet 321 provided in the body attachment 300. Thus, the face attachment 400 can be easily attached to and detached from the body attachment 300.

フェイス用アタッチメント400では、光照射通路411aによって遮光したキセノン管318の光をユーザの肌面に供給できる。
フェイス用アタッチメント400では、電気接点部412A〜412Dとボディ用アタッチメント300の電極314A〜314Dとがそれぞれ接触するので、筐体410b内部で電気接点部412A〜412Dと接続されたRF電極414A〜414Dに対して、電極314A〜314Dから電流を供給することができる。したがって、RF電極414A〜414Dを使用して、ユーザの肌面に高周波電流を供給することができる。
さらに、フェイス用アタッチメント400では、電気接点部412A〜412DとLEDユニット416A,416Bが電気的に接続されているので、LEDユニット416A,416Bに対して、電極314A〜314Dから電流を供給することができる。したがって、LEDユニット416A,416Bを使用して、ユーザの肌面にLEDの光を供給することができる。
In the face attachment 400, the light of the xenon tube 318 shielded by the light irradiation passage 411a can be supplied to the skin surface of the user.
In the face attachment 400, the electrical contact portions 412A to 412D and the electrodes 314A to 314D of the body attachment 300 are in contact with each other, and therefore the RF electrodes 414A to 414D connected to the electrical contact portions 412A to 412D inside the housing 410b. On the other hand, current can be supplied from the electrodes 314A to 314D. Therefore, the RF electrodes 414A to 414D can be used to supply a high-frequency current to the user's skin surface.
Furthermore, in the face attachment 400, since the electrical contact portions 412A to 412D and the LED units 416A and 416B are electrically connected, current can be supplied from the electrodes 314A to 314D to the LED units 416A and 416B. it can. Therefore, LED light can be supplied to the user's skin using the LED units 416A and 416B.

以上説明したように光照射型美容装置1では、ボディ用アタッチメント300を美容プローブ100の筐体110に装着することにより、RF電極314A〜314Dによる高周波電流、キセノン管318によるフラッシュ、LEDユニット316A〜316Dの光を用いて除毛処理を行うことができる。   As described above, in the light-irradiated beauty device 1, by attaching the body attachment 300 to the housing 110 of the beauty probe 100, the high-frequency current by the RF electrodes 314A to 314D, the flash by the xenon tube 318, and the LED units 316A to 316A. The hair removal treatment can be performed using 316D light.

そして光照射型美容装置1では、フェイス用アタッチメント400をボディ用アタッチメント300に容易に取り付けることができる。したがって、ユーザの肌面上でのキセノン管118の光の照射範囲をフェイス用アタッチメント400によって容易に変えることができる。フェイス用アタッチメント400のRF電極414A〜414Dによる高周波電流、LEDユニット416A,416Bの光及び光照射通路411aを通過したキセノン管318の光を用いて除毛処理を行うことができる。
このとき、フェイス用アタッチメント400の着脱をマグネット321によって行うことができるので、光照射通路411aによるキセノン管318の光の肌面上の照射範囲を容易に縮小することができる。したがって、キセノン管318の光が眼に不要に入ってしまうリスクを容易に低減することができる。
In the light irradiation type beauty apparatus 1, the face attachment 400 can be easily attached to the body attachment 300. Therefore, the light irradiation range of the xenon tube 118 on the user's skin surface can be easily changed by the face attachment 400. Hair removal treatment can be performed using high-frequency current from the RF electrodes 414A to 414D of the face attachment 400, light from the LED units 416A and 416B, and light from the xenon tube 318 that has passed through the light irradiation passage 411a.
At this time, since attachment / detachment of the face attachment 400 can be performed by the magnet 321, the irradiation range on the skin surface of the light of the xenon tube 318 by the light irradiation passage 411a can be easily reduced. Therefore, the risk that the light of the xenon tube 318 enters the eye unnecessarily can be easily reduced.

光照射型美容装置1では、RF電極314A〜314DまたはRF電極414A〜414Dによる高周波電流によって、肌面が温められる(所謂プレヒーティング)。この結果、毛穴が開き、キセノン管318の光が効率よく毛根に届くようになる。
光照射型美容装置1では、ボディ用アタッチメント300を取り外すことで、剃毛部収納口110eから引き出された剃毛部112によって剃毛を行うことができる。すなわち、光照射型美容装置1では、各アタッチメントを着脱することにより、必要に応じて種々の除毛作業を行うことができる。
In the light irradiation type beauty apparatus 1, the skin surface is warmed by a high-frequency current from the RF electrodes 314A to 314D or the RF electrodes 414A to 414D (so-called preheating). As a result, the pores are opened, and the light from the xenon tube 318 reaches the hair root efficiently.
In the light irradiation type beauty apparatus 1, by removing the body attachment 300, it is possible to shave with the shaving portion 112 drawn out from the shaving portion storage opening 110e. That is, in the light irradiation type beauty apparatus 1, various hair removal operations can be performed as necessary by attaching and detaching each attachment.

(メイン基板214による制御について)
次に図4を用いて、収容筐体200のメイン基板214による美容プローブ100及びボディ用アタッチメント300の制御について説明する。
図4は、メイン基板214の電子回路220、美容プローブ100及びボディ用アタッチメント300がそれぞれ備える機能の一部を示す機能ブロック図である。
(Control by main board 214)
Next, the control of the beauty probe 100 and the body attachment 300 by the main board 214 of the housing 200 will be described with reference to FIG.
FIG. 4 is a functional block diagram illustrating some of the functions of the electronic circuit 220, the beauty probe 100, and the body attachment 300 of the main board 214.

図4に示すように美容プローブ100が備える基板130は、スイッチ部131、冷却ファン部132、剃毛制御部133、トリガ部134及びバイパス部135を有する。
スイッチ部131は、図1に示すスイッチ122と接続される。スイッチ部131は、スイッチ122のON・OFFを検知することができる。スイッチ部131は、スイッチ122のONまたはOFFを示すよう信号を収容筐体200のメイン基板214に出力する。
As shown in FIG. 4, the substrate 130 included in the beauty probe 100 includes a switch unit 131, a cooling fan unit 132, a shaving control unit 133, a trigger unit 134, and a bypass unit 135.
The switch unit 131 is connected to the switch 122 shown in FIG. The switch unit 131 can detect ON / OFF of the switch 122. The switch unit 131 outputs a signal to the main board 214 of the housing 200 to indicate whether the switch 122 is ON or OFF.

冷却ファン部132は、図1に示す冷却ファン120と接続される。冷却ファン部132は、冷却ファン120の駆動をON・OFFする。
剃毛制御部133は、図1に示す振動モータ112cを駆動させる。この結果剃毛刃112bが振動する。トリガ部134は、キセノン管318の点灯をON・OFFする。
バイパス部135は、RF電極314A〜314Dへの高周波電流の供給やLEDユニット316A〜316Dの点滅をメイン基板214が直接的に制御するためのバイパス回路である。バイパス部135には、信号線接続コネクタ118を介してサーミスタ323及び照度センサ319A,319Bが接続される。
The cooling fan unit 132 is connected to the cooling fan 120 shown in FIG. The cooling fan unit 132 turns driving of the cooling fan 120 on and off.
The shaving control unit 133 drives the vibration motor 112c shown in FIG. As a result, the shaving blade 112b vibrates. The trigger unit 134 turns the xenon tube 318 on and off.
The bypass unit 135 is a bypass circuit for the main board 214 to directly control the supply of high-frequency current to the RF electrodes 314A to 314D and the blinking of the LED units 316A to 316D. The thermistor 323 and illuminance sensors 319A and 319B are connected to the bypass unit 135 via the signal line connector 118.

収容筐体200が備えるメイン基板214は、電圧変換部221、AC制御部222、RF電圧制御部223及びメイン制御部225を有する。
電圧変換部221は、商用電源から得られる電力に基づいて、交流電流を整流したり、電圧を降圧したりしてAC制御部222、メイン制御部225e及びRF電圧制御部223などに供給する。電圧変換部221は、例えば、商用電源から得られる100Vの電圧を0V〜12V程度まで降圧することができる。
The main board 214 included in the housing 200 includes a voltage conversion unit 221, an AC control unit 222, an RF voltage control unit 223, and a main control unit 225.
The voltage converter 221 rectifies the alternating current or reduces the voltage based on the electric power obtained from the commercial power supply, and supplies it to the AC controller 222, the main controller 225e, the RF voltage controller 223, and the like. For example, the voltage converter 221 can step down a voltage of 100 V obtained from a commercial power source to about 0 V to 12 V.

AC制御部222は昇圧整流回路222a、チャージ回路222b及びコンデンサ部222cを備える。AC制御部222はキセノン管318を点灯させるための点灯回路である。
昇圧整流回路222aは、商用電源から得られる交流電圧を昇圧する。昇圧整流回路222aは、昇圧した交流電圧を整流する。昇圧整流回路222aは、交流電圧を整流したあとに昇圧するような構成であってもよい。
The AC control unit 222 includes a boost rectifier circuit 222a, a charge circuit 222b, and a capacitor unit 222c. The AC control unit 222 is a lighting circuit for lighting the xenon tube 318.
The boost rectifier circuit 222a boosts an AC voltage obtained from a commercial power source. The boost rectifier circuit 222a rectifies the boosted AC voltage. The step-up rectifier circuit 222a may be configured to step up after the AC voltage is rectified.

チャージ回路222bは、昇圧整流回路222aから出力された電流をコンデンサ部222cに出力する充電回路である。コンデンサ部222cは、昇圧整流回路222aから出力された電気を蓄積する。コンデンサ部222cに蓄積された電気がトリガ部134のスイッチ動作によってキセノン管318に供給される。   The charge circuit 222b is a charge circuit that outputs the current output from the boost rectifier circuit 222a to the capacitor unit 222c. The capacitor unit 222c stores the electricity output from the boost rectifier circuit 222a. The electricity stored in the capacitor unit 222 c is supplied to the xenon tube 318 by the switch operation of the trigger unit 134.

RF電圧制御部223は、RF電極314A〜314Dに印加する1MHz程度の高周波電圧を生成する電圧生成部である。RF電圧制御部223は、電圧変換部221から出力された直流電圧を必要に応じて交流電圧に変換したり、降圧したりする。RF電圧制御部223が生成した高周波電圧は、バイパス部135を介してRF電極314A〜314Dに印加される。この結果、RF電極314A〜314Dがユーザの肌面に接触したとき、ユーザの肌面に高周波電流が流れる。   The RF voltage control unit 223 is a voltage generation unit that generates a high-frequency voltage of about 1 MHz applied to the RF electrodes 314A to 314D. The RF voltage control unit 223 converts the DC voltage output from the voltage conversion unit 221 into an AC voltage or steps down the voltage as necessary. The high frequency voltage generated by the RF voltage control unit 223 is applied to the RF electrodes 314 </ b> A to 314 </ b> D via the bypass unit 135. As a result, when the RF electrodes 314A to 314D come into contact with the user's skin surface, a high-frequency current flows through the user's skin surface.

メイン制御部225は、スイッチ部225a、タイマ部225b、メモリ部225c、ブザー部225d及びこれらを制御する制御部225eを有する。
スイッチ部225aは図1に示すメインスイッチ211と接続される。タイマ部225bは、時間を計時する。タイマ部225bは、計時した時間を示す情報を制御部225eに出力する。メモリ部225cにはファームウェアや種々の閾値、変換テーブルなどが予め記憶されている。
The main control unit 225 includes a switch unit 225a, a timer unit 225b, a memory unit 225c, a buzzer unit 225d, and a control unit 225e that controls them.
The switch unit 225a is connected to the main switch 211 shown in FIG. The timer unit 225b measures time. The timer unit 225b outputs information indicating the measured time to the control unit 225e. The memory unit 225c stores firmware, various threshold values, a conversion table, and the like in advance.

ブザー部225dは制御部225eに制御されて音を発する。
制御部225eは、キセノン管318を駆動する。具体的には、制御部225eは、トリガ部134を制御してコンデンサ部222cとキセノン管318とを電気的に接続させる。
The buzzer unit 225d emits sound under the control of the control unit 225e.
The control unit 225e drives the xenon tube 318. Specifically, the control unit 225e controls the trigger unit 134 to electrically connect the capacitor unit 222c and the xenon tube 318.

制御部225eは、バイパス部135を介して照度センサ319A,319B及びサーミスタ323と電気的に接続されている。制御部225eには、照度センサ319A,319Bから出力される電流が入力される。制御部225eは、照度センサ319Aから出力された電流に基づく開口311内部の照度(以下、照度1と称す)及び照度センサ319Bから出力された電流に基づく開口311内部の照度(以下、照度2と称す)をそれぞれ算出することができる。   The control unit 225e is electrically connected to the illuminance sensors 319A and 319B and the thermistor 323 via the bypass unit 135. The current output from the illuminance sensors 319A and 319B is input to the control unit 225e. The control unit 225e includes an illuminance inside the opening 311 based on the current output from the illuminance sensor 319A (hereinafter referred to as illuminance 1) and an illuminance inside the opening 311 based on the current output from the illuminance sensor 319B (hereinafter referred to as illuminance 2). Respectively) can be calculated.

制御部225eは、メモリ部225cに予め保持された変換テーブルと照度センサ319Aから出力された電流値を用いて開口311内部の照度を算出する。
制御部225eは、サーミスタ323の電気的な抵抗の変化に基づいて、開口311内部の温度を算出することができる。制御部225eは、メモリ部225cに予め保持された変換テーブルとサーミスタ323の抵抗値を用いて開口311内部の温度を算出する。
制御部225eは、チャージ回路222bを介してコンデンサ部222cの蓄電状態を検知することができる。
The control unit 225e calculates the illuminance inside the opening 311 using the conversion table held in advance in the memory unit 225c and the current value output from the illuminance sensor 319A.
The control unit 225e can calculate the temperature inside the opening 311 based on the change in electrical resistance of the thermistor 323. The control unit 225e calculates the temperature inside the opening 311 using the conversion table held in advance in the memory unit 225c and the resistance value of the thermistor 323.
The control unit 225e can detect the storage state of the capacitor unit 222c through the charge circuit 222b.

制御部225eは、以下の条件(1)〜(4)がすべて揃った場合に、キセノン管318を点灯させる。
(1)制御部225eが算出した照度1及び照度2が共に10ルクス以下の場合。「10ルクス以下の照度」は、ボディ用アタッチメント300の開口311またはフェイス用アタッチメント400の開口411bがユーザの肌によって塞がれている状態を示している。
(2)制御部225eが算出した開口311内部の温度がメモリ部225cに予め保持された閾値よりも低かった場合。
(3)キセノン管318を点灯させるのに必要な分だけの電気がコンデンサ部222cに蓄電された場合。
(4)制御部225eが、スイッチ部131から出力されたスイッチ122のONを示す信号を受信した場合。
The control unit 225e lights the xenon tube 318 when all of the following conditions (1) to (4) are met.
(1) When the illuminance 1 and the illuminance 2 calculated by the control unit 225e are both 10 lux or less. “Illuminance of 10 lux or less” indicates a state in which the opening 311 of the body attachment 300 or the opening 411b of the face attachment 400 is blocked by the user's skin.
(2) A case where the temperature inside the opening 311 calculated by the control unit 225e is lower than a threshold value held in advance in the memory unit 225c.
(3) A case where electricity necessary for lighting the xenon tube 318 is stored in the capacitor 222c.
(4) When the control unit 225e receives a signal indicating ON of the switch 122 output from the switch unit 131.

制御部225eは、例えば、上記(1)〜(4)の条件を(1)から順にフラグを立てていき、すべてのフラグが立ったときにキセノン管318を点灯させる。
制御部225eは、タイマ部225cから時間情報を受信する。制御部225eは、例えば、メインスイッチ211のON状態が一定時間を超えた場合には、RF電圧制御部223を制御して、RF電極314A〜314DまたはRF電極414A〜414Dへの高周波電圧の供給を停止させることもできる。このことにより、必要以上に高周波電流がユーザの肌に流されることを防止することができる。
For example, the control unit 225e raises flags for the above conditions (1) to (4) in order from (1), and turns on the xenon tube 318 when all the flags are raised.
The control unit 225e receives time information from the timer unit 225c. For example, when the ON state of the main switch 211 exceeds a certain time, the control unit 225e controls the RF voltage control unit 223 to supply a high-frequency voltage to the RF electrodes 314A to 314D or the RF electrodes 414A to 414D. Can also be stopped. As a result, it is possible to prevent a high-frequency current from flowing to the user's skin more than necessary.

以上説明したようにこの実施形態の光照射型美容装置1によれば、制御部225eが算出した照度1及び照度2に基づいて、ボディ用アタッチメント300の開口311またはフェイス用アタッチメント400の開口411bが、ユーザの肌によって塞がれている状態のときのみキセノン管318を点灯させるので、開口311または開口411bからキセノン管318の光が漏れてしまうことを防止することができる。   As described above, according to the light irradiation type beauty device 1 of this embodiment, the opening 311 of the body attachment 300 or the opening 411b of the face attachment 400 is based on the illuminance 1 and the illuminance 2 calculated by the control unit 225e. Since the xenon tube 318 is lit only when it is blocked by the user's skin, light from the xenon tube 318 can be prevented from leaking from the opening 311 or the opening 411b.

光照射型美容装置1によれば、制御部225eが算出した開口311内部の温度が閾値以下の場合のみキセノン管318を点灯させるので、キセノン管318が熱によって損傷してしまうことを防止することができる。
光照射型美容装置1によれば、キセノン管318を点灯させるのに必要な分だけの電気がコンデンサ部222cに蓄電された場合のみキセノン管318を点灯させるので、コンデンサ部222cの過放電を防止したりトリガ部134の不要なスイッチング動作を低減することができる。
According to the light irradiation type beauty apparatus 1, the xenon tube 318 is turned on only when the temperature inside the opening 311 calculated by the control unit 225e is equal to or lower than the threshold value, so that the xenon tube 318 is prevented from being damaged by heat. Can do.
According to the light irradiation type beauty device 1, the xenon tube 318 is turned on only when the amount of electricity necessary for turning on the xenon tube 318 is stored in the capacitor unit 222c, thereby preventing overdischarge of the capacitor unit 222c. Therefore, unnecessary switching operation of the trigger unit 134 can be reduced.

光照射型美容装置1によれば、制御部225eが、スイッチ部131から出力されたスイッチ122のONを示す信号を受信した場合のみキセノン管318を点灯させるので、キセノン管318が不必要に発光することを防止することができる。   According to the light-irradiating beauty device 1, the control unit 225e turns on the xenon tube 318 only when the control unit 225e receives a signal indicating the ON state of the switch 122 output from the switch unit 131. Therefore, the xenon tube 318 emits light unnecessarily. Can be prevented.

[第2の実施形態]
次に、本発明の第2の実施形態の光照射型美容装置2を図5に基づき説明する。図5は、第2の実施形態の光照射型美容装置2のメイン基板214Aの電子回路220A、美容プローブ100及びボディ用アタッチメント300がそれぞれ備える機能の一部を示す機能ブロック図である。
なお、図5中において、図4に示した第1の実施形態中の構成要素と同一の構成要素については、同一の符号を付与し、その説明を省略する。
[Second Embodiment]
Next, a light irradiation type beauty apparatus 2 according to a second embodiment of the present invention will be described with reference to FIG. FIG. 5 is a functional block diagram illustrating some of the functions of the electronic circuit 220A, the beauty probe 100, and the body attachment 300 of the main substrate 214A of the light-irradiating beauty device 2 according to the second embodiment.
In FIG. 5, the same components as those in the first embodiment shown in FIG. 4 are given the same reference numerals, and the description thereof is omitted.

図5に示す第2の実施形態の光照射型美容装置2は、メイン基板214Aを備える。
メイン基板214Aは、ユーザの肌面の電流の通電状態に対応させてキセノン管318の発光のON・OFFを制御する第2の発光制御部である。メイン基板214Aはには、図4に示した電子回路220と対応する電子回路220Aが形成される。すなわち、メイン基板214Aは、図4に示す第1の実施の形態のメイン基板214が、制御部225eと対応する機能を有する制御部225f及び電流検知部224をさらに有するように構成されたものである。
The light-irradiating beauty device 2 of the second embodiment shown in FIG. 5 includes a main substrate 214A.
The main board 214 </ b> A is a second light emission control unit that controls ON / OFF of light emission of the xenon tube 318 in accordance with the energization state of the current on the skin surface of the user. On the main substrate 214A, an electronic circuit 220A corresponding to the electronic circuit 220 shown in FIG. 4 is formed. That is, the main board 214A is configured such that the main board 214 of the first embodiment shown in FIG. 4 further includes a control unit 225f and a current detection unit 224 having functions corresponding to the control unit 225e. is there.

電流検知部224は、RF電圧制御部223とバイパス部135の間に介在している。電流検知部224は、RF電極314A〜314DまたはRF電極414A〜414Dと接触したユーザの肌面に高周波電流が流れているか否を検知することができる。電流検知部224は、ユーザの肌面に高周波電流が流れていることを示す検知信号を制御部225fに出力する。例えば電流検知部224は、ユーザの肌面に高周波電流が300mA以上流れた場合に、検知信号を制御部225fに出力する。   The current detection unit 224 is interposed between the RF voltage control unit 223 and the bypass unit 135. The current detection unit 224 can detect whether or not a high-frequency current is flowing on the skin surface of the user in contact with the RF electrodes 314A to 314D or the RF electrodes 414A to 414D. The current detection unit 224 outputs a detection signal indicating that a high-frequency current is flowing on the user's skin surface to the control unit 225f. For example, the current detection unit 224 outputs a detection signal to the control unit 225f when a high-frequency current of 300 mA or more flows on the user's skin surface.

(制御部225fによるキセノン管318の点灯制御について)
制御部225fは、以下の条件(1)〜(5)が揃った場合に、キセノン管318を点灯させる。
(1)制御部225fが算出した照度1及び照度2が共に10ルクス以下の場合。
(2)制御部225fが、が算出した開口311内部の温度がメモリ部225cに予め保持された閾値よりも低かった場合。
(3)制御部225fが、電流検知部224から検知信号を受信した場合。
(4)キセノン管318を点灯させるのに必要な分だけの電気がコンデンサ部222cに蓄電された場合。
(5)制御部225fが、スイッチ部131から出力されたスイッチ122のONを示す信号を受信した場合。
(Lighting control of the xenon tube 318 by the control unit 225f)
The controller 225f lights the xenon tube 318 when the following conditions (1) to (5) are met.
(1) When the illuminance 1 and the illuminance 2 calculated by the control unit 225f are both 10 lux or less.
(2) When the temperature inside the opening 311 calculated by the control unit 225f is lower than the threshold value held in advance in the memory unit 225c.
(3) When the control unit 225f receives a detection signal from the current detection unit 224.
(4) When electricity necessary for lighting the xenon tube 318 is stored in the capacitor 222c.
(5) When the control unit 225f receives a signal indicating the ON state of the switch 122 output from the switch unit 131.

以上のように、この第2の実施形態の光照射型美容装置2では、電流検知部224及び制御部225fを備えることによって、RF電極314A〜314DまたはRF電極414A〜414Dをタッチセンサーとして機能させることができる。RF電極314A〜314DまたはRF電極414A〜414Dをタッチセンサーとして機能させることによって、キセノン管318が不必要に点灯してしまうリスクをさらに低減することができる。   As described above, in the light-irradiation beauty device 2 of the second embodiment, the RF electrodes 314A to 314D or the RF electrodes 414A to 414D function as a touch sensor by including the current detection unit 224 and the control unit 225f. be able to. By causing the RF electrodes 314A to 314D or the RF electrodes 414A to 414D to function as a touch sensor, the risk that the xenon tube 318 is unnecessarily lit can be further reduced.

[変形例1]
以上、本発明の第1及び第2の実施形態に係る光照射型美容装置1及び光照射型美容装置2について説明したが、本発明は上記の実施の形態にのみ限定されるものではなく、その要旨を逸脱しない範囲で種々の変更が可能である。
例えば、光照射型美容装置1または光照射型美容装置2は、図6に示すような冷却アタッチメント500を備えるようにしてもよい。図6は、冷却アタッチメント500を示す斜視図である。
冷却アタッチメント500は、ユーザの肌面の熱を吸熱する第3の美容アタッチメントである。
[Modification 1]
The light-irradiating beauty device 1 and the light-irradiating beauty device 2 according to the first and second embodiments of the present invention have been described above, but the present invention is not limited to the above-described embodiments, Various modifications can be made without departing from the scope of the invention.
For example, the light-irradiating beauty device 1 or the light-irradiating beauty device 2 may include a cooling attachment 500 as shown in FIG. FIG. 6 is a perspective view showing the cooling attachment 500.
The cooling attachment 500 is a third beauty attachment that absorbs heat of the user's skin surface.

図6に示すように冷却アタッチメント500は、図2Aに示したボディ用アタッチメント300が備える筐体310と対応する筐体510、この筐体510内部に収容されたペルチェ素子512及びユーザの肌面に接触する金属プレート514を備える。なお、筐体510は、筐体410と対応するように構成することもできる。この場合、筐体510には、筐体410と同様に金属部424が配設される。   As shown in FIG. 6, the cooling attachment 500 is provided on the case 510 corresponding to the case 310 provided in the body attachment 300 shown in FIG. 2A, the Peltier element 512 accommodated in the case 510, and the skin surface of the user. The metal plate 514 which contacts is provided. Note that the housing 510 can also be configured to correspond to the housing 410. In this case, the metal portion 424 is disposed in the housing 510 similarly to the housing 410.

金属プレート514は、筐体510内部においてペルチェ素子512の冷温面に接続されている。この結果、金属プレート514はペルチェ素子512の熱移動に対応して冷却される。冷却された状態の金属プレート514をユーザの肌面にあてることで、キセノン管318の光やRF電極314A〜314DまたはRF電極414A〜414Dによる高周波電流によって暖められた肌を冷やすことができる。   The metal plate 514 is connected to the cold surface of the Peltier element 512 inside the housing 510. As a result, the metal plate 514 is cooled corresponding to the heat transfer of the Peltier element 512. By applying the cooled metal plate 514 to the user's skin surface, the skin heated by the light of the xenon tube 318 and the RF electrodes 314A to 314D or the RF electrodes 414A to 414D can be cooled.

[変形例2]
光照射型美容装置1は、図7A及び図7Bに示すように冷却アタッチメント600を備えるようにしてもよい。図7Aは冷却アタッチメント600を示す斜視図である。図7Bは冷却アタッチメント600の一部断面図である。
冷却アタッチメント600は、ユーザの肌面の熱を吸熱する第3の美容アタッチメントである。
[Modification 2]
The light-irradiating beauty device 1 may include a cooling attachment 600 as shown in FIGS. 7A and 7B. FIG. 7A is a perspective view showing the cooling attachment 600. FIG. 7B is a partial cross-sectional view of the cooling attachment 600.
The cooling attachment 600 is a third beauty attachment that absorbs heat of the user's skin surface.

図7A及び7Bに示すように冷却アタッチメント600は、図3Aに示したフェイス用アタッチメント400が備える筐体410と対応する筐体610を備える。すなわち冷却アタッチメント600は、ボディ用アタッチメント300上に取り付けられる。このとき、冷却アタッチメント600は、ボディ用アタッチメント300が備えるマグネット321によって固定される。なお、筐体610は、筐体310と対応するように構成することもできる。   As shown in FIGS. 7A and 7B, the cooling attachment 600 includes a housing 610 corresponding to the housing 410 included in the face attachment 400 shown in FIG. 3A. That is, the cooling attachment 600 is attached on the body attachment 300. At this time, the cooling attachment 600 is fixed by the magnet 321 included in the body attachment 300. Note that the housing 610 can be configured to correspond to the housing 310.

冷却アタッチメント600は、内部に保冷ジェル612が充填されたローラ部614を備える。ローラ部614は筐体610に回転自在に設けられる。冷却アタッチメント600は例えば、普段冷蔵庫に保管しておくことが望ましい。冷却アタッチメント600によれば、冷やされた保冷ジェル612によって、キセノン管318の光やRF電極314A〜314DまたはRF電極414A〜414Dによる高周波電流によって暖められた肌を冷やすことができる。   The cooling attachment 600 includes a roller portion 614 filled with a cold insulation gel 612. The roller unit 614 is rotatably provided on the housing 610. For example, it is desirable to store the cooling attachment 600 in a refrigerator. According to the cooling attachment 600, the cooled heat-retaining gel 612 can cool the skin warmed by the light from the xenon tube 318 and the high-frequency current from the RF electrodes 314A to 314D or the RF electrodes 414A to 414D.

また、冷却アタッチメント600によれば、ローラ部614をユーザの肌面上で転動させることによって、マッサージ効果を得ることができる。
ここでは冷却アタッチメント600は保冷ジェル612を充填したローラ部614を備える構造としたが、保冷ジェル612を備えず、ローラ部614を金属で形成するように構成してもよい。
Moreover, according to the cooling attachment 600, a massage effect can be acquired by rolling the roller part 614 on a user's skin surface.
Here, the cooling attachment 600 has a structure including the roller portion 614 filled with the cold insulation gel 612. However, the roller attachment portion 614 may be formed of metal without including the cold insulation gel 612.

[その他の実施形態]
本発明の実施形態は上記の実施形態または変形例に限られず拡張、変更が可能であり、拡張、変更した実施形態も本発明の技術的範囲に含まれる
例えば、剃毛部112が振動モータ112cを備えなくともよい。例えば、LEDユニット316A〜316Dが、給電部326からではなく、信号線コネクタ部328から電力を供給されるように構成することもできる。
[Other Embodiments]
Embodiments of the present invention are not limited to the above-described embodiments or modifications, and can be expanded and modified. The expanded and modified embodiments are also included in the technical scope of the present invention. For example, the shaving portion 112 is a vibration motor 112c. It is not necessary to have. For example, the LED units 316 </ b> A to 316 </ b> D may be configured to be supplied with power from the signal line connector unit 328 instead of from the power supply unit 326.

フェイス用アタッチメント400からいくつかの構成を削除するようにしてもよい。例えば、フェイス用アタッチメント400が、RF電極414A〜414Dを備えない構成とすることもできる。例えば、フェイス用アタッチメント400が、LEDユニット416A,416Bを備えない構成とすることもできる。   You may make it delete some structures from the attachment 400 for faces. For example, the face attachment 400 may be configured not to include the RF electrodes 414A to 414D. For example, the face attachment 400 may be configured not to include the LED units 416A and 416B.

1,2…光照射型美容装置、100…美容プローブ、110…筐体、111…アタッチメント装着部、112…剃毛部、116…電源供給コネクタ、118…信号線接続コネクタ、120…冷却ファン、122…スイッチ、130…基板、131…スイッチ部、132…冷却ファン部、133…剃毛制御部、134…トリガ部、135…バイパス部、200…収容筐体、210…筐体、211…メインスイッチ、212…給電ケーブル接続部、214…メイン基板、216…ケーブル部、220…電子回路、221…電圧変換部、222…制御部、223…電圧制御部、224…電流検知部、225…メイン制御部、300…ボディ用アタッチメント、314A〜314D…RF電極、316A〜316D…LEDユニット、412A〜412D…電気接点部、414A〜414D…RF電極、310…筐体、311…開口、318…キセノン管、320…リフレクタ、321…マグネット、322…透過ガラス、324…係止溝、326…給電部、328…信号線コネクタ部、400…フェイス用アタッチメント、410…筐体、422…透過ガラス、424…金属部、500…冷却アタッチメント、500…保護ケーブル部、500…ケーブル、500…冷却アタッチメント、510…筐体、512…ペルチェ素子、514…金属プレート、600…冷却アタッチメント、610…筐体、612…保冷ジェル、614…ローラ部。 DESCRIPTION OF SYMBOLS 1, 2 ... Light irradiation type beauty apparatus, 100 ... Beauty probe, 110 ... Case, 111 ... Attachment mounting part, 112 ... Shaving part, 116 ... Power supply connector, 118 ... Signal line connector, 120 ... Cooling fan, DESCRIPTION OF SYMBOLS 122 ... Switch, 130 ... Board | substrate, 131 ... Switch part, 132 ... Cooling fan part, 133 ... Shaving control part, 134 ... Trigger part, 135 ... Bypass part, 200 ... Housing | casing housing | casing, 210 ... Housing | casing, 211 ... Main Switch 212, feeding cable connection 214, main board 216 cable, 220 electronic circuit 221 voltage converter 222 control unit 223 voltage control unit 224 current detection unit 225 main Control unit, 300 ... Body attachment, 314A to 314D ... RF electrode, 316A to 316D ... LED unit, 412A to 41 D: Electrical contact portion, 414A to 414D: RF electrode, 310: housing, 311 ... opening, 318 ... xenon tube, 320 ... reflector, 321 ... magnet, 322 ... transmission glass, 324 ... locking groove, 326 ... power feeding portion 328 ... Signal line connector part, 400 ... Face attachment, 410 ... Case, 422 ... Transparent glass, 424 ... Metal part, 500 ... Cooling attachment, 500 ... Protective cable part, 500 ... Cable, 500 ... Cooling attachment, 510 ... Case, 512 ... Peltier element, 514 ... Metal plate, 600 ... Cooling attachment, 610 ... Case, 612 ... Cooling gel, 614 ... Roller part.

Claims (10)

電源供給部及び把持部を有する本体と、
前記本体と着脱可能に構成され、前記本体に装着された場合に前記電源供給部から電流を受ける第1の接続電極、該第1の接続電極が受けた電流をユーザの肌面に供給する第1の供給電極、及び、前記肌面に第1の光を照射する第1の発光素子を有する第1の美容アタッチメントと、
前記第1の美容アタッチメントと着脱可能に構成され、前記第1の美容アタッチメントに装着された場合に前記第1の供給電極と接触して電流を受ける第2の接続電極、該第2の接続電極が受けた電流に基づいて前記肌面に電流及びまたは第2の光を供給する刺激付与部、及び、前記第1の発光素子の光を遮光して前記肌面上の前記光の照射面積を縮小させる遮光窓を有する第2の美容アタッチメントと
を具備する光照射型美容装置。
A main body having a power supply unit and a gripping unit;
A first connection electrode configured to be detachable from the main body and receiving current from the power supply unit when mounted on the main body, and a first connection electrode for supplying current received by the first connection electrode to a user's skin surface A first cosmetic attachment having a first light-emitting element that irradiates the skin surface with a first light;
A second connection electrode configured to be detachable from the first cosmetic attachment and receiving a current in contact with the first supply electrode when the first cosmetic attachment is attached; the second connection electrode; A stimulus applying unit that supplies current and / or second light to the skin surface based on the current received by the light source, and blocks the light of the first light emitting element to reduce the irradiation area of the light on the skin surface. A second cosmetic attachment having a light shielding window to be reduced;
A light irradiation type beauty apparatus comprising:
前記刺激付与部が、前記第2の接続電極が受けた電流を前記肌面に供給する第2の供給電極及びまたは前記第2の光を照射する第2の発光素子を有することを特徴とする請求項1に記載の光照射型美容装置。   The stimulus applying unit includes a second supply electrode for supplying the current received by the second connection electrode to the skin surface and / or a second light emitting element for irradiating the second light. The light irradiation type beauty apparatus according to claim 1. 前記第1の美容アタッチメントが、前記発光素子が配設される開口、前記開口内の照度を検出する照度センサ、及び、前記照度センサが検出した照度に対応して前記発光素子の発光を制御する第1の発光制御部
をさらに具備することを特徴とする請求項1または2に記載の光照射型美容装置。
The first cosmetic attachment controls the light emission of the light emitting element corresponding to the opening in which the light emitting element is disposed, the illuminance sensor for detecting the illuminance in the opening, and the illuminance detected by the illuminance sensor. The light irradiation type cosmetic device according to claim 1, further comprising a first light emission control unit.
前記開口は矩形形状を有し、前記第1の供給電極は、前記開口の隅部に沿って配設されることを特徴とする請求項1ないし3のいずれか1項に記載の光照射型美容装置。   The light irradiation type according to claim 1, wherein the opening has a rectangular shape, and the first supply electrode is disposed along a corner of the opening. Beauty equipment. 前記本体または前記第1の美容アタッチメントと着脱自在構成され、前記ユーザの肌面の熱を吸熱する吸熱部材を備える第3の美容アタッチメントをさらに具備することを特徴とする請求項1ないし4のいずれか1項に記載の光照射型美容装置。   5. The apparatus according to claim 1, further comprising a third beauty attachment that is configured to be detachable from the main body or the first beauty attachment, and includes a heat absorbing member that absorbs heat of the skin surface of the user. The light irradiation type beauty apparatus according to claim 1. 前記吸熱部材が、ペルチェ素子、保冷剤、金属のうちの少なくとも一つであることを特徴とする請求項5に記載の光照射型美容装置。   6. The light irradiation type beauty apparatus according to claim 5, wherein the heat absorbing member is at least one of a Peltier element, a cooling agent, and a metal. 前記第1の美容アタッチメントが、第3の光を前記肌面に照射する第3の発光素子をさらに有することを特徴とする請求項1ないし6のいずれか1項に記載の光照射型美容装置。   The light irradiation type beauty apparatus according to any one of claims 1 to 6, wherein the first beauty attachment further includes a third light emitting element that irradiates the skin surface with third light. . 前記本体が、前記肌面上の体毛を除去するためのシェーバーをさらに有することを特徴とする請求項1ないし7のいずれか1項に記載の光照射型美容装置。   The light irradiation type beauty apparatus according to any one of claims 1 to 7, wherein the main body further includes a shaver for removing hair on the skin surface. 前記第1の発光素子は、キセノンランプ、ハロゲンランプ、LEDランプいずれかであることを特徴とする請求項1ないし8のいずれか1項に記載の光照射型美容装置。   The light-irradiating beauty device according to any one of claims 1 to 8, wherein the first light-emitting element is any one of a xenon lamp, a halogen lamp, and an LED lamp. 前記ユーザの肌面の通電状態を検知する検知部と、
前記検知部が検知した前記ユーザの肌面の通電状態に対応して前記第1の発光素子の発光を制御する第2の発光制御部と
をさらに具備することを特徴とする請求項1ないし9のいずれか1項に記載の光照射型美容装置。
A detection unit for detecting an energized state of the user's skin surface;
10. The apparatus according to claim 1, further comprising: a second light emission control unit configured to control light emission of the first light emitting element corresponding to the energization state of the skin surface of the user detected by the detection unit. The light irradiation type beauty apparatus according to any one of the above.
JP2013212148A 2013-10-09 2013-10-09 Light irradiation type beauty equipment Active JP6296743B2 (en)

Priority Applications (3)

Application Number Priority Date Filing Date Title
JP2013212148A JP6296743B2 (en) 2013-10-09 2013-10-09 Light irradiation type beauty equipment
PCT/JP2014/005124 WO2015052929A1 (en) 2013-10-09 2014-10-08 Light irradiation beauty device
TW103135196A TW201526940A (en) 2013-10-09 2014-10-09 Light irradiation beauty device

Applications Claiming Priority (1)

Application Number Priority Date Filing Date Title
JP2013212148A JP6296743B2 (en) 2013-10-09 2013-10-09 Light irradiation type beauty equipment

Publications (2)

Publication Number Publication Date
JP2015073744A true JP2015073744A (en) 2015-04-20
JP6296743B2 JP6296743B2 (en) 2018-03-20

Family

ID=52812759

Family Applications (1)

Application Number Title Priority Date Filing Date
JP2013212148A Active JP6296743B2 (en) 2013-10-09 2013-10-09 Light irradiation type beauty equipment

Country Status (3)

Country Link
JP (1) JP6296743B2 (en)
TW (1) TW201526940A (en)
WO (1) WO2015052929A1 (en)

Cited By (9)

* Cited by examiner, † Cited by third party
Publication number Priority date Publication date Assignee Title
JP2018033923A (en) * 2016-08-26 2018-03-08 ヤーマン株式会社 Light irradiation type beauty equipment
JP2019181005A (en) * 2018-04-16 2019-10-24 パナソニックIpマネジメント株式会社 Light irradiation type cosmetic device
JP2021104405A (en) * 2017-06-06 2021-07-26 マクセルホールディングス株式会社 Light irradiation type beauty instrument
JP2022068686A (en) * 2020-10-22 2022-05-10 パナソニックIpマネジメント株式会社 Light-emitting unit and light irradiation type cosmetic apparatus
JP2023023923A (en) * 2021-08-06 2023-02-16 パナソニックIpマネジメント株式会社 Light emitting unit and light irradiation type beauty device
JP2023512726A (en) * 2020-02-07 2023-03-28 深▲せん▼由莱智能電子有限公司 portable hair removal device
JP2023159318A (en) * 2022-10-17 2023-10-31 深▲せん▼市予一電子科技有限公司 Photon high frequency beauty device
JP2023167370A (en) * 2022-05-12 2023-11-24 ヤーマン株式会社 skin treatment device
JP2024161894A (en) * 2023-05-08 2024-11-20 ヤーマン株式会社 Light irradiation device

Families Citing this family (10)

* Cited by examiner, † Cited by third party
Publication number Priority date Publication date Assignee Title
USD752237S1 (en) 2015-03-03 2016-03-22 Carol Cole Company Skin toning device
USD854699S1 (en) 2018-05-15 2019-07-23 Carol Cole Company Elongated skin toning device
EP3937805A4 (en) 2019-03-13 2022-12-07 FKA Distributing Co., LLC Skin treatment apparatus with cooling member
CN111084933B (en) * 2019-12-30 2024-10-11 中国科学院苏州生物医学工程技术研究所 Intense pulsed light therapy device
USD953553S1 (en) 2020-02-19 2022-05-31 Carol Cole Company Skin toning device
USD957664S1 (en) 2020-07-29 2022-07-12 Carol Cole Company Skin toning device
WO2022135929A1 (en) * 2020-12-21 2022-06-30 Solta Medical Ireland Limited Vented treatment tips
USD970741S1 (en) 2020-12-21 2022-11-22 Bausch Health Ireland Limited Vented tip
CN222889299U (en) * 2024-03-06 2025-05-23 深圳市神牛摄影器材有限公司 Light skin care instrument
CN222942818U (en) * 2024-04-12 2025-06-06 深圳由莱智能电子有限公司 Portable beauty instrument and control circuit thereof

Citations (5)

* Cited by examiner, † Cited by third party
Publication number Priority date Publication date Assignee Title
WO2005092438A1 (en) * 2004-03-26 2005-10-06 Ya-Man Ltd. Treatment device
JP2009034235A (en) * 2007-07-31 2009-02-19 Panasonic Electric Works Co Ltd Hair growth control light irradiation device
JP2009532079A (en) * 2006-03-10 2009-09-10 パロマー・メデイカル・テクノロジーズ・インコーポレーテツド Light beauty device
JP2010162157A (en) * 2009-01-15 2010-07-29 Kyushu Hitachi Maxell Ltd Medical treatment apparatus
US20130045457A1 (en) * 2011-05-26 2013-02-21 Magicsmile Usa, Inc. Lighting Device for Teeth Whitening

Patent Citations (5)

* Cited by examiner, † Cited by third party
Publication number Priority date Publication date Assignee Title
WO2005092438A1 (en) * 2004-03-26 2005-10-06 Ya-Man Ltd. Treatment device
JP2009532079A (en) * 2006-03-10 2009-09-10 パロマー・メデイカル・テクノロジーズ・インコーポレーテツド Light beauty device
JP2009034235A (en) * 2007-07-31 2009-02-19 Panasonic Electric Works Co Ltd Hair growth control light irradiation device
JP2010162157A (en) * 2009-01-15 2010-07-29 Kyushu Hitachi Maxell Ltd Medical treatment apparatus
US20130045457A1 (en) * 2011-05-26 2013-02-21 Magicsmile Usa, Inc. Lighting Device for Teeth Whitening

Cited By (20)

* Cited by examiner, † Cited by third party
Publication number Priority date Publication date Assignee Title
JP2018033923A (en) * 2016-08-26 2018-03-08 ヤーマン株式会社 Light irradiation type beauty equipment
JP2022183289A (en) * 2017-06-06 2022-12-08 マクセル株式会社 Light irradiation type beauty device
JP2021104405A (en) * 2017-06-06 2021-07-26 マクセルホールディングス株式会社 Light irradiation type beauty instrument
JP7163449B2 (en) 2017-06-06 2022-10-31 マクセル株式会社 Light irradiation type beauty device
JP7437478B2 (en) 2017-06-06 2024-02-22 マクセル株式会社 Light irradiation beauty equipment
WO2019202818A1 (en) * 2018-04-16 2019-10-24 パナソニックIpマネジメント株式会社 Light irradiation-type beauty device
JP2019181005A (en) * 2018-04-16 2019-10-24 パナソニックIpマネジメント株式会社 Light irradiation type cosmetic device
JP2023512726A (en) * 2020-02-07 2023-03-28 深▲せん▼由莱智能電子有限公司 portable hair removal device
US12336754B2 (en) 2020-02-07 2025-06-24 Shenzhen Ulike Smart Electronics Co., Ltd. Portable hair removal device
JP7387015B2 (en) 2020-02-07 2023-11-27 深▲せん▼由莱智能電子有限公司 portable hair removal device
JP2022068686A (en) * 2020-10-22 2022-05-10 パナソニックIpマネジメント株式会社 Light-emitting unit and light irradiation type cosmetic apparatus
JP7672035B2 (en) 2020-10-22 2025-05-07 パナソニックIpマネジメント株式会社 Light-emitting unit and light-irradiating beauty device
JP2023023923A (en) * 2021-08-06 2023-02-16 パナソニックIpマネジメント株式会社 Light emitting unit and light irradiation type beauty device
JP7689282B2 (en) 2021-08-06 2025-06-06 パナソニックIpマネジメント株式会社 Light-emitting unit and light-irradiating beauty device
JP2023167370A (en) * 2022-05-12 2023-11-24 ヤーマン株式会社 skin treatment device
JP2024061752A (en) * 2022-05-12 2024-05-08 ヤーマン株式会社 Skin treatment device
JP7449976B2 (en) 2022-05-12 2024-03-14 ヤーマン株式会社 skin treatment device
JP7557026B2 (en) 2022-10-17 2024-09-26 深▲せん▼市予一電子科技有限公司 Photon High Frequency Beauty Device
JP2023159318A (en) * 2022-10-17 2023-10-31 深▲せん▼市予一電子科技有限公司 Photon high frequency beauty device
JP2024161894A (en) * 2023-05-08 2024-11-20 ヤーマン株式会社 Light irradiation device

Also Published As

Publication number Publication date
WO2015052929A1 (en) 2015-04-16
TW201526940A (en) 2015-07-16
JP6296743B2 (en) 2018-03-20

Similar Documents

Publication Publication Date Title
JP6296743B2 (en) Light irradiation type beauty equipment
JP6133914B2 (en) Power supply for dermatological treatment equipment based on light
TWI533818B (en) Hair removing apparatus
CN101674863A (en) Light irradiation beauty appliance
CN113491574B (en) LED light-emitting depilation device
KR20190077278A (en) Scalp care apparatus
JP7108875B2 (en) Light irradiation type beauty device
JP7437478B2 (en) Light irradiation beauty equipment
WO2023274359A1 (en) Led light source module for hair removal and led hair removal instrument
KR20190048086A (en) Scalp care apparatus
JP6909997B2 (en) Light irradiation type beauty device
CN212630890U (en) Safe and comfortable beauty hair removal device
US20250152965A1 (en) Light-Based Beauty Device
CN111920517A (en) epilator
CN113729933A (en) Depilating instrument and control method thereof
CN110420056A (en) A kind of depilator and depilating method based on LED light source
JP2020162792A (en) Light irradiation type beauty device
CN221867125U (en) Household beauty instrument
CN216962615U (en) Depilatory instrument
CN221491260U (en) Cosmetic assembly
CN219070621U (en) Auxiliary head for beauty instrument and beauty equipment
CN221045328U (en) Beauty device
CN220237006U (en) Cosmetic instrument accessory head and cosmetic instrument
CN223323908U (en) Skin care device and heat dissipating device
RU2811650C9 (en) Skin care devices and methods of use

Legal Events

Date Code Title Description
A621 Written request for application examination

Free format text: JAPANESE INTERMEDIATE CODE: A621

Effective date: 20160909

A131 Notification of reasons for refusal

Free format text: JAPANESE INTERMEDIATE CODE: A131

Effective date: 20170815

A521 Request for written amendment filed

Free format text: JAPANESE INTERMEDIATE CODE: A523

Effective date: 20170823

TRDD Decision of grant or rejection written
A01 Written decision to grant a patent or to grant a registration (utility model)

Free format text: JAPANESE INTERMEDIATE CODE: A01

Effective date: 20180206

A61 First payment of annual fees (during grant procedure)

Free format text: JAPANESE INTERMEDIATE CODE: A61

Effective date: 20180220

R150 Certificate of patent or registration of utility model

Ref document number: 6296743

Country of ref document: JP

Free format text: JAPANESE INTERMEDIATE CODE: R150

R250 Receipt of annual fees

Free format text: JAPANESE INTERMEDIATE CODE: R250

R250 Receipt of annual fees

Free format text: JAPANESE INTERMEDIATE CODE: R250

R250 Receipt of annual fees

Free format text: JAPANESE INTERMEDIATE CODE: R250

R250 Receipt of annual fees

Free format text: JAPANESE INTERMEDIATE CODE: R250

R250 Receipt of annual fees

Free format text: JAPANESE INTERMEDIATE CODE: R250