JP2014106948A - 二次元情報読取装置 - Google Patents
二次元情報読取装置 Download PDFInfo
- Publication number
- JP2014106948A JP2014106948A JP2012262094A JP2012262094A JP2014106948A JP 2014106948 A JP2014106948 A JP 2014106948A JP 2012262094 A JP2012262094 A JP 2012262094A JP 2012262094 A JP2012262094 A JP 2012262094A JP 2014106948 A JP2014106948 A JP 2014106948A
- Authority
- JP
- Japan
- Prior art keywords
- dimensional information
- article
- liquid crystal
- optical system
- imaging
- Prior art date
- Legal status (The legal status is an assumption and is not a legal conclusion. Google has not performed a legal analysis and makes no representation as to the accuracy of the status listed.)
- Pending
Links
- 230000003287 optical effect Effects 0.000 claims abstract description 45
- 238000003384 imaging method Methods 0.000 claims abstract description 42
- 238000011144 upstream manufacturing Methods 0.000 claims abstract description 4
- 239000004973 liquid crystal related substance Substances 0.000 claims description 56
- 239000000758 substrate Substances 0.000 description 15
- 238000005192 partition Methods 0.000 description 6
- XLOMVQKBTHCTTD-UHFFFAOYSA-N Zinc monoxide Chemical compound [Zn]=O XLOMVQKBTHCTTD-UHFFFAOYSA-N 0.000 description 4
- 239000000463 material Substances 0.000 description 4
- VYPSYNLAJGMNEJ-UHFFFAOYSA-N Silicium dioxide Chemical compound O=[Si]=O VYPSYNLAJGMNEJ-UHFFFAOYSA-N 0.000 description 2
- 230000000295 complement effect Effects 0.000 description 2
- 239000011521 glass Substances 0.000 description 2
- AMGQUBHHOARCQH-UHFFFAOYSA-N indium;oxotin Chemical compound [In].[Sn]=O AMGQUBHHOARCQH-UHFFFAOYSA-N 0.000 description 2
- 229910001506 inorganic fluoride Inorganic materials 0.000 description 2
- 229910052809 inorganic oxide Inorganic materials 0.000 description 2
- 238000004519 manufacturing process Methods 0.000 description 2
- 229910044991 metal oxide Inorganic materials 0.000 description 2
- 150000004706 metal oxides Chemical class 0.000 description 2
- 239000004065 semiconductor Substances 0.000 description 2
- 229910052814 silicon oxide Inorganic materials 0.000 description 2
- 239000011787 zinc oxide Substances 0.000 description 2
- GYHNNYVSQQEPJS-UHFFFAOYSA-N Gallium Chemical compound [Ga] GYHNNYVSQQEPJS-UHFFFAOYSA-N 0.000 description 1
- GWEVSGVZZGPLCZ-UHFFFAOYSA-N Titan oxide Chemical compound O=[Ti]=O GWEVSGVZZGPLCZ-UHFFFAOYSA-N 0.000 description 1
- JUGMVQZJYQVQJS-UHFFFAOYSA-N [B+3].[O-2].[Zn+2] Chemical compound [B+3].[O-2].[Zn+2] JUGMVQZJYQVQJS-UHFFFAOYSA-N 0.000 description 1
- GIEKGJMFQVAGJK-UHFFFAOYSA-N [O-2].[Zn+2].[Ge+2].[O-2] Chemical compound [O-2].[Zn+2].[Ge+2].[O-2] GIEKGJMFQVAGJK-UHFFFAOYSA-N 0.000 description 1
- 239000000919 ceramic Substances 0.000 description 1
- 230000003247 decreasing effect Effects 0.000 description 1
- 238000001514 detection method Methods 0.000 description 1
- JAONJTDQXUSBGG-UHFFFAOYSA-N dialuminum;dizinc;oxygen(2-) Chemical compound [O-2].[O-2].[O-2].[O-2].[O-2].[Al+3].[Al+3].[Zn+2].[Zn+2] JAONJTDQXUSBGG-UHFFFAOYSA-N 0.000 description 1
- 239000003989 dielectric material Substances 0.000 description 1
- 229910052733 gallium Inorganic materials 0.000 description 1
- ORUIBWPALBXDOA-UHFFFAOYSA-L magnesium fluoride Chemical compound [F-].[F-].[Mg+2] ORUIBWPALBXDOA-UHFFFAOYSA-L 0.000 description 1
- 229910001635 magnesium fluoride Inorganic materials 0.000 description 1
- 229910052751 metal Inorganic materials 0.000 description 1
- 239000002184 metal Substances 0.000 description 1
- 238000000034 method Methods 0.000 description 1
- 229910000484 niobium oxide Inorganic materials 0.000 description 1
- URLJKFSTXLNXLG-UHFFFAOYSA-N niobium(5+);oxygen(2-) Chemical compound [O-2].[O-2].[O-2].[O-2].[O-2].[Nb+5].[Nb+5] URLJKFSTXLNXLG-UHFFFAOYSA-N 0.000 description 1
- TWNQGVIAIRXVLR-UHFFFAOYSA-N oxo(oxoalumanyloxy)alumane Chemical compound O=[Al]O[Al]=O TWNQGVIAIRXVLR-UHFFFAOYSA-N 0.000 description 1
- BPUBBGLMJRNUCC-UHFFFAOYSA-N oxygen(2-);tantalum(5+) Chemical compound [O-2].[O-2].[O-2].[O-2].[O-2].[Ta+5].[Ta+5] BPUBBGLMJRNUCC-UHFFFAOYSA-N 0.000 description 1
- RVTZCBVAJQQJTK-UHFFFAOYSA-N oxygen(2-);zirconium(4+) Chemical compound [O-2].[O-2].[Zr+4] RVTZCBVAJQQJTK-UHFFFAOYSA-N 0.000 description 1
- 229920001721 polyimide Polymers 0.000 description 1
- 239000011347 resin Substances 0.000 description 1
- 229920005989 resin Polymers 0.000 description 1
- SKRWFPLZQAAQSU-UHFFFAOYSA-N stibanylidynetin;hydrate Chemical compound O.[Sn].[Sb] SKRWFPLZQAAQSU-UHFFFAOYSA-N 0.000 description 1
- 229910001936 tantalum oxide Inorganic materials 0.000 description 1
- OGIDPMRJRNCKJF-UHFFFAOYSA-N titanium oxide Inorganic materials [Ti]=O OGIDPMRJRNCKJF-UHFFFAOYSA-N 0.000 description 1
- AKVPCIASSWRYTN-UHFFFAOYSA-N zinc oxygen(2-) silicon(4+) Chemical compound [Si+4].[O-2].[Zn+2].[O-2].[O-2] AKVPCIASSWRYTN-UHFFFAOYSA-N 0.000 description 1
- BNEMLSQAJOPTGK-UHFFFAOYSA-N zinc;dioxido(oxo)tin Chemical compound [Zn+2].[O-][Sn]([O-])=O BNEMLSQAJOPTGK-UHFFFAOYSA-N 0.000 description 1
- 229910001928 zirconium oxide Inorganic materials 0.000 description 1
Images
Abstract
【課題】搬送路を移動する物品に附された情報を短時間で読み取り可能な二次元情報読取装置を提供する。
【解決手段】読取装置1は、撮像部2と、光学系3と、識別部4と、制御部7とを備える。撮像部2は、搬送路9を搬送される物品5の二次元情報6を搬送路9の第1の位置9aにおいて撮像する。光学系3は、第1の位置9aに位置する物品5に附された二次元情報6を撮像部2の撮像面2a上に結像させる。識別部4は、搬送路9の第1の位置9aよりも上流側の第2の位置9bにおいて物品5を識別する。制御部7は、識別部4から出力された情報に基づいて、次に第1の位置9aに搬送される物品5の二次元情報6が附された表面5aと撮像面2aとの距離に応じて光学系3の焦点距離を予め設定し、当該物品5が第1の位置9aに到達したときに撮像部2に二次元情報6を撮像させる。
【選択図】図1
【解決手段】読取装置1は、撮像部2と、光学系3と、識別部4と、制御部7とを備える。撮像部2は、搬送路9を搬送される物品5の二次元情報6を搬送路9の第1の位置9aにおいて撮像する。光学系3は、第1の位置9aに位置する物品5に附された二次元情報6を撮像部2の撮像面2a上に結像させる。識別部4は、搬送路9の第1の位置9aよりも上流側の第2の位置9bにおいて物品5を識別する。制御部7は、識別部4から出力された情報に基づいて、次に第1の位置9aに搬送される物品5の二次元情報6が附された表面5aと撮像面2aとの距離に応じて光学系3の焦点距離を予め設定し、当該物品5が第1の位置9aに到達したときに撮像部2に二次元情報6を撮像させる。
【選択図】図1
Description
本発明は、二次元情報読取装置に関する。
従来、物品の識別等を目的として、物品の表面に、バーコード(登録商標)やQRコード(登録商標)などといった情報コードが付されている。例えば、物品流通に際しては、搬送路を移動する物品に附された情報コードを読み取り、読み取られた情報コードに付加されていた情報に基づいて物品の仕分け等が行われている。特許文献1には、搬送路を移動する物品に附された情報コードを画像として取り込む情報コード画像取込装置が記載されている。特許文献1に記載の取込装置は、具体的には、定置式の装置であり、ベルトコンベアによって搬送される物品の上面に印刷されたQRコード(登録商標)を読み取る装置である。
ところで、搬送路を複数種類の物品が搬送される場合、物品相互間で、高さが異なる場合がある。そのような場合に、二次元情報を読み取るためには、各物品の上面に結像させる必要がある。このため、二次元情報を読み取るためには、二次元情報の撮像に必要な時間に加えて、各物品の上面に結像させるための時間が必要である。従って、二次元情報の読み取りに要する時間が長く、二次元情報の読み取りにより物品の搬送速度が制限される場合がある。
本発明の主な目的は、搬送路を移動する物品に附された情報を短時間で読み取り可能な二次元情報読取装置を提供することにある。
本発明に係る二次元情報読取装置は、搬送路を移動する物品の表面に附された二次元情報を読み取る二次元情報読取装置である。本発明に係る二次元情報読取装置は、撮像部と、光学系と、識別部と、制御部とを備える。撮像部は、搬送路を搬送される物品の二次元情報を搬送路の第1の位置において撮像する。光学系は、第1の位置に位置する物品に附された二次元情報を撮像部の撮像面上に結像させる。識別部は、搬送路の第1の位置よりも上流側の第2の位置において物品を識別する。制御部は、識別部から出力された情報に基づいて、次に第1の位置に搬送される物品の二次元情報が附された表面と撮像面との距離に応じて光学系の焦点距離を予め設定し、当該物品が第1の位置に到達したときに撮像部に二次元情報を撮像させる。
本発明に係る二次元情報読取装置では、光学系が液晶レンズを含むことが好ましい。
本発明に係る二次元情報読取装置では、光学系は、変位可能な焦点固定レンズを含まないことが好ましい。
本発明に係る二次元情報読取装置では、液晶レンズが複数の液晶層を有することが好ましい。
本発明によれば、搬送路を移動する物品に附された情報を短時間で読み取り可能な二次元情報読取装置を提供することができる。
以下、本発明を実施した好ましい形態の一例について説明する。但し、下記の実施形態は、単なる例示である。本発明は、下記の実施形態に何ら限定されない。
また、実施形態等において参照する各図面において、実質的に同一の機能を有する部材は同一の符号で参照することとする。また、実施形態等において参照する図面は、模式的に記載されたものである。図面に描画された物体の寸法の比率などは、現実の物体の寸法の比率などとは異なる場合がある。図面相互間においても、物体の寸法比率等が異なる場合がある。具体的な物体の寸法比率等は、以下の説明を参酌して判断されるべきである。
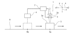
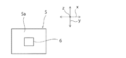
図1に示される二次元情報読取装置1は、ベルトコンベアなどにより構成された搬送路9を移動する物品5の表面に附された二次元情報6(図2を参照)読み取る装置である。ここで、二次元情報6とは、一方向にしか情報を持たない一次元コード(例えば、バーコード)に対し、二方向に情報を持つ表示方式であり、例えば、マトリクス状の複数の領域のそれぞれに、有色のドットまたは無色のドットが配されており、有色のドットの配列により情報を示す二次元情報である。二次元情報6の具体例としては、例えば、QRコード(登録商標)等が挙げられる。
二次元情報6に附された情報は、例えば、物品の種類、数量、重量、体積、輸送先、輸送元、製造ロット、製造年月日などであってもよい。
読取装置1は、形状や大きさの異なる複数の物品5が搬送路9上を搬送されたときの物品5に附された二次元情報6の判別に効果的に使用される。また、読取装置1は、例えば、ゴム等のベルトコンベアでの搬送で振動の影響を受けやすい重い物品5が搬送されるときにも有効に使用される。
読取装置1は、撮像部2、光学系3、識別部4及び制御部7を備えている。撮像部2は、搬送路9を搬送される物品5の二次元情報6を、搬送路9の第1の位置9aにおいて撮像する。撮像部2は、電荷結合素子(CCD)や、相補型金属酸化膜半導体(Complementary Metal−Oxide Semiconductor device:CMOS)等により構成することができる。
なお、本実施形態では、二次元情報6が物品5の上面5aに附されている例について説明するため、撮像部2は、物品5が搬送される搬送路9の上方に配されている。但し、本発明は、この構成に限定されない。二次元情報6が物品5の側面に附されている場合は、撮像部2は、搬送路9の側方に配されていてもよい。また、搬送路9の上方と、側方とのそれぞれに撮像部2が配されていてもよい。すなわち、撮像部2は、複数配されていてもよい。
搬送路9の第1の位置9aと、撮像部2の撮像面2aとの間には、光学系3が設けられている。この光学系3は、第1の位置9aに位置する物品5に附された二次元情報6を撮像部2の撮像面2a上に結像させる結像光学系である。光学系3は、結像光学系である限りにおいて特に限定されないが、液晶レンズを含むことが好ましい。光学系3を構成しているレンズは、液晶レンズと、ガラス等からなる焦点固定レンズとにより構成されていてもよいが、その場合は、焦点固定レンズは、変位不能に設けられていることが好ましい。すなわち、光学系3は、変位可能な焦点固定レンズを含まないことが好ましい。
本実施形態では、光学系3は、図3に示す液晶レンズ8により構成されている。
液晶レンズ8は、液晶分子を含む液晶層11を備えている。液晶層11は、第1及び第2の電極21,22により挟持されている。第1及び第2の電極21,22により、液晶層11に電圧が印加され、これにより液晶層11内の液晶の配向角に分布が生じ、その配向角に応じた屈折率分布が形成され、液晶レンズ8の屈折率が変化する。
より具体的には、液晶レンズ8は、相互に間隔をおいて対向するように配された第1の基板31と第2の基板32とを有する。第1の基板31と第2の基板32との間には、隔壁部材34が配されている。この隔壁部材34と第1及び第2の基板31,32とにより区画形成された空間に液晶層11が設けられている。
第1の基板31と第2の基板32との間には、少なくともひとつの中間板33が配されている。具体的には、本実施形態では、ひとつの中間板33が設けられている。この中間板33によって液晶層11が、厚み方向に沿って、第1の液晶層11aと第2の液晶層11bとに分割されている。従って、液晶レンズ8は、複数の液晶層を有する。もっとも、本発明において、液晶レンズは、前記構成のものに限定されることはなく、例えば、中間板33を設けずに単一の液晶層を有していてもよし、複数の中間板33を設けて3層以上の液晶層を有する構成を有していてもよい。
なお、第1の基板31、第2の基板32、中間板33及び隔壁部材34は、例えばガラスや、金属、セラミック、樹脂などにより構成することができる。
第1の基板31及び第2の基板32の厚みは、例えば、0.1mm〜1.0mm程度とすることができる。中間板33の厚みは、例えば、5μm〜80μm程度とすることができる。隔壁部材34の厚みは、得ようとする光学的パワーにより決定される液晶層11a、11bの厚みや、液晶層11a、11bに要求される応答速度等に応じて適宜設定することができる。隔壁部材34の厚みは、例えば、10μm〜80μm程度とすることができる。
第1の基板31の液晶層11側の表面31aの上には、第1の電極21が配されている。一方、第2の基板32の液晶層11側の表面32aの上には、第2の電極22が、液晶層11を介して第1の電極21と対向するように配されている。第1及び第2の電極21,22は、例えば、インジウムスズ酸化物(ITO)等の透明導電性酸化物により構成することができる。
第1の電極21は、円形の開口部21a1を有する第1の電極部21aと、第1の電極部21aの開口部21a1の内部に配された円形の第2の電極部21bとを有する。一方、第2の電極22は、第1及び第2の電極部21a、21bに対向するように面状に設けられている。
第1の電極21の第1の電極部21aと、第2の電極22との間には、電圧V1が印加される。一方、第1の電極21の第2の電極部21bと、第2の電極22との間には、電圧V2が印加される。通常、第2の電極22は、電位が0Vであるグラウンド電極とされている。このため、本実施形態では、第1及び第2の電極21,22のうち、印加される電圧の絶対値の最大値が大きい方の電極は、第1の電極21となる。
第1及び第2の電極21,22のうちの、印加される電圧の絶対値の最大値が大きい方の電極である第1の電極21と液晶層11との間には、電気抵抗値が、表面抵抗で1×104Ω/□〜1×1014Ω/□であり、電極よりも高く、後述する無機誘電体層42よりも低い電気抵抗を有する高抵抗層41が配されている。この高抵抗層41を設けることにより、液晶レンズ8の駆動電圧を低くすることができる。
高抵抗層41は、酸化亜鉛、アルミニウム亜鉛酸化物、インジウムスズ酸化物、アンチモンスズ酸化物、ガリウム亜鉛酸化物、シリコン亜鉛酸化物、スズ亜鉛酸化物、ホウ素亜鉛酸化物、及びゲルマニウム亜鉛酸化物のうちの少なくとも一種を含むことが好ましい。
なお、高抵抗層41と第1の電極21との間には、酸化ケイ素などからなる無機誘電体層が設けられていてもよい。
高抵抗層41は、単一の高抵抗層により構成されていてもよいし、複数の高抵抗層の積層体により構成されていてもよい。高抵抗層41が、複数の高抵抗層の積層体により構成されている場合は、複数の高抵抗層は、相互に同じ材料からなるものであってもよいし、相互に異なる材料からなるものであってもよい。
高抵抗層41の厚みは、例えば、10nm〜300nmであることが好ましい。
高抵抗層41と液晶層11との間には、無機誘電体層42が配されている。この無機誘電体層42によって高抵抗層41の実質的に全体が覆われている。
図示は省略するが、無機誘電体層42の上には、配向膜が配されている。この配向膜により無機誘電体層42が覆われている。同様に、第2の電極22の上には、第2の電極22を覆うように配向膜が配されている。また、中間板33の両面の上にも、配向膜が配されている。これら配向膜により液晶層11における液晶分子の配向がなされている。なお、配向膜は、例えばラビング処理されたポリイミド膜により構成することができる。
無機誘電体層42は、無機酸化物誘電体層及び無機フッ化物誘電体層の少なくとも一方により構成されていることが好ましい。無機酸化物誘電体層は、酸化ケイ素、酸化アルミニウム、酸化チタン、酸化タンタル、酸化ニオブ及び酸化ジルコニウムの少なくとも一種を含むことが好ましい。無機フッ化物誘電体層は、フッ化マグネシウムを含むことが好ましい。
無機誘電体層42は、単一の誘電体層により構成されていてもよいし、複数の誘電体層の積層体により構成されていてもよい。無機誘電体層42が複数の誘電体層の積層体により構成されている場合は、複数の誘電体層は、相互に同じ材料からなるものであってもよいし、相互に異なる材料からなるものであってもよい。
無機誘電体層42の厚みは、1nm〜2μm程度であることが好ましく、100nm〜1.5μm程度であることがより好ましい。
なお、本実施形態では、複数の液晶層11a、11bに、第1及び第2の電極21,22を共通に設けたが、各液晶層に第1及び第2の電極を別個に設けてもよい。
搬送路9の第1の位置9aよりも上流側(x1側)の第2の位置9bには、識別部4が配されている。この識別部4は、第2の位置9bに搬送された物品5を識別する。具体的には、本実施形態では、識別部4は、物品5のz軸方向に沿った高さを識別する。
識別部4は、例えば、レーザー光を物品5に向けて出射する光源と、物品5で反射されたレーザー光を検出する検出部とを備えるレーザー測距装置により構成することができる。識別部4がレーザー測距装置により構成されている場合、測定された物品5と識別部4との間の距離を、識別部4と搬送路9との間の距離から減算することにより物品5の高さを得ることができる。また、識別部4は、搬送路9の側方から物品5を撮像し、撮像された画像から物品の高さを識別する撮像装置により構成することもできる。
識別部4は、測定した物品5の高さ情報、または物品5の高さ情報を算出可能な情報を制御部7に対して出力する。
制御部7は、識別部4から出力された物品5に関する情報に基づいて、次に第1の位置9aに搬送される物品5の二次元情報が附された上面5aと撮像面2aとの間の距離を算出し、当該距離に応じて光学系3の焦点距離を、当該物品5が第1の位置9aに搬送される前に予め設定する。そして、制御部7は、当該物品5が第1の位置9aに物品5が到達したときに、撮像部2に二次元情報6を撮像させる。従って、物品5が第1の位置9aに到達した際には、光学系3の焦点距離がすでに調整されており、光学系3の焦点距離の変更は行われない。このため、第1の位置9aに物品が到達した後に、二次元情報6が撮像面2aに結像するように光学系3を駆動させた後に二次元コード6の撮像を行う場合と比較して、二次元情報6を短時間で読み取ることができる。よって、物品5の搬送速度を高くした場合であっても二次元情報6の識別が可能となる。従って、読取装置1を用いることにより、物品5の搬送速度を高くし、物品5の搬送効率を向上することができる。また、物品5の二次元情報6の貼り付け面が平面で無い場合でも光学系3の調整は僅かで済むためシステムの高速化に寄与することができる。
また、本実施形態では、液晶レンズ8が複数の液晶層を有するため、液晶レンズが単一の液晶層を有するものである場合と比較して、液晶レンズ8の駆動速度を高めることができる。よって、物品5の搬送速度をさらに高くした場合であっても二次元情報6の識別が可能となる。従って、物品5の搬送効率をさらに向上することができる。
ところで、光学系3を変位可能な焦点固定レンズを用いて構成することも考えられる。この場合は、焦点固定レンズの駆動装置が必要となる。一般的には、カムを有する第1の鏡筒と、第1の鏡筒に対して変位可能に設けられており、カムが挿入されるカム溝を有する第2の鏡筒とのうちの一方の鏡筒に焦点固定レンズを固定し、第1の鏡筒と第2の鏡筒とを相互に回転させることにより焦点固定レンズの変位が行われる。焦点固定レンズを機械的に変位させる場合、十分に高い光学系3の耐久性を実現する観点からは、光学系3に「遊び」を設ける必要がある。光学系3に遊びが設けられていないと、物品5の搬送時に生じる振動等によって光学系3が故障しやすいためである。
しかしながら、光学系3に遊びを設けた場合、仮に、駆動装置が第1の鏡筒を第2の鏡筒に対して所定の回転角だけ回転させたとしても、遊びに起因して、焦点固定レンズの位置がばらつく。よって、光学系3の焦点距離にばらつきが生じる。従って、光学系3を変位可能な焦点固定レンズを用いて構成した場合は、光学系3の被写体深度を深くして、光学系3の焦点距離にばらつきが生じた場合であても二次元情報6が識別可能なように撮像されるようにする必要がある。
光学系3の被写体深度は、焦点距離と、絞り値とにより決定する。光学系3の被写体深度を深くするためには、焦点距離を長くし、絞り値を小さくすることが必要となる。しかしながら、読取装置1の寸法上の制約から焦点距離を十分に長くすることは困難である。また、焦点距離を長くすると、一般的に、解像度が低くなる。一方、光学系3の絞り値を小さくすると、撮像面2aに到達する光量が少なくなる。このため、撮像された画像に生じるノイズが強くなる。従って、現実的には、焦点距離を長くしたり、絞り値を小さくしたりして光学系3の被写体深度を十分に深くすることは困難である。よって、変位可能な焦点固定レンズを用いて光学系3を構成した場合は、小さい二次元情報6の読み取りが困難となる。
一方、液晶レンズ8は、印加する電圧と焦点距離とが高精度に対応する。従って、液晶レンズ8を変位不能に強固に固定し、液晶レンズ8に印加する電圧を高精度に制御することにより、液晶レンズ8の焦点距離を高精度に制御でき、その結果、二次元情報6を撮像面2aに高精度に結像させることができる。よって、本実施形態のように、光学系3の結像位置を予め調整しておく場合には、光学系3を液晶レンズ8を用いて構成し、変位可能な焦点固定レンズを用いないことが好ましい。
また、液晶レンズ8を用いた場合は、絞り値を大きくすることができるため、読取装置1の配置された環境が、光量が少ない環境であったとしても、二次元情報6の読み取りを好適に行うことができる。
1…二次元情報読取装置
2…撮像部
2a…撮像面
3…光学系
4…識別部
5…物品
5a…上面
6…二次元情報
7…制御部
8…液晶レンズ
9…搬送路
9a…第1の位置
9b…第2の位置
11…液晶層
11a…第1の液晶層
11b…第2の液晶層
21…第1の電極
21a…第1の電極部
21a1…開口部
21b…第2の電極部
22…第2の電極
31…第1の基板
32…第2の基板
33…中間板
34…隔壁部材
41…高抵抗層
42…無機誘電体層
2…撮像部
2a…撮像面
3…光学系
4…識別部
5…物品
5a…上面
6…二次元情報
7…制御部
8…液晶レンズ
9…搬送路
9a…第1の位置
9b…第2の位置
11…液晶層
11a…第1の液晶層
11b…第2の液晶層
21…第1の電極
21a…第1の電極部
21a1…開口部
21b…第2の電極部
22…第2の電極
31…第1の基板
32…第2の基板
33…中間板
34…隔壁部材
41…高抵抗層
42…無機誘電体層
Claims (4)
- 搬送路を移動する物品の表面に附された二次元情報を読み取る二次元情報読取装置であって、
前記搬送路を搬送される前記物品の前記二次元情報を前記搬送路の第1の位置において撮像する撮像部と、
前記第1の位置に位置する前記物品に附された前記二次元情報を前記撮像部の撮像面上に結像させる光学系と、
前記搬送路の前記第1の位置よりも上流側の第2の位置において前記物品を識別する識別部と、
前記識別部から出力された情報に基づいて、次に前記第1の位置に搬送される物品の前記二次元情報が附された表面と前記撮像面との距離に応じて前記光学系の焦点距離を予め設定し、当該物品が前記第1の位置に到達したときに前記撮像部に前記二次元情報を撮像させる制御部と、
を備える、二次元情報読取装置。 - 前記光学系が液晶レンズを含む、請求項1に記載の二次元情報読取装置。
- 前記光学系は、変位可能な焦点固定レンズを含まない、請求項2に記載の二次元情報読取装置。
- 前記液晶レンズは、複数の液晶層を有する、請求項2または3に記載の二次元情報読取装置。
Priority Applications (1)
| Application Number | Priority Date | Filing Date | Title |
|---|---|---|---|
| JP2012262094A JP2014106948A (ja) | 2012-11-30 | 2012-11-30 | 二次元情報読取装置 |
Applications Claiming Priority (1)
| Application Number | Priority Date | Filing Date | Title |
|---|---|---|---|
| JP2012262094A JP2014106948A (ja) | 2012-11-30 | 2012-11-30 | 二次元情報読取装置 |
Publications (1)
| Publication Number | Publication Date |
|---|---|
| JP2014106948A true JP2014106948A (ja) | 2014-06-09 |
Family
ID=51028325
Family Applications (1)
| Application Number | Title | Priority Date | Filing Date |
|---|---|---|---|
| JP2012262094A Pending JP2014106948A (ja) | 2012-11-30 | 2012-11-30 | 二次元情報読取装置 |
Country Status (1)
| Country | Link |
|---|---|
| JP (1) | JP2014106948A (ja) |
Citations (4)
| Publication number | Priority date | Publication date | Assignee | Title |
|---|---|---|---|---|
| JPS5211939A (en) * | 1975-07-17 | 1977-01-29 | Matsushita Electric Ind Co Ltd | Signal reading device |
| US4920255A (en) * | 1988-10-31 | 1990-04-24 | Stephen C. Gabeler | Automatic incremental focusing scanner system |
| JPH06509891A (ja) * | 1991-07-11 | 1994-11-02 | ユナイテツド パーセル サービス オブ アメリカ インコーポレイテツド | 光学目標を捕捉するためのシステム及び方法 |
| JP2012141450A (ja) * | 2010-12-28 | 2012-07-26 | Optoelectronics Co Ltd | 液晶レンズ光学体及び光学的情報読取装置 |
-
2012
- 2012-11-30 JP JP2012262094A patent/JP2014106948A/ja active Pending
Patent Citations (4)
| Publication number | Priority date | Publication date | Assignee | Title |
|---|---|---|---|---|
| JPS5211939A (en) * | 1975-07-17 | 1977-01-29 | Matsushita Electric Ind Co Ltd | Signal reading device |
| US4920255A (en) * | 1988-10-31 | 1990-04-24 | Stephen C. Gabeler | Automatic incremental focusing scanner system |
| JPH06509891A (ja) * | 1991-07-11 | 1994-11-02 | ユナイテツド パーセル サービス オブ アメリカ インコーポレイテツド | 光学目標を捕捉するためのシステム及び方法 |
| JP2012141450A (ja) * | 2010-12-28 | 2012-07-26 | Optoelectronics Co Ltd | 液晶レンズ光学体及び光学的情報読取装置 |
Similar Documents
| Publication | Publication Date | Title |
|---|---|---|
| KR101626766B1 (ko) | 가압력 측정을 구비한 터치패널 | |
| Zhang et al. | Wide-angle structured light with a scanning MEMS mirror in liquid | |
| KR102006267B1 (ko) | 광학식 이미지 인식 센서 내장형 평판 표시장치 | |
| KR101960103B1 (ko) | 박리 장치 및 전자 디바이스의 제조 방법 | |
| TWI498801B (zh) | 利用雷射雕刻之電容式共平面觸控面板裝置的製造方法 | |
| US10942299B2 (en) | Liquid lens, liquid lens driving method, imaging apparatus, and display apparatus | |
| CN107358216A (zh) | 一种指纹采集模组、显示装置及指纹识别方法 | |
| US8587561B2 (en) | Multi-sensing touch panel and display apparatus using the same | |
| JP6151970B2 (ja) | 押圧力測定を備えたタッチパネル | |
| US20200031712A1 (en) | Method for manufacturing light control panel, light control panel, optical imaging device, and aerial image forming system | |
| CN101446699B (zh) | 检测装置与用于此检测装置的检测方法 | |
| Morita et al. | Grasping force control for a robotic hand by slip detection using developed micro laser doppler velocimeter | |
| JP2014178701A (ja) | レンズアレイシート | |
| KR20110004056A (ko) | 액정표시장치 | |
| US20190073515A1 (en) | Flat panel display with optical image sensor embedded therein | |
| CN103309030B (zh) | 焦点位置改变设备及使用其的共焦光学设备 | |
| KR102248255B1 (ko) | 3차원 맵핑용 헤드 유닛 및 이를 포함하는 디스펜서 | |
| US20170131828A1 (en) | Input device and touch panel display | |
| JP2014106948A (ja) | 二次元情報読取装置 | |
| CN101324716A (zh) | 显示器装置及其显像转换装置 | |
| JP2016024002A (ja) | 透明物品の応力測定方法 | |
| US10788728B2 (en) | Light beam steering using electro-optical and conductive materials | |
| TW201827844A (zh) | 掃描式鐳射雷達 | |
| CN105354561A (zh) | 指纹图像采集装置 | |
| US11106062B2 (en) | Light modulator, optical observation device and optical irradiation device |
Legal Events
| Date | Code | Title | Description |
|---|---|---|---|
| A621 | Written request for application examination |
Free format text: JAPANESE INTERMEDIATE CODE: A621 Effective date: 20150603 |
|
| A977 | Report on retrieval |
Free format text: JAPANESE INTERMEDIATE CODE: A971007 Effective date: 20160427 |
|
| A131 | Notification of reasons for refusal |
Free format text: JAPANESE INTERMEDIATE CODE: A131 Effective date: 20160510 |
|
| A02 | Decision of refusal |
Free format text: JAPANESE INTERMEDIATE CODE: A02 Effective date: 20161108 |