JP2013238364A - Monitor system in water heater - Google Patents

Monitor system in water heater Download PDF

Info

Publication number
JP2013238364A
JP2013238364A JP2012112224A JP2012112224A JP2013238364A JP 2013238364 A JP2013238364 A JP 2013238364A JP 2012112224 A JP2012112224 A JP 2012112224A JP 2012112224 A JP2012112224 A JP 2012112224A JP 2013238364 A JP2013238364 A JP 2013238364A
Authority
JP
Japan
Prior art keywords
hot water
consumption
amount
energy
per unit
Prior art date
Legal status (The legal status is an assumption and is not a legal conclusion. Google has not performed a legal analysis and makes no representation as to the accuracy of the status listed.)
Granted
Application number
JP2012112224A
Other languages
Japanese (ja)
Other versions
JP5888736B2 (en
Inventor
Taro Ozawa
太郎 小澤
Current Assignee (The listed assignees may be inaccurate. Google has not performed a legal analysis and makes no representation or warranty as to the accuracy of the list.)
Rinnai Corp
Original Assignee
Rinnai Corp
Priority date (The priority date is an assumption and is not a legal conclusion. Google has not performed a legal analysis and makes no representation as to the accuracy of the date listed.)
Filing date
Publication date
Application filed by Rinnai Corp filed Critical Rinnai Corp
Priority to JP2012112224A priority Critical patent/JP5888736B2/en
Publication of JP2013238364A publication Critical patent/JP2013238364A/en
Application granted granted Critical
Publication of JP5888736B2 publication Critical patent/JP5888736B2/en
Expired - Fee Related legal-status Critical Current
Anticipated expiration legal-status Critical

Links

Images

Landscapes

  • Control For Baths (AREA)
  • Heat-Pump Type And Storage Water Heaters (AREA)

Abstract

【課題】浴室の浴槽3以外の給湯部4に給湯する給湯運転と、浴槽3に給湯する湯張り運転とが可能な給湯器2におけるモニタシステムであって、シャワー入浴時に、湯張り入浴に比しシャワー入浴の方が省エネであるか否かを使用者に分かりやすく表示できるようにする。
【解決手段】湯張り運転で消費されるエネルギー量を基準消費量として記憶する基準消費量記憶手段52と、給湯運転で消費される各時点での消費エネルギー量を把握する消費量把握手段53と、消費量把握手段53で把握した消費エネルギー量を積算した値である給湯消費量を記憶する給湯消費量記憶手段54と、消費量把握手段53で把握した現時点での消費エネルギー量で給湯運転を行った場合に、給湯消費量が基準消費量に達するまでにかかる残り時間を算出する演算手段55と、演算手段55で算出された残り時間を表示する表示手段6とを備える。
【選択図】図2
[PROBLEMS] To provide a monitor system in a water heater 2 capable of performing a hot water supply operation for supplying hot water to a hot water supply section 4 other than a bathtub 3 in a bathroom and a hot water supply operation for supplying hot water to a bathtub 3. The user should be able to clearly display whether the shower bath is more energy efficient.
SOLUTION: Reference consumption amount storage means 52 for storing the amount of energy consumed in hot water filling operation as reference consumption amount, consumption amount grasping means 53 for grasping energy consumption amount at each point of time consumed in hot water supply operation, The hot water consumption storage means 54 for storing the hot water consumption, which is a value obtained by integrating the consumption energy amounts grasped by the consumption grasping means 53, and the hot water supply operation with the current consumption energy grasped by the consumption grasping means 53. When it is performed, the calculation means 55 for calculating the remaining time until the hot water consumption amount reaches the reference consumption amount and the display means 6 for displaying the remaining time calculated by the calculation means 55 are provided.
[Selection] Figure 2

Description

本発明は、浴室の浴槽以外の給湯部に給湯する給湯運転と、浴槽に給湯する湯張り運転とが可能な給湯器におけるモニタシステムに関する。   The present invention relates to a monitor system in a water heater capable of performing a hot water supply operation for supplying hot water to a hot water supply unit other than a bathtub in a bathroom and a hot water filling operation for supplying hot water to a bathtub.

従来、給湯器におけるモニタシステムとして、給湯器による実際の給湯量を予め設定した基準給湯量と比較し、実際の給湯量が基準給湯量を上回った場合に、給湯器のリモコンに表示する出湯中情報の表示態様を変更して、湯を使い過ぎであることを使用者に報知し、省エネの意識を使用者に植え付けるようにしたものが知られている(例えば、特許文献1参照)。   Conventionally, as a monitoring system in a water heater, when the actual hot water supply amount by the water heater is compared with a preset reference hot water amount and the actual hot water amount exceeds the reference hot water amount, It is known that the information display mode is changed to notify the user that hot water has been used excessively, so that the user is conscious of energy saving (see, for example, Patent Document 1).

ところで、入浴する場合に、シャワーで済ませるのか、湯張りするのか、どちらが省エネであるかは、シャワーの水量、温度、シャワー時間、入浴する人数等によって変化し、一義的に決定することはできない。そのため、シャワー入浴時に、湯張り入浴に比しシャワー入浴の方が省エネであるか否かを使用者に分かりやすく表示できれば、省エネ意識の高い使用者にとって非常に利便性があるが、このようなモニタシステムは未だ開発されていない。   By the way, when taking a bath, whether to save in a shower or to fill with hot water depends on the amount of water in the shower, temperature, shower time, number of people taking a bath, etc., and cannot be uniquely determined. Therefore, it is very convenient for users with high energy-saving consciousness if it can be displayed in an easy-to-understand manner to the user whether or not the shower bathing is more energy-saving than bathing in a hot water bath. A monitor system has not yet been developed.

特開2006−258338号公報JP 2006-258338 A

本発明は、以上の点に鑑み、湯張り入浴に比しシャワー入浴の方が省エネであるか否かを使用者に分かりやすく表示できるようにした給湯器におけるモニタシステムを提供することをその課題としている。   In view of the above points, the present invention provides a monitor system for a water heater that can easily display to a user whether or not a shower bath is more energy-saving than a hot water bath. It is said.

上記課題を解決するために、本願の第1発明は、浴室の浴槽以外の給湯部に給湯する給湯運転と、浴槽に給湯する湯張り運転とが可能な給湯器におけるモニタシステムであって、湯張り運転で消費されるエネルギー量を基準消費量として記憶する基準消費量記憶手段と、給湯運転で消費される各時点での単位時間当り消費エネルギー量を把握する消費量把握手段と、消費量把握手段で把握した単位時間当り消費エネルギー量を積算した値である給湯消費量を記憶する給湯消費量記憶手段と、消費量把握手段で把握した現時点での単位時間当り消費エネルギー量で給湯運転を行った場合に、給湯消費量が基準消費量に達するまでにかかる残り時間を算出する演算手段と、演算手段で算出された残り時間を表示する表示手段とを備えることを特徴とする。   In order to solve the above problems, a first invention of the present application is a monitor system in a water heater capable of performing a hot water supply operation for supplying hot water to a hot water supply unit other than a bathtub in a bathroom and a hot water filling operation for supplying hot water to a bathtub. Standard consumption storage means that stores the amount of energy consumed in tension operation as reference consumption, consumption grasp means that grasps the amount of energy consumed per unit time at each point of time consumed in hot water supply operation, and consumption grasp Hot water consumption storage means for storing hot water consumption, which is the sum of the energy consumption per unit time ascertained by means, and hot water supply operation at the current energy consumption per unit time ascertained by the means for grasping consumption And a display means for displaying the remaining time calculated by the computing means, and a calculating means for calculating the remaining time until the hot water consumption reaches the reference consumption. To.

また、本願の第2発明は、浴室の浴槽以外の部分に給湯する給湯運転と、浴槽に給湯する湯張り運転とが可能な給湯器におけるモニタシステムであって、湯張り運転で消費されるエネルギー量の金額換算値と水量の金額換算値との合計値を基準消費量として記憶する基準消費量記憶手段と、給湯運転で消費される各時点での単位時間当り消費エネルギー量と単位時間当り消費水量を把握する消費量把握手段と、消費量把握手段で把握した単位時間当り消費エネルギー量の金額換算値と単位時間当り消費水量の金額換算値との合計値を積算した値である給湯消費量を記憶する給湯消費量記憶手段と、消費量把握手段で把握した現時点での単位時間当り消費エネルギー量及び単位時間当り消費水量で給湯運転を行った場合に、給湯消費量が基準消費量に達するまでにかかる残り時間を算出する演算手段と、演算手段で算出された残り時間を表示する表示手段とを備えることを特徴とする。   Further, the second invention of the present application is a monitor system in a water heater capable of performing a hot water supply operation for supplying hot water to a portion other than the bathtub in the bathroom and a hot water operation for supplying hot water to the bathtub, and energy consumed in the hot water operation. The standard consumption storage means that stores the total value of the amount converted to the amount of water and the amount converted to the amount of water as the reference consumption, the energy consumption per unit time and the consumption per unit time at each point of time consumed in the hot water operation Water consumption consumption, which is the sum of the consumption amount grasping means for grasping the amount of water, and the sum of the converted value of the amount of energy consumed per unit time and the converted value of the amount of water consumed per unit time grasped by the means for grasping consumption When the hot water supply operation is performed with the current consumption energy amount per unit time and the consumption water amount per unit time as grasped by the consumption amount grasping means, Characterized in that it comprises calculating means for calculating the remaining according to reach the amount time, and display means for displaying the remaining time calculated by the calculating means.

第1発明によれば、シャワー入浴時に、湯張り運転で消費されるエネルギー量(基準消費量)と給湯運転でそれまでに消費されたエネルギー量(給湯消費量)との差を、その後に給湯消費量が基準消費量に達するまでにかかる残り時間として表示できるため、湯張り入浴に比しシャワー入浴の方が省エネであるか否かを使用者に分かりやすく、且つ、心理的に強いインパクトを持って報知できる。更に、シャワーの水量、温度の変更等の給湯運転の状況変化(現時点での消費エネルギー量の変化)で残り時間が変化するため、シャワー入浴中の使用者にリアルタイムで省エネ化の努力を促すことができる。   According to the first invention, when taking a shower, the difference between the amount of energy consumed in the hot water operation (reference consumption) and the amount of energy consumed so far in the hot water operation (hot water consumption) is Since the amount of time remaining until the consumption reaches the standard consumption can be displayed, it is easy for the user to understand whether shower bathing is more energy-saving than bathing in hot water, and has a strong psychological impact. You can report it. Furthermore, because the remaining time changes due to changes in the hot water supply operation (changes in the amount of energy consumed at this time) such as changes in the amount of water and temperature in the shower, the user who is taking a shower is encouraged to make efforts to save energy in real time. Can do.

また、第2発明によれば、消費エネルギー量に消費水量を加味した消費量に基づいて、湯張り入浴に比しシャワー入浴の方が省エネであるか否か及び経済的であるか否かを報知できる。尚、エネルギー量と水量は単位が異なるため単純に加算できないが、エネルギー量の金額換算値と水量の金額換算値とを合計することにより、消費エネルギー量に消費水量を加味した消費量として取り扱うことができる。   In addition, according to the second invention, whether or not the shower bathing is more energy-saving and economical than the hot water bathing based on the consumption amount in which the consumption water amount is added to the consumption energy amount. Can be notified. In addition, the amount of energy and the amount of water cannot be simply added because the units are different, but by treating the amount of energy converted to the amount of water and the amount of water converted to the amount of water consumed, the amount of energy consumed should be treated as the amount consumed. Can do.

また、本発明(第1発明及び第2発明)において、演算手段での演算に用いる基準消費量は、基準消費量記憶手段に記憶されている基準消費量を入浴する人数で除算した値であることが望ましい。これによれば、入浴者が複数いる場合でも、湯張り入浴に比しシャワー入浴の方が省エネであるか否かを一人当りの消費量に基づいて演算して報知できる。   In the present invention (the first and second inventions), the reference consumption used for the calculation in the calculation means is a value obtained by dividing the reference consumption stored in the reference consumption storage means by the number of people taking a bath. It is desirable. According to this, even when there are a plurality of bathers, it is possible to calculate and notify whether or not the shower bathing is more energy-saving than the hot water bathing based on the consumption per person.

尚、基準消費量記憶手段に記憶されている基準消費量は、湯張り設定水量及び湯張り設定温度を含む湯張り運転の設定パラメータに基づいて演算された値と、湯張り運転を行ったときの実測値との何れであってもよい。   Note that the reference consumption stored in the reference consumption storage means is a value calculated based on the setting parameters of the hot water operation including the hot water setting water amount and the hot water setting temperature, and when the hot water operation is performed. Any of the actual measurement values may be used.

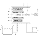
本発明の実施形態のモニタシステムの全体構成を示す模式図。The schematic diagram which shows the whole structure of the monitor system of embodiment of this invention. 図1のモニタシステムの制御ブロック図。The control block diagram of the monitor system of FIG. 基準消費量、給湯消費量及び残り時間の関係の一例を示すグラフ。The graph which shows an example of the relationship between reference | standard consumption, hot water supply consumption, and remaining time.

図1を参照して、1は家屋の浴室、2は給湯器を示している。浴室1には、浴槽3と、シャワー及びカランから成る浴槽3以外の給湯部4が配置されている。給湯器2は、図示省略するが、ガスバーナで加熱される熱交換器を備えており、湯張り回路2aを介して浴槽3に給湯する湯張り運転と、給湯部4に給湯する給湯運転とが可能である。   Referring to FIG. 1, reference numeral 1 denotes a bathroom in a house, and 2 denotes a water heater. The bathroom 1 is provided with a bathtub 3 and a hot water supply section 4 other than the bathtub 3 composed of a shower and a currant. Although not shown, the water heater 2 includes a heat exchanger heated by a gas burner, and includes a hot water operation for supplying hot water to the bathtub 3 via the hot water circuit 2a and a hot water operation for supplying hot water to the hot water supply unit 4. Is possible.

給湯器2は、更に、その作動を制御するコントローラ5を備えており、このコントローラ5と双方向通信可能に接続された表示手段たるリモコン6が浴室1に配置されている。リモコン6は、給湯運転の設定パラメータである給湯温度や、湯張り運転の設定パラメータである湯張り設定水量、湯張り設定温度及び保温時間や、入浴人数等のパラメータを入力する情報入力手段を備えている。そして、リモコン6に入力されたパラメータがコントローラ5に設けられたパラメータ記憶手段51に記憶され(図2参照)、これらパラメータに基づいて給湯器2が制御される。   The water heater 2 further includes a controller 5 for controlling the operation thereof, and a remote controller 6 as display means connected to the controller 5 so as to be capable of bidirectional communication is disposed in the bathroom 1. The remote controller 6 includes information input means for inputting parameters such as a hot water supply temperature that is a setting parameter for hot water supply operation, a hot water setting water amount that is a setting parameter for hot water operation, a hot water setting temperature and a heat retention time, and the number of bathers. ing. And the parameter input into the remote control 6 is memorize | stored in the parameter memory | storage means 51 provided in the controller 5 (refer FIG. 2), and the water heater 2 is controlled based on these parameters.

コントローラ5は、更に、湯張り入浴に比しシャワー入浴の方が省エネであるか否かを表示するために、図2に示す如く、1回の湯張り運転で消費されるエネルギー量(ガス量)を基準消費量として記憶する基準消費量記憶手段52と、給湯運転で消費される各時点での単位時間当り消費エネルギー量を把握する消費量把握手段53と、消費量把握手段53で把握した単位時間当り消費エネルギー量を積算した値である給湯消費量を記憶する給湯消費量記憶手段54と、消費量把握手段53で把握した現時点での単位時間当り消費エネルギー量で給湯運転を行った場合に、給湯消費量が基準消費量に達するまでにかかる残り時間を算出する演算手段55と、演算手段55で算出された残り時間をリモコン6に表示させる表示制御手段56とを備えている。   The controller 5 further displays the amount of energy (gas amount) consumed in one hot water operation as shown in FIG. 2 in order to display whether or not the shower bath is more energy-saving than the hot water bath. ) As the reference consumption, the consumption grasping means 53 for grasping the energy consumption per unit time at each point of time consumed in the hot water supply operation, and the consumption grasping means 53 When the hot water supply operation is performed with the current consumption energy amount per unit time grasped by the consumption amount grasping means 53 and the hot water consumption amount storage means 54 for storing the hot water consumption amount that is a value obtained by integrating the amount of energy consumption per unit time And calculating means 55 for calculating the remaining time until the hot water consumption amount reaches the reference consumption amount, and display control means 56 for displaying the remaining time calculated by the calculating means 55 on the remote controller 6. Eteiru.

基準消費量記憶手段52に記憶する基準消費量は、パラメータ記憶手段51に記憶されている湯張り設定水量及び湯張り設定温度を含む湯張り運転の設定パラメータに基づいて演算された値と、実際に湯張り運転を行ったときの実測値との何れであってもよい。尚、基準消費量を実測値にする場合は、複数回の湯張り運転の実測値の平均値を基準消費量とすることが望ましい。また、基準消費量は、湯張り運転で消費されるエネルギー量に追い焚き、足し湯で消費されるエネルギー量を加えたものであってもよい。   The reference consumption amount stored in the reference consumption amount storage means 52 is a value calculated based on the setting parameters for the hot water operation including the hot water setting water amount and the hot water setting temperature stored in the parameter storage means 51, and the actual consumption amount. It may be any of the actually measured values when the hot water filling operation is performed. In addition, when making standard consumption into a measured value, it is desirable to make the average value of the measured value of several hot water filling operation into a reference consumption. Further, the reference consumption amount may be a sum of the energy amount consumed by the hot water operation and the energy amount consumed by the additional hot water.

給湯器2は、バーナへの供給ガス量を給湯負荷に応じて増減制御するガス比例弁を備えており、消費量把握手段53は、ガス比例弁に通電する比例弁電流から各時点での単位時間当りの消費ガス量、即ち、消費エネルギー量を把握し、この単位時間当り消費エネルギー量を逐次積算して、その積算値を給湯消費量として給湯消費量記憶手段54に記憶する。   The water heater 2 includes a gas proportional valve that controls the amount of gas supplied to the burner to increase or decrease in accordance with the hot water supply load, and the consumption grasping means 53 is a unit at each time point from the proportional valve current that is energized to the gas proportional valve. The amount of gas consumed per hour, that is, the amount of energy consumed is grasped, the amount of energy consumed per unit time is sequentially integrated, and the integrated value is stored in the hot water supply consumption storage means 54 as the hot water consumption.

演算手段55は、基準消費量記憶手段52に記憶されている基準消費量をGN、現時点で給湯消費量記憶54に記憶されている給湯消費量をGS、消費量把握手段53で把握した現時点での単位時間当り消費エネルギー量をdGとして、上記残り時間Tを下記(1)式、
T=(GN−GS)/dG…(1)
で算出する。尚、単位時間当り消費エネルギー量の少しの変化で残り時間Tが変動することを抑制するため、(1)式で用いるdGは、直近所定時間(例えば、5秒)の単位時間当り消費エネルギー量を平均した値とすることが望ましい。また、給湯停止中はdG=0になって、(1)式で求める残り時間Tが無限大になってしまう。そこで、給湯停止中の残り時間Tは、給湯停止直前に算出された残り時間に等しいと看做すことにしている。
At the present time when the calculation means 55 grasps the reference consumption amount stored in the reference consumption amount storage means 52 by GN, the hot water supply consumption amount currently stored in the hot water consumption consumption storage 54 by GS, and the consumption amount grasping means 53 at the present time. Where the amount of energy consumed per unit time is dG and the remaining time T is expressed by the following equation (1):
T = (GN−GS) / dG (1)
Calculate with In order to suppress the remaining time T from fluctuating with a slight change in the amount of energy consumed per unit time, dG used in the equation (1) is the amount of energy consumed per unit time for the most recent predetermined time (for example, 5 seconds). It is desirable to average the values. In addition, dG = 0 when hot water supply is stopped, and the remaining time T obtained by equation (1) becomes infinite. Therefore, it is assumed that the remaining time T during the hot water supply stop is equal to the remaining time calculated immediately before the hot water supply stop.

表示制御手段56は、シャワー入浴する入浴者が湯張り入浴との比較を表示することをリモコン6で指示したときに、演算手段55で演算された残り時間Tをリモコン6に表示させる。   The display control means 56 causes the remote controller 6 to display the remaining time T calculated by the calculating means 55 when the bather taking a shower bath instructs the remote controller 6 to display the comparison with the hot water bathing.

尚、入浴者が複数いる場合は、湯張り入浴に比しシャワー入浴の方が省エネであるか否かを一人当たりの消費量に基づいて演算できるように、演算手段55での演算に用いる基準消費量GNは、基準消費量記憶手段52に記憶されている基準消費量を入浴する人数で除算した値とする。また、2番目以降の入浴者のシャワー入浴に際し、残り時間Tのカウントダウンがそれより先の入浴者のシャワー入浴で算出された残り時間から開始されることを防止するため、浴室1からの入浴者の退出が図示省略したセンサで検出される度に、給湯消費量記憶手段54に記憶されている給湯消費量GSを零リセットする。   In addition, when there are a plurality of bathers, a criterion used for calculation in the calculation means 55 so that it can be calculated on the basis of consumption per person whether shower bathing is more energy-saving than hot water bathing. The consumption amount GN is a value obtained by dividing the reference consumption amount stored in the reference consumption amount storage means 52 by the number of people taking a bath. In addition, in order to prevent the second and subsequent bathers from taking a shower, the remaining time T countdown starts from the remaining time calculated by the bather's shower bath before that time. The hot water consumption amount GS stored in the hot water consumption amount storage means 54 is reset to zero each time when the exit of the hot water is detected by a sensor (not shown).

但し、複数の入浴者がシャワー入浴したときのトータルの給湯消費量と基準消費量とを比較することが要求されることもある。この場合は、浴室1から入浴者が退出しても給湯消費量記憶手段54に記憶されている給湯消費量GSを零リセットせず、更に、基準消費量記憶手段52に記憶されている基準消費量をそのまま演算手段55での演算に用いる基準消費量GNとすればよい。   However, it may be required to compare the total consumption of hot water and the reference consumption when a plurality of bathers take a shower. In this case, even if the bather leaves the bathroom 1, the hot water consumption GS stored in the hot water consumption storage means 54 is not reset to zero, and the reference consumption stored in the reference consumption storage 52 is used. The amount may be used as the reference consumption amount GN used for calculation in the calculation means 55 as it is.

図3は、基準消費量GN、給湯消費量GS及び残り時間Tの関係の一例を示している。図3に示す例では、給湯消費量GSを表す線の勾配から明らかなように、t1〜t2の期間は単位時間当り消費エネルギー量dGを大きくした状態で給湯運転が行われ、t2〜t3の期間は給湯運転が停止され、t3〜t4の期間はシャワーの水量を絞るか給湯温度を下げて単位時間当り消費エネルギー量dGを比較的小さくした状態で給湯運転が行われ、t4〜t5の期間は単位時間当り消費エネルギー量dGを更に小さくした状態で給湯運転が行われ、t5以後の期間は消費エネルギー量dGを大きくした状態で給湯運転が行われている。そして、t6の時点で給湯消費量GSが基準消費量GNに達して、残り時間Tが0になっている。   FIG. 3 shows an example of the relationship between the reference consumption GN, the hot water consumption GS, and the remaining time T. In the example shown in FIG. 3, as is apparent from the slope of the line representing the hot water supply consumption GS, the hot water supply operation is performed in a state where the consumed energy amount dG per unit time is increased during the period from t1 to t2. During the period, the hot water supply operation is stopped, and during the period from t3 to t4, the hot water supply operation is performed in a state in which the amount of energy consumed per unit time dG is relatively small by reducing the amount of water in the shower or lowering the hot water supply temperature. The hot water supply operation is performed in a state where the energy consumption amount dG per unit time is further reduced, and the hot water supply operation is performed in the state where the consumption energy amount dG is increased in the period after t5. At time t6, the hot water supply consumption GS reaches the reference consumption GN, and the remaining time T is zero.

本実施形態によれば、シャワー入浴時に、湯張り運転で消費されるエネルギー量(基準消費量)と給湯運転でそれまでに消費されたエネルギー量(給湯消費量)との差を、その後に給湯消費量が基準消費量に達するまでにかかる残り時間として表示できる。そのため、湯張り入浴に比しシャワー入浴の方が省エネであるか否かを使用者に分かりやすく、且つ、心理的に強いインパクトを持って報知できる。更に、シャワーの水量、温度の変更等の給湯運転の状況変化(現時点での消費エネルギー量の変化)で残り時間が変化するため、シャワー入浴中の使用者にリアルタイムで省エネ化の努力を促すことができる。   According to the present embodiment, when taking a shower, the difference between the amount of energy consumed in the hot water operation (reference consumption) and the amount of energy consumed so far in the hot water operation (hot water consumption) is calculated thereafter. It can be displayed as the time remaining until the consumption reaches the reference consumption. Therefore, it is easy for the user to know whether shower bathing is more energy-saving than hot water bathing, and can be reported with a strong psychological impact. Furthermore, because the remaining time changes due to changes in the hot water supply operation (changes in the amount of energy consumed at this time) such as changes in the amount of water and temperature in the shower, the user who is taking a shower is encouraged to make efforts to save energy in real time. Can do.

ところで、上記実施形態では、基準消費量及び給湯消費量を消費エネルギー量のみから求めているが、基準消費量及び給湯消費量を消費エネルギー量に消費水量を加味して求めてもよい。   By the way, in the said embodiment, although reference | standard consumption and hot water supply consumption are calculated | required only from the amount of consumed energy, you may obtain | require reference consumption and hot water supply consumption considering the amount of consumed water to the amount of consumed energy.

この場合、基準消費量記憶手段52は、1回の湯張り運転で消費されるエネルギー量の金額換算値(消費ガス量×ガス単価)と水量の金額換算値(消費水量×水単価)との合計値を基準消費量GN´として記憶するように構成される。尚、エネルギー量と水量は単位が異なるため単純に加算できないが、エネルギー量の金額換算値と水量の金額換算値とを合計することにより、消費エネルギー量に消費水量を加味した消費量として取り扱うことができる。   In this case, the reference consumption amount storage means 52 calculates the amount of energy (consumed gas amount × gas unit price) converted from the amount of energy consumed in one hot water filling operation and the amount of water converted (consumed water amount × unit price of water). The total value is configured to be stored as the reference consumption amount GN ′. In addition, the amount of energy and the amount of water cannot be simply added because the units are different, but by treating the amount of energy converted to the amount of water and the amount of water converted to the amount of water consumed, the amount of energy consumed should be treated as the amount consumed. Can do.

また、消費量把握手段53は、上記実施形態と同様に給湯運転で消費される各時点での単位時間当り消費エネルギー量を比例弁電流から把握すると共に、給湯器2への通水量を検出する図示省略した水量センサからの信号に基づいて、給湯運転で消費される各時点での単位時間当り消費水量を把握するように構成される。そして、消費量把握手段53で把握した単位時間当り消費エネルギー量の金額換算値と単位時間当り消費水量の金額換算値との合計値を積算した値である給湯消費量GS´を給湯消費量記憶手段54に記憶させる。   In addition, the consumption amount grasping means 53 grasps the amount of energy consumed per unit time at each point of time consumed in the hot water supply operation from the proportional valve current, and detects the amount of water flowing into the water heater 2 as in the above embodiment. Based on a signal from a water amount sensor (not shown), the water consumption amount per unit time at each time point consumed in the hot water supply operation is grasped. Then, the hot water supply consumption GS ′, which is a value obtained by integrating the sum of the amount converted value of the amount of energy consumed per unit time and the amount converted value of the amount of water consumed per unit time grasped by the consumption amount grasping means 53, is stored in the hot water consumption amount. The data is stored in the means 54.

演算手段55は、消費量把握手段53で把握した現時点での単位時間当り消費エネルギー量の金額換算値と単位時間当り消費水量の金額換算値との合計値をdG´として、残り時間Tを下記(2)式、
T=(GN´−GS´)/dG´…(2)
で算出する。
The calculation means 55 sets dG ′ as the total value of the current amount converted value of the consumed energy amount per unit time and the converted amount value of the consumed water amount per unit time, which is grasped by the consumption amount grasping means 53, and sets the remaining time T as follows: (2) Formula,
T = (GN′−GS ′) / dG ′ (2)
Calculate with

この残り時間Tをリモコン6で表示すれば、湯張り入浴に対しシャワー入浴の方が省エネか否かを報知できるだけでなく、経済的であるか否かも報知できることになり、経済性を重要視する使用者にとって利便性が高い。   If the remaining time T is displayed on the remote controller 6, not only can the shower bath be informed of whether it is more energy-saving than the hot water bathing, but also whether it is economical or not can be reported. Convenient for users.

以上、本発明の実施形態について図面を参照して説明したが、本発明はこれに限定されない。例えば、上記実施形態の給湯器2は、ガスをエネルギー源とするものであるが、電気や石油をエネルギー源とする給湯器を用いる場合にも同様に本発明を適用できる。   As mentioned above, although embodiment of this invention was described with reference to drawings, this invention is not limited to this. For example, the water heater 2 of the above embodiment uses gas as an energy source, but the present invention can be similarly applied to a case where a water heater using electricity or oil as an energy source is used.

1…浴室、2…給湯器、3…浴槽、4…給湯部、5…コントローラ、52…基準消費量記憶手段、53…消費量把握手段、54…給湯消費量記憶手段、55…演算手段、6…リモコン(表示手段)。   DESCRIPTION OF SYMBOLS 1 ... Bathroom 2 ... Hot-water heater 3 ... Bathtub 4 ... Hot-water supply part 5 ... Controller 52 ... Standard consumption storage means 53 ... Consumption grasping means 54 ... Hot water consumption consumption storage means 55 ... Calculation means 6: Remote control (display means).

Claims (5)

浴室の浴槽以外の給湯部に給湯する給湯運転と、浴槽に給湯する湯張り運転とが可能な給湯器におけるモニタシステムであって、
湯張り運転で消費されるエネルギー量を基準消費量として記憶する基準消費量記憶手段と、
給湯運転で消費される各時点での単位時間当り消費エネルギー量を把握する消費量把握手段と、
消費量把握手段で把握した単位時間当り消費エネルギー量を積算した値である給湯消費量を記憶する給湯消費量記憶手段と、
消費量把握手段で把握した現時点での単位時間当り消費エネルギー量で給湯運転を行った場合に、給湯消費量が基準消費量に達するまでにかかる残り時間を算出する演算手段と、
演算手段で算出された残り時間を表示する表示手段とを備えることを特徴とする給湯器におけるモニタシステム。
A monitoring system in a water heater capable of performing a hot water supply operation for supplying hot water to a hot water supply unit other than a bathtub in a bathroom and a hot water operation for supplying water to a bathtub,
A reference consumption storage means for storing the amount of energy consumed in hot water operation as a reference consumption;
Consumption grasping means for grasping the amount of energy consumed per unit time at each point of time consumed in hot water operation;
Hot water consumption storage means for storing hot water consumption, which is a value obtained by integrating the amount of energy consumed per unit time grasped by the consumption grasping means;
When the hot water supply operation is performed with the current consumption energy amount per unit time ascertained by the consumption amount grasping means, calculation means for calculating the remaining time until the hot water consumption amount reaches the reference consumption amount,
A monitor system for a water heater, comprising: display means for displaying the remaining time calculated by the computing means.
浴室の浴槽以外の部分に給湯する給湯運転と、浴槽に給湯する湯張り運転とが可能な給湯器におけるモニタシステムであって、
湯張り運転で消費されるエネルギー量の金額換算値と水量の金額換算値との合計値を基準消費量として記憶する基準消費量記憶手段と、
給湯運転で消費される各時点での単位時間当り消費エネルギー量と単位時間当り消費水量を把握する消費量把握手段と、
消費量把握手段で把握した単位時間当り消費エネルギー量の金額換算値と単位時間当り消費水量の金額換算値との合計値を積算した値である給湯消費量を記憶する給湯消費量記憶手段と、
消費量把握手段で把握した現時点での単位時間当り消費エネルギー量及び単位時間当り消費水量で給湯運転を行った場合に、給湯消費量が基準消費量に達するまでにかかる残り時間を算出する演算手段と、
演算手段で算出された残り時間を表示する表示手段とを備えることを特徴とする給湯器におけるモニタシステム。
A monitor system in a water heater capable of performing a hot water supply operation for supplying water to a part other than a bathtub in a bathroom and a hot water operation for supplying water to a bathtub,
A reference consumption storage means for storing the total value of the amount converted to the amount of energy consumed in the hot water operation and the amount converted to the amount of water as a reference consumption;
A consumption grasping means for grasping the amount of energy consumed per unit time and the amount of water consumed per unit time at each point of time consumed in the hot water supply operation;
Hot water consumption storage means for storing hot water consumption, which is a value obtained by integrating the sum of the amount converted value of the energy consumption per unit time grasped by the consumption amount grasping means and the amount converted value of the amount of water consumed per unit time;
Calculation means for calculating the remaining time required for hot water consumption to reach the standard consumption when the hot water supply operation is performed with the current energy consumption per unit time and water consumption per unit time as grasped by the consumption grasping means. When,
A monitor system for a water heater, comprising: display means for displaying the remaining time calculated by the computing means.
前記演算手段での演算に用いる基準消費量は、前記基準消費量記憶手段に記憶されている基準消費量を入浴する人数で除算した値であることを特徴とする請求項1又は2記載の給湯器におけるモニタシステム。   The hot water supply according to claim 1 or 2, wherein the reference consumption used for the calculation in the calculation means is a value obtained by dividing the reference consumption stored in the reference consumption storage means by the number of people taking a bath. Monitoring system in a container. 前記基準消費量記憶手段に記憶されている基準消費量は、湯張り設定水量及び湯張り設定温度を含む湯張り運転の設定パラメータに基づいて演算された値であることを特徴とする請求項1〜3の何れか1項記載の給湯器におけるモニタシステム。   2. The reference consumption amount stored in the reference consumption amount storage means is a value calculated based on setting parameters for a hot water operation including a hot water setting water amount and a hot water setting temperature. The monitoring system in the hot water heater of any one of -3. 前記基準消費量記憶手段に記憶されている基準消費量は、湯張り運転を行ったときの実測値であることを特徴とする請求項1〜3の何れか1項記載の給湯器におけるモニタシステム。   The monitoring system for a hot water heater according to any one of claims 1 to 3, wherein the reference consumption amount stored in the reference consumption amount storage means is an actual measurement value when a hot water filling operation is performed. .
JP2012112224A 2012-05-16 2012-05-16 Monitor system for water heater Expired - Fee Related JP5888736B2 (en)

Priority Applications (1)

Application Number Priority Date Filing Date Title
JP2012112224A JP5888736B2 (en) 2012-05-16 2012-05-16 Monitor system for water heater

Applications Claiming Priority (1)

Application Number Priority Date Filing Date Title
JP2012112224A JP5888736B2 (en) 2012-05-16 2012-05-16 Monitor system for water heater

Publications (2)

Publication Number Publication Date
JP2013238364A true JP2013238364A (en) 2013-11-28
JP5888736B2 JP5888736B2 (en) 2016-03-22

Family

ID=49763548

Family Applications (1)

Application Number Title Priority Date Filing Date
JP2012112224A Expired - Fee Related JP5888736B2 (en) 2012-05-16 2012-05-16 Monitor system for water heater

Country Status (1)

Country Link
JP (1) JP5888736B2 (en)

Cited By (1)

* Cited by examiner, † Cited by third party
Publication number Priority date Publication date Assignee Title
CN110822725A (en) * 2019-12-03 2020-02-21 美的集团股份有限公司 Water heater water consumption determination method and device, water heater and electronic equipment

Citations (9)

* Cited by examiner, † Cited by third party
Publication number Priority date Publication date Assignee Title
JPH029752U (en) * 1988-06-30 1990-01-22
JP2000193314A (en) * 1998-12-25 2000-07-14 Matsushita Electric Ind Co Ltd Bath water heater
JP2003222400A (en) * 2002-01-29 2003-08-08 Noritz Corp Fuel integration method for water heater and water heater
JP2004144327A (en) * 2002-10-22 2004-05-20 Corona Corp Hot water storage type water heater
JP2004301381A (en) * 2003-03-28 2004-10-28 Toho Gas Co Ltd Monitor system of bathing method
JP2006029706A (en) * 2004-07-16 2006-02-02 Noritz Corp Storage type hot-water supply system
JP2006214645A (en) * 2005-02-03 2006-08-17 Denso Corp Hot water storage type water heater
JP2007085676A (en) * 2005-09-22 2007-04-05 Toto Ltd Hot water storage water heater
JP2013245846A (en) * 2012-05-24 2013-12-09 Hitachi Appliances Inc Water heater

Patent Citations (9)

* Cited by examiner, † Cited by third party
Publication number Priority date Publication date Assignee Title
JPH029752U (en) * 1988-06-30 1990-01-22
JP2000193314A (en) * 1998-12-25 2000-07-14 Matsushita Electric Ind Co Ltd Bath water heater
JP2003222400A (en) * 2002-01-29 2003-08-08 Noritz Corp Fuel integration method for water heater and water heater
JP2004144327A (en) * 2002-10-22 2004-05-20 Corona Corp Hot water storage type water heater
JP2004301381A (en) * 2003-03-28 2004-10-28 Toho Gas Co Ltd Monitor system of bathing method
JP2006029706A (en) * 2004-07-16 2006-02-02 Noritz Corp Storage type hot-water supply system
JP2006214645A (en) * 2005-02-03 2006-08-17 Denso Corp Hot water storage type water heater
JP2007085676A (en) * 2005-09-22 2007-04-05 Toto Ltd Hot water storage water heater
JP2013245846A (en) * 2012-05-24 2013-12-09 Hitachi Appliances Inc Water heater

Cited By (1)

* Cited by examiner, † Cited by third party
Publication number Priority date Publication date Assignee Title
CN110822725A (en) * 2019-12-03 2020-02-21 美的集团股份有限公司 Water heater water consumption determination method and device, water heater and electronic equipment

Also Published As

Publication number Publication date
JP5888736B2 (en) 2016-03-22

Similar Documents

Publication Publication Date Title
CN102620413B (en) There is the water heater of time alert feature
JP2013178010A (en) Storage type water heater
JP5888736B2 (en) Monitor system for water heater
JP3888906B2 (en) Energy utilization information display system
JP4967774B2 (en) Water heater
JP2013088065A (en) Liquid heater
JP5686073B2 (en) Electric water heater
JP2011196588A (en) Storage type water heater
JP2013228178A (en) Water heater
JP2008173152A (en) rice cooker
JP5761563B2 (en) Remote control device and heat source device
JP7751190B2 (en) Bath equipment and bath systems
JP2018048748A (en) Hot water storage type water heater
JP7314534B2 (en) toilet seat device
JP5997922B2 (en) Water heater
JP7751191B2 (en) Bath equipment
JP2004301381A (en) Monitor system of bathing method
JP2011153805A (en) Remote control device
JP2016119800A (en) Display device
JP5135289B2 (en) Foot bath
JP5152253B2 (en) Water heater
JP2018071952A (en) Hot water storage type water heater
JP2025167894A (en) Bath equipment
JP2024148124A (en) Bath system and bath equipment
JP2011257096A (en) Water heater

Legal Events

Date Code Title Description
A621 Written request for application examination

Free format text: JAPANESE INTERMEDIATE CODE: A621

Effective date: 20150420

TRDD Decision of grant or rejection written
A01 Written decision to grant a patent or to grant a registration (utility model)

Free format text: JAPANESE INTERMEDIATE CODE: A01

Effective date: 20160119

A977 Report on retrieval

Free format text: JAPANESE INTERMEDIATE CODE: A971007

Effective date: 20160120

A61 First payment of annual fees (during grant procedure)

Free format text: JAPANESE INTERMEDIATE CODE: A61

Effective date: 20160210

R150 Certificate of patent or registration of utility model

Ref document number: 5888736

Country of ref document: JP

Free format text: JAPANESE INTERMEDIATE CODE: R150

R250 Receipt of annual fees

Free format text: JAPANESE INTERMEDIATE CODE: R250

R250 Receipt of annual fees

Free format text: JAPANESE INTERMEDIATE CODE: R250

R250 Receipt of annual fees

Free format text: JAPANESE INTERMEDIATE CODE: R250

R250 Receipt of annual fees

Free format text: JAPANESE INTERMEDIATE CODE: R250

R250 Receipt of annual fees

Free format text: JAPANESE INTERMEDIATE CODE: R250

R250 Receipt of annual fees

Free format text: JAPANESE INTERMEDIATE CODE: R250

LAPS Cancellation because of no payment of annual fees