JP2012167390A - Hair extension package, apparatus for applying hair extension and method for applying hair extension using the package and the apparatus - Google Patents

Hair extension package, apparatus for applying hair extension and method for applying hair extension using the package and the apparatus Download PDF

Info

Publication number
JP2012167390A
JP2012167390A JP2011027582A JP2011027582A JP2012167390A JP 2012167390 A JP2012167390 A JP 2012167390A JP 2011027582 A JP2011027582 A JP 2011027582A JP 2011027582 A JP2011027582 A JP 2011027582A JP 2012167390 A JP2012167390 A JP 2012167390A
Authority
JP
Japan
Prior art keywords
hair
hair extension
package
extension
treatment
Prior art date
Legal status (The legal status is an assumption and is not a legal conclusion. Google has not performed a legal analysis and makes no representation as to the accuracy of the status listed.)
Withdrawn
Application number
JP2011027582A
Other languages
Japanese (ja)
Inventor
Kil Woo Lee
キル−ウー リー
Current Assignee (The listed assignees may be inaccurate. Google has not performed a legal analysis and makes no representation or warranty as to the accuracy of the list.)
Individual
Original Assignee
Individual
Priority date (The priority date is an assumption and is not a legal conclusion. Google has not performed a legal analysis and makes no representation as to the accuracy of the date listed.)
Filing date
Publication date
Application filed by Individual filed Critical Individual
Priority to JP2011027582A priority Critical patent/JP2012167390A/en
Priority to PCT/KR2011/007013 priority patent/WO2012108602A1/en
Publication of JP2012167390A publication Critical patent/JP2012167390A/en
Withdrawn legal-status Critical Current

Links

Images

Landscapes

  • Cosmetics (AREA)

Abstract

PROBLEM TO BE SOLVED: To provide a hair extension package remarkably reducing the time to apply hair extensions to improve convenience in a method for applying the hair extension.SOLUTION: The hair extension package for applying hair extensions 1000 includes: a first hair strand part 112 and a second hair strand part 114 each comprising a plurality of pieces of artificial hair; connection members 130 with predetermined knots formed in one area to connect the first hair strand part 112 and the second hair strand part 114; and a plurality of hair extensions each having a first fixing member 122 and a second fixing member 124 for fixing the first hair strand part 112 and the second hair strand part 114 to the connection members 130 respectively. A first tension member 310 and a second tension member 320 for adding tension to the adjacent hair extensions are connected to each other between the knots 132 and the first and second fixing members 122 and 124.

Description

本技術は、ヘアスタイルを演出するための美容分野に関し、より詳細には短縮された時間に及び容易に頭髪用エクステンションの施術ができる頭髪用エクステンションのパッケージ、頭髪用エクステンション施術用の器具及びこれらを用いた頭髪用エクステンションの施術方法に関する。 The present technology relates to the field of beauty for directing hairstyles, and more specifically, a hair extension package, a hair extension device, and a hair extension device that can easily perform hair extension treatment in a shortened time. The present invention relates to a method for applying the hair extension used.

現代社会の多様性及び文化水準の向上などによって外見に対する興味が日々増大している。特にヘアスタイルの演出は個人の外見を飾るには欠かせないことになっている。最近は個性のあるヘアスタイル演出が可能な頭髪用エクステンションの使用が増大している。 Interest in appearance is increasing day by day due to the diversity and cultural standards of modern society. In particular, the production of hairstyles is indispensable to decorate the personal appearance. Recently, the use of hair extensions that can produce unique hairstyles is increasing.

前記頭髪用エクステンションとは、所定の色、形、及び長さなどを有する複数の仮毛を含む鬘の一種であり、一般的に、1つの頭髪用エクステンションは前記複数の仮毛からなる1つの仮毛部を含む。前記頭髪用エクステンションは美容院などで簡単な施術を通じて人間の生毛に固定し、繋げることができる。例えば、前記頭髪用エクステンションを短い毛髪やまばらな髪の毛を持つ人に施術することで、毛髪が豊かでありながら長くて多様なスタイルを演出できる。 The hair extension is a type of wrinkle including a plurality of temporary hairs having a predetermined color, shape, length, and the like. Generally, one hair extension is one of the plurality of temporary hairs. Includes false hair. The hair extension can be fixed and connected to human hair through a simple treatment at a beauty salon or the like. For example, by applying the hair extension to a person with short hair or sparse hair, it is possible to produce long and diverse styles while the hair is rich.

しかしながら、前記頭髪用エクステンションの施術は、上述したように1つの仮毛部を含む1つの頭髪用エクステンションを所定量の生毛に固定して繋げる1回の施術過程を、数回反復することが必要となるため、施術時間がかかるという問題点がある。 However, as described above, the hair extension treatment may be repeated several times in one treatment process in which one hair extension including one hair portion is fixed and connected to a predetermined amount of raw hair. Since it is necessary, there is a problem that it takes a long time to perform treatment.

また、従来では、前記頭髪用エクステンションを前記生毛に固定して繋げるため、シリコンまたは接着剤などを用いる熱接着施術が行われている。しかしながら前記熱接着施術方式では生毛が熱によって損なわれ傷つけられる問題点がある。また、前記シリコンまたは接着剤が水または熱に脆弱な特性を有するため、その施術の部位で異物が取れやすくなり、または施術時と同一の状態で頭髪用エクステンションを維持することができる期間が短くなる可能性がある。また、前記熱接着施術方式では毛髪の伸縮性が低くなるため、施術の後、毛髪を洗う時、生毛と共に抜けることで脱毛が進むこともある。また、前記シリコンまたは接着剤によってその施術の部位が厚くなるため、頭皮で異物感を覚えやすくなる問題点がある。 Conventionally, in order to fix and connect the hair extension to the raw hair, thermal bonding using silicon or an adhesive is performed. However, the thermal bonding method has a problem that raw hair is damaged and damaged by heat. In addition, since the silicon or adhesive has a characteristic that is vulnerable to water or heat, it is easy to remove foreign substances at the site of the treatment, or the period during which the hair extension can be maintained in the same state as the treatment is short. There is a possibility. Moreover, since the stretchability of the hair is lowered in the thermal bonding treatment method, hair removal may proceed when the hair is washed after the treatment and the hair is removed together with the raw hair. Moreover, since the site | part of the treatment becomes thick with the said silicon | silicone or an adhesive agent, there exists a problem which becomes easy to memorize a foreign body feeling with a scalp.

この問題点を解決するため本発明者は韓国登録特許第0986906号に記載されているように、両方に仮毛部を含む新たな形態の頭髪用エクステンションおよびこれを用いた熱接着方式ではなく、結び方式の頭髪用エクステンションの施術方法を発明した。 In order to solve this problem, the present inventor, as described in Korean registered patent No. 0986906, is not a new type of hair extension including a temporary hair part on both sides and a thermal bonding method using this, Invented a knot-type hair extension treatment method.

しかしながら、こういう改善された方式が美容の業界で好評であるにもかかわらず、施術の時間を短縮するためのさらに改善された技術が要求されている。 However, even though these improved methods are popular in the beauty industry, there is a need for further improved techniques for reducing the time of treatment.

韓国登録特許第0986906号Korea Registered Patent No. 0986906

本発明は、頭髪用エクステンションの施術時間を著しく短縮することができ、施術方法の便宜性を増大することができる頭髪用エクステンションのパッケージを提供する。 The present invention provides a package for a hair extension that can significantly reduce the treatment time of the hair extension and can increase the convenience of the treatment method.

また、本発明は、前記頭髪用エクステンションのパッケージを施術するための施術用の器具であり、複数の頭髪用エクステンションの施術をいっぺんにすることができる頭髪用エクステンションの施術用の器具を提供する。 In addition, the present invention provides a surgical instrument for performing the hair extension package, and provides a hair extension surgical instrument capable of performing a plurality of hair extensions.

さらに、本発明は、前記頭髪用エクステンションのパッケージ及び頭髪用エクステンション施術用の器具を用い、頭髪用エクステンションを効率的に、便利に施術することができる方法を提供する。 Furthermore, the present invention provides a method for efficiently and conveniently performing a hair extension using the hair extension package and the hair extension device.

本発明の一実施形態に係る頭髪用エクステンション施術用の頭髪用エクステンションのパッケージは、各々複数の仮毛からなる第1毛髪部及び第2毛髪部、一領域に所定の結び目が形成され、前記第1毛髪部及び第2毛髪部を繋げるための連結部材、及び前記第1毛髪部及び第2毛髪部の各々を前記連結部材に固定するための第1固定部材及び第2固定部材を備える複数の頭髪用エクステンションを含む。前記結び目と前記第1固定部材及び第2固定部材との間には各々隣接した頭髪用エクステンションを引っ張るための第1張力部材及び第2張力部材が繋げられている。 A package of hair extensions for hair extension treatment according to an embodiment of the present invention includes a first hair part and a second hair part each made of a plurality of temporary hairs, and a predetermined knot is formed in one region. A plurality of connecting members for connecting one hair part and a second hair part, and a first fixing member and a second fixing member for fixing each of the first hair part and the second hair part to the connecting member Includes hair extensions. A first tension member and a second tension member for pulling adjacent hair extensions are connected between the knot and the first and second fixing members.

本発明の一実施形態に係る頭髪用エクステンションのパッケージは、互いに隣接した2つの頭髪用エクステンションを含むことができる。また、前記第1固定部材及び第2固定部材は磁性物質を含んでもよい。 The package of hair extensions according to an embodiment of the present invention may include two hair extensions adjacent to each other. The first fixing member and the second fixing member may include a magnetic substance.

前記第1張力部材及び第2張力部材は各々隣接した頭髪用エクステンションの第1固定部材の間及び第2固定部材の間に繋げることができる。これと異なって、前記第1張力部材及び第2張力部材は前記第1固定部材と前記結び目との間及び前記第2固定部材と前記結び目との間に前記連結部材に沿って移動することができる。前記第1張力部材及び第2張力部材は弾性体または糸であってもよい。 The first tension member and the second tension member may be connected between the first fixing members and the second fixing members of the adjacent hair extensions. In contrast, the first tension member and the second tension member may move along the connecting member between the first fixing member and the knot and between the second fixing member and the knot. it can. The first tension member and the second tension member may be an elastic body or a thread.

前記連結部材の一領域に形成されている結び目は一次的リボンの結び目からなり、また二次的に1.5回転の結び目によって3つの輪を含む二重結び目であってもよい。 The knot formed in one region of the connecting member may be a primary ribbon knot, and may be a double knot including three rings by a secondary 1.5 knot.

本発明の一実施形態に係る頭髪用エクステンション施術用の器具は取っ手、及び前記取っ手の末端部から延長し、分岐された2つのスキル針を含み、前記スキル針の末端には鉤部を改廃させるための改廃部を提供する。 An apparatus for hair extension treatment according to an embodiment of the present invention includes a handle and two skill needles that extend from a distal end portion of the handle and are branched. To provide a renovation department.

前記スキル針の長さは全部同一であることもでき、これと異なって頭像の屈曲に対応できるように互いに異なってもよい。 The lengths of the skill needles may all be the same, or may be different from each other so as to cope with the bending of the head image.

本発明の一実施形態に係る頭髪用エクステンションの施術方法は上述した頭髪用エクステンション施術用の器具のスキル針の各々を上述した頭髪用エクステンションのパッケージの結び目の各々に通過させる段階、各々複数の髪の毛を単位施術の対象体とし、スキル針1つ当り単位施術の対象体1つが対応することができるようにし、施術部位が前記スキル針の鉤の内に位置することができるように、前記単位施術の対象体を配置する段階、前記頭髪用エクステンション施術用の器具を施術の対象者の頭から遠くなるように引っ張る段階、及び前記第1張力部材及び第2張力部材を互いに反対方向を向けるように上下に引っ張る段階を含む。 The hair extension treatment method according to an embodiment of the present invention includes a step of passing each of the skill needles of the above-described hair extension device through each knot of the above-described hair extension package, each of a plurality of hairs. The unit operation is performed so that one unit operation target can correspond to each skill needle, and the operation site can be located within the heel of the skill needle. Arranging the target object, pulling the hair extension device away from the head of the subject, and directing the first tension member and the second tension member in opposite directions. Including pulling up and down.

作業の完了後、前記第1張力部材及び第2張力部材は取り除いてもよい。 After completion of the work, the first tension member and the second tension member may be removed.

本発明の一実施形態に係る頭髪用エクステンションのパッケージ及び頭髪用エクステンション用の施術器具を使用する場合、1回の施術で従来の4回以上の施術を代えることができ、頭髪用エクステンション施術の時間を短縮することができる。また生毛に接着、またはゴム紐などの紐で結ぶなどの追加の作業をしなくても自動に頭髪用エクステンションが生毛に結び目の形で結合することができ、簡単に頭髪用エクステンション施術ができる。 When using the hair extension package and the hair extension treatment device according to one embodiment of the present invention, one treatment can replace four or more conventional treatments, and the time of hair extension treatment Can be shortened. In addition, the hair extension can be automatically connected to the raw hair in the form of a knot without additional work such as bonding to the raw hair or tying with a string such as a rubber string. it can.

したがって、本発明に係る場合、頭髪用エクステンション施術が大衆的に拡大することができ、小型美容院でも簡単な教育の後に誰しも簡単に頭髪用エクステンション施術ができることが期待される。 Therefore, in the case of the present invention, the hair extension treatment can be widely expanded, and it is expected that anyone can easily perform the hair extension treatment even after a simple education at a small beauty salon.

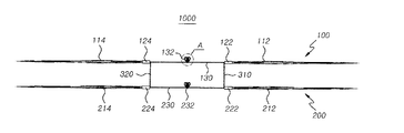
本発明の一側面に係る頭髪用エクステンションのパッケージを示す概念図である。It is a conceptual diagram which shows the package of the extension for hair which concerns on 1 side of this invention. 図1の「A」の部分の拡大図である。FIG. 2 is an enlarged view of a portion “A” in FIG. 1. 複数の頭髪用エクステンションのパッケージが頭髪用エクステンションの据え置き用の支持台に配置されたことを示す図である。It is a figure which shows that the package of the several hair extension was arrange | positioned on the support stand for deferment of the hair extension. 本発明の一側面に係る頭髪用エクステンション施術用の器具を示す斜示図である。1 is a perspective view showing a hair extension device according to one aspect of the present invention. FIG. 本発明の一側面に係る頭髪用エクステンションの施術方法を概念的に説明するための斜示図である。It is a perspective view for demonstrating notionally the treatment method of the hair extension which concerns on 1 side of this invention.

以下、添付する図を参照しながら本発明に係る頭髪用エクステンションのパッケージ、頭髪用エクステンション施術用の器具及び頭髪用エクステンションの施術方法について詳しく説明する。しかしながら、下記の説明は例示であり、特許請求の範囲に基づいて定められ、発明を実施するための最良の実施例により制限されるものではない。 Hereinafter, a hair extension package, a hair extension device and a hair extension method according to the present invention will be described in detail with reference to the accompanying drawings. However, the following description is an exemplification, is defined based on the claims, and is not limited by the best embodiment for carrying out the invention.

図1を参照すれば、頭髪用エクステンションのパッケージ1000は第1頭髪用エクステンション100及び第2頭髪用エクステンション200を含む。第1頭髪用エクステンション100と第2頭髪用エクステンション200は下述する張力部材310、320によって、引っ張るように張力部材310、320と繋げられる。 Referring to FIG. 1, the hair extension package 1000 includes a first hair extension 100 and a second hair extension 200. The first hair extension 100 and the second hair extension 200 are connected to the tension members 310 and 320 so as to be pulled by tension members 310 and 320 described below.

第1頭髪用エクステンション100は複数の仮毛からなる集合体である第1毛髪部112及び複数の仮毛からなる集合体である第2毛髪部114を含む。前記第1毛髪部112及び第2毛髪部114は連結部材130によって空間的に互いに繋げられ、全体的に線形である1つの本体を含む。しかしながら、実質的に前記第1頭髪用エクステンション100は従来の頭髪用エクステンションの2つを含むことと同様の構造を有する。本実施例で、第1頭髪用エクステンション100は仮毛を含むが、これと異なって、鬘と同様、生毛を含んでもよい。 The first hair extension 100 includes a first hair part 112 that is an aggregate made up of a plurality of temporary hairs and a second hair part 114 that is an aggregate made up of a plurality of temporary hairs. The first hair portion 112 and the second hair portion 114 are spatially connected to each other by a connecting member 130 and include one body that is generally linear. However, the first hair extension 100 has substantially the same structure as that of including two conventional hair extensions. In the present embodiment, the first head hair extension 100 includes temporary hair, but unlike the wrinkles, the first hair extension 100 may include raw hair.

前記第1毛髪部112及び第2毛髪部114は各々前記連結部材130に繋げられ、固定させるため、連結部材130と、各々第1固定部材122及び第2固定部材124によって連結部材130の両末端と結合できるように固定されている。前記連結部材130の材料としては特に制限されないが、前記連結部材130が、施術の完了後にも施術の対象者の頭に残存する構成であることで、なるべく異物感が少ない材料を使用することが好ましく、例えば、糸のような非弾性体が好ましいのである。また、前記第1固定部材122及び第2固定部材124としては接着剤を含むことで、前記連結部材130と固定部材122、124との結合部位の容積を増加させない固定部材122,124を使用することもでき、これと異なって、別途の結束手段を使用してもよい。 The first hair part 112 and the second hair part 114 are connected to the connecting member 130 and fixed to each other. It is fixed so that it can be combined with. Although the material of the connecting member 130 is not particularly limited, it is possible to use a material that has as little foreign material as possible because the connecting member 130 remains on the head of the person to be treated even after the treatment is completed. For example, an inelastic body such as a thread is preferable. The first fixing member 122 and the second fixing member 124 include fixing members 122 and 124 that do not increase the volume of the coupling portion between the connecting member 130 and the fixing members 122 and 124 by including an adhesive. Alternatively, different bundling means may be used.

前記固定部材122,124のうちの少なくとも1つの固定部材122、124は磁性物質を含むことができる。前記固定部材122,124が磁性物質を含む場合、頭髪用エクステンションが施術された被施術者の血液循環及び頭痛予防などに役に立つこともある。 At least one of the fixing members 122 and 124 may include a magnetic material. When the fixing members 122 and 124 include a magnetic substance, the fixing members 122 and 124 may be useful for blood circulation and headache prevention of a patient who has been subjected to a hair extension.

前記連結部材130の一領域には所定の結び目132が形成されており、好ましくは連結部材130の中間に形成されることができる。前記結び目132の部位は第1頭髪用エクステンション100が施術対象の部位に結束する支点である。 A predetermined knot 132 is formed in a region of the connecting member 130, and may be formed in the middle of the connecting member 130. The portion of the knot 132 is a fulcrum at which the first hair extension 100 binds to the portion to be treated.

図2は図1の「A」の部分の拡大図である。 FIG. 2 is an enlarged view of a portion “A” in FIG.

図2を参照すれば、連結部材130の一領域に形成された結び目132はリボン結びを1次的に行うことで、発生した2つの輪、及びリボン結びが行われた後にすぐ、連接部位の連結部材130を、輪の形状で作ったあと、2次的に1.5回転させることで、発生した追加の1つの輪を含み、前記結び目132は3つの輪を形成する。すなわち、連結部材130は3つの輪を含む輪部132b及び各々の結びを行うことによって形成された結び目部132aを含む、前記結び目132は不完全な結び目として、張力などによる追加の外力によって、さらに結束することができる。 Referring to FIG. 2, the knot 132 formed in one region of the connecting member 130 is primarily used for ribbon knotting, and immediately after the two generated rings and the ribbon knot are formed, After the connecting member 130 is formed in the shape of a ring, it is secondarily rotated 1.5 times to include one additional generated ring, and the knot 132 forms three rings. That is, the connecting member 130 includes a ring part 132b including three rings and a knot part 132a formed by tying each of the knots 132. The knot 132 is an incomplete knot. Can be united.

第2頭髪用エクステンション200は複数の仮毛からなる集合体である第3毛髪部212及び、同じく複数の仮毛からなる集合体である第4毛髪部214を含む。前記第3毛髪部212及び第4毛髪部214は連結部材230によって空間的に互いに繋げられており、全体的に線形である1つの本体を含む。上述した第1頭髪用エクステンション100と同様、前記第3毛髪部212及び第4毛髪部214の間に位置する連結部材230の一領域には結び目232が形成されている。また、前記第3毛髪部212及び第4毛髪部214は各々前記連結部材230に繋げられ固定されるため、連結部材230と各々第3固定部材222及び第4固定部材224によって連結部材230の両末端と結合できるように固定されている。第2頭髪用エクステンション200は上述した第1頭髪用エクステンション100と同じく対応するため、追加の詳しい説明は省略する。 The second hair extension 200 includes a third hair portion 212 that is an aggregate composed of a plurality of temporary hairs, and a fourth hair portion 214 that is also an aggregate composed of a plurality of temporary hairs. The third hair portion 212 and the fourth hair portion 214 are spatially connected to each other by a connecting member 230 and include a single body that is generally linear. Similar to the first hair extension 100 described above, a knot 232 is formed in a region of the connecting member 230 located between the third hair portion 212 and the fourth hair portion 214. Further, since the third hair portion 212 and the fourth hair portion 214 are connected and fixed to the connecting member 230, both the connecting member 230 and the third fixing member 222 and the fourth fixing member 224 respectively connect the connecting member 230. It is fixed so that it can be attached to the end. Since the second hair extension 200 corresponds to the first hair extension 100 described above, additional detailed description is omitted.

一方、第1頭髪用エクステンション100及び第2頭髪用エクステンション200は第1張力部材310及び第2張力部材320によって互いに繋げられている。前記第1張力部材310は第1及び第3固定部材122,222と結び目132,232との間に繋げられ、第1頭髪用エクステンション100と第2頭髪用エクステンションとを繋げる。 On the other hand, the first hair extension 100 and the second hair extension 200 are connected to each other by the first tension member 310 and the second tension member 320. The first tension member 310 is connected between the first and third fixing members 122 and 222 and the knots 132 and 232, and connects the first hair extension 100 and the second hair extension.

前記第1張力部材310は、各々第1固定部材122及び第3固定部材222の形成時に共に接着剤などで固定され形成することで、第1固定部材122及び第3固定部材222と繋げることができる。これと同様、第2張力部材320も第2固定部材124及び第4固定部材224の形成時に共に接着剤などで固定され形成されることで、第2固定部材124及び第4固定部材224と繋げてもよい。 The first tension member 310 may be connected to the first fixing member 122 and the third fixing member 222 by being fixed with an adhesive or the like when the first fixing member 122 and the third fixing member 222 are formed. it can. Similarly, the second tension member 320 is also formed by being fixed with an adhesive or the like when the second fixing member 124 and the fourth fixing member 224 are formed, so that the second tension member 320 is connected to the second fixing member 124 and the fourth fixing member 224. May be.

これと異なって、前記第1張力部材310は第1固定部材122と結び目132との間及び第3固定部材222と結び目232との間に繋げることができ、さらに連結部材130、230に沿って自由に移動してもよい。同様に前記第2張力部材320は第2固定部材124と結び目132との間に繋げることができ、さらに連結部材130、230に沿って自由に移動してもよい。 In contrast, the first tension member 310 may be connected between the first fixing member 122 and the knot 132 and between the third fixing member 222 and the knot 232, and along the connecting members 130 and 230. You may move freely. Similarly, the second tension member 320 may be connected between the second fixing member 124 and the knot 132, and may move freely along the connecting members 130 and 230.

前記第1張力部材310及び第2張力部材320は頭髪用エクステンション施術の最後の段階で互いに反対方向を向くように上下方向に引っ張られることで、前記結び目132、232の不完全な結び目の状態を堅固に結束させることができる。したがって、施術の最後の段階でゴム紐で結ぶことや接着剤にて処理するなどの追加の作業をしなくても簡単に生毛と頭髪用エクステンションのパッケージ1000をいっぺんに結束させて付着してもよい。 The first tension member 310 and the second tension member 320 are pulled up and down so as to face each other in the last stage of the hair extension treatment, so that the incomplete knots of the knots 132 and 232 are in an incomplete state. Can be tightly bound. Therefore, it is possible to easily bind and attach the package 1000 of raw hair and the hair extension all at once without performing additional work such as tying with a rubber string or processing with an adhesive at the final stage of the treatment. Good.

前記第1張力部材310及び第2張力部材320は張力を発生させることができる材質であれば特に制限されず、例えば、プラスチック微細管または糸であってもよい。 The first tension member 310 and the second tension member 320 are not particularly limited as long as they are materials that can generate tension, and may be, for example, plastic fine tubes or threads.

本実施例では、2つの頭髪用エクステンション100,200を含む頭髪用エクステンションのパッケージ1000を説明したが、本発明の技術思想はこれに制限されず、3つ以上の頭髪用エクステンションを含む拡張された構造を含む。 In the present embodiment, the hair extension package 1000 including the two hair extensions 100 and 200 has been described. However, the technical idea of the present invention is not limited thereto, and the extended hair package includes three or more hair extensions. Includes structure.

図3は複数の頭髪用エクステンションのパッケージが頭髪用エクステンションの据え置き用の支持台に配置されたことを示す図である。 FIG. 3 is a view showing that a plurality of hair extension packages are arranged on a stationary support base for hair extensions.

図3を参照すれば、頭髪用エクステンションのパッケージ2000,3000,4000は頭髪用エクステンション施術時、作業の効率性を極大化するため、頭髪用エクステンションの据え置き用の支持台52,54に据え置かれるように連続的に作業ができる。前記据え置き用の支持台52、54は互いに並列で平行に配置された第1支持台52及び第2支持台54を含む。前記頭髪用エクステンションの据え置き用の支持台52,54は2つの長い菅の形を有し、頭髪用エクステンションのパッケージ1000の円滑な移動のため、前記第1支持台52及び第2支持台54の垂直切断面は円の形状であることが好ましい。本実施例で、前記第1支持台52は前記頭髪用エクステンションのパッケージ1000の結び目332の輪部332bが内部を貫通し、前記第2支持台54は前記頭髪用エクステンションのパッケージ1000の結び目432の輪部432bが内部を貫通する。前記頭髪用エクステンションのパッケージ1000の結び目432の輪部432bが内部を貫通する。前記頭髪用エクステンションのパッケージ1000,2000,3000は前記頭髪用エクステンションの据え置き用の支持台52,54の長さの方向に沿って移動することができる。 Referring to FIG. 3, the hair extension packages 2000, 3000, and 4000 are placed on the support bases 52 and 54 for the hair extension in order to maximize the efficiency of the operation when performing the hair extension. Can work continuously. The stationary support bases 52 and 54 include a first support base 52 and a second support base 54 arranged in parallel with each other. The stationary support bases 52 and 54 for the hair extension have two long ridge shapes, and the first support base 52 and the second support base 54 are arranged for smooth movement of the hair extension package 1000. The vertical cut surface is preferably circular. In this embodiment, the first support base 52 has a ring portion 332b of the knot 332 of the hair extension package 1000 passing through the inside thereof, and the second support base 54 is formed of the knot 432 of the hair extension package 1000. The ring part 432b penetrates the inside. The loop portion 432b of the knot 432 of the hair extension package 1000 penetrates the inside. The hair extension package 1000, 2000, 3000 can move along the length direction of the support bases 52, 54 for stationary the hair extension.

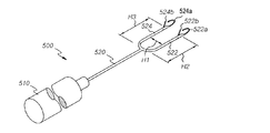
図4は本発明の一側面に係る頭髪用エクステンション施術用の器具を示す斜示図である。 FIG. 4 is a perspective view showing a hair extension device according to one aspect of the present invention.

図4を参照すれば、頭髪用エクステンション施術用の器具500は取っ手510及び前記取っ手の末端部から延長されたスキル針520を含む。前記スキル針520は分岐された第1スキル針522及び第2スキル針524を含む。一方、前記第1スキル針522の末端には鉤の形状の鉤部522a及び前記鉤部522aを改廃するための改廃部522bを含む。同様で、前記第2スキル針524の末端には鉤の形状の鉤部524a及び前記鉤部524aを改廃するための改廃部524bを含む。 Referring to FIG. 4, the hair extension instrument 500 includes a handle 510 and a skill needle 520 extending from the distal end of the handle. The skill needle 520 includes a branched first skill needle 522 and second skill needle 524. Meanwhile, the end of the first skill needle 522 includes a collar-shaped collar 522a and a reforming / eliminating part 522b for reforming and eliminating the collar 522a. Similarly, the end of the second skill needle 524 includes a flange portion 524a having a hook shape and a renovation / removal portion 524b for renovating and reusing the flange portion 524a.

頭髪用エクステンション施術時、前記鉤部522a及び鉤部524aの内部には各々施術の対象毛髪が挿入され、スキル針522,524の個数だけいっぺんに頭髪用エクステンションの施術が行われる。前記改廃部522b、524bは頭髪用エクステンションの施術時、取っ手を被施術者から遠くなるように取っ手を引っ張る場合、開きながら内部にある生毛が排出される際、スキル針522、524に既に掛かっていた頭髪用エクステンションのパッケージ(未図示)の結び目(未図示)と結束される。 During the hair extension treatment, the hair to be treated is inserted into the heel portion 522a and the heel portion 524a, and the hair hair extension treatment is performed for the number of skill needles 522 and 524 at the same time. When the handle is pulled away from the person to be treated when the hair extension is applied, the modified parts 522b and 524b are already hooked on the skill needles 522 and 524 when the raw hair inside the opening is discharged. It binds with the knot (not shown) of the package (not shown) of the extension for hair.

頭髪用エクステンションの施術者は作業の前、上述した頭髪用エクステンション据え置き用の支持台52,54に掛かっていた頭髪用エクステンションのパッケージ2000の第1輪部332bを貫通するように第1スキル針522を通過させ、第2輪部432bを貫通するように第2スキル針524を通過させることで、作業を準備する。 Before performing the work, the hair extension operator performs the first skill needle 522 so as to penetrate the first ring portion 332b of the package 2000 of the hair extension that has been hung on the support bases 52 and 54 for mounting the hair extension described above. And the second skill needle 524 passes through the second wheel portion 432b to prepare for the work.

前記第1スキル針522の長さ(H2)及び第2スキル針524の長さ(H3)は互いに同一か異なることがあり、特にスキル針522、524の個数が2つを超過する実施例では被施術者の頭状の屈曲を反映し、スキル針522、524の長さ(H2、H3)が互いに異なってもよい。 The length (H2) of the first skill needle 522 and the length (H3) of the second skill needle 524 may be the same or different from each other, particularly in an embodiment in which the number of skill needles 522 and 524 exceeds two. The lengths (H2, H3) of the skill needles 522, 524 may be different from each other, reflecting the head-shaped bending of the patient.

一方、詳しく示さなかったが、前記第1スキル針522及び第2スキル針524を長さの方向に沿って移動できる構造で設計することで、前記スキル針522,524の長さを可変的に調節することができる。 On the other hand, although not shown in detail, by designing the first skill needle 522 and the second skill needle 524 with a structure that can move along the length direction, the length of the skill needles 522 and 524 can be made variable. Can be adjusted.

一方、第1スキル針522及び第2スキル針524の間隔(H1)は特に制限されないが、頭髪用エクステンションの密度または施術する頭髪用エクステンションの個数によって調節することができる。 On the other hand, the distance (H1) between the first skill needle 522 and the second skill needle 524 is not particularly limited, but can be adjusted according to the density of hair extensions or the number of hair extensions to be treated.

図5は本発明の一側面に係る頭髪用エクステンションの施術方法を概念的に説明するための斜示図である。 FIG. 5 is a perspective view for conceptually explaining a method for performing a hair extension according to one aspect of the present invention.

図5を参照すれば、まず、頭髪用エクステンション据え置き用の支持台52,54などに据え置かれた頭髪用エクステンションのパッケージ5000の第1結び目632及び第2結び目634の輪部の内部を貫通するように頭髪用エクステンション施術用の器具700の第1スキル針722及び第2スキル針724に各々掛ける。ここで、前記第1結び目632及び第2結び目634は不完全な結びの状態で、前記第1スキル針722及び第2スキル針724の長さの方向に沿って、自由に移動できないといけない。 Referring to FIG. 5, first, the hair extension package 5000 installed on the hair extension stationary support bases 52, 54, etc., passes through the insides of the first knot 632 and the second knot 634. Are applied to the first skill needle 722 and the second skill needle 724 of the hair extension device 700, respectively. Here, the first knot 632 and the second knot 634 are in an incomplete knot state and should be able to move freely along the length direction of the first skill needle 722 and the second skill needle 724.

つづいて、前記第1スキル針722の鉤部722aの内部及び第2スキル針724の鉤部724aの内部に複数の毛髪からなる段位施術の対象体の毛髪810、820を各々挿入させる。ここで、挿入された毛髪の部位は頭髪用エクステンションが結合する施術の部位になるように位置させる。 Subsequently, the target hairs 810 and 820 composed of a plurality of hairs are inserted into the inside of the heel portion 722a of the first skill needle 722 and the inside of the heel portion 724a of the second skill needle 724, respectively. Here, the inserted hair portion is positioned so as to be a treatment portion to which the hair extension is coupled.

上述したように準備が整った後、頭髪用エクステンション施術の器具700の取っ手710を施術の対象者の頭から遠くなるように引っ張る。このように取っ手710が引っ張られれば、改廃部722b、724bが開きながら段位施術の対象体の毛髪810と結び目632、634とが一次結束される。つづいて、第1張力部材610及び第2張力部材620を互いに反対方向を向くように上下方向で張力が発生するように引っ張れば、ゆるい状態の結び目632、634が生毛と強く2次結束される。したがって、ゴム紐や接着剤などの追加の結束手段がなくても完全に頭髪用エクステンションのパッケージ5000が2つの段位施術の対象体の毛髪810、820と結束される。したがって、一回の施術で従来の4つの頭髪用エクステンションを簡単に施術することができる。 After the preparation is completed as described above, the handle 710 of the hair extension device 700 is pulled away from the head of the person to be treated. When the handle 710 is pulled in this way, the hair 810 and the knots 632 and 634 of the target of the stage treatment are primarily bound while the reformed / disused portions 722b and 724b are opened. Subsequently, when the first tension member 610 and the second tension member 620 are pulled so as to generate tension in the vertical direction so as to face in opposite directions, the loose knots 632 and 634 are strongly bound to the raw hair. The Accordingly, the hair extension package 5000 is completely bound to the hairs 810 and 820 of the target for the two-stage treatment without additional binding means such as a rubber cord or an adhesive. Therefore, the conventional four hair extensions can be easily treated by one treatment.

本実施例で、作業を完了した後、前記第1張力部材610及び第2張力部材620は頭に異物感または前記張力部材610,620が外部に露出されることを防ぐために取り除かれる。 In this embodiment, after the work is completed, the first tension member 610 and the second tension member 620 are removed to prevent a foreign object from being exposed to the head or the tension members 610 and 620 from being exposed to the outside.

100・・・第1頭髪用エクステンション、122・・・第1固定部材、124・・・第2固定部材、130・・・連結部材、200・・・第2頭髪用エクステンション、222・・・第3固定部材、224・・・第4固定部材、230・・・連結部材、310・・・第1張力部材、320・・・第2張力部材、
500・・・器具、520・・・スキル針、522・・・第1スキル針、524・・・第2スキル針、610・・・第1張力部材、620・・・第2張力部材、700・・・器具、722・・・第1スキル針、724・・・第2スキル針、810・・・毛髪。
DESCRIPTION OF SYMBOLS 100 ... Extension for 1st hair, 122 ... 1st fixing member, 124 ... 2nd fixing member, 130 ... Connection member, 200 ... Extension for 2nd hair, 222 ... 1st 3 fixing members, 224... 4th fixing member, 230... Connecting member, 310... First tension member, 320.
500 ... appliance, 520 ... skill needle, 522 ... first skill needle, 524 ... second skill needle, 610 ... first tension member, 620 ... second tension member, 700 ... appliance, 722 ... first skill needle, 724 ... second skill needle, 810 ... hair.

Claims (11)

各々の複数の仮毛からなる第1毛髪部及び第2毛髪部と、
一領域に所定の結び目が形成されており、前記第1毛髪部及び第2毛髪部を繋げるための連結部材と、
及び前記第1毛髪部及び第2毛髪部の各々を前記連結部材に固定させるための第1固定部材及び第2固定部材を備えた複数の頭髪用エクステンションを含み、
前記結び目と前記第1固定部材及び第2固定部材との間には各々隣接した頭髪用エクステンションを引っ張るための第1張力部材及び第2張力部材が繋げられている頭髪用エクステンション施術用の頭髪用エクステンションのパッケージ。
A first hair part and a second hair part each comprising a plurality of temporary hairs;
A predetermined knot is formed in one region, and a connecting member for connecting the first hair part and the second hair part;
And a plurality of hair extensions including a first fixing member and a second fixing member for fixing each of the first hair part and the second hair part to the connecting member,
For the hair for hair extension treatment, a first tension member and a second tension member for pulling adjacent hair extensions are connected between the knot and the first fixing member and the second fixing member, respectively. Extension package.
互いに隣接した2つの頭髪用エクステンションを含むことを特徴とする請求項1に記載の頭髪用エクステンション施術用の頭髪用エクステンションのパッケージ。 The package of the hair extension for the hair extension operation according to claim 1, comprising two hair extensions adjacent to each other. 前記第1固定部材及び第2固定部材は磁性物質を含むことを特徴とする請求項1に記載の頭髪用エクステンション施術用の頭髪用エクステンションのパッケージ。 The package of hair extensions according to claim 1, wherein the first fixing member and the second fixing member include a magnetic substance. 前記第1張力部材及び第2張力部材は各々隣接した頭髪用エクステンションの第1固定部材の間及び第2固定部材の間に繋げられていることを特徴とする請求項1に記載の頭髪用エクステンション施術用の頭髪用エクステンションのパッケージ。 The hair extension according to claim 1, wherein the first tension member and the second tension member are connected between the first fixing members and the second fixing members of the adjacent hair extensions, respectively. Package of hair extensions for treatment. 前記第1張力部材及び第2張力部材は前記第1固定部材と前記結び目との間及び前記第2固定部材と前記結び目との間に、前記連結部材に沿って移動できることを特徴とする請求項1に記載の頭髪用エクステンション施術用の頭髪用エクステンションのパッケージ。 The first tension member and the second tension member are movable along the connecting member between the first fixing member and the knot and between the second fixing member and the knot. A package of a hair extension for hair extension treatment according to 1. 前記第1張力部材及び第2張力部材は弾性体または糸であることを特徴とする請求項1に記載の頭髪用エクステンション施術用の頭髪用エクステンションのパッケージ。 The hair extension package for hair extension treatment according to claim 1, wherein the first tension member and the second tension member are elastic bodies or threads. 前記結び目は1次リボン結び及び2次1.5回転結びによって3つの輪を含む二重結び目であることを特徴とする請求項1に記載の頭髪用エクステンション施術用の頭髪用エクステンションのパッケージ。 The package of a hair extension according to claim 1, wherein the knot is a double knot including three rings by a primary ribbon knot and a secondary 1.5 rotary knot. 頭髪用エクステンション施術用の器具として、
取っ手、
及び前記取っ手の末端部から延長され、分岐した少なくとも2つのスキル針を含み、
前記スキル針の末端には鉤部及び前記鉤部を改廃するための改廃部が備えた頭髪用エクステンション施術用の器具。
As an instrument for hair extension treatment,
Handle,
And at least two skill needles extended from the end of the handle and branched,
An instrument for hair extension treatment provided at the end of the skill needle with a buttocks and a renovation / removal part for rehabilitating the reeds.
前記スキル針の長さは頭像の屈曲に対応するように互いに異なることを特徴とする請求項8に記載の頭髪用エクステンション施術用の器具。 The hair extension device according to claim 8, wherein the lengths of the skill needles are different from each other so as to correspond to bending of the head image. 請求項9に記載の頭髪用エクステンション施術用の器具の各々のスキル針を請求項7に記載の頭髪用エクステンションのパッケージの各々の結び目の輪に貫通させる段階、
各々複数の毛髪を段位施術の対象体にして、スキル針1つ当り段位施術の対象体1つが対応できるようにし、施術の部位が前記スキル針の鉤の内に位置することができるように前記段位施術の対象体を配置する段階、
前記頭髪用エクステンション施術用の器具を施術の対象者の頭から遠くなるように引っ張る段階、
及び前記第1張力部材及び第2張力部材を互いに反対方向を向くように上下に引っ張る段階を含む頭髪用エクステンションの施術方法。
Penetrating each skill needle of the hair extension device according to claim 9 into each knot ring of the hair extension package according to claim 7;
Each of the plurality of hairs is set as a target for stepping treatment so that one target for stepping treatment can correspond to each skill needle, and the portion to be operated can be positioned within the eyelid of the skill needle. The stage of placing the target of the stage treatment;
Pulling the hair extension treatment device away from the head of the subject of the treatment,
And a method of applying a hair extension, the method comprising pulling the first tension member and the second tension member up and down so as to face opposite directions.
作業を完了した後、前記第1張力部材及び第2張力部材を取り除く段階をさらに含むことを特徴とする請求項10に記載の頭髪用エクステンション施術用の頭髪用エクステンションの施術方法。 The method of claim 10, further comprising the step of removing the first tension member and the second tension member after completing the work.
JP2011027582A 2011-02-10 2011-02-10 Hair extension package, apparatus for applying hair extension and method for applying hair extension using the package and the apparatus Withdrawn JP2012167390A (en)

Priority Applications (2)

Application Number Priority Date Filing Date Title
JP2011027582A JP2012167390A (en) 2011-02-10 2011-02-10 Hair extension package, apparatus for applying hair extension and method for applying hair extension using the package and the apparatus
PCT/KR2011/007013 WO2012108602A1 (en) 2011-02-10 2011-09-23 Hair extension package, apparatus for processing hair extensions and method for processing hair extensions using same

Applications Claiming Priority (1)

Application Number Priority Date Filing Date Title
JP2011027582A JP2012167390A (en) 2011-02-10 2011-02-10 Hair extension package, apparatus for applying hair extension and method for applying hair extension using the package and the apparatus

Publications (1)

Publication Number Publication Date
JP2012167390A true JP2012167390A (en) 2012-09-06

Family

ID=46971798

Family Applications (1)

Application Number Title Priority Date Filing Date
JP2011027582A Withdrawn JP2012167390A (en) 2011-02-10 2011-02-10 Hair extension package, apparatus for applying hair extension and method for applying hair extension using the package and the apparatus

Country Status (1)

Country Link
JP (1) JP2012167390A (en)

Cited By (1)

* Cited by examiner, † Cited by third party
Publication number Priority date Publication date Assignee Title
JP6937068B1 (en) * 2021-05-07 2021-09-22 真理子 矢部 Artificial hair fastening method and artificial hair fastening repair method

Cited By (4)

* Cited by examiner, † Cited by third party
Publication number Priority date Publication date Assignee Title
JP6937068B1 (en) * 2021-05-07 2021-09-22 真理子 矢部 Artificial hair fastening method and artificial hair fastening repair method
JP6964376B1 (en) * 2021-05-07 2021-11-10 真理子 矢部 Artificial hair fastening method and artificial hair fastening repair method
JP2022172773A (en) * 2021-05-07 2022-11-17 真理子 矢部 Artificial hair fastening method and artificial hair fastening restoration method
JP2022173034A (en) * 2021-05-07 2022-11-17 真理子 矢部 Synthetic hair fastening method and artificial hair fastening and repairing method

Similar Documents

Publication Publication Date Title
KR100889004B1 (en) Hair extension
JP6045120B2 (en) Manufacturing method of free design bridge type false eyelashes
JP2009291546A (en) Hair style treatment device
KR101592548B1 (en) Process of permanent wave using electric curling iron
KR100986906B1 (en) Hair extension and its treatment method
JP4134334B2 (en) Attachment tool for human hair bundle or artificial hair bundle and its attachment method
KR101258748B1 (en) Extension hair package, apparatus for operating the same and metohod of operating the same
JP2011052365A (en) Hair extension and method for applying hair extension
KR101846052B1 (en) an attached hair
JP2012167390A (en) Hair extension package, apparatus for applying hair extension and method for applying hair extension using the package and the apparatus
KR101905132B1 (en) Method for operating extention hair
CN100577047C (en) Hair-increasing tool and method for producing the same
KR100824895B1 (en) Connected hair extension and method of treatment
TWM625141U (en) Hair attaching structure
JP2009500100A (en) Apparatus and method for coating hair strands
JP5260189B2 (en) Wig attachment method and hair bundle attachment method
KR101445155B1 (en) Extension hair package, and operating method of extension hair using the same
KR20200126756A (en) Extension hair, manufacturing method of the same that and operating method of the same that
KR102222583B1 (en) method for operating extention hair
KR20060105444A (en) Hair extension
US20060174908A1 (en) Hair styling apparatus and method of using same
RU2720970C1 (en) Method of fixing false hair in a hair loss site
JP5113223B2 (en) Cold perm treatment instrument
JP2018090935A (en) Manufacturing method of hair-increasing member and attaching method of the same
JP2004285551A (en) Attachment tool for bundle of human hair or artificial hair, and method for attaching the same

Legal Events

Date Code Title Description
A300 Withdrawal of application because of no request for examination

Free format text: JAPANESE INTERMEDIATE CODE: A300

Effective date: 20140513