JP2012144686A - Bored soap - Google Patents

Bored soap Download PDF

Info

Publication number
JP2012144686A
JP2012144686A JP2011015771A JP2011015771A JP2012144686A JP 2012144686 A JP2012144686 A JP 2012144686A JP 2011015771 A JP2011015771 A JP 2011015771A JP 2011015771 A JP2011015771 A JP 2011015771A JP 2012144686 A JP2012144686 A JP 2012144686A
Authority
JP
Japan
Prior art keywords
soap
consumption
new
bored
solid
Prior art date
Legal status (The legal status is an assumption and is not a legal conclusion. Google has not performed a legal analysis and makes no representation as to the accuracy of the status listed.)
Withdrawn
Application number
JP2011015771A
Other languages
Japanese (ja)
Inventor
Kuroudo Ogata
蔵人(オガタ クロウド) 小方
Current Assignee (The listed assignees may be inaccurate. Google has not performed a legal analysis and makes no representation or warranty as to the accuracy of the list.)
Individual
Original Assignee
Individual
Priority date (The priority date is an assumption and is not a legal conclusion. Google has not performed a legal analysis and makes no representation as to the accuracy of the date listed.)
Filing date
Publication date
Application filed by Individual filed Critical Individual
Priority to JP2011015771A priority Critical patent/JP2012144686A/en
Publication of JP2012144686A publication Critical patent/JP2012144686A/en
Withdrawn legal-status Critical Current

Links

Images

Landscapes

  • Detergent Compositions (AREA)

Abstract

PROBLEM TO BE SOLVED: To provide a solid soap which dries and comes not to dissolve along with the consumption time elapse to virtually finally become a waste, and can be consumed as a thin small soap just before the consumption completion with a new solid soap.SOLUTION: One or more hollows are formed in advance on a solid soap in production thereof, and inserted in and unified with a solid soap just before the consumption completion. Specifically, as shown in Fig.1, a crescent-shape hollow 3 is bored on a long-side circumference surface 2 of a soap; and a soap just before the consumption completion is cut, inserted into the bored side-surface space, and unified with the new soap so as not to fall off.

Description

発明の詳細な説明Detailed Description of the Invention

本出願は固形石鹸の使い終わりに近づいた、残渣石鹸を穴開き石鹸に挿入し、再利用できる目的を持つ石鹸の提唱である。以下図面に従って詳述する。  This application is a proposal of a soap that has the purpose of being able to reuse the soap that has reached the end of its use by inserting residual soap into the perforated soap. This will be described in detail with reference to the drawings.

図1に一般的石鹸の模式図を三角法で示す。石鹸の長方外周側面2に切り窪み窪み3を形成した、穴開き石鹸である。FIG. 1 shows a schematic diagram of a general soap by trigonometry. This is a perforated soap in which a cut-out depression 3 is formed on the longer outer peripheral side surface 2 of the soap 1 .

図2に固形石鹸の使い終わりの石鹸4を示す平面図。すり減り石鹸を新たな穴開き石鹸 の窪み3に差込み使用の結果、新品石鹸と共に最後まで有効消費するものである。  The top view which shows the soap 4 of the use end of a solid soap in FIG. A new perforated soap 1As a result of insertion into the hollow 31In addition, it is an effective consumption until the end.

産業上の利用分野Industrial application fields

家庭や学校職場で消費する分野。  Fields consumed at home and school.

従来技術Conventional technology

固形石鹸消費間際のすり減り石鹸4の完全消費は、新品石鹸に貼り付け消費が家庭レベルの節約志向の中で行われている。しかしながら、消費末期石鹸4の接合面と新品石鹸との接合面が合わず、使うとき面倒であった。
他方消費末期石鹸が時間経過と共に乾燥し溶けなくなり、益々石鹸同士の融合性が確保できず、使用中に手の中で剥れてしまい、最終的に破棄同然となる。
The complete consumption of the soap 4 just before the consumption of the solid soap is performed by sticking it to a new soap in a household-level saving manner. However, the joint surface of the end-of-consumption soap 4 and the joint surface of the new soap 1 do not match, which is troublesome when used.
On the other hand, the end-of-consumption soap is dried and does not melt with the passage of time, more and more soap cannot be secured, peels off during use, and finally becomes discarded.

学校・職場・その他施設などでメッシュ袋に詰めて消費の時、新たな石鹸を消費末期石鹸と共に挿入消費している。  At the time of consumption after packing in mesh bags at schools, workplaces and other facilities, new soap is inserted and consumed together with end-of-life soap.

発明が解決しようとする課題Problems to be solved by the invention

消費末期石鹸4、どのように最後まで消費させるか。単独では非常に不便であり、貼り付けも確実でなく、新石鹸との一体化とその手段である。  End-of-consumption soap 4, how to consume until the end. Alone, it is very inconvenient, the paste is not reliable, and it is an integration with new soap and its means.

得に一般家庭において、高価な化粧機能石鹸のとき、消費環境と保全条件が室内でもあり、メッシュ袋詰で使用するのは甚だムード的環境が不適切であり、かような消費環境の改善。  In particular, in the general household, when using an expensive cosmetic function soap, the consumption environment and the maintenance conditions are also indoors, and the mood environment is inappropriate for use in mesh bags, which improves the consumption environment.

発明が解決しようとする手段Means to be Solved by the Invention

石鹸製造時に一つ以上の窪みを成型し、消費間際の石鹸を差込み一体化し、新石鹸との脱落を防止する。One or more dents are molded at the time of soap production, and the soap just before consumption is inserted and integrated to prevent it from falling off with the new soap 1 .

消費間際石鹸4の形状は中央が厚い円盤状である。一つ丸々挿入できる穴では側面空間が増すので半分に切り分け、切り分け面が外面になるように挿入できれば、略消費間際石鹸4で側面2を塞ぐ事が可能となる。その目的達成のために新石鹸1の左右側面2に挿入ポケットを設けた。  The shape of the soap 4 just before consumption is a disk shape with a thick center. If the hole can be inserted one by one, the side space is increased, so that it can be cut in half and the side surface 2 can be closed with the soap 4 just before consumption if the cut surface can be inserted into the outer surface. In order to achieve the purpose, insertion pockets were provided on the left and right side surfaces 2 of the new soap 1.

作用Action

使用に耐えないほど消費した固形石鹸3を、最後まで新石鹸と共に、簡便無意識に使い切る。The solid soap 3 consumed so much that it cannot be used is used up to the end together with the new soap 1 in a simple and unconscious manner.

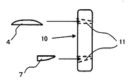
図3に、図2の磨り減った固形石鹸4の切断線5の断面図一点鎖線6の、断面図7を示す。  FIG. 3 shows a cross-sectional view 7 of a dashed line 6 in a cross-sectional view of a cut line 5 of the polished soap bar 4 in FIG.

図4に新品石鹸平面図を示し、長い両側面2に三日月状の窪み8を破線で示し、中央一点鎖線9の断面図を図5に示した。FIG. 4 shows a plan view of the new soap 1 , a crescent-shaped depression 8 is indicated by a broken line on both long side surfaces 2, and a cross-sectional view of the central one-dot chain line 9 is shown in FIG. 5.

図5に中央線6の断面図7と三日月状の窪み8の関係図を示す。同図は三日月形窪み8に、三日月形断面を持つ磨り減り石鹸7が挿入される関係図で、挿入された両者の関係と環境が大きな間隙を生まないことを示す。  FIG. 5 shows a cross-sectional view of the center line 6 and a relationship diagram between the crescent-shaped depression 8. This figure is a relational diagram in which a rubbed soap 7 having a crescent-shaped cross section is inserted into the crescent-shaped depression 8, and shows that the relationship between the inserted two and the environment does not create a large gap.

石鹸の厚みに対し三日月形窪み8位置が、厚み中央線9よりも上方に位置し、その効果と意義は、石鹸の消費が上面が下面より勝り、穴開き石鹸が再度消費完了間近じかになる前に挿入石鹸4が消費される、重大な効果現象となる。The crescent-shaped depression 8 position is located above the thickness center line 9 with respect to the thickness of the soap 1 , and the effect and significance are that the consumption of the soap 1 is superior to the lower surface, and the perforated soap is nearing completion of consumption again. It becomes a serious effect phenomenon that the inserted soap 4 is consumed before becoming.

図6では固形石鹸の表面に甲丸楔型貫通穴11を二つ設けた実施例図。本実施例図の側面図が図6。
本実施例の優位性は製造過程で固形石鹸の型抜きにある。側面窪み穴形成は回転刃で開ける。本実施例では二枚のプレス刃で貫通形成が特徴。
消費利用の優位性として磨り減り石鹸4挿入時接触するまで差込み装着が安定であり、はみ出し部分を切り分け他の穴に差し込む簡便性がある。先細の先端貫通突出部分は即消費され平らになる。
FIG. 6 is an embodiment diagram in which two round wedge-type through holes 11 are provided on the surface of the soap bar 1 . FIG. 6 is a side view of this embodiment.
The advantage of the present embodiment is in the demolding of the soap bar in the manufacturing process. The side depression is formed with a rotary blade. This embodiment is characterized by penetration formation with two press blades.
As an advantage of consumption use, it is worn down until it is worn down and touched when soap 4 is inserted, and it is easy to cut out the protruding portion and insert it into another hole. The tapered tip penetrating protrusion is immediately consumed and flattened.

穴開き石鹸基図を三角法で表記した図。The figure which expressed the perforated soap base figure by the trigonometric method. 石鹸の消費末期の平面図。The top view of the consumption end of soap. 図2を二分する図。The figure which bisects FIG. 穴開き実施例石鹸の平面図。FIG. 穴開き石鹸断面図の窪みに、消費末期石鹸4が挿入される図。The figure by which the end-of-consumption soap 4 is inserted in the hollow of a perforated soap sectional view. 石鹸の平面図で、平面に消費末期石鹸4を挿入する貫通穴を示す。In the top view of the soap 1 , the through-hole which inserts the end-of-consumption soap 4 in a plane is shown. 石鹸1と消費末期石鹸4の相関関係説明図。Explanatory drawing of the correlation between soap 1 and end-of-life soap 4.

穴開き石鹸。
2 石鹸外周側面。
3 穴開き石鹸の窪み。
4 消費石鹸、消費末期の平面図。
5 切断腺。
6 図化用断面図化の中央線。
7 分割した消費末期石鹸の断面図。
8 穴器石実施例ずで、両脇に窪み。
9 固形石鹸の暑さに対する中心線
10 固形石鹸表面
11 半球楔形貫通穴
1 hole soap.
2 Soap outer side.
3 A dimple of soap with a hole.
4 Top view of consumed soap, end of consumption.
5 Cut glands.
6 Centerline of plotting cross section.
7 A sectional view of the divided end-of-consumption soap.
8 Dimples on both sides without hole stone example.
9 Center line against heat of solid soap 10 Solid soap surface 11 Hemispherical wedge-shaped through hole

Claims (1)

穴の開いた固形石鹸石鹸。  Bar soap soap with a hole.
JP2011015771A 2011-01-11 2011-01-11 Bored soap Withdrawn JP2012144686A (en)

Priority Applications (1)

Application Number Priority Date Filing Date Title
JP2011015771A JP2012144686A (en) 2011-01-11 2011-01-11 Bored soap

Applications Claiming Priority (1)

Application Number Priority Date Filing Date Title
JP2011015771A JP2012144686A (en) 2011-01-11 2011-01-11 Bored soap

Publications (1)

Publication Number Publication Date
JP2012144686A true JP2012144686A (en) 2012-08-02

Family

ID=46788584

Family Applications (1)

Application Number Title Priority Date Filing Date
JP2011015771A Withdrawn JP2012144686A (en) 2011-01-11 2011-01-11 Bored soap

Country Status (1)

Country Link
JP (1) JP2012144686A (en)

Similar Documents

Publication Publication Date Title
CN102948997A (en) Energy-saving toothbrush
JP2012144686A (en) Bored soap
CN208918980U (en) A kind of Furniture panel connector
CN203649316U (en) Hot and cold core box with loose piece for casting
CN207593575U (en) Nodal diamond grinding disc
CN205614104U (en) Drill
CN204385055U (en) A kind of diamond disc cutting glass
CN204711844U (en) Around limit opening bit
CN206241390U (en) Internal expansion type scraper
CN202088324U (en) Detachable granulating device
CN206997929U (en) Saw blade
CN204366182U (en) A kind of scraper for machining shaft bearing Internal Spherical Surface
CN204609774U (en) A kind of side set drill bit
CN201737837U (en) Toothed glass drill bit
CN203830842U (en) Saw blade
CN203751391U (en) Drilling template used on forming die tool
CN203296349U (en) Wall putty scraper
CN204712327U (en) A kind of round platform core rod with chamfering exhaust
CN204312144U (en) Blade damping structure and blade
CN202180537U (en) Thin-wall drill
CN203923576U (en) Little circular knitting machine
CN203282530U (en) Plastic product horizontal hole processing jig
CN202168815U (en) Novel shoe brush
TWM486504U (en) Improved detachable blade structure for milling cutter
CN209845287U (en) Binder

Legal Events

Date Code Title Description
A521 Written amendment

Free format text: JAPANESE INTERMEDIATE CODE: A523

Effective date: 20110305

A300 Withdrawal of application because of no request for examination

Free format text: JAPANESE INTERMEDIATE CODE: A300

Effective date: 20140401