JP2012123791A - Computer cabinet - Google Patents

Computer cabinet Download PDF

Info

Publication number
JP2012123791A
JP2012123791A JP2011246316A JP2011246316A JP2012123791A JP 2012123791 A JP2012123791 A JP 2012123791A JP 2011246316 A JP2011246316 A JP 2011246316A JP 2011246316 A JP2011246316 A JP 2011246316A JP 2012123791 A JP2012123791 A JP 2012123791A
Authority
JP
Japan
Prior art keywords
network cable
computer cabinet
cable interface
interface
led lamp
Prior art date
Legal status (The legal status is an assumption and is not a legal conclusion. Google has not performed a legal analysis and makes no representation as to the accuracy of the status listed.)
Pending
Application number
JP2011246316A
Other languages
Japanese (ja)
Inventor
Zhong-Qi Hwang
種棋 黄
Wei-Chun Chiu
循純 邱
Current Assignee (The listed assignees may be inaccurate. Google has not performed a legal analysis and makes no representation or warranty as to the accuracy of the list.)
Hongfujin Precision Industry Shenzhen Co Ltd
Hon Hai Precision Industry Co Ltd
Original Assignee
Hongfujin Precision Industry Shenzhen Co Ltd
Hon Hai Precision Industry Co Ltd
Priority date (The priority date is an assumption and is not a legal conclusion. Google has not performed a legal analysis and makes no representation as to the accuracy of the date listed.)
Filing date
Publication date
Application filed by Hongfujin Precision Industry Shenzhen Co Ltd, Hon Hai Precision Industry Co Ltd filed Critical Hongfujin Precision Industry Shenzhen Co Ltd
Publication of JP2012123791A publication Critical patent/JP2012123791A/en
Pending legal-status Critical Current

Links

Images

Classifications

    • GPHYSICS
    • G06COMPUTING OR CALCULATING; COUNTING
    • G06FELECTRIC DIGITAL DATA PROCESSING
    • G06F1/00Details not covered by groups G06F3/00 - G06F13/00 and G06F21/00
    • G06F1/16Constructional details or arrangements
    • G06F1/18Packaging or power distribution
    • G06F1/181Enclosures

Landscapes

  • Engineering & Computer Science (AREA)
  • Theoretical Computer Science (AREA)
  • Computer Hardware Design (AREA)
  • Power Engineering (AREA)
  • Human Computer Interaction (AREA)
  • Physics & Mathematics (AREA)
  • General Engineering & Computer Science (AREA)
  • General Physics & Mathematics (AREA)
  • Small-Scale Networks (AREA)
  • Two-Way Televisions, Distribution Of Moving Picture Or The Like (AREA)

Abstract

PROBLEM TO BE SOLVED: To provide a conveniently operable computer cabinet.SOLUTION: The computer cabinet includes a front panel, a rear panel, and a body connecting the front panel and the rear panel. The front panel at least has a first network cable interface.

Description

本発明は、コンピューターキャビネットに関するものである。   The present invention relates to a computer cabinet.

コンピューターキャビネットは、ユーザーに対面するフロントパネル及びユーザーに背面するリアパネルを備える。ネットワークケーブルインターフェース、VGAインターフェース及びUSBインターフェースなどは、一般的にリアパネルに設けられる。   The computer cabinet includes a front panel facing the user and a rear panel facing the user. A network cable interface, a VGA interface, a USB interface, and the like are generally provided on the rear panel.

しかし、コンピューターをテストするか又は修理する場合、コンピューターキャビネットを移動させるか又はユーザーがコンピューターキャビネットの後方に行って、これらのインターフェースに対して操作することが必要とされるので、操作が不便である。   However, when testing or repairing a computer, the operation is inconvenient because the computer cabinet must be moved or the user needs to go behind the computer cabinet to operate on these interfaces. .

本発明の目的は、前記課題を解決し、便利に操作することができるコンピューターキャビネットを提供することである。   An object of the present invention is to provide a computer cabinet that solves the above-described problems and can be conveniently operated.

本発明に係るコンピューターキャビネットは、フロントパネル、リアパネル、前記フロントパネル及び前記リアパネルを接続するボディーを備え、前記フロントパネルには、少なくとも1つの第一ネットワークケーブルインターフェースが設けられる。   A computer cabinet according to the present invention includes a front panel, a rear panel, a body connecting the front panel and the rear panel, and the front panel is provided with at least one first network cable interface.

従来の技術に比べて、ユーザーが本発明のコンピューターキャビネットのネットワークケーブルインターフェースに接続されたネットワークケーブルを抜き出す際、前記コンピューターキャビネットを移動させるか又は自分が前記コンピューターキャビネットの後方に行くことが必要とされない。特に、前記コンピューターキャビネットを狭い空間に設置する場合、その便利さはさらに十分に表される。   Compared to the prior art, when the user pulls out the network cable connected to the network cable interface of the computer cabinet of the present invention, it is not necessary to move the computer cabinet or to go behind the computer cabinet . In particular, when the computer cabinet is installed in a narrow space, the convenience is more fully expressed.

本発明の実施形態に係るコンピューターキャビネットの構造を示す図である。It is a figure which shows the structure of the computer cabinet which concerns on embodiment of this invention. 図1に示すコンピューターキャビネット内の制御装置のブロック図である。It is a block diagram of the control apparatus in the computer cabinet shown in FIG.

以下、図面を参照して、本発明の実施形態について説明する。   Embodiments of the present invention will be described below with reference to the drawings.

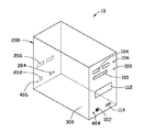
図1を参照すると、本発明の実施形態に係るコンピューターキャビネット10は、ユーザーに対面するフロントパネル100と、ユーザーに背面するリアパネル200と、前記フロントパネル100及び前記リアパネル200を接続するボディー300と、を備える。   Referring to FIG. 1, a computer cabinet 10 according to an embodiment of the present invention includes a front panel 100 facing a user, a rear panel 200 facing the user, a body 300 connecting the front panel 100 and the rear panel 200, Is provided.

前記フロントパネル100の上部には、複数の第一USBインターフェース104、オーディオインターフェース106、マイクインターフェース108及びカードリーダーインターフェース110が設けられ、前記フロントパネル100の中部には、光学ドライブ挿入口112が設けられ、前記フロントパネル100の下部には、第一ネットワークケーブルインターフェース102及び第一VGAインターフェース114が設けられる。前記第一ネットワークケーブルインターフェース102、複数の前記第一USBインターフェース104、前記オーディオインターフェース106、前記マイクインターフェース108及び前記第一VGAインターフェース114は、全て前記コンピューターキャビネット10の内部のマザーボード(図示せず)に接続される。   A plurality of first USB interfaces 104, an audio interface 106, a microphone interface 108, and a card reader interface 110 are provided at the top of the front panel 100, and an optical drive insertion slot 112 is provided at the center of the front panel 100. In the lower part of the front panel 100, a first network cable interface 102 and a first VGA interface 114 are provided. The first network cable interface 102, the plurality of first USB interfaces 104, the audio interface 106, the microphone interface 108, and the first VGA interface 114 are all on a motherboard (not shown) inside the computer cabinet 10. Connected.

前記リアパネル200には、第二ネットワークケーブルインターフェース202、第二VGAインターフェース204及び複数の第二USBインターフェース206が設けられる。前記第二ネットワークケーブルインターフェース202、前記第二VGAインターフェース204及び複数の前記第二USBインターフェース206は、全て前記コンピューターキャビネット10の内部のマザーボード(図示せず)に接続される。   The rear panel 200 is provided with a second network cable interface 202, a second VGA interface 204, and a plurality of second USB interfaces 206. The second network cable interface 202, the second VGA interface 204, and the plurality of second USB interfaces 206 are all connected to a mother board (not shown) inside the computer cabinet 10.

ユーザーが前記コンピューターキャビネット10の各々のインターフェースに接続された接続ケーブルを抜き出す際、前記コンピューターキャビネット10を移動させるか又は自分が前記コンピューターキャビネット10の後方に行くことが必要とされない。特に、前記コンピューターキャビネット10を狭い空間に設置する場合、その便利さはさらに十分に表される。   When the user pulls out the connection cable connected to each interface of the computer cabinet 10, it is not necessary to move the computer cabinet 10 or to go to the back of the computer cabinet 10. In particular, when the computer cabinet 10 is installed in a narrow space, the convenience is more fully expressed.

図2を参照すると、前記コンピューターキャビネット10は、制御装置400をさらに備える。前記制御装置400は、コントローラー402、前記コントローラー402に接続される第一LEDランプ404及び第二LEDランプ406を備える。前記コントローラー402は、前記コンピューターキャビネット10の内部に設けられ、且つ前記第一ネットワークケーブルインターフェース102及び前記第二ネットワークケーブルインターフェース202に接続される。前記第一LEDランプ404は、前記フロントパネル100に設けられ、且つ前記第一ネットワークケーブルインターフェース102に近接している。前記第二LEDランプ406は、前記リアパネル200に設けられ、且つ前記第二ネットワークケーブルインターフェース202に近接している。前記コントローラー402は、前記第一ネットワークケーブルインターフェース102及び前記第二ネットワークケーブルインターフェース202の中の一方にネットワークケーブルが接続されたか否かを検出するために用いられる。前記第一ネットワークケーブルインターフェース102又は前記第二ネットワークケーブルインターフェース202にネットワークケーブルが接続されると、前記コントローラー402は前記第一LEDランプ404又は前記第二LEDランプ406を制御して点灯させて、前記コンピューターキャビネット10にネットワークケーブルが接続されていることを表示する。前記第一ネットワークケーブルインターフェース102又は前記第二ネットワークケーブルインターフェース202にネットワークケーブルが接続されないと、前記コントローラー402は前記第一LEDランプ404又は前記第二LEDランプ406を制御して消灯させて、前記コンピューターキャビネット10にネットワークケーブルが接続されていないことを表示する。   Referring to FIG. 2, the computer cabinet 10 further includes a control device 400. The control device 400 includes a controller 402, a first LED lamp 404 and a second LED lamp 406 connected to the controller 402. The controller 402 is provided inside the computer cabinet 10 and is connected to the first network cable interface 102 and the second network cable interface 202. The first LED lamp 404 is provided on the front panel 100 and is close to the first network cable interface 102. The second LED lamp 406 is provided on the rear panel 200 and is close to the second network cable interface 202. The controller 402 is used to detect whether a network cable is connected to one of the first network cable interface 102 and the second network cable interface 202. When a network cable is connected to the first network cable interface 102 or the second network cable interface 202, the controller 402 controls the first LED lamp 404 or the second LED lamp 406 to turn on, and Displays that a network cable is connected to the computer cabinet 10. If a network cable is not connected to the first network cable interface 102 or the second network cable interface 202, the controller 402 controls the first LED lamp 404 or the second LED lamp 406 to turn off the computer, and the computer It displays that the network cable is not connected to the cabinet 10.

以上、本発明を実施例に基づいて具体的に説明したが、本発明は、上述の実施例に限定されるものではなく、その要旨を逸脱しない範囲において、種種の変更が可能であることは勿論であって、本発明の技術的範囲は、以下の特許請求の範囲から決まる。   The present invention has been specifically described above based on the embodiments. However, the present invention is not limited to the above-described embodiments, and various modifications can be made without departing from the scope of the present invention. Of course, the technical scope of the present invention is determined by the following claims.

10 コンピューターキャビネット
100 フロントパネル
102 第一ネットワークケーブルインターフェース
104 第一USBインターフェース
106 オーディオインターフェース
108 マイクインターフェース
110 カードリーダーインターフェース
112 光学ドライブ挿入口
114 第一VGAインターフェース
200 リアパネル
202 第二ネットワークケーブルインターフェース
204 第二VGAインターフェース
206 第二USBインターフェース
300 ボディー
400 制御装置
402 コントローラー
404 第一LEDランプ
406 第二LEDランプ
DESCRIPTION OF SYMBOLS 10 Computer cabinet 100 Front panel 102 1st network cable interface 104 1st USB interface 106 Audio interface 108 Microphone interface 110 Card reader interface 112 Optical drive insertion slot 114 1st VGA interface 200 Rear panel 202 2nd network cable interface 204 2nd VGA interface 206 Second USB interface 300 Body 400 Controller 402 Controller 404 First LED lamp 406 Second LED lamp

Claims (4)

フロントパネル、リアパネル、前記フロントパネル及び前記リアパネルを接続するボディーを備えてなるコンピューターキャビネットであって、
前記フロントパネルには、少なくとも1つの第一ネットワークケーブルインターフェースが設けられることを特徴とするコンピューターキャビネット。
A computer cabinet comprising a front panel, a rear panel, a body for connecting the front panel and the rear panel,
The computer cabinet according to claim 1, wherein the front panel is provided with at least one first network cable interface.
前記リアパネルには、少なくとも1つの第二ネットワークケーブルインターフェースが設けられることを特徴とする請求項1に記載のコンピューターキャビネット。   The computer cabinet of claim 1, wherein the rear panel is provided with at least one second network cable interface. 前記コンピューターキャビネットは、制御装置をさらに備え、
前記制御装置は、コントローラー、前記コントローラーに接続される第一LEDランプ及び第二LEDランプを備え、
前記コントローラーは、前記コンピューターキャビネットの内部に設けられ、且つ前記第一ネットワークケーブルインターフェース及び前記第二ネットワークケーブルインターフェースに接続され、
前記第一LEDランプは、前記フロントパネルに設けられ且つ前記第一ネットワークケーブルインターフェースに近接しており、前記第二LEDランプは、前記リアパネルに設けられ且つ前記第二ネットワークケーブルインターフェースに近接しており、
前記コントローラーは、前記第一ネットワークケーブルインターフェース又は前記第二ネットワークケーブルインターフェースにネットワークケーブルが接続されたか否かを検出するために用いられ、
前記第一ネットワークケーブルインターフェース又は前記第二ネットワークケーブルインターフェースにネットワークケーブルが接続されると、前記コントローラーは前記第一LEDランプ又は前記第二LEDランプを制御して第一状態を表示させ、前記第一ネットワークケーブルインターフェース又は前記第二ネットワークケーブルインターフェースにネットワークケーブルが接続されないと、前記コントローラーは前記第一LEDランプ又は前記第二LEDランプを制御して第二状態を表示させることを特徴とする請求項2に記載のコンピューターキャビネット。
The computer cabinet further comprises a control device,
The control device includes a controller, a first LED lamp and a second LED lamp connected to the controller,
The controller is provided inside the computer cabinet and connected to the first network cable interface and the second network cable interface;
The first LED lamp is provided on the front panel and close to the first network cable interface, and the second LED lamp is provided on the rear panel and close to the second network cable interface. ,
The controller is used to detect whether a network cable is connected to the first network cable interface or the second network cable interface;
When a network cable is connected to the first network cable interface or the second network cable interface, the controller controls the first LED lamp or the second LED lamp to display a first state, and The controller controls the first LED lamp or the second LED lamp to display a second state when a network cable is not connected to the network cable interface or the second network cable interface. Computer cabinet as described in.
前記第一ネットワークケーブルインターフェース又は前記第二ネットワークケーブルインターフェースにネットワークケーブルが接続されると、前記コントローラーは前記第一LEDランプ又は前記第二LEDランプを制御して点灯させ、前記第一ネットワークケーブルインターフェース又は前記第二ネットワークケーブルインターフェースにネットワークケーブルが接続されないと、前記コントローラーは前記第一LEDランプ又は前記第二LEDランプを制御して消灯させることを特徴とする請求項3に記載のコンピューターキャビネット。   When a network cable is connected to the first network cable interface or the second network cable interface, the controller controls and turns on the first LED lamp or the second LED lamp, and the first network cable interface or The computer cabinet according to claim 3, wherein when the network cable is not connected to the second network cable interface, the controller controls the first LED lamp or the second LED lamp to turn it off.
JP2011246316A 2010-12-08 2011-11-10 Computer cabinet Pending JP2012123791A (en)

Applications Claiming Priority (2)

Application Number Priority Date Filing Date Title
CN2010105788569A CN102566684A (en) 2010-12-08 2010-12-08 Case of computer installation
CN201010578856.9 2010-12-08

Publications (1)

Publication Number Publication Date
JP2012123791A true JP2012123791A (en) 2012-06-28

Family

ID=46198790

Family Applications (1)

Application Number Title Priority Date Filing Date
JP2011246316A Pending JP2012123791A (en) 2010-12-08 2011-11-10 Computer cabinet

Country Status (3)

Country Link
US (1) US20120146800A1 (en)
JP (1) JP2012123791A (en)
CN (1) CN102566684A (en)

Families Citing this family (1)

* Cited by examiner, † Cited by third party
Publication number Priority date Publication date Assignee Title
US9608386B2 (en) 2014-04-24 2017-03-28 Western Digital Technologies, Inc. Communications cable with status indicator for electronic devices

Family Cites Families (12)

* Cited by examiner, † Cited by third party
Publication number Priority date Publication date Assignee Title
CN2458648Y (en) * 2000-12-01 2001-11-07 海尔集团公司 Computer main frame casing
US20020171999A1 (en) * 2001-05-02 2002-11-21 Huang Cheng Yu Computer USB HUB and card reader combining device
CN2512015Y (en) * 2001-09-25 2002-09-18 朱炳俊 The desktop computer host case with several connection interface positioning openings on the top plate
US20030131137A1 (en) * 2002-01-04 2003-07-10 Doron Chosnek Method and apparatus for utilizing a management port to provide system management
CN1384414A (en) * 2002-06-18 2002-12-11 林新凯 PC chassis with front interface
CN1499333A (en) * 2002-11-11 2004-05-26 上海凌声科技有限公司 Cabinet for computer
CN2694346Y (en) * 2004-03-23 2005-04-20 上海北大方正科技电脑系统有限公司 Host computer casing with prepositive interface ports
ATE524929T1 (en) * 2004-05-03 2011-09-15 Panduit Corp ELECTRICALLY POWERED CONTROL PANEL
CN2762213Y (en) * 2004-12-28 2006-03-01 张彤 Front panel of computer host
CN2914169Y (en) * 2006-04-23 2007-06-20 山东建筑大学 Detachable computer host
CN201063119Y (en) * 2007-07-23 2008-05-21 海尔集团公司 Computer preposition indicator light
CN201188217Y (en) * 2007-12-21 2009-01-28 英业达股份有限公司 host computer

Also Published As

Publication number Publication date
US20120146800A1 (en) 2012-06-14
CN102566684A (en) 2012-07-11

Similar Documents

Publication Publication Date Title
US10311003B2 (en) Detection and identifcation of supported connection protocols in a multi-purpose storage bay
US20120287569A1 (en) Motherboard and Case with Hidden Internal Connectors
US20140095914A1 (en) Information processing apparatus and operation control method
CN210954787U (en) Cable-free modular industrial main board
JP2012123791A (en) Computer cabinet
CN204613908U (en) a display controller
CN204480229U (en) A kind of full touch all-in-one
TWI502356B (en) Electronic device having display device for sync brightness control and operating method thereof
CN201698149U (en) Mini type projecting apparatus with computer
US20120185616A1 (en) USB Version Recognition Device
CN203149436U (en) AIO (all-in-one) computer
CN204650384U (en) Chassis with controllable lighting effects
CN204652539U (en) A kind of projecting apparatus expansion equipment
CN203607096U (en) Teaching display cabinet voice controller
CN104461319B (en) A kind of expansible minimum line scan-type interactive system of dehumidifier
CN202870774U (en) Interactive electronic whiteboard capable of being in insertion connection with computer main board
CN201210265Y (en) Integrated machine of computer and projector
CN201838200U (en) An infrared touch audio-visual instrument
CN205563501U (en) But touch control display of area plug PC module
CN201662743U (en) Computer switch extension device
CN203490644U (en) Integrated waterproof keyboard for computer
KR101924641B1 (en) Independent type display system for mobile devices
CN204991101U (en) It is arbitrary from full plug -in modularization standard LED video processor of apolegamy
CN204168417U (en) One realizes unattended full-color screen video image processing apparatus
CN208706234U (en) A kind of stage lighting human-computer interaction terminal equipment with audio frequency and video