JP2012106950A - Bleaching agent or oxidation hair dye and method for bleaching or dyeing hair - Google Patents
Bleaching agent or oxidation hair dye and method for bleaching or dyeing hair Download PDFInfo
- Publication number
- JP2012106950A JP2012106950A JP2010257504A JP2010257504A JP2012106950A JP 2012106950 A JP2012106950 A JP 2012106950A JP 2010257504 A JP2010257504 A JP 2010257504A JP 2010257504 A JP2010257504 A JP 2010257504A JP 2012106950 A JP2012106950 A JP 2012106950A
- Authority
- JP
- Japan
- Prior art keywords
- agent
- hair
- hair dye
- decoloring
- mixture
- Prior art date
- Legal status (The legal status is an assumption and is not a legal conclusion. Google has not performed a legal analysis and makes no representation as to the accuracy of the status listed.)
- Granted
Links
Images
Landscapes
- Cosmetics (AREA)
Abstract
【課題】塗布時及び放置時に混合剤の毛髪からの垂れ落ちを抑制し、毛髪上で混合剤を良好に泡立たせることが可能な多剤式の脱色剤又は酸化染毛剤を提供する。
【解決手段】本発明に係る脱色剤又は酸化染毛剤は、アルカリ剤を含む第1剤と、酸化剤を含む第2剤とを少なくとも備えており、混合されて混合剤として用いられる。上記第1剤及び上記第2剤はそれぞれ、液状又はジェル状である。酸化染毛剤の場合には、上記第1剤は酸化染料をさらに含む。上記第1剤及び上記第2剤の内の少なくとも一方は、アニオン性界面活性剤及び両性界面活性剤の内の少なくとも1種の第1の界面活性剤成分を含む。上記第1剤及び上記第2剤の内の少なくとも一方は、第2の界面活性剤成分としてノニオン性界面活性剤を含む。本発明に係る脱色剤又は酸化染毛剤が混合された混合剤は、ジェル状である。
【選択図】図1Disclosed is a multi-component decoloring agent or oxidative hair dye which can suppress dripping of the mixture from the hair during application and standing, and can cause the mixture to foam well on the hair.
A decolorizing agent or oxidative hair dye according to the present invention comprises at least a first agent containing an alkali agent and a second agent containing an oxidant, and is mixed and used as a mixture. Each of the first agent and the second agent is liquid or gel. In the case of an oxidative hair dye, the first agent further contains an oxidative dye. At least one of the first agent and the second agent includes at least one first surfactant component of an anionic surfactant and an amphoteric surfactant. At least one of the first agent and the second agent contains a nonionic surfactant as the second surfactant component. The mixed agent in which the decoloring agent or the oxidative hair dye according to the present invention is mixed is in a gel form.
[Selection] Figure 1
Description
本発明は、アルカリ剤を含む第1剤と、酸化剤を含む第2剤とを少なくとも備え、混合されて混合剤として用いられる多剤式の脱色剤又は酸化染毛剤に関する。また、本発明は、上記多剤式の脱色剤又は酸化染毛剤を用いた毛髪の脱色又は染色方法に関する。 The present invention relates to a multi-component decoloring agent or oxidative hair dye that includes at least a first agent containing an alkaline agent and a second agent containing an oxidizing agent, and is mixed and used as a mixing agent. The present invention also relates to a method for decoloring or dyeing hair using the multi-component decoloring agent or oxidative hair dye.
毛髪を脱色又は染色するために、アルカリ剤を含む第1剤と、酸化剤を含む第2剤とを含む2剤式の脱色剤又は酸化染毛剤が広く用いられている。 In order to decolorize or dye hair, a two-component decoloring agent or oxidative hair dye containing a first agent containing an alkaline agent and a second agent containing an oxidizing agent is widely used.
従来の脱色剤又は酸化染毛剤が容器中で混合された混合剤は、クリーム状又は液状であることが多い。クリーム状又は液状の混合剤は、毛髪に塗布された後、クリーム状又は液状のままで毛髪が脱色又は染色されるまで5〜60分程度放置される。毛髪が脱色又は染色された後、混合剤は洗い流される。 The mixture in which a conventional decoloring agent or oxidative hair dye is mixed in a container is often creamy or liquid. After being applied to the hair, the cream-like or liquid mixture is left for about 5 to 60 minutes until the hair is decolorized or dyed in the cream-like or liquid state. After the hair is decolorized or dyed, the admixture is washed away.
クリーム状の混合剤は、粘度が比較的高いので、毛髪に均一に付着させることは困難である。このため、脱色又は染色後の毛髪に、脱色むら又は染色むらが生じやすい。特に、クリーム状の混合剤を施術者が自身の毛髪に塗布する場合には、すなわちクリーム状の混合剤をセルフで使用する場合には、クリーム状の混合剤を毛髪に均一に付着させることはより一層困難であり、脱色むら又は染色むらが特に生じやすいという問題がある。 A cream-like admixture has a relatively high viscosity, so it is difficult to uniformly attach to hair. For this reason, decoloring unevenness or dyeing unevenness tends to occur in the hair after decoloring or dyeing. In particular, when a practitioner applies a cream-like mixture to his / her own hair, that is, when the cream-like mixture is used on its own, it is not possible to uniformly attach the cream-like mixture to the hair. There is a problem that it is even more difficult and unevenness of decolorization or unevenness of dyeing is particularly likely to occur.
一方で、液状の混合剤は、粘度が比較的低いので、毛髪に均一に付着させやすい。しかし、液状の混合剤は、毛髪への塗布時に垂れ落ちやすい。特に、液状の混合剤をセルフで使用する場合には、毛髪への塗布時に、液状の混合剤が垂れ落ちることが多い。さらに、液状の混合剤を毛髪に塗布した後、液状のままで毛髪が脱色又は染色されるまで放置される間にも、液状の混合剤は垂れ落ちやすい。 On the other hand, since the liquid mixture has a relatively low viscosity, it is easy to uniformly adhere to the hair. However, a liquid mixture tends to sag when applied to hair. In particular, when the liquid mixture is used on its own, the liquid mixture often drips when applied to the hair. Further, after the liquid mixture is applied to the hair, the liquid mixture is liable to sag while it is left in a liquid state until the hair is decolored or dyed.
近年、垂れ落ちを抑制したり、脱色性又は染色性を高めたりするために、様々な脱色剤又は酸化染毛剤の開発が行われている。例えば、下記の特許文献1には、第1剤と第2剤との内の少なくとも一方が界面活性剤を含む2剤式の脱色剤又は酸化染毛剤が開示されている。この2剤式の脱色剤又は酸化染毛剤は、容器中で混合され、混合された混合剤はフォーマー容器から泡状の状態で毛髪に塗布される。
In recent years, various bleaching agents or oxidative hair dyes have been developed in order to suppress dripping or to enhance decolorization or dyeability. For example,
特許文献1に記載の脱色剤又は酸化染色剤では、混合剤を泡状の状態で毛髪に塗布するので、液状の混合剤を毛髪に塗布する場合と比べて、混合剤を毛髪に比較的塗布しやすく、塗布時又は塗布後の放置時に混合剤の毛髪からの垂れ落ちをある程度抑えることが可能である。
In the depigmenting agent or oxidation dyeing agent described in
しかしながら、混合剤を泡状の状態で毛髪に塗布するため、泡状の混合剤をむらなく毛髪に塗布することは困難である。特に、毛髪の根元(生え際)部分に、泡状の混合剤は塗布しにくい。このため、脱色むら又は染色むらが生じやすい。 However, since the mixture is applied to the hair in a foamed state, it is difficult to uniformly apply the foamed mixture to the hair. In particular, it is difficult to apply a foamy mixture to the root (hairline) part of the hair. For this reason, uneven decolorization or uneven dyeing is likely to occur.
さらに、混合剤が泡状であると、クリーム状である場合と比べて、混合剤の同一体積中に含まれる脱色成分又は染色成分の量が少なくなる。このため、毛髪に塗布される段階で混合剤が泡状であると、クリーム状である場合と比べて、毛髪に付着した混合剤の量が少なくなりやすい。このため、毛髪を十分に脱色又は染色できないことがある。 Furthermore, when the mixture is in the form of foam, the amount of the decoloring component or dyeing component contained in the same volume of the mixture is reduced as compared with the case where the mixture is in the form of cream. For this reason, when the mixture is foamy at the stage of application to the hair, the amount of the mixture attached to the hair tends to be smaller than when the mixture is creamy. For this reason, hair may not be sufficiently decolored or dyed.
ところで、毛髪が、整髪剤を用いて整髪されることがある。該整髪剤として、例えば、ロウ類又は炭化水素類などの油剤を含むヘアワックス等が用いられている。このようなヘアワックスにより整髪された毛髪には、油剤が多く付着している。また、ヘアワックスを用いて整髪された毛髪を洗浄した後にも、毛髪に油剤が残存することが多い。 By the way, hair may be hair-styled using a hair-styling agent. As the hair styling agent, for example, a hair wax containing an oil such as waxes or hydrocarbons is used. A large amount of oil is attached to the hair that has been styled with such hair wax. In addition, oil agents often remain in hair even after the hair that has been trimmed with hair wax is washed.
特許文献1に記載の脱色剤又は酸化染毛剤では、混合剤を泡状の状態で、油剤を含む整髪剤が付着している毛髪に塗布すると、消泡することがある。また、泡が消泡して生じた消泡物の粘度が低下し、塗布時又は塗布後の放置中に消泡物が垂れ落ちることがある。さらに、特許文献1に記載の脱色剤又は酸化染毛剤では、毛髪に塗布された泡状の混合剤をさらに泡立てようとしても、十分に泡立たないことがある。
In the depigmenting agent or the oxidative hair dye described in
本発明の目的は、塗布時及び塗布後の放置時に混合剤の毛髪からの垂れ落ちを抑制することができ、毛髪上で混合剤を良好に泡立たせることができる多剤式の脱色剤又は酸化染毛剤、並びに該多剤式の脱色剤又は酸化染毛剤を用いた毛髪の脱色又は染色方法を提供することである。 The object of the present invention is to reduce the dripping of the admixture from the hair when it is applied and when it is left after application, and to allow the admixture to foam well on the hair. It is to provide a hair coloring agent and a method for decoloring or dyeing hair using the multi-component bleaching agent or oxidation hair coloring agent.
本発明の広い局面によれば、アルカリ剤を含む第1剤と、酸化剤を含む第2剤とを少なくとも備え、混合されて混合剤として用いられる多剤式の脱色剤又は酸化染毛剤であって、上記第1剤及び上記第2剤はそれぞれ液状又はジェル状であり、多剤式の脱色剤又は酸化染毛剤が酸化染毛剤である場合には、上記第1剤が酸化染料を含み、上記第1剤及び上記第2剤の内の少なくとも一方が、アニオン性界面活性剤及び両性界面活性剤の内の少なくとも1種の第1の界面活性剤成分を含み、上記第1剤及び上記第2剤の内の少なくとも一方が、第2の界面活性剤成分としてノニオン性界面活性剤を含み、多剤式の脱色剤又は酸化染毛剤が混合された混合剤はジェル状である、脱色剤又は酸化染毛剤が提供される。 According to a wide aspect of the present invention, a multi-component decoloring agent or oxidative hair dye comprising at least a first agent containing an alkaline agent and a second agent containing an oxidizing agent, which is mixed and used as a mixed agent. The first agent and the second agent are each in liquid or gel form, and when the multi-component bleaching agent or oxidative hair dye is an oxidative hair dye, the first agent is an oxidative dye. And at least one of the first agent and the second agent contains at least one first surfactant component of an anionic surfactant and an amphoteric surfactant, and the first agent And at least one of the second agents contains a nonionic surfactant as a second surfactant component, and the mixed agent in which a multi-component decoloring agent or oxidative hair dye is mixed is in a gel form. A depigmenting or oxidative hair dye is provided.
本発明に係る脱色剤又は酸化染毛剤のある特定の局面では、上記第1剤及び上記第2剤の内の少なくとも一方は、増粘性高分子を含む。 In a specific aspect of the decoloring agent or the oxidative hair dye according to the present invention, at least one of the first agent and the second agent contains a thickening polymer.
上記増粘性高分子は、カチオン化セルロース、カチオン性ポリマー及びアニオン性ポリマーからなる群から選択された少なくとも1種であることが好ましい。上記第1剤は、上記増粘性高分子として、カチオン化セルロース及びカチオン性ポリマーの内の少なくとも1種を含むことが好ましい。上記第2剤は、上記増粘性高分子として、アニオン性ポリマーを含むことが好ましい。 The thickening polymer is preferably at least one selected from the group consisting of cationized cellulose, cationic polymers and anionic polymers. The first agent preferably contains at least one of cationized cellulose and cationic polymer as the thickening polymer. The second agent preferably contains an anionic polymer as the thickening polymer.
本発明に係る脱色剤又は酸化染毛剤の他の特定の局面では、上記第1剤が、上記第1の界面活性剤成分と上記増粘性高分子とを含み、かつ上記第2剤が、上記第1の界面活性剤成分と上記増粘性高分子とを含む。 In another specific aspect of the decolorizing agent or oxidative hair dye according to the present invention, the first agent includes the first surfactant component and the thickening polymer, and the second agent is The first surfactant component and the thickening polymer are included.
本発明に係る脱色剤又は酸化染毛剤のさらに他の特定の局面では、上記第1剤は、上記ノニオン性界面活性剤を含む。 In still another specific aspect of the decoloring agent or oxidative hair dye according to the present invention, the first agent contains the nonionic surfactant.
本発明に係る脱色剤又は酸化染毛剤は、混合された混合剤がジェル状である状態で毛髪に塗布される多剤式の脱色剤又は酸化染毛剤であることが好ましい。本発明に係る脱色剤又は酸化染毛剤は、容器中で混合され、混合された混合剤がジェル状である状態で容器から吐出され、毛髪に塗布される多剤式の脱色剤又は酸化染毛剤であることがより好ましい。本発明に係る脱色剤又は酸化染毛剤は、混合された混合剤がジェル状である状態で毛髪に塗布され、毛髪に塗布された混合剤が毛髪上で泡立てられる多剤式の脱色剤又は酸化染毛剤であることが特に好ましい。 The decolorizing agent or oxidative hair dye according to the present invention is preferably a multi-component decoloring agent or oxidative hair dye that is applied to the hair in a state where the mixed admixture is in a gel state. The decolorizing agent or oxidative hair dye according to the present invention is mixed in a container, and the mixed agent is discharged from the container in a gel state and applied to the hair. More preferably, it is a hair agent. The decoloring agent or oxidative hair dye according to the present invention is a multi-component decoloring agent or a multi-component decoloring agent in which the mixed admixture is applied to the hair in a gel state, and the admixture applied to the hair is foamed on the hair. Particularly preferred is an oxidative hair dye.
本発明に係る毛髪の脱色又は染色方法は、本発明に従って構成された多剤式の脱色剤又は酸化染毛剤を混合し、ジェル状の混合剤にする工程と、該混合剤をジェル状である状態で毛髪に塗布する工程と、毛髪に塗布されたジェル状の混合剤を泡立てる工程とを備える。 The method for decoloring or dyeing hair according to the present invention comprises a step of mixing a multi-component decoloring agent or an oxidative hair dye constituted according to the present invention to form a gel-like mixture, and the mixture in the form of a gel. A step of applying to the hair in a certain state, and a step of foaming the gel-like mixture applied to the hair.
本発明に係る毛髪の脱色又は染色方法は、上記多剤式の脱色剤又は酸化染毛剤を容器中で混合し、ジェル状の混合剤にする工程と、上記混合剤をジェル状である状態で容器から吐出して、毛髪に塗布する工程と、毛髪に塗布されたジェル状の混合剤を毛髪上で泡立てて泡状にする工程とを備えることが好ましい。 The method for decoloring or dyeing hair according to the present invention comprises a step of mixing the multi-component decoloring agent or oxidative hair dye in a container to form a gel-like mixture, and a state in which the mixture is in a gel-like state. It is preferable to include a step of discharging from a container and applying to the hair, and a step of foaming the gel-like mixture applied to the hair on the hair.
本発明に係る脱色剤又は酸化染毛剤では、第1剤及び第2剤がそれぞれ液状又はジェル状であり、上記第1剤及び上記第2剤の内の少なくとも一方がアニオン性界面活性剤及び両性界面活性剤の内の少なくとも1種の第1の界面活性剤成分を含み、上記第1剤及び上記第2剤の内の少なくとも一方が、第2の界面活性剤成分としてノニオン性界面活性剤を含み、しかも多剤式の脱色剤又は酸化染毛剤が混合された混合剤がジェル状であるので、毛髪への塗布時に混合剤の垂れ落ちを抑制することができ、かつ塗布された混合剤の毛髪からの垂れ落ちも抑制することができる。特に、毛髪に整髪剤等に由来する油剤が付着していても、毛髪上で混合剤を良好に泡立たせることができ、塗布された混合剤の毛髪からの垂れ落ちも抑制することができる。 In the depigmenting agent or oxidative hair dye according to the present invention, the first agent and the second agent are respectively liquid or gel-like, and at least one of the first agent and the second agent is an anionic surfactant and A nonionic surfactant comprising at least one first surfactant component of an amphoteric surfactant, wherein at least one of the first agent and the second agent is a second surfactant component In addition, since the mixture in which the multi-component decoloring agent or oxidative hair dye is mixed is in a gel form, dripping of the mixture can be suppressed when applied to the hair, and the applied mixing The dripping of the agent from the hair can also be suppressed. In particular, even when an oil agent derived from a hair styling agent or the like adheres to the hair, the mixture can be well foamed on the hair, and dripping of the applied mixture from the hair can also be suppressed.
以下、本発明を詳細に説明する。 Hereinafter, the present invention will be described in detail.
本発明に係る脱色剤又は酸化染毛剤は、アルカリ剤を含む第1剤と、酸化剤を含む第2剤とを少なくとも備える。本発明に係る脱色剤又は酸化染毛剤は、混合されて混合剤として用いられる多剤式の脱色剤又は酸化染毛剤である。上記第1剤は液状又はジェル状である。上記第2剤も液状又はジェル状である。多剤式の脱色剤又は酸化染毛剤が酸化染毛剤である場合には、上記第1剤は、アルカリ剤に加えて、酸化染料をさらに含む。上記第1剤及び上記第2剤の内の少なくとも一方は、アニオン性界面活性剤及び両性界面活性剤の内の少なくとも1種の第1の界面活性剤成分(A)を含む。上記第1剤及び上記第2剤の内の少なくとも一方は、第2の界面活性剤成分(B)としてノニオン性界面活性剤を含む。本発明に係る脱色剤又は酸化染毛剤が混合された混合剤は、ジェル状である。 The decoloring agent or oxidative hair dye according to the present invention includes at least a first agent containing an alkaline agent and a second agent containing an oxidizing agent. The decoloring agent or oxidative hair dye according to the present invention is a multi-component decoloring agent or oxidative hair dye that is mixed and used as a mixed agent. The first agent is liquid or gel. The second agent is also liquid or gel. When the multi-component bleaching agent or oxidative hair dye is an oxidative hair dye, the first agent further includes an oxidative dye in addition to the alkaline agent. At least one of the first agent and the second agent contains at least one first surfactant component (A) of an anionic surfactant and an amphoteric surfactant. At least one of the first agent and the second agent contains a nonionic surfactant as the second surfactant component (B). The mixed agent in which the decoloring agent or the oxidative hair dye according to the present invention is mixed is in a gel form.
本発明における上記構成の採用により、毛髪への塗布時に混合剤の垂れ落ちを抑制することができ、かつ塗布された混合剤の毛髪からの垂れ落ちも抑制することができる。さらに、本発明における上記構成の採用により、特に第1剤及び第2剤の内の少なくとも一方が第2の界面活性剤成分(B)としてノニオン性界面活性剤を含むので、毛髪上で混合剤を良好に泡立たせることができる。特に、毛髪に整髪剤等に由来する油剤が付着していても、毛髪上で混合剤を良好に泡立たせることができる。 By adopting the above configuration in the present invention, it is possible to suppress dripping of the mixture during application to the hair, and it is also possible to inhibit dripping of the applied mixture from the hair. Further, by adopting the above-described configuration in the present invention, since at least one of the first agent and the second agent contains a nonionic surfactant as the second surfactant component (B), it is a mixture on the hair. Can be foamed well. In particular, even if an oil agent derived from a hair styling agent or the like adheres to the hair, the mixture can be foamed well on the hair.
ヘアワックスが毛髪に付着している場合には、従来の脱色剤又は酸化染毛剤である泡状の混合剤が毛髪に塗布されると、消泡したり、消泡により生じた消泡物が垂れ落ちたりすることがある。さらに、従来の脱色剤又は酸化染毛剤である泡状の混合剤を毛髪に塗布した後、毛髪に塗布された泡状の混合剤をさらに泡立てようとしても、十分に泡立たないことがある。これに対して、本発明に係る脱色剤又は酸化染毛剤の使用により、毛髪にヘアワックス等に由来する油剤が付着していても、毛髪上で混合剤を良好に泡立たせることができ、消泡を効果的に抑制することができる。 When the hair wax is attached to the hair, when the foam-like mixture that is a conventional decoloring agent or oxidative hair dye is applied to the hair, it defoams or the defoamed material produced by the defoaming May sag. Furthermore, after applying a foamy mixture that is a conventional decoloring agent or oxidative hair dye to the hair, even if an attempt is made to further foam the foamed mixture applied to the hair, the foam may not be sufficiently foamed. On the other hand, the use of the decoloring agent or the oxidative hair dye according to the present invention can foam the mixture well on the hair even if the oil derived from hair wax or the like is attached to the hair. Defoaming can be effectively suppressed.
さらに、本発明における上記構成の採用により、毛髪を良好に脱色又は染色することができる。本発明に係る脱色剤又は酸化染毛剤の使用により、脱色又は染色後に、脱色むら又は染色むらを抑制することができる。 Furthermore, hair can be favorably decolored or dyed by adopting the above-described configuration in the present invention. By using the decoloring agent or the oxidative hair dye according to the present invention, it is possible to suppress uneven decoloring or uneven dyeing after decoloring or dyeing.
本発明に係る脱色剤又は酸化染毛剤は、混合前の段階で第1剤及び第2剤の双方が液状又はジェル状であるので、混合の初期段階で第1剤及び第2剤の双方の流動性が高く、第1剤及び第2剤の混合性に優れている。第1剤と第2剤とを均一に混合することによって、脱色むら又は染色むらをより一層抑制することができる。 In the decoloring agent or oxidative hair dye according to the present invention, both the first agent and the second agent are liquid or gel-like at the stage before mixing, so both the first agent and the second agent at the initial stage of mixing. The fluidity of the first agent and the second agent is excellent. By uniformly mixing the first agent and the second agent, it is possible to further suppress uneven decolorization or uneven dyeing.
さらに、本発明に係る脱色剤又は酸化染毛剤を混合した混合剤は、液状ではなくジェル状であるので、毛髪への塗布時に混合剤が垂れ落ちにくい。また、毛髪に塗布する段階で混合剤は泡状ではなくジェル状であるので、毛髪の根元(生え際)部分であっても、ジェル状の混合剤を容易にかつ十分な量で塗布することができる。 Furthermore, since the mixture which mixed the decoloring agent or oxidative hair dye which concerns on this invention is not a liquid but a gel form, it is hard to spill a mixture at the time of application to hair. In addition, since the mixture is in the form of a gel rather than a foam at the stage of application to the hair, the gel-like mixture can be easily and sufficiently applied even at the root (hairline) part of the hair. it can.
さらに、上記第1剤及び上記第2剤の内の少なくとも一方は、アニオン性界面活性剤及び両性界面活性剤の内の少なくとも1種の第1の界面活性剤成分(A)とノニオン性界面活性剤である第2の界面活性剤成分(B)とを含むので、ジェル状の混合剤が毛髪に塗布された後に、毛髪に塗布されたジェル状の混合剤を泡立てて泡状にすることができる。このようにジェル状の状態から、シャンプーするような要領で泡立てて泡状の状態にすることで、混合剤を毛髪に均一に付着させることができる。このため、脱色又は染色後の毛髪に、脱色むら又は染色むらを生じ難くすることができる。 Furthermore, at least one of the first agent and the second agent includes at least one first surfactant component (A) of an anionic surfactant and an amphoteric surfactant and a nonionic surfactant. The second surfactant component (B), which is an agent, so that after the gel-like mixture is applied to the hair, the gel-like mixture applied to the hair is foamed into a foam it can. Thus, the mixture can be uniformly attached to the hair by bubbling from the gel state in the manner of shampooing into a foam state. For this reason, it is possible to make it difficult to cause uneven decolorization or uneven dyeing in the hair after decoloring or dyeing.
従来の脱色剤又は酸化染毛剤が混合されたクリーム状の混合剤では、粘度が高いので、混合剤を毛髪に均一に付着させにくいことがある。このため、混合剤がクリーム状のままで毛髪が脱色又は染色するまで5〜60分程度放置された後、洗い流されると、脱色むら又は染色むらが生じやすいという問題がある。これに対して、毛髪に塗布されたジェル状の混合剤を泡立てて泡状にすることにより、混合剤を毛髪に均一に付着させることができる。特に、ジェル状の混合剤を施術者が自身の毛髪に塗布する場合にも、すなわちジェル状の混合剤をセルフで使用する場合にも、毛髪に塗布されたジェル状の混合剤を泡立てて泡状にすることにより、混合剤を毛髪にむらなく付着させることができる。従って、本発明に係る脱色剤又は酸化染毛剤の使用により、毛髪の脱色むら又は染色むらを顕著に抑制できる。 A cream-like mixture in which a conventional decolorizing agent or oxidative hair dye is mixed has a high viscosity, and thus it may be difficult to uniformly adhere the mixture to the hair. For this reason, there is a problem that when the mixture is left in a cream state and left for about 5 to 60 minutes until the hair is decolored or dyed, it is likely to cause uneven decolorization or uneven dyeing. On the other hand, the mixture can be made to adhere uniformly to the hair by foaming the gel-like mixture applied to the hair. In particular, even when the practitioner applies the gel-like mixture to his / her own hair, that is, when the gel-like mixture is used by himself, the foamed gel-like mixture applied to the hair is foamed. By making it into a shape, the mixture can be adhered to the hair evenly. Therefore, the use of the decoloring agent or the oxidative hair dye according to the present invention can remarkably suppress the hair decoloring unevenness or dyeing unevenness.
上記第1剤及び上記第2剤の内の少なくとも一方は、増粘性高分子(C)を含むことが好ましい。上記第1剤及び上記第2剤の内の少なくとも一方が増粘性高分子(C)を含む場合には、本発明に係る脱色剤又は酸化染毛剤を混合した混合剤は、より一層良好なジェル状になる。このため、毛髪への塗布時に混合剤がより一層垂れ落ちにくくなる。 At least one of the first agent and the second agent preferably contains a thickening polymer (C). When at least one of the first agent and the second agent contains the thickening polymer (C), the mixture obtained by mixing the decolorizing agent or the oxidative hair dye according to the present invention is even better. Become a gel. For this reason, the mixture becomes more difficult to sag during application to the hair.
以下、第1剤及び第2剤の詳細、多剤式の脱色剤又は酸化染毛剤の詳細、並びに該多剤式の脱色剤又は酸化染毛剤を用いた毛髪の脱色又は染色方法の詳細を説明する。 Hereinafter, the details of the first agent and the second agent, the details of the multi-component decoloring agent or the oxidative hair dye, and the details of the hair decoloring or dyeing method using the multi-component decoloring agent or the oxidative hair dye Will be explained.
(第1剤及び第2剤)
第1剤及び第2剤はそれぞれ、液状又はジェル状であり、流動性を有する。第1剤及び第2剤における「液状」又は「ジェル状」とは、第1剤及び第2剤の25℃での粘度が3000mPa・s未満であることをいう。液状又はジェル状である第1剤及び第2剤の25℃での粘度はそれぞれ、3000mPa・s未満であり、好ましくは2000mPa・s未満である。液状又はジェル状である第1剤及び第2剤の25℃での粘度はそれぞれ、B型粘度計(トキメック社製)を用いて、ロータNo.3、60rpm及び1分の各条件で測定される。
(First agent and second agent)
Each of the first agent and the second agent is liquid or gel and has fluidity. “Liquid” or “gel” in the first agent and the second agent means that the viscosity of the first agent and the second agent at 25 ° C. is less than 3000 mPa · s. The viscosity at 25 ° C. of the first agent and the second agent that are liquid or gel is less than 3000 mPa · s, preferably less than 2000 mPa · s. The viscosities at 25 ° C. of the first and second agents in liquid or gel form were measured using a B-type viscometer (manufactured by Tokimec), respectively Measured at 3, 60 rpm and 1 minute.
上記第1剤及び上記第2剤の内の少なくとも一方は、アニオン性界面活性剤及び両性界面活性剤の内の少なくとも1種の第1の界面活性剤成分(A)を含む。第1剤のみが第1の界面活性剤成分(A)を含んでいてもよく、第2剤のみが第1の界面活性剤成分(A)を含んでいてもよく、第1剤と第2剤との双方が第1の界面活性剤成分(A)を含んでいてもよい。第2剤が第1の界面活性剤成分(A)を含む場合には、第1剤は第1の界面活性剤成分(A)を必ずしも含んでいなくてもよく、第1剤が第1の界面活性剤成分(A)を含む場合には、第2剤は第1の界面活性剤成分(A)を必ずしも含んでいなくてもよい。毛髪上でジェル状の混合剤をより一層良好に泡立てる観点からは、第1剤及び第2剤がそれぞれ、アニオン性界面活性剤及び両性界面活性剤の内の少なくとも1種の第1の界面活性剤成分(A)を含むことが好ましい。第1の界面活性剤成分(A)は、1種のみが用いられてもよく、2種以上が併用されてもよい。 At least one of the first agent and the second agent contains at least one first surfactant component (A) of an anionic surfactant and an amphoteric surfactant. Only the first agent may contain the first surfactant component (A), and only the second agent may contain the first surfactant component (A). The first agent and the second agent Both of the agents may contain the first surfactant component (A). When the second agent contains the first surfactant component (A), the first agent may not necessarily contain the first surfactant component (A), and the first agent is the first agent. When the surfactant component (A) is included, the second agent does not necessarily include the first surfactant component (A). From the viewpoint of better foaming the gel-like mixture on the hair, the first agent and the second agent are at least one first surfactant of an anionic surfactant and an amphoteric surfactant, respectively. It is preferable that an agent component (A) is included. As for a 1st surfactant component (A), only 1 type may be used and 2 or more types may be used together.
上記アニオン性界面活性剤としては、高級脂肪酸塩、アルキル硫酸エステル塩、アルキルリン酸エステル塩、アルキルエーテル硫酸エステル塩、アルキルエーテルリン酸エステル塩、アルキルエーテルカルボン酸塩、N−アシルメチルタウリン塩、アルキルスルホコハク酸、アシル乳酸塩、N−アシルサルコシン塩、N−アシルグルタミン酸塩及びN−アシルメチルアラニン塩等が挙げられる。これら以外のアニオン性界面活性剤を用いてもよい。 Examples of the anionic surfactant include higher fatty acid salts, alkyl sulfate ester salts, alkyl phosphate ester salts, alkyl ether sulfate ester salts, alkyl ether phosphate ester salts, alkyl ether carboxylate salts, N-acylmethyl taurate salts, Examples thereof include alkyl sulfosuccinic acid, acyl lactate, N-acyl sarcosine salt, N-acyl glutamate, and N-acyl methyl alanine salt. Anionic surfactants other than these may be used.
上記両性界面活性剤としては、グリシン型両性界面活性剤、アミノプロピオン酸型両性界面活性剤、アミノ酢酸ベタイン型両性界面活性剤及びスルホベタイン型両性界面活性剤、イミダゾリニウム型両性界面活性剤、アミンオキサイド型両性界面活性剤及びホスホベタイン型両性界面活性剤等が挙げられる。これら以外の両性界面活性剤を用いてもよい。 As the amphoteric surfactant, glycine type amphoteric surfactant, aminopropionic acid type amphoteric surfactant, aminoacetic acid betaine type amphoteric surfactant and sulfobetaine type amphoteric surfactant, imidazolinium type amphoteric surfactant, Examples thereof include amine oxide type amphoteric surfactants and phosphobetaine type amphoteric surfactants. Amphoteric surfactants other than these may be used.
上記グリシン型両面界面活性剤としては、アルキルグリシン塩、カルボキシメチルグリシン塩及びN−アシルアミノエチル−N−2−ヒドロキシエチルグリシン塩等が挙げられる。上記アミノプロピオン酸型両性界面活性剤としては、アルキルアミノプロピオン酸塩及びアルキルイミノジプロピオン酸塩等が挙げられる。上記アミノ酢酸ベタイン型両性界面活性剤としては、アルキルジメチルアミノ酢酸ベタイン、脂肪酸アミドプロピルジメチルアミノ酢酸ベタイン及びアルキルジヒドロキシエチルアミノ酢酸ベタイン等が挙げられる、上記スルホベタイン型両性界面活性剤としては、N−アルキル−N,N−ジメチルアンモニウム−N−プロピルスルホン酸塩、N−アルキル−N,N−ジメチルアンモニウム−N−(2−ヒドロキシプロピル)スルホン酸塩及びN−脂肪酸アミドプロピル−N,N−ジメチルアンモニウム−N−(2−ヒドロキシプロピル)スルホン酸塩等が挙げられる。上記イミダゾリニウム型両性界面活性剤としては、アルキルカルボキシメチルヒドロキシエチルイミダゾリニウムベタイン等が挙げられる。上記アミンオキサイド型両性界面活性剤としては、アルキルジメチルアミンオキサイド等が挙げられる。上記ホスホベタイン型両性界面活性剤としては、2−(ジメチルオクチルアンモニオ)エチルホスフェート、2−(ジメチルドデシルアンモニオ)プロピルホスフェート及び2−(ジメチルドデシルアンモニオ)−2−ヒドロキシプロピルホスフェート等が挙げられる。 Examples of the glycine-type double-sided surfactant include alkyl glycine salts, carboxymethyl glycine salts, N-acylaminoethyl-N-2-hydroxyethyl glycine salts, and the like. Examples of the aminopropionic acid type amphoteric surfactants include alkylaminopropionate and alkyliminodipropionate. Examples of the aminoacetic acid betaine-type amphoteric surfactants include alkyldimethylaminoacetic acid betaines, fatty acid amidopropyldimethylaminoacetic acid betaines, and alkyldihydroxyethylaminoacetic acid betaines. The sulfobetaine-type amphoteric surfactants include N- Alkyl-N, N-dimethylammonium-N-propylsulfonate, N-alkyl-N, N-dimethylammonium-N- (2-hydroxypropyl) sulfonate and N-fatty acid amidopropyl-N, N-dimethyl Examples include ammonium-N- (2-hydroxypropyl) sulfonate. Examples of the imidazolinium type amphoteric surfactant include alkylcarboxymethylhydroxyethyl imidazolinium betaine. Examples of the amine oxide type amphoteric surfactant include alkyl dimethylamine oxide. Examples of the phosphobetaine-type amphoteric surfactant include 2- (dimethyloctylammonio) ethyl phosphate, 2- (dimethyldodecylammonio) propyl phosphate, 2- (dimethyldodecylammonio) -2-hydroxypropyl phosphate, and the like. It is done.
混合剤の泡立ちを良好にする観点から、第1の界面活性剤成分(A)として、N−アシルグルタミン酸塩、アルキルエーテル硫酸エステル塩、アルキル硫酸エステル塩、高級脂肪酸塩、アルキルエーテルカルボン酸塩、N−アシルメチルタウリン塩、アルキルスルホコハク酸塩、脂肪酸アミドプロピルジメチルアミノ酢酸ベタイン、N−アルキル−N,N−ジメチルアンモニウム−N−(2−ヒドロキシプロピル)スルホン酸塩、アルキルカルボキシメチルヒドロキシエチルイミダゾリニウムベタイン、アルキルジメチルアミンオキサイドを用いることが好ましい。第1の界面活性剤成分(A)として、具体的には、N−ヤシ油脂肪酸アシル−L−グルタミン酸塩、ポリオキシエチレンラウリルエーテル硫酸塩、ラウリル硫酸塩、ミリスチン酸塩、ポリオキシエチレンラウリルエーテル酢酸塩、N−ラウロイルメチルタウリン塩、ラウリルスルホコハク酸塩、ラウリル(2−ヒドロキシスルホプロピル)ジメチルベタイン、ラウリン酸アミドプロピルベタイン、ヤシ油脂肪酸アミドプロピルベタイン、2−アルキル−N−カルボキシメチル−N−ヒドロキシエチルイミダゾリニウムベタイン、ラウリルジメチルアミンオキサイドを用いることがより好ましい。なお、上記塩としては、カリウム塩、ナトリウム塩及びトリエタノールアミン塩等が挙げられる。 From the viewpoint of improving the foaming of the mixed agent, as the first surfactant component (A), N-acyl glutamate, alkyl ether sulfate, alkyl sulfate, higher fatty acid salt, alkyl ether carboxylate, N-acylmethyl taurate, alkylsulfosuccinate, fatty acid amidopropyldimethylaminoacetic acid betaine, N-alkyl-N, N-dimethylammonium-N- (2-hydroxypropyl) sulfonate, alkylcarboxymethylhydroxyethyl imidazole It is preferable to use nitrobetaine or alkyldimethylamine oxide. As the first surfactant component (A), specifically, N-coconut oil fatty acid acyl-L-glutamate, polyoxyethylene lauryl ether sulfate, lauryl sulfate, myristic acid salt, polyoxyethylene lauryl ether Acetate, N-lauroylmethyl taurate, lauryl sulfosuccinate, lauryl (2-hydroxysulfopropyl) dimethyl betaine, lauric acid amidopropyl betaine, coconut oil fatty acid amidopropyl betaine, 2-alkyl-N-carboxymethyl-N- It is more preferable to use hydroxyethyl imidazolinium betaine and lauryl dimethylamine oxide. In addition, as said salt, potassium salt, sodium salt, a triethanolamine salt, etc. are mentioned.
第1剤及び第2剤における第1の界面活性剤成分(A)の各含有量は、ジェル状の混合剤を泡立てる際の泡立ちなどを考慮して適宜調整される。第1剤100質量%中の第1の界面活性剤成分(A)の含有量及び第2剤100質量%中の第1の界面活性剤成分(A)の含有量はそれぞれ、0質量%以上、好ましくは0.1質量%以上、より好ましくは0.5質量%以上、好ましくは10.0質量%以下、より好ましくは6.0質量%以下である。また、混合剤100質量%中、第1の界面活性剤成分(A)の含有量は、好ましくは0.3質量%以上、より好ましくは1.0質量%以上、好ましくは10.0質量%以下、より好ましくは6.0質量%以下である。第1の界面活性剤成分(A)の含有量が上記下限以上であると、ジェル状の混合剤を良好に泡立てることができる。第1の界面活性剤成分(A)の含有量が上記上限以下であると、過剰な第1の界面活性剤成分(A)による脱色阻害又は染色阻害が生じにくくなる。 Each content of the 1st surfactant component (A) in a 1st agent and a 2nd agent is suitably adjusted in consideration of the foaming at the time of foaming a gel-like mixture. The content of the first surfactant component (A) in 100% by mass of the first agent and the content of the first surfactant component (A) in 100% by mass of the second agent are each 0% by mass or more. The content is preferably 0.1% by mass or more, more preferably 0.5% by mass or more, preferably 10.0% by mass or less, and more preferably 6.0% by mass or less. Further, in 100% by mass of the mixture, the content of the first surfactant component (A) is preferably 0.3% by mass or more, more preferably 1.0% by mass or more, and preferably 10.0% by mass. Hereinafter, it is more preferably 6.0% by mass or less. When the content of the first surfactant component (A) is not less than the above lower limit, the gel-like admixture can be foamed well. When the content of the first surfactant component (A) is less than or equal to the above upper limit, decoloration inhibition or staining inhibition due to the excessive first surfactant component (A) is less likely to occur.
上記第1剤及び上記第2剤の内の少なくとも一方は、第2の界面活性剤成分(B)としてノニオン性界面活性剤を含む。第2の界面活性剤成分(B)は、ノニオン性界面活性剤である。第1剤のみが第2の界面活性剤成分(B)を含んでいてもよく、第2剤のみが第2の界面活性剤成分(B)を含んでいてもよく、第1剤と第2剤との双方が第2の界面活性剤成分(B)を含んでいてもよい。第2剤が第2の界面活性剤成分(B)を含む場合には、第1剤は第2の界面活性剤成分(B)を必ずしも含んでいなくてもよく、第1剤が第2の界面活性剤成分(B)を含む場合には、第2剤は第2の界面活性剤成分(B)を必ずしも含んでいなくてもよい。第2の界面活性剤成分(B)は、1種のみが用いられてもよく、2種以上が併用されてもよい。 At least one of the first agent and the second agent contains a nonionic surfactant as the second surfactant component (B). The second surfactant component (B) is a nonionic surfactant. Only the first agent may contain the second surfactant component (B), only the second agent may contain the second surfactant component (B), and the first agent and the second agent. Both of the agents may contain the second surfactant component (B). When the second agent includes the second surfactant component (B), the first agent does not necessarily include the second surfactant component (B), and the first agent is the second surfactant component (B). When the surfactant component (B) is included, the second agent may not necessarily contain the second surfactant component (B). As for a 2nd surfactant component (B), only 1 type may be used and 2 or more types may be used together.
上記ノニオン性界面活性剤としては、ソルビタン脂肪酸エステル、グリセリン脂肪酸エステル、ポリグリセリン脂肪酸エステル、ポリオキシアルキレンアルキルエーテル、ポリオキシアルキレン脂肪酸エステル、ポリオキシアルキレンソルビタン脂肪酸エステル、ポリオキシアルキレンヒマシ油、ポリオキシアルキレン硬化ヒマシ油、ショ糖脂肪酸エステル、アルキルポリグルコシド及びポリオキシエチレンラノリン等が挙げられる。これらのアルキレンオキシド付加物を用いてもよい。これら以外のノニオン性界面活性剤を用いてもよい。 Examples of the nonionic surfactant include sorbitan fatty acid ester, glycerin fatty acid ester, polyglycerin fatty acid ester, polyoxyalkylene alkyl ether, polyoxyalkylene fatty acid ester, polyoxyalkylene sorbitan fatty acid ester, polyoxyalkylene castor oil, polyoxyalkylene. Examples include hydrogenated castor oil, sucrose fatty acid ester, alkyl polyglucoside, and polyoxyethylene lanolin. These alkylene oxide adducts may be used. Nonionic surfactants other than these may be used.
混合剤の泡立ちをより一層良好にする観点から、第2の界面活性剤成分(B)として、ポリオキシアルキレンアルキルエーテル、グリセリン脂肪酸エステル、ポリオキシアルキレン脂肪酸エステル、ポリオキシアルキレンヒマシ油、ポリオキシアルキレン硬化ヒマシ油、アルキルポリグルコシドを用いることが好ましく、ポリオキシアルキレンアルキルエーテルを用いることがより好ましい。ポリオキシアルキレンアルキルエーテルの具体例としては、ポリオキシエチレンセチルエーテル、ポリオキシエチレンステアリルエーテル、ポリオキシエチレンベヘニルエーテル及びポリオキシエチレンオクチルドデシルエーテル等が挙げられる。なお、上記ポリオキシアルキレンアルキルエーテルのアルキレンオキシドの付加モル数は特に限定されない。 From the viewpoint of further improving the foaming of the mixed agent, as the second surfactant component (B), polyoxyalkylene alkyl ether, glycerin fatty acid ester, polyoxyalkylene fatty acid ester, polyoxyalkylene castor oil, polyoxyalkylene It is preferable to use hydrogenated castor oil and alkyl polyglucoside, and it is more preferable to use polyoxyalkylene alkyl ether. Specific examples of the polyoxyalkylene alkyl ether include polyoxyethylene cetyl ether, polyoxyethylene stearyl ether, polyoxyethylene behenyl ether and polyoxyethylene octyldodecyl ether. In addition, the addition mole number of the alkylene oxide of the said polyoxyalkylene alkyl ether is not specifically limited.
第2の界面活性剤成分(B)の安定性を高め、混合剤の泡立ちをより一層良好にする観点からは、第1剤が、第2の界面活性剤成分としてノニオン性界面活性剤を含むことが好ましい。 From the viewpoint of enhancing the stability of the second surfactant component (B) and further improving the foaming of the mixed agent, the first agent contains a nonionic surfactant as the second surfactant component. It is preferable.
第1剤及び第2剤における第2の界面活性剤成分(B)の各含有量は、ジェル状の混合剤を泡立てる際の泡立ちなどを考慮して適宜調整される。第1剤100質量%中の第2の界面活性剤成分(B)の含有量及び第2剤100質量%中の第2の界面活性剤成分(B)の含有量はそれぞれ、0質量%以上、好ましくは0.1質量%以上、より好ましくは0.3質量%以上、好ましくは7.0質量%以下、より好ましくは4.0質量%以下である。また、混合剤100質量%中、第2の界面活性剤成分(B)の含有量は、好ましくは0.1質量%以上、より好ましくは0.3質量%以上、好ましくは5.0質量%以下、より好ましくは3.0質量%以下である。第2の界面活性剤成分(B)の含有量が上記下限以上であると、ジェル状の混合剤を良好に泡立てることができる。第2の界面活性剤成分(B)の含有量が上記上限以下であると、過剰な第2の界面活性剤成分(B)による脱色阻害又は染色阻害が生じにくくなる。 Each content of the 2nd surfactant component (B) in a 1st agent and a 2nd agent is suitably adjusted in consideration of the foaming at the time of foaming a gel-like mixture. The content of the second surfactant component (B) in 100% by mass of the first agent and the content of the second surfactant component (B) in 100% by mass of the second agent are each 0% by mass or more. The content is preferably 0.1% by mass or more, more preferably 0.3% by mass or more, preferably 7.0% by mass or less, and more preferably 4.0% by mass or less. Further, in 100% by mass of the mixture, the content of the second surfactant component (B) is preferably 0.1% by mass or more, more preferably 0.3% by mass or more, preferably 5.0% by mass. Hereinafter, it is more preferably 3.0% by mass or less. When the content of the second surfactant component (B) is not less than the above lower limit, the gel-like mixture can be foamed well. When the content of the second surfactant component (B) is less than or equal to the above upper limit, decoloration inhibition or staining inhibition due to the excessive second surfactant component (B) is less likely to occur.
多剤式の脱色剤又は酸化染毛剤の混合時に粘度を効果的に向上させ、混合剤をより一層良好なジェルするために、第1剤及び第2剤の内の少なくとも一方は、多剤式の脱色剤又は酸化染毛剤の混合により混合剤の粘度を上昇させる成分を含むことが好ましく、増粘性高分子(C)を含むことがより好ましい。増粘性高分子(C)は、多剤式の脱色剤又は酸化染毛剤の混合により混合剤の粘度を上昇させる成分である。増粘性高分子(C)の使用により、ジェル状の混合剤を毛髪に塗布する際に、ジェル状の混合剤が垂れ落ちにくくなる。増粘性高分子(C)は、1種のみが用いられてもよく、2種以上が併用されてもよい。 At least one of the first agent and the second agent is a multi-agent in order to effectively improve the viscosity when mixing the multi-component decoloring agent or the oxidative hair dye and to make the mixture even better gel. It is preferable that the component which raises the viscosity of a mixing agent by mixing of the decoloring agent or oxidative hair dye of a formula is included, and it is more preferable that the thickening polymer (C) is included. The thickening polymer (C) is a component that increases the viscosity of the mixture by mixing a multi-component decoloring agent or an oxidative hair dye. Use of the thickening polymer (C) makes it difficult for the gel-like mixture to sag when the gel-like mixture is applied to the hair. Only one type of thickening polymer (C) may be used, or two or more types may be used in combination.
第1剤のみが増粘性高分子(C)を含んでいてもよく、第2剤のみが増粘性高分子(C)を含んでいてもよく、第1剤と第2剤との双方が増粘性高分子(C)を含んでいてもよい。第2剤が増粘性高分子(C)を含む場合には、第1剤は増粘性高分子(C)を必ずしも含んでいなくてもよく、第1剤が増粘性高分子(C)を含む場合には、第2剤は増粘性高分子(C)を必ずしも含んでいなくてもよい。混合時に粘度を効果的に向上させ、更に塗布時にジェル状の混合剤の垂れ落ちをより一層抑制する観点からは、第1剤及び第2剤がそれぞれ、増粘性高分子(C)を含むことが好ましい。 Only the first agent may contain the thickening polymer (C), only the second agent may contain the thickening polymer (C), and both the first agent and the second agent increase. The viscous polymer (C) may be included. When the second agent contains the thickening polymer (C), the first agent does not necessarily contain the thickening polymer (C), and the first agent contains the thickening polymer (C). When it contains, the 2nd agent does not necessarily need to contain thickening polymer (C). From the viewpoint of effectively improving viscosity during mixing and further suppressing dripping of the gel-like mixture during application, the first agent and the second agent each contain a thickening polymer (C). Is preferred.
増粘性高分子(C)としては、カチオン化セルロース、カチオン性ポリマー、アニオン性ポリマー等が挙げられ、これらの内の少なくとも1種が好適に用いられる。混合剤をより一層良好なジェル状にする観点からは、混合剤は、カチオン化セルロース、カチオン性ポリマー及びアニオン性ポリマーからなる群から選択された少なくとも1種を含むことが好ましい。混合剤をさらに一層良好なジェル状にする観点からは、混合剤は、カチオン化セルロース及びカチオン性ポリマーの内の少なくとも1種と、アニオン性ポリマーとを含むことがより好ましい。 Examples of the thickening polymer (C) include cationized cellulose, cationic polymer, anionic polymer and the like, and at least one of these is preferably used. From the viewpoint of making the mixture into an even better gel, the mixture preferably contains at least one selected from the group consisting of cationized cellulose, a cationic polymer and an anionic polymer. From the viewpoint of making the mixture into an even better gel, it is more preferable that the mixture contains at least one of cationized cellulose and cationic polymer and an anionic polymer.
上記カチオン化セルロースの具体例としては、塩化−O−[2−ヒドロキシ−3−(トリメチルアンモニオ)プロピル]ヒドロキシエチルセルロース及び塩化ジアリルジメチルアンモニウム・ヒドロキシエチルセルロース等が挙げられる。 Specific examples of the cationized cellulose include -O- [2-hydroxy-3- (trimethylammonio) propyl] hydroxyethyl cellulose and diallyldimethylammonium chloride / hydroxyethyl cellulose.
上記カチオン性ポリマーとしては、カチオン性澱粉、カチオン化グアーガム誘導体、ジアリル4級アンモニウム塩重合物、ジアリル4級アンモニウム塩/アクリル酸共重合物、ジアリル4級アンモニウム塩/アクリルアミド共重合物及び4級ポリビニルピロリドン誘導体等が挙げられる。上記カチオン性ポリマーの具体例としては、塩化−O−[2−ヒドロキシ−3−(トリメチルアンモニオ)プロピル]グアーガム、塩化ジメチルジアリルアンモニウム・アクリル酸共重合体液、塩化ジメチルジアリルアンモニウム・アクリルアミド共重合体及びビニルピロリドン・ジメチルアミノメタクリレートの硫酸ジメチルによる4級化誘導体等が挙げられる。なお、カチオン性ポリマーには、上記カチオン化セルロースは含まれないこととする。 Examples of the cationic polymer include cationic starch, cationized guar gum derivative, diallyl quaternary ammonium salt polymer, diallyl quaternary ammonium salt / acrylic acid copolymer, diallyl quaternary ammonium salt / acrylamide copolymer, and quaternary polyvinyl. Examples include pyrrolidone derivatives. Specific examples of the cationic polymer include chloride-O- [2-hydroxy-3- (trimethylammonio) propyl] guar gum, dimethyldiallylammonium chloride / acrylic acid copolymer liquid, dimethyldiallylammonium chloride / acrylamide copolymer. And quaternized derivatives of vinyl pyrrolidone and dimethylamino methacrylate with dimethyl sulfate. The cationic polymer does not include the cationized cellulose.
上記アニオン性ポリマーの具体例としては、アクリル酸アルキル・メタクリル酸アルキル・ポリオキシエチレンステアリルエーテル共重合体、アクリル酸アルキル・メタクリル酸ポリオキシエチレンべへネスエーテル共重合体、アクリル酸アルキル・イタコン酸ポリオキシエチレンセチルエーテル共重合体及びアクリル酸アルキル・メタクリル酸ポリオキシエチレンステアリルエーテルクロスポリマー等が挙げられる。 Specific examples of the anionic polymer include alkyl acrylate / alkyl methacrylate / polyoxyethylene stearyl ether copolymer, alkyl acrylate / polyoxyethylene behenes ether copolymer, alkyl acrylate / itaconic acid. Examples thereof include polyoxyethylene cetyl ether copolymer and alkyl acrylate / methacrylic acid polyoxyethylene stearyl ether crosspolymer.
第1剤中での増粘性高分子(C)の安定性を高め、更に混合剤をより一層良好なジェル状にする観点からは、第1剤は、増粘性高分子(C)として、カチオン化セルロース及びカチオン性ポリマーの内の少なくとも1種を含むことが好ましい。 From the viewpoint of increasing the stability of the thickening polymer (C) in the first agent and further making the mixture into a better gel, the first agent is a cation as a thickening polymer (C). It is preferable to contain at least one of a functionalized cellulose and a cationic polymer.
第2剤中での増粘性高分子(C)の安定性を高め、更に混合剤をより一層良好なジェル状にする観点からは、第2剤は、増粘性高分子(C)として、アニオン性ポリマーを含むことが好ましい。 From the viewpoint of increasing the stability of the thickening polymer (C) in the second agent and further making the mixture into a better gel, the second agent is an anion as the thickening polymer (C). It is preferable that a functional polymer is included.
第1剤及び第2剤における増粘性高分子(C)の各含有量は、第1剤と第2剤とが混合された混合剤の粘度及び性状などを考慮して適宜調整される。第1剤100質量%中の増粘性高分子(C)の含有量及び第2剤100質量%中の増粘性高分子(C)の含有量はそれぞれ、0質量%以上、好ましくは0.1質量%以上、より好ましくは0.3質量%以上、好ましくは7.0質量%以下、より好ましくは5.0質量%以下である。また、混合剤100質量%中、増粘性高分子(C)の含有量は、好ましくは0.2質量%以上、より好ましくは0.5質量%以上、好ましくは5.0質量%以下、より好ましくは3.0質量%以下である。増粘性高分子(C)の含有量が上記下限以上であると、ジェル状の混合剤の粘度が適度に向上し、混合剤がより一層良好なジェル状になる。増粘性高分子(C)の含有量が上記上限以下であると、過剰な増粘性高分子(C)による脱色阻害又は染色阻害が生じにくくなる。 Each content of the thickening polymer (C) in the first agent and the second agent is appropriately adjusted in consideration of the viscosity and properties of the mixture obtained by mixing the first agent and the second agent. The content of the thickening polymer (C) in 100% by mass of the first agent and the content of the thickening polymer (C) in 100% by mass of the second agent are each 0% by mass or more, preferably 0.1%. It is at least mass%, more preferably at least 0.3 mass%, preferably at most 7.0 mass%, more preferably at most 5.0 mass%. The content of the thickening polymer (C) in 100% by mass of the mixture is preferably 0.2% by mass or more, more preferably 0.5% by mass or more, and preferably 5.0% by mass or less. Preferably it is 3.0 mass% or less. When the content of the thickening polymer (C) is equal to or more than the above lower limit, the viscosity of the gel-like admixture is appropriately improved, and the admixture becomes an even better gel. When the content of the thickening polymer (C) is less than or equal to the above upper limit, decoloration inhibition or staining inhibition due to excessive thickening polymer (C) is less likely to occur.
第1剤は、第1の界面活性剤成分(A)と増粘性高分子(C)とを含むことが好ましい。第2剤は、第1の界面活性剤成分(A)と増粘性高分子(C)とを含むことが好ましい。これらの場合には、塗布時及び塗布後の放置時に混合剤の垂れ落ちをより一層抑制することができ、かつ脱色性及び染色性をより一層高めることができる。 The first agent preferably contains the first surfactant component (A) and the thickening polymer (C). The second agent preferably contains the first surfactant component (A) and the thickening polymer (C). In these cases, dripping of the mixed agent can be further suppressed during coating and when left after coating, and the decoloring property and dyeing property can be further enhanced.
塗布時及び塗布後の放置時に混合剤の垂れ落ちをより一層抑制し、かつ脱色性及び染色性をより一層高める観点からは、第1剤が、第1の界面活性剤成分(A)と増粘性高分子(C)とを含み、かつ第2剤が第1の界面活性剤成分(A)と増粘性高分子(C)とを含むことが好ましい。 From the standpoint of further suppressing dripping of the mixture during application and leaving it after application, and further enhancing decolorization and dyeability, the first agent is increased with the first surfactant component (A). It is preferable that it contains a viscous polymer (C), and the second agent contains a first surfactant component (A) and a thickening polymer (C).
第1剤は、アルカリ剤を含む。アルカリ剤は特に限定されない。アルカリ剤として、従来公知のアルカリ剤が使用可能である。アルカリ剤は、無機アルカリ剤であってもよく、有機アルカリ剤であってもよい。アルカリ剤は、1種のみが用いられてもよく、2種以上が併用されてもよい。 The first agent contains an alkaline agent. The alkaline agent is not particularly limited. A conventionally well-known alkali agent can be used as an alkali agent. The alkali agent may be an inorganic alkali agent or an organic alkali agent. Only 1 type may be used for an alkali agent and 2 or more types may be used together.
上記アルカリ剤としては、アンモニア、炭酸アンモニウム、重炭酸アンモニウム、炭酸ナトリウム、イソプロパノールアミン、モノエタノールアミン、ジエタノールアミン、トリエタノールアミン及び2−アミノ−2−メチル−1−プロパノール等が挙げられる。これら以外のアルカリ剤を用いてもよい。 Examples of the alkaline agent include ammonia, ammonium carbonate, ammonium bicarbonate, sodium carbonate, isopropanolamine, monoethanolamine, diethanolamine, triethanolamine, and 2-amino-2-methyl-1-propanol. You may use alkali agents other than these.
第1剤中のアルカリ剤の含有量は、所望とする脱色性又は染色性などを考慮して適宜調整される。第1剤100質量%中、アルカリ剤の含有量は、好ましくは0.01質量%以上、より好ましくは0.1質量%以上、更に好ましくは1質量%以上、特に好ましくは3質量%以上、好ましくは20質量%以下、より好ましくは15質量%以下、更に好ましくは10質量%以下である。アルカリ剤の含有量が上記下限以上であると、毛髪の脱色性又は染色性がより一層高くなる。アルカリ剤の含有量が上記上限以下であると、皮膚刺激が少なくなる。 The content of the alkali agent in the first agent is appropriately adjusted in consideration of the desired decolorization property or dyeability. In 100% by mass of the first agent, the content of the alkaline agent is preferably 0.01% by mass or more, more preferably 0.1% by mass or more, still more preferably 1% by mass or more, and particularly preferably 3% by mass or more. Preferably it is 20 mass% or less, More preferably, it is 15 mass% or less, More preferably, it is 10 mass% or less. When the content of the alkaline agent is not less than the above lower limit, the decolorization or dyeing property of the hair is further enhanced. When the content of the alkaline agent is not more than the above upper limit, skin irritation is reduced.
多剤式の脱色剤又は酸化染毛剤が酸化染毛剤である場合には、第1剤は、アルカリ剤に加えて、酸化染料をさらに含む。「酸化染料」は、自身の酸化重合により発色する酸化染料前駆体と、酸化染料前駆体との反応により種々の色に発色させるカップラーとの双方を意味する。酸化染料は、1種のみが用いられてもよく、2種以上が併用されてもよい。 When the multi-component bleaching agent or oxidative hair dye is an oxidative hair dye, the first agent further includes an oxidative dye in addition to the alkaline agent. “Oxidative dye” means both an oxidative dye precursor that develops color by its own oxidative polymerization and a coupler that develops various colors by reacting with the oxidative dye precursor. Only one type of oxidation dye may be used, or two or more types may be used in combination.
上記酸化染料前駆体としては、例えば、フェニレンジアミン類、アミノフェノール類及びジアミノピリジン類、並びにこれらの塩類等が挙げられる。該塩類としては、塩酸塩及び硫酸塩等が挙げられる。 Examples of the oxidative dye precursor include phenylenediamines, aminophenols and diaminopyridines, and salts thereof. Examples of the salts include hydrochloride and sulfate.
上記フェニレンジアミン類としては、p−フェニレンジアミン、トルエン−2,5−ジアミン、トルエン−3,4−ジアミン、2,5−ジアミノアニソール、N−フェニル−p−フェニレンジアミン、N−メチル−p−フェニレンジアミン、N,N−ジメチル−p−フェニレンジアミン、6−メトキシ−3−メチル−p−フェニレンジアミン、N,N−ジエチル−2−メチル−p−フェニレンジアミン、N−エチル−N−(ヒドロキシエチル)−p−フェニレンジアミン、N−(2−ヒドロキシプロピル)−p−フェニレンジアミン、2−クロル−6−メチル−p−フェニレンジアミン、2−クロロ−p−フェニレンジアミン、N,N−ビス−(2−ヒドロキシエチル)−p−フェニレンジアミン、2,6−ジクロル−p−フェニレンジアミン及び2−クロル−6−ブロム−p−フェニレンジアミン等が挙げられる。上記アミノフェノール類としては、パラアミノフェノール、オルトアミノフェノール、パラメチルアミノフェノール、2,4−ジアミノフェノール、5−アミノサリチル酸、2−メチル−4−アミノフェノール、3−メチル−4−アミノフェノール、2,6−ジメチル−4−アミノフェノール、3,5−ジメチル−4−アミノフェノール、2,3−ジメチル−4−アミノフェノール、2,5−ジメチル−4−アミノフェノール、2−クロロ−4−アミノフェノール及び3−クロロ−4−アミノフェノール等が挙げられる。上記ジアミノピリジン類としては、2,5−ジアミノピリジン等が挙げられる。 Examples of the phenylenediamines include p-phenylenediamine, toluene-2,5-diamine, toluene-3,4-diamine, 2,5-diaminoanisole, N-phenyl-p-phenylenediamine, and N-methyl-p-. Phenylenediamine, N, N-dimethyl-p-phenylenediamine, 6-methoxy-3-methyl-p-phenylenediamine, N, N-diethyl-2-methyl-p-phenylenediamine, N-ethyl-N- (hydroxy Ethyl) -p-phenylenediamine, N- (2-hydroxypropyl) -p-phenylenediamine, 2-chloro-6-methyl-p-phenylenediamine, 2-chloro-p-phenylenediamine, N, N-bis- (2-hydroxyethyl) -p-phenylenediamine, 2,6-dichloro-p-phenylenediamine And 2-chloro-6-bromo -p- phenylenediamine are listed. Examples of the aminophenols include paraaminophenol, orthoaminophenol, paramethylaminophenol, 2,4-diaminophenol, 5-aminosalicylic acid, 2-methyl-4-aminophenol, 3-methyl-4-aminophenol, 2 , 6-Dimethyl-4-aminophenol, 3,5-dimethyl-4-aminophenol, 2,3-dimethyl-4-aminophenol, 2,5-dimethyl-4-aminophenol, 2-chloro-4-amino Examples include phenol and 3-chloro-4-aminophenol. Examples of the diaminopyridines include 2,5-diaminopyridine.
上記カップラーとしては、例えば、レゾルシン、m−アミノフェノール、m−フェニレンジアミン、2,4−ジアミノフェノキシエタノール、5−アミノ−o−クレゾール、2−メチル−5−ヒドロキシエチルアミノフェノール、2,6−ジアミノピリジン、カテコール、ピロガロール、α−ナフトール、没食子酸及びタンニン酸、並びにこれらの塩類等が挙げられる。 Examples of the coupler include resorcin, m-aminophenol, m-phenylenediamine, 2,4-diaminophenoxyethanol, 5-amino-o-cresol, 2-methyl-5-hydroxyethylaminophenol, and 2,6-diamino. Examples thereof include pyridine, catechol, pyrogallol, α-naphthol, gallic acid and tannic acid, and salts thereof.
第1剤における酸化染料の含有量は、染色性を考慮して適宜調整される。第1剤100質量%中、酸化染料の含有量は0質量%以上、好ましくは0.01質量%以上、より好ましくは0.1質量%以上、更に好ましくは0.2質量%以上、好ましくは2質量%以下、より好ましくは1.5質量%以下である。酸化染料の含有量が上記下限以上であると、毛髪の染色性がより一層高くなる。酸化染料の含有量が上記上限以下であると、皮膚刺激が少なくなる。 The content of the oxidation dye in the first agent is appropriately adjusted in consideration of dyeability. In 100% by mass of the first agent, the content of the oxidation dye is 0% by mass or more, preferably 0.01% by mass or more, more preferably 0.1% by mass or more, still more preferably 0.2% by mass or more, preferably It is 2 mass% or less, More preferably, it is 1.5 mass% or less. When the content of the oxidative dye is not less than the above lower limit, the hair dyeability is further enhanced. When the content of the oxidation dye is not more than the above upper limit, skin irritation is reduced.
多剤式の脱色剤又は酸化染毛剤が酸化染毛剤である場合には、色調を調色するために、第1剤は、直接染料を含んでいてもよい。直接染料としては、パラニトロオルトフェニレンジアミン、ニトロパラフェニレンジアミン、硫酸パラニトロメタフェニレンジアミン、2−アミノ−5−ニトロフェノール及びピクラミン酸等が挙げられる。 When the multi-component bleaching agent or oxidative hair dye is an oxidative hair dye, the first agent may contain a direct dye in order to adjust the color tone. Examples of the direct dye include paranitroorthophenylenediamine, nitroparaphenylenediamine, paranitrometaphenylenediamine sulfate, 2-amino-5-nitrophenol, and picramic acid.
多剤式の脱色剤又は酸化染毛剤が酸化染毛剤である場合には、アルカリ剤及び酸化染料に加えて、還元剤をさらに含むことが好ましい。還元剤は、第1剤が大気暴露された際に、酸化染料の発色を抑制する。 In the case where the multi-component bleaching agent or oxidative hair dye is an oxidative hair dye, it is preferable to further include a reducing agent in addition to the alkali agent and the oxidative dye. The reducing agent suppresses the coloring of the oxidation dye when the first agent is exposed to the atmosphere.
上記還元剤は特に限定されない。上記還元剤として従来公知の還元剤が使用可能である。上記還元剤としては、例えば、N−アセチル−L−システイン、L−アスコルビン酸、亜硫酸ナトリウム、ピロ亜硫酸ナトリウム及びチオグリコール酸等が挙げられる。これらの塩を用いてもよい。還元剤は、1種のみが用いられてもよく、2種以上が併用されてもよい。 The reducing agent is not particularly limited. A conventionally known reducing agent can be used as the reducing agent. Examples of the reducing agent include N-acetyl-L-cysteine, L-ascorbic acid, sodium sulfite, sodium pyrosulfite, and thioglycolic acid. These salts may be used. Only 1 type may be used for a reducing agent and 2 or more types may be used together.
第1剤100質量%中、還元剤の含有量は、0質量%以上、好ましくは0.01質量%以上、より好ましくは0.05質量%以上、好ましくは2質量%以下、より好ましくは1質量%以下である。 In 100% by mass of the first agent, the content of the reducing agent is 0% by mass or more, preferably 0.01% by mass or more, more preferably 0.05% by mass or more, preferably 2% by mass or less, more preferably 1%. It is below mass%.
第2剤は酸化剤を含む。酸化剤は特に限定されない。酸化剤として、従来公知の酸化剤が使用可能である。酸化剤は、1種のみが用いられてもよく、2種以上が併用されてもよい。 The second agent contains an oxidizing agent. The oxidizing agent is not particularly limited. As the oxidizing agent, a conventionally known oxidizing agent can be used. As for an oxidizing agent, only 1 type may be used and 2 or more types may be used together.
上記酸化剤としては、過酸化水素、過酸化尿素、過硫酸塩、過ホウ酸塩、過炭酸塩、臭素酸塩及び過ヨウ素酸塩等が挙げられる。これら以外の酸化剤を用いてもよい。脱色性及び染色性をより一層高める観点からは、上記酸化剤は、過酸化水素であることが好ましい。 Examples of the oxidizing agent include hydrogen peroxide, urea peroxide, persulfate, perborate, percarbonate, bromate and periodate. You may use oxidizing agents other than these. From the viewpoint of further improving the decoloring property and dyeing property, the oxidizing agent is preferably hydrogen peroxide.
上記酸化剤の含有量は、脱色性又は染色性を考慮して適宜調整される。第2剤100質量%中、酸化剤の含有量は好ましくは0.01質量%以上、より好ましくは0.1質量%以上、好ましくは12質量%以下、より好ましくは6質量%以下である。酸化剤の含有量が上記下限以上であると、毛髪の脱色性又は染色性がより一層高くなる。酸化剤の含有量が上記上限以下であると、皮膚刺激が少なくなる。 The content of the oxidizing agent is appropriately adjusted in consideration of decolorization or dyeability. In 100% by mass of the second agent, the content of the oxidizing agent is preferably 0.01% by mass or more, more preferably 0.1% by mass or more, preferably 12% by mass or less, more preferably 6% by mass or less. When the content of the oxidizing agent is not less than the above lower limit, the decolorization or dyeing property of the hair is further enhanced. When the content of the oxidizing agent is not more than the above upper limit, skin irritation is reduced.
上記第2剤は、酸化剤の安定剤を含んでいてもよい。該酸化剤の安定剤としては、例えば、フェナセチン及びヒドロキシエタンジホスホン酸等が挙げられる。 The second agent may contain an oxidizing agent stabilizer. Examples of the stabilizer for the oxidizing agent include phenacetin and hydroxyethanediphosphonic acid.
第1剤及び第2剤はそれぞれ、上述した成分以外に、低級アルコール、高級脂肪酸、炭化水素、多価アルコール、着色剤及び香料等を含んでいてもよい。 Each of the first agent and the second agent may contain a lower alcohol, a higher fatty acid, a hydrocarbon, a polyhydric alcohol, a colorant, a fragrance and the like in addition to the components described above.
上記低級アルコールとしては、エタノール及びイソプロパノール等が挙げられる。上記炭化水素としては、流動パラフィン、流動イソパラフィン及びスクワラン等が挙げられる。上記多価アルコールとしては、ポリエチレングリコール、グリセリン、ポリグリセリン、1,3−ブチレングリコール、1,2−ペンタンジオール及び1,2−オクタンジオール等が挙げられる。 Examples of the lower alcohol include ethanol and isopropanol. Examples of the hydrocarbon include liquid paraffin, liquid isoparaffin, squalane and the like. Examples of the polyhydric alcohol include polyethylene glycol, glycerin, polyglycerin, 1,3-butylene glycol, 1,2-pentanediol, and 1,2-octanediol.
(多剤式の脱色剤又は酸化染毛剤の詳細)
本発明に係る脱色剤又は酸化染毛剤は、上記第1剤と上記第2剤とを少なくとも備える。本発明に係る脱色剤又は酸化染毛剤は、毛髪処理剤である。本発明に係る脱色剤又は酸化染毛剤は、上記第1剤と上記第2剤とを少なくとも備える毛髪処理剤キットである。本発明に係る脱色剤又は酸化染毛剤は、上記第1剤及び上記第2剤に加えて、第3剤をさらに備えていてもよい。第3剤としては、脱色剤、ヘアリンス剤、ヘアトリートメント剤及びヘアコンディショニング剤等が挙げられる。また、脱色剤などの第3剤と、ヘアリンス剤、ヘアトリートメント剤又はヘアコンディショニング剤等の第4剤とを用いてもよい。
(Details of multi-component bleaching or oxidative hair dye)
The decolorizing agent or oxidative hair dye according to the present invention includes at least the first agent and the second agent. The decoloring agent or oxidative hair dye according to the present invention is a hair treatment agent. The decoloring agent or oxidative hair dye according to the present invention is a hair treatment agent kit comprising at least the first agent and the second agent. The decoloring agent or oxidative hair dye according to the present invention may further include a third agent in addition to the first agent and the second agent. Examples of the third agent include a decolorizing agent, a hair rinse agent, a hair treatment agent, and a hair conditioning agent. Moreover, you may use 3rd agents, such as a decoloring agent, and 4th agents, such as a hair rinse agent, a hair treatment agent, or a hair conditioning agent.
本発明に係る脱色剤又は酸化染毛剤は、混合されて混合剤として用いられる。本発明に係る脱色剤又は酸化染毛剤が混合された混合剤は、ジェル状である。 The decoloring agent or oxidative hair dye according to the present invention is mixed and used as a mixing agent. The mixed agent in which the decoloring agent or the oxidative hair dye according to the present invention is mixed is in a gel form.
ジェル状である混合剤の25℃での粘度は、200mPa・s以上である。混合剤における「ジェル状」とは、混合剤の25℃での粘度が200mPa・s以上であることをいう。ジェル状である混合剤の25℃での粘度は、10000mPa・s以下であることが好ましい。ジェル状である混合剤の粘度は、B型粘度計(トキメック社製)を用いて、ロータNo.3、30rpm及び1分の各条件で測定される。但し、ロータNo.3、60rpm及び1分の各条件で測定された粘度が4000mPa・s以上である場合には、ジェル状である混合剤の25℃での粘度の値として、ロータNo.3、6rpm及び1分の各条件で測定された値が採用される。 The viscosity of the gel-like admixture at 25 ° C. is 200 mPa · s or more. “Gel” in the mixture means that the viscosity of the mixture at 25 ° C. is 200 mPa · s or more. The viscosity of the gel-like mixture at 25 ° C. is preferably 10000 mPa · s or less. The viscosity of the gel-like admixture was measured using a B-type viscometer (manufactured by Tokimec Co., Ltd.). Measured at 3, 30 rpm and 1 minute. However, the rotor No. When the viscosity measured at each condition of 3, 60 rpm and 1 minute is 4000 mPa · s or more, the viscosity of the gel-like mixture at 25 ° C. is determined as rotor No. Values measured under conditions of 3, 6 rpm and 1 minute are employed.
第1剤と第2剤とを備える2剤式の脱色剤又は酸化染毛剤である場合には、ジェル状の混合剤は、第1剤と第2剤とを混合することにより得られ、第1剤と第2剤との混合物である。第1剤と第2剤と第3剤とを備える3剤式の脱色剤又は酸化染毛剤であり、毛髪への塗布前に第1剤と第2剤と第3剤とが混合される場合には、ジェル状の混合剤は、第1〜第3剤とを混合することにより得られ、第1〜第3剤を含む混合物である。第1剤と第2剤と第3剤とを備える3剤式の脱色剤又は酸化染毛剤であり、毛髪への塗布前に第1剤と第2剤とが混合され、毛髪への塗布前に第3剤が混合されない場合には、ジェル状の混合剤は、第1剤と第2剤とを混合することにより得られ、第1剤と第2剤との混合物である。 In the case of a two-component bleaching agent or oxidative hair dye comprising a first agent and a second agent, a gel-like mixture is obtained by mixing the first agent and the second agent, It is a mixture of the first agent and the second agent. A three-component bleaching agent or oxidative hair dye comprising a first agent, a second agent, and a third agent, and the first agent, the second agent, and the third agent are mixed before application to the hair. In some cases, the gel-like mixture is obtained by mixing the first to third agents, and is a mixture containing the first to third agents. A three-part bleaching or oxidative hair dye comprising a first agent, a second agent, and a third agent, the first agent and the second agent are mixed before application to the hair, and the application to the hair When the third agent is not mixed before, the gel-like mixture is obtained by mixing the first agent and the second agent, and is a mixture of the first agent and the second agent.
塗布時及び塗布後の放置時に混合剤の垂れ落ちをより一層抑制し、かつ脱色性及び染色性をより一層高める観点からは、多剤式の脱色剤又は酸化染毛剤は、混合された混合剤がジェル状である状態で毛髪に塗布される多剤式の脱色剤又は酸化染毛剤であることが好ましい。 From the viewpoint of further suppressing the dripping of the mixture at the time of application and standing after application, and further enhancing the decoloring property and dyeing property, the multi-component decoloring agent or the oxidative hair dye is mixed and mixed. It is preferable that the agent is a multi-component bleaching agent or oxidative hair dye applied to the hair in a gel state.
塗布時及び塗布後の放置時に混合剤の垂れ落ちをより一層抑制し、かつ脱色性及び染色性をより一層高める観点からは、多剤式の脱色剤又は酸化染毛剤は、容器中で混合され、混合された混合剤がジェル状である状態で容器から吐出され、毛髪に塗布される多剤式の脱色剤又は酸化染毛剤であることが好ましい。 From the standpoint of further suppressing dripping of the mixture during application and standing after application, and further enhancing decolorization and dyeability, the multi-component decoloring agent or oxidative hair dye is mixed in the container. The mixed admixture is preferably a multi-component decoloring agent or oxidative hair dye that is discharged from the container in a gel state and applied to the hair.
脱色むら又は染色むらを抑制し、毛髪を良好に脱色又は染色する観点からは、多剤式の脱色剤又は酸化染毛剤は、混合された混合剤がジェル状である状態で毛髪に塗布され、毛髪に塗布された混合剤が毛髪上で泡立てられる多剤式の脱色剤又は酸化染毛剤であることが特に好ましい。 From the viewpoint of suppressing decoloration unevenness or dyeing unevenness and favorably decoloring or dyeing hair, a multi-component decoloring agent or oxidative hair dye is applied to hair in a state where the mixed mixture is in a gel state. It is particularly preferred that the mixture applied to the hair is a multi-component decoloring agent or oxidative hair dye that is foamed on the hair.
第1剤と第2剤とを混合する際の質量比は特に限定されない。第1剤と第2剤とを混合する際の質量比(第1剤:第2剤)は、好ましくは1:10〜10:1、より好ましくは1:5〜5:1、更に好ましくは1:4〜3:1、特に好ましくは1:3〜2:1である。 The mass ratio when mixing the first agent and the second agent is not particularly limited. The mass ratio when mixing the first agent and the second agent (first agent: second agent) is preferably 1:10 to 10: 1, more preferably 1: 5 to 5: 1, still more preferably. 1: 4 to 3: 1, particularly preferably 1: 3 to 2: 1.
(多剤式の脱色剤又は酸化染毛剤を用いた毛髪の脱色又は染色方法)
本発明に係る毛髪の脱色又は染色方法では、上述した多剤式の脱色剤又は酸化染毛剤を混合し、ジェル状の混合剤にする工程と、該混合剤をジェル状である状態で毛髪に塗布する工程と、毛髪に塗布されたジェル状の混合剤を泡立てる工程とを備える。
(Hair decoloration or dyeing method using multi-component bleaching or oxidative hair dye)
In the method for decoloring or dyeing hair according to the present invention, the above-mentioned multi-component decoloring agent or oxidative hair dye is mixed to form a gel-like admixture, and the mixture is in a gel-like state. And a step of foaming a gel-like mixture applied to the hair.
第1剤と第2剤とを少なくとも備える上記多剤式の脱色剤又は酸化染毛剤を混合すると、ジェル状の混合剤を得る。該混合剤をジェル状である状態で毛髪に塗布することにより、塗布時に混合剤が毛髪から垂れ落ち難くなる。次に、毛髪に塗布されたジェル状の混合剤を毛髪上で泡立てることにより、混合剤を毛髪にむらなく付着させることができる。また、毛髪に整髪剤等に由来する油剤が付着していても、ジェル状の混合剤を毛髪上で良好に泡立てることができる。ジェル状の混合剤を泡立てる際には、ジャンプーする要領で泡立てて、混合剤を毛髪に充分に馴染ませればよい。 When the multi-component bleaching agent or oxidative hair dye comprising at least the first agent and the second agent is mixed, a gel-like mixture is obtained. By applying the mixture to the hair in a gel state, the mixture does not easily sag from the hair during application. Next, the foamed gel-like mixture applied to the hair is foamed on the hair, so that the mixture can be adhered to the hair evenly. Moreover, even if the oil agent derived from a hairdressing agent etc. has adhered to hair, a gel-like mixing agent can be foamed favorably on hair. When foaming a gel-like admixture, it is sufficient that the admixture is sufficiently blended into the hair by bubbling in the manner of jumping.
混合剤を毛髪に塗布してから泡立てるまでの時間は、好ましくは10分以下、より好ましくは5分以下、更に好ましくは3分以下である。混合剤を泡立ててから毛髪を脱色又は染色するための放置時間は、好ましくは5分以上、より好ましくは10分以上、好ましくは120分以下、より好ましくは60分以下である。毛髪の脱色又は染色が充分に進行した後、混合剤は毛髪から洗い流され、除去される。 The time from when the mixture is applied to the hair until foaming is preferably 10 minutes or less, more preferably 5 minutes or less, and even more preferably 3 minutes or less. The standing time for decoloring or dyeing the hair after foaming the mixture is preferably 5 minutes or more, more preferably 10 minutes or more, preferably 120 minutes or less, more preferably 60 minutes or less. After the hair has been fully bleached or dyed, the admixture is washed away from the hair and removed.
上記多剤式の脱色剤又は酸化染毛剤を容器中で混合し、ジェル状の混合剤にすることが好ましい。この場合には、混合が容易である。また、混合に用いる容器は、第1剤を含む容器又は第2剤を含む容器であることが好ましい。この場合には、新たに容器を用意する必要がなく、第1剤を含む容器に第2剤を入れるか又は第2剤を含む容器に第1剤を入れることにより、多剤式の脱色剤又は酸化染毛剤を容易に混合できる。混合に用いる容器は、第2剤を含む容器であることがより好ましい。また、混合剤の塗布性をより一層高めるために、混合剤をジェル状である状態で容器から吐出して、毛髪に塗布することが好ましい。 It is preferable to mix the multi-component bleaching agent or oxidative hair dye in a container to obtain a gel-like mixture. In this case, mixing is easy. Moreover, it is preferable that the container used for mixing is a container containing a 1st agent or a container containing a 2nd agent. In this case, it is not necessary to prepare a new container, and the multi-agent type decoloring agent can be obtained by putting the second agent into the container containing the first agent or putting the first agent into the container containing the second agent. Or an oxidative hair dye can be mixed easily. The container used for mixing is more preferably a container containing the second agent. In order to further improve the applicability of the mixture, it is preferable to apply the mixture to the hair by discharging it from the container in a gel state.
本発明に係る脱色剤又は酸化染毛剤を塗布するために用いられる塗布具は、下端に底部を有し、上端に開口部を有し、かつ脱色剤又は酸化染毛剤を内部に収容するための容器と、上記容器の上記開口部に取り付けられる蓋とを備えることが好ましい。上記蓋は、ノズルを少なくとも2個有し、上記ノズルは、上記容器中に収容された脱色剤又は酸化染毛剤が流れる流路を有し、上記蓋が上記容器の上記開口部に取り付けられた状態で、上記ノズルは、上記容器側に脱色剤又は酸化染毛剤が上記流路に流入する流入口と、上記容器側とは反対側の先端に脱色剤又は酸化染毛剤が上記流路から流出する流出口とを有することが好ましい。 The applicator used for applying the decoloring agent or oxidative hair dye according to the present invention has a bottom at the lower end, an opening at the upper end, and accommodates the decoloring or oxidative hair dye inside. It is preferable to provide a container for mounting and a lid attached to the opening of the container. The lid has at least two nozzles, the nozzle has a flow path through which the decoloring agent or oxidative hair dye contained in the container flows, and the lid is attached to the opening of the container. In this state, the nozzle has an inlet through which the decoloring agent or oxidative hair dye flows into the flow path on the container side, and a decoloring agent or oxidative hair dye at the tip opposite to the container side. It is preferable to have an outflow port that flows out of the passage.
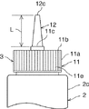
図1〜4に、本発明に係る脱色剤又は酸化染毛剤を塗布するために用いられる塗布具を示す。 The applicator used in order to apply | coat the decoloring agent or oxidation hair dye which concerns on FIGS. 1-4 to this invention is shown.
図1に、塗布具を模式的に斜視図で示す。図2〜4に、図1に示す塗布具1を部分的に正面図、側面図及び正面断面図で示す。
FIG. 1 schematically shows the applicator in a perspective view. 2 to 4 partially show the
図1〜4に示す塗布具1は、脱色剤又は酸化染毛剤を毛髪に塗布するために用いられる。塗布具1は、脱色剤又は酸化染毛剤の塗布具である。
The
塗布具1は、容器2と蓋3とを備える。図1〜4では、蓋3は容器2に取り付けられている。蓋3は、容器2から取り外し可能である。図1〜4では、容器2が下側、蓋3が上側となるように配置されている。
The
容器2は、脱色剤又は酸化染毛剤を内部に収容するための容器である。容器2は、下端に底部2aを有し、上端に開口部2bを有する。容器2は、底部2aと開口部2bとの間に、筒部2cを有する。容器2は、有底の筒状容器である。容器2は、可撓性を有する樹脂等を用いて形成される。
The
容器2は、底部2a部分を除いて円筒状である。容器2の筒部2cは、円筒状である。容器2は、脱色剤又は酸化染毛剤を収容可能な内部空間を有する。容器は、底部分を除いて角筒状などの他の形状であってもよい。容器の筒部は、角筒状などの他の形状であってもよい。
The
開口部2bの開口面積を小さくし、更に蓋3を容器2の開口部2bに容易に取り付けるために、容器2の上端部分である開口部2bの径は、開口部2bを除く他の部分の径よりも小さい。容器2は、上端部分に小径部と、上端部分を除く他の部分に大径部とを有する。容器2は、開口部2bの外周側面に、すなわち上端部分の小径部の外周側面に、雄ねじ部2dを有する。
In order to reduce the opening area of the
容器2は外周側面に、滑り止め部2eを有する。滑り止め部2eは、容器2の外周側面に設けられた多数の凸部である。多数の凸部は、容器2の下端と上端とを結ぶ方向すなわち底部2aと開口部2bとを結ぶ方向に並んでいる。滑り止め部は、凹部であってもよく、凹凸部であってもよい。滑り止め部2eは、容器2の外周側面を手等で把持したときに、意図せずに容器が滑るのを抑える役割を果たす。また、滑り止め部2eは、容器2を把持したときに、容器2を目視しなくても、容器2の向きを容易に把握する役割も果たす。なお、滑り止め部2eは必ずしも設けられていなくてもよい。
The
容器2の空容積は、好ましくは80mL以上、より好ましくは100mL以上、好ましくは250mL以下、より好ましくは230mL以下である。
The empty volume of the
蓋3は、蓋本体11と、3個のノズル12とを有する。蓋本体11は、筒部11aと上壁部11bと基端部11cとを有する。筒部11aの上端と上壁部11bの外周縁とが接続されている。基端部11cは、上壁部11bの中央の領域に接続されており、上壁部11bから上方に突出している。基端部11cは、上壁部11bから上方に突出した凸部である。基端部11cに、3個のノズル12の一端が接続されている。筒部11aは、円筒状である。蓋本体の筒部は、容器の開口部の形状に対応して、角筒状等の他の形状であってもよい。
The
蓋本体11の筒部11aの内径は、容器2の開口部2b(小径部)の外径と略等しい。蓋3及び筒部11aは内周側面に、雌ねじ部11dを有する。容器2の雄ねじ部2dと蓋3の雌ねじ部11dとを嵌合させることにより、蓋3を容器2の開口部2bに取り付けること可能である。また、容器2と蓋3との接続部分において密閉性を確保できる。
The inner diameter of the
蓋本体11は外周側面に、滑り止め部11eを有する。滑り止め部11eは、蓋本体11の外周側面に設けられた多数の凹凸部である。蓋本体の滑り止め部は、凹部であってもよく、凸部であってもよい。滑り止め部11eは、雄ねじ部2dと雌ねじ部11dとを嵌合させながら、蓋3を容器2の開口部2bに取り付ける作業を容易にする。なお、滑り止め部11eは必ずしも設けられていなくてもよい。
The
蓋3は、ノズル12を3個有する。複数のノズル12は、一端(図1〜4における下端)が間隔を隔てずに配置されている。複数のノズル12の一端は互いに接している。3個のノズル12は、直線状に並んでいる。蓋は、ノズルを少なくとも2個有していればよく、少なくとも3個有することが好ましい。蓋がノズルを1個ではなく少なくとも2個有することによって、複数のノズルにより毛髪を分けながら、容器中の脱色剤又は酸化染毛剤を蓋のノズルから吐出して、毛髪の根元(生え際)部分に短時間で容易に塗布することができる。また、脱色剤又は酸化染毛剤を、一度に広範囲にわたり、適量で塗布することができる。
The
蓋がノズルを少なくとも3個有すると、容器中の脱色剤又は酸化染毛剤を蓋のノズルから吐出して、毛髪の根元(生え際)部分により一層精度よく短時間で容易に塗布することができる。ノズルの個数は、好ましくは10個以下、より好ましくは8個以下、更に好ましくは5個以下、特に好ましくは3個である。 When the lid has at least three nozzles, the decoloring agent or oxidative hair dye in the container can be discharged from the nozzle of the lid and can be more easily applied to the base (hairline) portion of the hair with higher accuracy in a shorter time. . The number of nozzles is preferably 10 or less, more preferably 8 or less, still more preferably 5 or less, and particularly preferably 3.
少なくとも3個のノズルは、直線状に並んでいることが好ましい。この場合には、ノズルを櫛のように用いることができ、毛髪を適度に束ねるようにノズルをスライドさせることでき、ノズルにより毛髪をより一層かき分けやすく、脱色剤又は酸化染毛剤の塗布性をより一層高めることができる。この結果、脱色剤又は酸化染毛剤を、毛髪の根元部分により一層精度よく短時間で容易に塗布することができる。特に、塗布具を用いて脱色剤又は酸化染毛剤を施術者が自身の毛髪に塗布する場合にも、すなわち塗布具をセルフで使用する場合にも、毛髪を良好にかき分けながら、毛髪に脱色剤又は酸化染毛剤を容易に塗布することができる。 The at least three nozzles are preferably arranged in a straight line. In this case, the nozzle can be used like a comb, the nozzle can be slid so as to bind the hair appropriately, the hair can be more easily separated by the nozzle, and the applicability of the decolorizer or oxidative hair dye can be improved. It can be further increased. As a result, the decoloring agent or the oxidative hair dye can be easily applied to the base portion of the hair with higher accuracy in a shorter time. In particular, even when a practitioner applies a depigmenting agent or an oxidative hair dye to his / her own hair using an applicator, that is, even when the applicator is used on its own, the hair is discolored while it is being scraped well. An agent or an oxidative hair dye can be easily applied.
ノズル12は筒状であり、流路12aを有する。ノズル12は、円筒状である。ノズル12の外周側面及び内周側面はそれぞれ、曲面である。ノズル12は、先細りした形状を有する。ノズル12の外形は略円錐台状である。ノズルにより毛髪をかき分ける作業をより一層容易にするために、ノズルは円筒状であることが好ましく、ノズルの外周側面は曲面であることが好ましく、ノズルは先細りした形状を有することが好ましく、ノズルの外形は略円錐台状であることが好ましい。
The
ノズル12の内周側面は曲面である。脱色剤又は酸化染毛剤の流路の移動を滑らかにし、ノズルにおける脱色剤又は酸化染毛剤の目詰まりを抑制する観点からは、ノズルの内周側面は曲面であることが好ましい。
The inner peripheral side surface of the
ノズル12は、容器2中に収容された脱色剤又は酸化染毛剤が流れる流路12aを有する。流路12aは、ノズルの先端に向かって先細りした形状を有する。流路12aは円錐台状である。流路12aがこのような形状を有することにより、脱色剤又は酸化染毛剤の流路12aにおける移動が滑らかになり、ノズル12の目詰まりが抑えられる。
The
蓋3が容器2の開口部2bに取り付けられた状態(図1〜4に示す状態)で、流路12aは、容器2側とは反対側に開口している。蓋3が容器2の開口部2bに取り付けられた状態で、容器2を下側かつ蓋3を上側に配置したときに、流路12aは上側に開口している。
In a state where the
ノズル12は、一端に流入口12bと、他端に流出口12cとを有する。蓋3が容器2の開口部2bに取り付けられた状態(図1〜4に示す状態)で、ノズル12は、容器2側に流入口12bと、容器2側とは反対側の先端に流出口12cとを有する。流入口12bは、容器2中に収容された脱色剤又は酸化染毛剤が流入する部分である。流出口12cは、容器2中に収容された脱色剤又は酸化染毛剤が流出する部分である。流路12aは、流入口12bから流出口12cに延びている。
The
蓋3が容器2の上端の開口部2bに取り付けられた状態(図1〜4に示す状態)で、容器2を下側かつ蓋3を上側となるように配置したときに、ノズル12に設けられた流路12aは、下方から上方に延びている。蓋3が容器2の上端の開口部2bに取り付けられた状態で、ノズルに設けられた流路は、容器の中心線に対して略平行な方向に延びている。また、ノズル12に設けられた流路12aは、容器2の下端と上端とを結ぶ方向と略平行な方向に延びており、ノズル12に設けられた流路12aは、容器2の底部2aと開口部2bとを結ぶ方向と略平行な方向に延びている。また、ノズル12に設けられた流路12aは、蓋本体11の上壁部11bに対して略垂直な方向に延びている。このような方向に流路12aが延びていることにより、容器2中に収容された脱色剤又は酸化染毛剤をより一層滑らかにノズル12の先端から吐出することができ、かつノズル12の目詰まりをより一層効果的に抑制できる。
When the
ノズル12に設けられた流路12aは直線状に延びている。このため、脱色剤又は酸化染毛剤の流路12aの移動が滑らかになり、ノズル12にける脱色剤又は酸化染毛剤の目詰まりが抑えられる。なお、ノズルに設けられた流路は、曲線状に延びていてもよい。
The
脱色剤又は酸化染毛剤の流路の移動を滑らかにし、ノズル12の目詰まりを抑制し、かつノズル12当たりの吐出量を好適な範囲に制御する観点からは、ノズル12の流出口12cの開口面積は、好ましくは0.3mm2以上、より好ましくは0.4mm2以上、好ましくは3mm2以下、より好ましくは2.6mm2以下である。
From the viewpoint of smooth movement of the flow path of the decoloring agent or oxidative hair dye, suppressing clogging of the
脱色剤又は酸化染毛剤の流路の移動を滑らかにし、ノズル12の目詰まりを抑制し、かつ1つのノズル12当たりの吐出量を好適な範囲に制御する観点からは、ノズル12の流入口12bの開口面積は、ノズル12の流出口12cの開口面積よりも大きいことが好ましい。脱色剤又は酸化染毛剤の流路の移動を滑らかにし、ノズル12の目詰まりを抑制し、かつ1つのノズル12当たりの吐出量を好適な範囲に制御する観点からは、ノズル12の流入口12bの開口面積は、ノズル12の流出口12cの開口面積の10倍以上であることが好ましく、15倍以上であることがより好ましく、40倍以下であることが好ましく、35倍以下であることがより好ましい。
From the standpoint of smoothing the movement of the flow path of the decolorizing agent or oxidative hair dye, suppressing clogging of the
ノズル12を櫛のように使用して、ノズル12により毛髪を良好に分ける観点からは、隣り合うノズル12,12の先端間の隙間は、V字状であることが好ましい。ノズル12を櫛のように使用して、ノズル12により毛髪を良好に分ける観点からは、隣り合うノズル12,12の先端間の隙間の距離Dは、好ましくは4mm以上、より好ましくは5mm以上、好ましくは20mm以下、より好ましくは15mm以下である。
From the viewpoint of using the
ノズル12を櫛のように使用して、ノズル12により毛髪を良好に分け、更に毛髪の根元に脱色剤又は酸化染毛剤をより一層容易に塗布する観点からは、ノズル12及び流路12aの長さLはそれぞれ、好ましくは10mm以上、より好ましくは15mm以上、好ましくは50mm以下、より好ましくは40mm以下である。
From the viewpoint of using the
上述した塗布具1の使用により、人の頭の表面近傍をノズル12をスライドさせながら、容器2中に収容された脱色剤又は酸化染毛剤を、一度に広範囲に、適量で毛髪に塗布することができる。この結果、脱色剤又は酸化染毛剤の全量を塗布し終えるまでの時間を短くすることができ、更に後述のようにジェル状の脱色剤又は酸化染毛剤を良好に泡立てることができる。さらに、塗布具1をセルフで用いた場合でも、脱色剤又は酸化染毛剤の塗布が容易である。また、塗布具1の使用により、髪の根元(生え際)に、脱色剤又は酸化染毛剤をむらなく塗布することが容易になる。また、塗布具1では、蓋3のノズル12により、ノズル12を櫛のように使いながら、毛髪を束ねたり、毛髪をかき分けたりして、脱色剤又は酸化染毛剤を塗布することができる。
By using the
特に、塗布具1の使用により、比較的粘度が低い脱色剤又は酸化染毛剤であっても、例えばジェル状の脱色剤又は酸化染毛剤であっても、毛髪からの垂れ落ちを抑制しつつ、毛髪に均一に塗布することが可能になる。
In particular, the use of the
塗布時及び塗布後の放置時に脱色剤又は酸化染毛剤の垂れ落ちをより一層抑制し、かつ脱色性及び染色性をより一層高める観点からは、本発明に係る脱色剤又は酸化染毛剤の塗布具は、容器中に収容された脱色剤又は酸化染毛剤を、ジェル状である状態で毛髪に塗布する用途に用いられる脱色剤又は酸化染毛剤の塗布具であることが好ましい。 From the viewpoint of further suppressing dripping of the decoloring agent or the oxidative hair dye at the time of application and standing after application, and further enhancing the decoloring property and dyeing property, the decoloring agent or the oxidative hair dye of the present invention. The applicator is preferably a decolorizer or oxidative hair dye applicator used for applying the decolorizer or oxidative hair dye contained in the container to the hair in a gel state.
塗布時及び塗布後の放置時に脱色剤又は酸化染毛剤の垂れ落ちをより一層抑制し、かつ脱色性及び染色性をより一層高める観点からは、本発明に係る脱色剤又は酸化染毛剤の塗布具は、混合前の脱色剤又は酸化染毛剤を上記容器中で混合した後、混合された脱色剤又は酸化染毛剤を、ジェル状である状態で上記ノズルの上記流出口から吐出し、毛髪に塗布する用途に用いられる脱色剤又は酸化染毛剤の塗布具であることが好ましい。 From the viewpoint of further suppressing dripping of the decoloring agent or the oxidative hair dye at the time of application and standing after application, and further enhancing the decoloring property and dyeing property, the decoloring agent or the oxidative hair dye of the present invention. The applicator mixes the decoloring agent or oxidative hair dye before mixing in the container, and then discharges the mixed decoloring agent or oxidative hair dye from the outlet of the nozzle in a gel state. A decoloring agent or an oxidative hair dye applicator used for application to hair is preferable.
脱色むら又は染色むらを抑制し、毛髪を良好に脱色又は染色する観点からは、本発明に係る脱色剤又は酸化染毛剤の塗布具は、上記容器中に収容された脱色剤又は酸化染毛剤を、ジェル状である状態で毛髪に塗布し、毛髪に塗布された脱色剤又は酸化染毛剤を毛髪上で泡立てる用途に用いられる脱色剤又は酸化染毛剤の塗布具であることが好ましい。ジェル状の脱色剤又は酸化染毛剤を泡立てることにより、脱色剤又は酸化染毛剤を毛髪に均一に付着させることができる。 From the viewpoint of suppressing decoloration unevenness or dyeing unevenness and satisfactorily decoloring or dyeing hair, the decoloring agent or oxidative hair dye applicator according to the present invention is the decolorizing agent or oxidative hair contained in the container. The agent is preferably applied to the hair in a gel state and is a depigmenting agent or oxidative hair dye applicator used for foaming the decoloring agent or oxidative hair dye applied to the hair on the hair. . By bubbling a gel-like decoloring agent or oxidative hair dye, the decoloring agent or oxidative hair dye can be uniformly attached to the hair.
図5(a)〜(g)に蓋の変形例を平面図で示す。図5(a)〜(g)に示す蓋21〜27は蓋本体21a〜27aとノズル21b〜27bとを有する。蓋本体21a〜27aは筒部と上壁部とを有し、基端部を有さない。蓋は、基端部を有していなくてもよい。
FIGS. 5A to 5G are plan views showing modifications of the lid. The
図5(a)に示す蓋21は、蓋本体21aが基端部を有さないこと以外は、蓋3と同様に構成されている。蓋21では、ノズル21bが蓋本体21aの上壁部に直接接続されている。このように、基端部が必ずしも設けられていなくてもよい。
The
図5(b)に示す蓋22は、蓋本体22aの上壁部に間隔を隔てて接続されている3個のノズル22bを有する。このように、複数のノズルは、一端が間隔を隔てるように配置されていてもよい。
The
図5(c)に示す蓋23は、平面視において、直線状に並んでいる4個のノズル23bを有する。図5(d)に示す蓋24は、平面視において、三角形状の頂部に配置されている3個のノズル24bを有する。図5(e)に示す蓋25は、平面視において、四角形状の頂部に配置されている4個のノズル25bと、該4個のノズル25bの中心部に配置されている1つのノズル25bとの合計5個のノズル25bを有する。図5(f)に示す蓋26は、平面視において、環状に並んで等間隔に配置された7個のノズル26bを有する。図5(g)に示す蓋27は、ジグザグ状に配置された4個のノズル27bを有する。
The
図5(b)〜(g)に示す蓋22〜27のように、蓋に設けられるノズルの個数及び配置形態は適宜変更することができる。
Like the
塗布具1では、蓋3が容器2の開口部2bに取り付けられた状態(図1〜4に示す状態)で、ノズル12及び流路12aは、容器2の中心線及び容器2の下端と上端とを結ぶ方向に対して略平行な方向に延びており、蓋本体11の上壁部11bに対して略垂直な方向に延びている。図6(a)に示す蓋31のように、ノズル31a及びノズル31aに設けられた流路31bは、容器2の中心線及び容器2の下端と上端とを結ぶ方向に対して、容器2の下端と上端とを結ぶ方向に対して傾斜した方向に延びていてもよい。ノズル31a及びノズル31aに設けられた流路31bは、蓋本体の上壁部と略垂直な方向に対して傾斜した方向に延びていてもよい。傾斜角度αは、0度を超え、好ましくは1度以上、より好ましくは5度以上、好ましくは60度以下、より好ましくは45度以下である。このように、ノズルの延びる方向は適宜変更可能である。
In the
塗布具1では、ノズル12の外形及びノズル12に設けられた流路12aは、略円錐台状である。図6(b)に示す蓋32のように、ノズル32aの外形及びの該ノズル32aに設けられた流路32bは、円柱状であってもよい。さらに、ノズルの外形及びノズルに設けられた流路は、角柱状及び角錐台状等の他の形状でであってもよい。このようにノズルの外形及び流路の形状は適宜変更可能である。但し、塗布具1のように、ノズル12の外形及び該ノズル12に設けられた流路12aは、略円錐台状であることが好ましい。
In the
図6(c)に示す蓋33のように、ノズル33aの外周側面、並びにノズル33aに設けられた流路33bの外形は、ノズル33aの長さ方向の一端と他端とを結ぶ方向において、凹状に湾曲していてもよい。ノズル33aの内周側面は、ノズル33aの長さ方向の一端と他端とを結ぶ方向において、凸状に湾曲していてもよい。円錐台状の外形を有するノズルの外周側面を凹状又は凸状に湾曲させたノズルも、略円錐台状の外形を有するノズルに含まれることとする。また、ノズルの外周側面、並びにノズルに設けられた流路の外形は、ノズルの長さ方向の一端と他端とを結ぶ方向において、凸状に湾曲していてもよい。ノズルの内周側面は、ノズルの長さ方向の一端と他端とを結ぶ方向において、凹状に湾曲していてもよい。
Like the
塗布具1の使用により、人の頭の表面近傍をノズル12をスライドさせながら、容器2中に収容された脱色剤又は酸化染毛剤を、一度に広範囲に、適量で毛髪に塗布することができる。この結果、脱色剤又は酸化染毛剤の全量を塗布し終えるまでの時間を短くすることができ、更に後述のようにジェル状の脱色剤又は酸化染毛剤を良好に泡立てることができる。さらに、塗布具1をセルフで用いた場合でも、脱色剤又は酸化染毛剤の塗布が容易である。また、塗布具1の使用により、髪の根元(生え際)に、脱色剤又は酸化染毛剤をむらなく塗布することが容易になる。また、塗布具1では、蓋3のノズル12により、ノズル12を櫛のように使いながら、毛髪を束ねたり、毛髪をかき分けたりして、脱色剤又は酸化染毛剤を塗布することができる。
By using the
特に、塗布具1の使用により、比較的粘度が低い脱色剤又は酸化染毛剤であっても、例えばジェル状の脱色剤又は酸化染毛剤であっても、毛髪からの垂れ落ちを抑制しつつ、毛髪に均一に塗布することが可能になる。
In particular, the use of the
塗布時及び塗布後の放置時に脱色剤又は酸化染毛剤の垂れ落ちをより一層抑制し、かつ脱色性及び染色性をより一層高める観点からは、本発明に係る脱色剤又は酸化染毛剤の塗布具は、容器中に収容された脱色剤又は酸化染毛剤を、ジェル状である状態で毛髪に塗布する用途に用いられる脱色剤又は酸化染毛剤の塗布具であることが好ましい。 From the viewpoint of further suppressing dripping of the decoloring agent or the oxidative hair dye at the time of application and standing after application, and further enhancing the decoloring property and dyeing property, the decoloring agent or the oxidative hair dye of the present invention. The applicator is preferably a decolorizer or oxidative hair dye applicator used for applying the decolorizer or oxidative hair dye contained in the container to the hair in a gel state.
塗布時及び塗布後の放置時に脱色剤又は酸化染毛剤の垂れ落ちをより一層抑制し、かつ脱色性及び染色性をより一層高める観点からは、本発明に係る脱色剤又は酸化染毛剤の塗布具は、混合前の脱色剤又は酸化染毛剤を上記容器中で混合した後、混合された脱色剤又は酸化染毛剤を、ジェル状である状態で上記ノズルの上記流出口から吐出し、毛髪に塗布する用途に用いられる脱色剤又は酸化染毛剤の塗布具であることが好ましい。 From the viewpoint of further suppressing dripping of the decoloring agent or the oxidative hair dye at the time of application and standing after application, and further enhancing the decoloring property and dyeing property, the decoloring agent or the oxidative hair dye of the present invention. The applicator mixes the decoloring agent or oxidative hair dye before mixing in the container, and then discharges the mixed decoloring agent or oxidative hair dye from the outlet of the nozzle in a gel state. A decoloring agent or an oxidative hair dye applicator used for application to hair is preferable.
脱色むら又は染色むらを抑制し、毛髪を良好に脱色又は染色する観点からは、本発明に係る脱色剤又は酸化染毛剤の塗布具は、上記容器中に収容された脱色剤又は酸化染毛剤を、ジェル状である状態で毛髪に塗布し、毛髪に塗布された脱色剤又は酸化染毛剤を毛髪上で泡立てる用途に用いられる脱色剤又は酸化染毛剤の塗布具であることが好ましい。ジェル状の脱色剤又は酸化染毛剤を泡立てることにより、脱色剤又は酸化染毛剤を毛髪に均一に付着させることができる。 From the viewpoint of suppressing decoloration unevenness or dyeing unevenness and satisfactorily decoloring or dyeing hair, the decoloring agent or oxidative hair dye applicator according to the present invention is the decolorizing agent or oxidative hair contained in the container. The agent is preferably applied to the hair in a gel state and is a depigmenting agent or oxidative hair dye applicator used for foaming the decoloring agent or oxidative hair dye applied to the hair on the hair. . By bubbling a gel-like decoloring agent or oxidative hair dye, the decoloring agent or oxidative hair dye can be uniformly attached to the hair.
以下、本発明について、実施例および比較例を挙げて具体的に説明する。本発明は、以下の実施例のみに限定されない。 Hereinafter, the present invention will be specifically described with reference to Examples and Comparative Examples. The present invention is not limited only to the following examples.
実施例及び比較例では、下記の第1の界面活性剤成分(A)、第2の界面活性剤成分(B)及び増粘性高分子(C)を用いた。 In Examples and Comparative Examples, the following first surfactant component (A), second surfactant component (B), and thickening polymer (C) were used.
(第1の界面活性剤成分(A))
N−ヤシ油脂肪酸アシル−L−グルタミン酸トリエタノールアミン(30質量%)(旭化成ケミカルズ社製「アミノサーファクト ACMT−L」)
ラウリル(2−ヒドロキシスルホプロピル)ジメチルベタイン(30質量%)(花王社製「アンヒトール 20HD」)
ラウリン酸アミドプロピルベタイン(30質量%)(新日本理化社製「リカビオン B−300」)
ポリオキシエチレンラウリル硫酸ナトリウム(25質量%)(花王社製「エマール 125HP」)
(First surfactant component (A))
N-coconut oil fatty acid acyl-L-glutamic acid triethanolamine (30% by mass) (“Amino Surfact ACMT-L” manufactured by Asahi Kasei Chemicals Corporation)
Lauryl (2-hydroxysulfopropyl) dimethylbetaine (30% by mass) (“Amphitol 20HD” manufactured by Kao Corporation)
Lauric acid amidopropyl betaine (30% by mass) (“Rikabion B-300” manufactured by Shin Nippon Chemical Co., Ltd.)
Sodium polyoxyethylene lauryl sulfate (25% by mass) (“Emar 125HP” manufactured by Kao Corporation)
(第2の界面活性剤成分(B))
ポリオキシエチレンオクチルドデシルエーテル(25E.O.)(花王社製「エマルゲン 2025G」)
ポリオキシエチレンステアリルエーテル(20E.O.)(日光ケミカル社製「NIKKOL BS−20」)
ポリオキシエチレンベヘニルエーテル(20E.O.)(日光ケミカル社製「NIKKOL BB−20」)
(Second surfactant component (B))
Polyoxyethylene octyldodecyl ether (25E.O.) (“Emulgen 2025G” manufactured by Kao Corporation)
Polyoxyethylene stearyl ether (20E.O.) (“NIKKOL BS-20” manufactured by Nikko Chemical Co., Ltd.)
Polyoxyethylene behenyl ether (20EO) ("NIKKOL BB-20" manufactured by Nikko Chemical Co., Ltd.)
(増粘性高分子(C))
塩化−O−[2−ヒドロキシ−3−(トリメチルアンモニオ)プロピル]ヒドロキシエチルセルロース(東邦化学工業社製「カチナール HC−200」)
塩化ジメチルジアリルアンモニウム・アクリル酸共重合体(40質量%)(オンデオナルコ社製「マーコート280」)
アクリル酸アルキル・メタクリル酸アルキル・ポリオキシエチレン(20)ステアリルエーテル(30質量%)(ローム・アンド・ハース社製「アキュリン22」)
(Thickening polymer (C))
Chloride-O- [2-hydroxy-3- (trimethylammonio) propyl] hydroxyethylcellulose (“Kachinal HC-200” manufactured by Toho Chemical Industries)
Dimethyldiallylammonium chloride / acrylic acid copolymer (40% by mass) ("Mercoat 280" manufactured by Ondeonalco)
Alkyl acrylate, alkyl methacrylate, polyoxyethylene (20) stearyl ether (30% by mass) ("
(実施例1〜7及び比較例1〜5)
下記の表1,2に示す各成分を下記の表1,2に示す含有量で配合し、混合して、第1剤を得た。また、下記の表1,2に示す各成分を下記の表1,2に示す含有量で配合し、混合して、第2剤を得た。得られた第2剤は、図1に示す容器2(混合容器)に収容した。実施例1〜7及び比較例1〜5で得られた第1剤及び第2剤はいずれも、液状又はジェル状であった。
(Examples 1-7 and Comparative Examples 1-5)
The components shown in Tables 1 and 2 below were blended in the contents shown in Tables 1 and 2 and mixed to obtain a first agent. Moreover, each component shown to the following Tables 1 and 2 was mix | blended with content shown to the following Tables 1 and 2, and it mixed, and obtained the 2nd agent. The obtained 2nd agent was accommodated in the container 2 (mixing container) shown in FIG. The first agent and the second agent obtained in Examples 1 to 7 and Comparative Examples 1 to 5 were both liquid or gel.
(評価)
(1)混合剤の性状(混合剤の粘度)
第1剤と第2剤との質量比(第1剤:第2剤)が1:2となるように、第2剤を含む容器2中に第1剤を入れ、図7に示す蓋51を取り付けて、均一になるまで混合し、混合剤を得た。なお、図7に示す蓋51は、ノズルを有さず、筒部51aと上壁部51bとを有する。
(Evaluation)
(1) Properties of admixture (viscosity of admixture)
The first agent is placed in the
得られた混合剤の粘度を、B型粘度計(トキメック社製)を用いて、ロータNo.3、30rpm及び1分の各条件で測定した。但し、ロータNo.3、60rpm及び1分の各条件で測定された粘度が4000mPa・s以上である場合には、得られた混合剤の25℃での粘度の値として、ロータNo.3、6rpm及び1分の各条件で測定された値を採用した。 The viscosity of the obtained mixture was measured using a B-type viscometer (manufactured by Tokimec Co., Ltd.). The measurement was performed under conditions of 3, 30 rpm and 1 minute. However, the rotor No. When the viscosity measured under each condition of 3, 60 rpm and 1 minute is 4000 mPa · s or more, the viscosity of the obtained mixture at 25 ° C. is determined as rotor No. Values measured under conditions of 3, 6 rpm and 1 minute were adopted.
混合剤の粘度が200mPa・s以上、10000mPa・s以下である場合を「ジェル状」、混合剤の粘度が200mPa・s未満である場合を「液状」と判定した。 The case where the viscosity of the mixture was 200 mPa · s or more and 10000 mPa · s or less was judged as “gel”, and the case where the viscosity of the mixture was less than 200 mPa · s was judged as “liquid”.
(2)塗布時の垂れ落ちの官能評価
キャンデリラロウ15.0質量%と、ミツロウ5.0質量%と、高融点マイクロクリスタリンワックス5.0質量%と、モノステアリン酸ソルビタン3.0質量%と、ポリオキシエチレンセチルエーテル(20E.O.)3.0質量%と、流動パラフィン10.0質量%と、2−エチルヘキサン酸セチル5.0質量%と、ステアリン酸1.0質量%と、ステアリルアルコール1.0質量%と、カルボキシビニルポリマー0.1質量%と、水酸化ナトリウム0.3質量%と、精製46.6質量%とを含む組成物より形成されたヘアワックスを用意した。
(2) Sensory evaluation of dripping at the time of application Candelilla wax 15.0 mass%, beeswax 5.0 mass%, high melting point microcrystalline wax 5.0 mass%, sorbitan monostearate 3.0 mass% Polyoxyethylene cetyl ether (20E.O.) 3.0% by mass, liquid paraffin 10.0% by mass, cetyl 2-ethylhexanoate 5.0% by mass, stearic acid 1.0% by mass, A hair wax formed from a composition containing 1.0% by mass of stearyl alcohol, 0.1% by mass of carboxyvinyl polymer, 0.3% by mass of sodium hydroxide, and 46.6% by mass of purified was prepared. .
また、健常毛を有するウィッグ(レッスンマネキン:ユーカリジャパン社製)を用意した。このウィッグの毛髪を、得られたヘアワックスで整髪した。 In addition, a wig having healthy hair (Lesson Mannequin: manufactured by Eucalyptus Japan) was prepared. The hair of this wig was trimmed with the obtained hair wax.
官能評価パネル20名がそれぞれ、第1剤と第2剤との質量比(第1剤:第2剤)が1:2となるように、第2剤を含む容器2中に第1剤を入れ、図7に示す蓋51を取り付けて、均一になるまで混合し、混合剤を得た。官能評価パネル20名がそれぞれ、蓋51を図1に示す蓋3に取り換えて、混合剤を容器から蓋3のノズル12を経由して吐出し、ヘアワックスで整髪されたウィッグの毛の根元付近に混合剤を塗布した。
Each of the 20 sensory evaluation panels has the first agent in the
官能評価パネル20名が、塗布時の垂れ落ちについて、下記の判定基準で判定した。 Twenty sensory evaluation panels determined the sagging during application according to the following criteria.
[塗布時の垂れ落ちの判定基準]
○○:20名中16名以上が、塗布時に混合剤の垂れ落ちがないと回答
○:20名中11〜15名が、塗布時に混合剤の垂れ落ちがないと回答
△:20名中6〜10名が、塗布時に混合剤の垂れ落ちがないと回答
×:20名中5名以下が、塗布時に混合剤の垂れ落ちがないと回答
[Criteria for sagging during application]
○○: 16 or more of 20 respondents indicated that the mixture did not sag during application ○: 11 to 15 respondents indicated that the mixture did not sag during application △: 6 of 20 10 people answered that there was no dripping of the mixture at the time of application ×: 5 or less of 20 people answered that there was no dripping of the mixture at the time of application
混合剤が液状であり、塗布時の垂れ落ちの判定が「×」であった場合には、後述の(3)〜(5)の評価は行わなかった。 When the mixture was in a liquid state and the determination of dripping at the time of application was “x”, evaluations (3) to (5) described later were not performed.
(3)脱色又は染色時の泡立ちの官能評価
上記(2)の評価の後、官能評価パネル20名がそれぞれ、毛の根元付近に塗布された混合剤を、シャンプーをする要領で泡立てようと試みた。
(3) Sensory evaluation of foaming at the time of decoloring or dyeing After the evaluation of (2) above, each of the 20 sensory evaluation panels tried to foam the mixture applied near the hair root in the manner of shampooing. It was.
官能評価パネル20名が、泡立て時の泡立ち(起泡性)について、下記の判定基準で判定した。 Twenty sensory evaluation panels determined the foaming (foaming property) during foaming according to the following criteria.
[泡立ちの判定基準]
○○:20名中16名以上が、容易に泡立ち、起泡性に優れると回答
○:20名中11〜15名が、容易に泡立ち、起泡性に優れると回答
△:20名中6〜10名が、容易に泡立ち、起泡性に優れると回答
×:20名中5名以下が、容易に泡立ち、起泡性に優れるか回答(全く泡立たない場合も含む)
[Criteria for foaming]
○○: More than 16 out of 20 responded that they easily foamed and were excellent in foaming properties ○: 11-15 out of 20 responded that they were easily foamed and excellent in foaming properties Δ: 6 out of 20 people 10 people answered that it was easily foamed and excellent in foaming properties. X: 5 or less of 20 responded that they were easily foamed and excellent in foaming properties (including cases where no foaming occurred at all).
(4)放置中の垂れ落ちの官能評価
上記(3)の評価の後、官能評価パネル20名がそれぞれ、泡立ててから又は全く泡立たなかった場合には泡立てようとする作業をしてから30分間放置した。
(4) Sensory evaluation of dripping during standing After the evaluation of (3) above, each of the 20 sensory evaluation panels foamed or did not foam at all, and then worked for 30 minutes. I left it alone.
官能評価パネル20名が、30分間放置している間の垂れ落ちについて、下記の判定基準で判定した。 Twenty sensory evaluation panels were judged on the following criteria for sagging while left for 30 minutes.
[放置中の垂れ落ちの判定基準]
○○:20名中16名以上が、放置中に毛髪からの混合剤の垂れ落ちがないと回答
○:20名中11〜15名が、放置中に毛髪からの混合剤の垂れ落ちがないと回答
△:20名中6〜10名が、放置中に毛髪からの混合剤の垂れ落ちがないと回答
×:20名中5名以下が、放置中に毛髪からの混合剤の垂れ落ちがないと回答
[Judgment criteria for dripping while left]
○○: More than 16 out of 20 people answered that the mixture did not drip from the hair during standing ○: 11 to 15 out of 20 people did not drip the mixture from the hair during standing △: 6-10 out of 20 people answered that the mixture did not sag from the hair during standing ×: 5 or less of 20 people spilled the mixture from the hair during standing No answer
(5)脱色又は染色後の仕上がり感の評価
上記(4)の評価の後、官能評価パネル20名がそれぞれ、30分間放置後の混合剤を温水で洗い流した。次に、タオルドライ及びドライヤーによる温風乾燥を行った。
(5) Evaluation of finishing feeling after decoloring or dyeing After the evaluation in (4) above, each of the 20 sensory evaluation panels washed the mixture after leaving for 30 minutes with warm water. Next, warm air drying by towel drying and a dryer was performed.
官能評価パネル20名が、脱色又は染色されたウィッグの毛髪の仕上がり感について、下記の判定基準で判定した。 Twenty sensory evaluation panels judged the finish of the hair of the wig that was decolored or dyed according to the following criteria.
[仕上がり感の判定基準]
○○:20名中16名以上が、むらがなく、毛の根元まで均一に脱色又は染色されていると回答
○:20名中11〜15名が、むらがなく、毛の根元まで均一に脱色又は染色されていると回答
△:20名中6〜10名が、むらがなく、毛の根元まで均一に脱色又は染色されていると回答
×:20名中5名以下が、むらがなく、毛の根元まで均一に脱色又は染色されていると回答
[Criteria for finishing feeling]
○○: More than 16 out of 20 people answered that there was no unevenness and the hair was evenly decolored or dyed. ○: 11-15 out of 20 people were even and evenly up to the hair root. △: 6-10 out of 20 responded that there was no unevenness and evenly decolored or dyed to the root of the hair. ×: 5 or less out of 20 responded without unevenness. Reply that the hair roots are evenly decolored or dyed
第1剤及び第2剤の組成及び評価結果を下記の表1,2に示す。下記の表1,2における各成分の含有量の配合単位は「質量部」である。下記の表1,2における各成分の含有量は全て、原料として配合した配合量を示す。 The compositions and evaluation results of the first agent and the second agent are shown in Tables 1 and 2 below. The blending unit of the content of each component in the following Tables 1 and 2 is “part by mass”. The content of each component in the following Tables 1 and 2 indicates the blending amount blended as a raw material.
1…塗布具
2…容器
2a…底部
2b…開口部
2c…筒部
2d…雄ねじ部
2e…滑り止め部
3…蓋
11…蓋本体
11a…筒部
11b…上壁部
11c…基端部
11d…雌ねじ部
11e…滑り止め部
12…ノズル
12a…流路
12b…流入口
12c…流出口
51…蓋
51a…筒部
51b…上壁部
DESCRIPTION OF
Claims (12)
前記第1剤及び前記第2剤はそれぞれ液状又はジェル状であり、
多剤式の脱色剤又は酸化染毛剤が酸化染毛剤である場合には、前記第1剤が酸化染料を含み、
前記第1剤及び前記第2剤の内の少なくとも一方が、アニオン性界面活性剤及び両性界面活性剤の内の少なくとも1種の第1の界面活性剤成分を含み、
前記第1剤及び前記第2剤の内の少なくとも一方が、第2の界面活性剤成分としてノニオン性界面活性剤を含み、
多剤式の脱色剤又は酸化染毛剤が混合された混合剤はジェル状である、脱色剤又は酸化染毛剤。 A multi-component bleaching agent or oxidative hair dye comprising at least a first agent containing an alkaline agent and a second agent containing an oxidizing agent, which is mixed and used as a mixing agent,
Each of the first agent and the second agent is liquid or gel,
When the multi-component bleaching agent or oxidative hair dye is an oxidative hair dye, the first agent contains an oxidative dye,
At least one of the first agent and the second agent includes at least one first surfactant component of an anionic surfactant and an amphoteric surfactant,
At least one of the first agent and the second agent contains a nonionic surfactant as a second surfactant component,
A decoloring agent or an oxidative hair dye, in which the mixed agent in which a multi-component decoloring agent or an oxidative hair dye is mixed is a gel.
前記第2剤が、前記第1の界面活性剤成分と前記増粘性高分子とを含む、請求項2〜5のいずれか1項に記載の脱色剤又は酸化染毛剤。 The first agent includes the first surfactant component and the thickening polymer, and the second agent includes the first surfactant component and the thickening polymer. Item 5. The decolorizing agent or oxidative hair dye according to any one of Items 2 to 5.
前記混合剤をジェル状である状態で毛髪に塗布する工程と、
毛髪に塗布されたジェル状の混合剤を泡立てる工程とを備える、毛髪の脱色又は染色方法。 Mixing the bleaching agent or oxidative hair dye according to any one of claims 1 to 10 in a multi-drug form to form a gel-like mixture;
Applying the mixture to the hair in a gel state;
A method for decoloring or dyeing hair, comprising a step of foaming a gel-like mixture applied to hair.
前記混合剤をジェル状である状態で容器から吐出して、毛髪に塗布する工程と、
毛髪に塗布されたジェル状の混合剤を毛髪上で泡立てて泡状にする工程とを備える、請求項11に記載の毛髪の脱色又は染色方法。 Mixing the multi-component bleaching agent or oxidative hair dye in a container to form a gel-like mixture;
Discharging the mixture in a gel state from a container and applying to the hair;
The method for decoloring or dyeing hair according to claim 11, comprising a step of foaming a gel-like mixture applied to the hair to form a foam on the hair.
Priority Applications (1)
| Application Number | Priority Date | Filing Date | Title |
|---|---|---|---|
| JP2010257504A JP5824763B2 (en) | 2010-11-18 | 2010-11-18 | Decoloring agent or oxidative hair dye, and method for decoloring or dyeing hair |
Applications Claiming Priority (1)
| Application Number | Priority Date | Filing Date | Title |
|---|---|---|---|
| JP2010257504A JP5824763B2 (en) | 2010-11-18 | 2010-11-18 | Decoloring agent or oxidative hair dye, and method for decoloring or dyeing hair |
Publications (2)
| Publication Number | Publication Date |
|---|---|
| JP2012106950A true JP2012106950A (en) | 2012-06-07 |
| JP5824763B2 JP5824763B2 (en) | 2015-12-02 |
Family
ID=46493007
Family Applications (1)
| Application Number | Title | Priority Date | Filing Date |
|---|---|---|---|
| JP2010257504A Active JP5824763B2 (en) | 2010-11-18 | 2010-11-18 | Decoloring agent or oxidative hair dye, and method for decoloring or dyeing hair |
Country Status (1)
| Country | Link |
|---|---|
| JP (1) | JP5824763B2 (en) |
Cited By (7)
| Publication number | Priority date | Publication date | Assignee | Title |
|---|---|---|---|---|
| JP2013184965A (en) * | 2012-03-12 | 2013-09-19 | Mandom Corp | Hair treatment agent and method for treating hair |
| JP2013184969A (en) * | 2012-03-12 | 2013-09-19 | Mandom Corp | First agent for hair treatment agent, hair treatment agent, and method for treating hair |
| JP2013184968A (en) * | 2012-03-12 | 2013-09-19 | Mandom Corp | Second agent for hair treatment agent, hair treatment agent, and method for treating hair |
| JP2013184966A (en) * | 2012-03-12 | 2013-09-19 | Mandom Corp | Hair treatment agent and method for treating hair |
| JP2013184964A (en) * | 2012-03-12 | 2013-09-19 | Mandom Corp | Hair treatment agent and method for treating hair |
| JP2014108936A (en) * | 2012-11-30 | 2014-06-12 | Dariya:Kk | Hair cosmetic composition |
| JP2014141468A (en) * | 2012-12-25 | 2014-08-07 | Nakano Seiyaku Kk | Two-component type oxidative hair dye and first component for bleach |
Citations (11)
| Publication number | Priority date | Publication date | Assignee | Title |
|---|---|---|---|---|
| JPH01106813A (en) * | 1987-09-24 | 1989-04-24 | Henkel Kgaa | Emulsion type hydrogen peroxide drug for decoloring hair and oxidation dyeing hair |
| JPH0782122A (en) * | 1993-08-26 | 1995-03-28 | Bristol Myers Squibb Co | Oxidizing hair dye composition |
| JPH0940534A (en) * | 1995-07-27 | 1997-02-10 | Shiseido Co Ltd | Hair dye composition of type mixed on employment |
| JP2001525351A (en) * | 1997-12-08 | 2001-12-11 | ヘンケル・コマンディットゲゼルシャフト・アウフ・アクチエン | Hair dye preparation |
| JP2002193772A (en) * | 2000-12-27 | 2002-07-10 | Hoyu Co Ltd | Hair dye composition |
| JP2002544215A (en) * | 1999-05-12 | 2002-12-24 | ウエラ アクチェンゲゼルシャフト | Oxidized hair dye |
| JP2007119480A (en) * | 2005-10-27 | 2007-05-17 | Kwangduk Pharmaceutical Co Ltd | Hair dye composition and method for producing the same |
| JP2008137937A (en) * | 2006-12-01 | 2008-06-19 | Milbon Co Ltd | Second agent composition for hair dyeing |
| JP2009541300A (en) * | 2006-07-12 | 2009-11-26 | ザ プロクター アンド ギャンブル カンパニー | Gel network surfactant thickening system for hair dyeing and decoloring compositions |
| WO2010106789A1 (en) * | 2009-03-18 | 2010-09-23 | 花王株式会社 | Hair dyeing method |
| JP2013541570A (en) * | 2010-11-02 | 2013-11-14 | ロレアル | Dye composition with low ammonia content |
-
2010
- 2010-11-18 JP JP2010257504A patent/JP5824763B2/en active Active
Patent Citations (11)
| Publication number | Priority date | Publication date | Assignee | Title |
|---|---|---|---|---|
| JPH01106813A (en) * | 1987-09-24 | 1989-04-24 | Henkel Kgaa | Emulsion type hydrogen peroxide drug for decoloring hair and oxidation dyeing hair |
| JPH0782122A (en) * | 1993-08-26 | 1995-03-28 | Bristol Myers Squibb Co | Oxidizing hair dye composition |
| JPH0940534A (en) * | 1995-07-27 | 1997-02-10 | Shiseido Co Ltd | Hair dye composition of type mixed on employment |
| JP2001525351A (en) * | 1997-12-08 | 2001-12-11 | ヘンケル・コマンディットゲゼルシャフト・アウフ・アクチエン | Hair dye preparation |
| JP2002544215A (en) * | 1999-05-12 | 2002-12-24 | ウエラ アクチェンゲゼルシャフト | Oxidized hair dye |
| JP2002193772A (en) * | 2000-12-27 | 2002-07-10 | Hoyu Co Ltd | Hair dye composition |
| JP2007119480A (en) * | 2005-10-27 | 2007-05-17 | Kwangduk Pharmaceutical Co Ltd | Hair dye composition and method for producing the same |
| JP2009541300A (en) * | 2006-07-12 | 2009-11-26 | ザ プロクター アンド ギャンブル カンパニー | Gel network surfactant thickening system for hair dyeing and decoloring compositions |
| JP2008137937A (en) * | 2006-12-01 | 2008-06-19 | Milbon Co Ltd | Second agent composition for hair dyeing |
| WO2010106789A1 (en) * | 2009-03-18 | 2010-09-23 | 花王株式会社 | Hair dyeing method |
| JP2013541570A (en) * | 2010-11-02 | 2013-11-14 | ロレアル | Dye composition with low ammonia content |
Cited By (7)
| Publication number | Priority date | Publication date | Assignee | Title |
|---|---|---|---|---|
| JP2013184965A (en) * | 2012-03-12 | 2013-09-19 | Mandom Corp | Hair treatment agent and method for treating hair |
| JP2013184969A (en) * | 2012-03-12 | 2013-09-19 | Mandom Corp | First agent for hair treatment agent, hair treatment agent, and method for treating hair |
| JP2013184968A (en) * | 2012-03-12 | 2013-09-19 | Mandom Corp | Second agent for hair treatment agent, hair treatment agent, and method for treating hair |
| JP2013184966A (en) * | 2012-03-12 | 2013-09-19 | Mandom Corp | Hair treatment agent and method for treating hair |
| JP2013184964A (en) * | 2012-03-12 | 2013-09-19 | Mandom Corp | Hair treatment agent and method for treating hair |
| JP2014108936A (en) * | 2012-11-30 | 2014-06-12 | Dariya:Kk | Hair cosmetic composition |
| JP2014141468A (en) * | 2012-12-25 | 2014-08-07 | Nakano Seiyaku Kk | Two-component type oxidative hair dye and first component for bleach |
Also Published As
| Publication number | Publication date |
|---|---|
| JP5824763B2 (en) | 2015-12-02 |
Similar Documents
| Publication | Publication Date | Title |
|---|---|---|
| JP5919040B2 (en) | Hair treatment method | |
| JP5824763B2 (en) | Decoloring agent or oxidative hair dye, and method for decoloring or dyeing hair | |
| CN101820852B (en) | Hair dye composition | |
| CN102316847B (en) | Two-pack type hair dye product | |
| JP6181826B2 (en) | Two-component hair dye | |
| JP5466884B2 (en) | Two-component foam hair dye | |
| JP5732240B2 (en) | Two-component hair dye | |
| JP5824764B2 (en) | Decoloring agent or oxidative hair dye, and method for decoloring or dyeing hair | |
| JP2006124279A (en) | Two-part hair cosmetic | |
| JP2009120605A (en) | Two-component hair dye | |
| WO2010103796A1 (en) | Two-pack type hair dye product | |
| JP5919041B2 (en) | Hair treatment agent kit and hair treatment method | |
| JP2008290949A (en) | Hair bleaching or dyeing composition | |
| JP5919039B2 (en) | Hair treatment agent kit and hair treatment method | |
| JP5885478B2 (en) | Two-component hair dye | |
| JP5707611B2 (en) | Decolorizer or oxidative hair dye applicator, applicator with decolorizer or oxidative hair dye, and method for decolorizing or dyeing hair | |
| JPH08168409A (en) | Hair coloring appliance | |
| US20160262994A1 (en) | Hair bleaching or hair dye cosmetics | |
| JP5919044B2 (en) | Hair treatment agent kit and hair treatment method | |
| JP5919042B2 (en) | Hair treatment agent kit and hair treatment method | |
| JP2009120604A (en) | Two-component hair dye | |
| JP5919043B2 (en) | Hair treatment agent kit and hair treatment method | |
| JP5759149B2 (en) | First agent composition and multi-component bleaching or oxidative hair dye | |
| JP2015083555A (en) | Method of dyeing or decoloring hair | |
| JP2015083553A (en) | Hair dyeing or decoloring method |
Legal Events
| Date | Code | Title | Description |
|---|---|---|---|
| A621 | Written request for application examination |
Free format text: JAPANESE INTERMEDIATE CODE: A621 Effective date: 20130730 |
|
| A977 | Report on retrieval |
Free format text: JAPANESE INTERMEDIATE CODE: A971007 Effective date: 20140314 |
|
| A131 | Notification of reasons for refusal |
Free format text: JAPANESE INTERMEDIATE CODE: A131 Effective date: 20140422 |
|
| A521 | Request for written amendment filed |
Free format text: JAPANESE INTERMEDIATE CODE: A523 Effective date: 20140619 |
|
| A131 | Notification of reasons for refusal |
Free format text: JAPANESE INTERMEDIATE CODE: A131 Effective date: 20150127 |
|
| A601 | Written request for extension of time |
Free format text: JAPANESE INTERMEDIATE CODE: A601 Effective date: 20150327 |
|
| A521 | Request for written amendment filed |
Free format text: JAPANESE INTERMEDIATE CODE: A523 Effective date: 20150428 |
|
| TRDD | Decision of grant or rejection written | ||
| A01 | Written decision to grant a patent or to grant a registration (utility model) |
Free format text: JAPANESE INTERMEDIATE CODE: A01 Effective date: 20150915 |
|
| A61 | First payment of annual fees (during grant procedure) |
Free format text: JAPANESE INTERMEDIATE CODE: A61 Effective date: 20150924 |
|
| R150 | Certificate of patent or registration of utility model |
Ref document number: 5824763 Country of ref document: JP Free format text: JAPANESE INTERMEDIATE CODE: R150 |
|
| R250 | Receipt of annual fees |
Free format text: JAPANESE INTERMEDIATE CODE: R250 |
|
| R250 | Receipt of annual fees |
Free format text: JAPANESE INTERMEDIATE CODE: R250 |
|
| R250 | Receipt of annual fees |
Free format text: JAPANESE INTERMEDIATE CODE: R250 |
|
| R250 | Receipt of annual fees |
Free format text: JAPANESE INTERMEDIATE CODE: R250 |
|
| R250 | Receipt of annual fees |
Free format text: JAPANESE INTERMEDIATE CODE: R250 |
|
| R250 | Receipt of annual fees |
Free format text: JAPANESE INTERMEDIATE CODE: R250 |
|
| R250 | Receipt of annual fees |
Free format text: JAPANESE INTERMEDIATE CODE: R250 |
|
| R250 | Receipt of annual fees |
Free format text: JAPANESE INTERMEDIATE CODE: R250 |
