JP2012024967A - One hand braille typewriter - Google Patents

One hand braille typewriter Download PDF

Info

Publication number
JP2012024967A
JP2012024967A JP2010163793A JP2010163793A JP2012024967A JP 2012024967 A JP2012024967 A JP 2012024967A JP 2010163793 A JP2010163793 A JP 2010163793A JP 2010163793 A JP2010163793 A JP 2010163793A JP 2012024967 A JP2012024967 A JP 2012024967A
Authority
JP
Japan
Prior art keywords
braille
lever
upper wall
printing
print
Prior art date
Legal status (The legal status is an assumption and is not a legal conclusion. Google has not performed a legal analysis and makes no representation as to the accuracy of the status listed.)
Pending
Application number
JP2010163793A
Other languages
Japanese (ja)
Inventor
Ichiro Fukumoto
一朗 福本
Akira Sahashi
昭 佐橋
Taku Sahashi
拓 佐橋
Current Assignee (The listed assignees may be inaccurate. Google has not performed a legal analysis and makes no representation or warranty as to the accuracy of the list.)
PROJECT AI KK
Original Assignee
PROJECT AI KK
Priority date (The priority date is an assumption and is not a legal conclusion. Google has not performed a legal analysis and makes no representation as to the accuracy of the date listed.)
Filing date
Publication date
Application filed by PROJECT AI KK filed Critical PROJECT AI KK
Priority to JP2010163793A priority Critical patent/JP2012024967A/en
Publication of JP2012024967A publication Critical patent/JP2012024967A/en
Pending legal-status Critical Current

Links

Images

Landscapes

  • Printers Characterized By Their Purpose (AREA)

Abstract

PROBLEM TO BE SOLVED: To provide a one hand braille typewriter which can be operated easily with one hand based on a key arrangement corresponding to arrangement of six braille components by taking advantage of a fact that a braille is specified by a braille structure consisting of six braille components.SOLUTION: When the input key 22 of a print lever member 20a out of six print lever members is depressed, a rocking lever 21 of the print lever member 20a rocks with reference to a support member 50 and moves a front side lever 21c upward so that a corresponding part of a tape 70 is projected by the print part thereof. Remaining print lever members operate similarly and each corresponding part of the tape 70 is projected by each print part. Consequently, a braille is printed on the tape.

Description

本発明は、点字タイプライターに係り、特に片手で点字入力可能な片手点字タープライターに関する。   The present invention relates to a braille typewriter, and more particularly, to a one-handed braille turner capable of inputting braille with one hand.

近年、各地で地震災害や水害が起きているが、このような被災地において被災する強度弱視障害者や全盲視障害者等の視覚障害被災者も、当然のことながら、救済の対象となり、守られねばならない。   In recent years, earthquake disasters and floods have occurred in various places. Naturally, visually impaired people such as those with severe amblyopia and those with total blindness who are affected in such disaster areas are also subject to relief and are protected. It must be done.

しかしながら、これらの視覚障害被災者たる災害弱者は、後回しにされているのが現状である。従って、これを是正するにあたり、被災地の避難所において、視覚障害被災者を保護するための点字による情報伝達が必須である。このことは、避難所においても、点字タイプライターが必須であることを意味する。   However, the current situation is that these vulnerable people who are suffering from visual impairments are left behind. Therefore, in order to correct this, it is essential to transmit information in Braille to protect the visually impaired at the evacuation shelter in the disaster area. This means that braille typewriters are essential even at shelters.

特開2001−166684号公報JP 2001-166684 A 特開平20−268756号公報Japanese Patent Laid-Open No. 20-268756

しかしながら、点字タイプライターとしては、上記特許文献1に記載の指点字装置のような練習機器とか特許文献2に記載の電子点字装置のように操作の複雑なものしか存在しない。   However, there are only Braille typewriters such as practice devices such as the finger Braille device described in the above-mentioned Patent Document 1 and complicated operations such as the electronic Braille device described in the Patent Document 2.

そこで、本発明は、以上のようなことに対処するため、点字が6つの点字構成要素からなる点字構成体で特定されることを活用して、6つの点字構成要素の配列に対応するキー配列のもとに、片手で簡単に操作可能な片手点字タイプライターを提供することを目的とする。   Therefore, in order to cope with the above, the present invention utilizes the fact that Braille is specified by a Braille component composed of six Braille components, and a key array corresponding to an array of six Braille components. It is an object of the present invention to provide a one-handed Braille typewriter that can be easily operated with one hand.

上記課題の解決にあたり、本発明に係る片手点字タイプライターは、請求項1の記載によれば、
第1〜第3の点字構成要素(Fa、Ma、Ra)及び当該第1〜第3の点字構成要素にそれぞれ対応する第4〜第6の点字構成要素(Fb、Mb、Rb)でもって左右2列に配列してなる点字構成体(L)を用いて、操作者により、その片手の指の操作でもって、点字をテープ(70)に順次印字可能とするようにした片手点字タイプライターであって、
ハウジング(10)と、点字印字機構(T)と、送り機構(S)とを備えて、
ハウジングは、その上壁(10b)の前寄り部位にて、印字用開口部(15)を形成するとともに、上記上壁の後寄り部位にて、上記点字構成体の上記第1〜第6の点字構成要素にそれぞれ対応して位置するように第1〜第6の貫通孔部(12a、12b、13a、13b、14a、14b)を形成してなり、
点字印字機構は、
第1〜第6の印字レバー部材(20a、20b、30a、30b、40a、40b)と、第1〜第6のバネ部材(23、26、33、36、43、46)とを具備して、
第1〜第6の印字レバー部材は、
ハウジング内にてその前後方向に沿い下に凸な形状にて長手状に延在するように収容されるレバーであってその長手方向中間部位にて、上下方向に揺動可能にハウジング内に支持されるレバー(21、31、41、24、34、44)と、押動式入力キー(22、32、42、25、35、45)とをそれぞれ有し、
各レバーの前部(21c、31c、41c、24c、34c、44c)を、上記点字構成体の上記第1〜第6の点字構成要素の各位置に対応する位置にて上記上壁の上記印字用開口部をその下方から臨ませ、かつ、各レバーの後部(21b、31b、41b、24b、34b、44b)を、それぞれ、上記上壁の上記第1〜第6の貫通孔部を通り上下動可能に延出させ、
各対応の入力キーを、それぞれ、各対応のレバーの後部の延出端部に支持し、
第1〜第6のバネ部材を、それぞれ、各対応の入力キーを上記上壁とは反対方向に付勢するように設けて、
操作者が、その片手の指にて、第1〜第6のバネ部材に選択的に抗して第1〜第6の入力キーを選択的に押動操作したとき、各対応のレバーが選択的に揺動してその前部にて印字可能に上記印字用開口部内に進入するようになっており、
送り機構は、
上記上壁の前記前寄り部位の上記印字用開口部に左右方向に隣接して形成される送り用開口部(16)をその直下から臨むようにハウジング内にその前後方向に沿う回転軸(60a)を軸として回転可能に支持されるローラ(60)と、
このローラの近傍にて上記上壁に形成した貫通孔部(17)を通り上下動可能に延出する送り軸(90a)の延出端部に支持される押動式送りキー(90)と、
当該送りキーを前記上壁とは反対方向方へ付勢するバネ部材(92)と、
このバネ部材に抗して送りキーを押動するごとにロータを回転させるように、上記送り軸とローラとの間に連結されるラチェット機構(80)とを備えて、
テープを押さえ板(70a)により押さえるようにして上記上壁の上記前寄り部位上に前記送り用開口部及び前記印字用開口部を覆うように載置した状態にて、前記各レバーの選択的な揺動によるその前部の上記印字用開口部内への進入の際に、当該前部にてテープに点字を印字し、その後上記送りキーの押動操作に伴うローラによりその回転でもって押さえ板による押さえのもとに上記送り用開口部を介してテープを送るようにした。
In solving the above-mentioned problems, the one-hand Braille typewriter according to the present invention, according to the description of claim 1,
Left and right with first to third braille components (Fa, Ma, Ra) and fourth to sixth braille components (Fb, Mb, Rb) respectively corresponding to the first to third braille components A one-hand Braille typewriter that uses braille structures (L) arranged in two rows, and allows an operator to operate the finger of one hand to sequentially print braille on the tape (70). There,
A housing (10), a Braille printing mechanism (T), and a feed mechanism (S);
The housing forms a printing opening (15) at the front portion of the upper wall (10b), and the first to sixth of the Braille structure at the rear portion of the upper wall. First to sixth through-hole portions (12a, 12b, 13a, 13b, 14a, 14b) are formed so as to correspond to the braille components,
Braille printing mechanism
First to sixth print lever members (20a, 20b, 30a, 30b, 40a, 40b) and first to sixth spring members (23, 26, 33, 36, 43, 46) are provided. ,
The first to sixth print lever members are
A lever that is housed in the housing so as to extend in a longitudinally convex shape along its front-rear direction, and is supported in the housing so that it can swing in the vertical direction at an intermediate portion in the longitudinal direction. Levers (21, 31, 41, 24, 34, 44) and push-type input keys (22, 32, 42, 25, 35, 45), respectively,
The front wall (21c, 31c, 41c, 24c, 34c, 44c) of each lever is printed on the upper wall at a position corresponding to each position of the first to sixth braille components of the braille component. And the rear part (21b, 31b, 41b, 24b, 34b, 44b) of each lever passes through the first to sixth through-hole parts of the upper wall and moves up and down. Extend movably,
Each corresponding input key is supported on the extended end of the rear of each corresponding lever,
The first to sixth spring members are respectively provided so as to urge the corresponding input keys in the direction opposite to the upper wall,
When the operator selectively pushes the first to sixth input keys against the first to sixth spring members with the finger of one hand, the corresponding lever is selected. Oscillates so as to enter the printing opening so that printing is possible at the front part thereof,
The feed mechanism
A rotation shaft (60a) along the front-rear direction in the housing so that the feed opening (16) formed adjacent to the printing opening at the front portion of the upper wall in the left-right direction faces directly below it. ) As a shaft, and a roller (60) supported rotatably.
A push-type feed key (90) supported by an extension end of a feed shaft (90a) extending in the vicinity of this roller so as to be movable up and down through a through hole (17) formed in the upper wall; ,
A spring member (92) for urging the feed key in the direction opposite to the upper wall;
A ratchet mechanism (80) connected between the feed shaft and the roller so as to rotate the rotor each time the feed key is pushed against the spring member;
In a state where the tape is pressed by the pressing plate (70a) and placed on the front side portion of the upper wall so as to cover the feeding opening and the printing opening, the respective levers are selectively operated. When the front part enters into the printing opening by a rocking motion, Braille is printed on the tape at the front part, and then the presser plate is rotated by the roller accompanying the pushing operation of the feed key. The tape was fed through the above-mentioned feeding opening under the pressure of the.

これによれば、当該片手点字タイプライターを用いて点字を印字するにあたっては、操作者が、その片手の指(例えば、人差し指及び中指)でもって、6つの入力キーを選択的に押動操作すれば、対応の印字レバー部材の揺動に基づきテープに点字を印字することができる。   According to this, when printing Braille using the one-hand Braille typewriter, the operator can selectively push the six input keys with the finger of one hand (for example, the index finger and the middle finger). For example, Braille can be printed on the tape based on the swing of the corresponding print lever member.

ここで、各印字レバー部材の入力キー及び印字部が、上述のごとく、点字構成体の点字構成体における6つの点字構成要素の配置に対応している。従って、五十音等の文字とこれに対応する点字の構成の参照のもとに、弱視者に限らず、健常者であって点字に関し何の知識もない者や当該片手点字タイプライターの操作の仕方を知らない初心者であっても、点字構成体の各点字構成要素に対応する入力キーを押動操作するだけで、容易にしかも確実に点字をテープに印字することができる。   Here, as described above, the input key and the printing unit of each print lever member correspond to the arrangement of the six braille components in the braille component of the braille component. Therefore, with reference to the composition of the Japanese syllabary and the corresponding braille structure, not only the low vision person but also a healthy person who has no knowledge of braille or the operation of the one-handed braille typewriter Even a beginner who does not know how to do this can easily and surely print Braille on a tape simply by pressing an input key corresponding to each Braille component of the Braille component.

また、点字の印字後、テープ送るにあたっては、操作者が、片手の親指で送りキーを押動操作すれば、ラチェット機構によるローラの回転のもとに、テープを容易にしかも確実に送ることができる。   In addition, when the tape is fed after Braille printing, if the operator pushes the feed key with the thumb of one hand, the tape can be fed easily and reliably under the rotation of the roller by the ratchet mechanism. it can.

なお、上記各手段の括弧内の符号は、後述する実施形態に記載の具体的手段との対応関係を示す。   In addition, the code | symbol in the bracket | parenthesis of each said means shows the correspondence with the specific means as described in embodiment mentioned later.

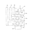
本発明に係る片手点字タイプラータの一実施形態を示す平面図である。It is a top view which shows one Embodiment of the one-handed Braille type lata which concerns on this invention. 図1にて2−2線に沿う縦断面図である。FIG. 2 is a longitudinal sectional view taken along line 2-2 in FIG. 図1にて3−3線に沿う横断面図である。FIG. 3 is a transverse sectional view taken along line 3-3 in FIG. 上記一実施形態における点字印字機構のうちの内印字レバー部材の部分破断側面図である。It is a partially broken side view of the inner print lever member of the Braille printing mechanism in the one embodiment. 上記一実施形態における点字印字機構のうちの内印字レバー部材の部分破断平面図である。It is a partially broken top view of the inner printing lever member of the braille printing mechanism in the one embodiment. 上記一実施形態における各左側の内印字レバー部材、中印字レバー部材及び外印字レバー部材の支持部材による支持構成を示す部分破断概略側面図である。It is a partial fracture schematic side view which shows the support structure by the supporting member of each left inner printing lever member, middle printing lever member, and outer printing lever member in the one embodiment. 上記一実施形態における持部材の左側面図である。It is a left view of the holding member in the said one Embodiment. (a)、(b)及び(c)は、それぞれ、図7にてX−X線、Y−Y線及びZ−Z線に沿う前後方向横断面図である。(A), (b) and (c) are the front-back direction cross-sectional views which follow the XX line, the YY line, and the ZZ line in FIG. 7, respectively. 上記一実施形態におけるテープ送り機構を示す平面図である。It is a top view which shows the tape feed mechanism in the said one Embodiment. 上記一実施形態におけるテープ送り機構を示す概略側面図である。It is a schematic side view which shows the tape feed mechanism in the said one Embodiment. 上記一実施形態におけるテープ送り機構をラチェット機構及び入力キーとの関連にて後側からみた図である。It is the figure which looked at the tape feeding mechanism in the said one embodiment from the rear side in relation to a ratchet mechanism and an input key. テープに印字される点字の6つの点字構成要素の配置構成を示す概略図である。It is the schematic which shows the arrangement configuration of the six braille components of the Braille printed on a tape. 点字を五十音との関連で示す点字図表である。It is a Braille diagram which shows Braille in relation to the Japanese syllabary.

以下、本発明の一実施形態を図面により説明する。図1〜図3は、本発明に係る片手点字タイプライターの一実施形態を示している。この片手点字タイプライターは、直方体形状のハウジング10と、このハウジング10に組み付けてなる点字印字機構T及びテープ送り機構Sとにより構成されている。   Hereinafter, an embodiment of the present invention will be described with reference to the drawings. 1 to 3 show an embodiment of a one-handed Braille typewriter according to the present invention. This one-hand Braille type writer includes a rectangular parallelepiped housing 10 and a Braille printing mechanism T and a tape feeding mechanism S assembled to the housing 10.

ハウジング10は、断面コ字状のハウジング本体10aと、矩形板状の上壁10bとを有している。この上壁10bは、ハウジング本体10aの開口部に着脱可能に装着されて、当該ハウジング本体10aの開口部を閉じている。本実施形態では、上壁10bは、後述する各押しボタン式入力キー及び送りキーと共に、当該片手点字タイプライターのキーボードとしての役割を果たす。なお、図1において、図示左右方向が当該片手点字タイプライターの前後方向に対応する。これに伴い、図示上方及び下方が、それぞれ、当該片手点字タイプライターの右方及び左方に対応する。また、本実施形態では、ハウジング10は、鉄板等の金属板でもって形成されている。   The housing 10 has a housing body 10a having a U-shaped cross section and a rectangular plate-shaped upper wall 10b. The upper wall 10b is detachably attached to the opening of the housing body 10a, and closes the opening of the housing body 10a. In the present embodiment, the upper wall 10b plays a role as a keyboard of the one-handed Braille typewriter together with each push button type input key and feed key described later. In FIG. 1, the horizontal direction in the figure corresponds to the front-rear direction of the one-handed Braille typewriter. Accordingly, the upper and lower parts in the figure correspond to the right side and the left side of the one-handed Braille typewriter, respectively. In the present embodiment, the housing 10 is formed of a metal plate such as an iron plate.

点字印字機構Tは、図1にて示すごとく、6本の印字レバー部材20a、20b、30a、30b、40a及び40bを有している。これら印字レバー部材20a、20b、30a、30b、40a及び40bのうち、2本の印字レバー部材20a、20bは、左右両側の内印字レバー部材20a、20bとして、それぞれ、支持部材50(後述する)にその左右両側から上下方向に傾動可能に支持され、2本の印字レバー部材30a、30bは、左右両側の中印字レバー部材30a、30bとして、それぞれ、支持部材50にその左右両側から上下方向に傾動可能に支持され、また、残りの2本の印字レバー部材40a、40bは、左右両側の外印字レバー部材40a、40bとして、それぞれ、支持部材50にその左右両側から上下方向に傾動可能に支持されている。   As shown in FIG. 1, the Braille printing mechanism T has six printing lever members 20a, 20b, 30a, 30b, 40a and 40b. Of these print lever members 20a, 20b, 30a, 30b, 40a and 40b, the two print lever members 20a and 20b are the support members 50 (described later) as the inner print lever members 20a and 20b on the left and right sides, respectively. The two print lever members 30a and 30b are supported as the middle print lever members 30a and 30b on both the left and right sides of the support member 50 in the vertical direction from the left and right sides, respectively. The remaining two print lever members 40a and 40b are supported as tiltable to the left and right as outer print lever members 40a and 40b, respectively, and are supported by the support member 50 so as to be tiltable in the vertical direction from the left and right sides. Has been.

本実施形態において、支持部材50は、図6〜図8のいずれかにて示すごとく、3つのブロック体50a〜50cからなるもので、これらブロック体50a〜50cは、互いに一体的に形成されている。当該ブロック体50a〜50cのうち、ブロック体50cは、台座50d(図2或いは図6参照)を介し、ハウジング本体10aの底壁11の前側部位のうちその中間部位上に設けられている。なお、台座50dは、その下壁にて、ハウジング本体10aの底壁11の前側部位のうちその中間部位上に固着されており、ブロック体50cは、その下壁にて、台座50dの上壁上に固着されている。   In the present embodiment, the support member 50 includes three block bodies 50a to 50c as shown in any of FIGS. 6 to 8, and these block bodies 50a to 50c are integrally formed with each other. Yes. Among the block bodies 50a to 50c, the block body 50c is provided on an intermediate portion of the front portion of the bottom wall 11 of the housing body 10a via a pedestal 50d (see FIG. 2 or FIG. 6). The pedestal 50d is fixed to the middle part of the front part of the bottom wall 11 of the housing body 10a at the lower wall, and the block body 50c is attached to the upper wall of the pedestal 50d at the lower wall. It is fixed on the top.

また、ブロック体50bは、その底壁にて、ブロック体50cの上壁上に積層されるように当該ブロック体50cと一体に形成されており、ブロック体50aは、その底壁にて、ブロック体50bの上壁上に積層されるように当該ブロック体50bと一体に形成されている(図7参照)。   Further, the block body 50b is integrally formed with the block body 50c so as to be laminated on the upper wall of the block body 50c at the bottom wall, and the block body 50a is blocked at the bottom wall by the block body 50c. It is integrally formed with the block body 50b so as to be laminated on the upper wall of the body 50b (see FIG. 7).

ブロック体50aは、図7にて示すごとく縦断面(ブロック体50aの前後方向に沿う断面)長方形状となるように、かつ、図8(a)にて示すごとく横断面(ブロック体50aの台座50dの上面に沿う前後方向断面)台形状となるように形成されている。ここで、ブロック体50aの左右方向幅は、図8(a)にて示すごとく、当該ブロック体50aの後壁から前壁にかけて順次狭くなっている。   The block body 50a has a vertical cross section (cross section along the front-rear direction of the block body 50a) as shown in FIG. 7, and a transverse cross section (a pedestal of the block body 50a) as shown in FIG. The cross-section in the front-rear direction along the upper surface of 50d is formed in a trapezoidal shape. Here, as shown in FIG. 8A, the width in the left-right direction of the block body 50a is gradually reduced from the rear wall to the front wall of the block body 50a.

これに伴い、当該ブロック体50aの左右両壁51は、当該ブロック体50aの後壁から前壁にかけて互いに接近するように傾斜しており、これら左右両壁51の各傾斜角度は、それぞれ、ブロック体50aの前後方向中心面に対し所定の鋭角α°となっている。この所定の鋭角α°は、後述のごとく、ブロック体50aに揺動可能に支持した左右両側の内印字レバー部材20a、20bの各印字部を、点字構成体L(図12参照)の6つの点字構成要素の両前側点字構成要素Fa、Fbに対応させるように設定されている。なお、点字構成体Lは、図12にて示すごとく、両前側点字構成要素Fa、Fb、両中側点字構成要素Ma、Mb及び両後側点字構成要素Ra、Rbでもって、6つの点字構成要素の配置構成となるように定められている。また、点字構成体Lは、図12にて示すごとく、前側点字構成要素Fa、中側点字構成要素Ma及び後側点字構成要素Raを左側一列に配置し、これら前側点字構成要素Fa、中側点字構成要素Ma及び後側点字構成要素Raの右側にそれぞれ位置するように前側点字構成要素Fb、中側点字構成要素Mb及び後側点字構成要素Rbを右側一列に配置して構成されている。   Accordingly, the left and right walls 51 of the block body 50a are inclined so as to approach each other from the rear wall to the front wall of the block body 50a. A predetermined acute angle α ° with respect to the center plane in the front-rear direction of the body 50a. As will be described later, the predetermined acute angle α ° corresponds to the six print portions of the braille component L (see FIG. 12) for the respective print portions of the left and right inner print lever members 20a and 20b supported so as to be swingable on the block body 50a. It is set so as to correspond to both front Braille components Fa and Fb of the Braille components. In addition, as shown in FIG. 12, the Braille component L is composed of six Braille components with both front Braille components Fa and Fb, both middle Braille components Ma and Mb, and both rear Braille components Ra and Rb. It is determined to be an element arrangement configuration. In addition, as shown in FIG. 12, the braille component L has a front braille component Fa, a middle braille component Ma, and a rear braille component Ra arranged in a line on the left side, and the front braille component Fa, the middle side, and the like. The front Braille component Fb, the middle Braille component Mb, and the rear Braille component Rb are arranged in a single line on the right side so as to be positioned on the right side of the Braille component Ma and the rear Braille component Ra, respectively.

ブロック体50bは、ブロック体50aと同様に、縦断面長方形状となるように、かつ、図8(b)にて示すごとく、横断面(ブロック体50bの台座50dの上面に沿う前後方向断面)台形状となるように形成されている。ここで、ブロック体50bの左右方向幅は、図8(b)にて示すごとく、当該ブロック体50bの後壁から前壁にかけて順次狭くなっている。   Similarly to the block body 50a, the block body 50b has a rectangular shape in the longitudinal section, and as shown in FIG. 8 (b), the cross section (cross section in the front-rear direction along the upper surface of the base 50d of the block body 50b). It is formed to be trapezoidal. Here, as shown in FIG. 8B, the width in the left-right direction of the block body 50b gradually decreases from the rear wall to the front wall of the block body 50b.

これに伴い、当該ブロック体50bの左右両壁52は、当該ブロック体50bの後壁から前壁にかけて互いに接近するように傾斜しており、これら左右両壁52の各傾斜角度は、それぞれ、ブロック体50bの前後方向中心面に対し所定の鋭角β°となっている。但し、当該所定の鋭角β°は、後述のごとく、ブロック体50bに揺動可能に支持した左右両側の中印字レバー部材30a、30bの各印字部を、点字構成体L(図12参照)の6つの点字構成要素の両中側点字構成要素Ma、Mbに対応させるように、所定の鋭角α°よりも小さく設定されている。従って、ブロック体50bの前壁の左右方向幅は、ブロック体50aの前壁の左右方向幅よりも広くなっている。   Accordingly, the left and right walls 52 of the block body 50b are inclined so as to approach each other from the rear wall to the front wall of the block body 50b. A predetermined acute angle β ° with respect to the longitudinal center plane of the body 50b. However, as will be described later, the predetermined acute angle β ° is set so that the print portions of the middle print lever members 30a and 30b on both the left and right sides supported by the block body 50b in a swingable manner are provided on the braille component L (see FIG. 12). It is set to be smaller than a predetermined acute angle α ° so as to correspond to both middle Braille components Ma and Mb of the six Braille components. Therefore, the horizontal width of the front wall of the block body 50b is wider than the horizontal width of the front wall of the block body 50a.

また、ブロック体50cは、ブロック体50aと同様に、縦断面長方形状となるように、かつ、図8(c)にて示すごとく横断面(ブロック体50aの台座50dの上面に沿う前後方向断面)台形状となるように形成されている。ここで、ブロック体50cの左右方向幅は、図8(c)にて示すごとく、当該ブロック体50cの後壁から前壁にかけて順次狭くなっている。   Further, the block body 50c has a rectangular shape in the longitudinal section similar to the block body 50a, and as shown in FIG. 8C, the block body 50c has a transverse cross section (a longitudinal section along the upper surface of the base 50d of the block body 50a). ) It is formed to be trapezoidal. Here, as shown in FIG. 8C, the width in the left-right direction of the block body 50c is gradually narrowed from the rear wall to the front wall of the block body 50c.

これに伴い、当該ブロック体50cの左右両壁53は、当該ブロック体50cの後壁から前壁にかけて互いに接近するように傾斜しており、これら左右両壁53の各傾斜角度は、それぞれ、ブロック体50cの前後方向中心面に対し所定の鋭角γ°となっている。但し、当該所定の鋭角γ°は、後述のごとく、ブロック体50cに揺動可能に支持した左右両側の外印字レバー部材40a、40bの各印字部を、点字構成体L(図12参照)の6つ点字構成要素の両後側点字構成要素Ra、Rbに対応させるように、所定の鋭角β°よりも小さく設定されている。なお、支持部材50において、各ブロック体50a〜50cの前後方向中心面は、ハウジング本体10aの底壁11の同一の前後方向法線面内にある。   Accordingly, the left and right walls 53 of the block body 50c are inclined so as to approach each other from the rear wall to the front wall of the block body 50c. A predetermined acute angle γ ° is formed with respect to the longitudinal center plane of the body 50c. However, as will be described later, the predetermined acute angle γ ° corresponds to the printing portions of the left and right outer print lever members 40a and 40b supported on the block body 50c so as to be swingable, by the Braille structure L (see FIG. 12). The angle is set to be smaller than a predetermined acute angle β ° so as to correspond to both rear braille components Ra and Rb of the six braille components. In the support member 50, the front-rear direction center planes of the block bodies 50 a to 50 c are in the same front-rear direction normal plane of the bottom wall 11 of the housing body 10 a.

左側内印字レバー部材20aは、図2〜図6のいずれかにて示すごとく、コ字状レバー21と、入力キー22とにより構成されている。コ字状レバー21は、横断面円柱状のロッドからなるもので、このコ字状レバー21は、揺動レバー部21aと、この揺動レバー部21aの後端部から当該揺動レバー部21aに対しL字状に延出する後側レバー部21bと、揺動レバー部21aの前端部から後側レバー部21bに平行となるように延出する前側レバー部21cとにより構成されている。   The left inner print lever member 20a includes a U-shaped lever 21 and an input key 22, as shown in any of FIGS. The U-shaped lever 21 is composed of a rod having a columnar cross section. The U-shaped lever 21 includes a swing lever portion 21a and a swing lever portion 21a from a rear end portion of the swing lever portion 21a. On the other hand, the rear lever portion 21b extends in an L shape, and the front lever portion 21c extends from the front end portion of the swing lever portion 21a so as to be parallel to the rear lever portion 21b.

しかして、このように構成した左側内印字レバー部材20aにおいては、揺動レバー部21aが、その長手方向中間部位にて、支持部材50のブロック体50aの左側壁51(図6参照)に、左側ネジ51a(図6参照)により上下方向に揺動可能に支持されている。なお、左側ネジ51aは、揺動レバー部21aの長手方向中間部位に形成した貫通孔部21d(図6参照)に相対回動可能に挿通されて、ブロック体50aの左側壁51に形成した左側ネジ孔部51b(図8(a)参照)に締着されている。   Thus, in the left inner print lever member 20a configured as described above, the swing lever portion 21a is provided on the left side wall 51 (see FIG. 6) of the block body 50a of the support member 50 at the longitudinal intermediate portion. The left screw 51a (see FIG. 6) is supported so as to be swingable in the vertical direction. The left screw 51a is inserted into a through hole 21d (see FIG. 6) formed in the longitudinal intermediate portion of the swing lever portion 21a so as to be relatively rotatable, and is formed on the left wall 51 of the block body 50a. It is fastened to the screw hole 51b (see FIG. 8A).

これに伴い、左側内印字レバー部材20aの後側レバー部21bは、図2にて示すごとく、ハウジング10の上壁10bに形成した前側貫通孔部12aを通して外方へ延出されている。本実施形態では、前側貫通孔部12aは、図1或いは図2にて示すごとく、他の前側貫通孔部12b、両中側貫通孔部13a、13b及び両後側貫通孔部14a及び14bとともに、上壁10bに貫通状に形成されている。ここで、両前側貫通孔部12a、12b、両中側貫通孔部13a、13b及び両後側貫通孔部14a、14bは、それぞれ、点字構成体Lの両前側点字構成要素Fa、Fb、両中側点字構成要素Ma、Mb及び両後側点字構成要素Ra、Rbに対応するように上壁10bに形成されている。   Accordingly, the rear lever portion 21b of the left inner print lever member 20a extends outward through a front through hole portion 12a formed in the upper wall 10b of the housing 10, as shown in FIG. In the present embodiment, as shown in FIG. 1 or FIG. 2, the front through-hole portion 12a is used together with other front through-hole portions 12b, both middle through-hole portions 13a and 13b, and both rear through-hole portions 14a and 14b. The upper wall 10b is formed in a penetrating manner. Here, both front side through-hole parts 12a and 12b, both middle side through-hole parts 13a and 13b, and both rear side through-hole parts 14a and 14b are both front-side Braille components Fa and Fb, It is formed in the upper wall 10b so as to correspond to the middle Braille components Ma and Mb and the two rear Braille components Ra and Rb.

また、左側内印字レバー部材20aの前側レバー部21cは、その先端部にて、上壁10bの印字用開口部15(図1及び図2参照)を通して外方を臨むように、揺動レバー部21aの前端部から外方へ延出している。本実施形態において、前側レバー部21cの先端部は、以後、印字部ともいい、後述する前側レバー部24cの先端部、両中側レバー部31c、34cの各先端部及び両後側レバー部41c、44cの各先端部と共に、外方へ凸な半球状となるように形成されている。   Further, the front lever portion 21c of the left inner print lever member 20a has a swing lever portion so that the front end portion thereof faces outward through the print opening 15 (see FIGS. 1 and 2) of the upper wall 10b. It extends outward from the front end of 21a. In the present embodiment, the front end portion of the front lever portion 21c is hereinafter also referred to as a printing portion, and the front end portion of the front lever portion 24c, the front end portions of the middle lever portions 31c and 34c, and the rear lever portions 41c described later. , 44c together with the front end portions of the projections 44c, so as to form an outwardly convex hemisphere.

入力キー22は、コ字状レバー21の後側レバー部21bの延出端部に同軸的に支持されており、この入力キー22の下端部と上壁10bの貫通孔部12aの外周部との間には、コイルスプリング23が、後側レバー部21bに同軸的に挿通されるようにして挟持されている。これにより、コイルスプリング23は、入力キー22を外方(上壁10bの外方)に向けて付勢する。   The input key 22 is coaxially supported on the extending end portion of the rear lever portion 21b of the U-shaped lever 21, and the lower end portion of the input key 22 and the outer peripheral portion of the through-hole portion 12a of the upper wall 10b. In between, the coil spring 23 is clamped so as to be coaxially inserted into the rear lever portion 21b. As a result, the coil spring 23 biases the input key 22 outward (outward of the upper wall 10b).

右側内印字レバー部材20bは、左側内印字レバー部材20aと同一の構成を有するように形成されており、当該右側内印字レバー部材20bは、左側内印字レバー部材20aのコ字状レバー21及び入力キー22にそれぞれ対応するコ字状レバー24及び入力キー25を有する。ここで、コ字状レバー24は、コ字状レバー21の揺動レバー部21a、後側レバー部21b及び前側レバー部21cにそれぞれ対応する揺動レバー部24a、後側レバー部24b及び前側レバー部24c(図4参照)を有する。   The right inner print lever member 20b is formed to have the same configuration as the left inner print lever member 20a. The right inner print lever member 20b includes the U-shaped lever 21 of the left inner print lever member 20a and the input. A U-shaped lever 24 and an input key 25 corresponding to the key 22 are provided. Here, the U-shaped lever 24 includes the swing lever portion 24a, the rear lever portion 24b, and the front lever corresponding to the swing lever portion 21a, the rear lever portion 21b, and the front lever portion 21c of the U-shaped lever 21, respectively. It has part 24c (refer to Drawing 4).

しかして、このように構成した右側内印字レバー部材20bにおいては、揺動レバー部24aが、その長手方向中間部位にて、支持部材50のブロック体50aの右側壁51(図8(a)参照)に、右側ネジ(図示しない)により上下方向に揺動可能に支持されている。なお、当該右側ネジは、揺動レバー部24aの長手方向中間部位に形成した貫通孔部に相対回動可能に挿通されて、ブロック体50aの右側壁51に形成した右側ネジ孔部51bに締着されている。   Thus, in the right inner print lever member 20b configured as described above, the rocking lever portion 24a has the right side wall 51 (see FIG. 8A) of the block body 50a of the support member 50 at the longitudinal intermediate portion. ) Is supported by a right-hand screw (not shown) so as to be swingable in the vertical direction. The right-hand screw is inserted into a through-hole formed in the longitudinal intermediate portion of the swing lever portion 24a so as to be relatively rotatable, and is tightened into the right-hand screw hole 51b formed in the right wall 51 of the block body 50a. It is worn.

これに伴い、右側内印字レバー部材20bの後側レバー部24bは、ハウジング10の上壁10bの前側貫通孔部12bを通して外方へ延出されている。また、右側内印字レバー部材20bの前側レバー部24cは、その先端部にて、上壁10bの印字用開口部15を通して外方を臨むように、揺動レバー部24aの前端部から上方へ延出している。なお、前側レバー部24cの先端部は、以後、印字部ともいう。   Accordingly, the rear lever portion 24b of the right inner print lever member 20b is extended outward through the front through hole portion 12b of the upper wall 10b of the housing 10. Further, the front lever portion 24c of the right inner print lever member 20b extends upward from the front end portion of the swing lever portion 24a so that the front lever portion 24c faces outward through the printing opening 15 of the upper wall 10b. I'm out. The front end portion of the front lever portion 24c is hereinafter also referred to as a printing portion.

入力キー25は、コ字状レバー24の後側レバー部24bの延出端部に同軸的に支持されており、この入力キー25の下端部と上壁10bの貫通孔部12bの外周部との間には、コイルスプリング26(図1参照)が、後側レバー部24bに同軸的に挿通されるようにして挟持されている。これにより、コイルスプリング26は、入力キー25を外方に向けて付勢する。   The input key 25 is coaxially supported by the extending end portion of the rear lever portion 24b of the U-shaped lever 24, and the lower end portion of the input key 25 and the outer peripheral portion of the through hole portion 12b of the upper wall 10b. In between, the coil spring 26 (refer FIG. 1) is clamped so that it may be coaxially inserted by the rear side lever part 24b. As a result, the coil spring 26 biases the input key 25 outward.

左側中印字レバー部材30aは、図2にて示すごとく、コ字状レバー31と、入力キー32とにより構成されている。コ字状レバー31は、横断面円柱状のロッドからなるもので、このコ字状レバー31は、揺動レバー部31aと、この揺動レバー部31aの後端部から当該揺動レバー部31aに対しL字状に延出する後側レバー部31bと、揺動レバー部31aの前端部から後側レバー部31bに平行となるように延出する前側レバー部31cとにより構成されている。   As shown in FIG. 2, the left middle print lever member 30 a includes a U-shaped lever 31 and an input key 32. The U-shaped lever 31 is composed of a rod having a cylindrical cross section. The U-shaped lever 31 includes a swing lever portion 31a and a swing lever portion 31a from a rear end portion of the swing lever portion 31a. On the other hand, the rear lever portion 31b extends in an L shape and the front lever portion 31c extends from the front end portion of the swing lever portion 31a so as to be parallel to the rear lever portion 31b.

しかして、このように構成した左側中印字レバー部材30aにおいては、揺動レバー部31aが、その長手方向中間部位にて、支持部材50のブロック体50bの左側壁52に、左側ネジ52aにより上下方向に揺動可能に支持されている。なお、左側ネジ52aは、揺動レバー部31aの長手方向中間部位に形成した貫通孔部31d(図6参照)に相対回動可能に挿通されて、ブロック体50bの左側壁52に形成した左側ネジ孔部52b(図8(b)参照)に締着されている。   Thus, in the left middle print lever member 30a configured as described above, the swing lever portion 31a is vertically moved by the left screw 52a on the left wall 52 of the block body 50b of the support member 50 at the longitudinal intermediate portion. It is supported so that it can swing in the direction. The left screw 52a is inserted into a through hole 31d (see FIG. 6) formed in the longitudinal intermediate portion of the swing lever portion 31a so as to be relatively rotatable, and is formed on the left wall 52 of the block body 50b. It is fastened to the screw hole 52b (see FIG. 8B).

これに伴い、左側中印字レバー部材30aの後側レバー部31bは、図2にて示すごとく、ハウジング10の上壁10bの中側貫通孔部13aを通して外方へ延出されている。   Accordingly, the rear lever portion 31b of the left middle print lever member 30a extends outward through the middle through hole portion 13a of the upper wall 10b of the housing 10 as shown in FIG.

また、左側中印字レバー部材30aの前側レバー部31cは、その先端部にて、上壁10bの印字用開口部15を通して外方を臨むように、揺動レバー部31aの前端部から外方へ延出している。なお、前側レバー部31cの先端部は、以後、印字部ともいう。   Also, the front lever portion 31c of the left middle print lever member 30a is outward from the front end portion of the swing lever portion 31a so that the front end portion thereof faces outward through the printing opening 15 of the upper wall 10b. It is extended. Note that the front end portion of the front lever portion 31c is hereinafter also referred to as a printing portion.

入力キー32は、コ字状レバー31の後側レバー部31bの延出端部に同軸的に支持されており、この入力キー32の下端部と上壁10bの貫通孔部13aの外周部との間には、コイルスプリング33が、後側レバー部31bに同軸的に挿通されるようにして挟持されている。これにより、コイルスプリング33は、入力キー32を外方に向けて付勢する。   The input key 32 is coaxially supported by the extending end portion of the rear lever portion 31b of the U-shaped lever 31, and the lower end portion of the input key 32 and the outer peripheral portion of the through hole portion 13a of the upper wall 10b. In between, the coil spring 33 is clamped so as to be coaxially inserted into the rear lever portion 31b. As a result, the coil spring 33 biases the input key 32 outward.

右側中印字レバー部材30bは、左側中印字レバー部材30aと同一の構成を有するように形成されており、当該右側中印字レバー部材30bは、左側中印字レバー部材30aのコ字状レバー31及び入力キー32にそれぞれ対応するコ字状レバー34及び入力キー35を有する。ここで、コ字状レバー34は、コ字状レバー31の揺動レバー部31a、後側レバー部31b及び前側レバー部31cにそれぞれ対応する揺動レバー部34a、後側レバー部34b及び前側レバー部34cを有する。   The right middle print lever member 30b is formed to have the same configuration as the left middle print lever member 30a, and the right middle print lever member 30b includes the U-shaped lever 31 of the left middle print lever member 30a and the input. A U-shaped lever 34 and an input key 35 corresponding to the key 32 are provided. Here, the U-shaped lever 34 includes the swinging lever part 34a, the rear lever part 34b, and the front lever corresponding to the swinging lever part 31a, the rear lever part 31b, and the front lever part 31c of the U-shaped lever 31, respectively. It has a portion 34c.

しかして、このように構成した右側中印字レバー部材30bにおいては、揺動レバー部34aが、その長手方向中間部位にて、支持部材50のブロック体50bの右側壁52に、右側ネジ(図示しない)により上下方向に揺動可能に支持されている。なお、当該右側ネジは、揺動レバー部34aの長手方向中間部位に形成した貫通孔部に相対回動可能に挿通されて、ブロック体50bの右側壁52に形成した右側ネジ孔部52bに締着されている。   Thus, in the right middle print lever member 30b configured as described above, the swing lever portion 34a has a right screw (not shown) attached to the right wall 52 of the block body 50b of the support member 50 at an intermediate portion in the longitudinal direction. ) So that it can swing in the vertical direction. The right screw is inserted into a through hole formed in the intermediate portion in the longitudinal direction of the swing lever portion 34a so as to be rotatable relative to the right screw hole 52b formed in the right wall 52 of the block body 50b. It is worn.

これに伴い、右側中印字レバー部材30bの後側レバー部34bは、ハウジング10の上壁10bの前側貫通孔部13bを通して外方へ延出されている。また、右側中印字レバー部材30bの前側レバー部34cは、その先端部にて、上壁10bの印字用開口部15を通して外方を臨むように、揺動レバー部34aの前端部から外方へ延出している。なお、前側レバー部34cの先端部は、以後、印字部ともいう。   Accordingly, the rear lever portion 34b of the right middle print lever member 30b extends outward through the front through-hole portion 13b of the upper wall 10b of the housing 10. Further, the front lever portion 34c of the right middle print lever member 30b is outward from the front end portion of the swing lever portion 34a so that the front end portion thereof faces outward through the print opening 15 of the upper wall 10b. It is extended. Note that the front end portion of the front lever portion 34c is hereinafter also referred to as a printing portion.

入力キー35は、コ字状レバー34の後側レバー部34bの延出端部に同軸的に支持されており、この入力キー35の下端部と上壁10bの貫通孔部13bの外周部との間には、コイルスプリング36(図1参照)が、後側レバー部34bに同軸的に挿通されるようにして挟持されている。これにより、コイルスプリング36は、入力キー35を外方に向けて付勢する。   The input key 35 is coaxially supported by the extending end portion of the rear lever portion 34b of the U-shaped lever 34, and the lower end portion of the input key 35 and the outer peripheral portion of the through hole portion 13b of the upper wall 10b. In between, the coil spring 36 (refer FIG. 1) is clamped so that it may be coaxially inserted by the rear side lever part 34b. As a result, the coil spring 36 biases the input key 35 outward.

左側外印字レバー部材40aは、図2にて示すごとく、コ字状レバー41と、入力キー42とにより構成されている。コ字状レバー41は、横断面円柱状のロッドからなるもので、このコ字状レバー41は、揺動レバー部41aと、この揺動レバー部41aの後端部から当該揺動レバー部41aに対しL字状に延出する後側レバー部41bと、揺動レバー部41aの前端部から後側レバー部41bに平行となるように延出する前側レバー部41cとにより構成されている。   The left outer print lever member 40a includes a U-shaped lever 41 and an input key 42, as shown in FIG. The U-shaped lever 41 is composed of a rod having a columnar cross section. The U-shaped lever 41 includes a swing lever portion 41a and a swing lever portion 41a from the rear end portion of the swing lever portion 41a. On the other hand, the rear lever portion 41b extends in an L shape and the front lever portion 41c extends from the front end portion of the swing lever portion 41a so as to be parallel to the rear lever portion 41b.

しかして、このように構成した左側外印字レバー部材40aにおいては、揺動レバー部41aが、その長手方向中間部位にて、支持部材50のブロック体50cの左側壁53に、左側ネジ53aにより上下方向に揺動可能に支持されている。なお、左側ネジ53aは、揺動レバー部41aの長手方向中間部位に形成した貫通孔部41b(図6参照)に相対回動可能に挿通されて、ブロック体50cの左側壁53に形成した左側ネジ孔部53b(図8(c)参照)に締着されている。   Thus, in the left outer print lever member 40a configured as described above, the swing lever portion 41a is vertically moved to the left wall 53 of the block body 50c of the support member 50 by the left screw 53a at the intermediate portion in the longitudinal direction. It is supported so that it can swing in the direction. The left screw 53a is inserted into a through-hole 41b (see FIG. 6) formed in the longitudinal intermediate portion of the swing lever 41a so as to be rotatable relative to the left screw 53a, and is formed on the left wall 53 of the block body 50c. It is fastened to the screw hole 53b (see FIG. 8C).

これに伴い、左側外印字レバー部材40aの後側レバー部41bは、図2にて示すごとく、ハウジング10の上壁10bの後側貫通孔部14aを通して外方へ延出されている。   Accordingly, the rear lever portion 41b of the left outer print lever member 40a extends outward through the rear through hole portion 14a of the upper wall 10b of the housing 10 as shown in FIG.

また、左側外印字レバー部材40aの前側レバー部41cは、その先端部にて、上壁10bの印字用開口部15を通して外方を臨むように、揺動レバー部41aの前端部から外方へ延出している。なお、前側レバー部41cの先端部は、以後、印字部ともいう。   Further, the front lever portion 41c of the left outer print lever member 40a is outward from the front end portion of the swing lever portion 41a so that the front end portion thereof faces outward through the printing opening 15 of the upper wall 10b. It is extended. Note that the front end portion of the front lever portion 41c is hereinafter also referred to as a printing portion.

入力キー42は、コ字状レバー41の後側レバー部41bの延出端部に同軸的に支持されており、この入力キー42の下端部と上壁10bの貫通孔部14aの外周部との間には、コイルスプリング43が、後側レバー部41bに同軸的に挿通されるようにして挟持されている。これにより、コイルスプリング43は、入力キー42を外方に向けて付勢する。   The input key 42 is coaxially supported by the extended end portion of the rear lever portion 41b of the U-shaped lever 41, and the lower end portion of the input key 42 and the outer peripheral portion of the through hole portion 14a of the upper wall 10b. In between, the coil spring 43 is clamped so as to be coaxially inserted into the rear lever portion 41b. As a result, the coil spring 43 biases the input key 42 outward.

右側外印字レバー部材40bは、左側外印字レバー部材40aと同一の構成を有するように形成されており、当該右側外印字レバー部材40bは、左側外印字レバー部材40aのコ字状レバー41及び入力キー42にそれぞれ対応するコ字状レバー44及び入力キー45を有する。ここで、コ字状レバー44は、コ字状レバー41の揺動レバー部41a、後側レバー部41b及び前側レバー部41cにそれぞれ対応する揺動レバー部44a、後側レバー部44b及び前側レバー部44cを有する。   The right outer print lever member 40b is formed to have the same configuration as the left outer print lever member 40a. The right outer print lever member 40b includes the U-shaped lever 41 of the left outer print lever member 40a and the input. A U-shaped lever 44 and an input key 45 respectively corresponding to the key 42 are provided. Here, the U-shaped lever 44 includes the swing lever portion 44a, the rear lever portion 44b, and the front lever corresponding to the swing lever portion 41a, the rear lever portion 41b, and the front lever portion 41c of the U-shaped lever 41, respectively. It has a portion 44c.

しかして、このように構成した右側外印字レバー部材40bにおいては、揺動レバー部44aが、その長手方向中間部位にて、支持部材50のブロック体50cの右側壁53に、右側ネジ(図示しない)により上下方向に揺動可能に支持されている。なお、当該右側ネジは、揺動レバー部44aの長手方向中間部位に形成した貫通孔部に相対回動可能に挿通されて、ブロック体50cの右側壁53に形成した右側ネジ孔部53bに締着されている。   Thus, in the right outer print lever member 40b configured as described above, the swing lever portion 44a has a right screw (not shown) on the right wall 53 of the block body 50c of the support member 50 at an intermediate portion in the longitudinal direction. ) So that it can swing in the vertical direction. The right-hand screw is inserted into a through-hole formed in the intermediate portion in the longitudinal direction of the swing lever 44a so as to be rotatable relative to the right-hand screw hole 53b formed in the right wall 53 of the block body 50c. It is worn.

これに伴い、右側外印字レバー部材40bの後側レバー部44bは、ハウジング10の上壁10bの後側貫通孔部14bを通して外方へ延出されている。また、右側外印字レバー部材40bの前側レバー部44cは、その先端部にて、上壁10bの印字用開口部15を通して外方を臨むように、揺動レバー部44aの前端部から外方へ延出している。なお、前側レバー部44cの先端部は、以後、印字部ともいう。   Accordingly, the rear lever portion 44b of the right outer print lever member 40b is extended outward through the rear through hole portion 14b of the upper wall 10b of the housing 10. Further, the front lever portion 44c of the right outer print lever member 40b is outward from the front end portion of the swing lever portion 44a so that the front end portion faces the outside through the printing opening 15 of the upper wall 10b. It is extended. Note that the front end portion of the front lever portion 44c is hereinafter also referred to as a printing portion.

入力キー45は、コ字状レバー44の後側レバー部44bの延出端部に同軸的に支持されており、この入力キー45の下端部と上壁10bの貫通孔部14bの外周部との間には、コイルスプリング46(図1参照)が、後側レバー部44bに同軸的に挿通されるようにして挟持されている。これにより、コイルスプリング46は、入力キー45を外方に向けて付勢する。   The input key 45 is coaxially supported by the extending end portion of the rear lever portion 44b of the U-shaped lever 44, and the lower end portion of the input key 45 and the outer peripheral portion of the through hole portion 14b of the upper wall 10b. In between, the coil spring 46 (refer FIG. 1) is clamped so that it may be coaxially inserted by the rear side lever part 44b. As a result, the coil spring 46 biases the input key 45 outward.

以上のように構成した点字印字機構Tにおいては、所定の鋭角α°、所定の鋭角β°及び所定の鋭角γ°が、上述のように設定されていることから、左右両側の内印字レバー部材20a、20bの各印字部(各前側レバー部21c、24cの先端部)、左右両側の中印字レバー部材30a、30bの各印字部(各前側レバー部31c、34cの先端部)及び左右両側の外印字レバー部材40a、40bの各印部(各前側レバー部41c、44cの先端部)が、それぞれ、点字構成体Lの両前側点字構成要素Fa、Fb、両中側点字構成要素Ma、Mb及び両後側点字構成要素Ra、Rbに対する上壁10bの印字用開口部15内の各対応位置に位置する。このことは、各入力キー22、25、32、35、42及び45が、それぞれ、各点字構成要素Fa、Fb、Ma、Mb、Ra及びRbに対応することを意味する。また、図13にて示す点字表において、各点字を構成する6つの点において、図示左下側、左中側及び左上側の各点が、それぞれ、図12の各点字構成要素Fb、Mb及びRbに対応し、また、図13にて図示右下側、右中側及び右上側の各点が、それぞれ、図12の各点字構成要素Fa、Ma及びRaに対応する。   In the Braille printing mechanism T configured as described above, the predetermined acute angle α °, the predetermined acute angle β °, and the predetermined acute angle γ ° are set as described above. 20a and 20b (the front end portions of the front lever portions 21c and 24c), the left and right side middle print lever members 30a and 30b (the front end portions of the front lever portions 31c and 34c) and the left and right sides The mark portions of the outer print lever members 40a and 40b (the front end portions of the front lever portions 41c and 44c) are respectively the front braille components Fa and Fb of the braille component L and the middle braille components Ma and Mb. And it is located in each corresponding position in the printing opening part 15 of the upper wall 10b with respect to both rear Braille components Ra and Rb. This means that each input key 22, 25, 32, 35, 42 and 45 corresponds to each braille component Fa, Fb, Ma, Mb, Ra and Rb, respectively. In the braille table shown in FIG. 13, among the six points constituting each braille, the lower left side, left middle side, and upper left side in the figure are respectively the braille components Fb, Mb, and Rb in FIG. Further, the points on the lower right side, the right middle side, and the upper right side shown in FIG. 13 correspond to the braille components Fa, Ma, and Ra in FIG. 12, respectively.

テープ送り機構Sは、図1、図2、図3、図9或いは図10にて示すごとく、円柱状ローラ60及び前後両側L字状支持壁61を有しており、ローラ60は、ハウジング10の前左側隅角部内に収容されている。当該ローラ60は、次のように、ハウジング10内の上壁10bの前左側隅角部に前後両側L字状支持壁61により回転可能に支持されている。   As shown in FIG. 1, FIG. 2, FIG. 3, FIG. 9 or FIG. 10, the tape feeding mechanism S has a cylindrical roller 60 and front and rear L-shaped support walls 61. Is housed in the front left corner. The roller 60 is rotatably supported by front and rear L-shaped support walls 61 at the front left corner of the upper wall 10b in the housing 10 as follows.

ここで、前後両側L字状支持壁61は、それぞれ、支持壁部61aから装着壁部61bをL字状に延出してなるもので、当該前後両側L字状支持壁61は、各支持壁部61aにてローラ60の回転軸をその前後両端部側から回転自在に支持するようにして、各装着壁部61bにて、上壁10bの前左側隅角部に装着されている。これより、ローラ60は、その回転軸60aにて、ハウジング10の前後方向に沿うように前後両側L字状支持壁61により回転自在に支持されている。   Here, the front and rear side L-shaped support walls 61 are each formed by extending the mounting wall portion 61b from the support wall portion 61a into an L shape. Each mounting wall 61b is mounted to the front left corner of the upper wall 10b so that the rotation shaft of the roller 60 is rotatably supported by the portion 61a from both front and rear ends. Thus, the roller 60 is rotatably supported by the front and rear L-shaped support walls 61 along the front-rear direction of the housing 10 on the rotation shaft 60a.

また、ローラ60は、その上端部にて、上壁10bの前左側隅角部に形成した送り用開口部16(図1〜図3のいずれか参照)内に突出しており、このローラ60は、その回転により、その上端部にて、送り用開口部16を介し、点字印字用テープ70にその下面側から押圧的に接触して、当該点字印字用テープ70を左右方向に送る役割を果たす。本実施形態において、点字印字用テープ70は、図1にて示すごとく、ハウジング10の上壁10bの前側中間部位上に左右方向に沿い載置されて、透明のアクリル樹脂からなる押さえ板70aにより上方から上壁10bの前側中間部位上に押し付けられている。なお、押さえ板70aは、図2にて示すごとく、その後端部を基準に傾斜状に持ち上げ可能となっている。   Moreover, the roller 60 protrudes in the opening part 16 (refer any one of FIGS. 1-3) formed in the front left corner part of the upper wall 10b in the upper end part. The rotation causes the upper end of the braille printing tape 70 to come into pressure contact with the braille printing tape 70 from the lower surface side through the feed opening 16 and to feed the braille printing tape 70 in the left-right direction. . In this embodiment, as shown in FIG. 1, the braille printing tape 70 is placed along the left-right direction on the front intermediate portion of the upper wall 10b of the housing 10 and is pressed by a pressing plate 70a made of a transparent acrylic resin. It is pressed onto the front intermediate portion of the upper wall 10b from above. As shown in FIG. 2, the pressing plate 70 a can be lifted in an inclined manner with reference to the rear end portion.

また、テープ送り機構Sは、ラチェット機構80及び送りキー90を有している。ラチェット機構80は、爪車であるラチェット80aと、係止片80bとを有しており、ラチェット80aは、その背板部81にて、ローラ60の回転軸60aの前端部に同軸的に支持されている。ここで、このラチェット80aの一連の爪部82は、背板部81の外周部からその周方向において等角度間隔にて前方に向け延出されている。   The tape feed mechanism S has a ratchet mechanism 80 and a feed key 90. The ratchet mechanism 80 includes a ratchet 80a that is a claw wheel and a locking piece 80b. The ratchet 80a is coaxially supported by the back plate portion 81 on the front end portion of the rotation shaft 60a of the roller 60. Has been. Here, the series of claw portions 82 of the ratchet 80a extend forward from the outer peripheral portion of the back plate portion 81 at equal angular intervals in the circumferential direction.

係止片80bは、その上部83にて、環状ボス91(後述する)の中空部内にて、送りキー90を後述のように支持する送り軸90aにネジ止めされており、この係止片80bの下部84は、上部83の下端部から上下方向(送り軸90aの軸方向)に傾動可能に延出されている。但し、係止片80bは、上部83に対し、図10にて図示傾斜位置から下方へのみ傾動するように連結されている。   The locking piece 80b is screwed to the feed shaft 90a that supports the feed key 90 in the hollow portion of the annular boss 91 (described later) at the upper portion 83, and this locking piece 80b. The lower portion 84 extends from the lower end portion of the upper portion 83 so as to be tiltable in the vertical direction (the axial direction of the feed shaft 90a). However, the locking piece 80b is connected to the upper portion 83 so as to tilt only downward from the illustrated inclined position in FIG.

このように構成したラチェット機構80においては、係止片80bが、送り軸90aの下動に伴い、ラチェット80aの一連の爪部82のいずれか1つに上方から係止して、当該爪部82を下方へ押動することで、ラチェット80aを回転させる。また、係止片80bは、送り軸90aの上動に伴い、上述のいずれか1つの爪部82により下方へ傾動されて当該爪部82との係止から解離しつつ上動する。   In the ratchet mechanism 80 configured as described above, the locking piece 80b is locked from above to any one of a series of claw portions 82 of the ratchet 80a as the feed shaft 90a moves downward. The ratchet 80a is rotated by pushing 82 downward. Further, as the feed shaft 90a moves upward, the locking piece 80b is tilted downward by any one of the above-described claw portions 82 and moves upward while being disengaged from the locking with the claw portion 82.

送り軸90aは、環状ボス91、L字状支持壁61の上壁部61b及び上壁10bの貫通孔部17(図2参照)を通り延出されており、この送り軸90aの延出端部には、送りキー90が同軸的に支持されている。また、コイルスプリング92は、送り軸90aに同軸的に嵌装されて、送りキー90の下部と上壁10bの貫通孔部17の外周部との間に挟持されており、このコイルスプリング92は、送りキー90を上壁10bとは反対方向へ付勢する。本実施形態では、コイルスプリング92が自然長を維持するときにも、送り軸90aは、その下部にて環状ボス91内に維持される軸長を有する。なお、環状ボス91は、上壁10bにL字状支持壁61の上壁部61bを介し組み付けられている。   The feed shaft 90a extends through the annular boss 91, the upper wall portion 61b of the L-shaped support wall 61, and the through-hole portion 17 (see FIG. 2) of the upper wall 10b, and the extended end of the feed shaft 90a. The feed key 90 is coaxially supported on the part. The coil spring 92 is coaxially fitted to the feed shaft 90a and is sandwiched between the lower portion of the feed key 90 and the outer peripheral portion of the through hole portion 17 of the upper wall 10b. The feed key 90 is urged in the direction opposite to the upper wall 10b. In the present embodiment, even when the coil spring 92 maintains the natural length, the feed shaft 90a has an axial length that is maintained in the annular boss 91 at the lower portion. The annular boss 91 is assembled to the upper wall 10b via the upper wall portion 61b of the L-shaped support wall 61.

以上のように構成した本実施形態において、当該片手点字タイプライターを用いて点字を印字するにあたっては、次のようにして行う。なお、テープ70が、図1にて示すごとく、当該片手点字タイプライターのハウジング10の上壁10b上にセットされているものとする。なお、テープ70は、押さえ板70aにより、上壁10bの両開口部15、16を上方から覆うように押さえ付けられているものとする。また、現段階では、五十音のうち、「た」及び「ち」が、順次、既に点字(図13参照)として印字されているものとする。   In the present embodiment configured as described above, Braille is printed using the one-hand Braille typewriter as follows. It is assumed that the tape 70 is set on the upper wall 10b of the housing 10 of the one-handed Braille typewriter as shown in FIG. It is assumed that the tape 70 is pressed by the pressing plate 70a so as to cover both the openings 15 and 16 of the upper wall 10b from above. In addition, at the present stage, it is assumed that “ta” and “chi” are already printed in sequence as braille (see FIG. 13).

このような段階において、五十音のうちの「つ」を点字として印字するにあたっては、まず、操作者は、左手を当該片手点字タイプライターの上壁10b上におく。このとき、左手は、その手首を上壁10bの前側部位上に置き、親指をテープ送り機構Sの送りキー90側に位置させるとともに、残りの指、例えば、人差し指及び中指を、点字印字機構Tの6つの入力キー20a〜40b側に位置させる。このことは、左手の親指でテープ送り機構Tの送り操作をするとともに、人差し指及び中指で6つの入力キー20a〜40bの押動操作をすることを意味する。   In such a stage, when printing "T" of the fifty-sounds as Braille, first, the operator places his left hand on the upper wall 10b of the one-hand Braille typewriter. At this time, the left hand places its wrist on the front portion of the upper wall 10b, positions the thumb on the feed key 90 side of the tape feed mechanism S, and places the remaining fingers, for example, the index finger and the middle finger on the Braille printing mechanism T. Are located on the six input keys 20a to 40b side. This means that the feeding operation of the tape feeding mechanism T is performed with the thumb of the left hand, and the six input keys 20a to 40b are pushed with the index finger and the middle finger.

また、上述のごとく、「つ」を点字として印字するにあたり、図13の図表に基づき「つ」に対応する点字を参照して、当該点字が、各点字構成要素Rb、Ra、Ma及びFbでもって特定されることを確認する。   Further, as described above, when printing “tsu” as braille, referring to the braille corresponding to “tsu” based on the chart of FIG. 13, the braille is represented by each braille component Rb, Ra, Ma, and Fb. Confirm that it is specified.

然る後、テープ送り機構Sが、「ち」を点字により印字したままの状態にあれば、操作者は、左手の親指により、テープ送り機構Sの送りキー90を、コイルスプリング92に抗して押動操作する。これに伴い、送り軸90aが、ラチェット機構80の係止片80bと共に下動する。   Thereafter, if the tape feeding mechanism S is still in a state where “C” is printed in Braille, the operator presses the feeding key 90 of the tape feeding mechanism S against the coil spring 92 with the thumb of the left hand. To push. Along with this, the feed shaft 90a moves downward together with the locking piece 80b of the ratchet mechanism 80.

すると、このような下動過程において、係止片80bが、その下部84にて、ラチェット80aの一爪部82を下方へ押動し、ラチェット80aが当該一爪部82の下方への押動に応じて回転してロータ60を同一方向に回転させる。これに伴い、テープ70が、ロータ60の回転にあわせて上壁10bの左側から右側へ向かう方向へ送られる。これにより、テープ70のうち「つ」に対応する点字を印字する部位が新たに上壁10bの開口部15上に達する。なお、テープ70は、押さえ板70aにより上壁10b上に押さえつけられているので、当該テープ70は、ローラ60により確実に送られ得る。   Then, in such a downward movement process, the locking piece 80b pushes the one claw portion 82 of the ratchet 80a downward at the lower portion 84, and the ratchet 80a pushes the one claw portion 82 downward. To rotate the rotor 60 in the same direction. Accordingly, the tape 70 is fed in the direction from the left side to the right side of the upper wall 10b in accordance with the rotation of the rotor 60. Thereby, the site | part which prints the braille corresponding to "tsu" among the tapes 70 reaches newly on the opening part 15 of the upper wall 10b. Since the tape 70 is pressed onto the upper wall 10b by the pressing plate 70a, the tape 70 can be reliably fed by the roller 60.

しかして、「つ」に対応する点字を印字するにあたり、まず、各点字構成要素Rb、Ra、Ma及びFbのうち、点字構成要素Rbに対応する右側後印字レバー部材40bの入力キー45をコイルスプリング46に抗して押動操作する。すると、右側後印字レバー部材40bが、その揺動レバー部44aにて、支持部材50のブロック体50cの右側壁53に沿い上記右側ネジ(左側ネジ53aに対応)の軸を中心として図6にて図示時計方向に揺動して、前側レバー部44cの印字部によりテープ70に下方から印字する。このことは、点字構成要素Rbがテープ70に隆起形成されることを意味する。   Therefore, when printing the braille corresponding to “tsu”, first, among the braille components Rb, Ra, Ma, and Fb, the input key 45 of the right rear print lever member 40b corresponding to the braille component Rb is coiled. Pushing operation is performed against the spring 46. Then, the right rear print lever member 40b is moved to the position shown in FIG. 6 around the axis of the right screw (corresponding to the left screw 53a) along the right wall 53 of the block body 50c of the support member 50 at the swing lever portion 44a. Then, it is swung clockwise as shown in the figure and printed on the tape 70 from below by the printing portion of the front lever portion 44c. This means that the Braille component Rb is raised on the tape 70.

次に、点字構成要素Raに対応する左側内印字レバー部材40aの入力キー42をコイルスプリング43に抗して押動操作する。すると、左側後印字レバー部材40aが、その揺動レバー部41aにて、支持部材50のブロック体50cの左側壁53に沿い左側ネジ53aの軸を中心として、揺動レバー部44aと同様に揺動して、前側レバー部41cの印字部によりテープ70に下方から印字する。このことは、点字構成要素Raがテープ70に隆起形成されることを意味する。   Next, the input key 42 of the left inner print lever member 40 a corresponding to the Braille component Ra is pushed against the coil spring 43. Then, the left rear print lever member 40a swings at the swing lever portion 41a along the left wall 53 of the block body 50c of the support member 50 in the same manner as the swing lever portion 44a around the axis of the left screw 53a. It moves and prints on the tape 70 from below by the printing part of the front lever part 41c. This means that the Braille component Ra is raised on the tape 70.

また、点字構成要素Maに対応する左側中印字レバー部材30aの入力キー32をコイルスプリング33に抗して押動操作する。すると、左側中印字レバー部材30aが、その揺動レバー部31aにて、支持部材50のブロック体50bの左側壁52に沿い左側ネジ52aの軸を中心として、図6にて図示時計方向に揺動して、前側レバー部31cの印字部によりテープ70に下方から印字する。このことは、点字構成要素Maがテープ70に隆起形成されることを意味する。   Further, the input key 32 of the left middle print lever member 30 a corresponding to the Braille component Ma is pushed against the coil spring 33. Then, the left middle print lever member 30a swings in the clockwise direction shown in FIG. 6 about the axis of the left screw 52a along the left wall 52 of the block body 50b of the support member 50 at the swing lever portion 31a. It moves and prints on the tape 70 from below by the printing part of the front lever part 31c. This means that the braille component Ma is raised on the tape 70.

さらに、点字構成要素Fbに対応する右側前印字レバー部材20bの入力キー25をコイルスプリング26に抗して押動操作する。すると、右側前印字レバー部材20bが、その揺動レバー部24aにて、支持部材50のブロック体50aの右側壁51に沿い右側ネジ(左側ネジ51aに対応)の軸を中心として、図6にて図示時計方向に揺動して、前側レバー部24cの印字部によりテープ70に下方から印字する。このことは、点字構成要素Fbがテープ70に隆起形成されることを意味する。   Further, the input key 25 of the right front print lever member 20b corresponding to the Braille component Fb is pushed against the coil spring 26. Then, the right front print lever member 20b is moved around the axis of the right screw (corresponding to the left screw 51a) along the right wall 51 of the block body 50a of the support member 50 at the swing lever portion 24a in FIG. Then, it is swung clockwise as shown in the figure and printed on the tape 70 from below by the printing portion of the front lever portion 24c. This means that the Braille component Fb is raised on the tape 70.

以上により、「つ」が点字として、テープ70に印字される。また、五十音のうち、「つ」に限ることなく、五十音のうちの他の文字を点字により印字するにあたっても、当該片手点字タイプライターを用いれば、上述と実質的に同様に印字される。   As described above, “T” is printed on the tape 70 as Braille. Moreover, when printing other characters in the Japanese syllabary in Braille, not limited to “T”, using the one-hand Braille typewriter, printing is performed in substantially the same manner as described above. Is done.

ここで、点字印字機構Tの各左右両側の前印字レバー部材20a、20b、中印字レバー部材30a、30b及び後印字レバー部材40a、40bが、上述のごとく、それぞれ、支持部材50の各ブロック体50a〜50cに支持されているから、テープ70に対する点字の印字が、各左右両側の前印字レバー部材20a、20b、中印字レバー部材30a、30b及び後印字レバー部材40a、40bの入力キーの押動操作でもって、確実に点字として印字され得る。   Here, as described above, the front print lever members 20a and 20b, the middle print lever members 30a and 30b, and the rear print lever members 40a and 40b on the left and right sides of the Braille printing mechanism T are respectively block bodies of the support member 50. 50a to 50c, braille printing on the tape 70 is performed by pressing the input keys of the front print lever members 20a and 20b, the middle print lever members 30a and 30b, and the rear print lever members 40a and 40b on the left and right sides. With the moving operation, it can be surely printed as braille.

また、各左右両側の前印字レバー部材20a、20b、中印字レバー部材30a、30b及び後印字レバー部材40a、40bの揺動レバー部21a、24a、31a、34a、41a及び44aが、上述のごとく、各ブロック体50a〜50cにより上下方向に揺動可能に支持されている。従って、点字の印字にあたっては、入力キーの押動操作が、当該入力キーに対応する揺動レバー部の揺動を、梃子の原理として利用した状態で、対応の前側レバー部を大きく上動させる。その結果、当該片手点字タイプライターによる点字の印字を楽に行うことができる。   Further, the swing lever portions 21a, 24a, 31a, 34a, 41a and 44a of the front print lever members 20a and 20b, the middle print lever members 30a and 30b, and the rear print lever members 40a and 40b on the left and right sides are as described above. The block bodies 50a to 50c are supported so as to be swingable in the vertical direction. Therefore, when printing Braille, the input key pressing operation causes the corresponding front lever portion to move up greatly in a state where the swing lever portion corresponding to the input key is used as the lever principle. . As a result, it is possible to easily print Braille using the one-hand Braille typewriter.

また、各左右両側の前印字レバー部材20a、20b、中印字レバー部材30a、30b及び後印字レバー部材40a、40bの入力キー及び印字部が、上述のごとく、点字構成体Lの点字構成体における6つの点字構成要素Fa、Fb、Ma、Mb、Ra、Rbの配置に対応している。   Further, as described above, the input keys and the printing portions of the front print lever members 20a and 20b, the middle print lever members 30a and 30b, and the rear print lever members 40a and 40b on the left and right sides are as described above. This corresponds to the arrangement of six Braille components Fa, Fb, Ma, Mb, Ra, Rb.

従って、図13にて示す図表の五十音の各文字とこれに対応する点字の構成を参照のもとに、弱視者に限らず、健常者であって点字に関し何の知識もない者や当該片手点字タイプライターの操作の仕方を知らない初心者であっても、点字構成体Lの点字構成体における各点字構成要素に対応する入力キーを押動操作するだけで、容易にしかも確実に点字をテープ70に印字することができる。   Therefore, with reference to the composition of each of the Japanese syllabary characters in the chart shown in FIG. 13 and the braille structure corresponding thereto, not only the low vision person but also a healthy person who has no knowledge of Braille, Even beginners who do not know how to operate the one-handed Braille typewriter can easily and surely braille simply by pressing the input key corresponding to each Braille component in the Braille component of the Braille component L Can be printed on the tape 70.

特に、当該片手点字タイプライターが、地震災害や水害等の被災地の避難所に保管されていれば、点字に関し何の知識もない者でも、弱視者に急ぎ伝達すべき情報を、当該片手点字タイプライターを用いることにより、容易に点字により印字することができる。その結果、ともすれば救済に遅れをきたす被災弱視者の救済を迅速に行うことができる。なお、テープ70に印字された文字は、弱視者の親指により或いは健常者の目視でもって、容易に確認可能である。   In particular, if the one-handed Braille typewriter is stored at a shelter in a disaster-stricken area such as an earthquake disaster or flood, information that should be urgently communicated to low-sighted people can be sent even to those who have no knowledge of Braille. By using a typewriter, it is possible to easily print in braille. As a result, it is possible to swiftly provide relief for a weakly sighted disaster victim who is delayed in relief. It should be noted that the characters printed on the tape 70 can be easily confirmed by the thumb of a weak eyesight or by visual observation of a healthy person.

また、テープ70の送りは、送り機構Sの送りキー90を押動操作するだけで、ラチェット機構80によるローラ60の回転のもと、容易にしかも確実になされ得る。   Also, the tape 70 can be easily and reliably fed by simply rotating the feed key 90 of the feed mechanism S and rotating the roller 60 by the ratchet mechanism 80.

また、当該片手点字タイプライターが、上述のように構成した点字印字機構T及び送り機構Sを上述のごとく点字の印字可能にハウジング10に組み付けて構成されているので、この片手点字タイプライターは、単なる機械的操作のみで点字を印字することができる。このことは、当該片手点字タイプライターが、電動機等の電気的素子に依存することなく、単なる機械的素子のみによる簡単な構成でもって、簡易なタイプライターとして提供され得ることを意味する。   In addition, the one-hand Braille typewriter is constructed by assembling the Braille printing mechanism T and the feeding mechanism S configured as described above to the housing 10 so that Braille can be printed as described above. Braille can be printed by simple mechanical operation. This means that the one-handed Braille typewriter can be provided as a simple typewriter with a simple configuration using only mechanical elements without depending on an electric element such as an electric motor.

なお、本発明の実施にあたり、上記実施形態に限ることなく、次のような種々の変形例が挙げられる。
(1)本発明の実施にあたり、当該片手点字タイプライターは、左手ではなく、右手で操作し得るように構成することも可能である。
(2)本発明の実施にあたり、五十音に限ることなく、例えば、数字、アルファベットや漢字等も、点字と対象させる図表があれば、上記実施形態と同様に、当該片手点字タイプライターにより点字として印字することができる。
(3)本発明の実施にあたり、上記実施形態にて述べた各印字レバー部材のレバーは、コ字状に限ることなく、下に凸な湾曲形状或いは屈曲形状その他の下に凸な形状であってもよい。
(4)本発明の実施にあたり、上記実施形態にて述べた各印字レバー部材は、支持部材50に限ることなく、ハウジング10の内壁に支持されるようにしてもよい。
(5)本発明の実施にあたり、上記実施形態にて述べた形状に限ることなく、各前側レバー部及び各後側レバー部が、上述のごとく、点字構成体Lの各点字構成要素の配置に対応するように位置すれば、各印字レバー部材は、どのような形状であってもよい。
In carrying out the present invention, the following various modifications are possible without being limited to the above embodiment.
(1) In carrying out the present invention, the one-hand Braille typewriter can be configured to be operated with the right hand instead of the left hand.
(2) In carrying out the present invention, not limited to the Japanese syllabary, for example, if there is a diagram that targets numbers, alphabets, kanji, etc. as braille, as in the above embodiment, the one hand braille typewriter Can be printed as
(3) In practicing the present invention, the lever of each print lever member described in the above embodiment is not limited to a U-shape, and has a downwardly curved shape, a bent shape, or other downwardly convex shape. May be.
(4) In carrying out the present invention, each print lever member described in the above embodiment is not limited to the support member 50 and may be supported by the inner wall of the housing 10.
(5) In carrying out the present invention, the front lever portion and the rear lever portion are not limited to the shapes described in the above embodiment, and the braille components of the braille component L are arranged as described above. Each print lever member may have any shape as long as it is positioned so as to correspond.

Fa、Fb、Ma、Mb、Ra、Rb…点字構成要素、L…点字構成体、S…送り機構、
T…点字印字機構、10…ハウジング、10b…上壁、
12a、12b、13a、13b、14a、14b、17…貫通孔部、
15…印字用開口部、16…送り用開口部、20a、20b…前印字レバー部材、
30a、30b…中印字レバー部材、40a、40b…後印字レバー部材、
21、31、41、24、34、44…コ字状レバー、
21b、31b、41b、24b、34b、44b…後側レバー部、
21c、31c、41c、24c、34c、44c…前側レバー部、
22、32、42、25、35、45…入力キー、
23、26、33、36、43、46…コイルスプリング、60…ローラ、
60a…回転軸、70…テープ、70a…押さえ板、80…ラチェット機構、
90a…送り軸、90…送りキー。
Fa, Fb, Ma, Mb, Ra, Rb ... Braille components, L ... Braille components, S ... Feed mechanism,
T ... Braille printing mechanism, 10 ... Housing, 10b ... Upper wall,
12a, 12b, 13a, 13b, 14a, 14b, 17 ... through hole,
15 ... Printing opening, 16 ... Feeding opening, 20a, 20b ... Front printing lever member,
30a, 30b ... middle print lever member, 40a, 40b ... rear print lever member,
21, 31, 41, 24, 34, 44 ... U-shaped lever,
21b, 31b, 41b, 24b, 34b, 44b ... rear lever part,
21c, 31c, 41c, 24c, 34c, 44c ... front lever part,
22, 32, 42, 25, 35, 45 ... input keys,
23, 26, 33, 36, 43, 46 ... coil spring, 60 ... roller,
60a ... rotating shaft, 70 ... tape, 70a ... pressing plate, 80 ... ratchet mechanism,
90a ... feed axis, 90 ... feed key.

Claims (1)

第1〜第3の点字構成要素及び当該第1〜第3の点字構成要素にそれぞれ対応する第4〜第6の点字構成要素でもって左右2列に配列してなる点字構成体を用いて、操作者により、その片手の指の操作でもって、点字をテープに順次印字可能とするようにした片手点字タイプライターであって、
ハウジングと、点字印字機構と、送り機構とを備えて、
前記ハウジングは、その上壁の前寄り部位にて、印字用開口部を形成するとともに、前記上壁の後寄り部位にて、前記点字構成体の前記第1〜第6の点字構成要素にそれぞれ対応して位置するように第1〜第6の貫通孔部を形成してなり、
前記点字印字機構は、
第1〜第6の印字レバー部材と、第1〜第6のバネ部材とを具備して、
前記第1〜第6の印字レバー部材は、
前記ハウジング内にてその前後方向に沿い下に凸な形状にて長手状に延在するように収容されるレバーであってその長手方向中間部位にて、上下方向に揺動可能に前記ハウジング内に支持されるレバーと、押動式入力キーとをそれぞれ有し、
前記各レバーの前部を、前記点字構成体の前記第1〜第6の点字構成要素の各位置に対応する位置にて前記上壁の前記印字用開口部をその下方から臨ませ、かつ、前記各レバーの後部を、それぞれ、前記上壁の前記第1〜第6の貫通孔部を通り上下動可能に延出させ、
各対応の前記入力キーを、それぞれ、各対応の前記レバーの後部の延出端部に支持し、
前記第1〜第6のバネ部材を、それぞれ、各対応の前記入力キーを前記上壁とは反対方向に付勢するように設けて、
操作者が、その片手の指にて、前記第1〜第6のバネ部材に選択的に抗して前記第1〜第6の入力キーを選択的に押動操作したとき、各対応の前記レバーが選択的に揺動してその前部にて印字可能に前記印字用開口部内に進入するようになっており、
前記送り機構は、
前記上壁の前記前寄り部位の前記印字用開口部に左右方向に隣接して形成される送り用開口部をその直下から臨むように前記ハウジング内にその前後方向に沿う回転軸を軸として回転可能に支持されるローラと、
このローラの近傍にて前記上壁に形成した貫通孔部を通り上下動可能に延出する送り軸の延出端部に支持される押動式送りキーと、
当該送りキーを前記上壁とは反対方向方へ付勢するバネ部材と、
このバネ部材に抗して前記送りキーを押動するごとに前記ロータを回転させるように、前記送り軸と前記ローラとの間に連結されるラチェット機構とを備えて、
前記テープを押さえ板により押さえるようにして前記上壁の前記前寄り部位上に前記送り用開口部及び前記印字用開口部を覆うように載置した状態にて、前記各レバーの選択的な揺動によるその前部の前記印字用開口部内への進入の際に、当該前部にて前記テープに点字を印字し、その後前記送りキーの押動操作に伴う前記ローラによりその回転でもって前記押さえ板による押さえのもとに前記送り用開口部を介して前記テープを送るようにした片手点字タイプライター。
Using the braille components formed by arranging the first to third braille components and the fourth to sixth braille components corresponding to the first to third braille components, respectively, in left and right rows, A one-hand Braille typewriter that allows the operator to sequentially print Braille on the tape by operating the finger of one hand.
A housing, a braille printing mechanism, and a feed mechanism;
The housing forms an opening for printing at a front portion of the upper wall, and the first to sixth braille components of the braille structure at a rear portion of the upper wall. Forming first to sixth through-hole portions to be correspondingly located;
The Braille printing mechanism is
Comprising first to sixth print lever members and first to sixth spring members;
The first to sixth print lever members are
A lever that is housed in the housing so as to extend in a longitudinally convex shape along the front-rear direction thereof, and is swingable in the vertical direction at an intermediate portion in the longitudinal direction. Each of which has a lever supported by and a push-type input key,
The front portion of each lever faces the opening for printing on the upper wall from below at positions corresponding to the respective positions of the first to sixth braille components of the braille component, and The rear portions of the levers extend through the first to sixth through-hole portions of the upper wall so as to be vertically movable,
Each corresponding input key is supported on the extended end of the rear portion of each corresponding lever,
The first to sixth spring members are provided so as to urge the corresponding input keys in directions opposite to the upper wall,
When the operator selectively pushes the first to sixth input keys against the first to sixth spring members with the finger of one hand, The lever is selectively swung to enter the printing opening so that printing can be performed at the front portion thereof.
The feeding mechanism is
Rotates around the rotation axis along the front-rear direction in the housing so that the feed opening formed adjacent to the printing opening at the front portion of the upper wall in the left-right direction is directly below it. A roller to be supported,
A push-type feed key supported by an extension end portion of a feed shaft extending so as to move up and down through a through hole formed in the upper wall in the vicinity of the roller;
A spring member for urging the feed key in a direction opposite to the upper wall;
A ratchet mechanism coupled between the feed shaft and the roller so as to rotate the rotor each time the feed key is pushed against the spring member;
In a state where the tape is pressed by a pressing plate and placed on the front portion of the upper wall so as to cover the feeding opening and the printing opening, the levers are selectively rocked. When the front part moves into the printing opening due to movement, Braille is printed on the tape at the front part, and then the presser is rotated by the roller accompanying the pushing operation of the feed key. A one-handed Braille typewriter that feeds the tape through the feed opening under pressure by a plate.
JP2010163793A 2010-07-21 2010-07-21 One hand braille typewriter Pending JP2012024967A (en)

Priority Applications (1)

Application Number Priority Date Filing Date Title
JP2010163793A JP2012024967A (en) 2010-07-21 2010-07-21 One hand braille typewriter

Applications Claiming Priority (1)

Application Number Priority Date Filing Date Title
JP2010163793A JP2012024967A (en) 2010-07-21 2010-07-21 One hand braille typewriter

Publications (1)

Publication Number Publication Date
JP2012024967A true JP2012024967A (en) 2012-02-09

Family

ID=45778515

Family Applications (1)

Application Number Title Priority Date Filing Date
JP2010163793A Pending JP2012024967A (en) 2010-07-21 2010-07-21 One hand braille typewriter

Country Status (1)

Country Link
JP (1) JP2012024967A (en)

Citations (4)

* Cited by examiner, † Cited by third party
Publication number Priority date Publication date Assignee Title
JPS52134514A (en) * 1976-05-06 1977-11-10 Moshida Yuugengaishiya Braille typewriter printer
JPS58162371A (en) * 1982-03-20 1983-09-27 Keiichi Kawahara Portable braille bill making machine
JPH10268756A (en) * 1997-03-26 1998-10-09 Mitsubishi Electric Corp Electronic Braille device
JP2001166684A (en) * 1999-12-07 2001-06-22 Hm Acty:Kk Finger braille device

Patent Citations (4)

* Cited by examiner, † Cited by third party
Publication number Priority date Publication date Assignee Title
JPS52134514A (en) * 1976-05-06 1977-11-10 Moshida Yuugengaishiya Braille typewriter printer
JPS58162371A (en) * 1982-03-20 1983-09-27 Keiichi Kawahara Portable braille bill making machine
JPH10268756A (en) * 1997-03-26 1998-10-09 Mitsubishi Electric Corp Electronic Braille device
JP2001166684A (en) * 1999-12-07 2001-06-22 Hm Acty:Kk Finger braille device

Similar Documents

Publication Publication Date Title
US8449208B2 (en) Ramped-key keyboard for a handheld mobile communication device
EP1911055B1 (en) Button input apparatus with display function and portable electronic device having the same
US7489302B2 (en) Handheld mobile communication device with flexible keys
JP2012024967A (en) One hand braille typewriter
US5914468A (en) Keyboard unit and key switch
JP4438769B2 (en) Steering switch device
CN101233013B (en) Operation device for vehicle
JP2011135541A (en) Operation device and image recording device comprising the same
US9666390B2 (en) Keyboard containing keys having sequential switching capacities
JP2007076539A (en) Input device
JP2010118167A (en) Keytop unit, keyboard, and electronic equipment
JP4189885B2 (en) Type device, printing device and business card holder with printing function
US4141658A (en) Attachment for remote control of a keyboard
CA2591182C (en) Angular keyboard for a handheld mobile communication device
US7237461B1 (en) Reverse ratchet wrench with light to indicate the driving orientation
JP2004259211A (en) Character inputting emulator
JP6187206B2 (en) Operating device
KR100596158B1 (en) Character input method using the navigation key of the terminal
JP3124600U (en) Game machine key mechanism
JP2009129435A (en) Input device for portable electronic device
JP2010152854A (en) Keyboard
US7692626B2 (en) Peripheral device and housing
US20070151423A1 (en) Apparatus of reverse ratchet wrench to indicate the driving orientation
JP2003091228A5 (en)
KR200223294Y1 (en) Cover Inside Keyboard

Legal Events

Date Code Title Description
A621 Written request for application examination

Free format text: JAPANESE INTERMEDIATE CODE: A621

Effective date: 20130508

A977 Report on retrieval

Free format text: JAPANESE INTERMEDIATE CODE: A971007

Effective date: 20140207

A131 Notification of reasons for refusal

Free format text: JAPANESE INTERMEDIATE CODE: A131

Effective date: 20140218

A02 Decision of refusal

Free format text: JAPANESE INTERMEDIATE CODE: A02

Effective date: 20140624