JP2012017735A - Fluid power generation device - Google Patents

Fluid power generation device Download PDF

Info

Publication number
JP2012017735A
JP2012017735A JP2011124259A JP2011124259A JP2012017735A JP 2012017735 A JP2012017735 A JP 2012017735A JP 2011124259 A JP2011124259 A JP 2011124259A JP 2011124259 A JP2011124259 A JP 2011124259A JP 2012017735 A JP2012017735 A JP 2012017735A
Authority
JP
Japan
Prior art keywords
housing
generator
rotating shaft
bearing
power generation
Prior art date
Legal status (The legal status is an assumption and is not a legal conclusion. Google has not performed a legal analysis and makes no representation as to the accuracy of the status listed.)
Granted
Application number
JP2011124259A
Other languages
Japanese (ja)
Other versions
JP6049985B2 (en
Inventor
Tomoyuki Aida
智幸 会田
Yuuki Hayashi
勇樹 林
Toshiyuki Asao
利之 浅生
Yukio Suguro
幸男 勝呂
Current Assignee (The listed assignees may be inaccurate. Google has not performed a legal analysis and makes no representation or warranty as to the accuracy of the list.)
JIST CO Ltd
THK Co Ltd
Original Assignee
JIST CO Ltd
THK Co Ltd
Priority date (The priority date is an assumption and is not a legal conclusion. Google has not performed a legal analysis and makes no representation as to the accuracy of the date listed.)
Filing date
Publication date
Application filed by JIST CO Ltd, THK Co Ltd filed Critical JIST CO Ltd
Priority to JP2011124259A priority Critical patent/JP6049985B2/en
Publication of JP2012017735A publication Critical patent/JP2012017735A/en
Application granted granted Critical
Publication of JP6049985B2 publication Critical patent/JP6049985B2/en
Active legal-status Critical Current
Anticipated expiration legal-status Critical

Links

Images

Classifications

    • YGENERAL TAGGING OF NEW TECHNOLOGICAL DEVELOPMENTS; GENERAL TAGGING OF CROSS-SECTIONAL TECHNOLOGIES SPANNING OVER SEVERAL SECTIONS OF THE IPC; TECHNICAL SUBJECTS COVERED BY FORMER USPC CROSS-REFERENCE ART COLLECTIONS [XRACs] AND DIGESTS
    • Y02TECHNOLOGIES OR APPLICATIONS FOR MITIGATION OR ADAPTATION AGAINST CLIMATE CHANGE
    • Y02EREDUCTION OF GREENHOUSE GAS [GHG] EMISSIONS, RELATED TO ENERGY GENERATION, TRANSMISSION OR DISTRIBUTION
    • Y02E10/00Energy generation through renewable energy sources
    • Y02E10/70Wind energy
    • Y02E10/72Wind turbines with rotation axis in wind direction

Landscapes

  • Wind Motors (AREA)

Abstract

PROBLEM TO BE SOLVED: To provide a fluid power generation device capable of preventing and alleviating the wear and damage of a rotary shaft, by preventing the deflection of the rotary shaft that connects an impeller, a transmission and a generator.SOLUTION: A first bearing 34a and a second bearing 34b that supports a first rotary shaft 21 so as to freely rotate are formed in the housing 31 of a transmission 24. In other words, a windmill is supported by the housing 31. In addition, a generator 25 is also supported by the housing 31 through a generator support member 27.

Description

本発明は、流体発電装置に関する。特に、風力発電装置に関する。   The present invention relates to a fluid power generation apparatus. In particular, it relates to a wind power generator.

流体の流れを利用して発電を行う流体発電装置の一例として、風力発電装置(風力発電機)が知られている。風力発電装置は、周知のように、風車(羽根車)が流体の流動を受けて、生じた回転力(機械エネルギー)を発電機で電気エネルギーに変換して発電を行うものが一般的である。   A wind power generator (wind generator) is known as an example of a fluid power generator that generates power using a fluid flow. As is well known, the wind power generator generally generates power by converting the generated rotational force (mechanical energy) into electrical energy by a generator when the windmill (impeller) receives fluid flow. .

こうした流体発電装置は、風向きに応じて風車の向きを適切に変化させるために、例えば、支柱の一端に軸周方向に回動自在に形成された基台(ナセル)を備えている。そして、この基台に対して、風車の回転軸を支持する軸受、および風車の回転軸の回転数を増加させる変速機が、それぞれ個別に取り付けられている。これら軸受、および変速機は、基台に対してそれぞれ軸受、ダンパーなどの制振部材を介して接続されているのが一般的である(例えば、特許文献1参照)。   In order to appropriately change the direction of the wind turbine according to the wind direction, such a fluid power generation apparatus includes, for example, a base (nacelle) that is formed at one end of the support so as to be rotatable in the axial circumferential direction. And the bearing which supports the rotating shaft of a windmill, and the transmission which increases the rotation speed of the rotating shaft of a windmill are each attached to this base individually. These bearings and the transmission are generally connected to the base via vibration damping members such as bearings and dampers (see, for example, Patent Document 1).

特開平7−279815号公報JP 7-279815 A

しかしながら、上述した特許文献1にあるような風力発電装置では、風車の軸受と発電機とがそれぞれ個別に基台となるハウジングに対して支持され、しかも変速機とハウジングとの間には制振部材が配されているため、風車と発電機、及び増速機との間で回転力を伝達する回転軸が湾曲し、トルクが増大して磨耗が加速するなどの課題があった。   However, in the wind turbine generator as described in Patent Document 1 described above, the wind turbine bearing and the generator are individually supported by a housing serving as a base, and the vibration suppression is provided between the transmission and the housing. Since the members are arranged, the rotating shaft that transmits the rotational force between the windmill, the power generator, and the speed increaser is curved, resulting in increased torque and accelerated wear.

また、流体発電装置の組立時においても、風車の軸受が3つ以上あるとも不静定な支持状態となるため、回転軸の軸合わせのための隙間調整が必要であり、非常に手間が掛かるという課題があった。   Also, when assembling the hydroelectric generator, even if there are three or more wind turbine bearings, it becomes an indefinite support state, so it is necessary to adjust the clearance for the alignment of the rotating shaft, which is very laborious. There was a problem.

本発明は、上述した事情に鑑みてなされたもので、羽根車、変速機、および発電機を連結する回転軸の撓みを防ぐことによって、回転軸の損傷や磨耗を防止、軽減できる流体発電装置を提案することを目的とする。   The present invention has been made in view of the above-described circumstances, and is a fluid power generation apparatus that can prevent or reduce damage and wear of a rotating shaft by preventing bending of the rotating shaft connecting an impeller, a transmission, and a generator. The purpose is to propose.

本発明は、流体発電装置の組立時において、回転軸の軸合わせを容易にして組立時の組立容易性を向上させた流体発電装置を提案することを目的とする。   It is an object of the present invention to propose a fluid power generation apparatus that facilitates the axial alignment of the rotating shaft during assembly of the fluid power generation apparatus and improves the ease of assembly during assembly.

本発明は、風車に連結される回転軸の回転トルクの増大を回避できる流体発電装置を提案することを目的とする。   An object of the present invention is to propose a fluid power generation apparatus capable of avoiding an increase in rotational torque of a rotating shaft connected to a windmill.

本発明は、上記課題を解決するために以下の手段を採用した。
本発明に係る流体発電装置は、流体の流動を受けて第一回転軸を中心に回転する羽根車と、前記第一回転軸の回転数を変化させて第二回転軸に伝達する変速機と、前記第二回転軸の回転力によって電力を発電する発電機と、前記第一回転軸を回転自在に支持する軸受と、支柱の一端に該支柱の中心軸を回転中心として、回転自在に支持された基台と、を備え、少なくとも前記変速機および前記軸受はハウジングに覆われ、前記ハウジングは前記基台に支持されることを特徴とする。
The present invention employs the following means in order to solve the above problems.
The fluid power generation device according to the present invention includes an impeller that rotates around a first rotation shaft in response to a fluid flow, a transmission that changes the number of rotations of the first rotation shaft, and transmits the rotation to the second rotation shaft. A generator that generates electric power by the rotational force of the second rotating shaft, a bearing that rotatably supports the first rotating shaft, and a shaft that is rotatably supported at one end of the column with the center axis of the column as a rotation center And at least the transmission and the bearing are covered with a housing, and the housing is supported by the base.

本発明によれば、羽根車および発電機をハウジングだけに支持させ、このハウジングを基台に支持させることによって、羽根車と変速機との位置関係、および変速機と発電機との位置関係は、風力発電装置の揺動や振動によっても変わることが無い。このため、羽根車と変速機とを連結する第一回転軸や、変速機と発電機とを連結する第二回転軸に応力が加わって撓んだりすることが無く、第一回転軸や第二回転軸の磨耗を抑制して、長寿命化を図ることができる。   According to the present invention, by supporting the impeller and the generator only on the housing and supporting the housing on the base, the positional relationship between the impeller and the transmission and the positional relationship between the transmission and the generator are The wind power generator does not change even when the wind power generator swings or vibrates. For this reason, the first rotary shaft that connects the impeller and the transmission and the second rotary shaft that connects the transmission and the generator are not bent due to stress, and the first rotary shaft and the first It is possible to extend the service life by suppressing the wear of the two rotating shafts.

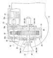
本発明の第一実施形態に係る風力発電装置の外観図である。It is an external view of the wind power generator concerning a first embodiment of the present invention. 図1のA−A線の断面図である。It is sectional drawing of the AA line of FIG. 本体部の概略構成を示す拡大断面図(図1のA−A線断面図)である。It is an expanded sectional view (AA sectional view taken on the line of FIG. 1) which shows schematic structure of a main-body part. 本発明の第二実施形態に係る風力発電装置の要部拡大断面図である。It is a principal part expanded sectional view of the wind power generator concerning 2nd embodiment of this invention. 図3のB―B線の断面図である。FIG. 4 is a cross-sectional view taken along line BB in FIG. 3.

以下、本発明の実施形態について図面を参照して説明する。
図1は、本発明の本発明の第一実施形態に係る風力発電装置10を示す外観図である。図2は、図1に示す風力発電装置10を鉛直方向における上から見たときの断面図(図1のA−A線の断面図)。
Embodiments of the present invention will be described below with reference to the drawings.
FIG. 1 is an external view showing a wind turbine generator 10 according to a first embodiment of the present invention. 2 is a cross-sectional view of the wind power generator 10 shown in FIG. 1 as viewed from above in the vertical direction (cross-sectional view taken along line AA in FIG. 1).

水平軸型の風力発電装置(流体発電装置)10は、風車(羽根車)23の回転中心となる第一回転軸(回転主軸)21が地面(設置面)Fに対して略水平となるように設置される。つまり、風車23の第一回転軸21は、地面Fに沿って流れる風(流体)Wに沿って延びる。   In the horizontal axis type wind power generator (fluid power generator) 10, the first rotating shaft (rotating main shaft) 21 that is the rotation center of the windmill (impeller) 23 is substantially horizontal with respect to the ground (installation surface) F. Installed. That is, the first rotating shaft 21 of the windmill 23 extends along the wind (fluid) W that flows along the ground surface F.

この風力発電装置10は、地面Fに対して鉛直方向に立つように固定された支柱11と、この支柱11の一端に形成された基台(ナセル)12と、この基台12上に制振部材26を介して設置された本体部13とを備えている。基台12は回転台14を介して支柱11に接続されている。これによって、基台12は、地面Fに固定された支柱11に対して、水平面に沿って回転自在にされている。   The wind power generator 10 includes a support column 11 fixed so as to stand in a vertical direction with respect to the ground F, a base (nacelle) 12 formed at one end of the support column 11, and vibration suppression on the base 12. And a main body 13 installed via a member 26. The base 12 is connected to the support 11 through a turntable 14. Accordingly, the base 12 is rotatable along a horizontal plane with respect to the support 11 fixed to the ground F.

本体部13は、第一回転軸21を中心に回転する風車23と、第一回転軸21の回転数を変化させて第二回転軸22に伝達する変速機24と、第二回転軸22の回転力によって電力を発電する発電機25とを備えている。なお、本体部13は全体が外装体(ケース)29で覆われていれば良い。   The main body 13 includes a windmill 23 that rotates about the first rotation shaft 21, a transmission 24 that changes the number of rotations of the first rotation shaft 21 and transmits it to the second rotation shaft 22, and the second rotation shaft 22 And a generator 25 that generates electric power by rotational force. In addition, the main-body part 13 should just be covered with the exterior body (case) 29 as a whole.

第一回転軸21の一端側には、風車23が設けられている。即ち、第一回転軸21の一端には、羽根固定部材41が固定され、この羽根固定部材41に互いに等間隔で3枚の翼ブレード(羽根)42が取り付けられている。各翼ブレード42は、風Wを受けると揚力を発生する形状に成形されている。各翼ブレード42に発生する揚力は、第一回転軸21の半径方向に対して交差する方向に発生するため、この揚力によって風車23が風(流体)Wを受け止めると第一回転軸21が回転される。   A windmill 23 is provided on one end side of the first rotating shaft 21. That is, a blade fixing member 41 is fixed to one end of the first rotary shaft 21, and three blade blades (blades) 42 are attached to the blade fixing member 41 at equal intervals. Each blade 42 is formed in a shape that generates lift when receiving wind W. The lift generated in each blade blade 42 is generated in a direction intersecting with the radial direction of the first rotary shaft 21. Therefore, when the wind turbine 23 receives the wind (fluid) W by this lift, the first rotary shaft 21 rotates. Is done.

風車23は、回転中心である第一回転軸21の軸線S1が水平方向Rに対して角度θで僅かに傾斜していればよい。例えば、第一回転軸21の軸線S1は、水平方向Rに対して角度θが1〜3°程度上向きになるように傾斜して形成されていればよい。これによって、風車23を構成する翼ブレード(羽根)42が強風などによって撓んだとしても、支柱11に接触することを防止できる   The wind turbine 23 only needs to be slightly inclined with respect to the horizontal direction R by an angle θ with respect to the axis S <b> 1 of the first rotation shaft 21 that is the rotation center. For example, the axis S <b> 1 of the first rotation shaft 21 may be formed so as to be inclined with respect to the horizontal direction R so that the angle θ is upward about 1 to 3 °. As a result, even if the blade blade (blade) 42 constituting the windmill 23 is bent by a strong wind or the like, it can be prevented from contacting the support 11.

図3は、本体部13の概略構成を示す拡大断面図(図1のA−A線の断面図)である。
変速機24は、外部が例えば金属からなるハウジング31で覆われている。このハウジング31は、制振部材26(図1も参照)を介して基台12に支持される。制振部材26は、例えば制振ゴム、またはバネ、オイルダンパーなどの弾性体から構成されていれば良い。こうした制振部材26は、例えば、強風などによってハウジング31を含む本体部13に生じた振動、揺動などを吸収し、本体部13が基台12上で大きく振動することを防止する。
FIG. 3 is an enlarged cross-sectional view (cross-sectional view taken along line AA in FIG. 1) showing a schematic configuration of the main body 13.
The transmission 24 is covered with a housing 31 made of, for example, metal. The housing 31 is supported by the base 12 via a damping member 26 (see also FIG. 1). The damping member 26 may be made of, for example, a damping rubber or an elastic body such as a spring or an oil damper. Such a damping member 26 absorbs vibrations, swings, and the like generated in the main body 13 including the housing 31 due to, for example, a strong wind, and prevents the main body 13 from greatly vibrating on the base 12.

ハウジング31には、第一回転軸21および第二回転軸22が回転自在に支持されている。第一回転軸21には、ハウジング31内において第一歯車32が固定されている。第一回転軸21は、この第一歯車32を挟んで前後に配された第一軸受34aと第二軸受34bとからなる一対の軸受34によって、ハウジング31に対して回転自在に支持されている。   A first rotating shaft 21 and a second rotating shaft 22 are rotatably supported on the housing 31. A first gear 32 is fixed to the first rotating shaft 21 in the housing 31. The first rotary shaft 21 is rotatably supported with respect to the housing 31 by a pair of bearings 34 including a first bearing 34 a and a second bearing 34 b disposed on the front and rear sides of the first gear 32. .

軸受34のうち、第一軸受34aは、第一回転軸21の円周方向の応力を受け止めるラジアル軸受と第一回転軸21の軸方向の応力を受け止めるスラスト軸受の機能を有する。
また、第二軸受34bは、第一回転軸21の円周方向の応力を受け止めるラジアル軸受である。
Of the bearings 34, the first bearing 34 a functions as a radial bearing that receives stress in the circumferential direction of the first rotating shaft 21 and a thrust bearing that receives stress in the axial direction of the first rotating shaft 21.
The second bearing 34 b is a radial bearing that receives stress in the circumferential direction of the first rotating shaft 21.

第二回転軸22には、ハウジング31内において第二歯車33が固定されている。第二回転軸22は、この第二歯車33を挟んで前後に配された第三軸受35aと第四軸受35bとからなる一対の軸受35によって、ハウジング31に対して回転自在に支持されている。そして、第二歯車33は、第一歯車32と噛み合う様に形成されており、第一回転軸21が回転すると、第一歯車32および第二歯車33を介して第二回転軸22が回転される。   A second gear 33 is fixed to the second rotating shaft 22 in the housing 31. The second rotary shaft 22 is rotatably supported with respect to the housing 31 by a pair of bearings 35 including a third bearing 35a and a fourth bearing 35b disposed on the front and rear sides of the second gear 33. . The second gear 33 is formed so as to mesh with the first gear 32. When the first rotary shaft 21 rotates, the second rotary shaft 22 is rotated via the first gear 32 and the second gear 33. The

第二歯車33は、第一歯車32よりも小径のものが用いられれば良い。これによって、第一回転軸(低速軸)21の回転は、変速機24によって増速され、第一回転軸(低速軸)21の回転数よりも大きい回転数で第二回転軸(高速軸)22が回転される。   The second gear 33 may have a smaller diameter than the first gear 32. Thereby, the rotation of the first rotating shaft (low speed shaft) 21 is accelerated by the transmission 24, and the second rotating shaft (high speed shaft) is rotated at a rotational speed larger than the rotational speed of the first rotating shaft (low speed shaft) 21. 22 is rotated.

第二回転軸22の一端には、発電機25の回転軸25aが接続されている。発電機25は、例えばオルタネーターなどの交流発電機であればよい。こうした発電機25は、第二回転軸22の回転によって回転されるマグネットロータと、このマグネットロータの外周側を取り囲むように配置されたコイルステータとから構成され、マグネットロータの回転によってコイルステータとの間で、電磁誘導が発生して発電が行われる。なお、発電機25で発電された電力は、不図示の整流回路を介してバッテリに充電されればよい。   One end of the second rotating shaft 22 is connected to the rotating shaft 25 a of the generator 25. The generator 25 may be an AC generator such as an alternator, for example. Such a generator 25 includes a magnet rotor that is rotated by the rotation of the second rotary shaft 22 and a coil stator that is disposed so as to surround the outer peripheral side of the magnet rotor. In the meantime, electromagnetic induction occurs to generate electricity. The electric power generated by the generator 25 may be charged to the battery via a rectifier circuit (not shown).

発電機25は、発電機支持部材27に固定されている。そして、この発電機支持部材27は、変速機24のハウジング31に固定される。即ち、発電機25は、発電機支持部材27を介してハウジング31に固定されている。   The generator 25 is fixed to the generator support member 27. The generator support member 27 is fixed to the housing 31 of the transmission 24. That is, the generator 25 is fixed to the housing 31 via the generator support member 27.

このような構成の風力発電装置10の発電動作について説明する。風力発電装置10の風車23が風(流体)Wを受けると、本体部13を支持する基台(ナセル)12は、回転台14によって、風車23の回転面が風Wに正対するように回転する。そして、風Wによって風車23が回転を始める。   The power generation operation of the wind turbine generator 10 having such a configuration will be described. When the wind turbine 23 of the wind power generator 10 receives the wind (fluid) W, the base (nacelle) 12 that supports the main body 13 is rotated by the turntable 14 so that the rotating surface of the wind turbine 23 faces the wind W. To do. Then, the windmill 23 starts rotating by the wind W.

風車23が回転すると、この風車23が固定されている第一回転軸21が回転する。第一回転軸21の回転によって、変速機24を構成する第一歯車32が回転する。この第一歯車32が回転によって、第一歯車32と噛み合う第二歯車33が回転する。   When the windmill 23 rotates, the first rotating shaft 21 to which the windmill 23 is fixed rotates. The first gear 32 constituting the transmission 24 is rotated by the rotation of the first rotation shaft 21. As the first gear 32 rotates, the second gear 33 that meshes with the first gear 32 rotates.

この時、第二歯車33は、第一歯車32よりも小径であるので、第一回転軸21の回転数が増加(増速)されて第二回転軸22が回転する。風車23の回転数は比較的低速であり、効率よく発電を行うために変速機24によって回転数を増加させる。   At this time, since the second gear 33 has a smaller diameter than the first gear 32, the rotation speed of the first rotating shaft 21 is increased (accelerated) and the second rotating shaft 22 rotates. The rotational speed of the windmill 23 is relatively low, and the rotational speed is increased by the transmission 24 in order to efficiently generate power.

第二回転軸22が回転すると、この第二回転軸22に接続されている発電機25の回転軸25aが回転されて、発電機25で発電を行うことができる。   When the second rotating shaft 22 rotates, the rotating shaft 25a of the generator 25 connected to the second rotating shaft 22 is rotated, and the generator 25 can generate electric power.

以上のような風力発電装置10の作用、効果を説明する。
本発明の風力発電装置10は、変速機24のハウジング31に、第一回転軸21を回転自在に支持する第一軸受34a、第二軸受34bが設けられている。即ち、ハウジング31に風車23が支持されている。発電機25も、発電機支持部材27を介してハウジング31に支持されている。
The operation and effect of the wind power generator 10 as described above will be described.
In the wind turbine generator 10 of the present invention, a first bearing 34 a and a second bearing 34 b that rotatably support the first rotating shaft 21 are provided in the housing 31 of the transmission 24. That is, the windmill 23 is supported on the housing 31. The generator 25 is also supported by the housing 31 via a generator support member 27.

そして、これら風車23および発電機25を支持した(一体化した)ハウジング31が、基台12に支持される構造を成している。
本発明によれば、これによって、強風や振動を受けても第一回転軸21や第二回転軸22がズレたり撓んだりすることを防止できる。
即ち、従来の風力発電装置は、風車、変速機、発電機などが個々に独立して制振部材等を介して基台(ナセル)に支持されている構成であったため、それぞれの構成部材どうしの位置が振動などで動いたりすると、風車と変速機とを連結する回転軸や、変速機と発電機とを連結する回転軸が撓むなどして、風車と発電機、および変速機との間で、回転軸の磨耗が加速する原因となっていた。
A housing 31 that supports (integrates) the wind turbine 23 and the generator 25 is supported by the base 12.
According to the present invention, this makes it possible to prevent the first rotating shaft 21 and the second rotating shaft 22 from being displaced or bent even when subjected to strong wind or vibration.
In other words, the conventional wind power generator has a configuration in which the wind turbine, the transmission, the generator, and the like are individually supported by the base (nacelle) via the damping member and the like. If the position of the wind turbine moves due to vibration or the like, the rotating shaft that connects the windmill and the transmission or the rotating shaft that connects the transmission and the generator is bent. In the meantime, the wear of the rotating shaft accelerated.

本発明では、風車23および発電機25をハウジング31だけに支持させ、このハウジング31を基台12に支持させることによって、風車23と変速機24との位置関係、および変速機24と発電機25との位置関係は、風力発電装置10の揺動や振動によっても変わることが無い。   In the present invention, the wind turbine 23 and the generator 25 are supported only by the housing 31, and the housing 31 is supported by the base 12, whereby the positional relationship between the wind turbine 23 and the transmission 24, and the transmission 24 and the generator 25. Is not changed by the swing or vibration of the wind power generator 10.

そして、第一回転軸21だけでなく、第二回転軸22も第三軸受35aと第四軸受35bとからなる一対の軸受35によって支持されることで、不静定な状態となることが防止できる。これにより、第一回転軸21や第二回転軸22の湾曲が防止され、第一回転軸21や第二回転軸22の磨耗を抑制して長寿命化を図ることが可能になる。   And not only the 1st rotating shaft 21 but the 2nd rotating shaft 22 is supported by the pair of bearing 35 which consists of the 3rd bearing 35a and the 4th bearing 35b, and it will prevent that it will be in an indefinite state. it can. As a result, the first rotating shaft 21 and the second rotating shaft 22 are prevented from being bent, and wear of the first rotating shaft 21 and the second rotating shaft 22 can be suppressed to extend the life.

風力発電装置10は、製造時においても、変速機24や風車23の第一回転軸21を、それぞれ個別に制振部材を介して基台12に設けるのではなく、ハウジング31に一括して固定させるので、取付位置の位置決めが容易であり、第一回転軸21や第二回転軸22の軸線が曲がったりすることなく、確実に所定位置にズレなく取り付けることが可能になる。これによって、風力発電装置10の製造時においては、組立性を向上させることができる。また、風力発電装置10の動作時においては、第一回転軸21や第二回転軸22に内部荷重が生じて損傷することを確実に防止できる。   In the wind power generator 10, the first rotary shafts 21 of the transmission 24 and the windmill 23 are not individually provided on the base 12 via vibration damping members, but are collectively fixed to the housing 31 even at the time of manufacture. Therefore, the mounting position can be easily positioned, and the first rotating shaft 21 and the second rotating shaft 22 can be securely mounted at a predetermined position without being bent. Thereby, at the time of manufacture of the wind power generator 10, assembly property can be improved. Further, when the wind power generator 10 is in operation, it is possible to reliably prevent the first rotating shaft 21 and the second rotating shaft 22 from being damaged due to an internal load.

また、ハウジング31と基台12との間に制振部材26を設けることによって、風車23および発電機25を含む本体部13の全体に振動や揺動が発生することを防止できる。   In addition, by providing the damping member 26 between the housing 31 and the base 12, it is possible to prevent vibration and swinging from occurring in the entire main body 13 including the windmill 23 and the generator 25.

更に、風車23が一端に固定される第一回転軸21を、第一軸受34aと第二軸受34bの2つの軸受34でハウジング31に支持させることによって、風車23をハウジング31に対して安定して回転自在に支持させることができる。   Further, the first rotary shaft 21 to which the windmill 23 is fixed at one end is supported by the housing 31 by the two bearings 34 of the first bearing 34 a and the second bearing 34 b, thereby stabilizing the windmill 23 with respect to the housing 31. And can be rotatably supported.

更に、図3に示すように、第一回転軸21の軸線S1と、第二回転軸22の軸線S2とが、互いに異なる位置に沿って延びるように、第一回転軸21と第二回転軸22とをずらして配置したので、変速機24の小型化にも寄与する。   Further, as shown in FIG. 3, the first rotary shaft 21 and the second rotary shaft are arranged such that the axis S1 of the first rotary shaft 21 and the axis S2 of the second rotary shaft 22 extend along different positions. Therefore, the transmission 24 can be downsized.

なお、第一実施形態では、第一回転軸21と第二回転軸22とを水平方向にずらして配置しているが、これ以外にも、例えば、第一回転軸21と第二回転軸22とを鉛直方向に沿って上下に配置しても良い。第一回転軸(低速軸)21と第二回転軸(高速軸)22とを上下方向にずらして配置すれば、風力発電装置10の本体部13の水平方向における重量バランスが向上し、より一層安定して発電を行うことができる。   In the first embodiment, the first rotating shaft 21 and the second rotating shaft 22 are arranged so as to be shifted in the horizontal direction, but other than this, for example, the first rotating shaft 21 and the second rotating shaft 22 are arranged. May be arranged vertically along the vertical direction. If the first rotating shaft (low-speed shaft) 21 and the second rotating shaft (high-speed shaft) 22 are arranged so as to be shifted in the vertical direction, the weight balance in the horizontal direction of the main body 13 of the wind power generator 10 is improved, and further. Power generation can be performed stably.

図4は、本発明の第二実施形態に係る風力発電装置50を示す要部拡大断面図である。
風力発電装置50では、一端に風車が固定される第一回転軸61の軸線と、一端に発電機の回転軸と接続される第二回転軸62の軸線とが同一の軸線S3上に位置するように構成した。
FIG. 4 is an enlarged cross-sectional view showing a main part of a wind turbine generator 50 according to the second embodiment of the present invention.
In the wind power generation device 50, the axis of the first rotating shaft 61 to which the windmill is fixed at one end and the axis of the second rotating shaft 62 connected to the rotating shaft of the generator at one end are located on the same axis S3. It was configured as follows.

変速機54は、外部が例えば金属からなるハウジング51で覆われ、このハウジング51は、制振部材56を介して基台12(図1参照)に支持される。ハウジング51には、第一回転軸61、第二回転軸62、およびこの2つの回転軸を連動させる連結回転軸63がそれぞれ回転自在に支持されている。   The exterior of the transmission 54 is covered with a housing 51 made of, for example, metal, and the housing 51 is supported on the base 12 (see FIG. 1) via a vibration damping member 56. A first rotating shaft 61, a second rotating shaft 62, and a connecting rotating shaft 63 that links the two rotating shafts are rotatably supported by the housing 51.

第一回転軸61には、ハウジング51内において第一歯車72が固定されている。また、第二回転軸62には、第二歯車73が固定されている。そして、連結回転軸63には、第一歯車72の回転を第二歯車73に伝える2つの従動歯車74a,74bが固定されている。   A first gear 72 is fixed to the first rotating shaft 61 in the housing 51. A second gear 73 is fixed to the second rotating shaft 62. Two driven gears 74 a and 74 b that transmit the rotation of the first gear 72 to the second gear 73 are fixed to the connecting rotation shaft 63.

こうした構成によって、風車(図1参照)の回転によって第一回転軸61が回転すると、第一歯車72から従動歯車74a,74bを介して第二歯車73に回転力が伝えられる。そして、第二歯車73が一端に固定されている第二回転軸62が回転することにより、第二回転軸62に接続された発電機65の回転軸66が回転され、発電が行われる。   With this configuration, when the first rotating shaft 61 is rotated by the rotation of the windmill (see FIG. 1), the rotational force is transmitted from the first gear 72 to the second gear 73 via the driven gears 74a and 74b. And when the 2nd rotating shaft 62 in which the 2nd gearwheel 73 is being fixed to one end rotates, the rotating shaft 66 of the generator 65 connected to the 2nd rotating shaft 62 is rotated, and electric power generation is performed.

風力発電装置50においても、発電機65を支持する発電機支持部材67は、ハウジング51に固定されている。また、風車もハウジング51に形成された軸受に支持されている。即ち、風車および発電機65はハウジング51だけに支持される。   Also in the wind power generator 50, the generator support member 67 that supports the generator 65 is fixed to the housing 51. The windmill is also supported by a bearing formed in the housing 51. That is, the windmill and the generator 65 are supported only by the housing 51.

第二実施形態においても、強風や振動を受けても風車と変速機54とを連結する第一回転軸61や、変速機54と発電機65とを連結する第二回転軸62が撓んだりすることが無い。その結果、風力発電装置50の制振部材56が揺動しても、風車と変速機54との位置ズレ、変速機54と発電機65との位置ズレによる第一回転軸61や、第二回転軸62の磨耗を防止して、長寿命化を図ることが可能になる。   Also in the second embodiment, the first rotating shaft 61 that connects the windmill and the transmission 54 even when subjected to strong wind or vibration, or the second rotating shaft 62 that connects the transmission 54 and the generator 65 is bent. There is nothing to do. As a result, even if the vibration damping member 56 of the wind power generator 50 is swung, the first rotating shaft 61 or the second rotation shaft due to the positional deviation between the windmill and the transmission 54 and the positional deviation between the transmission 54 and the generator 65, It is possible to prevent the rotating shaft 62 from being worn and to extend its life.

また、一端に風車が固定される第一回転軸61の軸線と、一端に発電機の回転軸と接続される第二回転軸62の軸線とを同一の軸線S3上に位置するように構成することで、風力発電装置50の風の流れる方向に直交する幅方向のサイズを小さくすることができ、より一層、風力発電装置50の小型化を実現できる。   In addition, the axis of the first rotating shaft 61 with the wind turbine fixed at one end and the axis of the second rotating shaft 62 connected with the rotating shaft of the generator at one end are positioned on the same axis S3. Thereby, the size of the width direction orthogonal to the wind flow direction of the wind power generator 50 can be reduced, and further downsizing of the wind power generator 50 can be realized.

図5は、図3のB―B線の断面図である。
図3では図示を省略していたが、第一実施形態に係る風力発電装置10のハウジング31には、第一軸受34a及び第二軸受34bの外部側に、シール機構80が設けられている。
シール機構80は、ハウジング31の内部に異物が侵入することを防止するため、またハウジング31の内部の潤滑油Lが漏出するのを防止するために設けられる。
5 is a cross-sectional view taken along line BB in FIG.
Although not shown in FIG. 3, a seal mechanism 80 is provided on the outside of the first bearing 34 a and the second bearing 34 b in the housing 31 of the wind turbine generator 10 according to the first embodiment.
The seal mechanism 80 is provided to prevent foreign matter from entering the housing 31 and to prevent the lubricating oil L inside the housing 31 from leaking out.

シール機構80としては、非接触型シール機構であるラビリンスシール機構が採用される。
例えばオイルシール等の接触型シール機構を用いた場合には、第一回転軸21に摺動抵抗(摺動摩擦)が与えられて、第一回転軸21の回転を阻害してしまう。つまり、第一回転軸21に動力損失が発生して、風力発電装置50の発電効率が低下する。
このため、上述したように、風力発電装置50では、非接触型シール機構(ラビリンスシール機構)であるシール機構80を採用して、第一回転軸21の回転トルクの増大を回避している。シール機構80を用いた場合には、接触型シール機構の場合と比べて、第一回転軸21の回転トルクを10%以上低減することができる。
As the seal mechanism 80, a labyrinth seal mechanism that is a non-contact type seal mechanism is employed.
For example, when a contact-type sealing mechanism such as an oil seal is used, sliding resistance (sliding friction) is applied to the first rotating shaft 21 and the rotation of the first rotating shaft 21 is hindered. That is, a power loss occurs in the first rotating shaft 21, and the power generation efficiency of the wind power generator 50 decreases.
Therefore, as described above, the wind power generator 50 employs the seal mechanism 80 that is a non-contact type seal mechanism (labyrinth seal mechanism) to avoid an increase in the rotational torque of the first rotary shaft 21. When the seal mechanism 80 is used, the rotational torque of the first rotating shaft 21 can be reduced by 10% or more compared to the case of the contact-type seal mechanism.

シール機構80は、第一回転軸21を挿通するためにハウジング31に形成された孔部に取り付けられるリング部81と、第一回転軸21に嵌め込まれたフランジ部82とから構成される。そして、リング部81の内周側の段差とフランジ部82の外周側の段差とを第一回転軸21の軸方向において近接させることによりラビリンスが形成される。なお、ラビリンスシール機構の段数は、任意に設定することができる。
シール機構80は、変速機24や軸受34等が収容されるハウジング31に設けられるため、部品点数を最小限に抑えることができる。すなわち、変速機24や軸受34に対して別々にシール機構を設ける必要がないので、最小限の部品点数に抑えられる。
The seal mechanism 80 includes a ring portion 81 that is attached to a hole formed in the housing 31 in order to insert the first rotary shaft 21, and a flange portion 82 that is fitted into the first rotary shaft 21. Then, the labyrinth is formed by bringing the step on the inner peripheral side of the ring portion 81 and the step on the outer peripheral side of the flange portion 82 close in the axial direction of the first rotating shaft 21. Note that the number of stages of the labyrinth seal mechanism can be set arbitrarily.
Since the seal mechanism 80 is provided in the housing 31 in which the transmission 24, the bearing 34, and the like are accommodated, the number of parts can be minimized. That is, since it is not necessary to provide a separate sealing mechanism for the transmission 24 and the bearing 34, the number of parts can be minimized.

第一回転軸21の軸線S1は、水平方向Rに対して角度θで僅かに傾斜している。例えば、角度θは、1〜3°程度上向きに設定される。このため、ハウジング31の内部の貯留された潤滑油Lは、第一回転軸21を伝わって、下方側の第二軸受34bの周辺に溜まりやすい。
しかし、シール機構80は、非接触型(ラビリンスシール機構)であるため、潤滑油Lの漏出を完全に防止できない。そこで、第二軸受34bの軸方向下方側に潤滑油循環機構90を設ける。具体的には、ハウジング31に取り付けられたリング部81にオイル溜まり91を形成し、このオイル溜まり91とハウジング31の底側内部空間31Sを連通管92により連結する。これにより、第二軸受34bの軸方向下方側に流れ込んだ潤滑油Lは、一旦、リング部81のオイル溜まり91に集められ、その後、重力の作用により連通管92を介してハウジング31の底側内部空間31Sに向けて戻される。このため、ハウジング31の内部の潤滑油Lが漏出するのを防止することができる。
The axis S1 of the first rotating shaft 21 is slightly inclined with respect to the horizontal direction R at an angle θ. For example, the angle θ is set upward by about 1 to 3 °. For this reason, the lubricating oil L stored inside the housing 31 is easily transmitted to the periphery of the second bearing 34 b on the lower side through the first rotating shaft 21.
However, since the seal mechanism 80 is a non-contact type (labyrinth seal mechanism), the leakage of the lubricating oil L cannot be prevented completely. Therefore, a lubricating oil circulation mechanism 90 is provided on the lower side in the axial direction of the second bearing 34b. Specifically, an oil reservoir 91 is formed in a ring portion 81 attached to the housing 31, and the oil reservoir 91 and the bottom side internal space 31 </ b> S of the housing 31 are connected by a communication pipe 92. As a result, the lubricating oil L that has flowed downward in the axial direction of the second bearing 34b is once collected in the oil reservoir 91 of the ring portion 81, and then the bottom side of the housing 31 via the communication pipe 92 due to the action of gravity. It is returned toward the internal space 31S. For this reason, it is possible to prevent the lubricating oil L inside the housing 31 from leaking.

潤滑油Lは、ハウジング31が1〜3°程度の傾斜(角度θ)を有して設置されているので、ポンプ等の動力源を用いることなく、底側内部空間31Sと潤滑油循環機構90の間を自然(自動)に循環する。
すなわち、ハウジング31の底側内部空間31Sに収容された潤滑油Lは、風車23の回転に連動する変速機24(第一歯車32)によってハウジング31の内部で拡散される。第一回転軸21に付着した潤滑油Lは、第一回転軸21が傾斜(角度θ)しているため、
第一回転軸21に沿って下方に流れ、第二軸受34bを通過して潤滑油循環機構90のオイル溜まり91に達する。そして、上述したように、オイル溜まり91に流れ込んだ潤滑油Lは、重力の作用により連通管92を介してハウジング31の底側内部空間31Sに向けて戻される。
このようにして、ハウジング31の内部の潤滑油Lを自然(自動)循環させることができる。
そこで、潤滑油循環機構90の連通管92の一部に、金属粉などを除去するフィルタ(不図示)を設けてもよい。ハウジング31の内部空間Sと連通管92の間で、潤滑油Lが循環するので、金属粉などの異物をフィルタにより効率的に除去することが可能となる。
Since the housing 31 is installed with an inclination (angle θ) of about 1 to 3 °, the lubricating oil L is disposed in the bottom side internal space 31S and the lubricating oil circulation mechanism 90 without using a power source such as a pump. It circulates naturally between (naturally).
That is, the lubricating oil L accommodated in the bottom inner space 31S of the housing 31 is diffused inside the housing 31 by the transmission 24 (first gear 32) that is interlocked with the rotation of the windmill 23. The lubricating oil L adhering to the first rotating shaft 21 is inclined (angle θ) because the first rotating shaft 21 is inclined.
The oil flows downward along the first rotating shaft 21, passes through the second bearing 34 b, and reaches the oil reservoir 91 of the lubricating oil circulation mechanism 90. As described above, the lubricating oil L flowing into the oil reservoir 91 is returned toward the bottom-side internal space 31S of the housing 31 through the communication pipe 92 by the action of gravity.
In this way, the lubricating oil L inside the housing 31 can be circulated naturally (automatically).
Therefore, a filter (not shown) for removing metal powder or the like may be provided in a part of the communication pipe 92 of the lubricating oil circulation mechanism 90. Since the lubricating oil L circulates between the internal space S of the housing 31 and the communication pipe 92, foreign matters such as metal powder can be efficiently removed by the filter.

なお、潤滑油循環機構90は、第二軸受34bの近傍に設ける場合に限らない。第一軸受34aの近傍にも設けてもよい。
また、第二回転軸22を支持する軸受35の近傍に、シール機構80及び潤滑油循環機構90を設けてもよい。
The lubricating oil circulation mechanism 90 is not limited to being provided in the vicinity of the second bearing 34b. You may provide also in the vicinity of the 1st bearing 34a.
Further, a seal mechanism 80 and a lubricating oil circulation mechanism 90 may be provided in the vicinity of the bearing 35 that supports the second rotary shaft 22.

このように、風力発電装置10は、第一回転軸21が接続されるハウジング31に非接触型のシール機構80を設けたので、第一回転軸21の回転トルクの増大を回避できる。また、シール機構80の部品点数を最小限に抑えることができる。   Thus, since the wind turbine generator 10 is provided with the non-contact type seal mechanism 80 in the housing 31 to which the first rotary shaft 21 is connected, an increase in the rotational torque of the first rotary shaft 21 can be avoided. Further, the number of parts of the seal mechanism 80 can be minimized.

また、第二軸受34bの軸方向下方側に、潤滑油Lをハウジング31の底側内部空間31Sに戻す潤滑油循環機構90を設けたので、潤滑油Lが漏出を確実に防止できる。潤滑油循環機構90の連通管92にフィルタを設けることにより、潤滑油Lに含まれる金属粉などの異物を効率的に除去することができる。
なお、第二実施形態に係る風力発電装置50においても、シール機構80及び潤滑油循環機構90を用いることができる。
Further, since the lubricating oil circulation mechanism 90 that returns the lubricating oil L to the bottom inner space 31S of the housing 31 is provided on the lower side in the axial direction of the second bearing 34b, the lubricating oil L can be reliably prevented from leaking. By providing a filter in the communication pipe 92 of the lubricating oil circulation mechanism 90, foreign substances such as metal powder contained in the lubricating oil L can be efficiently removed.
In the wind power generator 50 according to the second embodiment, the seal mechanism 80 and the lubricating oil circulation mechanism 90 can be used.

なお、上述した各実施形態において示した各構成部材の諸形状や組み合わせ等は一例であって、本発明の主旨から逸脱しない範囲において設計要求等に基づき種々変更可能である。   Note that the shapes, combinations, and the like of the constituent members shown in the above-described embodiments are merely examples, and various modifications can be made based on design requirements and the like without departing from the gist of the present invention.

例えば、上述した各実施形態では、発電機を発電機支持部材を介してハウジングに固定したが、発電機をハウジングに直接固定する構成であっても良い。また、上述した各実施形態では、ハウジングと基台とは、制振部材を介して接続しているが、ハウジングを基台に直接接続してもよい。   For example, in each of the embodiments described above, the generator is fixed to the housing via the generator support member. However, the generator may be directly fixed to the housing. Moreover, in each embodiment mentioned above, although the housing and the base are connected via the damping member, you may connect a housing directly to a base.

上述した各実施形態では、第一軸受34aが複列(ラジアル軸受とスラストラジアル軸受)であり、第二軸受34bが単列(ラジアル軸受)であるの場合について説明したが、これに限らない。第一軸受34aを単列(ラジアル軸受)、第二軸受34bを複列(ラジアル軸受とスラスト軸受)にしてもよい。   In each of the above-described embodiments, the case where the first bearing 34a is a double row (radial bearing and thrust radial bearing) and the second bearing 34b is a single row (radial bearing) is described, but the present invention is not limited thereto. The first bearing 34a may be a single row (radial bearing), and the second bearing 34b may be a double row (radial bearing and thrust bearing).

なお、上述した各実施形態では、羽根車を回転させる流体として、風を挙げているが、風力に限らず、水力であってもよい。つまり、本発明は、水力発電装置に適用することができる。   In each embodiment mentioned above, although wind is mentioned as fluid which rotates an impeller, it may be not only wind power but hydraulic power. That is, the present invention can be applied to a hydroelectric generator.

10,50…風力発電装置(流体発電装置)、 12…基台(ナセル)、 21,61…第一回転軸、 22,62…第二回転軸、 23…風車(羽根車)、 24,54…変速機、 25,65…発電機、 26,56…制振部材、 31,51…ハウジング、 31S…底側内部空間、 34…軸受、 34a…第一軸受、 34b…第二軸受、 80…シール機構、 90…潤滑油循環機構、 W…風(流体)、 S1−S3…軸線   DESCRIPTION OF SYMBOLS 10,50 ... Wind power generator (fluid power generator), 12 ... Base (nacelle) 21, 61 ... First rotary shaft, 22, 62 ... Second rotary shaft, 23 ... Windmill (impeller), 24, 54 ... Transmission, 25, 65 ... Generator, 26, 56 ... Damping member, 31, 51 ... Housing, 31S ... Bottom side internal space, 34 ... Bearing, 34a ... First bearing, 34b ... Second bearing, 80 ... Seal mechanism 90 ... Lubricating oil circulation mechanism W ... Wind (fluid) S1-S3 ... Axis

Claims (7)

流体の流動を受けて第一回転軸を中心に回転する羽根車と、
前記第一回転軸の回転数を変化させて第二回転軸に伝達する変速機と、
前記第二回転軸の回転力によって電力を発電する発電機と、
前記第一回転軸を回転自在に支持する軸受と、
支柱の一端に該支柱の中心軸を回転中心として、回転自在に支持された基台と、を備え、
少なくとも前記変速機および前記軸受はハウジングに覆われ、
前記ハウジングは前記基台に支持されることを特徴とする流体発電装置。
An impeller that rotates around the first rotation axis in response to fluid flow;
A transmission that changes the number of rotations of the first rotation shaft and transmits the change to the second rotation shaft;
A generator for generating electric power by the rotational force of the second rotary shaft;
A bearing that rotatably supports the first rotating shaft;
A base that is rotatably supported around the center axis of the support at one end of the support,
At least the transmission and the bearing are covered by a housing;
The fluid power generation apparatus according to claim 1, wherein the housing is supported by the base.
前記発電機は、前記ハウジングに固定されていることを特徴とする請求項1に記載の流体発電装置。   The fluid power generator according to claim 1, wherein the generator is fixed to the housing. 前記ハウジングと前記基台とは、制振部材を介して接続されることを特徴とする請求項1又は2に記載の流体発電装置。   The fluid power generation device according to claim 1, wherein the housing and the base are connected via a damping member. 前記第一回転軸と前記第二回転軸とは、互いに異なる軸線に沿って延びることを特徴とする請求項1から請求項3うちいずれか一項に記載の流体発電装置。   The fluid power generation device according to any one of claims 1 to 3, wherein the first rotation shaft and the second rotation shaft extend along different axes. 前記第一回転軸と前記第二回転軸とは、互いに同一の軸線に沿って延びることを特徴とする請求項1から請求項4のうちいずれか一項に記載の流体発電装置。   5. The fluid power generation apparatus according to claim 1, wherein the first rotation shaft and the second rotation shaft extend along the same axis line. 6. 前記第一回転軸は一対の前記軸受で回転自在に支持されていることを特徴とする請求項1から請求項5のうちいずれか一項に記載の流体発電装置。   The fluid power generation device according to any one of claims 1 to 5, wherein the first rotation shaft is rotatably supported by a pair of the bearings. 前記ハウジングと前記第一回転軸との間に設けられる非接触型シール機構と、
前記非接触型シール機構の近傍に溜まる潤滑油を前記ハウジングの底側内部空間に戻す潤滑油循環機構と、
を備えることを特徴とする請求項1から請求項6のうちいずれか一項に記載の流体発電装置。
A non-contact type sealing mechanism provided between the housing and the first rotating shaft;
A lubricating oil circulation mechanism that returns lubricating oil accumulated in the vicinity of the non-contact type sealing mechanism to the inner space on the bottom side of the housing;
The fluid power generation device according to any one of claims 1 to 6, further comprising:
JP2011124259A 2010-06-11 2011-06-02 Fluid power generator Active JP6049985B2 (en)

Priority Applications (1)

Application Number Priority Date Filing Date Title
JP2011124259A JP6049985B2 (en) 2010-06-11 2011-06-02 Fluid power generator

Applications Claiming Priority (3)

Application Number Priority Date Filing Date Title
JP2010134262 2010-06-11
JP2010134262 2010-06-11
JP2011124259A JP6049985B2 (en) 2010-06-11 2011-06-02 Fluid power generator

Publications (2)

Publication Number Publication Date
JP2012017735A true JP2012017735A (en) 2012-01-26
JP6049985B2 JP6049985B2 (en) 2016-12-21

Family

ID=45603152

Family Applications (1)

Application Number Title Priority Date Filing Date
JP2011124259A Active JP6049985B2 (en) 2010-06-11 2011-06-02 Fluid power generator

Country Status (1)

Country Link
JP (1) JP6049985B2 (en)

Cited By (3)

* Cited by examiner, † Cited by third party
Publication number Priority date Publication date Assignee Title
WO2014103018A1 (en) * 2012-12-28 2014-07-03 三菱重工業株式会社 Wind power generation device
US9998635B2 (en) 2015-06-29 2018-06-12 Olympus Corporation Endoscope system
WO2019049800A1 (en) * 2017-09-06 2019-03-14 Ntn株式会社 Speed-increasing gear for vertical shaft windmill

Citations (12)

* Cited by examiner, † Cited by third party
Publication number Priority date Publication date Assignee Title
JPS56566A (en) * 1979-05-10 1981-01-07 Waan Kaataa Jiyuniya Jiee Winddpowered electricity generator and method of manufacturing blade mount of said generator
US4427897A (en) * 1982-01-18 1984-01-24 John Midyette, III Fixed pitch wind turbine system utilizing aerodynamic stall
US4871923A (en) * 1986-07-30 1989-10-03 Scholz Hans Ulrich Wind power device
JPH0775311A (en) * 1993-06-03 1995-03-17 Uk Government Electromagnetic device
JPH07279815A (en) * 1994-04-06 1995-10-27 Koyo Seiko Co Ltd Wind power generating device
JPH09152020A (en) * 1995-11-29 1997-06-10 Toyo Electric Mfg Co Ltd Gear device
JP2004339953A (en) * 2003-05-13 2004-12-02 Kanzaki Kokyukoki Mfg Co Ltd Wind power generating device
JP2005164047A (en) * 2005-01-11 2005-06-23 Ntn Corp Double row self-aligning roller bearings
JP2007224879A (en) * 2006-02-27 2007-09-06 Kanzaki Kokyukoki Mfg Co Ltd Wind power generator
WO2007119953A1 (en) * 2006-04-14 2007-10-25 Unison Co., Ltd. Wind turbine with single main bearing
JP2009041634A (en) * 2007-08-08 2009-02-26 Toyo Electric Mfg Co Ltd Vehicular main motor bearing device
JP2009144533A (en) * 2007-12-11 2009-07-02 Mitsubishi Heavy Ind Ltd Wind turbine generator

Patent Citations (12)

* Cited by examiner, † Cited by third party
Publication number Priority date Publication date Assignee Title
JPS56566A (en) * 1979-05-10 1981-01-07 Waan Kaataa Jiyuniya Jiee Winddpowered electricity generator and method of manufacturing blade mount of said generator
US4427897A (en) * 1982-01-18 1984-01-24 John Midyette, III Fixed pitch wind turbine system utilizing aerodynamic stall
US4871923A (en) * 1986-07-30 1989-10-03 Scholz Hans Ulrich Wind power device
JPH0775311A (en) * 1993-06-03 1995-03-17 Uk Government Electromagnetic device
JPH07279815A (en) * 1994-04-06 1995-10-27 Koyo Seiko Co Ltd Wind power generating device
JPH09152020A (en) * 1995-11-29 1997-06-10 Toyo Electric Mfg Co Ltd Gear device
JP2004339953A (en) * 2003-05-13 2004-12-02 Kanzaki Kokyukoki Mfg Co Ltd Wind power generating device
JP2005164047A (en) * 2005-01-11 2005-06-23 Ntn Corp Double row self-aligning roller bearings
JP2007224879A (en) * 2006-02-27 2007-09-06 Kanzaki Kokyukoki Mfg Co Ltd Wind power generator
WO2007119953A1 (en) * 2006-04-14 2007-10-25 Unison Co., Ltd. Wind turbine with single main bearing
JP2009041634A (en) * 2007-08-08 2009-02-26 Toyo Electric Mfg Co Ltd Vehicular main motor bearing device
JP2009144533A (en) * 2007-12-11 2009-07-02 Mitsubishi Heavy Ind Ltd Wind turbine generator

Cited By (5)

* Cited by examiner, † Cited by third party
Publication number Priority date Publication date Assignee Title
WO2014103018A1 (en) * 2012-12-28 2014-07-03 三菱重工業株式会社 Wind power generation device
JP5932058B2 (en) * 2012-12-28 2016-06-08 三菱重工業株式会社 Wind power generator
US9998635B2 (en) 2015-06-29 2018-06-12 Olympus Corporation Endoscope system
WO2019049800A1 (en) * 2017-09-06 2019-03-14 Ntn株式会社 Speed-increasing gear for vertical shaft windmill
JP2019044918A (en) * 2017-09-06 2019-03-22 Ntn株式会社 Vertical shaft wind turbine

Also Published As

Publication number Publication date
JP6049985B2 (en) 2016-12-21

Similar Documents

Publication Publication Date Title
CN101070907B (en) A gearbox for a wind turbine
CN102186592B (en) Heavy-duty drive arrangement and mill driven by the same
CN102852739B (en) Drive system for a wind turbine
EP2063114A1 (en) Wind turbine
JP5509183B2 (en) Vertical axis wind turbine bearing and vertical axis wind power generator
EP2143941A1 (en) Direct drive generator and wind turbine
US20130189105A1 (en) Vibration absorbing device for a wind turbine and method of absorbing vibrations in a wind turbine
CN202833267U (en) Bearing device and fan
JP2013139837A (en) Planetary gear device and wind power generating device
CN102852738A (en) Drive system for a wind turbine
JP2011526986A (en) Windmill
CN109931224A (en) Outer rotor type direct drive wind power generating set
JP6049985B2 (en) Fluid power generator
US8167495B2 (en) Device comprising a support structure and a rotating shaft and wind turbine
KR102185806B1 (en) horizontal-axis type wind turbine
CN109751207B (en) Lubrication system and method for bearings of wind turbines and drive train assembly
KR20130056884A (en) Wind turbine
CN105863926B (en) The magnetic suspension hydraulic turbine
CN104482129A (en) Planetary gear speed increaser
KR20180110885A (en) Wind generator
JP5932058B2 (en) Wind power generator
CN101340119A (en) Bearing pretension construction of electricity driving turbo cooler
RU2368797C2 (en) Hydropower plant
CN207213112U (en) Vibration damping support device for the gear-box of wind power generating set
KR20170140936A (en) generator

Legal Events

Date Code Title Description
A621 Written request for application examination

Free format text: JAPANESE INTERMEDIATE CODE: A621

Effective date: 20140409

A977 Report on retrieval

Free format text: JAPANESE INTERMEDIATE CODE: A971007

Effective date: 20150116

A131 Notification of reasons for refusal

Free format text: JAPANESE INTERMEDIATE CODE: A131

Effective date: 20150127

A521 Request for written amendment filed

Free format text: JAPANESE INTERMEDIATE CODE: A523

Effective date: 20150325

A131 Notification of reasons for refusal

Free format text: JAPANESE INTERMEDIATE CODE: A131

Effective date: 20150804

A521 Request for written amendment filed

Free format text: JAPANESE INTERMEDIATE CODE: A523

Effective date: 20151002

A131 Notification of reasons for refusal

Free format text: JAPANESE INTERMEDIATE CODE: A131

Effective date: 20160405

A521 Request for written amendment filed

Free format text: JAPANESE INTERMEDIATE CODE: A523

Effective date: 20160512

TRDD Decision of grant or rejection written
A01 Written decision to grant a patent or to grant a registration (utility model)

Free format text: JAPANESE INTERMEDIATE CODE: A01

Effective date: 20161025

A61 First payment of annual fees (during grant procedure)

Free format text: JAPANESE INTERMEDIATE CODE: A61

Effective date: 20161124

R150 Certificate of patent or registration of utility model

Ref document number: 6049985

Country of ref document: JP

Free format text: JAPANESE INTERMEDIATE CODE: R150

R250 Receipt of annual fees

Free format text: JAPANESE INTERMEDIATE CODE: R250

R250 Receipt of annual fees

Free format text: JAPANESE INTERMEDIATE CODE: R250

R250 Receipt of annual fees

Free format text: JAPANESE INTERMEDIATE CODE: R250

R250 Receipt of annual fees

Free format text: JAPANESE INTERMEDIATE CODE: R250

R250 Receipt of annual fees

Free format text: JAPANESE INTERMEDIATE CODE: R250

R250 Receipt of annual fees

Free format text: JAPANESE INTERMEDIATE CODE: R250

R250 Receipt of annual fees

Free format text: JAPANESE INTERMEDIATE CODE: R250