JP2012012002A - 車両用温風ヒータ - Google Patents
車両用温風ヒータ Download PDFInfo
- Publication number
- JP2012012002A JP2012012002A JP2010258505A JP2010258505A JP2012012002A JP 2012012002 A JP2012012002 A JP 2012012002A JP 2010258505 A JP2010258505 A JP 2010258505A JP 2010258505 A JP2010258505 A JP 2010258505A JP 2012012002 A JP2012012002 A JP 2012012002A
- Authority
- JP
- Japan
- Prior art keywords
- cylindrical body
- magnetic
- warm
- generating chamber
- toroidal coil
- Prior art date
- Legal status (The legal status is an assumption and is not a legal conclusion. Google has not performed a legal analysis and makes no representation as to the accuracy of the status listed.)
- Pending
Links
- 239000007769 metal material Substances 0.000 claims abstract description 8
- 239000000463 material Substances 0.000 claims abstract description 5
- 239000002184 metal Substances 0.000 claims abstract description 5
- 238000010438 heat treatment Methods 0.000 abstract description 11
- 230000005672 electromagnetic field Effects 0.000 abstract description 5
- 230000005674 electromagnetic induction Effects 0.000 abstract description 5
- 238000002485 combustion reaction Methods 0.000 description 4
- 239000000446 fuel Substances 0.000 description 2
- 230000006698 induction Effects 0.000 description 2
- 238000000034 method Methods 0.000 description 2
- 238000007664 blowing Methods 0.000 description 1
- 239000000567 combustion gas Substances 0.000 description 1
- 238000010586 diagram Methods 0.000 description 1
- 230000000694 effects Effects 0.000 description 1
- 239000002828 fuel tank Substances 0.000 description 1
- 230000005389 magnetism Effects 0.000 description 1
- 238000009834 vaporization Methods 0.000 description 1
- 230000008016 vaporization Effects 0.000 description 1
- XLYOFNOQVPJJNP-UHFFFAOYSA-N water Substances O XLYOFNOQVPJJNP-UHFFFAOYSA-N 0.000 description 1
Images
Landscapes
- Air-Conditioning For Vehicles (AREA)
Abstract
【課題】本発明は、電磁誘導加熱手段を利用した、電磁界の人体への影響が少ない車両用温風ヒータを提供する。
【解決手段】本発明の車両用温風ヒータは、高透磁性材料を内包する耐熱円筒体の温風発生室1の吹出口2に導電性金網の磁気シールド3が設けられ、前記温風発生室1の内面に円環筒状の絶縁円筒体5内に螺旋状に巻かれたトロイダルコイル6が設けられ、該トロイダルコイル6の内側に前記絶縁円筒体5により前記トロイダルコイル6と非接触状態で設けられた中空円筒状の磁性金属材料の磁性円筒体7が設けられ、該磁性円筒体7に支持杆8、9を介して中心部を固定されて放射状に外側へ向かって末広がり状に台形形状の風力変形可能な多数枚の金属製放熱板4が前記温風発生室1内部の吹出口2を囲うように固定される。
【選択図】図3
【解決手段】本発明の車両用温風ヒータは、高透磁性材料を内包する耐熱円筒体の温風発生室1の吹出口2に導電性金網の磁気シールド3が設けられ、前記温風発生室1の内面に円環筒状の絶縁円筒体5内に螺旋状に巻かれたトロイダルコイル6が設けられ、該トロイダルコイル6の内側に前記絶縁円筒体5により前記トロイダルコイル6と非接触状態で設けられた中空円筒状の磁性金属材料の磁性円筒体7が設けられ、該磁性円筒体7に支持杆8、9を介して中心部を固定されて放射状に外側へ向かって末広がり状に台形形状の風力変形可能な多数枚の金属製放熱板4が前記温風発生室1内部の吹出口2を囲うように固定される。
【選択図】図3
Description
本発明は、電磁誘導加熱手段を利用したヒータにより加熱する車両用温風ヒータに関する。
従来、長距離トラックなどの車室内を暖房するため、燃料タンクに貯蔵された燃料を利用して暖房を行う燃焼式ヒータが知られている(特許文献1を参照)。
この公知技術は、インジェクタにより噴射された燃料は気化プレートに付着し、エアポンプにより供給された空気と混合され、点火グロープラグにより着火し火炎が形成され、火炎の周囲に設けられた燃焼筒の外周にはケーシングが設けられ、更にその外にハウジングが設けられ、前記ケーシングと前記ハウジングとの間には熱媒体が流入し、火炎により発生した燃焼ガスの熱量と熱交換を行う燃焼式ヒーターである。
この燃焼式ヒーターは、熱を吸収した熱媒体が車両に搭載された温水ヒーターへ供給され、さらに温風に変換されるため、車室内暖房装置として即暖性に欠けるものであったし、かつ電気自動車等には利用できないものであった。
この公知技術は、インジェクタにより噴射された燃料は気化プレートに付着し、エアポンプにより供給された空気と混合され、点火グロープラグにより着火し火炎が形成され、火炎の周囲に設けられた燃焼筒の外周にはケーシングが設けられ、更にその外にハウジングが設けられ、前記ケーシングと前記ハウジングとの間には熱媒体が流入し、火炎により発生した燃焼ガスの熱量と熱交換を行う燃焼式ヒーターである。
この燃焼式ヒーターは、熱を吸収した熱媒体が車両に搭載された温水ヒーターへ供給され、さらに温風に変換されるため、車室内暖房装置として即暖性に欠けるものであったし、かつ電気自動車等には利用できないものであった。
また、熱源の加熱手段として磁気誘導加熱手段を採用し、熱風発生室に磁気誘導加熱ヒータを備えてヘヤードライヤの空気を加熱する安全性に優れたヘヤードライヤが知られている(特許文献2を参照)。
この公知技術は、絶縁内筒に巻かれたコイルと、絶縁内筒に挿入され、前記コイルと非接触状態に設けた磁性金属材料の筒とで形成された熱源をヘヤードライヤ本体内に内蔵し、前記コイルに高周波交番磁界の発生源を接続し、高周波電流を流すヘヤードライヤである。
このヘヤードライヤは、ヘヤードライヤ本体の熱源を電磁誘導加熱手段により構成したことにより、熱源の構造が簡単になり、かつ加熱される磁性金属体の温度分布が全体に亘って均一になるものであるが、発生する電磁界の人体への影響が考慮されていないものであった。
この公知技術は、絶縁内筒に巻かれたコイルと、絶縁内筒に挿入され、前記コイルと非接触状態に設けた磁性金属材料の筒とで形成された熱源をヘヤードライヤ本体内に内蔵し、前記コイルに高周波交番磁界の発生源を接続し、高周波電流を流すヘヤードライヤである。
このヘヤードライヤは、ヘヤードライヤ本体の熱源を電磁誘導加熱手段により構成したことにより、熱源の構造が簡単になり、かつ加熱される磁性金属体の温度分布が全体に亘って均一になるものであるが、発生する電磁界の人体への影響が考慮されていないものであった。
本発明は、電磁誘導加熱手段を利用した、電磁界の人体への影響が少ない車両用温風ヒータを提供することを目的とする。
本発明の車両用温風ヒータは、高透磁性材料を内包する耐熱円筒体の温風発生室の吹出口に導電性金網の磁気シールドが設けられ、前記温風発生室の内面に円環筒状の絶縁円筒体内に螺旋状に巻かれたトロイダルコイルが設けられ、該トロイダルコイルの内側に前記絶縁円筒体により前記トロイダルコイルと非接触状態で設けられた中空円筒状の磁性金属材料の磁性円筒体が設けられ、該磁性円筒体に中心部を固定されて放射状に外側へ向かって末広がり状に台形形状の風力変形可能な多数枚の金属製放熱板が前記温風発生室内部の吹出口を囲うように固定されるものである。
本発明の車両用温風ヒータは、高透磁性材料を内包する耐熱円筒体の温風発生室の吹出口に導電性金網の磁気シールドが設けられ、前記温風発生室の内面に円環筒状の絶縁円筒体内に螺旋状に巻かれたトロイダルコイルが設けられ、該トロイダルコイルの内側に前記絶縁円筒体により前記トロイダルコイルと非接触状態で設けられた中空円筒状の磁性金属材料の磁性円筒体が設けられ、該磁性円筒体に中心部を固定されて放射状に外側へ向かって末広がり状に台形形状の風力変形可能な多数枚の金属製放熱板が前記温風発生室内部の吹出口を囲うように固定されるため、加熱される放熱板の温度分布が風力により放熱板が撓(しな)って全体に亘って均一になり、かつ発生する電磁界の人体への影響が磁気シールドにより少ない効果がある。
本発明の車両用温風ヒータの一実施例を添付図面に基づいて、以下に説明する。
本発明の車両用温風ヒータは、熱風発生室に熱源を設け、図示しない電源によりファン及びファンを駆動するモータを内蔵したものであって、車両用温風ヒータ本体の熱風発生室の熱源として電磁誘導加熱手段を利用したものである。
前記熱風発生室の熱源がトロイダルコイルと中空円筒状の磁性体金属材料の磁性円筒体とで形成しているので、磁性体金属材料の磁性円筒体自体が発熱するので空気の加温が迅速であり、かつ効果的に加熱できるものである。
本発明の車両用温風ヒータは、熱風発生室に熱源を設け、図示しない電源によりファン及びファンを駆動するモータを内蔵したものであって、車両用温風ヒータ本体の熱風発生室の熱源として電磁誘導加熱手段を利用したものである。
前記熱風発生室の熱源がトロイダルコイルと中空円筒状の磁性体金属材料の磁性円筒体とで形成しているので、磁性体金属材料の磁性円筒体自体が発熱するので空気の加温が迅速であり、かつ効果的に加熱できるものである。
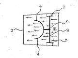
図1の外観図に示すように、高透磁性材料を内包する耐熱円筒体の温風発生室1の吹出口2には導電性金網の磁気シールド3が設けられ、図2の磁気シールド3を除いて示す温風発生室1の外観斜視図に示すように、前記温風発生室1内部には中心部を固定されて放射状に外側に向かって末広がり状の台形形状の風力変形可能な多数枚の放熱板4が前記温風発生室1内部の吹出口2を囲うように固定される。
図3の断面図に示すように、前記温風発生室1の内面に円環筒状の絶縁円筒体5内に螺旋状に巻かれたトロイダルコイル6が設けられ、該トロイダルコイル6の内側に前記絶縁円筒体5により前記トロイダルコイル6と非接触状態で設けられた中空円筒状の磁性金属材料の磁性円筒体7が設けられ、該磁性円筒体7に前記放熱板4の中心部を支持するための支持杆8が前記磁性円筒体7の直径方向に設けられ、該支持杆8の中央部に前記放熱板4を支持する別の支持杆9が立設される。
次に、本発明の車両用温風ヒータの操作動作を添付図面に基づいて、以下に説明する。
電源をONにすると、図3に示すトロイダルコイル7に高周波電流が流れて交番磁界を発生させると、交番磁界によって磁性円筒体7に渦電流が生じると共に、渦電流により発生したジュール熱によって前記磁性円筒体7が発熱し、温風発生室1に存在する空気を加熱することができる。
送風スイッチによりファンを駆動するモータ(図示せず)を駆動すると、ファン(図示せず)が回転して前記温風発生室1に送風を開始する。
その際、前記磁性円筒体7により放熱板4も加熱されると共に、前記ファン(図示せず)の風力により図4の動作説明図に矢印で示すように放熱板10が撓(しな)って吹出口2から均一な温風を吹出す。
また、前記吹出口2には導電性金網の磁気シールド3が設けられているので、発生する電磁界を遮蔽する。
電源をONにすると、図3に示すトロイダルコイル7に高周波電流が流れて交番磁界を発生させると、交番磁界によって磁性円筒体7に渦電流が生じると共に、渦電流により発生したジュール熱によって前記磁性円筒体7が発熱し、温風発生室1に存在する空気を加熱することができる。
送風スイッチによりファンを駆動するモータ(図示せず)を駆動すると、ファン(図示せず)が回転して前記温風発生室1に送風を開始する。
その際、前記磁性円筒体7により放熱板4も加熱されると共に、前記ファン(図示せず)の風力により図4の動作説明図に矢印で示すように放熱板10が撓(しな)って吹出口2から均一な温風を吹出す。
また、前記吹出口2には導電性金網の磁気シールド3が設けられているので、発生する電磁界を遮蔽する。
1 温風発生室
2 吹出口
3 磁気シールド
4 放熱板
5 絶縁円筒体
6 トロイダルコイル
7 磁性円筒体
8 支持杆
9 支持杆
2 吹出口
3 磁気シールド
4 放熱板
5 絶縁円筒体
6 トロイダルコイル
7 磁性円筒体
8 支持杆
9 支持杆
Claims (1)
- 高透磁性材料を内包する耐熱円筒体の温風発生室の吹出口に導電性金網の磁気シールドが設けられ、前記温風発生室の内面に円環筒状の絶縁円筒体内に螺旋状に巻かれたトロイダルコイルが設けられ、該トロイダルコイルの内側に前記絶縁円筒体により前記トロイダルコイルと非接触状態で設けられた中空円筒状の磁性金属材料の磁性円筒体が設けられ、該磁性円筒体に中心部を固定されて放射状に外側へ向かって末広がり状に台形形状の風力変形可能な多数枚の金属製放熱板が前記温風発生室内部の吹出口を囲うように固定されることを特徴とする車両用温風ヒータ。
Priority Applications (1)
| Application Number | Priority Date | Filing Date | Title |
|---|---|---|---|
| JP2010258505A JP2012012002A (ja) | 2010-11-19 | 2010-11-19 | 車両用温風ヒータ |
Applications Claiming Priority (1)
| Application Number | Priority Date | Filing Date | Title |
|---|---|---|---|
| JP2010258505A JP2012012002A (ja) | 2010-11-19 | 2010-11-19 | 車両用温風ヒータ |
Related Parent Applications (1)
| Application Number | Title | Priority Date | Filing Date |
|---|---|---|---|
| JP2010148685A Division JP4659913B1 (ja) | 2010-06-30 | 2010-06-30 | 車両用温風ヒータ |
Publications (1)
| Publication Number | Publication Date |
|---|---|
| JP2012012002A true JP2012012002A (ja) | 2012-01-19 |
Family
ID=45598925
Family Applications (1)
| Application Number | Title | Priority Date | Filing Date |
|---|---|---|---|
| JP2010258505A Pending JP2012012002A (ja) | 2010-11-19 | 2010-11-19 | 車両用温風ヒータ |
Country Status (1)
| Country | Link |
|---|---|
| JP (1) | JP2012012002A (ja) |
-
2010
- 2010-11-19 JP JP2010258505A patent/JP2012012002A/ja active Pending
Similar Documents
| Publication | Publication Date | Title |
|---|---|---|
| CN102656953B (zh) | 复合等离子体发生装置 | |
| KR101355835B1 (ko) | 플라즈마 레인지 | |
| KR101235567B1 (ko) | 마이크로웨이브를 이용한 열풍기 | |
| CN104675582B (zh) | 车载微波重整器可燃混合气加热装置 | |
| CN101645385A (zh) | 微波炉磁控管水冷却结构 | |
| JP4659913B1 (ja) | 車両用温風ヒータ | |
| US2594101A (en) | Portable fan-type air heater | |
| JP2012012002A (ja) | 車両用温風ヒータ | |
| KR20120092875A (ko) | 인덕션히터와 열매체를 이용한 공기 가열기. | |
| KR100768704B1 (ko) | 고주파유도가열을 이용한 온풍장치 | |
| JP2010127575A (ja) | 熱発生装置、温風ボイラー装置、温水ボイラー装置および蒸気ボイラー装置 | |
| KR101591064B1 (ko) | 인덕션 히터 | |
| RU160732U1 (ru) | Тепловентилятор (тепловая пушка) с электронагревательными соплами сквозной цилиндрической формы | |
| KR20110089945A (ko) | 고주파 유도코일을 이용한 열 발생장치 및 그 제조방법 | |
| KR20090069485A (ko) | 마이크로파를 이용한 온수 급가열 장치 및 방법 | |
| CN202503686U (zh) | 感应加热器 | |
| KR100608923B1 (ko) | 전기방열판히터 | |
| KR102655998B1 (ko) | 인덕션 열풍기 | |
| JP3954985B2 (ja) | 電気炉 | |
| KR20100000644A (ko) | 고주파 유도 가열장치 | |
| KR102141875B1 (ko) | 자동차용 인덕션 히터 | |
| CN201425312Y (zh) | 锅炉用中频螺旋线圈热风器 | |
| KR200423098Y1 (ko) | 고주파유도가열을 이용한 온풍장치 | |
| CN208536343U (zh) | 一种电磁加热热水器 | |
| JP2008292010A (ja) | 流体昇温装置及び加熱調理器 |