JP2011106904A - Target object specifying system, target object specifying device, control method, and program - Google Patents

Target object specifying system, target object specifying device, control method, and program Download PDF

Info

Publication number
JP2011106904A
JP2011106904A JP2009260715A JP2009260715A JP2011106904A JP 2011106904 A JP2011106904 A JP 2011106904A JP 2009260715 A JP2009260715 A JP 2009260715A JP 2009260715 A JP2009260715 A JP 2009260715A JP 2011106904 A JP2011106904 A JP 2011106904A
Authority
JP
Japan
Prior art keywords
infrared
distribution
unit
infrared radiation
information
Prior art date
Legal status (The legal status is an assumption and is not a legal conclusion. Google has not performed a legal analysis and makes no representation as to the accuracy of the status listed.)
Granted
Application number
JP2009260715A
Other languages
Japanese (ja)
Other versions
JP5604854B2 (en
Inventor
Yoshihiro Asakawa
義博 浅川
Toshihiro Ogasawara
俊広 小笠原
Current Assignee (The listed assignees may be inaccurate. Google has not performed a legal analysis and makes no representation or warranty as to the accuracy of the list.)
NEC Corp
Original Assignee
NEC Corp
Priority date (The priority date is an assumption and is not a legal conclusion. Google has not performed a legal analysis and makes no representation as to the accuracy of the date listed.)
Filing date
Publication date
Application filed by NEC Corp filed Critical NEC Corp
Priority to JP2009260715A priority Critical patent/JP5604854B2/en
Publication of JP2011106904A publication Critical patent/JP2011106904A/en
Application granted granted Critical
Publication of JP5604854B2 publication Critical patent/JP5604854B2/en
Expired - Fee Related legal-status Critical Current
Anticipated expiration legal-status Critical

Links

Images

Landscapes

  • Radiation Pyrometers (AREA)
  • Geophysics And Detection Of Objects (AREA)
  • Studio Devices (AREA)
  • Traffic Control Systems (AREA)
  • Measurement Of Optical Distance (AREA)

Abstract

<P>PROBLEM TO BE SOLVED: To specify a target object on the basis of an image photographed by an infrared imaging means. <P>SOLUTION: This target object specifying system includes an infrared radiation unit which is provided on a target object and has a plurality of regions having different infrared radiation amounts at its surface, and a target object specifying device 110 which is electrically connected to the infrared imaging means 300. The target object specifying device 110 has a determination section 114 that determines whether or not a distribution of a combination of predetermined different infrared radiation amounts is included in a distribution of infrared radiation amounts indicated by an image photographed by the infrared imaging means 300, and a target object specifying section 115 that specifies a target object provided with the infrared radiation unit the surface of which has the plurality of regions which radiate infrared rays as in the combination of the infrared radiation amounts in the case that the determination section 114 determines that the distribution of the combination of predetermined different infrared radiation amounts is included therein. <P>COPYRIGHT: (C)2011,JPO&INPIT

Description

本発明は、対象物特定システム、対象物特定装置、制御方法、及びプログラムに関する。特に本発明は、赤外線撮影手段が撮影した画像に基づいて対象物を特定する対象物特定システム、赤外線撮影手段と電気的に接続された対象物特定装置、対象物特定装置を制御する制御方法、並びに対象物特定装置用のプログラムに関する。   The present invention relates to an object specifying system, an object specifying device, a control method, and a program. In particular, the present invention provides an object identification system for identifying an object based on an image captured by an infrared imaging unit, an object identification device electrically connected to the infrared imaging unit, a control method for controlling the object identification device, In addition, the present invention relates to a program for an object identification device.

赤外線カメラ等の赤外線撮影手段は、物体から放射される赤外線を撮影し、検知した赤外線の放射量の分布を画像化する。例えば、赤外線撮影手段は、温度が低いところほど輝度が弱く、温度が高いところほど輝度が強くなるように処理した画像を出力する。すなわち、ユーザは、赤外線撮影手段から出力される画像を参照することによって、周辺と温度差がある物体や発光している物体があれば、その存在を容易に識別することができる。   Infrared imaging means such as an infrared camera captures infrared rays emitted from an object and images the distribution of the detected infrared radiation amount. For example, the infrared photographing means outputs an image processed so that the luminance is weaker as the temperature is lower and the luminance is higher as the temperature is higher. That is, the user can easily identify the presence of an object having a temperature difference from the surroundings or a light emitting object by referring to the image output from the infrared imaging means.

しかしながら、赤外線撮影手段から出力される画像は、その撮影領域ある物体から放射されている赤外線の放射量や、赤外線を放射している熱源や光源の範囲を示しているに過ぎない。したがって、ユーザにとっては、赤外線撮影手段から出力される画像を参照しても、撮影領域にある物体を具体的に特定することは困難となる。例えば、特定の対象物を見分けようとする場合、ユーザは、その対象物の形状や温度等の把握している情報に基づいて画像によって示されている赤外線放射量の分布を参照する。ところが、その対象物の温度と周辺の温度との差小さい場合、画像において対象物とその周辺との輝度に差が表れ難くなり、ユーザは、容易に対象物を特定することができない。また、その対象物の形状を把握し難い向きから対向して撮影している場合、ユーザは、対象物の特徴的な形状を識別することができず、同じく容易に対象物を特定することができない。   However, the image output from the infrared photographing means only shows the amount of infrared radiation emitted from the object in the photographing region, and the range of the heat source and light source emitting infrared rays. Therefore, it is difficult for the user to specifically specify an object in the imaging region even when referring to the image output from the infrared imaging means. For example, when a specific object is to be identified, the user refers to the distribution of the amount of infrared radiation indicated by the image based on information grasped such as the shape and temperature of the object. However, when the difference between the temperature of the target object and the surrounding temperature is small, the difference between the target object and its surroundings hardly appears in the image, and the user cannot easily specify the target object. In addition, when shooting from opposite directions from which it is difficult to grasp the shape of the target object, the user cannot identify the characteristic shape of the target object, and can easily specify the target object as well. Can not.

このような問題に鑑みてなされた技術としては、撮影しようとする物体自体から放射される赤外光を受けて、画像として現し、またその画像から目標を抽出する装置が知られている(例えば、特許文献1参照。)。この装置は、撮影しているものの輝度の時間的変化量を検出し、それを基に二値化しているので、複雑な輝度分布の背景の中においても移動する物体のみを目標として抽出することを可能にする。   As a technique made in view of such a problem, there has been known an apparatus that receives infrared light emitted from an object to be photographed itself, appears as an image, and extracts a target from the image (for example, , See Patent Document 1). Since this device detects the amount of temporal change in luminance of the object being photographed and binarizes it based on it, it can extract only moving objects in the background of complex luminance distribution as the target. Enable.

特開平06−303485号公報Japanese Patent Laid-Open No. 06-303485

特許文献1に記載の赤外線撮影装置は、デジタル画像更新毎に前画像との角画素毎の輝度の比較を行うことによって輝度変化量を検出し、その輝度変化量のヒストグラムを算出して、このヒストグラムに応じてしきい値を設定し二値化して目標を検出する。しかしながら、特許文献1に記載の方法は、例えば、動いている対象物の温度とその周囲の温度との差が常に小さいような場合、精確にその対象物を特定することは困難である。また、特許文献1に記載の方法は、対象物の形状を把握し難い向きから対向して撮影している場合、何らかの物体が移動していることは把握できたとしても、その形状を基に対象物を具体的に特定することは困難である。   The infrared imaging device described in Patent Document 1 detects the luminance change amount by comparing the luminance for each corner pixel with the previous image every time the digital image is updated, and calculates a histogram of the luminance change amount. A threshold is set according to the histogram and binarized to detect the target. However, in the method described in Patent Document 1, for example, when the difference between the temperature of a moving object and the surrounding temperature is always small, it is difficult to accurately specify the object. In addition, the method described in Patent Document 1 is based on the shape of the object, even if it is possible to grasp that an object is moving when facing and shooting from a direction in which it is difficult to grasp the shape of the object. It is difficult to specify the object specifically.

そこで本発明は、上記の課題を解決することのできる対象物特定システム、対象物特定装置、制御方法、及びプログラムを提供することを目的とする。この目的は特許請求の範囲における独立項に記載の特徴の組み合わせにより達成される。また従属項は本発明の更なる有利な具体例を規定する。   Therefore, an object of the present invention is to provide an object identification system, an object identification apparatus, a control method, and a program that can solve the above-described problems. This object is achieved by a combination of features described in the independent claims. The dependent claims define further advantageous specific examples of the present invention.

上記課題を解決するために、本発明の第1の形態によると、赤外線撮影手段が撮影した画像に基づいて対象物を特定する対象物特定システムであって、対象物に設けられる赤外線放射体であって、赤外線放射量が異なる複数の領域を表面に有する赤外線放射体と、赤外線撮影手段と電気的に接続された対象物特定装置とを備え、対象物特定装置は、赤外線撮影手段が撮影した画像によって示される赤外線放射量の分布に、所定の異なる赤外線放射量の組合せの分布が含まれているか否かを判定する判定部と、所定の異なる赤外線放射量の組合せの分布が含まれていると判定部が判定した場合に、当該赤外線放射量の組合せのように赤外線を放射する複数の領域を表面に有する赤外線放射体が設けられている対象物を特定する対象物特定部とを有する。   In order to solve the above-described problem, according to a first aspect of the present invention, there is provided an object identification system for identifying an object based on an image captured by an infrared imaging unit, the infrared radiation radiator provided on the object. An infrared radiation emitter having a plurality of regions with different amounts of infrared radiation on the surface, and an object identification device electrically connected to the infrared imaging means, the object identification apparatus being photographed by the infrared imaging means The distribution of the infrared radiation amount indicated by the image includes a determination unit that determines whether or not the distribution of the predetermined different infrared radiation amount combinations is included, and the distribution of the predetermined different infrared radiation amount combinations. When the determination unit determines, an object specifying unit for specifying an object provided with an infrared radiator having a plurality of regions that emit infrared rays on the surface, such as a combination of the infrared radiation amounts. To.

本発明の第2の形態によると、赤外線撮影手段と電気的に接続された対象物特定装置であって、赤外線撮影手段が撮影した画像によって示される赤外線放射量の分布に、所定の異なる赤外線放射量の組合せの分布が含まれているか否かを判定する判定部と、所定の異なる赤外線放射量の組合せの分布が含まれていると判定部が判定した場合に、当該赤外線放射量の組合せのように赤外線を放射する複数の領域を表面に有する赤外線放射体が設けられている対象物を特定する対象物特定部とを備える。   According to the second aspect of the present invention, there is provided an object identifying device electrically connected to the infrared photographing means, and the infrared radiation amount distribution indicated by the image photographed by the infrared photographing means has a predetermined different infrared radiation. A determination unit that determines whether or not a distribution of combinations of amounts is included, and a determination unit that determines that a distribution of combinations of predetermined different infrared radiation amounts is included, And an object specifying unit for specifying an object provided with an infrared emitter having a plurality of regions emitting infrared rays on the surface.

本発明の第3の形態によると、赤外線撮影手段と電気的に接続された対象物特定装置を制御する制御方法であって、赤外線撮影手段が撮影した画像によって示される赤外線放射量の分布に、所定の異なる赤外線放射量の組合せの分布が含まれているか否かを判定する判定段階と、所定の異なる赤外線放射量の組合せの分布が含まれていると判定段階において判定された場合に、当該赤外線放射量の組合せのように赤外線を放射する複数の領域を表面に有する赤外線放射体が設けられている対象物を特定する対象物特定段階とを備える。   According to a third aspect of the present invention, there is provided a control method for controlling an object identification device electrically connected to an infrared imaging means, and the distribution of infrared radiation amount indicated by an image taken by the infrared imaging means, When it is determined in the determination step that determines whether or not a distribution of a combination of predetermined different infrared radiation amounts is included, and in the determination step that a distribution of a combination of predetermined different infrared radiation amounts is included, And an object specifying step of specifying an object provided with an infrared emitter having a plurality of regions emitting infrared rays on the surface, such as a combination of infrared radiation amounts.

本発明の第4の形態によると、赤外線撮影手段と電気的に接続された対象物特定装置用のプログラムであって、対象物特定装置を、赤外線撮影手段が撮影した画像によって示される赤外線放射量の分布に、所定の異なる赤外線放射量の組合せの分布が含まれているか否かを判定する判定部、所定の異なる赤外線放射量の組合せの分布が含まれていると判定部が判定した場合に、当該赤外線放射量の組合せのように赤外線を放射する複数の領域を表面に有する赤外線放射体が設けられている対象物を特定する対象物特定部として機能させる。   According to a fourth aspect of the present invention, there is provided a program for an object identification device electrically connected to infrared imaging means, the infrared radiation amount indicated by an image captured by the infrared imaging means. A determination unit that determines whether or not the distribution of a combination of predetermined different infrared radiation amounts is included in the distribution, and when the determination unit determines that a distribution of a combination of predetermined different infrared radiation amounts is included As a combination of the infrared radiation amounts, it functions as an object identifying unit that identifies an object provided with an infrared radiator having a plurality of regions emitting infrared rays on the surface.

なお、上記の発明の概要は、本発明の必要な特徴の全てを列挙したものではなく、これらの特徴群のサブコンビネーションもまた、発明となりうる。   The above summary of the invention does not enumerate all the necessary features of the present invention, and sub-combinations of these feature groups can also be the invention.

以上の説明から明らかなように、この発明によれば、赤外線撮影手段が撮影した画像によって対象物を特定するにあたり、対象物の温度とその周囲の温度との差が小さいような場合や、対象物の形状を把握し難い向きから対向して撮影している場合でも、その対象物を具体的に特定することができる。   As is apparent from the above description, according to the present invention, when the object is specified by the image photographed by the infrared photographing means, the difference between the temperature of the object and the surrounding temperature is small, or the object Even when the object is photographed facing away from the direction in which it is difficult to grasp the shape of the object, the object can be specifically specified.

一実施形態に係る対象物特定システム100の利用環境の一例を示す図である。It is a figure which shows an example of the utilization environment of the target object identification system 100 which concerns on one Embodiment. 目標板120の形状の一例を示す図である。It is a figure which shows an example of the shape of the target board. オペレーション端末110のブロック構成の一例を示す図である。It is a figure which shows an example of the block configuration of the operation terminal. オペレーション端末110の動作フローの一例を示す図である。It is a figure which shows an example of the operation | movement flow of the operation terminal. 赤外線放射体情報格納部111が格納しているデータの一例をテーブル形式で示す図である。It is a figure which shows an example of the data which the infrared radiator information storage part 111 has stored in the table format. 対象物情報格納部112が格納しているデータの一例をテーブル形式で示す図である。It is a figure which shows an example of the data which the target object information storage part 112 has stored in the table format. オペレーション端末110のハードウェア構成の一例を示す図である。It is a figure which shows an example of the hardware constitutions of the operation terminal.

以下、発明の実施の形態を通じて本発明を説明するが、以下の実施形態は特許請求の範囲にかかる発明を限定するものではなく、また実施形態の中で説明されている特徴の組み合わせの全てが発明の解決手段に必須であるとは限らない。   Hereinafter, the present invention will be described through embodiments of the invention. However, the following embodiments do not limit the invention according to the scope of claims, and all combinations of features described in the embodiments are included. It is not necessarily essential for the solution of the invention.

図1は、一実施形態に係る対象物特定システム100の利用環境の一例を示す。対象物特定システム100は、オペレーション端末110、及び複数の目標板120a、b、c、・・・(以下、目標板120と総称する。)を備える。オペレーション端末110は、移動体210に搭載されている。同様に、目標板120a、b、c、・・・は、移動体220a、b、c、・・・(以下、移動体220と総称する。)にそれぞれ搭載されている。また、本実施形態においては、オペレーション端末110も目標板120も搭載されていない複数の移動体230a、b、c、・・・(以下、移動体230と総称する。)が存在していると仮定する。そして、移動体230の外観は、移動体220の外観と一致又は類似しているものと仮定する。なお、移動体210、移動体220、及び移動体230は、装輪車両、装軌車両、及び航空機を含む。また、移動体220は、この発明における対象物の一例であってよい。   FIG. 1 shows an example of a usage environment of an object identification system 100 according to an embodiment. The object specifying system 100 includes an operation terminal 110 and a plurality of target plates 120a, b, c,... (Hereinafter collectively referred to as target plates 120). The operation terminal 110 is mounted on the moving body 210. Similarly, target plates 120a, b, c,... Are mounted on moving bodies 220a, b, c,... (Hereinafter collectively referred to as moving bodies 220), respectively. In the present embodiment, there are a plurality of moving bodies 230a, b, c,... (Hereinafter collectively referred to as moving bodies 230) on which neither the operation terminal 110 nor the target plate 120 is mounted. Assume. Then, it is assumed that the appearance of the moving object 230 is the same as or similar to the appearance of the moving object 220. In addition, the mobile body 210, the mobile body 220, and the mobile body 230 include a wheeled vehicle, a tracked vehicle, and an aircraft. Moreover, the moving body 220 may be an example of the target object in this invention.

オペレーション端末110は、所望の対象物を特定するための処理を行う端末である。オペレーション端末110には、赤外線カメラ300が有線ケーブル若しくは無線によって外部に接続されているか、又は一体的に設けられている。赤外線カメラ300は、放射される赤外線を撮影し、検知した赤外線の放射量の分布を画像化する装置である。また、オペレーション端末110には、ディスプレイ400が有線ケーブル若しくは無線によって外部に接続されているか、又は一体的に設けられている。ディスプレイ400は、オペレーション端末110から出力される情報を表示する装置である。なお、オペレーション端末110は、この発明における対象物特定装置の一例であってよい。オペレーション端末110は、パーソナルコンピュータ、PDA(Personal Digital Assistants)等の携帯情報端末、及び携帯電話機を含む。また、赤外線カメラ300は、この発明における赤外線撮像手段の一例であってよい。   The operation terminal 110 is a terminal that performs processing for specifying a desired object. In the operation terminal 110, the infrared camera 300 is connected to the outside by a wired cable or wirelessly, or is provided integrally therewith. The infrared camera 300 is a device that captures the emitted infrared rays and images the distribution of the detected infrared radiation amount. In the operation terminal 110, the display 400 is connected to the outside by a wired cable or wirelessly, or is provided integrally therewith. The display 400 is a device that displays information output from the operation terminal 110. The operation terminal 110 may be an example of an object specifying device in the present invention. The operation terminal 110 includes a personal computer, a portable information terminal such as a PDA (Personal Digital Assistant), and a mobile phone. The infrared camera 300 may be an example of infrared imaging means in the present invention.

目標板120aは、所望の対象物を特定するための目印となる板状体である。目標板120aの表面は、中心部分の領域121aとその周辺を取り囲む領域122aとが異なる温度となるように発熱する。そして、目標板120aには、電力ケーブルによって温度設定装置500aが接続されている。温度設定装置500aは、目標板120aの領域121a及び122aの発熱温度をそれぞれ設定するとともに、設定した温度となるよう目標板120aに電気エネルギーを供給する。なお、目標板120aは、この発明における赤外線放射体の一例であってよい。また、目標板120aは、その片面の表面が発熱してよいし、両面の表面が発熱してもよい。   The target plate 120a is a plate-like body that serves as a mark for specifying a desired object. The surface of the target plate 120a generates heat so that the region 121a in the central portion and the region 122a surrounding the periphery thereof have different temperatures. And the temperature setting apparatus 500a is connected to the target board 120a with the electric power cable. The temperature setting device 500a sets the heat generation temperatures of the regions 121a and 122a of the target plate 120a, and supplies electric energy to the target plate 120a so as to be the set temperature. The target plate 120a may be an example of an infrared radiator in the present invention. Further, the target plate 120a may generate heat on one surface or both surfaces.

なお、目標板120a以外の目標板120b、c、・・・も、目標板120aが有する構成要素と同じ構成要素を有する。以後の説明では、目標板120aが有する構成要素がいずれの目標板120の構成要素であるかを区別する場合には、各構成要素を有する目標板120と同じ添え字(a、b、c)を各構成要素の末尾に付して区別する。例えば、領域121a、領域122b、及び温度設定装置500cは、それぞれ目標板120a、目標板120b、及び目標板120cの構成要素であることを示す。   The target plates 120b, c,... Other than the target plate 120a also have the same components as the components of the target plate 120a. In the following description, when distinguishing which component of the target plate 120 the component of the target plate 120a is, the same subscript (a, b, c) as the target plate 120 having each component. Is added to the end of each component to distinguish them. For example, the region 121a, the region 122b, and the temperature setting device 500c are components of the target plate 120a, the target plate 120b, and the target plate 120c, respectively.

また、以後の説明において、添え字が付されていない構成要素の機能及び動作は、同じ符号が付されたいずれの構成要素の機能及び動作を示す。例えば、領域121で説明された機能及び動作は、サービス提供要求受付部132a、サービス提供要求受付部132b、サービス提供要求受付部132c、・・・の機能及び動作を示す。   Further, in the following description, the function and operation of a component that is not given a subscript indicates the function and operation of any component that is assigned the same reference numeral. For example, the functions and operations described in the area 121 indicate the functions and operations of the service provision request receiving unit 132a, the service provision request receiving unit 132b, the service provision request receiving unit 132c,.

例えば、外観によっては見分けの付き難い移動体220及び移動体230が、広大な土地においてそれぞれ走行しているものとする。そして、移動体210の搭乗者が、移動体220及び移動体230を目視にて個別に特定することができないほど離れた位置から各移動体220を個別に特定しようとしているものとする。   For example, it is assumed that the mobile body 220 and the mobile body 230, which are difficult to distinguish depending on the appearance, are respectively traveling on a vast land. Then, it is assumed that the passenger of the moving body 210 tries to individually specify each moving body 220 from a position that is so far away that the moving body 220 and the moving body 230 cannot be specified individually by visual observation.

このような状況において、移動体220の搭乗者は、移動体210の搭乗者に自機を識別してもらうとともに、自機の位置や移動速度を特定してもらうにあたり、目標板120を発熱させる。目標板を発熱させるにあたり、移動体220の搭乗者は、温度設定装置500を起動させる。温度設定装置500は、搭乗者に起動操作されることによって、目標板120へ電力を供給する。目標板120は、温度設定装置500から電力の供給を受けると、領域121及び領域122が異なる温度となるように発熱する。   In such a situation, the passenger of the moving body 220 causes the passenger of the moving body 210 to identify his / her own machine, and causes the target plate 120 to generate heat in order to specify the position and moving speed of his / her own machine. . When the target plate generates heat, the passenger of the moving body 220 activates the temperature setting device 500. The temperature setting device 500 supplies power to the target plate 120 when activated by a passenger. When power is supplied from the temperature setting device 500, the target plate 120 generates heat so that the regions 121 and 122 have different temperatures.

移動体210の搭乗者は、各移動体220を個別に特定するにあたり、赤外線カメラ300によって、移動体220が走行しているであろう方角の撮影を開始する。赤外線カメラ300は、視野内に存在している物体から放射される赤外線を撮影すると、検知した赤外線の放射量の分布を画像化し、オペレーション端末110に出力する。   When the passenger of the moving body 210 specifies each moving body 220 individually, the infrared camera 300 starts photographing the direction in which the moving body 220 will travel. When the infrared camera 300 captures infrared rays radiated from an object existing in the field of view, the infrared camera 300 images the distribution of the detected infrared radiation amount and outputs the image to the operation terminal 110.

オペレーション端末110は、赤外線カメラ300から入力を受け付けた画像に基づいて、各移動体220の特定を行う。具体的には、オペレーション端末110は、各移動体220にどのような目標板120が搭載されているのかを示す情報を予め記憶している。また、オペレーション端末110は、各目標板120に関する情報として、目標板120の大きさや、目標板120の表面の領域121及び領域122から放射される赤外線の放射量を予め記憶している。そして、オペレーション端末110は、これら記憶している情報と、入力を受け付けた画像によって示される赤外線の放射量の分布とに基づいて、移動体220を個別に特定するとともに、その位置や移動速度等を特定する。そして、オペレーション端末110は、入力を受け付けた画像、並びに特定した移動体220の位置や移動速度を示すデータをディスプレイ400に出力する。ディスプレイ400は、オペレーション端末110から入力を受け付けたデータによって示される情報を表示する。   The operation terminal 110 identifies each moving object 220 based on the image received from the infrared camera 300. Specifically, the operation terminal 110 stores in advance information indicating what target plate 120 is mounted on each moving body 220. In addition, the operation terminal 110 stores in advance the size of the target plate 120 and the amount of infrared radiation emitted from the region 121 and the region 122 on the surface of the target plate 120 as information regarding each target plate 120. Then, the operation terminal 110 individually identifies the moving body 220 based on the stored information and the distribution of the infrared radiation amount indicated by the input image, and the position, moving speed, etc. Is identified. Then, the operation terminal 110 outputs to the display 400 the image that has received the input, and data indicating the position and moving speed of the identified moving body 220. Display 400 displays information indicated by data received from operation terminal 110.

なお、本実施形態では、説明が煩雑になることを防ぐ目的として、対象物特定システム100が一のオペレーション端末110を備える構成について説明したが、対象物特定システム100は複数のオペレーション端末110を備えてよい。   In the present embodiment, for the purpose of preventing the description from becoming complicated, the configuration in which the object identification system 100 includes one operation terminal 110 has been described. However, the object identification system 100 includes a plurality of operation terminals 110. It's okay.

また、本実施形態では、所望対象物が移動体220である構成について説明したが、所望対象物は、建物等の非移動体であってよい。その場合、所望対象物に備えられる目標板120は、常に発熱するようにしてよい。   In the present embodiment, the configuration in which the desired object is the moving object 220 has been described. However, the desired object may be a non-moving object such as a building. In that case, the target plate 120 provided on the desired object may always generate heat.

また、本実施形態では、オペレーション端末110及びディスプレイ400が移動体210に搭載されている構成について説明したが、オペレーション端末110及びディスプレイ400は、移動体210に搭載されていなくてよい。その場合、赤外線カメラ300は、出力する画像を無線通信によってオペレーション端末110に送信する。   In the present embodiment, the configuration in which the operation terminal 110 and the display 400 are mounted on the moving body 210 has been described. However, the operation terminal 110 and the display 400 may not be mounted on the moving body 210. In that case, the infrared camera 300 transmits an image to be output to the operation terminal 110 by wireless communication.

また、本実施形態では、赤外線放射体が目標板120のような板状体である構成について説明したが、赤外線放射体は、立体形状であってよい。その場合、赤外線放射体の形状は、いずれの方向から平面視しても同じ形状となるようにする。また、赤外線を放射する領域は、目標板120の表面の全面に設けられてよいし、表面の一部に設けられてもよい。   In the present embodiment, the configuration in which the infrared radiator is a plate-like body such as the target plate 120 has been described. However, the infrared radiator may have a three-dimensional shape. In that case, the shape of the infrared radiator should be the same when viewed from any direction. Moreover, the area | region which radiates | emits infrared rays may be provided in the whole surface of the target board 120, and may be provided in a part of surface.

また、本実施形態では、目標板120の領域121と領域122とが異なる温度となるように発熱する構成について説明したが、領域121と領域122からそれぞれ放射される赤外線の放射量が異なるような構成であれば、その他の構成であってよい。例えば、目標板120は、領域121と領域122からそれぞれ異なる放射量の赤外線が放射されるように冷却される構成としてよい。また、目標板120は、領域121と領域122からそれぞれ異なる放射量の赤外線が放射されるように発光する構成としてよい。また、目標板120は、領域121と領域122からそれぞれ異なる放射量の赤外線が放射されるように赤外線を遮蔽する加工が成されていてよい。その場合、目標板120の領域121と領域122とは、同じ温度であってよい。   In the present embodiment, the configuration in which heat is generated so that the region 121 and the region 122 of the target plate 120 have different temperatures has been described. However, the amount of infrared radiation emitted from each of the regions 121 and 122 is different. Any other configuration may be used as long as it is configured. For example, the target plate 120 may be cooled so that infrared rays having different radiation amounts are emitted from the regions 121 and 122, respectively. Further, the target plate 120 may be configured to emit light so that different amounts of infrared rays are emitted from the regions 121 and 122, respectively. Further, the target plate 120 may be processed to shield infrared rays so that different amounts of infrared rays are emitted from the regions 121 and 122, respectively. In that case, the region 121 and the region 122 of the target plate 120 may be at the same temperature.

図2は、目標板120の形状の一例を示す。図2(a)〜(d)に示す目標板120の形状は、それぞれ、正方形、長方形、円形、星形となっている。そして、その中心部分の領域121は、それぞれ外形と同じ、正方形、長方形、円形、星形となっている。そして、各目標板120には、領域121の周囲を取り囲むようにして領域122が形成されている。また、図2(e)に示す目標板120は、外形の形状と領域121の形状とが相違している。また、図2(f)に示す目標板120は、領域121が中心部分ではなく、表面を左右に分割した一方の領域となっており、他方の領域が領域122となっている。また、図2(g)に示す目標板120は、領域121、122とは異なる領域123を有している。領域123の温度は、少なくとも領域123に接している領域122の温度と相違していればよく、領域121の温度と同じであってもよい。   FIG. 2 shows an example of the shape of the target plate 120. The shape of the target plate 120 shown in FIGS. 2A to 2D is a square, a rectangle, a circle, and a star, respectively. And the area | region 121 of the center part becomes the same as an external shape, respectively, a square, a rectangle, circular, and star shape. In each target plate 120, a region 122 is formed so as to surround the region 121. In addition, the target plate 120 shown in FIG. 2E is different in the shape of the outer shape and the shape of the region 121. Further, in the target plate 120 shown in FIG. 2 (f), the region 121 is not the central portion, but is one region obtained by dividing the surface into left and right, and the other region is the region 122. The target plate 120 shown in FIG. 2G has a region 123 that is different from the regions 121 and 122. The temperature of the region 123 only needs to be different from at least the temperature of the region 122 in contact with the region 123, and may be the same as the temperature of the region 121.

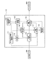
図3は、オペレーション端末110のブロック構成の一例を示す。オペレーション端末110は、赤外線放射体情報格納部111、対象物情報格納部112、画像入力受付部113、判定部114、対象物特定部115、相対角度算出部116、距離算出部117、移動速度算出部118、及び情報出力部119を有する。以下に、各構成要素の機能及び動作を説明する。   FIG. 3 shows an example of a block configuration of the operation terminal 110. The operation terminal 110 includes an infrared radiator information storage unit 111, an object information storage unit 112, an image input reception unit 113, a determination unit 114, an object identification unit 115, a relative angle calculation unit 116, a distance calculation unit 117, and a movement speed calculation. Part 118 and an information output part 119. The function and operation of each component will be described below.

赤外線放射体情報格納部111は、目標板120を識別する情報と、目標板の表面の複数の領域からそれぞれ放射される赤外線放射量の組合せを示す情報と、目標板120の大きさを示す情報と、目標板120の形状を示す情報とを対応付けて格納する。   The infrared radiator information storage unit 111 includes information for identifying the target plate 120, information indicating a combination of the amounts of infrared radiation emitted from a plurality of regions on the surface of the target plate, and information indicating the size of the target plate 120. And information indicating the shape of the target plate 120 are stored in association with each other.

対象物情報格納部112は、移動体220を識別する情報と、移動体220に設けられている目標板120を識別する情報とを対応付けて格納する。   The object information storage unit 112 stores information for identifying the moving body 220 and information for identifying the target plate 120 provided in the moving body 220 in association with each other.

画像入力受付部113は、赤外線カメラ300から出力された画像データの入力を受け付ける。具体的には、画像入力受付部113は、赤外線カメラ300から出力されたフレーム毎の画像データの入力を受け付けると、受け付けた画像データを判定部114、相対角度算出部116、距離算出部117、及び情報出力部119に送る。   The image input receiving unit 113 receives input of image data output from the infrared camera 300. Specifically, when the image input receiving unit 113 receives input of image data for each frame output from the infrared camera 300, the received image data is determined by the determination unit 114, the relative angle calculation unit 116, the distance calculation unit 117, And sent to the information output unit 119.

判定部114は、画像入力受付部113が入力を受け付けた画像によって示される赤外線放射量の分布に、所定の異なる赤外線放射量の組合せの分布が含まれているか否かを判定する。具体的には、判定部114は、画像データを画像入力受付部113から受け取る。そして、判定部114は、受け取った画像データと、赤外線放射体情報格納部111が格納している情報とに基づいて、所定の異なる赤外線放射量の組合せの分布が含まれているか否かを判定する。そして、判定部114は、一致する組合せの分布が含まれていると判定した場合、赤外線放射体情報格納部111が格納している情報のうち、一致すると判定した赤外線放射量の組合せを示す情報を特定するデータを対象物特定部115に送る。   The determination unit 114 determines whether or not the distribution of infrared radiation amounts indicated by the image received by the image input reception unit 113 includes a distribution of combinations of predetermined different infrared radiation amounts. Specifically, the determination unit 114 receives image data from the image input reception unit 113. Based on the received image data and the information stored in the infrared radiator information storage unit 111, the determination unit 114 determines whether or not a distribution of combinations of predetermined different infrared radiation amounts is included. To do. And when the determination part 114 determines that the distribution of the matching combination is contained, the information which shows the combination of the infrared radiation amount determined to correspond among the information stored in the infrared radiator information storage part 111 Is sent to the object specifying unit 115.

対象物特定部115は、移動体220を特定する。具体的には、対象物特定部115は、赤外線放射体情報格納部111が格納している情報のうち、一致すると判定された赤外線放射量の組合せを示す情報を特定するデータを判定部114から受け取る。そして、対象物特定部115は、受け取ったデータと、赤外線放射体情報格納部111が格納している情報と、対象物情報格納部112が格納している情報とに基づいて、移動体220を特定する。そして、対象物特定部115は、特定した移動体220を示すデータと、赤外線放射体情報格納部111が格納している情報のうち、その移動体220に設けられている目標板120を識別する情報を特定するデータと、画像データによって示される赤外線放射量の分布のうち、その移動体220に設けられている目標板120から放射されている赤外線の放射量の分布を示す画素領域を特定するデータとを相対角度算出部116に送る。また、対象物特定部115は、特定した移動体220を示すデータと、画像データによって示される赤外線放射量の分布のうち、その移動体220に設けられている目標板120から放射されている赤外線の放射量の分布を示す画素領域を特定するデータとを情報出力部119に送る。   The object specifying unit 115 specifies the moving object 220. Specifically, the object specifying unit 115 receives, from the determination unit 114, data specifying information indicating a combination of infrared radiation amounts determined to match among the information stored in the infrared radiator information storage unit 111. receive. Then, the object specifying unit 115 sets the moving object 220 based on the received data, the information stored in the infrared radiator information storage unit 111, and the information stored in the object information storage unit 112. Identify. Then, the object specifying unit 115 identifies the target plate 120 provided in the moving body 220 among the data indicating the specified moving body 220 and the information stored in the infrared radiator information storage unit 111. Among the data specifying the information and the infrared radiation amount distribution indicated by the image data, the pixel region indicating the distribution of the infrared radiation amount radiated from the target plate 120 provided in the moving body 220 is identified. The data is sent to the relative angle calculation unit 116. In addition, the object specifying unit 115 is an infrared ray radiated from the target plate 120 provided in the moving body 220 among the distribution of the infrared radiation amount indicated by the data indicating the moving body 220 and the image data. The data for specifying the pixel area indicating the distribution of the radiation amount of the light is sent to the information output unit 119.

相対角度算出部116は、赤外線カメラ300の撮影方向に対する移動体220の相対的な角度を算出する。具体的には、相対角度算出部116は、画像データを画像入力受付部113から受け取る。また、相対角度算出部116は、移動体220を示すデータと、赤外線放射体情報格納部111が格納している情報のうち、その移動体220に設けられている目標板120を識別する情報を特定するデータと、画像データによって示される赤外線放射量の分布のうち、その移動体220に設けられている目標板120から放射されている赤外線の放射量の分布を示す画素領域を特定するデータとを対象物特定部115から受け取る。そして、相対角度算出部116は、赤外線カメラ300の撮影方向に対する移動体220の相対的な角度を算出する。そして、相対角度算出部116は、相対的な角度を算出した対象の移動体220を示すデータと、算出した相対的な角度を示すデータと、赤外線放射体情報格納部111が格納している情報のうち、その移動体220に設けられている目標板120を識別する情報を特定するデータと、画像データによって示される赤外線放射量の分布のうち、その移動体220に設けられている目標板120から放射されている赤外線の放射量の分布を示す画素領域を特定するデータとを距離算出部117に送る。また、相対角度算出部116は、相対的な角度を算出した対象の移動体220を示すデータと、算出した相対的な角度を示すデータとを情報出力部119に送る。   The relative angle calculation unit 116 calculates the relative angle of the moving body 220 with respect to the shooting direction of the infrared camera 300. Specifically, the relative angle calculation unit 116 receives image data from the image input reception unit 113. The relative angle calculation unit 116 also includes information for identifying the target plate 120 provided in the moving body 220 among the data indicating the moving body 220 and the information stored in the infrared radiator information storage section 111. Data for specifying, and data for specifying a pixel region indicating the distribution of the amount of infrared radiation emitted from the target plate 120 provided in the moving body 220 among the distribution of the amount of infrared radiation indicated by the image data; Is received from the object specifying unit 115. Then, the relative angle calculation unit 116 calculates the relative angle of the moving body 220 with respect to the shooting direction of the infrared camera 300. The relative angle calculation unit 116 includes data indicating the target moving body 220 for which the relative angle has been calculated, data indicating the calculated relative angle, and information stored in the infrared radiator information storage unit 111. Of these, the target plate 120 provided on the moving body 220 among the data specifying the information for identifying the target plate 120 provided on the moving body 220 and the infrared radiation amount distribution indicated by the image data. The data for specifying the pixel region indicating the distribution of the radiation amount of the infrared rays emitted from is sent to the distance calculation unit 117. In addition, the relative angle calculation unit 116 sends data indicating the target moving body 220 for which the relative angle is calculated and data indicating the calculated relative angle to the information output unit 119.

距離算出部117は、移動体220までの距離を算出する。具体的には、距離算出部117は、画像データを画像入力受付部113から受け取る。また、距離算出部117は、移動体220を示すデータと、その移動体220との相対的な角度を示すデータと、赤外線放射体情報格納部111が格納している情報のうち、その移動体220に設けられている目標板120を識別する情報を特定するデータと、画像データによって示される赤外線放射量の分布のうち、その移動体220に設けられている目標板120から放射されている赤外線の放射量の分布を示す画素領域を特定するデータとを相対角度算出部116から受け取る。そして、距離算出部117は、移動体220までの距離を算出する。そして、距離算出部117は、距離を算出した対象の移動体220を示すデータと、算出した距離を示すデータと、赤外線放射体情報格納部111が格納している情報のうち、その移動体220に設けられている目標板120を識別する情報を特定するデータとを移動速度算出部117に送る。また、距離算出部117は、距離を算出した対象の移動体220を示すデータと、算出した距離を示すデータとを情報出力部119に送る。   The distance calculation unit 117 calculates the distance to the moving body 220. Specifically, the distance calculation unit 117 receives image data from the image input reception unit 113. In addition, the distance calculation unit 117 includes data indicating the moving object 220, data indicating a relative angle with the moving object 220, and information stored in the infrared radiator information storage unit 111. Infrared rays radiated from the target plate 120 provided in the moving body 220 among the data for identifying the information for identifying the target plate 120 provided in the 220 and the distribution of the infrared radiation amount indicated by the image data. The data for specifying the pixel region indicating the distribution of the radiation amount is received from the relative angle calculation unit 116. Then, the distance calculation unit 117 calculates the distance to the moving body 220. Then, the distance calculating unit 117 includes the moving object 220 among the data indicating the target moving object 220 for which the distance is calculated, the data indicating the calculated distance, and the information stored in the infrared radiator information storing unit 111. The data for identifying the information for identifying the target plate 120 provided in is sent to the moving speed calculation unit 117. In addition, the distance calculation unit 117 sends data indicating the target moving object 220 whose distance has been calculated and data indicating the calculated distance to the information output unit 119.

移動速度算出部118は、移動体220の移動速度を算出する。具体的には、移動速度算出部118は、画像データを画像入力受付部113から受け取る。また、移動速度算出部118は、移動体220を示すデータと、距離を示すデータと、赤外線放射体情報格納部111が格納している情報のうち、その移動体220に設けられている目標板120を識別する情報を特定するデータとを距離算出部117から受け取る。そして、移動速度算出部118は、移動体220の移動速度を算出する。そして、移動速度算出部118は、移動速度を算出した対象の移動体220を示すデータと、算出した移動速度を示すデータとを情報出力部119に送る。   The moving speed calculation unit 118 calculates the moving speed of the moving body 220. Specifically, the moving speed calculation unit 118 receives image data from the image input reception unit 113. In addition, the moving speed calculation unit 118 includes a target plate provided in the moving body 220 among the data indicating the moving body 220, the data indicating the distance, and the information stored in the infrared radiator information storage section 111. Data for identifying information for identifying 120 is received from the distance calculation unit 117. Then, the moving speed calculation unit 118 calculates the moving speed of the moving body 220. Then, the moving speed calculation unit 118 sends data indicating the target moving body 220 for which the moving speed has been calculated and data indicating the calculated moving speed to the information output unit 119.

情報出力部119は、各種情報を示すデータをディスプレイ400に出力する。具体的には、情報出力部119は、移動体220を示すデータと、画像データによって示される赤外線放射量の分布のうち、その移動体220に設けられている目標板120から放射されている赤外線の放射量の分布を示す画素領域を特定するデータとを対象物特定部115から受け取る。また、情報出力部119は、移動体220を示すデータと、その移動体220との相対的な角度を示すデータとを相対角度算出部116から受け取る。また、情報出力部119は、移動体220を示すデータと、その移動体220との距離を示すデータとを距離算出部117から受け取る。また、情報出力部119は、移動体220を示すデータと、その移動体220の移動速度を示すデータとを移動速度算出部118から受け取る。そして、情報出力部119は、これらデータによって示される各種情報をディスプレイ400に出力する。   The information output unit 119 outputs data indicating various types of information to the display 400. Specifically, the information output unit 119 includes infrared rays emitted from the target plate 120 provided in the moving body 220 in the distribution of the infrared radiation amount indicated by the data indicating the moving body 220 and the image data. The data specifying the pixel region indicating the distribution of the amount of radiation is received from the object specifying unit 115. Further, the information output unit 119 receives data indicating the moving body 220 and data indicating a relative angle with the moving body 220 from the relative angle calculation unit 116. Further, the information output unit 119 receives data indicating the moving body 220 and data indicating the distance from the moving body 220 from the distance calculation unit 117. Further, the information output unit 119 receives data indicating the moving body 220 and data indicating the moving speed of the moving body 220 from the moving speed calculation unit 118. Then, the information output unit 119 outputs various information indicated by these data to the display 400.

図4は、オペレーション端末110の動作フローの一例を示す。まず、オペレーション端末110の画像入力受付部113は、画像の入力を受け付ける(S101)。具体的には、赤外線カメラ300は、撮影方向に存在している物体から放射される赤外線を撮影し、検知した赤外線の放射量の分布を画像化している。そして、赤外線カメラ300は、画像化したデータをフレーム毎に順次出力している。画像入力受付部113は、順次出力された画像データを順次入力することになる。   FIG. 4 shows an example of the operation flow of the operation terminal 110. First, the image input receiving unit 113 of the operation terminal 110 receives an input of an image (S101). Specifically, the infrared camera 300 captures infrared rays radiated from an object present in the photographing direction, and images the distribution of the detected infrared radiation amount. The infrared camera 300 sequentially outputs the imaged data for each frame. The image input receiving unit 113 sequentially inputs the sequentially output image data.

そして、オペレーション端末110の判定部114は、画像入力受付部113が入力を受け付けた画像データによって示される赤外線放射量の分布に、所定の異なる赤外線放射量の組合せの分布が含まれているか否かを判定する(S102)。具体的には、判定部114は、画像データによって示される赤外線放射量の分布に、赤外線放射体情報格納部111が格納している情報によって示される赤外線放射量の組合せと一致する組合せの分布が含まれているか否かを判定する。   Then, the determination unit 114 of the operation terminal 110 determines whether or not the distribution of the infrared radiation amount indicated by the image data received by the image input reception unit 113 includes a distribution of combinations of different predetermined infrared radiation amounts. Is determined (S102). Specifically, the determination unit 114 has a distribution of combinations that matches the infrared radiation amount distribution indicated by the image data with the infrared radiation amount combination indicated by the information stored in the infrared radiator information storage unit 111. It is determined whether or not it is included.

そして、所定の異なる赤外線放射量の組合せの分布が含まれていると判定部114が判定した場合(S102:Yes)、オペレーション端末110の対象物特定部115は、その赤外線放射量の組合せのように赤外線を放射する複数の領域を表面に有する目標板120が設けられている移動体220を特定する(S103)。具体的には、対象物特定部115は、赤外線放射体情報格納部111が格納している情報のうち、判定部114が一致していると判定した赤外線放射量の組合せを示す情報に対応付けられている目標板120を識別する情報を特定する。そして、対象物特定部115は、対象物情報格納部112が格納している情報のうち、特定した目標板120を識別する情報に対応付けられている情報によって識別される移動体を、特定すべき移動体220とする。   And when the determination part 114 determines that the distribution of the combination of predetermined different infrared radiation amount is contained (S102: Yes), the target object specific | specification part 115 of the operation terminal 110 will be like the combination of the infrared radiation amount. The mobile body 220 provided with the target plate 120 having a plurality of regions that emit infrared rays on the surface is specified (S103). Specifically, the object specifying unit 115 associates the information stored in the infrared radiator information storage unit 111 with information indicating a combination of infrared radiation amounts determined by the determination unit 114 to match. The information for identifying the target plate 120 is specified. Then, the object specifying unit 115 specifies a moving object identified by information associated with information for identifying the specified target plate 120 among the information stored in the object information storage unit 112. The moving body 220 is assumed.

そして、オペレーション端末110の相対角度算出部116は、画像入力受付部113が入力を受け付けた画像に含まれている所定の異なる赤外線放射量の組合せの分布を示す画素領域の形状及びその大きさと、対象物特定部115が特定した移動体220に設けられている目標板120の形状及びその大きさとに基づいて、赤外線カメラ300の撮影方向に対する移動体220の相対的な角度を算出する(S104)。具体的には、相対角度算出部116は、画像データによって示される赤外線放射量の分布のうち、特定された移動体220に設けられている目標板120から放射されている赤外線の放射量の分布を示す画素領域の形状及びその大きさと、赤外線放射体情報格納部111が格納している情報のうち、対象物特定部115が特定した移動体220に設けられている目標板120を識別する情報に対応付けられている情報によって示される目標板120の形状及びその大きさとに基づいて、赤外線カメラ300の撮影方向に対する移動体220の相対的な角度を算出する。   Then, the relative angle calculation unit 116 of the operation terminal 110 includes the shape and size of the pixel area indicating the distribution of combinations of predetermined different infrared radiation amounts included in the image received by the image input reception unit 113, and Based on the shape and size of the target plate 120 provided on the moving body 220 specified by the object specifying unit 115, the relative angle of the moving body 220 with respect to the shooting direction of the infrared camera 300 is calculated (S104). . Specifically, the relative angle calculation unit 116 distributes the infrared radiation amount radiated from the target plate 120 provided in the identified moving body 220 out of the infrared radiation amount distribution indicated by the image data. Among the information stored in the infrared radiator information storage unit 111 and the shape and size of the pixel area indicating the information, information for identifying the target plate 120 provided in the moving body 220 specified by the object specifying unit 115 The relative angle of the moving body 220 with respect to the shooting direction of the infrared camera 300 is calculated based on the shape and size of the target plate 120 indicated by the information associated with.

そして、オペレーション端末110の距離算出部117は、赤外線カメラ300の瞬時視野と、画像入力受付部113が入力を受け付けた画像に含まれている所定の異なる赤外線放射量の組合せの分布を示す画素領域の大きさと、対象物特定部115が特定した対象物に設けられている目標板120の大きさとに基づいて、その目標板120までの距離を算出する(S105)。具体的には、距離算出部117は、相対角度算出部116が算出した角度と、赤外線カメラ300の瞬時視野と、画像データによって示される赤外線放射量の分布のうち、移動体220に設けられている目標板120から放射されている赤外線の放射量の分布を示す画素領域の大きさと、赤外線放射体情報格納部111が格納している情報のうち、対象物特定部115が特定した移動体220に設けられている目標板120を識別する情報に対応付けられている情報によって示される目標板120の大きさとに基づいて、対象物特定部115が特定した移動体220までの距離を算出する。   Then, the distance calculation unit 117 of the operation terminal 110 is a pixel region indicating a distribution of combinations of the instantaneous visual field of the infrared camera 300 and predetermined different infrared radiation amounts included in the image received by the image input reception unit 113. And the distance to the target plate 120 is calculated based on the size of the target plate 120 provided on the target specified by the target specifying unit 115 (S105). Specifically, the distance calculation unit 117 is provided in the moving body 220 among the angle calculated by the relative angle calculation unit 116, the instantaneous visual field of the infrared camera 300, and the infrared radiation amount distribution indicated by the image data. The moving object 220 specified by the object specifying unit 115 out of the size of the pixel area indicating the distribution of the amount of infrared radiation emitted from the target plate 120 and the information stored in the infrared radiator information storage unit 111. The distance to the moving body 220 specified by the object specifying unit 115 is calculated based on the size of the target plate 120 indicated by the information associated with the information for identifying the target plate 120 provided in.

そして、オペレーション端末110の移動速度算出部118は、画像入力受付部113が入力を受け付けた画像に含まれている所定の異なる赤外線放射量の組合せの分布を示す画素領域の大きさの時間変位に基づいて、対象物特定部115が特定した移動体220の移動速度を算出する(S106)。具体的には、移動速度算出部118は、距離算出部117が算出した距離の時間変位に基づいて、その対象の移動体220の移動速度を算出する。換言すれば、移動速度算出部118は、赤外線カメラ300のフレーム毎の画像に含まれている所定の異なる赤外線放射量の組合せの分布を示す画素領域の大きさの変位に基づいて、対象物特定部115が特定した移動体220の移動速度を算出する。なお、赤外線カメラ300を搭載している移動体210が移動している場合、移動速度算出部118は、赤外線カメラ300を搭載している移動体210の移動速度に対する移動体220の移動速度の相対速度を算出することになる。また、赤外線カメラ300を搭載している移動体210が移動していない場合、移動速度算出部118は、移動体220の移動速度の絶対速度を算出することになる。   Then, the movement speed calculation unit 118 of the operation terminal 110 calculates the time displacement of the size of the pixel area indicating the distribution of the predetermined combinations of different infrared radiation amounts included in the image received by the image input reception unit 113. Based on this, the moving speed of the moving body 220 specified by the object specifying unit 115 is calculated (S106). Specifically, the moving speed calculation unit 118 calculates the moving speed of the target moving body 220 based on the time displacement of the distance calculated by the distance calculation unit 117. In other words, the moving speed calculation unit 118 specifies the object based on the displacement of the size of the pixel area indicating the distribution of the predetermined combinations of different infrared radiation amounts included in the image of each frame of the infrared camera 300. The moving speed of the moving body 220 specified by the unit 115 is calculated. In addition, when the moving body 210 equipped with the infrared camera 300 is moving, the moving speed calculation unit 118 compares the moving speed of the moving body 220 with respect to the moving speed of the moving body 210 equipped with the infrared camera 300. The speed will be calculated. Further, when the moving body 210 on which the infrared camera 300 is mounted is not moving, the moving speed calculation unit 118 calculates the absolute speed of the moving speed of the moving body 220.

そして、オペレーション端末110の情報出力部119は、各種情報を示すデータをディスプレイ400に出力する(S119)。具体的には、情報出力部119は、画像データによって示される赤外線放射量の分布のうち、特定された移動体220に設けられている目標板120から放射されている赤外線の放射量の分布を示す画素領域を特定し得る情報とともに、その移動体220との相対角度を示す情報と、その移動体220までの距離を示す情報と、その移動体220の移動速度を示す情報とがディスプレイ400に表示されるよう構成されたデータをディスプレイ400に出力する。なお、所定の異なる赤外線放射量の組合せの分布が含まれていないと判定部114が判定した場合(S102:Yes)、情報出力部119は、画像データによって示される赤外線放射量分布のみを示す情報がディスプレイ400に表示されるよう構成されたデータをディスプレイ400に出力する。   Then, the information output unit 119 of the operation terminal 110 outputs data indicating various types of information to the display 400 (S119). Specifically, the information output unit 119 calculates the distribution of the infrared radiation amount radiated from the target plate 120 provided in the identified moving body 220 out of the distribution of the infrared radiation amount indicated by the image data. Along with information that can specify the pixel area to be displayed, information that indicates a relative angle with the moving body 220, information that indicates the distance to the moving body 220, and information that indicates the moving speed of the moving body 220 are displayed on the display 400. Data configured to be displayed is output to display 400. In addition, when the determination part 114 determines that the distribution of the combination of predetermined different infrared radiation amount is not included (S102: Yes), the information output part 119 is the information which shows only the infrared radiation amount distribution shown by image data. Output to the display 400 data configured to be displayed on the display 400.

図5は、赤外線放射体情報格納部111が格納している情報の一例をテーブル形式で示す。赤外線放射体情報格納部111は、目標板120のID(identifier)、各領域の温度、目標板120の縦長、目標板120の横長、及び目標板120の外形を対応付けて格納している。なお、目標板120のIDは、この発明における赤外線放射体を識別する情報の一例である。また、各領域の温度の組合せは、この発明における赤外線放射体の表面の複数の領域からそれぞれ放射される赤外線放射量の組合せを示す情報の一例である。また、目標板120の縦長、及び目標板120の横長は、この発明における赤外線放射体の大きさを示す情報の一例である。また、目標板120の形状は、この発明における赤外線放射体の形状を示す情報の一例である。   FIG. 5 shows an example of information stored in the infrared radiator information storage unit 111 in a table format. The infrared radiator information storage unit 111 stores the ID (identifier) of the target plate 120, the temperature of each region, the vertical length of the target plate 120, the horizontal length of the target plate 120, and the external shape of the target plate 120. The ID of the target plate 120 is an example of information for identifying the infrared radiator in the present invention. Moreover, the combination of the temperature of each area | region is an example of the information which shows the combination of the infrared radiation amount each radiated | emitted from the several area | region of the surface of the infrared radiator in this invention. Moreover, the vertically long target plate 120 and the horizontally long target plate 120 are an example of information indicating the size of the infrared radiator in the present invention. The shape of the target plate 120 is an example of information indicating the shape of the infrared radiator in the present invention.

目標板120のIDは、移動体220に設けられている各目標板120を一意に識別するための識別符号であってよい。なお、目標板120のIDは、ユーザによって決定された文字列であってよいし、対象物特定システム100を構築する事業者によって決定された文字列であってもよい。また、目標板120のIDは、その文字列の読み自体に意味があってよいし、意味がなくてもよい。   The ID of the target plate 120 may be an identification code for uniquely identifying each target plate 120 provided in the moving body 220. Note that the ID of the target board 120 may be a character string determined by the user, or may be a character string determined by a business operator who constructs the object specifying system 100. Further, the ID of the target plate 120 may or may not have meaning in reading the character string itself.

各領域の温度は、各領域の表面の温度を示す値であってよい。なお、各領域の温度は、各領域が発熱する温度であってよいし、各領域が冷却されたときの温度であってもよい。また、各領域の温度は、全ての領域の温度が異なる温度であってよいし、隣接している領域同士の温度が異なっていれば、隣接していない領域同士の温度は同じ温度であってもよい。   The temperature of each region may be a value indicating the temperature of the surface of each region. The temperature of each region may be a temperature at which each region generates heat, or may be a temperature when each region is cooled. Moreover, the temperature of each area | region may be the temperature from which the temperature of all the areas differs, and if the temperature of adjacent areas differs, the temperature of non-adjacent areas is the same temperature. Also good.

目標板120の縦長は、目標板120を正面視したときの垂直方向の最上の点から最下の点までの長さを示す値であってよい。また、目標板120の横長は、目標板120を正面視したときの水平方向の最左の点から最右の点までの長さを示す値であってよい。なお、目標板120の縦長の値と横長の値とは、同じ値であってよいし、異なる値であってもよい。例えば、目標板120の外形が正方形や真円の場合、目標板120の縦長の値と横長の値とは、同じ値となる。   The vertically long target plate 120 may be a value indicating the length from the highest point in the vertical direction to the lowest point when the target plate 120 is viewed from the front. The horizontal length of the target plate 120 may be a value indicating the length from the leftmost point in the horizontal direction to the rightmost point when the target plate 120 is viewed from the front. Note that the vertically long value and the horizontally long value of the target plate 120 may be the same value or different values. For example, when the outer shape of the target plate 120 is a square or a perfect circle, the vertically long value and the horizontally long value of the target plate 120 are the same value.

目標板120の外形は、目標板120を正面視したときの外観の形状を示す情報であってよい。なお、目標板120を正面視したときの外観の形状としては、正方形、長方形、真円、星形といった様々な形状が考えられる。また、目標板120を正面視したときの外観の形状を示す情報は、その形状を英語又は日本語によって示してよいし、その形状を一意に識別し得る識別符号によって示してもよい。   The outer shape of the target plate 120 may be information indicating the shape of the appearance when the target plate 120 is viewed from the front. Note that various shapes such as a square, a rectangle, a perfect circle, and a star are conceivable as the appearance of the target plate 120 when viewed from the front. The information indicating the shape of the appearance when the target plate 120 is viewed from the front may be indicated in English or Japanese, or may be indicated by an identification code that can uniquely identify the shape.

判定部114は、画像データによって示される赤外線放射量の分布に、赤外線放射体情報格納部111が格納している各領域の温度から所定の関数に基づいて算出される赤外線放射量の組合せと一致する組合せの分布が含まれているか否かを判定する。そして、判定部114は、一致する組合せの分布が含まれていると判定した場合、その赤外線放射体情報格納部111が格納している情報のうち、一致すると判定した赤外線放射量の組合せを示す情報を特定するデータとして、各領域の温度の組合せを示す情報を特定するデータを対象物特定部115に送る。   The determination unit 114 matches the infrared radiation amount distribution indicated by the image data with a combination of infrared radiation amounts calculated based on a predetermined function from the temperature of each region stored in the infrared radiator information storage unit 111. It is determined whether or not a distribution of combinations to be included is included. When the determination unit 114 determines that the distribution of matching combinations is included, the determination unit 114 indicates the combination of the infrared radiation amounts determined to match among the information stored in the infrared radiator information storage unit 111. Data specifying information indicating the combination of temperatures in each region is sent to the object specifying unit 115 as data specifying the information.

対象物特定部115は、各領域の温度の組合せを示す情報を特定するデータを判定部114から受け取ると、赤外線放射体情報格納部111が格納している情報のうち、受け取ったデータによって示される情報と対応付けられている目標板120のIDを特定する。例えば、対象物特定部115は、領域121の温度が「10℃」で領域122の温度が「20℃」の組合せを示す情報を特定するデータを判定部114から受け取った場合、ID「T001」の目標板120を特定する。   When the object specifying unit 115 receives data specifying information indicating a combination of temperatures in each region from the determination unit 114, the object specifying unit 115 is indicated by the received data among the information stored in the infrared radiator information storage unit 111. The ID of the target plate 120 associated with the information is specified. For example, when the object specifying unit 115 receives data specifying information indicating a combination of the temperature of the region 121 of “10 ° C.” and the temperature of the region 122 of “20 ° C.” from the determination unit 114, the ID “T001”. The target plate 120 is specified.

相対角度算出部116は、画像データによって示される赤外線放射量の分布のうち、特定された移動体220に設けられている目標板120から放射されている赤外線の放射量の分布を示す画素領域の形状及びその大きさと、赤外線放射体情報格納部111が格納している情報のうち、対象物特定部115が特定した移動体220に設けられている目標板120を識別する情報に対応付けられている情報によって示される目標板120の形状及びその大きさとに基づいて、赤外線カメラ300の撮影方向に対する移動体220の相対的な角度を算出する。例えば、対象物特定部115は、ID「T001」の目標板120を特定したとする。その場合、相対角度算出部116は、赤外線放射体情報格納部111が格納している情報に基づいて、このID「T001」の目標板120は、縦長「0.5m」、横長「0.5m」の「正方形」の外形であると特定する。そして、画像におけるこの目標板120から放出されている赤外線の放出量の分布を示す画素領域が縦5画素、横5画素の正方形であれば、この目標板120は、赤外線カメラ300の撮影方向に対して正対する位置に存在していることになる。即ち、相対角度算出部116は、この目標板120との相対角度を、水平方向「0°」、鉛直方向「0℃」と算出する。また、画像におけるこの目標板120から放出されている赤外線の放出量の分布を示す画素領域が縦5画素、横2.5画素の長方形であれば、この目標板120は、赤外線カメラ300の撮影方向に対して水平方向にズレた位置に存在していることになる。即ち、相対角度算出部116は、この目標板120との相対角度を、水平方向に何度ズレているのかを所定の関数によって算出するとともに、鉛直方向「0℃」と算出する。また、画像におけるこの目標板120から放出されている赤外線の放出量の分布を示す画素領域が縦2.5画素、横5画素の長方形であれば、この目標板120は、赤外線カメラ300の撮影方向に対して鉛直方向にズレた位置に存在していることになる。即ち、相対角度算出部116は、この目標板120との相対角度を、鉛直方向に何度ズレているのかを所定の関数によって算出するとともに、水平方向「0℃」と算出する。また、画像におけるこの目標板120から放出されている赤外線の放出量の分布を示す画素領域が縦3画素、横2.5画素の平行四辺形であれば、この目標板120は、赤外線カメラ300の撮影方向に対して水平方向及び鉛直方向にそれぞれズレた位置に存在していることになる。即ち、相対角度算出部116は、この目標板120との相対角度を、水平方向及び鉛直方向にそれぞれ何度ズレているのかを所定の関数によって算出する。   The relative angle calculation unit 116 is a pixel region that indicates the distribution of the amount of infrared radiation emitted from the target plate 120 provided in the identified moving body 220 out of the distribution of the amount of infrared radiation indicated by the image data. Of the information stored in the infrared emitter information storage unit 111, the shape and the size thereof are associated with information for identifying the target plate 120 provided in the moving body 220 specified by the object specifying unit 115. The relative angle of the moving body 220 with respect to the shooting direction of the infrared camera 300 is calculated based on the shape and size of the target plate 120 indicated by the information. For example, it is assumed that the object specifying unit 115 specifies the target plate 120 with the ID “T001”. In that case, based on the information stored in the infrared radiator information storage unit 111, the relative angle calculation unit 116 is configured such that the target plate 120 with the ID “T001” is vertically long “0.5 m” and horizontally long “0.5 m”. ”Is identified as a“ square ”outline. If the pixel area indicating the distribution of the emission amount of infrared rays emitted from the target plate 120 in the image is a square of 5 pixels in the vertical direction and 5 pixels in the horizontal direction, the target plate 120 is in the shooting direction of the infrared camera 300. It exists in the position where it faces directly. That is, the relative angle calculation unit 116 calculates the relative angle with respect to the target plate 120 as the horizontal direction “0 °” and the vertical direction “0 ° C.”. In addition, if the pixel area indicating the distribution of the amount of infrared rays emitted from the target plate 120 in the image is a rectangle of 5 pixels in the vertical direction and 2.5 pixels in the horizontal direction, the target plate 120 is captured by the infrared camera 300. It exists in the position shifted | deviated to the horizontal direction with respect to the direction. That is, the relative angle calculation unit 116 calculates how many times the relative angle with respect to the target plate 120 is shifted in the horizontal direction by a predetermined function and calculates the vertical direction as “0 ° C.”. Further, if the pixel area indicating the distribution of the amount of infrared rays emitted from the target plate 120 in the image is a rectangle of 2.5 pixels vertically and 5 pixels wide, the target plate 120 is captured by the infrared camera 300. It exists in the position which shifted | deviated to the perpendicular direction with respect to the direction. That is, the relative angle calculation unit 116 calculates how many times the relative angle with respect to the target plate 120 is shifted in the vertical direction by a predetermined function and also calculates “0 ° C.” in the horizontal direction. Further, if the pixel area indicating the distribution of the amount of infrared rays emitted from the target plate 120 in the image is a parallelogram having 3 pixels in the vertical direction and 2.5 pixels in the horizontal direction, the target plate 120 has the infrared camera 300. Therefore, they are present at positions shifted in the horizontal direction and the vertical direction with respect to the shooting direction. That is, the relative angle calculation unit 116 calculates how much the relative angle with the target plate 120 is shifted in the horizontal direction and the vertical direction by a predetermined function.

距離算出部117は、相対角度算出部116が算出した角度と、赤外線カメラ300の瞬時視野と、画像データによって示される赤外線放射量の分布のうち、移動体220に設けられている目標板120から放射されている赤外線の放射量の分布を示す画素領域の大きさと、赤外線放射体情報格納部111が格納している情報のうち、対象物特定部115が特定した移動体220に設けられている目標板120を識別する情報に対応付けられている情報によって示される目標板120の大きさとに基づいて、対象物特定部115が特定した移動体220までの距離を算出する。例えば、対象物特定部115は、ID「T001」の目標板120を特定したとする。また、赤外線カメラ300の瞬時視野は、0.1mradであるとする。また、画像におけるこの目標板120から放出されている赤外線の放出量の分布を示す画素領域が縦5画素、横5画素の正方形であるとする。このような場合、ID「T001」の目標板120の実際の大きさが縦長「0.5m」、横長「0.5m」であることから、距離算出部117は、この目標板120までの距離を「1000m」と算出する。同様に、画像におけるこの目標板120から放出されている赤外線の放出量の分布を示す画素領域が縦50画素、横50画素の正方形であれば、距離算出部117は、この目標板120までの距離を「100m」と算出する。同様に、画像におけるこの目標板120から放出されている赤外線の放出量の分布を示す画素領域が縦100画素、横100画素の正方形であれば、距離算出部117は、この目標板120までの距離を「50m」と算出する。なお、移動速度算出部118は、距離算出部117が算出した値の時間変位に基づいて、目標板120の移動速度を算出する。   The distance calculation unit 117 uses the target plate 120 provided in the moving body 220 among the angle calculated by the relative angle calculation unit 116, the instantaneous visual field of the infrared camera 300, and the infrared radiation amount distribution indicated by the image data. Among the information of the size of the pixel region indicating the distribution of the emitted infrared radiation amount and the information stored in the infrared radiator information storage unit 111, the moving object 220 specified by the object specifying unit 115 is provided. Based on the size of the target plate 120 indicated by the information associated with the information for identifying the target plate 120, the distance to the moving body 220 specified by the object specifying unit 115 is calculated. For example, it is assumed that the object specifying unit 115 specifies the target plate 120 with the ID “T001”. Further, the instantaneous visual field of the infrared camera 300 is assumed to be 0.1 mrad. In addition, it is assumed that the pixel area indicating the distribution of the amount of infrared rays emitted from the target plate 120 in the image is a square of 5 pixels vertically and 5 pixels horizontally. In such a case, since the actual size of the target plate 120 with ID “T001” is vertically long “0.5 m” and horizontally long “0.5 m”, the distance calculation unit 117 determines the distance to the target plate 120. Is calculated as “1000 m”. Similarly, if the pixel area indicating the distribution of the amount of infrared rays emitted from the target plate 120 in the image is a square of 50 pixels vertically and 50 pixels wide, the distance calculation unit 117 The distance is calculated as “100 m”. Similarly, if the pixel area indicating the distribution of the emission amount of infrared rays emitted from the target plate 120 in the image is a square of 100 pixels in the vertical direction and 100 pixels in the horizontal direction, the distance calculation unit 117 The distance is calculated as “50 m”. The moving speed calculation unit 118 calculates the moving speed of the target plate 120 based on the time displacement of the value calculated by the distance calculation unit 117.

図6は、対象物情報格納部112が格納している情報の一例をテーブル形式で示す。対象物情報格納部112は、移動体220のID、及び目標板120のIDを対応付けて格納している。なお、移動体220のIDは、この発明における対象物を識別する情報の一例である。また、目標板120のIDは、この発明における赤外線放射体を識別する情報の一例である。なお、目標板120のIDは、赤外線放射体情報格納部111が格納している目標板120のIDと同じである。   FIG. 6 shows an example of information stored in the object information storage unit 112 in a table format. The object information storage unit 112 stores the ID of the moving body 220 and the ID of the target plate 120 in association with each other. The ID of the mobile object 220 is an example of information for identifying the object in the present invention. Further, the ID of the target plate 120 is an example of information for identifying the infrared radiator in the present invention. The ID of the target plate 120 is the same as the ID of the target plate 120 stored in the infrared radiator information storage unit 111.

移動体220のIDは、目標板120が設けられている各移動体220を一意に識別するための識別符号であってよい。なお、移動体220のIDは、ユーザによって決定された文字列であってよいし、対象物特定システム100を構築する事業者によって決定された文字列であってもよい。また、移動体220のIDは、その文字列の読み自体に意味があってよいし、意味がなくてもよい。   The ID of the moving body 220 may be an identification code for uniquely identifying each moving body 220 on which the target plate 120 is provided. Note that the ID of the moving object 220 may be a character string determined by the user, or a character string determined by an operator who constructs the object identifying system 100. Further, the ID of the moving object 220 may or may not have meaning in reading the character string itself.

対象物特定部115は、対象物情報格納部112が格納している情報のうち、赤外線放射体情報格納部111が格納している情報に基づいて目標板120を識別する情報を特定した後、その情報に対応付けられている情報によって識別される移動体を、特定すべき移動体220とする。例えば、対象物特定部115は、赤外線放射体情報格納部111が格納している情報のうち、ID「T001」の目標板120を特定した場合、対象物情報格納部112が格納している情報に基づいて、この目標板120のID「T001」に対応付けられているID「M001」の移動体を特定すべき移動体220とする。   The object specifying unit 115 specifies information for identifying the target plate 120 based on the information stored in the infrared radiator information storage unit 111 among the information stored in the object information storage unit 112. The moving body identified by the information associated with the information is set as the moving body 220 to be specified. For example, when the target specifying unit 115 specifies the target plate 120 having the ID “T001” among the information stored in the infrared radiator information storage unit 111, the information stored in the target information storage unit 112 is stored. Based on the above, the moving body 220 with the ID “M001” associated with the ID “T001” of the target plate 120 is set as the moving body 220 to be specified.

以上説明したように、対象物特定システム100においては、特定したい所望の移動体220に対し、表面の複数の領域からそれぞれ異なる放射量の赤外線が放射される目標板120を設ける。そして、対象物特定システム100においては、赤外線カメラ300によって撮影して得られた画像によって示される赤外線放射量の分布の中に、所定の赤外線放射量の組合せを示す分布が含まれているか否かを判定する。そして、対象物特定システム100においては、所定の赤外線放射量の組合せを示す分布が含まれている場合、その組合せのように赤外線を放射している目標板120を特定するとともに、その目標板120が設けられている移動体220を特定する。そして、対象物特定システム100においては、画像における目標板120の赤外線放射量の組合せを示す分布の大きさや形状、並びにその時間変位に基づいて、移動体220との相対角度、移動体220までの距離、及び移動体220の移動速度を算出する。このように、対象物特定システム100においては、赤外線カメラ300撮影した画像によって対象物を特定するにあたり、移動体220の温度とその周囲の温度との差が小さいような場合や、移動体220の形状を把握し難い向きから対向して撮影している場合でも、移動体220を具体的に特定することができるだけでなく、移動体220との相対角度や移動体220までの距離、移動体220の移動速度を算出することができる。   As described above, in the object identifying system 100, the target plate 120 that emits infrared rays having different radiation amounts from a plurality of regions on the surface is provided for a desired moving body 220 to be identified. In the object identification system 100, whether or not the distribution indicating the combination of the predetermined infrared radiation amounts is included in the distribution of the infrared radiation amount indicated by the image obtained by photographing with the infrared camera 300. Determine. In the object specifying system 100, when a distribution indicating a combination of predetermined infrared radiation amounts is included, the target plate 120 that emits infrared rays as in the combination is specified, and the target plate 120 is also specified. Is specified. In the object identifying system 100, the relative angle to the moving body 220, the relative angle to the moving body 220, based on the size and shape of the distribution indicating the combination of the infrared radiation amounts of the target plate 120 in the image, and the time displacement thereof The distance and the moving speed of the moving body 220 are calculated. As described above, in the object specifying system 100, when specifying the object from the image captured by the infrared camera 300, when the difference between the temperature of the moving body 220 and the surrounding temperature is small, Even when shooting in a direction opposite from the direction in which it is difficult to grasp the shape, not only can the moving body 220 be specifically identified, but also the relative angle with the moving body 220, the distance to the moving body 220, the moving body 220, and so on. Can be calculated.

図7は、オペレーション端末110をコンピュータ等の電子情報処理装置で構成した場合のハードウェア構成の一例を示す。オペレーション端末110は、CPU(Central Processing Unit)周辺部と、入出力部と、レガシー入出力部とを備える。CPU周辺部は、ホスト・コントローラ901により相互に接続されるCPU902、RAM(Random Access Memory)903、グラフィック・コントローラ904、及び表示装置905を有する。入出力部は、入出力コントローラ906によりホスト・コントローラ901に接続される通信インターフェイス907、ハードディスクドライブ908、及びCD−ROM(Compact Disk Read Only Memory)ドライブ909を有する。レガシー入出力部は、入出力コントローラ906に接続されるROM(Read Only Memory)910、フレキシブルディスク・ドライブ911、及び入出力チップ912を有する。   FIG. 7 shows an example of a hardware configuration when the operation terminal 110 is configured by an electronic information processing apparatus such as a computer. The operation terminal 110 includes a CPU (Central Processing Unit) peripheral part, an input / output part, and a legacy input / output part. The CPU peripheral section includes a CPU 902, a RAM (Random Access Memory) 903, a graphic controller 904, and a display device 905 that are connected to each other by a host controller 901. The input / output unit includes a communication interface 907, a hard disk drive 908, and a CD-ROM (Compact Disk Read Only Memory) drive 909 connected to the host controller 901 by the input / output controller 906. The legacy input / output unit includes a read only memory (ROM) 910, a flexible disk drive 911, and an input / output chip 912 that are connected to the input / output controller 906.

ホスト・コントローラ901は、RAM903と、高い転送レートでRAM903をアクセスするCPU902、及びグラフィック・コントローラ904とを接続する。CPU902は、ROM910、及びRAM903に格納されたプログラムに基づいて動作して、各部の制御をする。グラフィック・コントローラ904は、CPU902等がRAM903内に設けたフレーム・バッファ上に生成する画像データを取得して、表示装置905上に表示させる。これに代えて、グラフィック・コントローラ904は、CPU902等が生成する画像データを格納するフレーム・バッファを、内部に含んでもよい。   The host controller 901 connects the RAM 903, the CPU 902 that accesses the RAM 903 at a high transfer rate, and the graphic controller 904. The CPU 902 operates based on programs stored in the ROM 910 and the RAM 903 to control each unit. The graphic controller 904 acquires image data generated by the CPU 902 or the like on a frame buffer provided in the RAM 903 and displays the image data on the display device 905. Instead of this, the graphic controller 904 may include a frame buffer for storing image data generated by the CPU 902 or the like.

入出力コントローラ906は、ホスト・コントローラ901と、比較的高速な入出力装置であるハードディスクドライブ908、通信インターフェイス907、CD−ROMドライブ909を接続する。ハードディスクドライブ908は、CPU902が使用するプログラム、及びデータを格納する。通信インターフェイス907は、ネットワーク通信装置991に接続してプログラムまたはデータを送受信する。CD−ROMドライブ909は、CD−ROM992からプログラムまたはデータを読み取り、RAM903を介してハードディスクドライブ908、及び通信インターフェイス907に提供する。   The input / output controller 906 connects the host controller 901 to the hard disk drive 908, the communication interface 907, and the CD-ROM drive 909, which are relatively high-speed input / output devices. The hard disk drive 908 stores programs and data used by the CPU 902. The communication interface 907 is connected to the network communication device 991 to transmit / receive programs or data. The CD-ROM drive 909 reads a program or data from the CD-ROM 992 and provides it to the hard disk drive 908 and the communication interface 907 via the RAM 903.

入出力コントローラ906には、ROM910と、フレキシブルディスク・ドライブ911、及び入出力チップ912の比較的低速な入出力装置とが接続される。ROM910は、オペレーション端末110が起動時に実行するブート・プログラム、あるいはオペレーション端末110のハードウェアに依存するプログラム等を格納する。フレキシブルディスク・ドライブ911は、フレキシブルディスク993からプログラムまたはデータを読み取り、RAM903を介してハードディスクドライブ908、及び通信インターフェイス907に提供する。入出力チップ912は、フレキシブルディスク・ドライブ911、あるいはパラレル・ポート、シリアル・ポート、キーボード・ポート、マウス・ポート等を介して各種の入出力装置を接続する。   The input / output controller 906 is connected to a ROM 910, a flexible disk drive 911, and a relatively low-speed input / output device such as an input / output chip 912. The ROM 910 stores a boot program that the operation terminal 110 executes at startup, a program that depends on the hardware of the operation terminal 110, and the like. The flexible disk drive 911 reads a program or data from the flexible disk 993 and provides it to the hard disk drive 908 and the communication interface 907 via the RAM 903. The input / output chip 912 connects various input / output devices via the flexible disk drive 911 or a parallel port, a serial port, a keyboard port, a mouse port, and the like.

CPU902が実行するプログラムは、フレキシブルディスク993、CD−ROM992、またはIC(Integrated Circuit)カード等の記録媒体に格納されて利用者によって提供される。記録媒体に格納されたプログラムは圧縮されていても非圧縮であってもよい。プログラムは、記録媒体からハードディスクドライブ908にインストールされ、RAM903に読み出されてCPU902により実行される。CPU902により実行されるプログラムは、オペレーション端末110を、図1から図6に関連して説明した赤外線放射体情報格納部111、対象物情報格納部112、画像入力受付部113、判定部114、対象物特定部115、相対角度算出部116、距離算出部117、及び情報出力部118として機能させる。   A program executed by the CPU 902 is stored in a recording medium such as a flexible disk 993, a CD-ROM 992, or an IC (Integrated Circuit) card and provided by a user. The program stored in the recording medium may be compressed or uncompressed. The program is installed in the hard disk drive 908 from the recording medium, read into the RAM 903, and executed by the CPU 902. The program executed by the CPU 902 includes the operation terminal 110, the infrared radiator information storage unit 111, the object information storage unit 112, the image input reception unit 113, the determination unit 114, and the target described with reference to FIGS. It functions as the object specifying unit 115, the relative angle calculation unit 116, the distance calculation unit 117, and the information output unit 118.

以上に示したプログラムは、外部の記憶媒体に格納されてもよい。記憶媒体としては、フレキシブルディスク993、CD−ROM992の他に、DVD(Digital Versatile Disk)またはPD(Phase Disk)等の光学記録媒体、MD(MiniDisk)等の光磁気記録媒体、テープ媒体、ICカード等の半導体メモリ等を用いることができる。また、専用通信ネットワークあるいはインターネットに接続されたサーバシステムに設けたハードディスクまたはRAM等の記憶媒体を記録媒体として使用して、ネットワークを介したプログラムとして提供してもよい。   The program shown above may be stored in an external storage medium. As a storage medium, in addition to the flexible disk 993 and the CD-ROM 992, an optical recording medium such as a DVD (Digital Versatile Disk) or a PD (Phase Disk), a magneto-optical recording medium such as an MD (MiniDisk), a tape medium, and an IC card A semiconductor memory or the like can be used. Alternatively, a storage medium such as a hard disk or a RAM provided in a server system connected to a dedicated communication network or the Internet may be used as a recording medium and provided as a program via the network.

以上、本発明を実施の形態を用いて説明したが、本発明の技術的範囲は上記実施の形態に記載の範囲には限定されない。上記実施の形態に、多様な変更または改良を加えることが可能であることが当業者に明らかである。その様な変更または改良を加えた形態も本発明の技術的範囲に含まれ得ることが、特許請求の範囲の記載から明らかである。   As mentioned above, although this invention was demonstrated using embodiment, the technical scope of this invention is not limited to the range as described in the said embodiment. It will be apparent to those skilled in the art that various modifications or improvements can be added to the above-described embodiment. It is apparent from the scope of the claims that the embodiments added with such changes or improvements can be included in the technical scope of the present invention.

100 対象物特定システム
110 オペレーション端末
111 赤外線放射体情報格納部
112 対象物情報格納部
113 画像入力受付部
114 判定部
115 対象物特定部
116 相対角度算出部
117 距離算出部
118 移動速度算出部
119 情報出力部
120 目標板
121 領域
122 領域
123 領域
210 移動体
220 移動体
230 移動体
300 赤外線カメラ
400 ディスプレイ
500 温度設定装置
901 ホスト・コントローラ
902 CPU
903 RAM
904 グラフィック・コントローラ
905 表示装置
906 入出力コントローラ
907 通信インターフェイス
908 ハードディスクドライブ
909 CD−ROMドライブ
910 ROM
911 フレキシブルディスク・ドライブ
912 入出力チップ
991 ネットワーク通信装置
992 CD−ROM
993 フレキシブルディスク
100 Object Identification System 110 Operation Terminal 111 Infrared Radiator Information Storage Unit 112 Object Information Storage Unit 113 Image Input Accepting Unit 114 Determination Unit 115 Object Identification Unit 116 Relative Angle Calculation Unit 117 Distance Calculation Unit 118 Travel Speed Calculation Unit 119 Information Output unit 120 Target plate 121 Area 122 Area 123 Area 210 Moving body 220 Moving body 230 Moving body 300 Infrared camera 400 Display 500 Temperature setting device 901 Host controller 902 CPU
903 RAM
904 Graphic controller 905 Display device 906 Input / output controller 907 Communication interface 908 Hard disk drive 909 CD-ROM drive 910 ROM
911 Flexible disk drive 912 I / O chip 991 Network communication device 992 CD-ROM
993 Flexible disk

Claims (16)

赤外線撮影手段が撮影した画像に基づいて対象物を特定する対象物特定システムであって、
前記対象物に設けられる赤外線放射体であって、赤外線放射量が異なる複数の領域を表面に有する赤外線放射体と、前記赤外線撮影手段と電気的に接続された対象物特定装置とを備え、
前記対象物特定装置は、
前記赤外線撮影手段が撮影した画像によって示される赤外線放射量の分布に、所定の異なる赤外線放射量の組合せの分布が含まれているか否かを判定する判定部と、
所定の異なる赤外線放射量の組合せの分布が含まれていると前記判定部が判定した場合に、当該赤外線放射量の組合せのように赤外線を放射する複数の領域を表面に有する赤外線放射体が設けられている前記対象物を特定する対象物特定部と
を有する対象物特定システム。
An object identification system for identifying an object based on an image captured by an infrared imaging means,
An infrared radiator provided on the object, the infrared radiator having a plurality of regions with different infrared radiation amounts on the surface, and an object identification device electrically connected to the infrared imaging means;
The object specifying device includes:
A determination unit that determines whether or not a distribution of a combination of predetermined different infrared radiation amounts is included in the distribution of the infrared radiation amount indicated by the image captured by the infrared photographing unit;
When the determination unit determines that a distribution of combinations of predetermined different infrared radiation amounts is included, an infrared radiator having a plurality of regions that emit infrared rays on the surface is provided as in the combination of infrared radiation amounts. An object specifying system comprising: an object specifying unit that specifies the object that is being used.
前記対象物特定装置は、
前記赤外線放射体を識別する情報と、当該赤外線放射体の表面の複数の領域からそれぞれ放射される赤外線放射量の組合せを示す情報とを対応付けて格納する赤外線放射体情報格納部と、
前記対象物を識別する情報と、当該対象物に設けられている前記赤外線放射体を識別する情報とを対応付けて格納する対象物情報格納部と
を更に有し、
前記判定部は、前記画像によって示される赤外線放射量の分布に、前記赤外線放射体情報格納部が格納している情報によって示される赤外線放射量の組合せと一致する組合せの分布が含まれているか否かを判定し、
前記対象物特定部は、一致する組合せの分布が含まれていると前記判定部が判定した場合に、前記赤外線放射体情報格納部が格納している情報のうち、当該組合せを示す情報に対応付けられている前記赤外線放射体を識別する情報を特定し、前記対象物情報格納部が格納している情報のうち、当該特定した赤外線放射体を識別する情報に対応付けられている情報によって識別される対象物を、特定すべき対象物とする
請求項1に記載の対象物特定システム。
The object specifying device includes:
An infrared radiator information storage unit that stores information identifying the infrared radiator and information indicating a combination of infrared radiation amounts emitted from a plurality of regions on the surface of the infrared radiator,
An object information storage unit for storing the information for identifying the object and the information for identifying the infrared radiator provided in the object in association with each other;
The determination unit determines whether or not the distribution of the infrared radiation amount indicated by the image includes a distribution of a combination that matches the combination of the infrared radiation amounts indicated by the information stored in the infrared radiator information storage unit. Determine whether
The object specifying unit corresponds to information indicating the combination among the information stored in the infrared radiator information storage unit when the determination unit determines that the distribution of matching combinations is included. The information for identifying the attached infrared radiator is specified, and the information stored in the object information storage unit is identified by the information associated with the information for identifying the specified infrared radiator. The object specifying system according to claim 1, wherein the object to be specified is an object to be specified.
前記対象物特定装置は、
前記赤外線撮影手段の瞬時視野と、前記画像に含まれている所定の異なる赤外線放射量の組合せの分布を示す画素領域の大きさと、前記対象物特定部が特定した対象物に設けられている赤外線放射体の大きさとに基づいて、当該対象物までの距離を算出する距離算出部
を更に有する請求項1又は2に記載の対象物特定システム。
The object specifying device includes:
The instantaneous visual field of the infrared imaging means, the size of a pixel area indicating the distribution of combinations of predetermined different infrared radiation amounts included in the image, and the infrared ray provided on the object specified by the object specifying unit The target object specifying system according to claim 1, further comprising a distance calculating unit that calculates a distance to the target object based on a size of the radiator.
前記赤外線放射体情報格納部は、前記赤外線放射体を識別する情報に、当該赤外線放射体の大きさを示す情報を更に対応付けて格納しており、
前記距離算出部は、前記赤外線撮影手段の瞬時視野と、前記画像に含まれている所定の異なる赤外線放射量の組合せの分布を示す画素領域の大きさと、前記赤外線放射体情報格納部が格納している情報のうち、前記対象物特定部が特定した対象物に設けられている赤外線放射体を識別する情報に対応付けられている情報によって示される当該赤外線放射体の大きさとに基づいて、当該対象物までの距離を算出する
請求項3に記載の対象物特定システム。
The infrared radiator information storage unit further stores information identifying the infrared radiator in association with information indicating the size of the infrared radiator,
The distance calculation unit stores the instantaneous visual field of the infrared imaging means, the size of a pixel area indicating a distribution of combinations of different predetermined infrared radiation amounts included in the image, and the infrared radiator information storage unit. Based on the size of the infrared radiator indicated by the information associated with the information identifying the infrared radiator provided on the object specified by the object specifying unit, The object specifying system according to claim 3, wherein a distance to the object is calculated.
前記対象物特定装置は、
前記画像に含まれている所定の異なる赤外線放射量の組合せの分布を示す画素領域の形状及びその大きさと、前記対象物特定部が特定した対象物に設けられている赤外線放射体の形状及びその大きさとに基づいて、前記赤外線撮影手段の撮影方向に対する前記対象物の相対的な角度を算出する相対角度算出部
を更に有し、
前記距離算出部は、前記相対角度算出部が算出した角度と、前記赤外線撮影手段の瞬時視野と、前記画像に含まれている所定の異なる赤外線放射量の組合せの分布を示す画素領域の大きさと、前記対象物特定部が特定した対象物に設けられている赤外線放射体の大きさとに基づいて、当該対象物までの距離を算出する
請求項3又は4に記載の対象物特定システム。
The object specifying device includes:
The shape and size of the pixel region indicating the distribution of combinations of predetermined different infrared radiation amounts included in the image, the shape of the infrared radiator provided on the object specified by the object specifying unit, and the size thereof A relative angle calculation unit that calculates a relative angle of the object with respect to the imaging direction of the infrared imaging unit based on the size;
The distance calculation unit includes an angle calculated by the relative angle calculation unit, an instantaneous visual field of the infrared imaging unit, and a size of a pixel region indicating a distribution of combinations of predetermined different infrared radiation amounts included in the image. The object specifying system according to claim 3, wherein a distance to the object is calculated based on a size of an infrared radiator provided on the object specified by the object specifying unit.
前記赤外線放射体情報格納部は、前記赤外線放射体を識別する情報に、当該赤外線放射体の形状を示す情報を更に対応付けて格納しており、
前記相対角度算出部は、前記画像に含まれている所定の異なる赤外線放射量の組合せの分布を示す画素領域の形状及びその大きさと、前記赤外線放射体情報格納部が格納している情報のうち、前記対象物特定部が特定した対象物に設けられている赤外線放射体を識別する情報に対応付けられている情報によって示される当該赤外線放射体の形状及びその大きさとに基づいて、前記赤外線撮影手段の撮影方向に対する前記対象物の相対的な角度を算出する
請求項5に記載の対象物特定システム。
The infrared radiator information storage unit further stores information identifying the infrared radiator in association with information indicating the shape of the infrared radiator,
The relative angle calculation unit includes a shape and size of a pixel region indicating a distribution of combinations of predetermined different infrared radiation amounts included in the image, and information stored in the infrared radiator information storage unit. The infrared imaging based on the shape and size of the infrared radiator indicated by the information associated with the information identifying the infrared radiator provided on the object specified by the object specifying unit The object specifying system according to claim 5, wherein a relative angle of the object with respect to a photographing direction of the means is calculated.
前記対象物特定装置は、
前記画像に含まれている所定の異なる赤外線放射量の組合せの分布を示す画素領域の大きさの時間変位に基づいて、前記対象物特定部が特定した対象物の移動速度を算出する移動速度算出部
を更に有する請求項1乃至5のいずれかに記載の対象物特定システム。
The object specifying device includes:
Moving speed calculation for calculating the moving speed of the object specified by the object specifying unit based on the temporal displacement of the size of the pixel area indicating the distribution of combinations of predetermined different infrared radiation amounts included in the image The object specifying system according to claim 1, further comprising a unit.
前記移動速度算出部は、前記赤外線撮影手段のフレーム毎の前記画像に含まれている所定の異なる赤外線放射量の組合せの分布を示す画素領域の大きさの変位に基づいて、前記対象物特定部が特定した対象物の移動速度を算出する請求項6に記載の対象物特定システム。   The moving speed calculation unit is based on a displacement of a size of a pixel area indicating a distribution of combinations of predetermined different infrared radiation amounts included in the image for each frame of the infrared imaging unit. The object specifying system according to claim 6, wherein the moving speed of the object specified by is calculated. 前記赤外線撮影手段が移動している場合、前記移動速度算出部は、前記赤外線撮影手段の移動速度に対する前記対象物の移動速度の相対速度を算出する
請求項6又は7に記載の対象物特定システム。
The object specifying system according to claim 6 or 7, wherein when the infrared imaging means is moving, the moving speed calculation unit calculates a relative speed of the moving speed of the object with respect to the moving speed of the infrared imaging means. .
前記赤外線撮影手段が移動していない場合、前記移動速度算出部は、前記対象物の移動速度の絶対速度を算出する
請求項6又は7に記載の対象物特定システム。
The object specifying system according to claim 6 or 7, wherein when the infrared imaging unit is not moving, the moving speed calculation unit calculates an absolute speed of the moving speed of the object.
前記赤外線放射体は、前記各領域からそれぞれ異なる放射量の赤外線が放射されるように発熱する
請求項1乃至9のいずれかに記載の対象物特定システム。
The object identifying system according to claim 1, wherein the infrared radiator generates heat so that infrared rays having different radiation amounts are emitted from the respective regions.
前記赤外線放射体は、前記各領域からそれぞれ異なる放射量の赤外線が放射されるように発光する
請求項1乃至9のいずれかに記載の対象物特定システム。
The object identifying system according to claim 1, wherein the infrared radiator emits light so that infrared rays having different radiation amounts are emitted from the regions.
前記赤外線放射体は、前記各領域からそれぞれ異なる放射量の赤外線が放射されるように赤外線を遮蔽する加工が成されている
請求項1乃至9のいずれかに記載の対象物特定システム。
The object identifying system according to any one of claims 1 to 9, wherein the infrared radiator is processed to shield infrared rays so that different amounts of infrared rays are emitted from the respective regions.
赤外線撮影手段と電気的に接続された対象物特定装置であって、
前記赤外線撮影手段が撮影した画像によって示される赤外線放射量の分布に、所定の異なる赤外線放射量の組合せの分布が含まれているか否かを判定する判定部と、
所定の異なる赤外線放射量の組合せの分布が含まれていると前記判定部が判定した場合に、当該赤外線放射量の組合せのように赤外線を放射する複数の領域を表面に有する赤外線放射体が設けられている対象物を特定する対象物特定部と
を備える対象物特定装置。
An object identification device electrically connected to an infrared imaging means,
A determination unit that determines whether or not a distribution of a combination of predetermined different infrared radiation amounts is included in the distribution of the infrared radiation amount indicated by the image captured by the infrared photographing unit;
When the determination unit determines that a distribution of combinations of predetermined different infrared radiation amounts is included, an infrared radiator having a plurality of regions that emit infrared rays on the surface is provided as in the combination of infrared radiation amounts. An object specifying device comprising: an object specifying unit that specifies an object being read.
赤外線撮影手段と電気的に接続された対象物特定装置を制御する制御方法であって、
前記赤外線撮影手段が撮影した画像によって示される赤外線放射量の分布に、所定の異なる赤外線放射量の組合せの分布が含まれているか否かを判定する判定段階と、
所定の異なる赤外線放射量の組合せの分布が含まれていると前記判定段階において判定された場合に、当該赤外線放射量の組合せのように赤外線を放射する複数の領域を表面に有する赤外線放射体が設けられている対象物を特定する対象物特定段階と
を備える制御方法。
A control method for controlling an object identification device electrically connected to an infrared imaging means,
A determination step of determining whether or not the distribution of the infrared radiation amount indicated by the image captured by the infrared imaging means includes a distribution of combinations of different predetermined infrared radiation amounts;
When it is determined in the determination step that a distribution of combinations of predetermined different infrared radiation amounts is included, an infrared radiator having a plurality of regions on the surface that emit infrared rays, such as the combination of infrared radiation amounts. A control method comprising: an object specifying step of specifying an object provided.
赤外線撮影手段と電気的に接続された対象物特定装置用のプログラムであって、前記対象物特定装置を、
前記赤外線撮影手段が撮影した画像によって示される赤外線放射量の分布に、所定の異なる赤外線放射量の組合せの分布が含まれているか否かを判定する判定部、
所定の異なる赤外線放射量の組合せの分布が含まれていると前記判定部が判定した場合に、当該赤外線放射量の組合せのように赤外線を放射する複数の領域を表面に有する赤外線放射体が設けられている対象物を特定する対象物特定部
として機能させるプログラム。
A program for an object identification device electrically connected to an infrared imaging means, the object identification device,
A determination unit for determining whether or not the distribution of the infrared radiation amount indicated by the image captured by the infrared photographing means includes a distribution of combinations of different predetermined infrared radiation amounts;
When the determination unit determines that a distribution of combinations of predetermined different infrared radiation amounts is included, an infrared radiator having a plurality of regions that emit infrared rays on the surface is provided as in the combination of infrared radiation amounts. A program that functions as an object specifying unit that specifies an object that is being processed.
JP2009260715A 2009-11-16 2009-11-16 Object identification system Expired - Fee Related JP5604854B2 (en)

Priority Applications (1)

Application Number Priority Date Filing Date Title
JP2009260715A JP5604854B2 (en) 2009-11-16 2009-11-16 Object identification system

Applications Claiming Priority (1)

Application Number Priority Date Filing Date Title
JP2009260715A JP5604854B2 (en) 2009-11-16 2009-11-16 Object identification system

Publications (2)

Publication Number Publication Date
JP2011106904A true JP2011106904A (en) 2011-06-02
JP5604854B2 JP5604854B2 (en) 2014-10-15

Family

ID=44230554

Family Applications (1)

Application Number Title Priority Date Filing Date
JP2009260715A Expired - Fee Related JP5604854B2 (en) 2009-11-16 2009-11-16 Object identification system

Country Status (1)

Country Link
JP (1) JP5604854B2 (en)

Cited By (1)

* Cited by examiner, † Cited by third party
Publication number Priority date Publication date Assignee Title
JP2013068615A (en) * 2011-09-20 2013-04-18 Guangzhou Sat Infrared Technology Co Ltd Control system and control method of infrared thermographic device

Citations (7)

* Cited by examiner, † Cited by third party
Publication number Priority date Publication date Assignee Title
JPS61155908A (en) * 1984-12-28 1986-07-15 Rhythm Watch Co Ltd Apparatus for measuring distance between cars
JPH07302400A (en) * 1994-05-10 1995-11-14 Ichikoh Ind Ltd Vehicle monitoring device
JP2788346B2 (en) * 1990-11-30 1998-08-20 株式会社東芝 Printed wiring board inspection equipment
JP2002099906A (en) * 2000-09-22 2002-04-05 Mazda Motor Corp Object-recognizing device
JP2007015525A (en) * 2005-07-07 2007-01-25 Denso Corp Output device for outputting signal for coping with danger approach between preceding vehicle and own vehicle based on front picture photographed by camera and program for the output device
JP2007024542A (en) * 2005-07-12 2007-02-01 Matsushita Electric Works Ltd Inspection method and inspection device
JP2009245385A (en) * 2008-03-31 2009-10-22 Nec Corp Vehicle verification device, vehicle verification method, and program

Patent Citations (7)

* Cited by examiner, † Cited by third party
Publication number Priority date Publication date Assignee Title
JPS61155908A (en) * 1984-12-28 1986-07-15 Rhythm Watch Co Ltd Apparatus for measuring distance between cars
JP2788346B2 (en) * 1990-11-30 1998-08-20 株式会社東芝 Printed wiring board inspection equipment
JPH07302400A (en) * 1994-05-10 1995-11-14 Ichikoh Ind Ltd Vehicle monitoring device
JP2002099906A (en) * 2000-09-22 2002-04-05 Mazda Motor Corp Object-recognizing device
JP2007015525A (en) * 2005-07-07 2007-01-25 Denso Corp Output device for outputting signal for coping with danger approach between preceding vehicle and own vehicle based on front picture photographed by camera and program for the output device
JP2007024542A (en) * 2005-07-12 2007-02-01 Matsushita Electric Works Ltd Inspection method and inspection device
JP2009245385A (en) * 2008-03-31 2009-10-22 Nec Corp Vehicle verification device, vehicle verification method, and program

Cited By (2)

* Cited by examiner, † Cited by third party
Publication number Priority date Publication date Assignee Title
JP2013068615A (en) * 2011-09-20 2013-04-18 Guangzhou Sat Infrared Technology Co Ltd Control system and control method of infrared thermographic device
US8903317B2 (en) 2011-09-20 2014-12-02 Guangzhou Sat Infrared Technology Co. Ltd. System and method for controlling an infrared camera using a mobile phone

Also Published As

Publication number Publication date
JP5604854B2 (en) 2014-10-15

Similar Documents

Publication Publication Date Title
US12310679B2 (en) High-speed optical tracking with compression and/or CMOS windowing
US9830491B2 (en) Method and system for embedding and retrieving information through marker transformation
CN102959355B (en) Point group data treating apparatus, point group data disposal system, point group data disposal route and point group data handling procedure
CN112005548B (en) Method of generating depth information and electronic device supporting the same
US8571274B2 (en) Person-judging device, method, and program
CN106993112A (en) Background virtualization method and device based on depth of field and electronic device
CN1934459A (en) Wireless location and identification system and method
CN104246793A (en) Three-dimensional face recognition for mobile devices
CN113744328A (en) Medical image mark point identification method and device, electronic equipment and storage medium
CN109165606B (en) Vehicle information acquisition method and device and storage medium
US9621747B2 (en) Information processing apparatus and imaging region sharing determination method
EP4250232A2 (en) Three-dimensional point group data generation method, position estimation method, three-dimensional point group data generation device, and position estimation device
CN115082520A (en) Positioning tracking method and device, terminal equipment and computer readable storage medium
US11331801B2 (en) System and method for probabilistic multi-robot positioning
CN110120099A (en) Localization method, device, recognition and tracking system and computer-readable medium
TWI744610B (en) Scene reconstructing system, scene reconstructing method and non-transitory computer-readable medium
WO2013104314A1 (en) System for determining three-dimensional position of transmission device relative to detecting device
CN109155055B (en) Region-of-interest image generating device
CN110119190A (en) Localization method, device, recognition and tracking system and computer-readable medium
CN110555879B (en) A spatial positioning method, its device, its system and computer-readable medium
CN105453418A (en) Method and apparatus for identifying locations of solar panels
CN109961501A (en) Method and apparatus for building a three-dimensional solid model
JP6387478B2 (en) Reading device, program, and unit
US20040001074A1 (en) Image display apparatus and method, transmitting apparatus and method, image display system, recording medium, and program
JP5604854B2 (en) Object identification system

Legal Events

Date Code Title Description
A621 Written request for application examination

Free format text: JAPANESE INTERMEDIATE CODE: A621

Effective date: 20121009

A977 Report on retrieval

Free format text: JAPANESE INTERMEDIATE CODE: A971007

Effective date: 20131028

A131 Notification of reasons for refusal

Free format text: JAPANESE INTERMEDIATE CODE: A131

Effective date: 20140121

A521 Request for written amendment filed

Free format text: JAPANESE INTERMEDIATE CODE: A523

Effective date: 20140320

A131 Notification of reasons for refusal

Free format text: JAPANESE INTERMEDIATE CODE: A131

Effective date: 20140415

A521 Request for written amendment filed

Free format text: JAPANESE INTERMEDIATE CODE: A523

Effective date: 20140616

TRDD Decision of grant or rejection written
A01 Written decision to grant a patent or to grant a registration (utility model)

Free format text: JAPANESE INTERMEDIATE CODE: A01

Effective date: 20140729

A61 First payment of annual fees (during grant procedure)

Free format text: JAPANESE INTERMEDIATE CODE: A61

Effective date: 20140811

R150 Certificate of patent or registration of utility model

Ref document number: 5604854

Country of ref document: JP

Free format text: JAPANESE INTERMEDIATE CODE: R150

LAPS Cancellation because of no payment of annual fees