JP2011054433A - Waterproof connector - Google Patents

Waterproof connector Download PDF

Info

Publication number
JP2011054433A
JP2011054433A JP2009202662A JP2009202662A JP2011054433A JP 2011054433 A JP2011054433 A JP 2011054433A JP 2009202662 A JP2009202662 A JP 2009202662A JP 2009202662 A JP2009202662 A JP 2009202662A JP 2011054433 A JP2011054433 A JP 2011054433A
Authority
JP
Japan
Prior art keywords
electric wire
wire
housing
electric
waterproof connector
Prior art date
Legal status (The legal status is an assumption and is not a legal conclusion. Google has not performed a legal analysis and makes no representation as to the accuracy of the status listed.)
Pending
Application number
JP2009202662A
Other languages
Japanese (ja)
Inventor
Kazuhiro Aso
和裕 麻生
Masakazu Takemoto
勝和 竹元
Current Assignee (The listed assignees may be inaccurate. Google has not performed a legal analysis and makes no representation or warranty as to the accuracy of the list.)
Sumitomo Wiring Systems Ltd
Original Assignee
Sumitomo Wiring Systems Ltd
Priority date (The priority date is an assumption and is not a legal conclusion. Google has not performed a legal analysis and makes no representation as to the accuracy of the date listed.)
Filing date
Publication date
Application filed by Sumitomo Wiring Systems Ltd filed Critical Sumitomo Wiring Systems Ltd
Priority to JP2009202662A priority Critical patent/JP2011054433A/en
Publication of JP2011054433A publication Critical patent/JP2011054433A/en
Pending legal-status Critical Current

Links

Images

Landscapes

  • Connector Housings Or Holding Contact Members (AREA)

Abstract

<P>PROBLEM TO BE SOLVED: To enhance waterproofing performance of a waterproof connector. <P>SOLUTION: A waterproof connector 10 includes a housing 20, in which an electric-wire lead-out part 25 for leading out an electric wire 30 is formed at the rear end; a rubber plug 40, fitted on the outer periphery of the electric wire 30 and elastically in contact with the inner wall of the electric-wire lead-out part 25; and an electric-wire holder 50, that is located and mounted behind the rubber plug 40 at the rear end, where the electric-wire lead-out part 25 is formed of the housing 20 so as to regulate the radial movement of the electric wire led out from the electric-wire lead-out part 25. <P>COPYRIGHT: (C)2011,JPO&amp;INPIT

Description

本発明は、防水コネクタに関する。   The present invention relates to a waterproof connector.

ゴム栓を用いて防水を行う防水コネクタが広く知られている。例えば、下記特許文献のものは、ハウジングの後端部に形成した収容凹部にゴム栓を収容させ、このゴム栓を、収容凹部の内壁と電線の外周の双方に密着させることにより、コネクタを防水している。   Waterproof connectors that perform waterproofing using rubber plugs are widely known. For example, in the following patent document, a connector is waterproofed by housing a rubber plug in a housing recess formed at the rear end of the housing, and bringing the rubber plug into close contact with both the inner wall of the housing recess and the outer periphery of the electric wire. is doing.

特開2003−77583号公報JP 2003-77583 A

ゴム栓の防水性能を高めるには、電線に対してゴム栓を周方向に均一に密着させることが好ましい。その一方、ハウジングから引き出された電線が何らからの拍子で径方向に引っ張られると、ゴム栓は引かれた方向に大きく変形する。そのため、電線に対するゴム栓の密着の仕方が周方向の各部位で不均一となり、シール性能を低下させる恐れがあった。   In order to improve the waterproof performance of the rubber plug, it is preferable that the rubber plug is uniformly adhered to the electric wire in the circumferential direction. On the other hand, when the electric wire drawn out from the housing is pulled in the radial direction with any beat, the rubber plug is greatly deformed in the drawn direction. For this reason, the method of tightly adhering the rubber plug to the electric wire becomes nonuniform in each portion in the circumferential direction, and the sealing performance may be deteriorated.

特に、近年では、銅電線に代わり、軽量化を目的にアルミ二ウム又はアルミニウム合金製の芯線を備えたアルミ線を使用する傾向にある。一般に、アルミ線は銅素線に比して柔軟性に欠け塑性変形し易い。そのため、そうしたアルミ線がひっぱれて変形すると、アルミ線に対するゴム栓の密着の仕方が不均一(場合によっては部分的に隙間が出来る)になり易く、対策が望まれていた。
本発明は上記のような事情に基づいて完成されたものであって、防水コネクタの防水性能を高めることを目的とする。
In particular, in recent years, there is a tendency to use an aluminum wire having a core wire made of aluminum or an aluminum alloy for the purpose of weight reduction in place of a copper electric wire. In general, aluminum wires lack flexibility and are easily plastically deformed compared to copper wires. For this reason, when such an aluminum wire is pulled and deformed, the rubber plug is intimately adhered to the aluminum wire (in some cases, a gap is partially formed), and a countermeasure has been desired.
The present invention has been completed based on the above circumstances, and an object thereof is to improve the waterproof performance of a waterproof connector.

本発明の防水コネクタは、電線を引き出す電線引出部を後端部に形成してなるハウジングと、前記電線の外周に嵌着され前記電線引出部の内壁に弾性的に接触するシール部材と、前記ハウジングのうち前記電線引出部が形成された後端部において前記シール部材の後方に位置して取り付けられて、前記電線引出部から引き出された電線の径方向への移動を規制する移動規制部材と、を備える。   The waterproof connector according to the present invention includes a housing in which a wire lead-out portion for pulling out a wire is formed at the rear end, a seal member that is fitted on the outer periphery of the wire and elastically contacts the inner wall of the wire lead-out portion, A movement restricting member that is attached to a rear end portion of the housing where the wire lead-out portion is formed and positioned behind the seal member and restricts movement of the electric wire drawn out from the wire lead-out portion in the radial direction; .

このようにしておけば、ハウジングから引き出された電線が径方向に引っ張られたとしても、電線の径方向への移動を移動規制部材が規制する。従って、電線のうち移動規制部材から先の部分には、電線を径方向に変位させるような力が作用せず、電線は真っ直ぐな直線形状を維持する。そのため、シール部材は何ら変形を起こさず、電線の外周に密着した状態を保つから、良好な防水性能を発揮することが可能となる。   If it does in this way, even if the electric wire pulled out from the housing is pulled by radial direction, a movement control member will control the movement to the radial direction of an electric wire. Therefore, a force that causes the electric wire to be displaced in the radial direction does not act on the portion of the electric wire that precedes the movement restricting member, and the electric wire maintains a straight linear shape. For this reason, the seal member does not deform at all, and maintains a state of being in close contact with the outer periphery of the electric wire, so that a good waterproof performance can be exhibited.

この発明の実施態様として、以下の構成とすることが好ましい。
・前記移動規制部材は、前記電線を挿通させる挿通孔を形成してなる基部と、前記挿通孔の孔壁に設けられ孔内を通る電線に当接する規制突起とを備える構成とする。
・前記規制突起を、前記挿通孔の孔壁において周方向に等間隔で複数個形成する。
As an embodiment of the present invention, the following configuration is preferable.
The movement restriction member includes a base formed with an insertion hole through which the electric wire is inserted, and a restriction protrusion provided on the hole wall of the insertion hole and abutting against the electric wire passing through the hole.
A plurality of the restriction protrusions are formed at equal intervals in the circumferential direction on the hole wall of the insertion hole.

このような構成としておけば、電線を挿通孔に通す時の抵抗を小さくすることが可能であり、また、電線が径方向のいずれの方向に引っ張られたとしても、それに伴う電線の移動を規制できる。   With such a configuration, it is possible to reduce the resistance when the electric wire is passed through the insertion hole, and even if the electric wire is pulled in any radial direction, the movement of the electric wire accompanying it is regulated. it can.

本発明によれば、防水コネクタの防水性能を高めることが出来る。   According to the present invention, the waterproof performance of the waterproof connector can be enhanced.

実施形態1における防水コネクタの分解斜視図The disassembled perspective view of the waterproof connector in Embodiment 1 防水コネクタの正面図Front view of waterproof connector 防水コネクタの平面図Top view of waterproof connector 電線ホルダに形成された挿通孔の形状を示す図The figure which shows the shape of the insertion hole formed in the electric wire holder 防水コネクタの水平断面図Horizontal cross section of waterproof connector 実施形態2における防水コネクタの水平断面図Horizontal sectional view of waterproof connector in embodiment 2 実施形態3における防水コネクタの分解斜視図The exploded perspective view of the waterproof connector in Embodiment 3 防水コネクタの水平断面図Horizontal cross section of waterproof connector

<実施形態1>
本発明の実施形態1を図1ないし図5を参照して説明する。
防水コネクタ10は、ハウジング20と、電線30と、ゴム栓(本発明の「シール部材」に相当)40と、電線ホルダ(本発明の「移動規制部材」に相当)50とを主体に構成されている。尚、以下の説明において、図2の左側(相手側コネクタに対する嵌合面側)を前側とし、図2の右側(電線の引き出し側)を後側として説明を行う。
<Embodiment 1>
A first embodiment of the present invention will be described with reference to FIGS.
The waterproof connector 10 is mainly composed of a housing 20, an electric wire 30, a rubber plug (corresponding to “seal member” of the present invention) 40, and an electric wire holder (corresponding to “movement restriction member” of the present invention) 50. ing. In the following description, the left side of FIG. 2 (the mating surface side with respect to the mating connector) will be referred to as the front side, and the right side of FIG.

ハウジング20は合成樹脂製であってブッロク型をなす。このハウジング20には前部側にキャビティ23が形成され、後端部に電線引出部25が形成されている。キャビティ23は電線30の先端部に装着された端子金具(図略)を収容する収容室として機能するものである。本実施形態では、キャビティ23をハウジング20の幅方向に2室形成してあり、ハウジング20に電線30が2本装着される構成となっている。   The housing 20 is made of synthetic resin and has a block shape. A cavity 23 is formed on the front side of the housing 20, and a wire lead-out portion 25 is formed on the rear end. The cavity 23 functions as a storage chamber for storing a terminal fitting (not shown) attached to the tip of the electric wire 30. In the present embodiment, two cavities 23 are formed in the width direction of the housing 20, and two electric wires 30 are attached to the housing 20.

電線引出部25は、ハウジング20の後端面21に凹設されている。係る電線引出部25は、各キャビティ23に連通しており、電線引出部25を通じて各電線30がハウジング後方に引き出される構成となっている。   The wire lead portion 25 is recessed in the rear end surface 21 of the housing 20. The electric wire drawing portion 25 communicates with each cavity 23 and is configured such that the electric wires 30 are drawn to the rear of the housing through the electric wire drawing portion 25.

電線30は、アルミニウムまたはアルミニウム合金製の素線を複数本を撚り合せた撚り線によって芯線が形成され、この芯線の回りが合成樹脂製の絶縁被覆で覆われた構造となっている。   The electric wire 30 has a structure in which a core wire is formed by a twisted wire obtained by twisting a plurality of strands made of aluminum or an aluminum alloy, and the periphery of the core wire is covered with an insulating coating made of synthetic resin.

ゴム栓40は、ハウジング20の幅方向に長い横長な板形状をしている。係るゴム栓40には挿通孔42が1対設けられている。挿通孔42はハウジング20に形成された各キャビティ23に対応しており、各電線30がそれぞれ挿通される構成となっている。これら挿通孔42の孔径は電線30の外径より若干狭い設定にしてあり、ゴム栓40が電線30に対して密着するようになっている。   The rubber plug 40 has a horizontally long plate shape that is long in the width direction of the housing 20. The rubber stopper 40 is provided with a pair of insertion holes 42. The insertion holes 42 correspond to the cavities 23 formed in the housing 20 and are configured to be inserted through the electric wires 30. The diameters of these insertion holes 42 are set to be slightly narrower than the outer diameter of the electric wire 30, and the rubber plug 40 is in close contact with the electric wire 30.

ゴム栓40は、電線引出部25に対して後方側から収容される構成となっている。ゴム栓40は電線引出部25に対して一回り大きな形状としてあり、電線引出部25に対してやや圧縮された状態で収容される構成となっている。以上のことから、ゴム栓40を電線引出部25に収容させると、ゴム栓40が電線引出部25の内壁と電線30の双方に隙間なく密着して、ハウジング20の後部をシールする構成となっている。   The rubber plug 40 is configured to be accommodated from the rear side with respect to the wire lead-out portion 25. The rubber plug 40 has a shape that is slightly larger than the wire lead-out portion 25 and is configured to be accommodated in a slightly compressed state with respect to the wire lead-out portion 25. From the above, when the rubber plug 40 is housed in the wire lead-out portion 25, the rubber plug 40 is in close contact with both the inner wall of the wire lead-out portion 25 and the wire 30 and seals the rear portion of the housing 20. ing.

尚、上記したゴム栓40は、厚みが電線引出部25の深さ以下に設定してあり、電線引出部25の内部に収まるようになっている。   The rubber plug 40 described above is set to have a thickness equal to or less than the depth of the wire lead-out portion 25 and can be accommodated inside the wire lead-out portion 25.

電線ホルダ50は合成樹脂製であって、ハウジング20の後端面21に相対する基部51と、基部51の外周に形成された側壁部61とを備えてなる。基部51はゴム栓40と同様にハウジング20の幅方向に長い横長な形状をしている。係る基部51には、挿通孔53が1対設けられている。   The electric wire holder 50 is made of synthetic resin, and includes a base portion 51 facing the rear end surface 21 of the housing 20 and a side wall portion 61 formed on the outer periphery of the base portion 51. Similar to the rubber plug 40, the base 51 has a horizontally long shape that is long in the width direction of the housing 20. The base 51 is provided with a pair of insertion holes 53.

挿通孔53はハウジング20に形成された各キャビティ23に対応しており、各電線30がそれぞれ挿通される構成となっている。そして、図4に示すように、挿通孔53には周方向に等間隔で規制突起55が複数個(この実施形態では90度間隔で、4個)形成されている。これら規制突起55は挿通孔53の孔壁から孔中心に向かって突出しており、孔内を通る電線30の外周面に当接する。このような設定とすることで、孔内を通る電線30の径方向(図4中にて矢印Aで示す方向)への移動を、規制突起55により規制することが出来る。   The insertion holes 53 correspond to the cavities 23 formed in the housing 20 and are configured such that the electric wires 30 are inserted therethrough. As shown in FIG. 4, a plurality of restricting protrusions 55 are formed in the insertion hole 53 at equal intervals in the circumferential direction (in this embodiment, four at 90 degree intervals). These restricting protrusions 55 protrude from the hole wall of the insertion hole 53 toward the hole center and come into contact with the outer peripheral surface of the electric wire 30 passing through the hole. With such a setting, the movement of the electric wire 30 passing through the hole in the radial direction (the direction indicated by the arrow A in FIG. 4) can be restricted by the restriction protrusion 55.

側壁部61はハウジング20の4つの外周壁に対応して4面形成されている。そして、図1に示すように、電線ホルダ50の側壁部61のうち、幅方向の両側に位置する両側壁部61には、それぞれロック片65が形成されている。ロック片65は、その上下両部に形成したスリット66により撓み可能とされたものであり、中央部にはロック孔65Aが形成されている。その一方、ハウジング20のうち、幅方向の両側の外周壁にはロック孔65Aに対応してロック突27がそれぞれ形成されている。   Four side walls 61 are formed corresponding to the four outer peripheral walls of the housing 20. And as shown in FIG. 1, the lock piece 65 is formed in the side wall part 61 located in the both sides of the width direction among the side wall parts 61 of the electric wire holder 50, respectively. The lock piece 65 can be bent by slits 66 formed at both upper and lower portions thereof, and a lock hole 65A is formed at the center. On the other hand, lock protrusions 27 are formed on the outer peripheral walls on both sides in the width direction of the housing 20 so as to correspond to the lock holes 65A.

上記電線ホルダ50はハウジング20に対して後方側から被せ付けられ、ハウジング20側のロック突27にホルダ50側のロック片65が係止することで、ハウジング20に対して固定される構成となっている。   The electric wire holder 50 is attached to the housing 20 from the rear side, and the lock piece 65 on the holder 50 side is locked to the lock protrusion 27 on the housing 20 side, so that the electric wire holder 50 is fixed to the housing 20. ing.

次に、上記防水コネクタ10の組み付け手順の一例を説明する。防水コネクタ10を組み付けるには、まず、電線ホルダ50とゴム栓40の各挿通孔53、43に電線30をそれぞれ通してやる。その後、電線30の先端に端子金具(図略)をかしめて固定する。そして、電線30の先端に端子金具を固定したら、あとは、電線30を後方からハウジング20に差し込み、電線30の先端に固定した各端子金具をハウジング20のキャビティに収容させる。   Next, an example of the assembly procedure of the waterproof connector 10 will be described. In order to assemble the waterproof connector 10, first, the electric wire 30 is passed through the insertion holes 53 and 43 of the electric wire holder 50 and the rubber plug 40, respectively. Thereafter, a terminal fitting (not shown) is caulked and fixed to the tip of the electric wire 30. Then, after fixing the terminal fitting to the tip of the electric wire 30, the electric wire 30 is inserted into the housing 20 from the rear, and each terminal fitting fixed to the tip of the electric wire 30 is accommodated in the cavity of the housing 20.

そして、上記した電線30の取り付け作業に続いて、ハウジング20の電線引出部25にゴム栓40を収容させ、その後、電線ホルダ50を、後方からハウジング20の後端部に被せて、電線ホルダ50の側壁部61に形成された各ロック片65を、ハウジング20のロック突27にそれぞれ係止させる。これにて、ハウジング20の後端部に電線ホルダ50が固定され、防水コネクタ10の組み付けが完了する。   Then, following the mounting operation of the electric wire 30 described above, the rubber plug 40 is accommodated in the electric wire drawing portion 25 of the housing 20, and then the electric wire holder 50 is put on the rear end portion of the housing 20 from the rear, and the electric wire holder 50. Each locking piece 65 formed on the side wall portion 61 is engaged with the locking protrusion 27 of the housing 20. Thus, the electric wire holder 50 is fixed to the rear end portion of the housing 20, and the assembly of the waterproof connector 10 is completed.

尚、ここで説明した組み付け手順はあくまで一例であり、例えば、ゴム栓40については、ハウジング20の電線引出部25に対して予め収容しておき、ゴム栓40の挿通孔43に、端子金具を取り付けた電線30を押し込みながら、電線30をハウジング20に組み付けるようにしてもよい。   Note that the assembly procedure described here is merely an example. For example, the rubber plug 40 is accommodated in advance with respect to the wire lead-out portion 25 of the housing 20, and a terminal fitting is inserted into the insertion hole 43 of the rubber plug 40. The electric wire 30 may be assembled to the housing 20 while pushing the attached electric wire 30.

次に、上記防水コネクタ10の作用説明を行う。このものは、ハウジング20の後端部に取り付けた電線ホルダ50によって、ハウジング20から引き出された電線30の径方向の移動を規制する構造となっている。そのため、電線30が、図5に示すように径方向(図中では下方向)に引っ張られても、電線ホルダ50から先の部分には電線を径方向に変位させるような力が作用せず、電線30は真っ直ぐな直線形状を維持する。そのため、ゴム栓40は、何ら変形を起こさず、電線30の外周に対して密着した状態を保つから、良好な防水性能を発揮することが可能となる。   Next, the operation of the waterproof connector 10 will be described. This has a structure in which the movement of the electric wire 30 drawn from the housing 20 in the radial direction is restricted by the electric wire holder 50 attached to the rear end portion of the housing 20. Therefore, even if the electric wire 30 is pulled in the radial direction (downward in the drawing) as shown in FIG. 5, a force that displaces the electric wire in the radial direction does not act on the portion beyond the electric wire holder 50. The electric wire 30 maintains a straight linear shape. Therefore, the rubber plug 40 is not deformed at all and is kept in close contact with the outer periphery of the electric wire 30, so that it is possible to exhibit good waterproof performance.

また、このものでは、電線ホルダ50の挿通孔53に形成した規制突起55の先端を、電線30に当接させることにより、電線30の径方向に対する移動を規制する構造をとっている。このようにしておけば、電線30に対する接触面積がそれほど大きくならないから、電線30を電線ホルダ50の挿通孔53に通す時の抵抗が小さくなり、電線ホルダ50に対して電線30をスムーズに組み付け出来る。   Moreover, in this thing, the structure which controls the movement with respect to the radial direction of the electric wire 30 is taken by making the front-end | tip of the control protrusion 55 formed in the insertion hole 53 of the electric wire holder 50 contact the electric wire 30. If it does in this way, since the contact area with respect to the electric wire 30 will not become so large, resistance when passing the electric wire 30 through the insertion hole 53 of the electric wire holder 50 will become small, and the electric wire 30 can be assembled | attached with respect to the electric wire holder 50 smoothly. .

尚、規制突起55は周方向に等間隔で形成されているから、電線30が径方向のいずれの方向に引っ張られたとしても、それに伴う電線30の移動規制できる。   In addition, since the control protrusion 55 is formed at equal intervals in the circumferential direction, even if the electric wire 30 is pulled in any direction in the radial direction, the movement of the electric wire 30 associated therewith can be restricted.

また、このものでは、電線ホルダ50をハウジング20に固定すると、基部51がハウジング20の電線引出部25を閉止する構成となっている。そのため、電線ホルダ50によって電線30の移動規制と共に、ゴム栓40の抜け止めを併せて行うことが出来る。   In this case, when the electric wire holder 50 is fixed to the housing 20, the base 51 closes the electric wire drawing portion 25 of the housing 20. For this reason, the wire stopper 50 can be used to restrict the movement of the wire 30 and prevent the rubber plug 40 from coming off.

<実施形態2>
本発明の実施形態2を図6を参照して説明する。実施形態2は、図6に示すように、電線ホルダを基部51だけの構成とし、基部51をハウジング20の電線引出部25に嵌合させている。このようにしても、抜け止めは必要となるものの、ハウジング20に基部51を固定することが出来るから、実施形態1と同様に基部51に形成した挿通孔53の規制突起55により、電線30の径方向への移動を規制することが可能である。
<Embodiment 2>
A second embodiment of the present invention will be described with reference to FIG. In the second embodiment, as illustrated in FIG. 6, the electric wire holder includes only the base portion 51, and the base portion 51 is fitted to the electric wire drawing portion 25 of the housing 20. Even in this case, the base 51 can be fixed to the housing 20 although it is necessary to prevent the cable 30 from being detached. Therefore, the restriction protrusion 55 of the insertion hole 53 formed in the base 51 is similar to that of the first embodiment. It is possible to restrict the movement in the radial direction.

尚、実施形態2において、電線ホルダを除く他の部品は、実施形態1と同一であるため、これら部品には実施形態1と同一符号を付して説明を省略するものとする。   In the second embodiment, since the other parts except the electric wire holder are the same as those in the first embodiment, these parts are denoted by the same reference numerals as those in the first embodiment and the description thereof is omitted.

<実施形態3>
本発明の実施形態3を図7、図8を参照して説明する。
実施形態1では、電線引出部25から2本の電線30を一括して引き出す構成とし、そこに収容したゴム栓40によって、2本の電線30を一括してシールする防水コネクタ10を例示した(いわゆる一括シールタイプの防水コネクタ)。
<Embodiment 3>
A third embodiment of the present invention will be described with reference to FIGS.
In the first exemplary embodiment, the waterproof connector 10 is illustrated in which the two electric wires 30 are pulled out from the electric wire drawing portion 25 in a lump, and the two electric wires 30 are collectively sealed by the rubber plug 40 accommodated therein ( A so-called batch seal type waterproof connector).

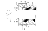
実施形態3では、防水コネクタを構成するハウジングの後部に、筒型の電線引出部70を各電線30に対応してそれぞれ構成している。そして、各電線引出部70の内部にゴム栓75をそれぞれ収容させて、各電線引出部70と各電線30との間を各ゴム栓75によって個別にシールする構造をとっている(いわゆる個別シールタイプの防水コネクタ)。尚、図7中では、防水コネクタを構成するハウジングのうち、電線引出部70のみを示してある。   In the third embodiment, a tubular wire lead-out portion 70 is formed corresponding to each wire 30 at the rear portion of the housing constituting the waterproof connector. And each rubber | gum plug 75 is accommodated in the inside of each electric wire extraction part 70, respectively, and it has the structure which seals between each electric wire extraction part 70 and each electric wire 30 by each rubber | gum plug 75 (what is called individual seal | sticker). Type waterproof connector). In FIG. 7, only the wire lead-out portion 70 is shown in the housing constituting the waterproof connector.

そして、このものでは、各電線引出部70に対応して電線ホルダ80を個別に取り付けて、各電線30の移動規制を各電線ホルダ80により個別に行う構成としている。   And in this thing, it is set as the structure which attaches the electric wire holder 80 corresponding to each electric wire drawer | drawing-out part 70 separately, and controls the movement of each electric wire 30 by each electric wire holder 80 separately.

電線ホルダ80は実施形態1で例示した電線ホルダ50と基本的な構成は同じであり、電線30を挿通させる挿通孔83を形成した基部81を備える。係る基部81は6角形をしており、その上下両縁部に側壁部91が一対形成されている。   The electric wire holder 80 has the same basic configuration as the electric wire holder 50 illustrated in the first embodiment, and includes a base portion 81 in which an insertion hole 83 through which the electric wire 30 is inserted is formed. The base 81 has a hexagonal shape, and a pair of side wall portions 91 are formed on both upper and lower edges.

各側壁部91にはロック孔91Aがそれぞれ形成されており、これを電線引出部70の外周後端寄りの位置に形成したロック突77に係止させることで、電線引出部70の後端に電線ホルダ50を固定できる構成となっている。   Each side wall portion 91 is formed with a lock hole 91 </ b> A, and is locked to a lock protrusion 77 formed at a position near the outer peripheral rear end of the wire lead-out portion 70. The electric wire holder 50 can be fixed.

そして、挿通孔83には周方向に等間隔で規制突起85が複数個(この実施形態では4個)形成されている。これら規制突起85は挿通孔83の孔壁から孔中心に向かって突出しており、孔内を通る電線30の外周面に当接する。このような設定とすることで、孔内を通る電線30の径方向への移動を、規制突起85により規制することが出来る。   A plurality (four in this embodiment) of restricting projections 85 are formed in the insertion hole 83 at equal intervals in the circumferential direction. These restricting projections 85 protrude from the hole wall of the insertion hole 83 toward the hole center, and come into contact with the outer peripheral surface of the electric wire 30 passing through the hole. With such a setting, the movement of the electric wire 30 passing through the hole in the radial direction can be restricted by the restriction protrusion 85.

尚、この実施形態では、規制突起85が電線30を押さえる位置Pからゴム栓75の後端を一定距離Dだけ離している。言い換えれば、そうした設定になるように、電線引出部70の長さをある程度長めに設定してある。このような設定としておけば、距離が離れている分、ゴム栓75は電線30の変形の影響を受け難くなるので、防水性能が一層高まる。   In this embodiment, the rear end of the rubber plug 75 is separated from the position P where the restricting protrusion 85 presses the electric wire 30 by a certain distance D. In other words, the length of the wire lead-out portion 70 is set to be somewhat longer so as to achieve such a setting. With such a setting, the rubber plug 75 is less susceptible to the deformation of the electric wire 30 as the distance increases, so that the waterproof performance is further enhanced.

<他の実施形態>
本発明は上記記述及び図面によって説明した実施形態に限定されるものではなく、例えば次のような実施形態も本発明の技術的範囲に含まれる。
<Other embodiments>
The present invention is not limited to the embodiments described with reference to the above description and drawings. For example, the following embodiments are also included in the technical scope of the present invention.

(1)上記実施形態1では、基部51の挿通孔53に形成した規制突起55を、孔内を通る電線30に当接させることに、電線の移動規制を行った。この発明は、電線30の径方向に対する移動を規制できればよく、例えば、挿通孔53の大きさを電線30と同じ径、又は電線30より少しだけ狭い径にして、電線30の外周に挿通孔53の孔壁そのものを接触させることで、電線の移動を規制する構成としても、無論よい。   (1) In the first embodiment, the movement of the electric wire is restricted by bringing the restriction protrusion 55 formed in the insertion hole 53 of the base portion 51 into contact with the electric wire 30 passing through the hole. The present invention only needs to be able to restrict the movement of the electric wire 30 in the radial direction. For example, the insertion hole 53 has the same diameter as the electric wire 30 or a slightly narrower diameter than the electric wire 30, and is inserted into the outer periphery of the electric wire 30. Of course, it is also good as a configuration for restricting the movement of the electric wire by contacting the hole wall itself.

(2)上記実施形態2では、基部(電線ホルダ)51とゴム栓40を別部品とした例を示したが、これら基部51とゴム栓40を2色成形により一体化することも可能である。   (2) In the second embodiment, the base part (electric wire holder) 51 and the rubber plug 40 are shown as separate parts. However, the base part 51 and the rubber plug 40 can be integrated by two-color molding. .

10…防水コネクタ
20…ハウジング
25…電線引出部
30…電線
40…ゴム栓(本発明の「シール部材」に相当)
50…電線ホルダ(本発明の「移動規制部材」に相当)
53…挿通孔
55…規制突起
DESCRIPTION OF SYMBOLS 10 ... Waterproof connector 20 ... Housing 25 ... Electric wire extraction part 30 ... Electric wire 40 ... Rubber plug (equivalent to the "seal member" of this invention)
50 ... Electric wire holder (corresponding to "movement restricting member" of the present invention)
53 ... Insertion hole 55 ... Restriction protrusion

Claims (3)

電線を引き出す電線引出部を、後端部に形成してなるハウジングと、
前記電線の外周に嵌着され前記電線引出部の内壁に弾性的に接触するシール部材と、
前記ハウジングのうち前記電線引出部が形成された後端部において前記シール部材の後方に位置して取り付けられて、前記電線引出部から引き出された電線の径方向への移動を規制する移動規制部材と、を備えた防水コネクタ。
A housing in which a wire lead-out portion for drawing out the wire is formed at the rear end;
A seal member that is fitted to the outer periphery of the electric wire and elastically contacts the inner wall of the electric wire lead portion;
A movement restricting member that is attached to the rear end of the housing where the wire lead-out portion is formed and is positioned behind the seal member and restricts the movement of the wire drawn from the wire lead-out portion in the radial direction. And waterproof connector with.
前記移動規制部材は、
前記電線を挿通させる挿通孔を形成してなる基部と、
前記挿通孔の孔壁に設けられ、孔内を通る電線に当接する規制突起とを備えることを特徴とする請求項1に記載の防水コネクタ
The movement restricting member is
A base formed with an insertion hole through which the electric wire is inserted;
The waterproof connector according to claim 1, further comprising a restriction protrusion provided on a hole wall of the insertion hole and abutting against an electric wire passing through the hole.
前記規制突起は、前記挿通孔の孔壁において周方向に等間隔で複数個形成されていることを特徴とする請求項2に記載の防水コネクタ。   The waterproof connector according to claim 2, wherein a plurality of the restriction protrusions are formed at equal intervals in the circumferential direction on the hole wall of the insertion hole.
JP2009202662A 2009-09-02 2009-09-02 Waterproof connector Pending JP2011054433A (en)

Priority Applications (1)

Application Number Priority Date Filing Date Title
JP2009202662A JP2011054433A (en) 2009-09-02 2009-09-02 Waterproof connector

Applications Claiming Priority (1)

Application Number Priority Date Filing Date Title
JP2009202662A JP2011054433A (en) 2009-09-02 2009-09-02 Waterproof connector

Publications (1)

Publication Number Publication Date
JP2011054433A true JP2011054433A (en) 2011-03-17

Family

ID=43943221

Family Applications (1)

Application Number Title Priority Date Filing Date
JP2009202662A Pending JP2011054433A (en) 2009-09-02 2009-09-02 Waterproof connector

Country Status (1)

Country Link
JP (1) JP2011054433A (en)

Cited By (6)

* Cited by examiner, † Cited by third party
Publication number Priority date Publication date Assignee Title
JP2015041535A (en) * 2013-08-22 2015-03-02 矢崎総業株式会社 Waterproof connector
CN104795673A (en) * 2015-04-28 2015-07-22 余姚市惠美电器有限公司 Electric vehicle charging connector assembly
JP2018006302A (en) * 2016-07-08 2018-01-11 矢崎総業株式会社 Connector
JP2020161239A (en) * 2019-03-25 2020-10-01 日本圧着端子製造株式会社 Retainer and electrical connector
JP2022045095A (en) * 2020-09-08 2022-03-18 矢崎総業株式会社 Connector housing and wire harness
JP2022045094A (en) * 2020-09-08 2022-03-18 矢崎総業株式会社 Connector housing and wire harness

Citations (3)

* Cited by examiner, † Cited by third party
Publication number Priority date Publication date Assignee Title
JP2006252888A (en) * 2005-03-09 2006-09-21 Sumitomo Wiring Syst Ltd Connector and protection plug
JP2007287464A (en) * 2006-04-17 2007-11-01 Auto Network Gijutsu Kenkyusho:Kk Electric wire holding structure and electric wire holder
JP2009146768A (en) * 2007-12-14 2009-07-02 Sumitomo Wiring Syst Ltd Wire holder

Patent Citations (3)

* Cited by examiner, † Cited by third party
Publication number Priority date Publication date Assignee Title
JP2006252888A (en) * 2005-03-09 2006-09-21 Sumitomo Wiring Syst Ltd Connector and protection plug
JP2007287464A (en) * 2006-04-17 2007-11-01 Auto Network Gijutsu Kenkyusho:Kk Electric wire holding structure and electric wire holder
JP2009146768A (en) * 2007-12-14 2009-07-02 Sumitomo Wiring Syst Ltd Wire holder

Cited By (6)

* Cited by examiner, † Cited by third party
Publication number Priority date Publication date Assignee Title
JP2015041535A (en) * 2013-08-22 2015-03-02 矢崎総業株式会社 Waterproof connector
CN104795673A (en) * 2015-04-28 2015-07-22 余姚市惠美电器有限公司 Electric vehicle charging connector assembly
JP2018006302A (en) * 2016-07-08 2018-01-11 矢崎総業株式会社 Connector
JP2020161239A (en) * 2019-03-25 2020-10-01 日本圧着端子製造株式会社 Retainer and electrical connector
JP2022045095A (en) * 2020-09-08 2022-03-18 矢崎総業株式会社 Connector housing and wire harness
JP2022045094A (en) * 2020-09-08 2022-03-18 矢崎総業株式会社 Connector housing and wire harness

Similar Documents

Publication Publication Date Title
EP2369689B1 (en) Electrical connector
JP5394821B2 (en) Waterproof plug and connector having the waterproof plug
US20150144396A1 (en) Connector
JP2012199051A (en) Shield connector
JP2014017119A (en) Waterproof connector and wire seal
JP2010073664A (en) Waterproof connector and rubber stopper
CN109768419B (en) Connector with a locking member
JP2011054433A (en) Waterproof connector
CN104009322A (en) Waterproof connector
JP2010205656A (en) Waterproof plug, and wire harness having the same
WO2014038543A1 (en) Connector
US10333246B2 (en) Waterproof structure of connector
JP5170013B2 (en) Shield connector
JP2015090843A (en) Water cutoff structure for connector
JP2014229376A (en) Shield connector
WO2014192517A1 (en) Waterproof connector
JP2015204260A (en) Rubber stopper fixing structure
JP5879956B2 (en) Connector and wire harness
JP6195137B1 (en) connector
JP2012038451A (en) Terminal structure of electric wire
JP2016119186A (en) Waterproof connector rubber plug and waterproof connector
JP2012069375A (en) Waterproof connector
JP5863181B2 (en) connector
JP5440429B2 (en) Attaching the rubber cap to the terminal fitting
JP2009110685A (en) Watertight connector

Legal Events

Date Code Title Description
A621 Written request for application examination

Free format text: JAPANESE INTERMEDIATE CODE: A621

Effective date: 20111222

A131 Notification of reasons for refusal

Free format text: JAPANESE INTERMEDIATE CODE: A131

Effective date: 20130226

A977 Report on retrieval

Free format text: JAPANESE INTERMEDIATE CODE: A971007

Effective date: 20130228

A521 Written amendment

Free format text: JAPANESE INTERMEDIATE CODE: A523

Effective date: 20130410

A02 Decision of refusal

Free format text: JAPANESE INTERMEDIATE CODE: A02

Effective date: 20130507