JP2010065508A - 凍結防止ヒーターおよびその凍結防止システム - Google Patents

凍結防止ヒーターおよびその凍結防止システム Download PDF

Info

Publication number
JP2010065508A
JP2010065508A JP2008235478A JP2008235478A JP2010065508A JP 2010065508 A JP2010065508 A JP 2010065508A JP 2008235478 A JP2008235478 A JP 2008235478A JP 2008235478 A JP2008235478 A JP 2008235478A JP 2010065508 A JP2010065508 A JP 2010065508A
Authority
JP
Japan
Prior art keywords
heater
temperature
pipe
temperature sensor
freezing
Prior art date
Legal status (The legal status is an assumption and is not a legal conclusion. Google has not performed a legal analysis and makes no representation as to the accuracy of the status listed.)
Granted
Application number
JP2008235478A
Other languages
English (en)
Other versions
JP5313597B2 (ja
Inventor
Yasuhiko Ito
恭彦 伊藤
Hiroki Maruyama
広貴 丸山
Masaru Harada
優 原田
Munehiro Shimosato
宗弘 下里
Current Assignee (The listed assignees may be inaccurate. Google has not performed a legal analysis and makes no representation or warranty as to the accuracy of the list.)
Sansei Denki KK
Original Assignee
Sansei Denki KK
Priority date (The priority date is an assumption and is not a legal conclusion. Google has not performed a legal analysis and makes no representation as to the accuracy of the date listed.)
Filing date
Publication date
Application filed by Sansei Denki KK filed Critical Sansei Denki KK
Priority to JP2008235478A priority Critical patent/JP5313597B2/ja
Publication of JP2010065508A publication Critical patent/JP2010065508A/ja
Application granted granted Critical
Publication of JP5313597B2 publication Critical patent/JP5313597B2/ja
Expired - Fee Related legal-status Critical Current
Anticipated expiration legal-status Critical

Links

Images

Landscapes

  • Pipe Accessories (AREA)

Abstract

【課題】ヒーターガイド管付きの配管システムに適した凍結防止ヒーターを提供する。
【解決手段】給水用および/または給湯用の配管に沿って設けられるヒーターガイド管15に挿入されるヒーター線を含むヒーターケーブル30と、ヒーター線に電力を供給する電力供給線40と、ヒーター線とともにヒーターガイド管15に挿入される管内温度センサーを含むセンサー部70と、電力供給線40を介してヒーター線に供給される電力をオンオフするためのスイッチング素子およびスイッチング素子を管内温度センサーの検出温度に基づき制御するための制御ユニットとを少なくとも内蔵したコントロールボックス60とを有する凍結防止ヒーター20を提供する。
【選択図】図4

Description

本発明は、給水用および/または給湯用の配管の凍結防止システムおよび凍結防止ヒーターに関するものである。
特許文献1には、導電性付与剤のカーボンブラックが分散されている樹脂組成物中に互いに近接して2以上の電極が埋設された自己温度制御型ヒーターにおいて、カーボンブラックとして、その平均粒径が40〜70μmでDBP吸収量が60〜160cc/100gである中粒径のカーボンブラックと、その平均粒径が70μm超である大粒径のカーボンブラックとを用い、かつ、中粒径のカーボンブラックに対する大粒径のカーボンブラックの混合比を20〜50質量%とし、さらに、これら両カーボンブラックを、ベースの樹脂組成物100質量部に対して15〜30質量部添加して、外部の熱変動に対する出力安定性を向上させた自己温度制御型ヒーターを提供することが記載されている。PTC特性を有する自己温度制御型ヒーターは、本体温度が上がると電気抵抗が大きくなり通電電流値が自動的に減少するので、水道凍結防止用のヒーターなどに用いられている。
特許文献2には、冬季における寒冷地でのポリブテン管の凍結防止と、万一、ポリブテン管が凍結により破損した場合、交換修理が簡単にできる保温管に関する技術が開示されている。そのため、ポリエチレン樹脂材などにより全体を蛇腹状の凹凸部を設けた可撓性を有するさや管の内部に、合成樹脂材、特にポリブテン系樹脂材により形成した流水管を挿通し、さや管の外側に、流水管の凍結を防止するために自己制御型ヒーター線を挿通した合成樹脂材により形成したヒーター管を位置させ、該ヒーター管と、さや管との外周面に、ポリウレタンなどの発泡樹脂材により形成した断熱管を被覆して形成することが開示されている。
特開2008−123764号公報 実用新案登録第3084455号公報
さや管の内部に流水管を通し、さや管の外側に流水管の凍結を防止するために自己制御型ヒーター線を通した合成樹脂材により形成したヒーター管を位置させ、該ヒーター管と、さや管との外周を断熱管により被覆するシステムは、水道の凍結が予想される地域の水道管の凍結防止システムとして採用されつつある。しかしながら、PTC特性を有する自己温度制御型ヒーターは、経時的にヒーター出力が変動しやすい。これは、配管と共にヒーター自体が、外部からの熱変動下に晒されて、熱履歴を受けると、樹脂組成物中のカーボンブラック粒子が凝集して、その抵抗特性の変動によるものであると考えられている。また、一般に、PTC特性を有する自己温度制御型ヒーターは、温度変化に対し十分な感度の抵抗値を得るためにヒーターが太くなりやすく柔軟性もそれほど高くない。
このため、上記のような凍結防止システムのヒーター管に挿入して使用するのに適した凍結防止ヒーターが要望されている。
本発明の一態様は、給水用および/または給湯用の配管に沿って設けられるヒーターガイド管に挿入されるヒーター線と、ヒーター線に電力を供給する電力供給線と、ヒーター線とともにヒーターガイド管に挿入される管内温度センサーと、電力供給線を介してヒーター線に供給される電力をオンオフするためのスイッチング素子およびスイッチング素子を管内温度センサーの検出温度に基づき制御するための制御ユニットとを少なくとも内蔵したコントロールボックスとを有する凍結防止ヒーターである。
この凍結防止ヒーターは、給水用および/または給湯用の配管に沿って設置されたヒーターガイド管にヒーター線とともに挿入され、ヒーターガイド管内の温度を検知する管内温度センサーと、管内温度センサーの検出温度によりスイッチング素子をオンオフできる制御ユニットとを有する。このため、自己制御型ヒーター線を用いずに、ヒーター線とともにヒーターガイド管内に挿入された温度センサーの検出温度により、ヒーターガイド管内に挿入されたヒーター線の出力を制御できる。したがって、ヒーター線にはPTC特性を実現するための樹脂層が不要なヒーター線、たとえば、ニクロム線、その他のニッケルメッキ銅線、ニッケルメッキ銅撚線を適当な被覆材で覆った比較的細いヒーター線であって、柔軟性および耐久性が十分に高いヒーター線を採用できる。また、PTC特性を実現するための樹脂層が不要な細いヒーター線を採用できるので、ヒーター線とともに管内に温度センサーを挿入するためのスペースを確保できる。
このため、給水用および/または給湯用の配管に沿って設けられるヒーターガイド管にいっそう挿入しやすく、耐久性があり、さらに、ヒーターガイド管内の温度により制御することができる凍結防止ヒーターを提供できる。したがって、ヒーターガイド管を有する凍結防止システムに好適な凍結防止ヒーターを提供できる。
この凍結防止ヒーターは、さらに、外気温を検出するための外気温度センサーを有することが望ましい。さらに、制御ユニットは、外気温度センサーの検出温度が第1の温度以下かつ管内温度センサーの検出温度が第2の温度以下のときにスイッチング素子をオンし、外気温度センサーの検出温度が第3の温度以上または管内温度センサーの検出温度が第4の温度以上のときにスイッチング素子をオフする機能を含むことが望ましい。第1から第4の温度は予め設定された温度である。第3の温度は、第1の温度以上の所定の温度であり、第1の温度と同じであってもよい。第1の温度および第3の温度は、配管内の水の凍結が予想される温度の付近、たとえば、0〜数℃の範囲であることが好ましい。第4の温度は、第2の温度以上の所定の温度であり、第2の温度と同じ温度であってもよい。第2の温度および第4の温度は、配管内の水の凍結が予想されず、また、配管およびヒーターガイド管を含むシステムに運用上の支障が発生しない範囲であることが望ましく、たとえば、10〜60℃の範囲であり、20〜50℃の範囲であることがさらに好ましい。
この機能を含む制御ユニットを設けることにより、この凍結防止ヒーターは、配管内の水の凍結が予想されるときはオンになり凍結を防止でき、配管内の水の凍結が予想されないときはオフになり配管およびヒーターガイド管を含むシステムに運用上の支障、たとえば、水の代わりに熱湯がでたり、配管などが熱により損傷したりすることを未然に防止できる。また、外気温が第1の温度以下またはその近傍の温度以下にならないとオンにならないので、凍結防止のために消費される電力を低減でき、省電力用の温度コントロールを新たに設ける必要はない。
コントロールボックスは、電力供給線に接続されたインライン型のボックスであり、外気温度センサーはコントロールボックスに内蔵されていることが好ましい。コントロールボックスが電力供給線とインラインに接続され、凍結防止ヒーターに一体化されるので、コンパクトで使いやすい凍結防止ヒーターを提供できる。
コントロールボックスは電力供給線を挟み込むように組み合わされる第1のシェルと第2のシェルとを備え、第1のシェルにスイッチング素子および制御ユニットが収納され、第2のシェルに外気温度センサーが収納されていることが望ましい。コンパクトなボックスであっても、発熱体となるスイッチング素子および制御ユニットと、外気温度センサーとの距離を確保できるので、外気温度をいっそう精度良く検出できる。
第2のシェルは、第1および第2の突部と、第1および第2の突部の間に挟まれた第3の突部とを備え、第3の突部に外気温度センサーが収納されていることが望ましい。2つの突部に挟まれた第3の突部はコントロールボックスが地面に直に置かれる状況でも地面に埋もれる可能性が小さく、さらに、第3の突部の周囲に外気が流れるスペースを確保しやすい。したがって、外気温度をいっそう精度よく検出できる。
また、この凍結防止ヒーターは、管内温度センサーと制御ユニットとを接続するための管内センサー線であって、ヒーター線とともに被覆された管内センサー線を有していることが望ましい。管内温度センサーと制御ユニットとを接続する管内センサー線がヒーター線と並べて一体に被覆されるので、ヒーターガイド管にヒーター線および管内温度センサーを挿入する作業が容易になる。また、ヒーター線の所定の位置に管内温度センサーを予め固定することにより、ヒーター線をヒーターガイド管に挿入するだけで、管内温度センサーの位置を制御できる。
本発明の異なる態様の一つは、上述の複数の凍結防止ヒーターと、複数の給水用および/または給湯用の配管のそれぞれに沿って設けられた複数のヒーターガイド管とを有する凍結防止システムであって、複数のヒーターガイド管のそれぞれに、複数の凍結防止ヒーターのヒーター線および管内温度センサーがそれぞれ挿入されている凍結防止システムである。自己制御型ヒーター線の代わりに、PTC特性を実現するための樹脂層が不要なヒーター線、たとえば、ニクロム線などの抵抗加熱用のヒーター線を備えた凍結防止ヒーターを使用できるので、低コストで施工できる凍結防止システムを提供できる。
以下、図面を参照して、本発明の一実施形態について説明する。図1には、本発明の実施形態の凍結防止システム50を備えた建屋1の概要を示している。この建屋1は、布基礎2の上に構築されており、1階の床3の下の床下4は、布基礎2により囲われている。床下4には、ヘッダー工法を用いて配管システム5が設置されている。配管システム5は、水道配管6と、その水道配管6に接続された給水用のヘッダ9と、ボイラ7からの給湯配管8と、その給湯配管8に接続された給湯用のヘッダ10とを含む。
配管システム5は、さらに、給水用のヘッダ9から、消費側の機器11a〜11eのそれぞれに対し、配管(配設)された給水用の保温材付き管12a〜12eを含む。また、配管システム5は、給湯用のヘッダ10から、消費側の機器11a、11dおよび11eのそれぞれに対し配管(配設)された給湯用の保温材付き管13a〜13cを含む。
本例では、消費側の機器11aはシンクの蛇口であり、機器11bは洗濯機用の蛇口であり、機器11cはトイレであり、機器11dは洗面所の蛇口であり、機器11eは風呂用の蛇口である。消費側の機器はこれらに限定されるものではない。
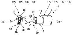
図2に、給水用の保温材付き管12a〜12eおよび給湯用の保温材付き管13a〜13cの構成を断面図(図2(a))および一部を欠いた状態(図2(b))により示している。これらの保温材付き管は同じ構成であり、以下では、保温材付き管12aを代表して説明する。保温材付き管12aは、ポリエチレン樹脂材などにより全体を蛇腹状の凹凸部を設けた可撓性を有する流水ガイド管14およびヒーターガイド管15を有し、これらのガイド管14および15が並列になった状態で、ポリウレタンなどの発泡樹脂材などにより形成された断熱管16により一体で被覆されている。流水ガイド管14には、合成樹脂材、典型的にはポリブテン系樹脂製の流水管17が挿入され、給水用および/または給湯用の配管として用いられる。ヒーターガイド管15には、流水管17の凍結を防止するために凍結防止ヒーター20のヒーターケーブル30が挿入される。したがって、このタイプの保温材付き管12aを採用した配管システム5においては、ヒーターガイド管15にヒーターケーブル30を挿入することにより、給水用および/または給湯用の配管17に沿って凍結防止ヒーター20のヒーターケーブル30が敷設され、配管17の内部において水が凍結するのを防止できる。
図3に、凍結防止ヒーター20の概略構成を示している。また、図4に、凍結防止ヒーター20が設置された一例を示している。この凍結防止ヒーター20は、電源供給用のコンセント49に差し込まれるプラグ21と、プラグ21に接続された電源ケーブル22と、電源ケーブル22に接続されたコントロールボックス60と、コントロールボックス60に接続された電力供給用ケーブル(電力供給線)40と、電力供給線40と接続部23を介して接続されたヒーターケーブル30とを備えている。ヒーターケーブル30の途中には温度センサー部70が設けられており、ヒーターケーブル30の先端は端末部39となっている。ヒーターケーブル30は、保温材付き管12aのヒーターガイド管15に挿入される。
図5に、ヒーターケーブル30の構造を、断面を用いて示している。ヒーターケーブル30は、ニクロム線31が絶縁材(絶縁被覆)32により覆われた2本のヒーター線33と、銅線34が絶縁材35により覆われた2本のリード線(センサー線)36とを有し、それら2本のヒーター線33および2本のリード線36が外装絶縁被覆(外装被覆)37により一体で被覆され、一本のヒーターケーブル30を成すように束ねられている。内側の絶縁被覆32、35および外側の絶縁被覆37には、PVDF、ETFEなどのフッ素樹脂が採用されており、このヒーターケーブル30は、150℃程度の耐熱性を有している。ヒーター線33は、1m当たり5−10W程度(電圧AC100V)の出力、典型的には7W程度に設定されており、その程度の出力に適したものが選択される。したがって、抵抗加熱を行う手段としては、ニクロム線31に代わり、ニッケルメッキ銅線、ニッケルメッキ銅撚線、その他、銅合金などを採用してもよい。2本のヒーター線33および2本のリード線36は、端末部39においてそれぞれ接続(端末処理)され、モールド樹脂(たとえば、ポリプロピレン樹脂)により覆われている。
図6には、ヒーターケーブル30の途中に設けられた温度センサー部70の構成を透かして示している。温度センサー部70はサーミスタ71を含む。このサーミスタ71は、ヒーターケーブル30に含まれる2本のリード線36のうちの外装被覆37を一部取り除いて露出された1本のリード線36に接続されている。このため、コントロールボックス60の内部の制御ユニットは、リード線(センサー線)36を介してサーミスタ71の抵抗値または抵抗値の変化を検出でき、サーミスタ71の設置された環境の温度を検出できる。ケーブル30の外装被覆37の剥がされた部分は、サーミスタ71を含めてモールド樹脂(たとえば、ポリプロピレン樹脂)72により細長く、ケーブル30に対して若干太い程度に成型されている。サーモスタットのように温度により電源をオンオフする機能を持たず、温度を検出する機能を備えたサーミスタ71はコンパクトである。このため、この凍結防止ヒーター20においては、ヒーターケーブル30の直径が約4.5mmであるのに対し、温度センサー部70の直径が約7.5mmに収まっており、温度センサー部70を簡単にヒーターガイド管15に挿入することができる。
温度センサー部70において、ヒーターケーブル30のリード線36の一方にサーミスタ71が接続され、リード線36が温度センサー(サーミスタ)71の信号をコントロールボックス60に伝達するためのセンサー線として使用される。ヒーターケーブル30のヒーター線33は温度センサー部70で切断などされることなく、ヒーターケーブル30の全長にわたり、発熱帯として機能する。なお、2本のリード線を用いてサーミスタをセンサーとして接続してもよい。ヒーター線33の一方と、リード線36の一方との間にサーミスタ71を接続することにより、ヒーターケーブル30の3線を用いて、温度センサー部70を備えたヒーターケーブル30を形成することも可能である。
このヒーターケーブル30は、途中にサーミスタ71を含む温度センサー部70を備えている。このため、ヒーターケーブル30をヒーターガイド管15に挿入すると、ヒーター線33とともにセンサー部70がヒーターガイド管15に挿入される。したがって、ヒーターケーブル30をヒーターガイド管15に挿入し、給水または給湯用の流水管17に沿ってヒーター線33を設置するだけで、図4に示すように、サーミスタ71をヒーターガイド管15の途中の、管内温度を測定するのに適した位置へ装着できる。
図7に、ヒーターケーブル30とコントロールボックス60とを接続する電力供給線40の構成を断面図により示している。電力供給線40は、4線式の電源コードであり、銅線などの電力線41が絶縁被覆材42により覆われた4つの導線43が、外側被覆材44により覆われて一体に束ねられている。これら4本の導線43のうち、2本がヒーターケーブル30のヒーター線33に電力を供給するために用いられ、2本がヒーターケーブル30のセンサー線36からサーミスタ71の信号をコントロールボックス60に収納された制御ユニットへ供給するために用いられる。典型的な電力供給線40はVCTFタイプであり、絶縁被覆材42および44としてビニル樹脂が用いられる。電力供給線40とヒーターケーブル30との接続部23は、ポリプロピン樹脂によりモールドされている。
図8に、コントロールボックス60の構成を展開して示している。この凍結防止ヒーター20のコントロールボックス60は、電力供給線40に接続され、電力供給線40と電源ケーブル22とを接続するように設けられたインラインタイプのコントロールボックスである。したがって、電力供給線40、コントロールボックス60および電源ケーブル22が一つの配線のようにシリーズに接続された、コンパクトで使いやすい凍結防止ヒーター20を実現している。
コントロールボックス60は全体が長細い箱型であり、長手方向に沿った中心の面で上下2つに分割された第1のシェル61と第2のシェル62とを備えている。これら第1のシェル61と第2のシェル62は、電力供給線40および電源ケーブル22を挟み込むように組み合わされ、これら第1のシェル61と第2のシェル62とにより形成される内部に防水された空間を形成する。このコントロールボックス60の内部空間に、電力供給線40および電源ケーブル22に接続され、電子デバイスを搭載した基板65が収納されている。基板65の第1のシェル61の側には、制御ユニットとなるマイクロコンピュータを搭載したIC66と、スイッチング素子となるトライアック64と、LED67aおよび67bが搭載されている。基板65の第2のシェル62の側には、外気温度を測定するための温度センサーであるサーミスタ68が搭載されている。
第2のシェル62は、コントロールボックス60の短手方向に突き出た3つの突部62a〜62cを備えている。中心の第3の突部62cはサーミスタ68を収納できるように中空であり、両側の第1および第2の突部62aおよび62bに対して突出せず、第1および第2の突部62aおよび62bとの間に空気が通る空間が確保できるようになっている。したがって、このコントロールボックス60が床下4の地面4aに置かれるように凍結防止ヒーター20が設置されても、サーミスタ68を収納した第3の突部62cは外気に確実に接し、また、第3の突部62cが地面4aに埋まり難いようになっている。このため、サーミスタ68により外気温度を確実に、精度よく検出することができる。
さらに、このコントロールボックス60では、基板65の第1のシェル61の側にIC66、トライアック64、LED67aおよび67bといった電子デバイスが搭載され、反対側にサーミスタ68が、第3の突部62cに挿入されるように基板65から突き出た(距離を置いた)状態で搭載されている。したがって、サーミスタ68は、基板65に搭載された電子デバイスの発熱の影響を受けにくいように配置されており、この点でも、サーミスタ68は、外気温度を精度よく測定できるようになっている。
図9に、凍結防止ヒーター20の回路構成をブロック図により示している。また、図10に、凍結防止ヒーター20の制御をフローチャートにより示している。コントロールボックス60には、制御ユニットとなるIC66が収納され、IC66にはコントロールボックス60に収納された外気温度を測定する温度センサー68と、ヒーターケーブル30とともにヒーターガイド管15に挿入され、ヒーターガイド管15の管内温度を測定する温度センサー71との信号が入力されている。スイッチング素子となるトライアック64がIC66に接続されており、IC66は、温度センサー68および71の測定結果に基づいてヒーターケーブル30に含まれるヒーター線33への電力の供給をオンオフできる。
さらに、IC66には緑色のLED67aと、赤色のLED67bとが接続されており凍結防止ヒーター20の動作状態が表示できるようになっている。これらのLED67aおよび67bの表示は、図3に示したコントロールボックス60の表示窓69を通して見ることができる。本例では、プラグ21から電源が得られると緑色のLED67aが点灯する。トライアック64がオンになると、赤色のLED67bも点灯する。IC66は、ヒーター断線、センサー断線およびセンサーショートの故障監視を行っており、これらの故障が検出されると緑色のLED67aを0.5秒の間隔で点滅させる。
コントロールボックス60は、さらに、制御用の電力(5V)を生成するための電源回路63a、落雷などの高電圧発生防止用のバリスタ63b、ヒューズ63cなどのデバイスを内蔵している。
制御ユニットであるIC66は、外気温度センサー68の検出温度(外気温度)T1が第1の温度S1以下かつ管内温度センサー71の検出温度(管内温度)T2が第2の温度S2以下のときにスイッチング素子であるトライアック64をオンし、外気温度T1が第1の温度S1以上の第3の温度S3以上または管内温度T2が第2の温度S2以上の第4の温度S4以上のときにトライアック64をオフする機能を含む。この凍結防止ヒーター20においては、第1の温度が5℃、第2の温度が44℃、第3の温度が実質的には第1の温度と同じ5℃、第4の温度が45℃に設定されている。
したがって、図10に示すように、ステップ101において、外気温度T1が5℃以下でないときに、ステップ105でヒーターがオンであれは(トライアック64がオンであれば)ステップ107においてヒーターをオフする(トライアック64をオフする)。外気温度T1が5℃以下であっても、ステップ102において、管内温度T2が45℃以上であれば、同様に、ステップ107においてヒーターをオフする。また、外気温度T1が5℃以下であって、ステップ103で管内温度T2が44℃以下であり、ステップ104においてヒーターがオフであれば、ステップ106でヒーターをオンする(トライアック64をオンする)。
設定温度S1〜S4の値は上記に限定されない。たとえば、外気温度T1と比較される設定温度S1およびS3は、凍結の予防という観点から0〜数℃の範囲であることが好ましい。管内温度T2と比較される設定温度S2およびS4は、配管内の水の凍結が予想されず、また、配管およびヒーターガイド管15を含む保温材付き配管システム5に運用上の支障が発生しない範囲であることが望ましい。たとえば、設定温度S2およびS4は、10〜60℃の範囲が好ましく、20〜50℃の範囲であることがさらに好ましい。
このように、本例の凍結防止ヒーター20は、外気温度T1を検出するための温度センサー(サーミスタ)68を内蔵しており、外気温度でヒーターをオンオフ動作させる節電機能を予め内蔵している。したがって、節電するために、節電サーモスタットなどの新たな装置は不要である。さらに、この凍結防止ヒーター20は、個々に外気温度を検出するセンサー68と、管内温度を検出するためのセンサー71とを備えている。図1に示す凍結防止システム50においては、複数の凍結防止ヒーター20が、保温材付き管12a〜12e、13a〜13cの各々のヒーターガイド管15にそれぞれ挿入される。したがって、保温材付き管12a〜12e、13a〜13cそれぞれの条件、さらには、それぞれの凍結防止ヒーター20のセンサーが検出する外気温度および管内温度に基づき、それぞれの凍結防止ヒーター20は独立してヒーターをオンオフする。このため、複数のヒーターが同時に同期してオンする可能性は非常に小さく、特殊な条件で凍結防止ヒーターをオンしないかぎり大きな突入電流が発生することはない。したがって、突入電流を処理するための電源設備が不要となる。
さらに、サーモスタットのような接点制御デバイスの代わりに、温度をサーミスタ68および71により検出し、トライアック64をスイッチングデバイスとして採用し、無接点制御回路とマイコン制御とを採用している。したがって、信頼性および耐久性の高い凍結防止ヒーター20を提供できる。
したがって、この凍結防止ヒーター20は、冬期間のみの電力消費を効率的に節電できる。このため、架橋ポリエチレン管などを採用している保温材付き管に限らず、従来の金属管などによる水道管の凍結防止にも有効であり、図1に示す凍結防止システム50においては、凍結防止ヒーター20が、水道管6、給水ヘッダ9、ボイラ7からの給湯配管8、給湯用のヘッダ10などにも設置されている。これらの管においては、凍結防止ヒーター20が管に沿って配置され、それらの外側が断熱材により覆われる。
さらに、この凍結防止ヒーター20は、ヒーターガイド管15に挿入されるヒーターケーブル30の外装被覆にフッ素樹脂を採用しており、高耐熱(150℃)と、耐寒性(低温における柔軟性)と、高い電気絶縁性と、さらに、難燃性とを得ている。したがって、安全性および耐久性が高く、長寿命の凍結防止ヒーターを提供できる。
また、フッ素樹脂により被覆されたヒーターケーブル30は、低摩擦で自己潤滑性に優れ、ヒーターガイド管15に挿入しやすい。さらに、温度を検出するためにサーモスタットのような大型のデバイスではなく、サーミスタのような小型のデバイスを採用し、管内温度を検出するサーミスタ71をヒーターケーブル30に一体化しているので、ヒーターガイド管15の内部のセンサーの設置も容易である。したがって、保温材付き管に対して施工が容易な凍結防止ヒーターを提供できる。
さらに、管内温度を検出するためのサーミスタ71をヒーター線33とともにヒーターガイド管15に挿入することにより、折り曲げ、引っ張りに対して弱い自己温度制御型のヒーターの代わりに、折り曲げ、引っ張りに対して強いニクロム線などのヒーター線を採用して管内温度に基づいて温度制御できるようにしている。また、抵抗値が変化することから経年劣化も予想されうる自己温度制御型のヒーターに対して、ニクロム線などのヒーター線は、抵抗変化は基本的になく、長寿命であり、長期間にわたり安定した発熱体としての能力を発揮する。したがって、この点でも、安全性および耐久性が高く、長寿命の凍結防止ヒーターを提供できる。
なお、本発明は上記に例示した凍結防止ヒーターに限定されない。たとえば、コントロールボックスはコードに対して直列的に配置されたインライン型に限らず、プラグと一体型など種々の変形が可能である。さらに、1つのコントロールボックスを複数のヒーターケーブルに共通に設けることも可能であり、それぞれのヒーターケーブル毎にスイッチング素子を配置して個別制御することも可能である。ヒーター線はニクロム線に限らず、銅成分の多い銅線であってもよく、また、ヒーター線の発熱量は、メーター当たり7W程度ではなく、高くても低くてもよい。また、ヒーターとして自己温度制御型のヒーターを用いることも可能であり、管内温度に応じてバリアブルにヒーター出力を変化させることで、さらに消費電力を低減することが可能である。
温度センサーとして抵抗値が変動するサーミスタを採用しているが、熱電対などの他のタイプの温度センサーを用いることも可能である。さらに、直列または並列に接続された複数の温度センサーをヒーターガイド管に挿入しても良い。また複数の温度センサーを備えたヒーターケーブルを提供することも可能である。また、管内の温度を検出するセンサーをヒーター線とは別にヒーターガイド管に挿入することも可能である。しかしながら、ヒーターケーブルとして一体化することにより施工の手間が大幅に緩和されることは上述した通りである。
凍結防止システムを備えた建屋の概要を示す図。 凍結防止システムを備えた給水用および/または給湯用の保温材付き配管の概略構成を示す図。 凍結防止ヒーターの外観を示す図。 凍結防止ヒーターを保温材付き配管のヒーターガイド管に挿入した状態を断続的に示す断面図。 図3の凍結防止ヒーターのV−V断面を拡大して示す図。 図3の凍結防止ヒーターのセンサー部を拡大して透かして示す図。 図3の凍結防止ヒーターのVII−VII断面を拡大して示す図。 図3の凍結防止ヒーターのコントロールボックスの概略構成を展開して示す図。 図3の凍結防止ヒーターの回路図。 図3の凍結防止ヒーターの動作を示すフローチャート。
符号の説明
20 凍結防止ヒーター、 30 ヒーターケーブル
33 ヒーター線、 36 リード線(センサー線)
40 電力供給線
60 コントロールボックス
68、71 温度センサー(サーミスタ)、 70 センサー部

Claims (7)

  1. 給水用および/または給湯用の配管に沿って設けられるヒーターガイド管に挿入されるヒーター線と、
    前記ヒーター線に電力を供給する電力供給線と、
    前記ヒーター線とともに前記ヒーターガイド管に挿入される管内温度センサーと、
    前記電力供給線を介して前記ヒーター線に供給される電力をオンオフするためのスイッチング素子および前記スイッチング素子を前記管内温度センサーの検出温度に基づき制御するための制御ユニットとを少なくとも内蔵したコントロールボックスとを有する、凍結防止ヒーター。
  2. 請求項1において、さらに、外気温を検出するための外気温度センサーを有し、
    前記制御ユニットは、前記外気温度センサーの検出温度が第1の温度以下かつ前記管内温度センサーの検出温度が第2の温度以下のときに前記スイッチング素子をオンし、前記外気温度センサーの検出温度が前記第1の温度以上の第3の温度以上または前記管内温度センサーの検出温度が前記第2の温度以上の第4の温度以上のときに前記スイッチング素子をオフする機能を含む、凍結防止ヒーター。
  3. 請求項2において、前記コントロールボックスは、前記電力供給線に接続されたインライン型のボックスであり、前記外気温度センサーは前記コントロールボックスに内蔵されている、凍結防止ヒーター。
  4. 請求項3において、前記コントロールボックスは前記電力供給線を挟み込むように組み合わされる第1のシェルと第2のシェルとを備え、
    前記第1のシェルに前記スイッチング素子および前記制御ユニットが収納され、前記第2のシェルに前記外気温度センサーが収納されている、凍結防止ヒーター。
  5. 請求項4において、前記第2のシェルは、第1および第2の突部と、前記第1および第2の突部の間に挟まれた第3の突部とを備え、第3の突部に前記外気温度センサーが収納されている、凍結防止ヒーター。
  6. 請求項1ないし5のいずれかにおいて、前記管内温度センサーと前記制御ユニットとを接続するための管内センサー線であって、前記ヒーター線とともに被覆された管内センサー線を有する、凍結防止ヒーター。
  7. 請求項1ないし6のいずれかに記載の複数の凍結防止ヒーターと、
    複数の給水用および/または給湯用の配管のそれぞれに沿って設けられた複数のヒーターガイド管とを有する凍結防止システムであって、
    前記複数のヒーターガイド管のそれぞれに、前記複数の凍結防止ヒーターの前記ヒーター線および前記管内温度センサーがそれぞれ挿入されている、凍結防止システム。
JP2008235478A 2008-09-12 2008-09-12 凍結防止ヒーターおよびその凍結防止システム Expired - Fee Related JP5313597B2 (ja)

Priority Applications (1)

Application Number Priority Date Filing Date Title
JP2008235478A JP5313597B2 (ja) 2008-09-12 2008-09-12 凍結防止ヒーターおよびその凍結防止システム

Applications Claiming Priority (1)

Application Number Priority Date Filing Date Title
JP2008235478A JP5313597B2 (ja) 2008-09-12 2008-09-12 凍結防止ヒーターおよびその凍結防止システム

Publications (2)

Publication Number Publication Date
JP2010065508A true JP2010065508A (ja) 2010-03-25
JP5313597B2 JP5313597B2 (ja) 2013-10-09

Family

ID=42191310

Family Applications (1)

Application Number Title Priority Date Filing Date
JP2008235478A Expired - Fee Related JP5313597B2 (ja) 2008-09-12 2008-09-12 凍結防止ヒーターおよびその凍結防止システム

Country Status (1)

Country Link
JP (1) JP5313597B2 (ja)

Cited By (7)

* Cited by examiner, † Cited by third party
Publication number Priority date Publication date Assignee Title
DE102011012673A1 (de) 2010-03-17 2011-09-22 Hitachi Automotive Systems, Ltd. Elektronische Steuereinrichtung für Fahrzeuge
WO2015183258A1 (en) * 2014-05-28 2015-12-03 Hewlett-Packard Development Company, L.P. Managing a fluid condition in a pipe
WO2018212422A1 (ko) * 2017-05-16 2018-11-22 서상민 메탈 히터 시스템
CN111174003A (zh) * 2020-02-18 2020-05-19 杨立 一种防爆裂的管道连接器及其工作方法
CN111188382A (zh) * 2020-01-21 2020-05-22 青岛三利中德美水设备有限公司 一种户外供水设备
CN113062409A (zh) * 2021-03-24 2021-07-02 扬州工业职业技术学院 一种农村建筑冬季用室外水管防冻装置
WO2023099255A1 (fr) * 2021-12-02 2023-06-08 Airbus Atlantic Système et procédé de chauffage pour un circuit d'eau d'aéronef

Citations (3)

* Cited by examiner, † Cited by third party
Publication number Priority date Publication date Assignee Title
JP2003041633A (ja) * 2001-07-31 2003-02-13 Nippon Dennetsu Co Ltd 凍結防止装置
JP2004244958A (ja) * 2003-02-14 2004-09-02 Sekisui Chem Co Ltd 凍結防止用流水配管
JP2005213809A (ja) * 2004-01-28 2005-08-11 Taku Seisakusho:Kk 凍結防止システム

Patent Citations (3)

* Cited by examiner, † Cited by third party
Publication number Priority date Publication date Assignee Title
JP2003041633A (ja) * 2001-07-31 2003-02-13 Nippon Dennetsu Co Ltd 凍結防止装置
JP2004244958A (ja) * 2003-02-14 2004-09-02 Sekisui Chem Co Ltd 凍結防止用流水配管
JP2005213809A (ja) * 2004-01-28 2005-08-11 Taku Seisakusho:Kk 凍結防止システム

Cited By (11)

* Cited by examiner, † Cited by third party
Publication number Priority date Publication date Assignee Title
DE102011012673A1 (de) 2010-03-17 2011-09-22 Hitachi Automotive Systems, Ltd. Elektronische Steuereinrichtung für Fahrzeuge
WO2015183258A1 (en) * 2014-05-28 2015-12-03 Hewlett-Packard Development Company, L.P. Managing a fluid condition in a pipe
US10100500B2 (en) 2014-05-28 2018-10-16 Ent. Services Development Corporation Lp Managing a fluid condition in a pipe
WO2018212422A1 (ko) * 2017-05-16 2018-11-22 서상민 메탈 히터 시스템
US11702822B2 (en) 2017-05-16 2023-07-18 Sang Min Seo Metal heater system
CN111188382A (zh) * 2020-01-21 2020-05-22 青岛三利中德美水设备有限公司 一种户外供水设备
CN111174003A (zh) * 2020-02-18 2020-05-19 杨立 一种防爆裂的管道连接器及其工作方法
CN111174003B (zh) * 2020-02-18 2021-05-14 榫卯科技服务(温州)有限公司 一种防爆裂的管道连接器及其工作方法
CN113062409A (zh) * 2021-03-24 2021-07-02 扬州工业职业技术学院 一种农村建筑冬季用室外水管防冻装置
WO2023099255A1 (fr) * 2021-12-02 2023-06-08 Airbus Atlantic Système et procédé de chauffage pour un circuit d'eau d'aéronef
FR3129921A1 (fr) * 2021-12-02 2023-06-09 Stelia Aerospace Système et procédé de chauffage pour un circuit d’eau d’aéronef

Also Published As

Publication number Publication date
JP5313597B2 (ja) 2013-10-09

Similar Documents

Publication Publication Date Title
JP5313597B2 (ja) 凍結防止ヒーターおよびその凍結防止システム
KR101254293B1 (ko) 스마트 기능을 보유한 지능형 히팅 케이블 및 그 제조방법
JP5313598B2 (ja) ヒーター用ケーブルとそれを備えた凍結防止ヒーター
US4874925A (en) Electrically heated hose assembly for conveying electrically conductive liquids
US6703593B2 (en) Low and high voltage electrical heating devices
KR101826484B1 (ko) 메탈 히터를 구비한 배관 시스템의 동파 방지 장치
KR20150046519A (ko) 배관 동파 방지용 온열 커버
KR101449308B1 (ko) 광센서 케이블이 구비된 전력 케이블 및 이를 이용한 히팅 시스템
EP1829425B1 (en) Control of heating cable
US20060219701A1 (en) Controller and heating wire capable of preventing generation of electromagnetic waves
KR102229305B1 (ko) 실시간 표면 온도 연동 및 설정 온도 유지가 가능한 반도체릴레이를 이용한 발열선 발열량 제어시스템
KR200277428Y1 (ko) 수도관 동파방지히터
KR102782207B1 (ko) 동파방지용 열선장치
KR20130001732U (ko) 배관용 동파방지 히터
KR20200102827A (ko) 무접점릴레이방식의 동파방지를 위한 발열선 발열량 제어장치
KR20010001178U (ko) 배관의 동파방지장치
JPH10321356A (ja) 自己制御型コードヒーターおよびそれを用いた装置
KR19980025315A (ko) 전열선과 열매체유를 이용한 난방방법 및 그 장치.
GB2224189A (en) Tubular electric heater
KR20090072677A (ko) 전도성 플라스틱 배관 및 이를 이용한 배관의 동파 방지시스템
JP2003041633A (ja) 凍結防止装置
US20200072420A1 (en) Systems and methods for heating equipment in hazardous environments
CN222123505U (zh) 温控组件、加热罐及净水设备
JP4711132B2 (ja) 流体加熱用チューブ、及びこれの加熱方法
KR100499922B1 (ko) 열감지선을 이용한 정온전선의 발열 제어장치

Legal Events

Date Code Title Description
A621 Written request for application examination

Free format text: JAPANESE INTERMEDIATE CODE: A621

Effective date: 20110906

A521 Request for written amendment filed

Free format text: JAPANESE INTERMEDIATE CODE: A523

Effective date: 20111213

A977 Report on retrieval

Free format text: JAPANESE INTERMEDIATE CODE: A971007

Effective date: 20121023

TRDD Decision of grant or rejection written
A01 Written decision to grant a patent or to grant a registration (utility model)

Free format text: JAPANESE INTERMEDIATE CODE: A01

Effective date: 20130612

A61 First payment of annual fees (during grant procedure)

Free format text: JAPANESE INTERMEDIATE CODE: A61

Effective date: 20130704

R150 Certificate of patent or registration of utility model

Ref document number: 5313597

Country of ref document: JP

Free format text: JAPANESE INTERMEDIATE CODE: R150

Free format text: JAPANESE INTERMEDIATE CODE: R150

R250 Receipt of annual fees

Free format text: JAPANESE INTERMEDIATE CODE: R250

R250 Receipt of annual fees

Free format text: JAPANESE INTERMEDIATE CODE: R250

R250 Receipt of annual fees

Free format text: JAPANESE INTERMEDIATE CODE: R250

LAPS Cancellation because of no payment of annual fees