JP2010063569A - ショッピング用携帯バック - Google Patents
ショッピング用携帯バック Download PDFInfo
- Publication number
- JP2010063569A JP2010063569A JP2008231692A JP2008231692A JP2010063569A JP 2010063569 A JP2010063569 A JP 2010063569A JP 2008231692 A JP2008231692 A JP 2008231692A JP 2008231692 A JP2008231692 A JP 2008231692A JP 2010063569 A JP2010063569 A JP 2010063569A
- Authority
- JP
- Japan
- Prior art keywords
- bag
- cylindrical
- pulled
- pulled out
- shopping
- Prior art date
- Legal status (The legal status is an assumption and is not a legal conclusion. Google has not performed a legal analysis and makes no representation as to the accuracy of the status listed.)
- Granted
Links
- 241000973497 Siphonognathus argyrophanes Species 0.000 claims description 6
- 210000005069 ears Anatomy 0.000 claims description 2
- 238000010276 construction Methods 0.000 claims 1
- 239000004744 fabric Substances 0.000 description 5
- 241000283973 Oryctolagus cuniculus Species 0.000 description 1
- 230000000694 effects Effects 0.000 description 1
- 230000007613 environmental effect Effects 0.000 description 1
- 210000003128 head Anatomy 0.000 description 1
- 239000000463 material Substances 0.000 description 1
- 238000000034 method Methods 0.000 description 1
- 238000012856 packing Methods 0.000 description 1
- 230000002093 peripheral effect Effects 0.000 description 1
- 238000004064 recycling Methods 0.000 description 1
- 238000009958 sewing Methods 0.000 description 1
- 239000002699 waste material Substances 0.000 description 1
- 238000004804 winding Methods 0.000 description 1
Images
Landscapes
- Purses, Travelling Bags, Baskets, Or Suitcases (AREA)
Abstract
【課題】バックを折り畳むことなくポケット形袋に代わる筒形袋にワンアクションでコンパクトに仕舞うことのできるショッピング用携帯バックを提供する。
【解決手段】手提げ紐付きのバックと、そのバックを引き込んで収納する筒形袋と、バックを筒形袋に引き込み可能に双方を連係する一対の引き紐とからなり、バックの内面にそれぞれの引き紐の通し帯を幅中央に沿って止着し、通し帯の上端から引き出された引き紐の基端をバックの上端部に止着してあって、通し帯の下端から引き出された両引き紐は、筒形袋に筒口から挿入され袋底から外へ引き出されており、袋底の引出口から引き紐をさらに引き出し可能に、筒口が持ち手となるように筒口にリング状の口輪を入れて着設し、バックを裏返しにおいて筒形袋に引き込み得るように構成した。
【選択図】 図1
【解決手段】手提げ紐付きのバックと、そのバックを引き込んで収納する筒形袋と、バックを筒形袋に引き込み可能に双方を連係する一対の引き紐とからなり、バックの内面にそれぞれの引き紐の通し帯を幅中央に沿って止着し、通し帯の上端から引き出された引き紐の基端をバックの上端部に止着してあって、通し帯の下端から引き出された両引き紐は、筒形袋に筒口から挿入され袋底から外へ引き出されており、袋底の引出口から引き紐をさらに引き出し可能に、筒口が持ち手となるように筒口にリング状の口輪を入れて着設し、バックを裏返しにおいて筒形袋に引き込み得るように構成した。
【選択図】 図1
Description
この発明は、スーパーマーケット等で商品を購入する際に、レジで手提げ袋(ビニール袋)の提供を受けないで間に合わせるために持ち込むショッピング用携帯バックに関する。
スーパーマーケットでは、一般的に、レジで精算した買物かごの商品にそれを持ち帰る便宜にビニール袋が添えられる。このビニール袋は無料で提供されるけれども、リサイクルのために家庭では分別してごみの日に出さねばならない煩雑さがあった。また、ゴミの入れ物等として燃えるゴミと一緒に出されて最終的に焼却処分される割合も非常に多いため、一方ではリサイクルが果たされないばかりか地球環境の汚染を招く等の問題もあった。そこで、富山県等のようにビニール袋を有償としてその使用を抑制する対策をとっている自治体もある。
ビニール袋についてのこのような省資源や地球環境保全の意識の向上から、あるいは自治体の対策に応じて、ビニール袋に代えて個人的にショッピング用携帯バックの使用が多くなっている。そして、携帯に便利にコンパクトに納まるように多くの提案がなされる。特許文献1に記載のものは、その代表例であって、布地からなるバックに一対の手提げ紐を取り付けることにより手提げバックとするとともに、バックにそれを仕舞うポケット形袋を取り付けたものであった。
特許第3220901号公報
上記のような従来のショッピング用携帯バックによれば、バックを仕舞うポケット形袋がそれと不離一体であるので、ポケット形袋を紛失することなくそれにバックを仕舞うことができるが、そのときにはバックを袋に入るように縦横に小さく折り畳む必要があるためにその操作が面倒であった。
この発明は、上記のような実情に鑑みて、バックを折り畳むことなくポケット形袋に代わる筒形袋にワンアクションでコンパクトに仕舞うことのできるショッピング用携帯バックを提供することを課題とした。
上記の課題を解決するために、この発明は、手提げ紐付きのバックと、そのバックを引き込んで収納する筒形袋と、バックを筒形袋に引き込み可能に双方を連係する一対の引き紐とからなり、バックの内面にそれぞれの引き紐の通し帯を幅中央に沿って止着し、通し帯の上端から引き出された引き紐の基端をバックの上端部に止着してあって、通し帯の下端から引き出された両引き紐は、筒形袋に筒口から挿入され袋底から外へ引き出されており、袋底の引出口から引き紐をさらに引き出し可能に、筒口が持ち手となるように筒口にリング状の口輪を入れて着設し、バックを裏返しにおいて筒形袋に引き込み得るように構成したことを特徴とするショッピング用携帯バックを提供するものである。
また、第2の発明としてさらに、両手提げ紐付きのバックと、そのバックを引き込んで収納するよう使用形態ではバックの底に伏しておかれる筒形袋と、バックを筒形袋に引き込み可能に双方を連係する前後一対の引き紐とからなり、バックの前後両側内面にそれぞれの引き紐の通し帯を幅中央に沿って逢着し、通し帯の上端から引き出された引き紐の基端をバックの上端部に止着してあって、通し帯の下端から引き出された両引き紐は、筒形袋に筒口から挿入され袋底から外へ引き出されており、袋底の引出口から引き紐をさらに引き出し可能に、筒口が持ち手となるようにそこにリング状の口輪を入れて着設する一方、引き紐の先端に持ち手に対して引く摘み手を設けてあって、バックを裏返しにおいて筒形袋に引き込み得るように構成したことを特徴とするショッピング用携帯バックを提供するものである。
ショッピング用携帯バックを上記のように構成したから、バックを筒形袋に収納して仕舞った状態で携帯してスーパーマーケットで商品を購入し、レジで精算が終わったときには、裏返しになっているバックを表返しの正規のバックに変えるとともに、その中に空になった筒形袋を入れて底に伏させてた状態にして、バックに精算済み商品を詰めて持ち帰る。
家庭でバックから商品を取り出すと、底に筒形袋があるので、それを取り出しながらバックを裏返しにすると、裏返しの底部が筒形袋の筒口に向かった状態となるので、片手で口輪を把持しながら摘み手で引き紐を軽く引くと、袋底が少しは引き込まれるが、口輪の輪口の大きさに引き込みが抑制される結果、引き紐の止着部分と口輪との間で通し帯とともにバックがその長手方向へ縮み、バックの高さが半減し、引き続く強い引きにより半減状態でバックが口輪で絞り込まれて一瞬にしてコンパクトに筒形袋に収納される。この状態では手提げ紐は筒口から未納に突出している。
以上説明したように、この発明のショッピング用携帯バックによれば、バックを折り畳むことなくワンアクションで筒形袋に仕舞うことができるだけでなく、その際に、バックが高さでほゞ半減した状態で口輪で絞り込まれながら筒形袋に収納されるので、その一連の動作がワンアクションとなり、携帯にも便利なように非常にコンパクトな仕舞い方となる。また、バックを使用するときには、未納に突出している手提げ紐に手を掛け、他方の手で筒形袋の口輪ないし下端部を持ちながらバックを容易に引き出すことができるという優れた効果がある。
加えて、請求項3によれば、仕舞った状態においてウサギなどの顔に愉快に表現されることになるので、遊び心をくすぐり楽しく使用することができる。
次に、この発明の実施形態を図面に基づいて説明する。
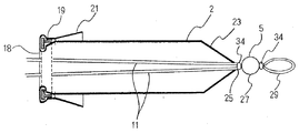
図面はこの発明の一実施の形態を示したもので、そのショッピング用携帯バックは、スーパーマーケットで購入した商品を詰めるバック1と、それを収納する筒形袋2とからなり、両方が一対の引き紐3,3により常時不離一体に連係されており、両引き紐3,3の先端の摘み手5を引くことによりバック1を筒形袋2に引き込んで納めるようになっている。バック1と筒形袋2とは、滑りやすい材質の布地により縫製される。初めにスーパーマーケットで開いた使用状態(図1)の形態で説明する。
バック1は、袋の形をしておれば良いが、この実施形態では、前後面壁7,7と、左右側壁9,9とからなる四角立法体の袋として縫製され、前後面壁7,7の上端にそれぞれループ形に手提げ紐11,11が縫い付けにより突設される。また、その前後面壁7,7の内側に、各幅中央に沿って前記引き紐3,3の通し帯13,13が縫着されている。つまり、前後面壁7,7の上端部から下端にかけてテープ状の布がその両側端部を縫い合わせて止められる。そして、引き紐3,3の基端が上端部で糸による止着部17,17により止められる。
両引き紐3,3は、下方では通し帯13,13の下端から引き出された直後に筒形袋2の筒口18に挿入されている。したがって、図1に示すように、筒形袋2は、使用状態では通し帯13,13に近いバック1の底に伏せられている。そして、筒形袋2に引き込まれた引き紐3,3は、端筒底23の中央から外へ出してそこに前記した摘み手5が設けられている。
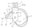
筒形袋2は、傘袋と同じように筒形に縫製された袋であるが、筒口18にプラスチックでリング状に形成された口輪19が縫い込まれている。この場合、筒口18の布地を外側へ折り返してその中に口輪19を入れてある(図2)。21がその折返片である。また、袋底23は、周壁を徐々に絞ることにより形成され、その中心に引き紐3,3の引出口25が開けられている。使用状態(図1)では、引出口25の近くにおいて摘み手5が位置している。
この実施形態の場合、摘み手5は、両引き紐3,3が通る玉27と、両引き紐3,3の反転ループ29とから構成され、玉27が移動しないようにその前後において両引き紐3,3の結び目31,31が設けられている。ちなみに、両引き紐3,3は、反転ループ29を作るために一本の紐からなっている。また、筒形袋2の前面には、上部に左右一対のボタン31,31を眼様に取付け、下部中央に一のボタン33を口様に取り付けられる。
以上は、主として商品を詰める使用状態(図1)の形態で説明したが、次に、仕舞う手順について説明する。
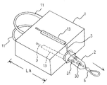
使用状態(図1)では、バック1の中に筒形袋2が入っているので、まず、バック1を裏返しにして筒形袋2を外へ出す(図3)。それから筒口18の口輪19を把持しながら、他方の手で摘み手5を引くと(図4)、バック1の布地が初めに筒口18で行き詰まるために、バック1の上端部が止着部17,17で引かれると、その間の布地が通し帯13,13の縮みを伴って縮み(LaからLbへ)半減するとともに、バック1の全体的嵩が大幅に縮小する(図5)。そして、引き続き摘み手5を引くと、バック1が口輪19で絞り込まれながら引き込まれる(図6)。
バック1をこうして筒形袋2に収納すると、両手18から手提げ紐11,11だけが顔を出している(図5参照、なお、両手提げ紐11,11は口輪19の長手方向の左右に分かれる傾向がある)。バック1からみるとこれは極一部であるので筒形袋2の中に押し込む必要はなく、そのままにしてけば、ボタン31,31が両目として、ボタン33が口として見えると同時に、両手提げ紐11,11が両耳として見えることになる。また、折返片21が頭にも見えることになる。
バック1を仕舞った後では、引き紐3,3が長く引き出されているので、それを筒形袋2の回りに巻き付けておく等して胴巻きに始末しておくことが望ましい。その際には巻き付けの下に摘み手5を潜らせて止めておいたり、ボタン31に掛け止めておくことにより、巻き戻しを防いでおくことができる。また、図5に二点鎖線で示すように、傘袋に見られるようなフック37による止め紐35を取り付けておきそれで引き紐3,3のまとめを止めるようにしておくこともできる等、様々な方法がある。
1 バック
2 筒形袋
3 引き紐
5 摘み手
11 手提げ紐
13 通し帯
17 引き紐を止める止着部
18 筒口
19 口輪
25 引出口
31,33 ボタン
2 筒形袋
3 引き紐
5 摘み手
11 手提げ紐
13 通し帯
17 引き紐を止める止着部
18 筒口
19 口輪
25 引出口
31,33 ボタン
Claims (3)
- 手提げ紐付きのバックと、そのバックを引き込んで収納する筒形袋と、バックを筒形袋に引き込み可能に双方を連係する一対の引き紐とからなり、バックの内面にそれぞれの引き紐の通し帯を幅中央に沿って止着し、通し帯の上端から引き出された引き紐の基端をバックの上端部に止着してあって、通し帯の下端から引き出された両引き紐は、筒形袋に筒口から挿入され袋底から外へ引き出されており、袋底の引出口から引き紐をさらに引き出し可能に、筒口が持ち手となるように筒口にリング状の口輪を入れて着設し、バックを裏返しにおいて筒形袋に引き込み得るように構成したことを特徴とするショッピング用携帯バック。
- 両手提げ紐付きのバックと、そのバックを引き込んで収納するよう使用形態ではバックの底に伏しておかれる筒形袋と、バックを筒形袋に引き込み可能に双方を連係する前後一対の引き紐とからなり、バックの前後両側内面にそれぞれの引き紐の通し帯を幅中央に沿って逢着し、通し帯の上端から引き出された引き紐の基端をバックの上端部に止着してあって、通し帯の下端から引き出された両引き紐は、筒形袋に筒口から挿入され袋底から外へ引き出されており、袋底の引出口から引き紐をさらに引き出し可能に、筒口が持ち手となるようにそこにリング状の口輪を入れて着設する一方、引き紐の先端に持ち手に対して引く摘み手を設けてあって、バックを裏返しにおいて筒形袋に引き込み得るように構成したことを特徴とするショッピング用携帯バック。
- 口輪が楕円形に近く左右に長い形状に形成され、その幅広い前面に上部において左右一対のボタンを目として、下部の中央に一のボタンを口として取り付け、筒形袋にバックを収納した形態において、筒口に未納に突出する一対の手提げ紐が耳となって全体的に顔が象形されるように構成したことを特徴とする請求項1または2記載のショッピング用携帯バック。
Priority Applications (1)
| Application Number | Priority Date | Filing Date | Title |
|---|---|---|---|
| JP2008231692A JP4356903B1 (ja) | 2008-09-10 | 2008-09-10 | ショッピング用携帯バック |
Applications Claiming Priority (1)
| Application Number | Priority Date | Filing Date | Title |
|---|---|---|---|
| JP2008231692A JP4356903B1 (ja) | 2008-09-10 | 2008-09-10 | ショッピング用携帯バック |
Publications (2)
| Publication Number | Publication Date |
|---|---|
| JP4356903B1 JP4356903B1 (ja) | 2009-11-04 |
| JP2010063569A true JP2010063569A (ja) | 2010-03-25 |
Family
ID=41393465
Family Applications (1)
| Application Number | Title | Priority Date | Filing Date |
|---|---|---|---|
| JP2008231692A Expired - Fee Related JP4356903B1 (ja) | 2008-09-10 | 2008-09-10 | ショッピング用携帯バック |
Country Status (1)
| Country | Link |
|---|---|
| JP (1) | JP4356903B1 (ja) |
-
2008
- 2008-09-10 JP JP2008231692A patent/JP4356903B1/ja not_active Expired - Fee Related
Also Published As
| Publication number | Publication date |
|---|---|
| JP4356903B1 (ja) | 2009-11-04 |
Similar Documents
| Publication | Publication Date | Title |
|---|---|---|
| US5152612A (en) | Collapsible article with attached storage pouch | |
| US3842977A (en) | Display-carrying pillow-enclosing casing | |
| US20110142373A1 (en) | Flexibly collapsible bag for being self-stored in itself in two different places thereof | |
| US6287002B1 (en) | Draw cord system for opening and closing an open top of a fabric carrier | |
| CN206760980U (zh) | 一种环保袋伞 | |
| CN1994182A (zh) | 可折叠的实用物品 | |
| CN110051094A (zh) | 一种可折叠购物袋 | |
| JP4356903B1 (ja) | ショッピング用携帯バック | |
| US20210153615A1 (en) | Expandable and Transportable Bag | |
| JP2008237421A (ja) | 携帯式買い物バッグ | |
| KR101345495B1 (ko) | 절첩식 가방 | |
| JP3191642U (ja) | 買い物袋 | |
| KR200373788Y1 (ko) | 수납형 장바구니 | |
| KR200496092Y1 (ko) | 우산집 | |
| JP2008229142A (ja) | 袋 | |
| CN222217325U (zh) | 一种伸缩围拉链以及双层伸缩围拉链 | |
| JP3157890U (ja) | 提げ手付きバッグ | |
| KR102863297B1 (ko) | 스트랩 겸용 쇼핑백 | |
| JP3129664U (ja) | 折り畳みバッグ | |
| CN210008613U (zh) | 一种可折叠购物袋 | |
| JP3135119U (ja) | 手提げ袋 | |
| AU2009100279A4 (en) | A Reusable Carry Bag and Pouch | |
| JP2024112257A (ja) | 自動でたためる傘袋 | |
| JP3076964U (ja) | 手提げ袋 | |
| CN208192428U (zh) | 折叠购物袋 |
Legal Events
| Date | Code | Title | Description |
|---|---|---|---|
| TRDD | Decision of grant or rejection written | ||
| A01 | Written decision to grant a patent or to grant a registration (utility model) |
Free format text: JAPANESE INTERMEDIATE CODE: A01 |
|
| FPAY | Renewal fee payment (event date is renewal date of database) |
Free format text: PAYMENT UNTIL: 20120814 |
|
| R150 | Certificate of patent or registration of utility model |
Free format text: JAPANESE INTERMEDIATE CODE: R150 |
|
| FPAY | Renewal fee payment (event date is renewal date of database) |
Free format text: PAYMENT UNTIL: 20120814 Year of fee payment: 3 |
|
| FPAY | Renewal fee payment (event date is renewal date of database) |
Free format text: PAYMENT UNTIL: 20120814 Year of fee payment: 3 |
|
| R250 | Receipt of annual fees |
Free format text: JAPANESE INTERMEDIATE CODE: R250 |
|
| LAPS | Cancellation because of no payment of annual fees |