JP2010063206A - 駆動装置 - Google Patents

駆動装置 Download PDF

Info

Publication number
JP2010063206A
JP2010063206A JP2008223561A JP2008223561A JP2010063206A JP 2010063206 A JP2010063206 A JP 2010063206A JP 2008223561 A JP2008223561 A JP 2008223561A JP 2008223561 A JP2008223561 A JP 2008223561A JP 2010063206 A JP2010063206 A JP 2010063206A
Authority
JP
Japan
Prior art keywords
vibration
moving body
moving
vibration friction
drive device
Prior art date
Legal status (The legal status is an assumption and is not a legal conclusion. Google has not performed a legal analysis and makes no representation as to the accuracy of the status listed.)
Granted
Application number
JP2008223561A
Other languages
English (en)
Other versions
JP5316756B2 (ja
Inventor
Makoto Takahashi
誠 高橋
Masato Nito
将人 二戸
Current Assignee (The listed assignees may be inaccurate. Google has not performed a legal analysis and makes no representation or warranty as to the accuracy of the list.)
Mitsumi Electric Co Ltd
Original Assignee
Mitsumi Electric Co Ltd
Priority date (The priority date is an assumption and is not a legal conclusion. Google has not performed a legal analysis and makes no representation as to the accuracy of the date listed.)
Filing date
Publication date
Application filed by Mitsumi Electric Co Ltd filed Critical Mitsumi Electric Co Ltd
Priority to JP2008223561A priority Critical patent/JP5316756B2/ja
Priority to TW098127551A priority patent/TW201014149A/zh
Priority to CN200980133782.3A priority patent/CN102138279B/zh
Priority to US13/061,573 priority patent/US8466603B2/en
Priority to PCT/JP2009/064791 priority patent/WO2010024252A1/ja
Publication of JP2010063206A publication Critical patent/JP2010063206A/ja
Application granted granted Critical
Publication of JP5316756B2 publication Critical patent/JP5316756B2/ja
Expired - Fee Related legal-status Critical Current
Anticipated expiration legal-status Critical

Links

Images

Classifications

    • GPHYSICS
    • G02OPTICS
    • G02BOPTICAL ELEMENTS, SYSTEMS OR APPARATUS
    • G02B7/00Mountings, adjusting means, or light-tight connections, for optical elements
    • G02B7/02Mountings, adjusting means, or light-tight connections, for optical elements for lenses
    • G02B7/04Mountings, adjusting means, or light-tight connections, for optical elements for lenses with mechanism for focusing or varying magnification
    • G02B7/08Mountings, adjusting means, or light-tight connections, for optical elements for lenses with mechanism for focusing or varying magnification adapted to co-operate with a remote control mechanism
    • HELECTRICITY
    • H02GENERATION; CONVERSION OR DISTRIBUTION OF ELECTRIC POWER
    • H02NELECTRIC MACHINES NOT OTHERWISE PROVIDED FOR
    • H02N2/00Electric machines in general using piezoelectric effect, electrostriction or magnetostriction
    • H02N2/02Electric machines in general using piezoelectric effect, electrostriction or magnetostriction producing linear motion, e.g. actuators; Linear positioners ; Linear motors
    • H02N2/021Electric machines in general using piezoelectric effect, electrostriction or magnetostriction producing linear motion, e.g. actuators; Linear positioners ; Linear motors using intermittent driving, e.g. step motors, piezoleg motors
    • H02N2/025Inertial sliding motors

Landscapes

  • Physics & Mathematics (AREA)
  • General Physics & Mathematics (AREA)
  • Optics & Photonics (AREA)
  • General Electrical Machinery Utilizing Piezoelectricity, Electrostriction Or Magnetostriction (AREA)
  • Lens Barrels (AREA)

Abstract

【課題】電気機械変換素子の往復変位を移動部材に効率的に伝達させ、かつ空きスペースを有効的に活用すること移動部材の移動をスムーズに行わせること。
【解決手段】駆動装置(10)は、伸縮方向で互いに対向する一対の端面(13a,13b)を持つ電気機械変換素子(13)と、この電気機械変換素子の一対の端面の一方(13b)に取り付けられた振動摩擦部(14)と、この振動摩擦部と摩擦結合される移動部材(121,122)とを備える。電気機械変換素子の伸縮方向に移動部材が移動可能である。駆動装置(10)は、電気機械変換素子(13)の一対の端面の一方(13b)と振動摩擦部(14)の端面(14a)との間に配置された振動伝達部材(19)を備える。電気機械変換素子(13)の中心軸線(13)と振動摩擦部(14)の中心軸線(14)とは同一直線上にない。
【選択図】 図3

Description

本発明は駆動装置に関し、特に、圧電素子等の電気機械変換素子を用いた駆動装置に関する。
従来から、カメラのオートフォーカス用アクチュエータやズーム用アクチュエータとして、圧電素子、電歪素子、磁歪素子等の電気機械変換素子を使用した(駆動装置)リニアアクチュエータが使用されている。
特許第3218851号公報(特許文献1)は、圧電素子などの電気機械変換素子に発生するリンギング振動を抑え、高速駆動できる電気機械変換素子を使用した駆動装置の駆動方法を開示している。特許文献1に開示された駆動装置は、圧電素子等の電気機械変換素子と、この変換素子に結合して変換素子と共に変位する駆動部材(振動軸)と、この駆動部材に摩擦結合した被駆動部材(ズームレンズ鏡筒)とを備える。この特許文献1では、圧電素子(電気機械変換素子に印加する駆動信号を工夫して、被駆動部材(ズームレンズ鏡筒)を駆動している。
また、特開2006−304529号公報(特許文献2)は、可動子を炭素繊維を含む液晶ポリマーで形成することで、金属材料で形成する場合に比べて、低コスト化と軽量化を図れるとともに、移動速度や駆動力を低下させることなく高い曲げ弾性係数の可動子を用いた高性能な駆動装置を開示している。この特許文献2に開示された駆動装置は、電圧が印加されることにより伸縮する圧電素子(電気機械変換素子)と、圧電素子の伸縮方向一端に固定された駆動軸(振動摩擦部)と、駆動軸に摺動可能に摩擦係合する可動子(移動部材)と、圧電素子の伸縮方向他端に接着固定されたウェイト(静止部材、錘)とを備える。圧電素子の伸びと縮みの速度または加速度を異ならせて駆動軸を振動させることにより、可動子(移動部材)を駆動軸(振動摩擦部)に沿って移動させる。
さらに、特許第3141714号公報(特許文献3)は、移動部材を高速で安定して駆動することができる駆動装置を開示している。特許文献3に開示された駆動装置は、静止部材と、この静止部材にその伸縮方向の一端を固定された電気機械変換素子と、この電気機械変換素子の伸縮方向の他端に結合され、電気機械変換素子の伸縮方向に移動できるように支持された駆動部材(振動摩擦部)と、この駆動部材に摩擦結合され、電気機械変換素子の伸縮方向に移動できるように支持された移動部材と、駆動部材(振動摩擦部)と移動部材との間に摩擦力を発生させる摩擦力付与手段とを備えている。この摩擦力付加手段は、移動部材に固定されて押付力を発生する弾性部材と、弾性部材により発生する押付力を駆動部材に伝える挟み込み部材から構成される。また、移動部材と駆動部材の接触部、及び挟み込み部材の接触部を断面V字状にしている。
特開2002−119074号公報(特許文献4)は、電気機械変換素子を使用した駆動装置を開示している。特許文献4に開示された駆動装置は、一端において支持台(静止部材)に固定された電気機械変換素子と、この電気機械変換素子の他端に固定された振動部材(振動摩擦部)と、この振動部材に対して所定の摩擦力でもって係合する移動体(移動部材)とを備えている。振動部材(振動摩擦部)としては、カーボンロッドが使用される。
また、特開2006−141133号公報(特許文献5)は、全長が短い駆動装置を開示している。特許文献5に開示された駆動装置は、一端が固定体(錘、静止部材)に固定された電気機械変換素子と、この電気機械変換素子の他端に固着された駆動摩擦部材(振動摩擦部)と、この駆動摩擦部材に摩擦係合する移動体(移動部材)とを備えている。駆動摩擦部材の材料としては、セラミックス材料や、ポリフェニレンサルファイド樹脂(PPS樹脂)や液晶ポリマー(LCP樹脂)などのエンジニアリングプラスチック、カーボン強化樹脂およびガラス繊維強化樹脂などが使用される。
特開2006−303955号公報(特許文献6)は、構造を簡略化することができ、コストの低下を図ることができる撮像装置を開示している。特許文献6に開示された撮像装置は、撮像レンズを光軸方向に移動させるレンズ駆動部を備えている。レンズ駆動部は、SIDM(Smooth Impact Drive Mechanism)が適用される。レンズ駆動部は、駆動部取付部に所定の接着剤により取り付けられるSIDM重り部と、このSIDM重り部に接続され、通電により光軸方向に伸縮する圧電素子部(電気機械変換素子)と、圧電素子部に接続された光軸方向に長尺なシャフト部(振動摩擦部)とを備えている。このレンズ駆動部のシャフト部は、駆動力伝達部の駆動部挟持部材(移動部材)によって、光軸方向にほぼ直交する方向に沿って挟まれている。
特開2007−202377号公報(特許文献7)は、受動部材の移動速度が増大し、駆動パルスの動作周波数が低下する電気機械アクチュエーター構造を開示している。特許文献7に開示された電気機械アクチュエーター構造は、ベースに接合される底面と、頂面とを持つ電気式アクチュエーター(電気機械変換素子)と、この電気式アクチュエーターの頂面に接合された弾性駆動部材(振動摩擦部)とを有する。弾性駆動部材は、電気式アクチュエーターの頂面に接合されてこれと一緒に往復移動する固定部と、この固定部から電気式アクチュエーターの外側まで延び、伝導部分を持つ弾性部とを有する。弾性駆動部材の弾性部の伝導部材内には、受動部材(移動部材)が取り付けられている。弾性駆動部材の弾性部には弾性部材が取り付けられている。この弾性部材は、弾性駆動部材の弾性部の伝導部分に摩擦係合するように受動部材を押し付ける。これにより、受動部材(移動部材)が弾性駆動部材(振動摩擦部)とともに移動する。
特許第3218851号公報 特開2006−304529号公報 特許第3141714号公報 特開2002−119074号公報 特開2006−141133号公報 特開2006−303955号公報 特開2007−202377号公報
前述した特許文献1〜6に開示された駆動装置においては、いずれも、電気機械変換素子の端面と振動摩擦部(振動部材)の端面とが、それらの中心軸線が互いに一致した(同心の)状態で、直接結合されている。振動摩擦部は、電気機械変換素子の伸縮により発生する振動(往復変位)を移動体(移動部材)に効率良く伝達させる必要がある。そのため、特許文献1〜6に開示された駆動装置では、電気機械変換素子の中心軸線と振動摩擦部の中心軸線とが同一直線上にある。その結果、電気機械変換素子および振動摩擦部の一方の位置が決まると、もう片方の位置も決まってしまう。このような従来の駆動装置では、その小型化に伴って、製品スペース(空きスペース)を有効的に活用できないという問題がある。
特許文献7に開示された電気機械アクチュエーター構造では、電気式アクチュエーター(電気機械変換素子)の端面と弾性駆動部材(振動摩擦部)の固定部の端面とが、直接結合(接合)されている。前述したように、弾性駆動部材(振動摩擦部)は、電気式アクチュエーター(電気機械変換素子)の伸縮により発生する振動(往復変位)を受動部材(移動部材)に効率良く伝達される必要がある。しかしながら、特許文献7に開示された電気機械アクチュエーター構造では、電気式アクチュエーター(電気機械変換素子)の中心軸線と弾性駆動部材(振動摩擦部)の中心軸線とが互いにずれているので、そのような効率の良い伝達が不可能となる。
したがって、本発明の解決課題は、電気機械変換素子の往復変位を移動部材に効率的に伝達させ、かつ製品スペース(空きスペース)を有効的に活用することが可能な、駆動装置を提供することにある。
本発明の他の目的は、説明が進むにつれて明らかになるだろう。
本発明によれば、伸縮方向で互いに対向する一対の端面(13a,13b)を持つ電気機械変換素子(13)と、この電気機械変換素子の一対の端面の一方(13b)に取り付けられた振動摩擦部(14)と、この振動摩擦部と摩擦結合される移動部材(121,122;172,15b)とを備え、電気機械変換素子の伸縮方向に移動部材が移動可能な駆動装置(10;10A;10B;10C)において、電気機械変換素子(13)の一対の端面の一方(13b)と振動摩擦部(14)の端面(14a)との間に配置された振動伝達部材(19;19A)を備え、電気機械変換素子(13)の中心軸線(13)と振動摩擦部(14)の中心軸線(14)とが同一直線上にないことを特徴とする駆動装置が得られる。
上記本発明による駆動装置において、駆動装置は、筒状の被駆動部材(17)をその中心軸(O)に沿って移動させるためのものであり、移動部材(121,122;172,15b)は、被駆動部材に取り付けられ、かつ被駆動部材の外周に近接して配置されていてよい。振動伝達部材(19)は、例えば、電気機械変換素子(13)に対して、被駆動部材(17)の中心軸(O)に近づく内側に延在していてよい。この場合、振動摩擦部(14)の中心軸線(14)が電気機械変換素子(13)の中心軸線(13)よりも内側にずれる。逆に、振動伝達部材(19)は、電気機械変換素子(13)に対して、被駆動部材(17)の中心軸(O)から離れる外側に延在していてよい。この場合、振動摩擦部(14)の中心軸線(14O)が電気機械変換素子(13)の中心軸線(13O)よりも外側にずれる。振動摩擦部(14)は円柱状をしていてよく、移動部材は、振動摩擦部(14)を両側から挟持する第1の移動体(121;172)及び第2の移動体(122;15b)から構成されてよい。第1の移動体(121;172)はV字型構造をしていてよく、第2の移動体(122;15b)は平面構造をしていてよい。第1の移動体(121;172)のV字型構造の角度は、30度から180度未満の範囲にあることが好ましい。
上記駆動装置(10;10A;10B;10C)は、振動摩擦部と第1の移動体との間と、振動摩擦部と第2の移動体との間と、に摩擦力を発生させる摩擦力付加手段(15)を更に備えることが好ましい。摩擦力付加手段は、被駆動部材(17)に第1の端部(15a)が取り付けられ、第2の端部(15b)に第2の移動体が取り付けられた付勢部材(15)から構成されてよい。この場合、付勢部材(15)は、振動摩擦部(14)をその両側から第1の移動体(121;172)及び第2の移動体(122;15b)により挟みながら押えるための押付力を発生する。
上記駆動装置(10;10A)において、被駆動部材(17)は、筒状部(170)と、この筒状部から外側に突出して第1の移動体(122)を保持する第1の突出部(172)と、この第1の突出部とは異なる位置で筒状部から外側に突出する第2の突出部(174)とを備えてよい。この場合、付勢部材は、第1の端部(15a)が第2の突出部(174)に固着され、第2の端部(15b)に第2の移動体(122)が取り付けられたバネ(15)から構成されてよい。
上記駆動装置(10B)において、被駆動部材(17)は、筒状部(170)と、この筒状部から外側に突出して第1の移動体を兼ねる第1の突出部(172)と、この第1の突出部とは異なる位置で筒状部から外側に突出する第2の突出部(174)とを備えてよい。この場合、付勢部材は、第1の端部(15a)が第2の突出部に固着され、第2の端部(15b)が第2の移動体を兼ねるバネ(15)から構成されてよい。
また、上記駆動装置(10C)において、振動伝達部材(19A)は、電気機械変換素子(13)の一対の端面の一方(13b)が遊嵌される第1の窪み(191)と、振動摩擦部(14)の端面(14a)が遊嵌される第2の窪み(192)と、を持つことが好ましい。
尚、上記括弧内の参照符号は、理解を容易にするために付したものであり、一例に過ぎず、これらに限定されないのは勿論である。
本発明では、電気機械変換素子の一対の端面の一方と振動摩擦部の端面との間に振動伝達部材を配置したので、電気機械変換素子の往復変位を移動部材に効率的に伝達させることができる。しかも、電気機械変換素子の中心軸線と振動摩擦部の中心軸線とが同一直線上にないので、製品スペース(空きスペース)を有効的に活用することができる。
以下、図面を参照して、本発明の実施の形態について説明する。
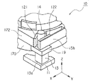
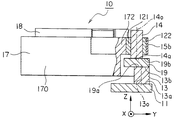
図1乃至図3を参照して、本発明に係る第1の実施の形態による駆動装置10について説明する。図1は駆動装置10を示す斜視図である。図2は図1に示した駆動装置10の主要部を拡大して示す部分拡大斜視図である。図3は駆動装置10の一部を断面で示した部分断面正面図である。ここでは、図1乃至図3に示されるように、直交座標系(X,Y,Z)を使用している。図1乃至図3に図示した状態では、直交座標系(X,Y,Z)において、X軸は前後方向(奥行方向)であり、Y軸は左右方向(幅方向)であり、Z軸は上下方向(高さ方向)である。
図示の駆動装置10は、例えば、オートフォーカスレンズ駆動ユニットのレンズ駆動部として使用される。その場合、図1乃至図3に示す例においては、上下方向Zがレンズの光軸O方向である。
尚、オートフォーカスレンズ駆動ユニットは、レンズ可動部とレンズ駆動部とから構成される。レンズ駆動部は、レンズ可動部を光軸O方向に摺動可能に支持しながら、後述するようにレンズ可動部を駆動する。
図示の駆動装置10は、図示しない筐体内に配置される。筐体は、カップ状の上側カバー(図示せず)と下側ベース(図示せず)とを含む。筐体の下側ベース上に静止部材(錘)11が搭載される。上側カバーの上面は、レンズの光軸Oを中心軸とした円筒部(図示せず)を有する。一方、図示はしないが、下側ベースの中央部には、基板に配置された撮像素子が搭載される。この撮像素子は、可動レンズ(後述する)により結像された被写体像を撮像して電気信号に変換する。撮像素子は、例えば、CCD(charge coupled device)型イメージセンサ、CMOS(complementary metal oxide semiconductor)型イメージセンサ等により構成される。
筐体内には、被駆動部材としての可動鏡筒(レンズホルダ)17が収容されている。被駆動部材17の中心軸は、レンズの光軸Oに一致している。可動鏡筒(レンズホルダ、レンズ支持体)17は、レンズバレル(レンズアセンブリ)18を保持するための円筒状の筒状部170を有する。レンズバレル(レンズアセンブリ)18はオートフォーカスレンズAFLを保持する。レンズホルダ17の筒状部170の内周壁には雌ネジ(図示せず)が切られている。一方、レンズバレル18の外周壁には、上記雌ネジに螺合される雄ネジ(図示)が切られている。従って、レンズバレル18をレンズホルダ17に装着するには、レンズバレル18をレンズホルダ17の筒状部170に対して光軸O周りに回転して光軸O方向に沿って螺合することにより、レンズバレル18をレンズホルダ17内に収容し、接着剤などによって互いに接合する。
レンズホルダ17は、光軸Oに対して、筒状部170の上前端で左右方向Yの右側へ半径方向外側に突出する第1の突出部172を有する。第1の突出部172は略三角形をしている。この第1の突出部172の後壁には、第1の移動体(移動軸)121が固着されている。図示の例では、第1の移動体121はV字型構造をしている。
レンズホルダ17は、第1の突出部172とは異なる位置で、筒状部170の上後端で左右方向Yの左側へ半径方向外側に突出する第2の突出部174を有する。第1の突出部172と同様に、第2の突出部174も略三角形をしている。第2の突出部174は、その右端で前後方向Xに延在する右端辺をもつ。この第2の突出部174の右端辺には、バネ15の第1の端部(後端部)15aが接着剤などで固着されている。バネ15は、第2の突出部174の右端辺に沿って、この第1の端部(後端部)15aから前後方向Xの前側に第2の端部(前端部)15bまで延在している。このバネ15の第2の端部(前端部)15bには、板状の第2の移動体(移動軸)122が取り付けられている。図示の例では、第2の移動体122は、平面構造をしている。
この第2の移動体(移動軸)122は、バネ15によって、第1の移動体(移動軸)121に近づく方向(左右方向Yの左方向)に付勢されている。第1の移動体(移動軸)121と第2の移動体(移動軸)122との間に、後述する円柱状の振動摩擦部(振動部材)14が挟持されている。図示の例では、第1の移動体121と第2の移動体122とは、同じ材料で構成されている。第1の移動体121と第2の移動体122との組み合わせは、移動部材として働く。
可動鏡筒(レンズホルダ)17と、レンズバレル(レンズアセンブリ)18と、バネ15と、第1及び第2の移動体121、122との組み合わせによって、オートフォーカスレンズ駆動ユニットのレンズ可動部が構成される。図示しない案内部材により、レンズ可動部は、筐体に対して光軸O方向にのみ直線移動可能である。
次に、オートフォーカスレンズ駆動ユニットのレンズ駆動部について説明する。レンズ駆動部(駆動装置)10は、電気機械変換素子として働く積層圧電素子13と、上記静止部材(錘)11と、上記振動摩擦部(振動部材)14と、振動伝達部材19とから構成される。
積層圧電素子13は、光軸O方向に伸縮する。積層圧電素子13は、光軸O方向に複数の圧電層を積層した構造を有する。図3に示されるように、積層圧電素子13は、伸縮方向で互いに対向する第1の端面(下端面)13aと第2の端面(上端面)13bとを持つ。静止部材(錘)11は、積層圧電素子13の第1の端面(下端面)13aに接着剤等で結合される。積層圧電素子13と静止部材11との組合せは、圧電ユニットと呼ばれる。
振動摩擦部(振動部材)14は、振動伝達部材19を介して、積層圧電素子13の第2の端面(上端面)13bに接着剤等で取り付けられている。すなわち、
積層圧電素子13の上端面13bは、接着剤(接着樹脂)で振動伝達部材19の下端面19aに結合(接合)され、振動摩擦部(振動部材)14の下端面14aは、接着剤(接着樹脂)で振動伝達部材19の上端面19bに結合(接合)されている。
このように本実施の形態では、振動摩擦部(振動部材)14と積層圧電素子(電気機械変換素子)13との間に、振動伝達部材19を追加して(介在させて)いるので、振動摩擦部(振動部材)14は、単に、第1及び第2の移動体121、122との摺動性を考慮するだけの構成であればよい。そのため、振動摩擦部(振動部材)14は、電気機械変換素子(積層圧電素子)13との樹脂接着性を考慮して、その材料を選定する必要がない。これにより、振動摩擦部(振動部材)14は、その材料選定の自由度のみならず、その形状の自由度も広がる。
図示の例では、振動摩擦部(振動部材)14の材料としては、表面にフッ素潤滑めっきを施したアルミニウムを使用している。一方、振動伝達部材19の材料としては、電気機械変換素子(積層圧電素子)19の振動を効率よく振動摩擦部(振動部材)14に伝達させるため、振動伝達速度及び剛性の高い金属や線維強化樹脂複合体を使用している。線維強化樹脂複合体は、例えば、炭素繊維強化プラスチック(CFRP)であって良い。
また、振動伝達部材19を追加することによって、その材質、形状を他の部材と合わせこむことにより、バネ15の共振現象を抑制することができる。また、バネ15の寸法ばらつきによって生じる製品ごとの性能ばらつきを、形状が比較的簡単な振動伝達部材19で補うことが可能である。換言すれば、振動伝達部材19が簡単な形状で作製できるので、駆動装置10の製品ごとの性能ばらつきを少なくすることができる。
さらに、振動伝達部材19を追加することによって、電気機械変換素子(積層圧電素子)13の伸縮により発生する振動(往復変位)を移動部材(121,122)に効率良く伝達させることが可能となる。その結果、移動部材(121,122)の移動(変位)をスムーズに行わせることができる。
図示の振動伝達部材19は、電気機械変換素子(積層圧電素子)13よりも内側(すなわち、左右方向Yの左側でかつ前後方向Xの奥側(後側))に延出した直方体形状をしている。その結果、図3に示されるように、電気機械変換素子(積層圧電素子)13の中心軸線13と振動摩擦部14の中心軸線14とを互いにずらすことができる。換言すれば、電気機械変換素子(積層圧電素子)13の中心軸線13と振動摩擦部14の中心軸線14とが同一直線上にない。
図示の例では、振動摩擦部14の中心軸線14が、電気機械変換素子(積層圧電素子)13の中心軸線13よりも内側(すなわち、レンズの光軸O方向に近づく側)にずれている。
上述したように、振動伝達部材19を追加する事で、図4に示されるように、振動摩擦部4は振動伝達部材19の形状の範囲内で配置が可能となる。その結果、図4に示されるように、電気機械変換素子13の中心軸線13に対して振動摩擦部14の中心軸線14を内側にずらす事で、電気機械変換素子13及び振動摩擦部14の周辺に空きスペースES、ESを確保することができる。それにより、駆動装置10の小スペース化が可能である。すなわち、空きスペースESを低減することが可能となる。尚、図4の右側で上下方向に延在する線は、駆動装置10の外形制限OLを示している。
第1及び第2の移動体121、122は、この振動摩擦部(振動部材)14と摩擦結合される。第1の移動体121はV字型構造をしており、第2の移動体は平面構造をしている。
前述したように、レンズ移動部は、振動摩擦部(振動部材)14を、第1及び第2の移動体121、122で挟み込むためのバネ15を備える。すなわち、バネ15は、その第1の端部15aが第2の突出板174に固着されて、その第2の端部15bに取り付けられた第2の移動体122で、振動摩擦部(振動部材)14を第1の移動体121に押し付ける押付力を発生する。換言すれば、バネ15は、第2の移動体122を振動摩擦部(振動部材)14に付勢して、振動摩擦部(振動部材)14を第1及び第2の移動体121、122で挟持することにより、振動摩擦部(振動部材)14と第1及び第2の移動体121、122との間に摩擦力を付加する摩擦力付加手段(付勢手段)として作用する。
このように、振動摩擦部(振動部材)14が、第1及び第2の移動体121、122よって挟み込まれているので、レンズ可動部の位置を規制できる。
また、図示の実施の形態では、第1の移動体121と第2の移動体122とが同じ材料で構成されている。そのため、第1の移動体121と振動摩擦部14との間の第1の摩擦係数と、第2の移動体122と振動摩擦部14との間の第2の摩擦係数とを、実質的に等しくすることができる。これにより、レンズ可動部を安定して直線駆動することができる。この結果、積層圧電素子(電気機械変換素子)13の伸縮で発生する振動運動を、効率よく第1及び第2の移動体121、122に伝達することが可能となる。
また、駆動装置10は、バネ15の有効長を長く設計することが可能である。その為、たとえバネ15の寸法や組立寸法がばらついても、荷重への影響を少なくすることができる。その結果、製品ごとの性能ばらつきを少なくして駆動装置10を製造することができる。このように、バネ15の有効長を長く設計できるので、バネ15の材料としては、金属のみでなく、樹脂成型品であっても、十分な弾性効果を発揮することができる。
V字型構造の第1の移動体121による振動摩擦部14との2直線接触と、平面構造の第2の移動体122による振動摩擦部14との1直線接触とにより、摩擦結合部の接触状態が安定し、再現性の良い摩擦駆動が得られる。尚、この第1の移動体121のV字型構造の角度は、30度から180度未満の範囲であることが望ましい。
また、第1及び第2の移動体121、122をバネ15で振動摩擦部14に押し付けている。これにより、振動摩擦部14に、第1及び第2の移動部121、122を押し付けることで、3部品(第1及び第2の移動部121、122、振動摩擦部14)の安定した3線接触を可能としている。
また、バネ15を、振動摩擦部13ではなく、レンズ可動部側に取り付けている。このように、振動摩擦部13とバネ15とを分離したことにより、バネ15の共振現象が起きるのを防止できる。したがって、振動摩擦部13とバネ15が位相反転することがなくなり、レンズ移動部を効率よく移動させることが可能となる。また、レンズ移動部の進行方向も、意図した方向へ進むように制御することが可能となる。
レンズ駆動部とレンズ移動部とは、図1に示されるように、光軸Oに対して並置されている。したがって、駆動装置10を低背化することができる。
次に、図5を参照して、本発明の第1の実施の形態に係る駆動装置の駆動方法について説明する。図5(A)および図5(B)は、それぞれ、駆動回路(図示せず)により積層圧電素子13に印加される電圧の変化と、積層圧電素子13の変位を示すものである。図5(C)は、振動伝達部材19が無い場合(従来の駆動装置)の移動部材(121,122)の変位を示す図であり、図5(D)は、振動電圧部材19が有る場合(本発明に係る駆動装置10)の移動部材(121,122)の変位を示す図である。図5(A)〜図5(D)において、横軸は時間[μsec]を示している。図5(A)の縦軸は電圧[V]を示している。図5(B)〜図8(D)において、縦軸は変位[nm]を示している。
図5(A)に示すように、積層圧電素子13に負電圧と正電圧との繰返し波形から成る矩形波電圧を印加する。図示の例では、負電圧は−2.8Vであり、正電圧は+2.8Vである。矩形波電圧の駆動周波数は96kHzであり、デューティ比(図示の例では、負電圧のパルス幅と正電圧のパルス幅との比)は30/70である。尚、図示の例は、レンズホルダ17(レンズバレル18)を光軸O方向(上下方向Z)に沿って下方向へ連続して移動させる例を示している。
このような状況では、図5(B)に示すように、積層圧電素子13は、パルス幅の短い負電圧に対応した急激な変位(伸び)と、パルス幅の長い正電圧に対応した穏やかな変位(縮み)とが交互に生じる。
すなわち、積層圧電素子13に矩形波電圧を印加して(図5(A))、積層圧電素子13に対して鋸歯波状の往復変位(伸縮)を生じ(図5(B))させる。
図5に加えて図1をも参照して、駆動装置10の動作について説明する。先ず、レンズ可動部を上下方向Zに沿って下方向に移動する場合の動作について説明する。
先ず、図5(A)に示すように、積層圧電素子13にパルス幅の短い負電圧を印加すると、図5(B)に示すように、積層圧電素子13は急速に厚み方向の伸び変位を生じる。その結果、振動摩擦部14は、振動伝達部材19を介して光軸O方向(上下方向Z)に沿って上方向に急速に移動する。このとき、レンズ可動部(第1及び第2の移動体121、122)は、その慣性力により、振動摩擦部14と第1及び第2の移動体121、122との間の摩擦力に打ち勝って実質的にその位置にとどまるので、移動しない。
次に、図5(A)に示すように、積層圧電素子13にパルス幅の長い正電圧を印加すると、図5(B)に示すように、積層圧電素子13は緩やかに厚み方向の縮み変位を生じる。その結果、振動摩擦部14は、振動電圧部材19を介して光軸O方向(上下方向Z)に沿って下方向に緩やかに移動する。このとき、振動摩擦部14と第1及び第2の移動体121、122とはそれらの間の接触面に発生する摩擦力により結合しているので、レンズ可動部(第1及び第2の移動体121、122)は振動摩擦部14と共に実質的に光軸O方向(上下方向Z)に沿って下方向に移動する。
このように、積層圧電素子13にパルス幅の短い負電圧とパルス幅の長い正電圧とを交互に印加して、積層圧電素子13に伸び変位と縮み変位とを交互に生じさせることにより、レンズホルダ17(レンズバレル18)を光軸O方向(上下方向Z)に沿って下方向へ連続して移動させることができる。
ここで、振動伝達部材19が無い従来の駆動装置では、積層圧電素子(電気機械変換素子)13の往復変位(振動)が、直接、振動摩擦部14に伝達される。その為、積層圧電素子(電気機械変換素子)13の伸縮により発生する振動(往復変位)を移動部材(121、122)に効率よく伝達させることは困難である。その結果、図5(C)に示されるように、レンズ可動部(移動部材)をスムーズに移動させることができない。
一方、振動伝達部材19が有る本実施の形態に係る駆動装置10では、積層圧電素子(電気機械変換素子)13の往復変位(振動)が、振動伝達部材19を介して、振動摩擦部14に伝達される。その為、積層圧電素子(電気機械変換素子)13の伸縮により発生する振動(往復変位)を移動部材(121、122)に効率よく伝達させることができる。その結果、図5(D)に示されるように、レンズ可動部(移動部材)をスムーズに移動させることができる。
上述したように、電気機械変換素子13を鋸歯状波に往復変位させ、この電気機械変換素子13の往復変位を振動伝達部材19を介して振動摩擦部14に伝達させることによって、移動部材(121,122)を所定の方向(上記の例では、下方向)にスムーズにリニア駆動することができる。
尚、レンズ可動部を光軸O方向(上下方向Z)に沿って上方向に移動させるには、上記とは逆に、積層圧電素子13にパルス幅の長い負電圧と、パルス幅の短い正電圧とを交互に印加することによって、達成することができる。
尚、上述の実施の形態では、矩形波電圧のデューティ比(負電圧のパルス幅と正電圧のパルス幅との比又は正電圧のパルス幅と負電圧のパルス幅との比)が30/70の場合を例に挙げて説明している。しかしながら、上記デューティ比が25/75〜35/65の範囲にあれば、レンズ可動部(移動部材)をスムーズに移動させることができる。
また、上述の実施の形態では、電気機械変換素子13に矩形波電圧を印加して、電気機械変換素子13を鋸歯状波に往復変位させているが、電気機械変換素子13を鋸歯状波に往復変位させる方法はこれに限定されないのは勿論である。
さらに、上述の実施の形態では、移動部材(121,122)を、振動摩擦部14に対して、滑らない状態(ノンスリップ状態)と滑る状態(スリップ状態)とを繰り返すことによって、移動部材(121,122)を所定の方向にリニア移動させている。換言すれば、電機機械変換素子13の伸長時と縮小時の一方において、振動摩擦部14と移動部材(121、122)との間に滑りを生じさせ、伸長時と縮小時の他方において、振動摩擦部14と移動部材(121、122)との間に滑りを生じさせないように、駆動装置10を駆動している。このような駆動方法は、この技術分野において、ノンスリップ・スリップ駆動と呼ばれる。
しかしながら、移動部材(121,122)を、振動摩擦部14に対して、滑る状態(スリップ状態)を繰り返すことによって、移動部材(121,122)を所定の方向にリニア移動させてもよい。換言すれば、電機機械変換素子13の伸長時と縮小時のどちらにおいても、振動摩擦部14と移動部材(121、122)との間に滑りを生じさせるように、駆動装置10を駆動してもよい。このような駆動方法は、この技術分野において、スリップ・スリップ駆動と呼ばれる。
次に、積層圧電素子13について説明する。積層圧電素子13は直方体の形状をしており、その素子サイズは、0.9[mm]×0.9[mm]×1.5[mm]である。圧電材料としてPZTのような低Qm材を使用している。厚さ20[μm]の圧電材料と厚さ2[μm]の内部電極とを交互に櫛形に50層積層することによって、積層圧電素子13を製造する。そして、積層圧電素子13の有効内部電極サイズは、0.6[mm]×0.6[mm]である。換言すれば、積層圧電素子13の有効内部電極の外側に位置する周辺部には、幅0.15[mm]のリング状の不感帯部分(クリアランス)が存在する。
上述した第1の実施の形態に係る駆動装置10では、電気機械変換素子13の中心軸線13に対して振動摩擦部14の中心軸線14を内側にずらしているが、図6に示される本発明の第2の実施の形態に係る駆動装置10Aのように、電気機械変換素子13の中心軸線13に対して振動摩擦部14の中心軸線14を外側にずらしてもよい。
図6に示されるように、振動伝達部材19を追加して、電気機械変換素子13の中心軸線13に対して振動摩擦部14の中心軸線14を外側にずらすことで、電気機械変換素子13及び振動摩擦部14の周辺の空きスペースES、ESを自由に変更することができる。この結果、空きスペースESに他部品を配置するなどの有効活用が可能で、設計自由度を向上させることができる。
図7を参照して、本発明の第3の実施の形態による駆動装置10Bについて説明する。図7は駆動装置10Bの主要部を拡大して示す部分拡大断面正面図である。図示の駆動装置10Bは、第1及び第2の移動体121、122が省略されている点を除いて、図1乃至図3に図示した駆動装置10と同様の構成を有する。
すなわち、駆動装置10Bにおいては、第1の突出部172が第1の移動体の役目をも果たしており、バネ15の第2の端部15bが第2の移動体の役目をも果たしている。換言すれば、図1乃至図3に図示した駆動装置10における第1の移動体121と第1の突出部172とが、図7に図示した駆動装置10Bでは1つの第1の突出板172になっており、図1乃至図3に図示した駆動装置10における第2の移動体122とバネ15とが、図7に図示した駆動装置10Bでは1つのバネ15になっている。
このような構成の駆動装置10Bでは、図1乃至図3に図示した駆動装置10と比較して、部品点数を削減することができる。
尚、図7に図示した駆動装置10Bでは、第1の移動体121と第2の移動体122との両方を省略しているが、第1の移動体121と第2の移動体122のどちらか一方のみを省略しても良い。
図8を参照して、本発明の第4の実施の形態による駆動装置10Cについて説明する。図8は、駆動装置10Cに使用される振動伝達部材19Aを、振動摩擦部14と積層圧電素子(電気機械変換素子)13と共に示す正面断面図である。
図示の駆動装置10Cは、振動伝達部材19が後述するように振動伝達部材19Aに変形されている点を除いて、図1乃至図3に示した駆動装置10と同様の構成を有する。
振動伝達部材19Aは、その水平面における縦横の幅(寸法)が、図1乃至図3に示した振動伝達部材19よりも広くなっている。
そして、図8に示されるように、振動伝達部材19Aは、積層圧電素子(電気機械変換素子)13の上端面13bとの対向面に第1の凹部(窪み)191が形成され、振動摩擦部14の下端面14aとの対向面に第2の凹部(窪み)192が形成されている。従って、第1の凹部191には積層圧電素子(電気機械変換素子)13が遊嵌され、第2の凹部192には振動摩擦部14の下端面14aが遊嵌されている。
第1の凹部(窪み)191は、積層圧電素子(電気機械変換素子)13の上端面13bと振動伝達部材19Aの下端面19aとの間の接着剤(接着樹脂)20の塗布領域を明確にするためのものである。第2の凹部(窪み)192は、振動摩擦部14の下端面14aと振動伝達部材19Aの上端面19bとの間の接着剤(接着樹脂)20の塗布領域を明確にするためのものである。これにより、駆動装置10Cの組み立て性と強度を向上させることができる。
また、図8に示されるように、振動伝達部材19Aの下端面19aと積層圧電素子(電気機械変換素子)13の上端面13bとを接着剤(接着樹脂)20で接合(接着)する際、その接着剤(接着樹脂)20は振動伝達部材19Aの第1の凹部(窪み)191の内側壁側に押しやられる。同様に、振動伝達部材19Aの上端面19bと振動摩擦部14の下端面14aとを接着剤(接着樹脂)20で接合(接着)する場合も、その接着剤(接着樹脂)20は振動伝達部材19Aの第2の凹部(窪み)192の内側壁側に押しやられる。
その結果、図8に示されるように、積層圧電素子(電気機械変換素子)13と振動伝達部材19Aと振動摩擦部14とを、それらの間に接着樹脂層が無い状態で、取り付けることができる。その為、積層圧電素子(電気機械変換素子)13の伸縮により発生する振動を、振動伝達部材19Aおよび振動摩擦部14を介して、効率良く、第1及び第2の移動体(移動部材)121、122まで伝達することが可能となる。
尚、図8に図示した駆動装置10Cでは、振動伝達部材19Aの下端面19aと上端面19bの両面に凹部(窪み)191、192を形成しているが、振動伝達部材19Aの下端面19aと上端面19bのどちらか一方にのみ凹部(窪み)を形成しても良い。
以上、本発明についてその好ましい実施の形態によって説明してきたが、本発明の精神を逸脱しない範囲内で、種々の変形が当業者によって可能であるのは明らかである。例えば、上述した実施の形態では、第1の移動体はV字型構造をしており、第2の移動体は平面構造をしているが、第1及び第2の移動体の形状はこれらに限定されないのは勿論である。また、上述した実施の形態では、振動摩擦部が円柱状(棒状)をしているが、複雑な形状(異形)をしていてもよい。
本発明の第1の実施の形態による駆動装置を示す斜視図である。 図1に示した駆動装置の主要部を拡大して示す部分拡大斜視図である。 図1に示した駆動装置の一部を断面で示した部分断面正面図である。 図1乃至図3に示した駆動装置の作用効果を説明するための部分拡大正面断面図である。 図1乃至図3に示した駆動装置の駆動方法を説明するための波形図である。 本発明の第2の実施の形態による駆動装置の主要部を拡大して示す部分拡大正面断面図である。 本発明の第3の実施の形態による駆動装置の主要部を拡大して示す部分拡大正面断面図である。 本発明の第4の実施の形態による駆動装置に使用される振動伝達部材を、振動摩擦部と積層圧電素子(電気機械変換素子)と共に示す正面断面図である。
符号の説明
10、10A、10B、10C 駆動装置
11 静止部材
121 第1の移動体
122 第2の移動体
13 積層圧電素子(電気機械変換素子)
14 振動摩擦部
15 バネ(摩擦力付加手段、付勢手段)
15a 第1の端部
15b 第2の端部
17 可動鏡筒(レンズホルダ、レンズ支持体、被駆動部材)
170 筒状部
172 第1の突出部
174 第2の突出部
18 レンズバレル(レンズアセンブリ)
19、19A 振動伝達部材
191、192 凹部(窪み)
O レンズの光軸(被駆動部材の中心軸)
AFL オートフォーカスレンズ

Claims (12)

  1. 伸縮方向で互いに対向する一対の端面を持つ電気機械変換素子と、該電気機械変換素子の前記一対の端面の一方に取り付けられた振動摩擦部と、該振動摩擦部と摩擦結合される移動部材とを備え、前記電気機械変換素子の伸縮方向に前記移動部材が移動可能な駆動装置において、
    前記電気機械変換素子の前記一対の端面の一方と前記振動摩擦部の端面との間に配置された振動伝達部材を備え、
    前記電気機械変換素子の中心軸線と前記振動摩擦部の中心軸線とが同一直線上にないことを特徴とする駆動装置。
  2. 前記駆動装置は、筒状の被駆動部材をその中心軸に沿って移動させるためのものであり、
    前記移動部材は、前記被駆動部材に取り付けられ、かつ前記被駆動部材の外周に近接して配置されている、請求項1に記載の駆動装置。
  3. 前記振動伝達部材は、前記電気機械変換素子に対して、前記被駆動部材の中心軸に近づく内側に延在しており、
    前記振動摩擦部の中心軸線が前記電気機械変換素子の中心軸線よりも内側にずれている、請求項2に記載の駆動装置。
  4. 前記振動伝達部材は、前記電気機械変換素子に対して、前記被駆動部材の中心軸から離れる外側に延在しており、
    前記振動摩擦部の中心軸線が前記電気機械変換素子の中心軸線よりも外側にずれている、請求項2に記載の駆動装置。
  5. 前記振動摩擦部は円柱状をしており、
    前記移動部材は、前記振動摩擦部を両側から挟持する第1の移動体及び第2の移動体から構成されている、請求項2乃至4のいずれか1つに記載の駆動装置。
  6. 前記第1の移動体がV字型構造をしており、
    前記第2の移動体が平面構造をしている、
    請求項5に記載の駆動装置。
  7. 前記第1の移動体のV字型構造の角度は、30度から180度未満の範囲にある、請求項6に記載の駆動装置。
  8. 前記振動摩擦部と前記第1の移動体との間と、前記振動摩擦部と前記第2の移動体との間と、に摩擦力を発生させる摩擦力付加手段を更に備える請求項5乃至7のいずれか1つに記載の駆動装置。
  9. 前記摩擦力付加手段は、前記被駆動部材に第1の端部が取り付けられ、第2の端部に前記第2の移動体が取り付けられた付勢部材から構成され、該付勢部材は、前記振動摩擦部をその両側から前記第1の移動体及び前記第2の移動体により挟みながら押えるための押付力を発生する、請求項8に記載の駆動装置。
  10. 前記被駆動部材は、筒状部と、該筒状部から外側に突出して前記第1の移動体を保持する第1の突出部と、該第1の突出部とは異なる位置で前記筒状部から外側に突出する第2の突出部とを備え、
    前記付勢部材は、前記第1の端部が前記第2の突出部に固着され、前記第2の端部に前記第2の移動体が取り付けられたバネから構成される請求項9に記載の駆動装置。
  11. 前記被駆動部材は、筒状部と、該筒状部から外側に突出して前記第1の移動体を兼ねる第1の突出部と、該第1の突出部とは異なる位置で前記筒状部から外側に突出する第2の突出部とを備え、
    前記付勢部材は、前記第1の端部が前記第2の突出部に固着され、前記第2の端部が前記第2の移動体を兼ねるバネから構成される請求項9に記載の駆動装置。
  12. 前記振動伝達部材は、
    前記電気機械変換素子の前記一対の端面の一方が遊嵌される第1の窪みと、
    前記振動摩擦部の端面が遊嵌される第2の窪みと、
    を持つ、請求項1乃至11のいずれか1つに記載の駆動装置。
JP2008223561A 2008-09-01 2008-09-01 駆動装置 Expired - Fee Related JP5316756B2 (ja)

Priority Applications (5)

Application Number Priority Date Filing Date Title
JP2008223561A JP5316756B2 (ja) 2008-09-01 2008-09-01 駆動装置
TW098127551A TW201014149A (en) 2008-09-01 2009-08-17 Drive device
CN200980133782.3A CN102138279B (zh) 2008-09-01 2009-08-25 驱动装置
US13/061,573 US8466603B2 (en) 2008-09-01 2009-08-25 Driving apparatus
PCT/JP2009/064791 WO2010024252A1 (ja) 2008-09-01 2009-08-25 駆動装置

Applications Claiming Priority (1)

Application Number Priority Date Filing Date Title
JP2008223561A JP5316756B2 (ja) 2008-09-01 2008-09-01 駆動装置

Publications (2)

Publication Number Publication Date
JP2010063206A true JP2010063206A (ja) 2010-03-18
JP5316756B2 JP5316756B2 (ja) 2013-10-16

Family

ID=41721419

Family Applications (1)

Application Number Title Priority Date Filing Date
JP2008223561A Expired - Fee Related JP5316756B2 (ja) 2008-09-01 2008-09-01 駆動装置

Country Status (5)

Country Link
US (1) US8466603B2 (ja)
JP (1) JP5316756B2 (ja)
CN (1) CN102138279B (ja)
TW (1) TW201014149A (ja)
WO (1) WO2010024252A1 (ja)

Cited By (1)

* Cited by examiner, † Cited by third party
Publication number Priority date Publication date Assignee Title
US8903231B2 (en) * 2011-06-21 2014-12-02 Samsung Electronics Co., Ltd. Image stabilizing apparatus

Families Citing this family (6)

* Cited by examiner, † Cited by third party
Publication number Priority date Publication date Assignee Title
US8824071B2 (en) * 2010-09-15 2014-09-02 Nikon Corporation Lens barrel and camera
JP2015080286A (ja) * 2013-10-15 2015-04-23 ソニー株式会社 駆動装置および撮像装置
DE102014014997B4 (de) * 2014-10-09 2018-05-17 Attocube Systems Ag Haft-Gleit-Antrieb, insbesondere piezo-aktuierter Trägheitsantrieb
CN112987223A (zh) * 2021-03-19 2021-06-18 陆圣 镜头驱动装置
US12287527B2 (en) * 2021-03-29 2025-04-29 Tdk Taiwan Corp. Optical element driving mechanism
CN113189736A (zh) * 2021-06-11 2021-07-30 河南皓泽电子股份有限公司 镜头驱动机构

Citations (4)

* Cited by examiner, † Cited by third party
Publication number Priority date Publication date Assignee Title
JPH02261073A (ja) * 1989-03-29 1990-10-23 Sony Corp 超音波モータ
JPH05191987A (ja) * 1992-01-13 1993-07-30 Ricoh Co Ltd 超音波駆動装置
JP2002119074A (ja) * 2000-10-04 2002-04-19 Minolta Co Ltd 電気機械変換素子を使用した駆動装置
JP2008197473A (ja) * 2007-02-14 2008-08-28 Mitsumi Electric Co Ltd リニアアクチュエータ

Family Cites Families (11)

* Cited by examiner, † Cited by third party
Publication number Priority date Publication date Assignee Title
JP3141714B2 (ja) 1994-11-21 2001-03-05 ミノルタ株式会社 電気機械変換素子を使用した駆動装置
JP3218851B2 (ja) 1994-03-29 2001-10-15 ミノルタ株式会社 電気−機械変換素子を使用した駆動装置の駆動方法
JP3801424B2 (ja) 2000-06-27 2006-07-26 トッパン・フォームズ株式会社 卓上カレンダー
JP4729904B2 (ja) 2004-11-12 2011-07-20 コニカミノルタオプト株式会社 駆動装置
JP2006303955A (ja) 2005-04-21 2006-11-02 Konica Minolta Opto Inc 撮像装置及び電子機器
JP2006304529A (ja) 2005-04-22 2006-11-02 Konica Minolta Opto Inc 駆動装置
US20070176514A1 (en) 2006-01-27 2007-08-02 Taiwan Advanced Materials Technologies Corp. Electromechanical actuator structure
JP5028905B2 (ja) * 2006-08-11 2012-09-19 コニカミノルタアドバンストレイヤー株式会社 駆動装置
EP2019439A3 (en) * 2007-07-26 2011-07-20 Mitsumi Electric Co., Ltd. Position detecting device capable of improving detection accuracy
JP2009047680A (ja) * 2007-07-26 2009-03-05 Mitsumi Electric Co Ltd 駆動装置およびそれに使用される位置検出装置
JP5376115B2 (ja) * 2008-08-27 2013-12-25 ミツミ電機株式会社 駆動装置の駆動方法

Patent Citations (4)

* Cited by examiner, † Cited by third party
Publication number Priority date Publication date Assignee Title
JPH02261073A (ja) * 1989-03-29 1990-10-23 Sony Corp 超音波モータ
JPH05191987A (ja) * 1992-01-13 1993-07-30 Ricoh Co Ltd 超音波駆動装置
JP2002119074A (ja) * 2000-10-04 2002-04-19 Minolta Co Ltd 電気機械変換素子を使用した駆動装置
JP2008197473A (ja) * 2007-02-14 2008-08-28 Mitsumi Electric Co Ltd リニアアクチュエータ

Cited By (1)

* Cited by examiner, † Cited by third party
Publication number Priority date Publication date Assignee Title
US8903231B2 (en) * 2011-06-21 2014-12-02 Samsung Electronics Co., Ltd. Image stabilizing apparatus

Also Published As

Publication number Publication date
CN102138279B (zh) 2014-01-08
US8466603B2 (en) 2013-06-18
WO2010024252A1 (ja) 2010-03-04
US20110163632A1 (en) 2011-07-07
JP5316756B2 (ja) 2013-10-16
TW201014149A (en) 2010-04-01
CN102138279A (zh) 2011-07-27

Similar Documents

Publication Publication Date Title
JP5316756B2 (ja) 駆動装置
JP5376115B2 (ja) 駆動装置の駆動方法
JP4844769B2 (ja) 駆動装置
US7633208B2 (en) Driving device capable of transferring vibrations generated by an electro-mechanical transducer to a vibration friction portion with a high degree of efficiency
JP5387811B2 (ja) 駆動装置の駆動方法
US7652407B2 (en) Driving device capable of improving a shock and vibration resistance thereof
US7732982B2 (en) Driving device capable of reducing height thereof
CN103339848B (zh) 位移构件、驱动构件、促动器及驱动装置
JP2009050142A (ja) 駆動装置
JP2009276422A (ja) 駆動装置
US7633209B2 (en) Driving device capable of obtaining a stable frequency characteristic
JP2009276423A (ja) 駆動装置
JP2010091678A (ja) 駆動装置
JP2010110127A (ja) 駆動装置

Legal Events

Date Code Title Description
A621 Written request for application examination

Free format text: JAPANESE INTERMEDIATE CODE: A621

Effective date: 20110802

A131 Notification of reasons for refusal

Free format text: JAPANESE INTERMEDIATE CODE: A131

Effective date: 20121024

A521 Request for written amendment filed

Free format text: JAPANESE INTERMEDIATE CODE: A523

Effective date: 20121211

TRDD Decision of grant or rejection written
A01 Written decision to grant a patent or to grant a registration (utility model)

Free format text: JAPANESE INTERMEDIATE CODE: A01

Effective date: 20130612

A61 First payment of annual fees (during grant procedure)

Free format text: JAPANESE INTERMEDIATE CODE: A61

Effective date: 20130625

R150 Certificate of patent or registration of utility model

Ref document number: 5316756

Country of ref document: JP

Free format text: JAPANESE INTERMEDIATE CODE: R150

Free format text: JAPANESE INTERMEDIATE CODE: R150

LAPS Cancellation because of no payment of annual fees