JP2010057897A - 円錐角膜を患った角膜の有限要素モデル - Google Patents

円錐角膜を患った角膜の有限要素モデル Download PDF

Info

Publication number
JP2010057897A
JP2010057897A JP2009148480A JP2009148480A JP2010057897A JP 2010057897 A JP2010057897 A JP 2010057897A JP 2009148480 A JP2009148480 A JP 2009148480A JP 2009148480 A JP2009148480 A JP 2009148480A JP 2010057897 A JP2010057897 A JP 2010057897A
Authority
JP
Japan
Prior art keywords
cornea
eye
keratoconus
model
pressure
Prior art date
Legal status (The legal status is an assumption and is not a legal conclusion. Google has not performed a legal analysis and makes no representation as to the accuracy of the status listed.)
Granted
Application number
JP2009148480A
Other languages
English (en)
Other versions
JP5438393B2 (ja
Inventor
Josef F Bille
エフ.ビレ ジョセフ
Current Assignee (The listed assignees may be inaccurate. Google has not performed a legal analysis and makes no representation or warranty as to the accuracy of the list.)
Heidelberg Engineering GmbH
Original Assignee
Heidelberg Engineering GmbH
Priority date (The priority date is an assumption and is not a legal conclusion. Google has not performed a legal analysis and makes no representation as to the accuracy of the date listed.)
Filing date
Publication date
Application filed by Heidelberg Engineering GmbH filed Critical Heidelberg Engineering GmbH
Publication of JP2010057897A publication Critical patent/JP2010057897A/ja
Application granted granted Critical
Publication of JP5438393B2 publication Critical patent/JP5438393B2/ja
Active legal-status Critical Current
Anticipated expiration legal-status Critical

Links

Images

Classifications

    • AHUMAN NECESSITIES
    • A61MEDICAL OR VETERINARY SCIENCE; HYGIENE
    • A61BDIAGNOSIS; SURGERY; IDENTIFICATION
    • A61B3/00Apparatus for testing the eyes; Instruments for examining the eyes
    • A61B3/10Objective types, i.e. instruments for examining the eyes independent of the patients' perceptions or reactions
    • A61B3/107Objective types, i.e. instruments for examining the eyes independent of the patients' perceptions or reactions for determining the shape or measuring the curvature of the cornea

Landscapes

  • Life Sciences & Earth Sciences (AREA)
  • Health & Medical Sciences (AREA)
  • Medical Informatics (AREA)
  • Biophysics (AREA)
  • Ophthalmology & Optometry (AREA)
  • Engineering & Computer Science (AREA)
  • Biomedical Technology (AREA)
  • Heart & Thoracic Surgery (AREA)
  • Physics & Mathematics (AREA)
  • Molecular Biology (AREA)
  • Surgery (AREA)
  • Animal Behavior & Ethology (AREA)
  • General Health & Medical Sciences (AREA)
  • Public Health (AREA)
  • Veterinary Medicine (AREA)
  • Eye Examination Apparatus (AREA)

Abstract

【課題】円錐角膜にかかった角膜を早期に診断できるシステムの提供。
【解決手段】円錐角膜の発症を診断するシステム及び方法は、眼の角膜を、角膜の形状を変化させる圧力にさらす工程を必要とする。角膜の前面のトポグラフィがマッピングされ、マッピングされたトポグラフィは、次いで、角膜の数学的モデルにフィッティングされる。次に、角膜の生体力学的パラメータに対応する測定値がモデルから取得され、コンピュータが使用されて、生体力学的パラメータを評価して、その角膜が円錐角膜であるかどうかを診断する。
【選択図】図1

Description

本発明は、広い意味で言えば眼の診断の装置及び工程に関するものである。より詳細には、本発明は、円錐角膜などの角膜の疾病の診断に角膜の数学的モデルを用いる診断システム及び方法に係るものである。これだけに限るものではないが、本発明は、特に、ある角膜がその後の屈折矯正手術の対象として適正であるかどうかを判定するために円錐角膜の早期診断を行うシステム及び方法として有用である。
定義によれば、円錐角膜は、通常は両側性の、非炎症性の角膜の突出であり、頂点が下方に且つ鼻側に変位する。基本的に、円錐角膜は角膜の菲薄化によって引き起こされ、通常は非対称乱視を招く。但し、疾病の他の側面も考慮すべきである。具体的には、円錐角膜が、視力矯正のための特定の屈折矯正手術をその人が受けることを事実上妨げる虞のある角膜組織損失を引き起こすという事実が考慮される。例えば、特有の角膜組織損失のために、円錐角膜は、角膜組織の除去を伴う処置(例えば、周知のLASIK手術)ができない。
疾病の早期段階では、円錐角膜の検出は容易ではない。具体的には、進行した円錐角膜に特徴的である角膜形状の顕著な変化は、早期段階ではあまり明白ではない。それにもかかわらず、角膜組織には、疾病の前兆として、疾病の早期段階での層板クロスオーバ(lamella crossover)によって引き起こされる構造的弱さが存在する。しかし、これらの弱さに特徴的である生体力学的応力及びひずみの場所を特定し、それらを直接測定することは、不可能ではないにしても、きわめて困難である。
解剖学的には、眼の角膜は、識別可能な5つの組織層を含む。これらの層は、前部から後部に向かって、上皮、ボーマン膜、実質、デスメ膜、及び内皮である。実質が、角膜の厚さの約90%を形成し、ボーマン膜が、残りの厚さの大部分を占める。ボーマン膜は実質よりも小さいが、実質組織よりも約5倍強度が高く、より弾性がある。残りの層(即ち、上皮、デスメ膜、及び内皮)は、角膜に対して無視できるほどの構造強度しか寄与しない。したがって、ボーマン膜及び実質についての層の厚さ並びに相対的な構造的考慮(即ち、生体力学的パラメータ)に基づいて、周知の数学的技法を使用して角膜の数学的モデルを構築することができる。
角膜組織の生体力学的特徴を測定する際に遭遇する前述の困難とは異なり、角膜の表面は、より容易に規定することができる。特に、角膜の前面及び後面についてのそれぞれのトポグラフィは、公知の画像化技術(例えば、第二次高調波発生画像化)を使用して得ることができる。さらに、その表面トポグラフィによって決定される角膜の形状が、角膜の内側の組織が受ける応力とひずみとの相関の結果であることが知られている。
以上に鑑みて、本発明の目的は、角膜の解剖学的形状が観察可能なほど目立つ何らかの変化を起こす前に、円錐角膜を患った角膜を疾病の発症時に診断するシステム及び方法を提供することである。本発明の他の目的は、ある角膜がその後の屈折矯正手術の適正な対象であるかどうかを判定するシステム及び方法を提供することである。本発明のさらに他の目的は、使用が簡単で、容易に使用でき、比較的費用効果の高い、円錐角膜を患った角膜を診断するシステム及び方法を提供することである。
本発明によれば、角膜での円錐角膜の発症を診断するシステム及び方法は、眼の角膜の前面のマッピングを必要とする。眼がマッピングされた後、得られたトポグラフィは、有限要素モデル(FEM:finite element model)上にフィッティングされ、その結果得られる組織パラメータが評価される。マッピングは、約14kPa未満の外部圧力が眼に印加されている間に行われることが好ましい。但し、マッピングは、圧力を加えずに実施することもでき、又は一連の異なる圧力下で実施することもできる。いずれにせよ、圧力が用いられる場合、圧力は、角膜の形状を変化させ、それによって、得られるトポグラフィ測定を向上させるために使用される。次に、マッピングされたトポグラフィは、角膜の数学的モデル上にフィッティングされ、角膜の生体力学的パラメータが、それぞれの角膜構成についてのモデルから取得される。次に、生体力学的パラメータを評価するためにコンピュータが使用される。この評価に基づいて、その角膜が円錐角膜であるかどうかについて診断が行われる。この状況では、眼が圧力下にある間にマッピングされたトポグラフィは、精確な情報を与える可能性が高く、1つのトポグラフィだけをマッピングすれば十分なこともあるが、異なる圧力トポグラフィからの追加情報により精度が高められる。
さらに詳細には、本発明による診断工程を実施するためには、角膜の前面(anterior surface)のトポグラフィ「T」がマッピングされ、記録される。前述のように、これは、眼が圧力下にある間に実施されることが好ましい。所望の場合、角膜の後面(posterior surface)のそれぞれのトポグラフィ「T」も同様にマッピングし、記録することができる。トポグラフィ「T」及び「T」(使用される場合)がマッピングされ、記録された後、それらは、角膜の数学的モデル上に適切にフィッティングされる。本発明の目的達成のために、モデルは複数の有限要素を含むことが好ましく、各要素は、実際の角膜内の特定の場所に対応し、複数のパラメータによって定義される。そのために、例えば、「T」を(場合によっては「T」も)、モデル上にフィッティングすると、モデルについて1セットのパラメータが得られる。重要なことには、これらのパラメータは、眼が所定の眼内圧力によって確立された条件下にある場合の、ある構成の角膜を表す。この圧力は、14kPa未満であることが好ましい。さらに、各パラメータは、角膜内の特定の場所における組織の生体力学的特性(特徴)を示す。それらをまとめて使用して、眼を評価することができる。
以上に示したように、パラメータの追加のセットを眼内の異なる圧力レベルで得ることができる。また、これらの各セットの各パラメータは、特定の圧力における角膜内の特定の場所での組織の生体力学的特性(特徴)を示す。通常、これらの条件は、約14kPa未満の代表的な眼内圧力で確立される。重要なことは、あるパラメータのセット内の各パラメータは、別のパラメータのセット内の同じ場所でのそれぞれのパラメータに対応するということである。そのために、コンピュータを使用して、角膜の生体力学的特性の変化を評価するために異なるパラメータのセットが互いに比較される。次に、これらの変化が、その角膜が円錐角膜であるかどうかの診断に使用される。
本発明の新規な特徴並びに本発明自体は、その構造に関してもその操作に関しても、添付図面を付属の説明と併せて見れば最もよく理解される。同様の符号は、同様の部品を指す。
本発明システムの略図。 眼の角膜の断面図。 第1の圧力条件下にある眼の角膜の断面図であり、第2の圧力条件下にある角膜の断面図が重ね合わされた図。 本発明システムの動作についての論理チャート。 健康な眼及び円錐角膜眼の圧力の関係を示すグラフ。 健康な眼及び円錐角膜眼のひずみの関係を示すグラフ。
始めに図1を参照すると、本発明による円錐角膜を診断するシステムが示され、全体的に10で指定されている。ここに示されるように、システム10は、数学的モデル14と電子的に相互接続されたコンピュータ12を含む。コンピュータ12には、画像化デバイス16及び加圧デバイス18も相互接続される。図1に示されるように、画像化デバイス16及び加圧デバイス18は、患者(図示せず)の眼20と相互作用するように位置決めされる。より詳細には、デバイス16及び18は、眼20の角膜22と相互作用するように位置決めされる。
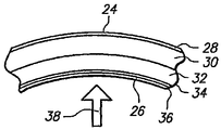
図2では、角膜22の断面が示されており、角膜22は解剖学的に識別可能な異なる5つの組織層を有する。角膜22の前面24と後面26との間で、前部から後部に向かって進むと、角膜22の層は、上皮28、ボーマン膜30、実質32、デスメ膜34、及び内皮36である。構造的には、角膜22のボーマン膜30及び実質32は、他の3つの層よりもはるかに重要である。したがって、強度を考慮する場合、上皮28、デスメ膜34、及び内皮36は、数学的には無視できると見なすことができる。
本発明の目的から、モデル14は、角膜22の数学的モデルである。モデル14は、モデル14内の各要素が複数の数学的パラメータによって定義される、異なる複数の要素を含む有限要素モデルであることが好ましい。また、重要なことには、モデル14のあらゆる要素の各パラメータは、角膜22内の組織の質(即ち、生体力学的特徴)を表す。さらに、モデル14の各要素が角膜22内の特定の解剖学的場所に対応することが重要である。モデル14の好ましい一実施例では、ボーマン膜30及び実質32を表す要素が含まれる。モデル14についての実際の設定は、周知の数学的技法を使用して達成できる。
前述したように、システム10は、主に、疾病の発症前に眼20の円錐角膜を診断するために使用される。やはり前述したように、疾病が観察可能なほど目立つ前でも、角膜22には弱さが存在する。したがって、これらの弱さは、特定の条件下で露呈されると予想できる。具体的には、本発明は、角膜22の後面26に眼内圧力差を与えることによって、これらの弱さを適切に明らかにできることを想定している。そのような圧力差が、図2に矢印38によって示されている。その結果、角膜22の形状(即ち、トポグラフィ)に観察可能な変化が起こる。しかし、円錐角膜を診断するのに有用であるのは、この変化の性質及び程度である。
円錐角膜眼20の角膜22への圧力差38の印加の結果の一例は、図3を参照すればわかる。そこでは、圧力差38を与える前には、角膜22は標準的な眼内圧力(例えば、2kPa)にさらされることを理解すべきである。この標準圧力下では、角膜22の前面24及び後面26は、ほぼ図3の実線によって示されるようになる。眼20が円錐角膜である場合、この状態を示すトポグラフィが識別できないことがある。しかし、圧力差38(例えば10kPa)の影響下では、前面24’及び後面26’は、円錐角膜状態がより顕著となる他の構成へと変化する。この点に関して、経験的データによれば、正常な眼の組織パラメータが円錐角膜眼についての対応するパラメータの5倍大きいものとなることが示されている。円錐角膜眼20についてのこの差の結果が図3に示されており、図3では、加圧された構成(即ち破線)が加圧されていない構成(即ち実線)上に重ねて示されている。これとは対照的に、正常な眼は、異なる圧力レベルにおいても、そのトポグラフィの識別可能な構成変化を示さない。
図4に全体的に40で指定された論理チャートは、本発明のシステム10の動作の代表例である。開始するために、眼20は、第1の圧力「p」にさらされ、その第1の構成で維持される。注:この第1の圧力「p」は、実際には、眼20に外部から圧力が加えることなく生じさせることができる。この状態は、チャート40のブロック42によって示される。通常、「p」は、眼20の標準的な解剖学的眼内圧力である。ブロック44によって示されるように、眼20がその第1の構成にある間に、眼20の前面24のトポグラフィ「T」がマッピングされる(この場合「T1a」)。このマッピングは、関連技術分野で周知のタイプの画像化デバイス16によって達成されることが好ましい。所望の場合、後面26のトポグラフィ「T」もマッピングすることができる。しかし、本開示の目的では、以下の議論は、主に前面24を対象とする。これを念頭において、チャート40のブロック46は、トポグラフィ「T1a」がモデル14上にフィッティングされることを示す。「T1a」がこのようにフィッティングされた後、数学的パラメータ(即ち、角膜22内の複数の場所における生体力学的特徴の数値表現)をモデル14の有限要素から得ることができる(ブロック48参照)。
チャート40内の判断ブロック50及び52は、相まって、その第1の構成にある角膜22についての数学的パラメータのすべてが得られた後に、第2の構成を考慮できることを示す。具体的には、判断ブロック54は、第2の圧力「p」が確立されたかどうかを質問する。以上の開示から、第2の圧力「p」が、加圧デバイス18によって提供され、角膜22の後面26に対して圧力差38(例えば10kPa)を及ぼす結果として生じることが理解されよう。圧力差38が与えられる際、第2の圧力「p」は、約14kPa未満となることが好ましい。いずれにせよ、これは、角膜22を第2の構成へと動かす。次いで、ブロック56は、第2の角膜トポグラフィ「T2a」がマッピングされる間、第2の圧力「p」が維持されることを示す。具体的には、この場合、トポグラフィ「T2a」が前面24についてマッピングされる。この場合もやはり、望むなら、後面26についてのトポグラフィ「T」もマッピングすることができる。すでに「T1a」の場合に実施されたように、ブロック44及び46は、トポグラフィ「T2a」がモデル14にフィッティングされることを示す。今回は、数学的パラメータ(生体力学的特徴)が、その第2の構成にある角膜22について得られる。次いで、ブロック52は、「T1a」及び「T2a」をモデル14上にフィッティングする作業が完了し、第1及び第2の構成の両方について数学的パラメータが得られると、収集されたデータ60の分析のためにシステム10の動作がブロック58へと動くことを示す(図1参照)。具体的には、これは、異なるパラメータを、互いに比較し、また円錐角膜状態を示す経験的データと比較することによって実施される。言うまでもなく、眼20についての複数のトポグラフィをそれぞれの圧力条件下で得ることが可能である。その場合、これらのトポグラフィがモデル14上にフィッティングされる際に得られるパラメータは、より確実に高精度化することができ、また、高い精度で使用して、より精確な診断を得ることができる。
図5及び図6では、健康な眼20及び円錐角膜眼20についてそれぞれ予想される生体力学的応力(図5)並びにひずみ(図6)に関する、重ね合わされたグラフが示されている。具体的には、図5のディンプル線(小円を結んだ線)62は、健康な眼20についての角膜22の応力変化を緯度に対して示している。他方、実線64は、円錐角膜眼20についての応力変化を示している。同様に、図6のディンプル線66は、健康な眼20についての角膜22のひずみ変化を緯度に対して示している。そして、図6の実線68は、円錐角膜眼20についてのひずみ変化を示している。本発明に意図されるように、データ60は、コンピュータ12によって比較される(図4のチャート40のブロック58参照)。図5及び図6に示されるグラフとの比較における対応に応じて、眼20が円錐角膜であるかどうかを診断することを目的とした判定を行うことができる。
本明細書で詳細に示され開示された特定の「円錐角膜を患った角膜の有限要素モデル」は、完全に、本明細書で前述した目的を達成し、利点を提供することができるが、それが単に本発明の現時点で好ましい諸実施例を示すにすぎず、特許請求の範囲の記載を除き、本明細書で示される構造又は設計の詳細だけに制限しようとするものではないことを理解すべきである。

Claims (4)

  1. 患者の眼の円錐角膜を診断するシステムにおいて、該システムが、
    前記角膜の前面のトポグラフィ「T」を記録する画像化デバイスと、
    「T」をモデルにフィッティングして、前記モデルから、各パラメータが前記角膜内のある場所での組織の生体力学的特性を示す、パラメータのセットを得るコンピュータ手段と、
    前記パラメータのセットを評価して、前記角膜が円錐角膜であるかどうかを診断する比較器とを含むシステム。
  2. 前記モデルが、
    前記角膜内のボーマン膜を表すようにプログラムされた第1の複数の要素と、
    前記角膜の実質を表すようにプログラムされた第2の複数の要素と
    を含む有限要素モデルである、請求項1に記載されたシステム。
  3. 前記モデルの各要素が、前記眼の前記角膜内の場所に対応し、前記角膜内のそれぞれの場所での角膜組織の生体力学的特徴を表す数学的パラメータを含む、請求項2に記載されたシステム。
  4. 前記比較器がコンピュータの構成装置である、請求項1に記載されたシステム。
JP2009148480A 2008-09-05 2009-06-23 患者の眼の円錐角膜を診断するシステム Active JP5438393B2 (ja)

Applications Claiming Priority (2)

Application Number Priority Date Filing Date Title
US12/205,420 US7798641B2 (en) 2008-09-05 2008-09-05 Finite element model of a keratoconic cornea
US12/205,420 2008-09-05

Publications (2)

Publication Number Publication Date
JP2010057897A true JP2010057897A (ja) 2010-03-18
JP5438393B2 JP5438393B2 (ja) 2014-03-12

Family

ID=41278453

Family Applications (1)

Application Number Title Priority Date Filing Date
JP2009148480A Active JP5438393B2 (ja) 2008-09-05 2009-06-23 患者の眼の円錐角膜を診断するシステム

Country Status (3)

Country Link
US (1) US7798641B2 (ja)
EP (1) EP2160972B1 (ja)
JP (1) JP5438393B2 (ja)

Cited By (3)

* Cited by examiner, † Cited by third party
Publication number Priority date Publication date Assignee Title
JP2013255791A (ja) * 2012-06-08 2013-12-26 Oculus Optikgeraete Gmbh 角膜測定用の分析装置及び方法
WO2021040315A1 (ko) * 2019-08-27 2021-03-04 주식회사 비쥬웍스 원추 각막 진단 보조 시스템 및 이를 이용하는 방법
US10945598B2 (en) 2019-02-06 2021-03-16 Jichi Medical University Method for assisting corneal severity identification using unsupervised machine learning

Families Citing this family (9)

* Cited by examiner, † Cited by third party
Publication number Priority date Publication date Assignee Title
JP2578675Y2 (ja) 1992-05-19 1998-08-13 中西金属工業株式会社 オーバヘッドコンベヤ
US7668342B2 (en) 2005-09-09 2010-02-23 Carl Zeiss Meditec, Inc. Method of bioimage data processing for revealing more meaningful anatomic features of diseased tissues
US9216066B2 (en) 2012-04-20 2015-12-22 Bausch & Lomb Incorporated System and method for creating a customized anatomical model of an eye
CN105188589B (zh) 2013-03-15 2018-02-06 安玛莉·希思黎 用于影响结缔组织的生物机械学性质的系统
US9770169B2 (en) * 2014-08-20 2017-09-26 California Baptist University Systems and methods for monitoring eye health
ES2571209B1 (es) * 2014-11-21 2016-12-30 Alicante Oftalmológica S.L Sistema de caracterización 3D de la respuesta mecánica del tejido de la córnea y procedimiento de medida con dicho sistema
CN108348151B (zh) * 2015-09-02 2021-05-11 通用医疗公司 基于生物组织的监测特性执行过程
WO2018005891A2 (en) 2016-06-29 2018-01-04 Ace Vision Group, Inc. System and methods using real-time predictive virtual 3d eye finite element modeling for simulation of ocular structure biomechanics
AU2019273058B2 (en) 2018-05-23 2024-08-15 Alcon Inc. Measuring a posterior corneal surface of an eye

Citations (3)

* Cited by examiner, † Cited by third party
Publication number Priority date Publication date Assignee Title
US20020077797A1 (en) * 2000-12-18 2002-06-20 Hall Gary W. Method and apparatus for automated simulation and design of corneal refractive procedures
JP2002345755A (ja) * 2001-05-29 2002-12-03 Menicon Co Ltd 角膜形状解析方法および角膜形状解析装置
US20070291228A1 (en) * 2006-05-01 2007-12-20 University Of Southern California Gaussian fitting on mean curvature maps of parameterization of corneal ectatic diseases

Family Cites Families (12)

* Cited by examiner, † Cited by third party
Publication number Priority date Publication date Assignee Title
US3769963A (en) * 1972-03-31 1973-11-06 L Goldman Instrument for performing laser micro-surgery and diagnostic transillumination of living human tissue
US4770172A (en) * 1983-11-17 1988-09-13 Lri L.P. Method of laser-sculpture of the optically used portion of the cornea
US4903695C1 (en) * 1988-11-30 2001-09-11 Lri L P Method and apparatus for performing a keratomileusis or the like operation
US5473392A (en) * 1992-05-01 1995-12-05 Summit Technology, Inc. Method and system for topographic measurement
US5870167A (en) * 1993-07-14 1999-02-09 Knopp; Carl F. Apparatus and method for imaging anterior structures of the eye
US5993438A (en) * 1993-11-12 1999-11-30 Escalon Medical Corporation Intrastromal photorefractive keratectomy
US20040233387A1 (en) * 2001-10-18 2004-11-25 David Huang Systems and methods for analysis of corneal topography with convexity map
US20040021826A1 (en) * 2002-08-01 2004-02-05 Sarver Edwin J. Combination advanced corneal topography/wave front aberration measurement
DE102005026371B4 (de) * 2005-06-07 2024-02-08 Oculus Optikgeräte GmbH Verfahren zum Betrieb eines ophthalmologischen Analysesystems
WO2007139927A1 (en) 2006-05-26 2007-12-06 The Cleveland Clinic Foundation Method for measuring biomechanical properties in an eye
US7736003B2 (en) * 2006-09-28 2010-06-15 Scientific Optics, Inc. Diagnosis and treatment of disorders of the eye
WO2009081286A2 (en) * 2007-12-21 2009-07-02 Sifi Diagnostic Spa Dual scheimpflug system for three- dimensional analysis of an eye

Patent Citations (3)

* Cited by examiner, † Cited by third party
Publication number Priority date Publication date Assignee Title
US20020077797A1 (en) * 2000-12-18 2002-06-20 Hall Gary W. Method and apparatus for automated simulation and design of corneal refractive procedures
JP2002345755A (ja) * 2001-05-29 2002-12-03 Menicon Co Ltd 角膜形状解析方法および角膜形状解析装置
US20070291228A1 (en) * 2006-05-01 2007-12-20 University Of Southern California Gaussian fitting on mean curvature maps of parameterization of corneal ectatic diseases

Non-Patent Citations (1)

* Cited by examiner, † Cited by third party
Title
JPN6009027635; 石井晃太郎他: '有限要素法を用いた非接触式眼圧計の数値解析' 日本眼科学会雑誌 第112巻, 臨時増刊号, 20080315, 第318頁 *

Cited By (4)

* Cited by examiner, † Cited by third party
Publication number Priority date Publication date Assignee Title
JP2013255791A (ja) * 2012-06-08 2013-12-26 Oculus Optikgeraete Gmbh 角膜測定用の分析装置及び方法
US9615738B2 (en) 2012-06-08 2017-04-11 Oculus Optikgeraete Gmbh Method and analysis apparatus for measuring a cornea
US10945598B2 (en) 2019-02-06 2021-03-16 Jichi Medical University Method for assisting corneal severity identification using unsupervised machine learning
WO2021040315A1 (ko) * 2019-08-27 2021-03-04 주식회사 비쥬웍스 원추 각막 진단 보조 시스템 및 이를 이용하는 방법

Also Published As

Publication number Publication date
US7798641B2 (en) 2010-09-21
EP2160972B1 (en) 2014-07-16
JP5438393B2 (ja) 2014-03-12
EP2160972A1 (en) 2010-03-10
US20100060854A1 (en) 2010-03-11

Similar Documents

Publication Publication Date Title
JP5438393B2 (ja) 患者の眼の円錐角膜を診断するシステム
Roy et al. Air-puff associated quantification of non-linear biomechanical properties of the human cornea in vivo
US9655512B2 (en) Methods and systems to measure corneal epithelial thickness and power, stromal thickness, subepithelial corneal power and topography for disease diagnosis
JP7159534B2 (ja) 角膜微小層の三次元厚さマッピングおよび角膜診断のための方法およびシステム
US8346518B2 (en) Method for modeling biomechanical properties of an eye
Leung et al. An ultra-high-speed Scheimpflug camera for evaluation of corneal deformation response and its impact on IOP measurement
Francis et al. Waveform analysis of deformation amplitude and deflection amplitude in normal, suspect, and keratoconic eyes
Rahmati et al. Biomechanics of the keratoconic cornea: Theory, segmentation, pressure distribution, and coupled FE-optimization algorithm
EP2884881A1 (en) Corneal stromal mapping
Karimi et al. Biomechanics of the healthy and keratoconic corneas: a combination of the clinical data, finite element analysis, and artificial neural network
Li et al. Relationship between corneal biomechanical parameters and corneal sublayer thickness measured by Corvis ST and UHR-OCT in keratoconus and normal eyes
US8650018B2 (en) System and method for assessing risk of glaucoma onset
Kaur et al. The current and novel imaging modalities for ocular vasculitis in Behçet’s disease: A review
AU2003297692B2 (en) System and method for evaluating a secondary LASIK treatment
Shu et al. Research progress on measurement methods and clinical applications of corneal elastic modulus
Satekenova et al. Investigation of the Optic Nerve Head Morphology Influence to the Optic Nerve Head Biomechanics–Patient Specific Model
Xu et al. Individualized characterization of the distribution of collagen fibril dispersion using optical aberrations of the cornea for biomechanical models
Cheng et al. [Retracted] Visual Corneal Photomechanical Analysis Is Combined with the Pentacam Correlation Index for the Diagnosis of Cone Corneas at Different Stages of Progression
US12450746B2 (en) Retinal vascular stress test for diagnosis of vision-impairing diseases
EP4257058A1 (en) Transducer, system and method for obtaining biomechanical properties of ocular tissue
Lou et al. Corneal stiffness mapping that accounts for anisotropic properties of corneal tissue
WO2024173032A1 (en) In vivo biomechanical strain response of the lamina cribrosa to intraocular pressure change as a result of glaucoma medication change
Moshirfar et al. Corneal Biomechanics
JP2019505257A (ja) ヒト角膜における疾患診断と治療予後のためのボーマン膜の定量化指標
Pavlatos Ultrasound Speckle Tracking Methods to Study the Biomechanical Factors of Ocular Disease

Legal Events

Date Code Title Description
A621 Written request for application examination

Free format text: JAPANESE INTERMEDIATE CODE: A621

Effective date: 20120206

A977 Report on retrieval

Free format text: JAPANESE INTERMEDIATE CODE: A971007

Effective date: 20130411

A131 Notification of reasons for refusal

Free format text: JAPANESE INTERMEDIATE CODE: A131

Effective date: 20130416

A521 Request for written amendment filed

Free format text: JAPANESE INTERMEDIATE CODE: A523

Effective date: 20130710

A131 Notification of reasons for refusal

Free format text: JAPANESE INTERMEDIATE CODE: A131

Effective date: 20130809

A521 Request for written amendment filed

Free format text: JAPANESE INTERMEDIATE CODE: A523

Effective date: 20131108

TRDD Decision of grant or rejection written
A01 Written decision to grant a patent or to grant a registration (utility model)

Free format text: JAPANESE INTERMEDIATE CODE: A01

Effective date: 20131206

A61 First payment of annual fees (during grant procedure)

Free format text: JAPANESE INTERMEDIATE CODE: A61

Effective date: 20131213

R150 Certificate of patent or registration of utility model

Ref document number: 5438393

Country of ref document: JP

Free format text: JAPANESE INTERMEDIATE CODE: R150

Free format text: JAPANESE INTERMEDIATE CODE: R150

R250 Receipt of annual fees

Free format text: JAPANESE INTERMEDIATE CODE: R250

R250 Receipt of annual fees

Free format text: JAPANESE INTERMEDIATE CODE: R250

R250 Receipt of annual fees

Free format text: JAPANESE INTERMEDIATE CODE: R250

R250 Receipt of annual fees

Free format text: JAPANESE INTERMEDIATE CODE: R250

R250 Receipt of annual fees

Free format text: JAPANESE INTERMEDIATE CODE: R250

R250 Receipt of annual fees

Free format text: JAPANESE INTERMEDIATE CODE: R250

R250 Receipt of annual fees

Free format text: JAPANESE INTERMEDIATE CODE: R250

R250 Receipt of annual fees

Free format text: JAPANESE INTERMEDIATE CODE: R250

R250 Receipt of annual fees

Free format text: JAPANESE INTERMEDIATE CODE: R250

R250 Receipt of annual fees

Free format text: JAPANESE INTERMEDIATE CODE: R250