JP2010032201A - ハイブリッド燃料ノズル - Google Patents

ハイブリッド燃料ノズル Download PDF

Info

Publication number
JP2010032201A
JP2010032201A JP2009128404A JP2009128404A JP2010032201A JP 2010032201 A JP2010032201 A JP 2010032201A JP 2009128404 A JP2009128404 A JP 2009128404A JP 2009128404 A JP2009128404 A JP 2009128404A JP 2010032201 A JP2010032201 A JP 2010032201A
Authority
JP
Japan
Prior art keywords
fuel
natural gas
syngas
hybrid
nozzle
Prior art date
Legal status (The legal status is an assumption and is not a legal conclusion. Google has not performed a legal analysis and makes no representation as to the accuracy of the status listed.)
Granted
Application number
JP2009128404A
Other languages
English (en)
Other versions
JP5675060B2 (ja
Inventor
Balachandar Varatharajan
バラチャンダー・ヴァラサラジャン
Willy Steve Ziminsky
ウィリー・スティーブ・ジミンスキー
Ertan Yilmaz
アータン・イルマズ
Benjamin Lacy
ベンジャミン・レイシー
Baifang Zuo
ベイファン・ズオ
William David York
ウィリアム・デビッド・ヨーク
Current Assignee (The listed assignees may be inaccurate. Google has not performed a legal analysis and makes no representation or warranty as to the accuracy of the list.)
General Electric Co
Original Assignee
General Electric Co
Priority date (The priority date is an assumption and is not a legal conclusion. Google has not performed a legal analysis and makes no representation as to the accuracy of the date listed.)
Filing date
Publication date
Application filed by General Electric Co filed Critical General Electric Co
Publication of JP2010032201A publication Critical patent/JP2010032201A/ja
Application granted granted Critical
Publication of JP5675060B2 publication Critical patent/JP5675060B2/ja
Active legal-status Critical Current
Anticipated expiration legal-status Critical

Links

Images

Classifications

    • FMECHANICAL ENGINEERING; LIGHTING; HEATING; WEAPONS; BLASTING
    • F23COMBUSTION APPARATUS; COMBUSTION PROCESSES
    • F23RGENERATING COMBUSTION PRODUCTS OF HIGH PRESSURE OR HIGH VELOCITY, e.g. GAS-TURBINE COMBUSTION CHAMBERS
    • F23R3/00Continuous combustion chambers using liquid or gaseous fuel
    • F23R3/28Continuous combustion chambers using liquid or gaseous fuel characterised by the fuel supply
    • F23R3/36Supply of different fuels
    • FMECHANICAL ENGINEERING; LIGHTING; HEATING; WEAPONS; BLASTING
    • F23COMBUSTION APPARATUS; COMBUSTION PROCESSES
    • F23RGENERATING COMBUSTION PRODUCTS OF HIGH PRESSURE OR HIGH VELOCITY, e.g. GAS-TURBINE COMBUSTION CHAMBERS
    • F23R3/00Continuous combustion chambers using liquid or gaseous fuel
    • F23R3/28Continuous combustion chambers using liquid or gaseous fuel characterised by the fuel supply
    • F23R3/34Feeding into different combustion zones
    • FMECHANICAL ENGINEERING; LIGHTING; HEATING; WEAPONS; BLASTING
    • F23COMBUSTION APPARATUS; COMBUSTION PROCESSES
    • F23DBURNERS
    • F23D2900/00Special features of, or arrangements for burners using fluid fuels or solid fuels suspended in a carrier gas
    • F23D2900/14Special features of gas burners
    • F23D2900/14004Special features of gas burners with radially extending gas distribution spokes
    • FMECHANICAL ENGINEERING; LIGHTING; HEATING; WEAPONS; BLASTING
    • F23COMBUSTION APPARATUS; COMBUSTION PROCESSES
    • F23RGENERATING COMBUSTION PRODUCTS OF HIGH PRESSURE OR HIGH VELOCITY, e.g. GAS-TURBINE COMBUSTION CHAMBERS
    • F23R2900/00Special features of, or arrangements for continuous combustion chambers; Combustion processes therefor
    • F23R2900/00002Gas turbine combustors adapted for fuels having low heating value [LHV]

Landscapes

  • Engineering & Computer Science (AREA)
  • Chemical & Material Sciences (AREA)
  • Combustion & Propulsion (AREA)
  • Mechanical Engineering (AREA)
  • General Engineering & Computer Science (AREA)
  • Gas Burners (AREA)
  • Combustion Of Fluid Fuel (AREA)

Abstract

【課題】天然ガス、合成ガス又はその他のタイプの燃料で使用するハイブリッド燃料燃焼ノズルを提供する。
【解決手段】本ハイブリッド燃料燃焼ノズル(160)は、幾つかのスウォズルベーン(190)を備えた天然ガスシステム(165)と、幾つかの同軸環状燃料チューブ(210)を備えた合成ガスシステム(175)とを含むことができる。
【選択図】 図2

Description

本出願は、総括的にはガスタービンエンジンに関し、より具体的には、異なる特性を有する燃料で使用するハイブリッド燃料燃焼ノズルに関する。
様々なタイプの燃焼器が公知であり、かつガスタービンエンジンで実際に使用されている。言い換えると、これらの燃焼器は、使用中の燃料のタイプに応じて異なるタイプの燃料ノズルを使用している。例えば、大半の天然ガス燃焼システムは、希薄予混合火炎を使用して作動する。これらのシステムでは、燃料は反応ゾーンの上流で空気と混合して、予混合火炎を形成するようにしている。一例は、燃料ポートが幾つかのベーンの周りに配置された「スウォズル(swozzle)」(=スワーラ(swirler)+ノズル(nozzle)である。それに代えて、大半の合成ガスベースのシステムでは、燃料の高反応性のために、拡散ノズルを使用して燃料及び空気を燃焼室内に直接噴射することができる。
天然ガスと合成ガスとのウォッベ数及び燃料反応性における特性間の大きな差異のために、天然ガスシステムに使用する伝統的なベーン孔噴射設計は、合成ガスに対して使用した場合に、保炎問題を引き起こす可能性がある。同様に、拡散ノズルは、希釈剤を噴射しない限り、高NOxエミッションを生じる可能性がある。
空気内への燃料の並流噴射を使用することによって保炎の発生可能性を減少させながら幾らかの合成ガス予混合を可能にした別の合成ガス燃焼方法が、開発されてきている。しかしながら、そのような噴射方法では、天然ガス火炎を安定させるのを可能にすることができない。
米国特許第6438961号明細書 米国特許出願公開第2007/0130954号明細書 米国特許出願公開第2007/0234735号明細書 米国特許出願公開第2008/0083229号明細書 米国特許出願公開第2008/0078183号明細書
従って、異なる特性を有する様々な燃料で作動することができるタービン燃焼システムに対する要望が存在する。本システムは、様々な作動条件にわたって低エミッション及び高効率を維持しながら、燃料フレキシビリティを有するべきである。
従って、本出願は、天然ガス、合成ガス又はその他のタイプの燃料で使用するハイブリッド燃料燃焼ノズルを提供する。本ハイブリッド燃料燃焼ノズルは、幾つかのスウォズルベーンを備えた天然ガスシステムと幾つかの同軸環状燃料チューブを備えた合成ガスシステムとを含むことができる。
本出願はさらに、複数燃料式タービンを作動させる方法を提供する。本方法は、幾つかのスウォズルベーンを通して第1の燃料を流すステップと、第1の燃料を空気と予混合するステップと、複数の同軸環状燃料チューブを通して第2の燃料を流すステップと、第2の燃料の一部分をスウォズルベーンに迂回させるステップと、第2の燃料を空気と予混合するステップとを含む。
本出願はさらに、幾つかの異なるタイプの燃料で使用するハイブリッド燃料燃焼ノズルを提供する。本ハイブリッド燃料燃焼ノズルは、幾つかの旋回ベーンを備えた第1のガスシステムと、幾つかの燃料チューブを備えた第2のガスシステムと、燃料チューブから旋回ベーンまで延びるバイパス管路とを含むことができる。
本出願のこれらの及びその他の特徴は、幾つかの図面及び特許請求の範囲と関連させて以下の詳細な説明を精査することにより、当業者には明らかになるであろう。
タービンエンジンの概略図。 本明細書で説明することができるハイブリッド燃料ノズルの概略図。 本明細書で説明することができるハイブリッド燃料ノズルの別の概略図。
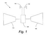
次に、幾つかの図を通して同じ参照符号が同様な要素を指している図面を参照する。図1は、複数燃料式ガスタービンエンジン100の概略図を示している。ガスタービンエンジン100は、流入空気流を加圧する圧縮機110を含むことができる。加圧空気流は次に、燃焼システム120に送給され、燃焼システム120において、加圧空気流は燃焼室125内で燃料流と共に燃焼される。燃料は、天然ガス管路130からの天然ガス流又は合成ガス管路140からの合成ガス流とすることができる。公知なように、燃料及び空気は、燃焼システム120内で混合させかつ燃焼させることができる。高温燃焼ガスは次に、タービン150に送給されて、圧縮機110並びに発電機などの外部負荷を駆動するようになる。本明細書では、ガスタービンエンジン100は、その他の構成及び構成要素を使用することができる。
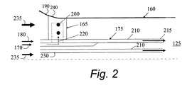
図2及び図3は、本明細書で説明するハイブリッド燃料ノズル160を示す。ハイブリッド燃料ノズル160は、燃焼システム120内で使用して、燃焼室125内で燃焼させるための燃料及び空気の混合気を形成することができる。ハイブリッド燃料ノズル160は、天然ガスシステム165を含むことができる。ハイブリッド燃料ノズル160の天然ガスシステム165は、天然ガス入口170を含むことができる。天然ガス入口170は、天然ガス管路130と連通状態にすることができる。天然ガス管路130は、天然ガス、合成ガス、又は同様の特性を有するその他の燃料を有することができる。
ハイブリッド燃料ノズル160はさらに、合成ガスシステム175を含むことができる。ハイブリッド燃料ノズル160の合成ガスシステム175は、合成ガス入口180を含むことができる。合成ガス入口180は、合成ガス管路140と連通状態にすることができる。合成ガス管路140は、水素(H2)燃料又は同様な特性を有する燃料の範囲の合成ガスを有することができる。合成ガスの体積流量は一般的に、天然ガスの体積流量よりも遙かに大きい。
ハイブリッド燃料ノズル160の天然ガスシステム165は、幾つかのスウォズルベーン190を含むことができる。公知なように、スウォズルベーン190は、幾つかの噴射ポート200を含むことができる。各スウォズルベーン190は、1つ又はそれ以上の噴射ポート200を有することができる。噴射ポート200は、スウォズルベーン190上の傾斜位置又はその他のタイプの構成を有することができる。燃料は、スウォズルベーン190の正圧及び負圧側面の両方上に噴射することができる。この実施例では、スウォズルベーン190は、縮小旋回ベーン設計を有することができるが、本明細書ではその他の設計を使用することができる。スウォズルベーン190は、燃料/空気混合作用を最大にして、保炎マージン、逆火マージン及び低エミッションのような性能要件を満たすようにすることができる。スウォズルベーン190を通して導入された天然ガス、合成ガスなどの燃料は、ベーン列を通って流れる空気と混合させかつノズル160の下流において燃焼室125内で燃焼させることができる。
ハイブリッド燃料ノズル160の合成ガスシステム175は、その中に幾つかの同軸環状燃料チューブ210を含むことができる。同軸環状燃料チューブ210は、合成ガス入口180と連通状態にすることができる。同軸環状燃料チューブ210は、ハイブリッド燃料ノズル160の長さに沿って延びることができ、かつ1つ又はそれ以上のオリフィス215、1つ又はそれ以上の燃料噴射ポート217、或いはその他のタイプの構造体を通して流出することができる。本明細書では、その他の構成及び配向を使用することができる。
同軸環状燃料チューブ210はまた、燃料バイパス管路220と連通状態にすることができる。燃料バイパス管路220は、合成ガスの幾らかを天然ガスシステム165のスウォズルベーン190及び噴射ポート200に送給するのを可能にする。従って、合成ガス流の一部分は、上記した天然ガスシステム165の流れと同様な方法で燃焼させることができる。
ハイブリッド燃料ノズル160の合成ガスシステム175はまた、合成ガス入口180と連通状態になった中心合成ガスポート230を含むことができる。中心合成ガスポート230はまた、上記したようにハイブリッド燃料ノズル160を貫通して延びかつオリフィス215の1つ、燃料噴射ポート217の1つ、又はその他のタイプの構造体で終わるさらに別の同軸環状燃料チューブ210を含むことができる。中心合成ガスポート230の使用は、任意選択的なものである。本明細書では、その他の構成及びその他の数の同軸環状燃料チューブ210もまた、使用することができる。
空気は、ベーン190間に配置された幾つかの開口部240を含む幾つかの異なる空気ポート235を通して合成ガスシステム175に流入することができる。空気ポート235及び開口部240のあらゆる数並びに構成を使用することができる。空気はまた、天然ガス入口170の周りで同軸環状に流入することができる。空気は、同軸環状燃料チューブ210の周りをかつそれら同軸環状燃料チューブ210間を流れて、合成ガスとの幾らかの混合作用を行うようになる。空気はまた、中心合成ガスポート230の周りを流れる。空気及び合成ガスは、混合させかつオリフィス215の下流で燃焼させることができる。同様に、空気は、ベーン190及び開口部240の周りで天然ガスシステム165に流入することができる。空気と天然ガスシステム165から流出した合成ガス又は天然ガスとは、上記したように混合させかつスウォズルベーン190の下流で燃焼させることができる。
使用中に、天然ガスは、天然ガス管路130を通って天然ガスシステム165の天然ガス入口170内に流れる。天然ガスは次に、スウォズルベーン190の噴射ポート200を通って流れ、かつ下流での燃焼のためにそこを通って流れている空気と混合する。
合成ガス作動の場合には、合成ガスは、合成ガス管路140を通って合成ガスシステム175の合成ガス入口170内に流れる。合成ガスの幾らかは、燃料バイパス管路220に流入することができ、かつスウォズルベーン190の噴射ポート200を通って流れることができる。合成ガスの残りの部分は、同軸環状燃料チューブ210を通って流れることができ、かつ空気ポート235又はその他を介して流入する並流空気と混合させることができる。燃料及び空気は、オリフィス215を介して流出することができ、かつ下流において燃焼室125内で燃焼させることができる。
合成ガス作動の場合には、体積流量は、同一の断熱火炎温度及び作動条件において天然ガス流の体積流量の2倍以上となる可能性がある。それ故、スウォズルベーン190の噴射ポート200のみを通して燃料を噴射した場合には、燃料圧力比は、非常に高いものとなることになる。従って、合成ガス作動の場合には、スウォズルベーン190の噴射ポート200及び同軸環状燃料チューブ210の両方を使用することができる。
従って、本明細書に記載した燃料併用式ガスタービンエンジン100は、要求及び使用可能性に応じて天然ガス、高H2ガス、合成ガス、低H2ガス、又はその他のタイプの燃料を使用する燃料フレキシビリティを有する。燃料は、効率的にかつ一般的なエミッション基準の範囲内で燃焼することになる。
以上の説明は本出願の特定の実施形態のみに関するものであること、また特許請求の範囲及びその均等物によって定まる本発明の一般的技術思想並びに技術的範囲から逸脱せずに当業者が本明細書において多くの変更及び修正を加えることができることを理解されたい。
100 複数燃料式ガスタービンエンジン
110 圧縮機
120 燃焼システム
125 燃焼室
130 天然ガス管路
140 合成ガス管路
150 タービン
160 ハイブリッド燃料ノズル
165 天然ガスシステム
170 天然ガス入口
175 合成ガスシステム
180 合成ガス入口
190 スウォズルベーン
200 噴射ポート
210 同軸環状燃料チューブ
215 オリフィス
217 噴射ポート
220 燃料バイパス管路
230 中心合成ガスポート
235 空気ポート
240 開口部

Claims (9)

  1. 天然ガス、合成ガス又はその他のタイプの燃料で使用するハイブリッド燃料燃焼ノズル(160)であって、
    複数のスウォズルベーン(190)を備えた天然ガスシステム(165)と、
    複数の同軸環状燃料チューブ(210)を備えた合成ガスシステム(175)と、を含む、
    ハイブリッド燃料燃焼ノズル(160)。
  2. 前記天然ガスシステム(165)が、前記複数のスウォズルベーン(190)と連通状態になった天然ガス入口(170)を含む、請求項1記載のハイブリッド燃料燃焼ノズル(160)。
  3. 前記合成ガスシステム(175)が、前記複数の同軸環状燃料チューブ(210)と連通状態になった合成ガス入口(180)を含む、請求項1記載のハイブリッド燃料燃焼ノズル(160)。
  4. 前記複数のスウォズルベーン(190)の各々が、1つ又はそれ以上の噴射ポート(200)を含む、請求項1記載のハイブリッド燃料燃焼ノズル(160)。
  5. 前記複数の同軸環状燃料チューブ(210)が、複数のオリフィス(215)及び/又は複数の噴射ポート(217)を含む、請求項1記載のハイブリッド燃料燃焼ノズル(160)。
  6. 前記合成ガスシステム(175)が、前記複数の同軸環状燃料チューブ(210)及び天然ガスシステム(165)と連通状態になった燃料バイパス管路(220)を含む、請求項1記載のハイブリッド燃料燃焼ノズル(160)。
  7. 前記合成ガスシステム(175)が、中心合成ガスポート(230)を含む、請求項1記載のハイブリッド燃料燃焼ノズル(160)。
  8. 前記複数のスウォズルベーン(190)の周りに配置されかつ前記合成ガスシステム(175)と連通状態になった複数の開口部(240)をさらに含む、請求項1記載のハイブリッド燃料燃焼ノズル(160)。
  9. 複数燃料式タービン(100)を作動させる方法であって、
    複数のスウォズルベーン(190)を通して第1の燃料を流すステップと、
    前記第1の燃料を空気と予混合するステップと、
    複数の同軸環状燃料チューブ(210)を通して第2の燃料を流すステップと、
    前記第2の燃料の一部分を前記複数のスウォズルベーン(190)に迂回させるステップと、
    前記第2の燃料を空気と予混合するステップと、を含む、
    方法。
JP2009128404A 2008-07-29 2009-05-28 ハイブリッド燃料ノズル Active JP5675060B2 (ja)

Applications Claiming Priority (2)

Application Number Priority Date Filing Date Title
US12/181,329 2008-07-29
US12/181,329 US8186166B2 (en) 2008-07-29 2008-07-29 Hybrid two fuel system nozzle with a bypass connecting the two fuel systems

Publications (2)

Publication Number Publication Date
JP2010032201A true JP2010032201A (ja) 2010-02-12
JP5675060B2 JP5675060B2 (ja) 2015-02-25

Family

ID=41461821

Family Applications (1)

Application Number Title Priority Date Filing Date
JP2009128404A Active JP5675060B2 (ja) 2008-07-29 2009-05-28 ハイブリッド燃料ノズル

Country Status (4)

Country Link
US (1) US8186166B2 (ja)
JP (1) JP5675060B2 (ja)
CN (1) CN101639230B (ja)
DE (1) DE102009025879A1 (ja)

Cited By (1)

* Cited by examiner, † Cited by third party
Publication number Priority date Publication date Assignee Title
JPWO2023188749A1 (ja) * 2022-03-30 2023-10-05

Families Citing this family (31)

* Cited by examiner, † Cited by third party
Publication number Priority date Publication date Assignee Title
US8613187B2 (en) * 2009-10-23 2013-12-24 General Electric Company Fuel flexible combustor systems and methods
US20120052451A1 (en) * 2010-08-31 2012-03-01 General Electric Company Fuel nozzle and method for swirl control
US8800289B2 (en) 2010-09-08 2014-08-12 General Electric Company Apparatus and method for mixing fuel in a gas turbine nozzle
US9010083B2 (en) 2011-02-03 2015-04-21 General Electric Company Apparatus for mixing fuel in a gas turbine
US9506654B2 (en) 2011-08-19 2016-11-29 General Electric Company System and method for reducing combustion dynamics in a combustor
US8984887B2 (en) 2011-09-25 2015-03-24 General Electric Company Combustor and method for supplying fuel to a combustor
US8801428B2 (en) 2011-10-04 2014-08-12 General Electric Company Combustor and method for supplying fuel to a combustor
US8550809B2 (en) 2011-10-20 2013-10-08 General Electric Company Combustor and method for conditioning flow through a combustor
US9188335B2 (en) 2011-10-26 2015-11-17 General Electric Company System and method for reducing combustion dynamics and NOx in a combustor
US8894407B2 (en) 2011-11-11 2014-11-25 General Electric Company Combustor and method for supplying fuel to a combustor
US9033699B2 (en) 2011-11-11 2015-05-19 General Electric Company Combustor
US9004912B2 (en) 2011-11-11 2015-04-14 General Electric Company Combustor and method for supplying fuel to a combustor
US9322557B2 (en) 2012-01-05 2016-04-26 General Electric Company Combustor and method for distributing fuel in the combustor
US9341376B2 (en) 2012-02-20 2016-05-17 General Electric Company Combustor and method for supplying fuel to a combustor
US9052112B2 (en) 2012-02-27 2015-06-09 General Electric Company Combustor and method for purging a combustor
US9121612B2 (en) 2012-03-01 2015-09-01 General Electric Company System and method for reducing combustion dynamics in a combustor
US8511086B1 (en) 2012-03-01 2013-08-20 General Electric Company System and method for reducing combustion dynamics in a combustor
US9249734B2 (en) 2012-07-10 2016-02-02 General Electric Company Combustor
US8904798B2 (en) 2012-07-31 2014-12-09 General Electric Company Combustor
US9353950B2 (en) 2012-12-10 2016-05-31 General Electric Company System for reducing combustion dynamics and NOx in a combustor
US9273868B2 (en) 2013-08-06 2016-03-01 General Electric Company System for supporting bundled tube segments within a combustor
CN104501208B (zh) * 2014-11-27 2018-02-06 北京华清燃气轮机与煤气化联合循环工程技术有限公司 燃气轮机燃烧室喷嘴
CN106123033B (zh) * 2016-07-12 2018-10-16 北京航空航天大学 一种主燃级叶片开孔喷油的低排放燃烧室
US10145561B2 (en) 2016-09-06 2018-12-04 General Electric Company Fuel nozzle assembly with resonator
US11680522B2 (en) * 2019-08-02 2023-06-20 Dynamo Ip Holdings, Llc Gas turbine heater
US12007116B2 (en) 2021-02-19 2024-06-11 Pratt & Whitney Canada Corp. Dual pressure fuel nozzles
US11525403B2 (en) 2021-05-05 2022-12-13 Pratt & Whitney Canada Corp. Fuel nozzle with integrated metering and flashback system
US11454396B1 (en) 2021-06-07 2022-09-27 General Electric Company Fuel injector and pre-mixer system for a burner array
KR102863421B1 (ko) 2023-12-15 2025-09-22 두산에너빌리티 주식회사 연소기용 노즐, 연소기, 및 이를 포함하는 가스 터빈
US12535216B1 (en) 2025-01-02 2026-01-27 General Electric Company Combustion section for a turbine engine
US12516630B1 (en) * 2025-02-03 2026-01-06 Ge Vernova Infrastructure Technology Llc System and method for fuel injection in turbine section of gas turbine engine

Citations (2)

* Cited by examiner, † Cited by third party
Publication number Priority date Publication date Assignee Title
JPH06506760A (ja) * 1991-04-25 1994-07-28 シーメンス アクチエンゲゼルシヤフト 石炭ガスおよび別の燃料を有害成分の発生を少なく燃焼するための特にガスタービン用のバーナ燃焼装置
WO2008057685A2 (en) * 2006-10-06 2008-05-15 General Electric Company Combustor nozzle for a fuel-flexible combustion system

Family Cites Families (7)

* Cited by examiner, † Cited by third party
Publication number Priority date Publication date Assignee Title
US5199265A (en) * 1991-04-03 1993-04-06 General Electric Company Two stage (premixed/diffusion) gas only secondary fuel nozzle
DE69916911T2 (de) * 1998-02-10 2005-04-21 Gen Electric Brenner mit gleichmässiger Brennstoff/Luft Vormischung zur emissionsarmen Verbrennung
US6915636B2 (en) * 2002-07-15 2005-07-12 Power Systems Mfg., Llc Dual fuel fin mixer secondary fuel nozzle
US7490471B2 (en) * 2005-12-08 2009-02-17 General Electric Company Swirler assembly
US20070234735A1 (en) * 2006-03-28 2007-10-11 Mosbacher David M Fuel-flexible combustion sytem and method of operation
US20080078183A1 (en) * 2006-10-03 2008-04-03 General Electric Company Liquid fuel enhancement for natural gas swirl stabilized nozzle and method
CN201050803Y (zh) * 2007-04-29 2008-04-23 沈阳黎明航空发动机(集团)有限责任公司 一种用于燃气轮机的双燃料喷嘴

Patent Citations (2)

* Cited by examiner, † Cited by third party
Publication number Priority date Publication date Assignee Title
JPH06506760A (ja) * 1991-04-25 1994-07-28 シーメンス アクチエンゲゼルシヤフト 石炭ガスおよび別の燃料を有害成分の発生を少なく燃焼するための特にガスタービン用のバーナ燃焼装置
WO2008057685A2 (en) * 2006-10-06 2008-05-15 General Electric Company Combustor nozzle for a fuel-flexible combustion system

Cited By (3)

* Cited by examiner, † Cited by third party
Publication number Priority date Publication date Assignee Title
JPWO2023188749A1 (ja) * 2022-03-30 2023-10-05
WO2023188749A1 (ja) * 2022-03-30 2023-10-05 三菱パワー株式会社 燃焼器及びガスタービン
JP7809197B2 (ja) 2022-03-30 2026-01-30 三菱重工業株式会社 燃焼器及びガスタービン

Also Published As

Publication number Publication date
US8186166B2 (en) 2012-05-29
CN101639230B (zh) 2017-05-10
DE102009025879A1 (de) 2010-02-04
US20100024426A1 (en) 2010-02-04
JP5675060B2 (ja) 2015-02-25
CN101639230A (zh) 2010-02-03

Similar Documents

Publication Publication Date Title
JP5675060B2 (ja) ハイブリッド燃料ノズル
US8113002B2 (en) Combustor burner vanelets
CN100489397C (zh) 用于使燃料氧化剂混合物燃烧的方法和装置
CN102444911B (zh) 具有贫预喷喷嘴燃料喷射系统的燃烧器
US10234142B2 (en) Fuel delivery methods in combustion engine using wide range of gaseous fuels
JP5620655B2 (ja) 多段燃焼システム及び方法
CN101793408B (zh) 燃烧器喷嘴
US9976522B2 (en) Fuel injector for combustion engine and staged fuel delivery method
CN105452775B (zh) 适合多种燃料的燃气轮机燃烧器
CN204678394U (zh) 用于燃气涡轮发动机的燃料喷射器
CN101765742B (zh) 用于运行预混合式燃烧器的方法
CN101644435A (zh) 稀薄直喷式扩散头和相关方法
KR20100080428A (ko) 이중 연료 1차 노즐
US10247155B2 (en) Fuel injector and fuel system for combustion engine
CN102032576A (zh) 分级多管式预混合喷射器
JP2008128632A (ja) 三重環状反転スワーラ
JP6176707B2 (ja) 二次燃焼システム
JP5449205B2 (ja) バーナ装置およびこのようなバーナ装置の使用方法
CN102168851B (zh) 燃料柔性燃烧器系统和方法
JP2013217635A (ja) 拡散燃焼器燃料ノズル
JP2013238386A (ja) 混合回路を有する燃料噴射器
JP2016186387A (ja) ガスタービン燃焼器およびガスタービン
CN105276619B (zh) 适合多种燃料的燃气轮机燃烧器
JP2014178107A (ja) NOx排出物質を制限するための拡散型燃焼器燃料ノズル
JP2012149882A (ja) 燃料噴射器

Legal Events

Date Code Title Description
A621 Written request for application examination

Free format text: JAPANESE INTERMEDIATE CODE: A621

Effective date: 20120521

A977 Report on retrieval

Free format text: JAPANESE INTERMEDIATE CODE: A971007

Effective date: 20130628

A131 Notification of reasons for refusal

Free format text: JAPANESE INTERMEDIATE CODE: A131

Effective date: 20130709

A521 Request for written amendment filed

Free format text: JAPANESE INTERMEDIATE CODE: A523

Effective date: 20131008

A131 Notification of reasons for refusal

Free format text: JAPANESE INTERMEDIATE CODE: A131

Effective date: 20140401

A521 Request for written amendment filed

Free format text: JAPANESE INTERMEDIATE CODE: A523

Effective date: 20140630

TRDD Decision of grant or rejection written
A01 Written decision to grant a patent or to grant a registration (utility model)

Free format text: JAPANESE INTERMEDIATE CODE: A01

Effective date: 20141202

A61 First payment of annual fees (during grant procedure)

Free format text: JAPANESE INTERMEDIATE CODE: A61

Effective date: 20141224

R150 Certificate of patent or registration of utility model

Ref document number: 5675060

Country of ref document: JP

Free format text: JAPANESE INTERMEDIATE CODE: R150

R250 Receipt of annual fees

Free format text: JAPANESE INTERMEDIATE CODE: R250

R250 Receipt of annual fees

Free format text: JAPANESE INTERMEDIATE CODE: R250

R250 Receipt of annual fees

Free format text: JAPANESE INTERMEDIATE CODE: R250

R250 Receipt of annual fees

Free format text: JAPANESE INTERMEDIATE CODE: R250

R250 Receipt of annual fees

Free format text: JAPANESE INTERMEDIATE CODE: R250

R250 Receipt of annual fees

Free format text: JAPANESE INTERMEDIATE CODE: R250

S111 Request for change of ownership or part of ownership

Free format text: JAPANESE INTERMEDIATE CODE: R313113

R350 Written notification of registration of transfer

Free format text: JAPANESE INTERMEDIATE CODE: R350

R250 Receipt of annual fees

Free format text: JAPANESE INTERMEDIATE CODE: R250

R250 Receipt of annual fees

Free format text: JAPANESE INTERMEDIATE CODE: R250