JP2010025443A - 低NOx燃焼装置及びこれに用いるバーナ - Google Patents

低NOx燃焼装置及びこれに用いるバーナ Download PDF

Info

Publication number
JP2010025443A
JP2010025443A JP2008187409A JP2008187409A JP2010025443A JP 2010025443 A JP2010025443 A JP 2010025443A JP 2008187409 A JP2008187409 A JP 2008187409A JP 2008187409 A JP2008187409 A JP 2008187409A JP 2010025443 A JP2010025443 A JP 2010025443A
Authority
JP
Japan
Prior art keywords
combustion
burner
combustion chamber
air
fuel
Prior art date
Legal status (The legal status is an assumption and is not a legal conclusion. Google has not performed a legal analysis and makes no representation as to the accuracy of the status listed.)
Granted
Application number
JP2008187409A
Other languages
English (en)
Other versions
JP5103311B2 (ja
Inventor
Nobuaki Hayashimoto
伸章 林本
Hirochika Konishi
博規 小西
Current Assignee (The listed assignees may be inaccurate. Google has not performed a legal analysis and makes no representation or warranty as to the accuracy of the list.)
Nippon Thermoener Co Ltd
Original Assignee
Nippon Thermoener Co Ltd
Priority date (The priority date is an assumption and is not a legal conclusion. Google has not performed a legal analysis and makes no representation as to the accuracy of the date listed.)
Filing date
Publication date
Application filed by Nippon Thermoener Co Ltd filed Critical Nippon Thermoener Co Ltd
Priority to JP2008187409A priority Critical patent/JP5103311B2/ja
Publication of JP2010025443A publication Critical patent/JP2010025443A/ja
Application granted granted Critical
Publication of JP5103311B2 publication Critical patent/JP5103311B2/ja
Active legal-status Critical Current
Anticipated expiration legal-status Critical

Links

Images

Abstract

【課題】 小型ボイラ等の高負荷燃焼条件下において燃料を低空気比で燃焼させても、NOx及びCOの発生を抑制できるようにする。
【解決手段】 複数の水管1a及びヒレ1bから成る水冷壁1構造の伝熱面又は水冷ジャケット構造の伝熱面で囲まれた横断面形状が長方形状の縦長の燃焼室S1と、燃焼室S1の一端部に燃焼室S1の幅方向中央位置Lから偏芯させた位置に設けられ、燃料Gと燃焼用空気Aの予混合気G′を燃焼室S1内に高速で噴射して燃焼させる縦長細幅のバーナ5とを具備した燃焼装置であって、前記バーナ5は、予混合気G′を縦横比が50:1以上になる縦長薄膜状の形態で且つ50m/sec以上の高速で噴射し、縦長薄膜状の火炎Fがバーナ5を偏芯させた側の燃焼室S1の伝熱面に沿って形成されるようにする。
【選択図】 図1

Description

本発明は、主に小型の多管式貫流ボイラ等に使用されるものであり、特に、燃料と燃焼用空気を混合させて成る予混合気を縦長薄膜状の形態で高速噴射して燃焼させ、縦長薄膜状の火炎を燃焼室の片方の伝熱面に沿って形成することによって、高負荷燃焼条件下において燃料を低空気比で燃焼させても、NOx及びCOの発生を大幅に抑制できるようにした低NOx燃焼装置及びこれに用いるバーナに関するものである。
従来、ガスや油を燃料とするボイラ等においては、大気汚染等の問題により有害な燃焼廃棄物としてNOx、CO等の排出低減が求められて来た。近年では、CO2の温室効果ガスによる地球温暖化が問題になっており、CO2の排出低減も強く求められている。
そのため、国内のCO2全排出量の約1割を占める小型ボイラ等の小型燃焼機器においても、CO2の排出量を削減できて低NOx化及び低CO化を図れるようにした燃焼機器が求められている。
一般的に、小型ボイラ(例えば、小型の多管式貫流ボイラ)等においては、小型化が益々進んで燃焼室が非常にコンパクトであり、炉負荷が1000kW/m3〜10000kW/m3の非常に高負荷な燃焼条件となっている。そのため、低空気比の燃焼では、COの発生を抑えることができないので、空気比は1.25〜1.4程度に設定されている。
従来の低NOx化技術としては、分割火炎による拡散燃焼方式や予混合燃焼方式等が挙げられる(例えば、特許文献1、特許文献2及び特許文献3等参照)。
ところで、空気比が1.25以上の高空気比領域では、予混合燃焼方式は拡散燃焼方式よりも火炎冷却効果が優れているためにNOxの発生を抑えることができる。
しかし、空気比が1.25以下の低空気比領域では、予混合燃焼方式は拡散燃焼方式よりも燃焼速度が増加して火炎温度が上がるためにNOxの発生を抑えることができない。
従って、小型ボイラ等においては、上述したように高負荷燃焼条件下での低空気比燃焼ではCOが発生する理由から、燃料を低空気比で燃焼させることができないので、予混合燃焼方式が一般的に最も優れた低NOx燃焼方式である。
小型ボイラ等において低空気比燃焼が可能になると、排ガス熱損失を抑えてボイラを高効率化して燃料消費量を抑えることができるため、その分のCO2排出量の低減が可能となる。
しかし、従来の技術では、高負荷燃焼条件下にてCOの発生を抑え、且つNOxの発生を抑えることは非常に困難であった。
特開2003−302012号公報 特開2007−120839号公報 特開2007−309578号公報
本発明は、このような問題点に鑑みて為されたものであり、その目的は、小型ボイラ等の高負荷燃焼条件下において燃料を低空気比で燃焼させても、NOx及びCOの発生を大幅に抑制できるようにした低NOx燃焼装置及びこれに用いるバーナを提供することにある。
上記目的を達成するために、本発明の請求項1の発明は、複数の水管及びヒレから成る水冷壁構造の伝熱面又は水冷ジャケット構造の伝熱面で囲まれた横断面形状が長方形状の縦長の燃焼室と、燃焼室の一端部に燃焼室の幅方向中央位置から偏芯させた位置に設けられ、燃料と燃焼用空気の予混合気を燃焼室内に高速で噴射して燃焼させる縦長細幅のバーナとを具備した燃焼装置であって、前記バーナは、予混合気を縦横比が50:1以上になる縦長薄膜状の形態で且つ50m/sec以上の高速で噴射し、縦長薄膜状の火炎がバーナを偏芯させた側の燃焼室の伝熱面に沿って形成されるようにしたことに特徴がある。
本発明の請求項2の発明は、燃焼室の幅とバーナから高速で噴射される縦長薄膜状の予混合気の幅の比率を25:1以上としたことに特徴がある。
本発明の請求項3の発明は、低NOx燃焼装置に用いるバーナであって、前記バーナは、先端を開放した縦長の偏平な長方体形状に形成されて燃焼用空気の一部が二次燃焼用空気として流入する燃焼筒と、横断面形状が先細り状に形成されて燃焼用空気の一部が一次燃焼用空気として流入する縦長の入口部及び入口部に連設されて縦向きのスリット状の噴出通路を形成すると共に先端部側両側面に燃焼筒内へ流入した二次燃焼用空気の一部を前記噴出通路内へ吸入する吸入穴を形成した縦長の噴出部を備え、前記噴出部先端が燃焼筒の先端側開口内に位置する状態で燃焼筒内に配設された予混合気の噴射ノズルと、噴射ノズルの入口部内に配設されて燃料を入口部内の一次燃焼用空気の流れに交差する状態で噴射するガスマニホールドとから成り、燃料と燃焼用空気の予混合気を縦横比が50:1以上になる縦長薄膜状の形態で且つ50m/sec以上の高速で噴射できる構成としたことに特徴がある。
本発明の低NOx燃焼装置は、複数の水管及びヒレから成る水冷壁構造の伝熱面又は水冷ジャケット構造の伝熱面で囲まれた横断面形状が長方形状に形成された縦長の燃焼室の一端部に、燃焼室の幅方向中央位置から偏芯させた位置に縦長細幅のバーナを配設し、当該バーナから燃料と燃焼用空気の予混合気を縦横比が50:1以上になる縦長薄膜状の形態で且つ50m/sec以上の高速で噴射し、縦長薄膜状の火炎がバーナを偏芯させた側の燃焼室の伝熱面に沿って形成されるようにしているため、燃焼室の伝熱面に沿って形成された縦長薄膜状の火炎の上流側では、予混合気の高速噴射によるブローオフ寸前の緩慢燃焼になっていると共に、熱放散の良い縦長薄膜状の火炎になっているので、火炎温度の上昇が抑えられてサーマルNOxの発生を抑制することができ、又、縦長薄膜状の火炎の下流側では、予混合気の高速噴射流により乱流度が高くなっているので、燃焼ガスの混合が促進されてCOからCO2への酸化を素早く完結できる。
その結果、本発明の低NOx燃焼装置は、高負荷燃焼条件下において燃料を空気比が1.1〜1.2の低空気比で燃焼させても、NOx及びCOの発生を大幅に抑制することができる。
又、本発明の低NOx燃焼装置は、燃焼室の幅とバーナから高速で噴射される縦長薄膜状の予混合気の幅の比率を25:1以上としているため、コアンダ効果により縦長薄膜状の火炎がバーナを偏芯させた側の燃焼室の伝熱面に沿って確実且つ良好に形成されることになり、上述した効果をより確実に発揮することができる。
本発明のバーナは、燃料と燃焼用空気の予混合気を縦横比が50:1以上になる縦長薄膜状の形態で且つ50m/sec以上の高速で噴射できる構成としているため、縦長薄膜状で表面積の広い火炎が形成されて輻射放熱性が良くなり、火炎の温度を抑えることができるうえ、燃焼排ガスの引き込み効果が大きくなってNOxの低減効果が大きくなる。
又、本発明のバーナは、燃焼用空気を一次燃焼用空気及び二次燃焼用空気に分割して燃料と多段混合させているため、燃焼初期の反応速度を抑えて低NOx化を図ることができる。
以下、本発明の実施の形態を図面に基づいて詳細に説明する。
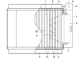
図1及び図2は本発明の実施の形態に係る低NOx燃焼装置を示し、当該低NOx燃焼装置は、対向状に配設されて燃焼室S1及び熱交換室S2を形成する一対の水冷壁1と、両水冷壁1の上方位置及び下方位置に配設されて両水冷壁1の各水管1aの上端部及び下端部が夫々連通状に接続される上部ヘッダー2及び下部ヘッダー3と、熱交換室S2内に配設されて上端部及び下端部が上部ヘッダー2及び下部ヘッダー3に夫々連通状に接続される複数本の伝熱水管4aから成る伝熱水管群4と、燃焼室S1の一端部(燃焼室S1の上流側端部)に燃焼室S1の幅方向中央位置Lから偏芯させた位置に設けられ、燃料Gと燃焼用空気Aを混合して成る予混合気G′を燃焼室S1内に縦長薄膜状に高速で噴射して燃焼させる縦長細幅のバーナ5と、バーナ5全体を覆う状態で設けられ、空気供給ダクト6から供給された燃焼用空気Aをバーナ5へ供給する風箱7とを具備する蒸気ボイラ(多管式貫流ボイラ)の構造に構成されている。
前記一対の水冷壁1は、図1に示す如く、複数本の水管1aを直線状に並列配置して隣接する水管1aを上下方向へ延びる帯板状のヒレ1bで連結することにより形成されており、対向状に配置されて両水冷壁1の内壁面(伝熱面)間に横断面形状が長方形状に形成された縦長の燃焼室S1とこれに連通する熱交換室S2を形成するようになっている。
又、両水冷壁1の上流側端部(図1の右側端部)には、バーナ5が挿着される耐火壁8が設けられている。
前記上部ヘッダー2及び下部ヘッダー3は、図2に示す如く、何れも矩形箱状に形成されており、上部ヘッダー2には、両水冷壁1の各水管1aの上端部が、又、下部ヘッダー3には、両水冷壁1の各水管1aの下端部が夫々連通状に接続されている。
尚、上部ヘッダー2には、発生した蒸気を気水分離器(図示省略)へ導くための蒸気管が接続されていると共に、下部ヘッダー3には、給水管(図示省略)が接続されている。又、上部ヘッダー2の下面側及び下部ヘッダー3の上面側には、耐火物9が夫々内張りされており、上部ヘッダー2及び下部ヘッダー3を高温の燃焼ガスから保護すると共に、燃焼室S1及び熱交換室S2の上面側及び下面側を閉塞するようになっている。
前記伝熱水管群4は、図1に示す如く、熱交換室S2内に配設されており、上端部及び下端部が上部ヘッダー2及び下部ヘッダー3に夫々連通状に接続された複数本の伝熱水管4aから成る。この伝熱水管群4を形成する複数の伝熱水管4aは、熱交換室S2内に一定のピッチで配設されている。従って、伝熱水管群4と両水冷壁1との隙間及び伝熱水管群4の隙間には、燃焼室S1からの燃焼ガスが通過する燃焼ガス通路が形成されることになる。
前記バーナ5は、図1に示す如く、燃焼室S1の一端部(上流側端部)に燃焼室S1の幅方向中央位置Lから偏芯させた位置に設けられて耐火壁8に挿着されており、燃料Gと燃焼用空気Aの予混合気G′を縦長薄膜状に高速で噴射させ、縦長薄膜状の火炎Fが偏芯させた側の燃焼室S1内の伝熱面に沿って形成されるようにしている。
この現象は、コアンダ効果(流体が物体の表面を流れるとき、物体の表面外形へ貼り付くように沿って流れる現象)と呼ばれ、薄膜状の予混合気G′の噴流幅と燃焼室S1の幅の比及び予混合気G′の噴出速度に左右される。
そのため、このバーナ5は、予混合気G′を縦横比が50:1以上になる縦長薄膜状の形態で且つ50m/sec以上の高速で噴射させる構成となっている。又、このバーナ5は、燃焼室S1の幅と高速で噴射する縦長薄膜状の予混合気G′の幅との比が25:1以上になるように構成されている。
具体的には、前記バーナ5は、図1に示す如く、耐火壁8に挿着されて燃焼用空気Aの一部が二次燃焼用空気A2として流入する縦長長方形状の燃焼筒10と、燃焼筒10内に配設されて燃料Gと燃焼用空気Aとを混合して成る予混合気G′を燃焼室S1内へ噴射する噴射ノズル11と、噴射ノズル11の入口内に配設されて燃料Gを噴射ノズル11内に噴出するガスマニホールド12とを具備しており、予混合気G′を縦横比が50:1以上になる縦長薄膜状の形態で且つ50m/sec以上の高速で噴射すると共に、燃焼室S1の幅と高速で噴射する縦長薄膜状の予混合気G′の幅との比が25:1以上になるようにし、燃焼室S1内に縦長薄膜状の火炎Fを形成するようにしたものである。
前記燃焼筒10は、図3に示す如く、先端(図3(A)の左端端)を開放した横断面形状が長方形の縦長の偏平な長方体形状に形成されており、その両側面には、送風機(図示省略)から空気供給ダクト6を経て風箱7内に供給された燃焼用空気Aの一部を二次燃焼用空気A2として燃焼筒10内に供給する二次空気穴10aが縦方向に一定の間隔で形成されている。
噴射ノズル11は、図3に示す如く、横断面形状が先細り状に形成された縦長の入口部11aと、入口部11aに連設されて縦向きのスリット状の噴出通路を形成する縦長の噴出部11bと、入口部11aの開口側端に連設されたフランジ部11cとから成り、フランジ部11cが燃焼筒10の後端に当接し、噴出部11bの先端が燃焼筒10の先端側開口に位置する状態で燃焼筒10内の中心位置に配設されている。
又、噴射ノズル11の噴出部11bの先端部側両側面には、二次空気穴10aから燃焼筒10内に供給された二次燃焼用空気A2の一部を噴出部11bのスリット状の噴出通路内へ吸入するための縦長の吸入穴11dが縦方向に一定間隔ごとに形成されている。
更に、噴射ノズル11の噴出部11bの先端と燃焼筒10の先端との間には、二次空気穴10aから燃焼筒10内に供給された二次燃焼用空気A2の一部を前方へ噴出するスリット状の間隙が形成されていると共に、燃焼筒10体と噴射ノズル11との間に形成された二次燃焼用空気A2の流通路内には、整流板11eが縦方向に一定間隔ごとに配置されている。
ガスマニホールド12は、図3に示す如く、先端部を尖らせた偏平な縦長のボックス状に形成されており、先端部側が噴射ノズル11の入口部11a内に挿入され、又、後端部側に燃料ガス供給源(図示省略)と接続される燃料ガス供給管(図示省略)が接続されている
このガスマニホールド12の先端部の両側面には、噴射ノズル11の入口部11a内面とガスマニホールド12の先端部外面との間に形成される一次燃焼用空気A1の流入路に交差する向きの燃料噴出孔12aが形成されている。
又、ガスマニホールド12は、その先端部外面と噴射ノズル11の入口部11a内面との間隙を燃料噴出孔12aからの燃料Gの噴出で一次燃焼用空気A1の吸引を効果的に行える距離をとって配置されている。
そして、前記バーナ5の近傍位置には、バーナ5から噴出された予混合気G′に着火させるパイロットバーナ13がそのパイロット炎をバーナ5の先端に臨むように設けられている。このパイロットバーナ13は、予混合気G′の着火後に停止されるものである。
前記バーナ5によれば、送風機(図示省略)から空気供給ダクト6を経て風箱7内に供給された燃焼用空気Aの一部が一次燃焼用空気A1として噴射ノズル11の入口部11a内に流入し、燃料ガス供給管(図示省略)からガスマニホールド12に供給された燃料Gがガスマニホールド12の燃料噴出孔12aから噴射ノズル11の入口部11a内を流動している一次燃焼用空気A1内へ交差する状態で噴射されて燃料Gと一次燃焼用空気A1が混合され、この予混合気G′が噴射ノズル11の噴出部11b先端の開口から縦長薄膜状の形態で噴出されてパイロットバーナ13により着火されて燃焼し、縦長細幅の火炎Fを形成する。
又、このバーナ5によれば、風箱7内に供給された燃焼用空気Aの一部が燃焼筒10の二次空気穴10aから燃焼筒10内に二次燃焼用空気A2として流入し、燃焼筒10体と噴射ノズル11との間に形成された二次燃焼用空気A2の流通路内を燃焼筒10の先端開口へ向って流れて行き、その途中において一部の二次燃焼用空気A2が噴射ノズル11の吸入穴11dから噴射ノズル11内に吸入されて予混合気G′と混合され、残りの二次燃焼用空気A2が噴射ノズル11の噴出部11b先端と燃焼筒10の先端との間に形成されたスリット状の間隙から燃焼室S1内に噴射される。このバーナ5は、燃焼用空気Aを分割して燃料Gと多段混合させているため、燃焼初期の反応速度が抑えられて低NOx化を図ることができる。又、このバーナ5は、燃焼筒10内の二次燃焼用空気A2が噴射ノズル11の噴出部11b先端と燃焼筒10の先端との間に形成されたスリット状の間隙から噴射されるため、火炎Fの拡散が抑制されることになる。
以上のように構成された低NOx燃焼装置は、燃料Gとしてガス燃料Gを用い、これをバーナ5へ供給し、又、空気比が1.1〜1.2となるように流量制御される燃焼用空気Aをバーナ5へ供給して前記ガス燃料Gと混合させて燃焼させるようになっている。
前記低NOx燃焼装置によれば、バーナ5から噴出されたガス燃料Gと燃焼用空気Aの予混合気G′は、縦長薄膜状に高速で燃焼室S1内に噴射され、パイロットバーナ13により着火されて燃焼する。
このとき、バーナ5が、燃焼室S1の一端部に燃焼室S1の幅方向中央位置Lから偏芯させた位置に設けられ、予混合気G′を縦横比が50:1以上になる縦長薄膜状の形態で且つ50m/sec以上の高速で噴射させていると共に、燃焼室S1の幅と高速で噴射する縦長薄膜状の予混合気G′の幅との比が25:1以上になるようにしているため、燃焼室S1内に形成された縦長薄膜状の火炎Fがコアンダ効果により偏芯させた側の燃焼室S1内の伝熱面に沿うように形成される。
燃焼室S1内の伝熱面に沿って形成される火炎Fにおいては、噴射ノズル11近傍では、予混合気G′が火炎伝播速度を超える高速度で噴射されるために主流では炎が形成されず、流速の遅い側流から緩慢に火炎Fが伝播して行く、いわばブローオフ(吹き消え)寸前の燃焼である。
又、火炎Fは、縦長薄膜状で表面積の広い火炎Fであるために輻射放熱性が良く、然も、火炎Fが燃焼室S1の伝熱面に沿うことから接触放熱性も良く、これらによっても火炎Fの温度を抑えることができる。
更に、火炎Fが燃焼室S1の片方の水冷壁1面(伝熱面)に片寄ることにより、もう片方の水冷壁1面と火炎Fとの間の燃焼室S1空間には燃焼ガスの再循環流G″が発生する。この燃焼ガスの再循環流G″がバーナ5の先端部近傍に戻って主流と合流して燃焼を緩慢にする効果がある。
このように、低NOx燃焼装置においては、火炎Fの上流側では、高速噴射流であるが故に緩慢な燃焼が起こり、又、火炎Fの下流側では、高速噴射流であるが故に乱流度が高くなって燃焼ガスの混合促進が良くなり、COからCO2への変化を素早く完結できる効果がある。
従って、この低NOx燃焼装置では、燃料Gを空気比が1.1〜1.2の低空気比で燃やしても、火炎Fの上流側では、通常の予混合燃焼方式よりも燃焼速度を抑えることができるため、火炎Fの温度上昇が緩和されてサーマルNOxの発生を抑えることができ、又、火炎Fの下流側では、燃焼を素早く完結できるためにCOの残留を抑えることができる。
そして、燃焼室S1内に発生した燃焼ガスは、燃焼室S1から熱交換室S2内に流入し、伝熱水管群4と両水冷壁1に接触しながら燃焼ガス通路内を下流側へ向かって流れ、その間に接触伝熱により両水冷壁1と伝熱水管群4を形成する複数の伝熱水管4aとに熱を与え、その後熱交換室S2に接続された煙道(図示省略)を通ってボイラ外部へ排出される。
図4のグラフは、本願発明の低NOx燃焼装置を用いた蒸気ボイラと本願発明のバーナと本件出願人が先に開発した従来の予混合燃焼方式を採用した蒸気ボイラの燃焼性能を比較したグラフである。尚、本願発明の低NOx燃焼装置を用いた蒸気ボイラと本願発明のバーナと従来の予混合燃焼方式を採用した蒸気ボイラは、同じ条件下で運転し、使用燃料Gには、天然ガス・LPGを使用した。
図4のグラフからも明らかなように、本願発明の低NOx燃焼装置を用いた蒸気ボイラと本願発明のバーナは、従来の予混合燃焼方式を採用した蒸気ボイラに比較してNOx及びCOの発生を大幅に抑制することができた。
尚、上記の実施の形態に於いては、水冷壁1構造の伝熱面で燃焼室S1を形成するようにしたが、他の実施の形態に於いては、水冷ジャケット構造の伝熱面で燃焼室S1を形成するようにしても良い(図示省略)。
本発明の実施の形態に係る低NOx燃焼装置の概略横断面図である。 同じく低NOx燃焼装置の一部切欠側面図である。 低NOx燃焼装置のバーナを示し、(A)はバーナの横断面図、(B)はバーナの部分側面図である。 本願発明の低NOx燃焼装置を用いた蒸気ボイラと本願発明のバーナと本件出願人が先に開発した従来の予混合燃焼方式を採用した蒸気ボイラの燃焼性能を比較したグラフである。
符号の説明
1は水冷壁、1aは水管、1bはヒレ、5はバーナ、10は燃焼筒、11は噴射ノズル、11aは入口部、11bは噴出部、11dは吸入穴、12はガスマニホールド、Aは燃焼用空気、A1は一次燃焼用空気、A2は二次燃焼用空気、Fは火炎、Gは燃料、G′は予混合気、Lは燃焼室の幅方向中央位置、S1は燃焼室。

Claims (3)

  1. 複数の水管及びヒレから成る水冷壁構造の伝熱面又は水冷ジャケット構造の伝熱面で囲まれた横断面形状が長方形状の縦長の燃焼室と、燃焼室の一端部に燃焼室の幅方向中央位置から偏芯させた位置に設けられ、燃料と燃焼用空気の予混合気を燃焼室内に高速で噴射して燃焼させる縦長細幅のバーナとを具備した燃焼装置であって、前記バーナは、予混合気を縦横比が50:1以上になる縦長薄膜状の形態で且つ50m/sec以上の高速で噴射し、縦長薄膜状の火炎がバーナを偏芯させた側の燃焼室の伝熱面に沿って形成されるようにしたことを特徴とする低NOx燃焼装置。
  2. 燃焼室の幅とバーナから高速で噴射される縦長薄膜状の予混合気の幅の比率を25:1以上としたことを特徴とする請求項1に記載の低NOx燃焼装置。
  3. 請求項1又は請求項2に記載の低NOx燃焼装置に用いるバーナであって、前記バーナは、先端を開放した縦長の偏平な長方体形状に形成されて燃焼用空気の一部が二次燃焼用空気として流入する燃焼筒と、横断面形状が先細り状に形成されて燃焼用空気の一部が一次燃焼用空気として流入する縦長の入口部及び入口部に連設されて縦向きのスリット状の噴出通路を形成すると共に先端部側両側面に燃焼筒内へ流入した二次燃焼用空気の一部を前記噴出通路内へ吸入する吸入穴を形成した縦長の噴出部を備え、前記噴出部先端が燃焼筒の先端側開口内に位置する状態で燃焼筒内に配設された予混合気の噴射ノズルと、噴射ノズルの入口部内に配設されて燃料を入口部内の一次燃焼用空気の流れに交差する状態で噴射するガスマニホールドとから成り、燃料と燃焼用空気の予混合気を縦横比が50:1以上になる縦長薄膜状の形態で且つ50m/sec以上の高速で噴射できる構成としたことを特徴とするバーナ。
JP2008187409A 2008-07-18 2008-07-18 低NOx燃焼装置及びこれに用いるバーナ Active JP5103311B2 (ja)

Priority Applications (1)

Application Number Priority Date Filing Date Title
JP2008187409A JP5103311B2 (ja) 2008-07-18 2008-07-18 低NOx燃焼装置及びこれに用いるバーナ

Applications Claiming Priority (1)

Application Number Priority Date Filing Date Title
JP2008187409A JP5103311B2 (ja) 2008-07-18 2008-07-18 低NOx燃焼装置及びこれに用いるバーナ

Publications (2)

Publication Number Publication Date
JP2010025443A true JP2010025443A (ja) 2010-02-04
JP5103311B2 JP5103311B2 (ja) 2012-12-19

Family

ID=41731457

Family Applications (1)

Application Number Title Priority Date Filing Date
JP2008187409A Active JP5103311B2 (ja) 2008-07-18 2008-07-18 低NOx燃焼装置及びこれに用いるバーナ

Country Status (1)

Country Link
JP (1) JP5103311B2 (ja)

Cited By (3)

* Cited by examiner, † Cited by third party
Publication number Priority date Publication date Assignee Title
CN109442402A (zh) * 2018-10-11 2019-03-08 浙江力巨热能设备有限公司 一种水冷预混燃烧方法及装置
KR102505405B1 (ko) * 2022-05-03 2023-03-06 주식회사 대열보일러 보일러용 버너
KR102505403B1 (ko) * 2022-05-03 2023-03-06 주식회사 대열보일러 보일러 시스템

Citations (2)

* Cited by examiner, † Cited by third party
Publication number Priority date Publication date Assignee Title
JPS4971525A (ja) * 1972-11-15 1974-07-10
JP2008116077A (ja) * 2006-11-01 2008-05-22 Takuma Co Ltd ガスバーナ

Patent Citations (2)

* Cited by examiner, † Cited by third party
Publication number Priority date Publication date Assignee Title
JPS4971525A (ja) * 1972-11-15 1974-07-10
JP2008116077A (ja) * 2006-11-01 2008-05-22 Takuma Co Ltd ガスバーナ

Cited By (4)

* Cited by examiner, † Cited by third party
Publication number Priority date Publication date Assignee Title
CN109442402A (zh) * 2018-10-11 2019-03-08 浙江力巨热能设备有限公司 一种水冷预混燃烧方法及装置
CN109442402B (zh) * 2018-10-11 2024-06-04 浙江力巨热能设备有限公司 一种水冷预混燃烧方法及装置
KR102505405B1 (ko) * 2022-05-03 2023-03-06 주식회사 대열보일러 보일러용 버너
KR102505403B1 (ko) * 2022-05-03 2023-03-06 주식회사 대열보일러 보일러 시스템

Also Published As

Publication number Publication date
JP5103311B2 (ja) 2012-12-19

Similar Documents

Publication Publication Date Title
JP5806550B2 (ja) ガスバーナ
US6875009B2 (en) Combustion method and apparatus for NOx reduction
TWI519739B (zh) 燃燒器及具備該燃燒器之鍋爐
JPH11281015A (ja) 管状火炎バーナ
KR200448947Y1 (ko) 저녹스형 버너
CN101418952B (zh) 外燃式富氧点火和超低负荷稳燃煤粉燃烧器
JP5386230B2 (ja) 燃料バーナ及び旋回燃焼ボイラ
JP4551971B2 (ja) 高温空気燃焼技術を用いた反応炉
JP4808133B2 (ja) ガスバーナ
JP5103311B2 (ja) 低NOx燃焼装置及びこれに用いるバーナ
CN201331055Y (zh) 一种外燃式富氧点火和超低负荷稳燃煤粉燃烧器
JP5887430B2 (ja) コアンダ効果を用いた高温FGR超低NOx燃焼装置
KR101025655B1 (ko) 린-리치 버너
JP4165993B2 (ja) 予混合型蓄熱式交番燃焼装置
CN219588924U (zh) 一种w火焰燃烧锅炉
JP3946574B2 (ja) エアヒートバーナ
CN116878027A (zh) 燃气轮机燃烧室喷嘴结构及其工作方法
CN209801465U (zh) 一种预混分级燃烧装置
CN108443880A (zh) 分火器及应用其的燃烧器和热水器
JP4069882B2 (ja) ボイラ
JP4167608B2 (ja) 予混合ガス燃焼装置
WO2011030501A1 (ja) 微粉炭焚きボイラ
JP4459112B2 (ja) バーナ装置及びこれを備えた媒体加熱装置
JP4664180B2 (ja) ボイラ設備
JP2006349255A (ja) ボイラ

Legal Events

Date Code Title Description
A621 Written request for application examination

Free format text: JAPANESE INTERMEDIATE CODE: A621

Effective date: 20100402

A977 Report on retrieval

Free format text: JAPANESE INTERMEDIATE CODE: A971007

Effective date: 20120323

A131 Notification of reasons for refusal

Free format text: JAPANESE INTERMEDIATE CODE: A131

Effective date: 20120402

A521 Request for written amendment filed

Free format text: JAPANESE INTERMEDIATE CODE: A523

Effective date: 20120515

TRDD Decision of grant or rejection written
A01 Written decision to grant a patent or to grant a registration (utility model)

Free format text: JAPANESE INTERMEDIATE CODE: A01

Effective date: 20120924

A01 Written decision to grant a patent or to grant a registration (utility model)

Free format text: JAPANESE INTERMEDIATE CODE: A01

A61 First payment of annual fees (during grant procedure)

Free format text: JAPANESE INTERMEDIATE CODE: A61

Effective date: 20121001

FPAY Renewal fee payment (event date is renewal date of database)

Free format text: PAYMENT UNTIL: 20151005

Year of fee payment: 3

R150 Certificate of patent or registration of utility model

Ref document number: 5103311

Country of ref document: JP

Free format text: JAPANESE INTERMEDIATE CODE: R150

Free format text: JAPANESE INTERMEDIATE CODE: R150

R250 Receipt of annual fees

Free format text: JAPANESE INTERMEDIATE CODE: R250

R250 Receipt of annual fees

Free format text: JAPANESE INTERMEDIATE CODE: R250

R250 Receipt of annual fees

Free format text: JAPANESE INTERMEDIATE CODE: R250

R250 Receipt of annual fees

Free format text: JAPANESE INTERMEDIATE CODE: R250

R250 Receipt of annual fees

Free format text: JAPANESE INTERMEDIATE CODE: R250

R250 Receipt of annual fees

Free format text: JAPANESE INTERMEDIATE CODE: R250

R250 Receipt of annual fees

Free format text: JAPANESE INTERMEDIATE CODE: R250

R250 Receipt of annual fees

Free format text: JAPANESE INTERMEDIATE CODE: R250

R250 Receipt of annual fees

Free format text: JAPANESE INTERMEDIATE CODE: R250

R250 Receipt of annual fees

Free format text: JAPANESE INTERMEDIATE CODE: R250

R250 Receipt of annual fees

Free format text: JAPANESE INTERMEDIATE CODE: R250