JP2010007536A - タービン動翼の固定構造 - Google Patents

タービン動翼の固定構造 Download PDF

Info

Publication number
JP2010007536A
JP2010007536A JP2008166767A JP2008166767A JP2010007536A JP 2010007536 A JP2010007536 A JP 2010007536A JP 2008166767 A JP2008166767 A JP 2008166767A JP 2008166767 A JP2008166767 A JP 2008166767A JP 2010007536 A JP2010007536 A JP 2010007536A
Authority
JP
Japan
Prior art keywords
blade
turbine
fixing member
blade fixing
rotor
Prior art date
Legal status (The legal status is an assumption and is not a legal conclusion. Google has not performed a legal analysis and makes no representation as to the accuracy of the status listed.)
Granted
Application number
JP2008166767A
Other languages
English (en)
Other versions
JP4871919B2 (ja
Inventor
Kenju Nakamura
建樹 中村
Fumiyuki Suzuki
文之 鈴木
Hideo Yoda
秀夫 依田
Kunio Asai
邦夫 浅井
Current Assignee (The listed assignees may be inaccurate. Google has not performed a legal analysis and makes no representation or warranty as to the accuracy of the list.)
Hitachi Ltd
Original Assignee
Hitachi Ltd
Priority date (The priority date is an assumption and is not a legal conclusion. Google has not performed a legal analysis and makes no representation as to the accuracy of the date listed.)
Filing date
Publication date
Application filed by Hitachi Ltd filed Critical Hitachi Ltd
Priority to JP2008166767A priority Critical patent/JP4871919B2/ja
Publication of JP2010007536A publication Critical patent/JP2010007536A/ja
Application granted granted Critical
Publication of JP4871919B2 publication Critical patent/JP4871919B2/ja
Expired - Fee Related legal-status Critical Current
Anticipated expiration legal-status Critical

Links

Images

Landscapes

  • Turbine Rotor Nozzle Sealing (AREA)
  • Connection Of Plates (AREA)

Abstract

【課題】動翼やタービンロータの寿命を簡易に延長することができるタービン動翼の固定構造を提供する。
【解決手段】翼フック10部及び翼ネック部11を有する逆クリスマスツリー型の翼植込み部7を有するタービン動翼3と、翼フック部と係合されるロータネック部21、及び翼ネック部と係合されるロータフック部20を有し、翼植込み部が嵌め合わされた翼溝5と、この翼溝の底部22と翼植込み部の先端部12の間に形成されたスロット15に挿入され、タービン動翼を固定する翼固定部材30と、この翼固定部材の一部又は全面に予め形成されており、翼固定部材がスロットに挿入される際に余分な部分が削られて残った部分が底部と先端部の間の隙間を埋める摩耗性皮膜35とを備える。
【選択図】図3

Description

タービンロータにタービン動翼を嵌め合い構造で固定するタービン動翼の固定構造に関する。
火力・原子力発電所等で使用する蒸気タービンのタービン動翼(動翼)は、フォーク型、逆クリスマスツリー型、鞍型、Tルート型等と呼ばれる各種植込み構造によってタービンロータ(ロータ)と連結されている。この中で、逆クリスマスツリー型植込み構造は、ロータの翼溝に動翼の翼植込み部を嵌め合わせるもので、ロータの回転に伴って動翼及びその翼植込み部に作用する遠心力を利用して動翼を固定している。
しかし、この逆クリスマスツリー型植込み構造では、蒸気タービンの回転が停止又は低速になると、組立時に翼植込み部と翼溝の間に形成される間隙が原因で、翼植込み部が翼溝の中で摺動してその接触面が摩耗することがある。また、当該摺動は動翼の先端に取り付けられているカバー等を介し隣接する動翼との接触面に摩耗を発生させることもある。そして、これらの摩耗が著しい場合には、動翼又はタービンロータの新製又は交換が必要となることもある。
この種の課題の解決を試みた技術の1つに、翼植込み部の先端部と翼溝の底部の間に皿バネを挿入し、動翼をタービンロータの径方向外側に押し上げ固定しているものがある(特開平7−166804号公報等参照)。
特開平7−166804号公報
しかしながら、上記技術における皿バネは、その構造上、繰り返し荷重によるへたりや経年的使用による変形によって押し上げ力が低下するおそれがある。そのため、長期的な信頼性を確保するために定期的な保守点検・交換が必要となる。
本発明の目的は、動翼やタービンロータの寿命を簡易に延長することができるタービン動翼の固定構造を提供することである。
本発明は、上記目的を達成するために、タービンロータにタービン動翼を嵌め合い構造で固定するタービン動翼の固定構造において、翼フック部及び翼ネック部を有する逆クリスマスツリー型の翼植込み部を有するタービン動翼と、前記翼フック部と係合されるロータネック部、及び前記翼ネック部と係合されるロータフック部を有し、前記翼植込み部が嵌め合わされた翼溝と、この翼溝の底部と前記翼植込み部の先端の間に形成された隙間に挿入され、前記タービン動翼を固定する翼固定部材と、この翼固定部材の一部又は全面に予め形成されており、前記翼固定部材が前記隙間に挿入される際に余分な部分が削られて残った部分が前記隙間を埋める摩耗性皮膜とを備える。
本発明によれば、翼植込み部の先端部と翼溝の底部を隙間無く埋めることができるので、動翼やタービンロータの寿命を簡易に延長することができる。
以下、本発明の実施の形態を図面を用いて説明する。
図1は本発明の実施の形態に係るタービンロータの概略図、図2は図1中のディスク2と動翼3付近の拡大図である。
図1に示すタービンロータは、シャフト1と、シャフト1の軸方向に複数取り付けられたディスク2と、ディスク2の周方向に複数固定されたタービン動翼3を備えている。
図2において、ディスク2の外周には、所定の間隔を介して、タービンロータの軸方向に穿たれた複数の翼溝5が設けられている。各翼溝5には、タービンロータの径方向に沿ってロータフック部(凸部)20及びロータネック部(凹部)21が交互に複数設けられており、翼溝5は動翼3の翼植込み部7(後述)が嵌め合わされるように構成されている。
動翼3は、翼植込み部7と、翼部8と、カバー(インテグラルカバー)9を備えており、翼植込み部7を介して翼溝5に固定されている。カバー9は、翼部8の先端に取り付けられており、隣り合う2つの動翼3のカバー9と係合して翼部8の姿勢を固定している。
図3は動翼3の翼植込み部7の拡大図である。なお、先の図と同じ部分には同じ符号を付して、説明は省略する(後の図も同様とする)。
この図において、翼植込み部7は、ロータネック部21と係合する翼フック部(凸部)10と、ロータフック部20と係合する翼ネック部(凹部)11を有しており、いわゆる逆クリスマスツリー型に形成されている。翼植込み部7の先端部12(すなわち、翼植込み部7が翼溝5の底部22と対向する部分)には、スロット(隙間)15が設けられている。スロット15には、1枚又は複数枚の翼固定部材30が挿入されている。
スロット15は、翼溝5の底部22と翼植込み部7の先端部12の間に形成された隙間である。ところで、スロット15が無い場合、翼植込み部7の先端部12と翼溝5の底部22の隙間は、通常、1mm以下程度の大きさとなり、そのままでは翼固定部材30を挿入することが困難である。なぜなら、翼固定部材30の挿入には押し上げ力を持ったバネなどを押し込むことが必要であるが、高さ1mm未満のバネでは剛性が低く、横から押し隙間に込む作業が非常に困難だからである。そこで、スロット15の高さ(h15)は、少なくとも2〜5mm程度に形成することが好ましい。この程度の隙間を形成すれば、タービンロータの軸方向から押し込むために必要な剛性を翼固定部材30に確保することができる。
翼固定部材30は、スロット15に挿入され、タービンロータの径方向外側に動翼3を押し上げて固定する部材である。翼固定部材30の一部又は全面には、予め摩耗性皮膜(Abradable Coating)35が形成されている。
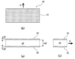
図4は本実施の形態に係る翼固定部材30の概略図である。この図において、図4(a)は翼固定部材30の正面図、図4(b)はその上面図、図4(c)はその側面図である。なお、図中の矢印Dは、スロット15への挿入方向を示している。
本実施の形態では、翼固定部材30として、図4に示した平板状の部材を用いている。図4の翼固定部材30において、スロット15に挿入される前の翼固定部材30の上下面には、均等に摩耗性コーティングが施されており、摩耗性皮膜35が形成されている。例えば、スロット15の高さ(h15)を上記のように2〜5mmとした場合、スロット高さ(h15)を含めた隙間のばらつきは通常±0.1mm程度に抑えられる。そのため、翼固定部材30の厚さ(t30)は、スロット高さ(h15)から0.2〜0.4mmを減じた程度のものとし、翼固定部材30の上下面にそれぞれ0.2〜0.3mm程度の厚さ(t35)の摩耗性皮膜35を形成することが好ましい。
このように摩耗性皮膜35を形成してスロット高さより厚くなった翼固定部材30をスロット15に対して打ち込んでいくと、スロット高さ(h15)からはみ出した余分な摩耗性皮膜35が隙間の形状に合わせて削られ、残った摩耗性皮膜35がスロット15と翼固定部材30の間を隙間無く埋める。これにより動翼3は、タービンロータの径方向外側に押し上げられながら、翼根元部7を介して隙間無く翼溝5に固定される。
次に、従来の翼固定部材(板バネ)による動翼の固定を参照しながら、本実施の形態の効果について説明する。
図5は従来のタービン動翼の固定構造における板バネの概略図である。この図において、図5(a)はその正面図、図5(b)はその上面図である。
この図に示す板バネ50は中央部分で屈曲されており、その高さはスロット高さ(h15)より高くなっている。スロット15内に挿入される際、板バネ50はスロット高さ(h15)に至るまで上下方向に圧縮され、その姿勢でスロット15内に保持される。この従来技術は、スロット15内で圧縮された板バネ50の復元力を利用して、動翼3をタービンロータの径方向外側に押し上げて固定するものである。しかし、板バネ50は、その構造上、繰り返し荷重によるへたりや経年的使用による変形によって押し上げ力が低下するおそれがある。そのため、長期的な信頼性を確保するために定期的な保守点検・交換が必要となる。
また、その他の技術には、翼固定部材として、挿入方向に沿って徐々に厚みが薄くなるように形成されたテーパ付きシム(図示せず)を利用するものがある。しかし、この方法では、蒸気タービンの運転中の振動等でシムがずれ、押し上げ力が失われる可能性がある。
このような従来技術に対し、本実施の形態のタービン動翼の固定構造では、その表面に摩耗性皮膜35を予め形成した翼固定部材30を利用している。この翼固定部材30によれば、翼固定部材30がスロット15に挿入される際に余分な部分を削り取ることで摩耗性皮膜35を隙間の形状に適合させることができ、残った摩耗性皮膜35で翼植込み部7の先端部12と翼溝5の底部22の間を隙間無く埋めることができる。摩耗性部材35は、上記板バネ50と比較して経年使用に強く、また、上記テーパ付きシムのように振動によってズレが生じることもないので、動翼3の固定に対する信頼性を長期に確保することができる。このように本実施の形態によれば、摩耗性皮膜35で隙間を埋めることにより長期的な信頼性が確保できるので、動翼3やタービンロータの寿命を簡易に延長することができる。
なお、上記の本実施の形態では、翼固定部材30の上下面に摩耗性皮膜35を形成することで、翼固定部材30の上下を隙間なく埋めたが、翼固定部材30の全面に摩耗性皮膜35を形成しても良いし、翼植込み部7と翼溝部5の間に間隙が形成されないように翼固定部材30の一部に摩耗性皮膜35を形成しても良い。すなわち、摩耗性皮膜35を翼固定部材30上に形成する態様としては、翼植込み部7の先端部12と翼溝5の底部22の間の少なくとも一部を、翼固定部材30と摩耗性皮膜35で隙間無く埋められるものであれば良い。
また、翼固定部材をスロット15に挿入する際の作業性の向上を図る場合には、摩耗性皮膜を下記のように形成することが好ましい。
図6は本実施の形態に係る翼固定部材の変形例の概略図である。この図において、図6(a)は翼固定部材30Aの正面図、図6(b)はその上面図、図6(c)はその側面図である。なお、図中の矢印Dは、スロット15への挿入方向を示している。
この図に示す翼固定部材30Aは、その上下面に、翼固定部材30Aの挿入方向Dに沿って厚みが減少するように形成された摩耗性皮膜35Aを有している。すなわち、摩耗性皮膜35Aは、翼固定部材30Aが最初にスロット15内に入る部分で最も薄く形成されており、その後、挿入方向Dと反対に向かって厚みが増加するように形成されている。
このように摩耗性皮膜35Aを形成すると、図4で示したように形成したときと比較して、翼固定部材30Aを容易にスロット15内に導入することができる。これにより翼固定部材35Aをスロット15に挿入する際の作業性を向上させることができる。なお、この場合も、翼固定部材30Aの上下面に摩耗性皮膜35Aを形成しているが、翼固定部材30Aの全面又は一部に形成しても勿論良い。
本発明の実施の形態に係るタービンロータの概略図。 本発明の実施の形態に係るディスクとタービン動翼付近の拡大図。 本発明の実施の形態に係るタービン動翼における翼植込み部の拡大図。 本実施の形態に係る翼固定部材の概略図。 従来のタービン動翼の固定構造における板バネの概略図。 本実施の形態に係る翼固定部材の変形例の概略図。
符号の説明
3 タービン動翼
5 翼溝
7 翼植込み部
10 翼フック
11 翼ネック部
12 翼植込み部の先端部
15 スロット
20 ロータフック部
21 ロータネック部
22 翼溝の底部
30 翼固定部材
35 摩耗性皮膜

Claims (2)

  1. タービンロータにタービン動翼を嵌め合い構造で固定するタービン動翼の固定構造において、
    翼フック部及び翼ネック部を有する逆クリスマスツリー型の翼植込み部を有するタービン動翼と、
    前記翼フック部と係合するロータネック部、及び前記翼ネック部と係合するロータフック部を有し、前記翼植込み部が嵌め合わされた翼溝と、
    この翼溝の底部と前記翼植込み部の先端部の間に形成された隙間に挿入され、前記タービン動翼を固定する翼固定部材と、
    この翼固定部材の一部又は全面に予め形成されており、前記翼固定部材が前記隙間に挿入される際に余分な部分が削られ、残った部分が前記隙間を埋める摩耗性皮膜とを備えることを特徴とするタービン動翼の固定構造。
  2. 請求項1記載のタービン動翼の固定構造において、
    前記摩耗性皮膜は、前記翼固定部材の挿入方向に沿って厚みが減少するように形成されていることを特徴とするタービン動翼の固定構造。
JP2008166767A 2008-06-26 2008-06-26 タービン動翼の固定構造 Expired - Fee Related JP4871919B2 (ja)

Priority Applications (1)

Application Number Priority Date Filing Date Title
JP2008166767A JP4871919B2 (ja) 2008-06-26 2008-06-26 タービン動翼の固定構造

Applications Claiming Priority (1)

Application Number Priority Date Filing Date Title
JP2008166767A JP4871919B2 (ja) 2008-06-26 2008-06-26 タービン動翼の固定構造

Publications (2)

Publication Number Publication Date
JP2010007536A true JP2010007536A (ja) 2010-01-14
JP4871919B2 JP4871919B2 (ja) 2012-02-08

Family

ID=41588318

Family Applications (1)

Application Number Title Priority Date Filing Date
JP2008166767A Expired - Fee Related JP4871919B2 (ja) 2008-06-26 2008-06-26 タービン動翼の固定構造

Country Status (1)

Country Link
JP (1) JP4871919B2 (ja)

Cited By (1)

* Cited by examiner, † Cited by third party
Publication number Priority date Publication date Assignee Title
JP2021181781A (ja) * 2020-05-19 2021-11-25 ゼネラル・エレクトリック・カンパニイ 改良されたターボ機械ロータアセンブリ

Citations (6)

* Cited by examiner, † Cited by third party
Publication number Priority date Publication date Assignee Title
JPS6196206A (ja) * 1984-10-17 1986-05-14 エミテツク、ゲゼルシヤフト、フユア、エミツシオンステクノロギー、ミツト、ベシユレンクテル、ハフツング 軸に駆動要素を固定する方法とそのためのキー
JPS63183203A (ja) * 1986-12-17 1988-07-28 ソシエテ・ナシオナル・デテユード・エ・ドウ・コンストリユクシオン・ドウ・モトール・ダヴィアシオン、“エス.エヌ.ウ.セ.エム.アー.” セラミック材料製の羽根を有するタービンロータ
JPH07166804A (ja) * 1991-04-29 1995-06-27 Westinghouse Electric Corp <We> タービン羽根組立体
JPH11294387A (ja) * 1998-04-10 1999-10-26 Mitsubishi Heavy Ind Ltd コンプレッサ動翼
JP2001248404A (ja) * 2000-03-01 2001-09-14 Hitachi Ltd タ一ビン動翼
JP2004339982A (ja) * 2003-05-14 2004-12-02 Ishikawajima Harima Heavy Ind Co Ltd ジェットエンジン用ファン及びファンスペーサ

Patent Citations (6)

* Cited by examiner, † Cited by third party
Publication number Priority date Publication date Assignee Title
JPS6196206A (ja) * 1984-10-17 1986-05-14 エミテツク、ゲゼルシヤフト、フユア、エミツシオンステクノロギー、ミツト、ベシユレンクテル、ハフツング 軸に駆動要素を固定する方法とそのためのキー
JPS63183203A (ja) * 1986-12-17 1988-07-28 ソシエテ・ナシオナル・デテユード・エ・ドウ・コンストリユクシオン・ドウ・モトール・ダヴィアシオン、“エス.エヌ.ウ.セ.エム.アー.” セラミック材料製の羽根を有するタービンロータ
JPH07166804A (ja) * 1991-04-29 1995-06-27 Westinghouse Electric Corp <We> タービン羽根組立体
JPH11294387A (ja) * 1998-04-10 1999-10-26 Mitsubishi Heavy Ind Ltd コンプレッサ動翼
JP2001248404A (ja) * 2000-03-01 2001-09-14 Hitachi Ltd タ一ビン動翼
JP2004339982A (ja) * 2003-05-14 2004-12-02 Ishikawajima Harima Heavy Ind Co Ltd ジェットエンジン用ファン及びファンスペーサ

Cited By (2)

* Cited by examiner, † Cited by third party
Publication number Priority date Publication date Assignee Title
JP2021181781A (ja) * 2020-05-19 2021-11-25 ゼネラル・エレクトリック・カンパニイ 改良されたターボ機械ロータアセンブリ
JP7706927B2 (ja) 2020-05-19 2025-07-14 ゼネラル エレクトリック テクノロジー ゲゼルシャフト ミット ベシュレンクテル ハフツング 改良されたターボ機械ロータアセンブリ

Also Published As

Publication number Publication date
JP4871919B2 (ja) 2012-02-08

Similar Documents

Publication Publication Date Title
JP5272094B2 (ja) タービン動翼組立体
CN102575524B (zh) 配备有相对于盘锁定叶片的轴向保持环的涡轮机叶轮
EP2149674B1 (en) Bladed turbine rotor with vibration damper
CN100406682C (zh) 叶片垫片的扣紧
JP4886735B2 (ja) タービン動翼組立体および蒸気タービン
US8956119B2 (en) Turbine wheel provided with an axial retention device that locks blades in relation to a disk
EP2204543A2 (en) Dovetail rotor blade assembly
CN103717840A (zh) 用于涡轮机引擎的装有叶片的转子轮
EP2644832B1 (en) Near-flow-path seal isolation dovetail of a turbine bucket
JP2009047165A (ja) 接線方向入力の丸みのあるスカート型ダブテールのための全体ブレード付き閉鎖部材
CN1872491B (zh) 组装带罩的涡轮机叶片和切向进入燕尾榫的方法和系统
JP6732953B2 (ja) 軸線方向に挿入するバケット用のマージンバケットダブテールの半径方向支持機能
JP5890601B2 (ja) ターボ機械のロータ組立体とその組立方法
JP2012052523A (ja) タービンブレード組立体
JP4871919B2 (ja) タービン動翼の固定構造
JP2011021490A (ja) 回転体
US8651817B2 (en) Aerofoil blade assembly
CN101743380A (zh) 涡轮动叶
JP2017519143A (ja) タービンエンジンロータ用の回転対称部品、ならびに関連するタービンエンジンロータ、タービンエンジンモジュール、およびタービンエンジン
JP5032597B2 (ja) シール
US7503751B2 (en) Apparatus and method for attaching a rotor blade to a rotor
CN107002493B (zh) 转子,轴流式压缩机,用于安装的方法
EP2631427B1 (en) Balancing of Rotors
JP6329471B2 (ja) タービン
CN119403997A (zh) 包括用于对平台之间的振动进行限制的装置的涡轮机轮叶组件

Legal Events

Date Code Title Description
A621 Written request for application examination

Free format text: JAPANESE INTERMEDIATE CODE: A621

Effective date: 20100519

A977 Report on retrieval

Free format text: JAPANESE INTERMEDIATE CODE: A971007

Effective date: 20111004

TRDD Decision of grant or rejection written
A01 Written decision to grant a patent or to grant a registration (utility model)

Free format text: JAPANESE INTERMEDIATE CODE: A01

Effective date: 20111025

A01 Written decision to grant a patent or to grant a registration (utility model)

Free format text: JAPANESE INTERMEDIATE CODE: A01

A61 First payment of annual fees (during grant procedure)

Free format text: JAPANESE INTERMEDIATE CODE: A61

Effective date: 20111121

R150 Certificate of patent or registration of utility model

Free format text: JAPANESE INTERMEDIATE CODE: R150

FPAY Renewal fee payment (event date is renewal date of database)

Free format text: PAYMENT UNTIL: 20141125

Year of fee payment: 3

S111 Request for change of ownership or part of ownership

Free format text: JAPANESE INTERMEDIATE CODE: R313111

R350 Written notification of registration of transfer

Free format text: JAPANESE INTERMEDIATE CODE: R350

R250 Receipt of annual fees

Free format text: JAPANESE INTERMEDIATE CODE: R250

R250 Receipt of annual fees

Free format text: JAPANESE INTERMEDIATE CODE: R250

R250 Receipt of annual fees

Free format text: JAPANESE INTERMEDIATE CODE: R250

LAPS Cancellation because of no payment of annual fees