JP2010005307A - 義足 - Google Patents

義足 Download PDF

Info

Publication number
JP2010005307A
JP2010005307A JP2008171049A JP2008171049A JP2010005307A JP 2010005307 A JP2010005307 A JP 2010005307A JP 2008171049 A JP2008171049 A JP 2008171049A JP 2008171049 A JP2008171049 A JP 2008171049A JP 2010005307 A JP2010005307 A JP 2010005307A
Authority
JP
Japan
Prior art keywords
ring
ring member
upper structure
clamping member
projecting
Prior art date
Legal status (The legal status is an assumption and is not a legal conclusion. Google has not performed a legal analysis and makes no representation as to the accuracy of the status listed.)
Granted
Application number
JP2008171049A
Other languages
English (en)
Other versions
JP4741635B2 (ja
Inventor
Yukio Konishi
幸夫 小西
Current Assignee (The listed assignees may be inaccurate. Google has not performed a legal analysis and makes no representation or warranty as to the accuracy of the list.)
Individual
Original Assignee
Individual
Priority date (The priority date is an assumption and is not a legal conclusion. Google has not performed a legal analysis and makes no representation as to the accuracy of the date listed.)
Filing date
Publication date
Application filed by Individual filed Critical Individual
Priority to JP2008171049A priority Critical patent/JP4741635B2/ja
Publication of JP2010005307A publication Critical patent/JP2010005307A/ja
Application granted granted Critical
Publication of JP4741635B2 publication Critical patent/JP4741635B2/ja
Expired - Fee Related legal-status Critical Current
Anticipated expiration legal-status Critical

Links

Images

Landscapes

  • Prostheses (AREA)

Abstract

【課題】本発明は、従来にない作用効果を達成する画期的な義足を提供することを目的とする。
【解決手段】身体に装着される上側構造部1と、この上側構造部1に連結され下端部に接地部2aを有する下側構造部2とからなる義足であって、前記下側構造部2若しくは前記上側構造部1のいずれか一方に突状部3が設けられ、他方に被嵌連結部6が設けられ、この被嵌連結部6にはリング部材5が嵌合されており、前記突状部3は前記リング部材5のリング孔5a内に配されるように構成され、前記リング部材5には前記リング孔5a内に突出する挟持部材4が設けられ、この挟持部材4により前記リング孔5a内の前記突状部3を挟持する構成であり、前記被嵌連結部6により前記挟持部材4の基端部4bを支承して前記挟持部材4を所定位置に保持するものである。
【選択図】図2

Description

本発明は、義足に関するものである。
従来から、例えば事故などで失った足の代わりとなる義足として、身体(切断脚の大腿断端部)に装着される上側構造部(ソケット部)と、この上側構造部に連結され下端部に接地部(足部)を有する下側構造部(下腿義肢部)とからなる義足(大腿義足)が提案されている。尚、この下側構造部には屈伸運動を可能にする膝関節として機能する屈伸部が設けられている。
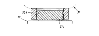
この上側構造部と下側構造部とは、図5に図示したように上側構造部31の下端部に設けた環状凹部31aに下側構造部32の上端部に設けた連結突部32aに螺着する構造である。
ところで、上側構造部31が使用者の体型(骨格)に合わなかったり、身体へ装着した後、身体が成長により変形するなどして、身体に対して上側構造部31が最適でない装着状態(設計通りの角度でない装着状態)となった場合、歩行が良好に行えないという問題が生じる。これに対し、この上側構造部31を使用者に合うように予め専用設計すれば良いがコスト高となってしまい、仮に上側構造部31を専用設計したとしても、その後、身体が成長により変形するなどした場合には、やはり身体に対して上側構造部31が最適でない装着状態となり、良好な歩行が行えないという問題が生じてしまう。
そこで、この問題を解決すべく、上側構造部51と下側構造部52の連結部に角度調整機能を具備せしめた義足(以下、従来例)が提案されている。
この従来例は、図6に図示したように上側構造部51と下側構造部52との連結はリング部材55を介して行われる。具体的には、下側構造部52の上端部に設けた突状部53を上側構造部51に設けたリング部材55のリング孔55a内に配し、このリング部材55は、リング孔55a内に突出する挟持部材54(螺子部材)により突状部53を挟持するように構成されている。
一方、上側構造部51に対するリング部材55の連結は、上側構造部51の下端部に設けた被嵌連結部56をリング部材55の上部に設けた連結突部55bに螺着することで行われる。
つまり、従来例は、リング孔55a内で突出する挟持部材54夫々の突出量を可変して突状部53を挟持することで、上側構造部51を下側構造部52に対して水平状態若しくは適宜な傾斜状態で連結することができるものである。
従って、従来例は、突状部53に対してリング部材55を最適な角度で配設すべく各挟持部材54を適宜な量だけ突出させて突状部53を挟持することで、上側構造部51に対して下側構造部52を身体に合った最適な状態で連結することができる。尚、身体へ装着した後、身体が成長するなどして変形したとしても、それに応じて突状部53に対してリング部材55を角度調整すれば良い。
しかしながら、従来例は、このリング部材55の厚み分だけ全体(上側構造部51と下側構造部52の合算長さ)長が長くなってしまい、義足でない足とのバランスが悪くなるという問題点がある(強度上、連結突部55bの長さはある程度必要のため)。最初からこのリング部材55の厚みを考慮して上側構造部51若しくは下側構造部52の長さを短くすれば良いが、例えば、図5の既存の上側構造部31を装着した使用者が、この図6の角度調整機能を具備した下側構造部52(リング部材55を持ったもの)に交換しようとした場合には、前述した問題点が生じてしまう。
また、従来例は、挟持部材54が露出している為、使用を重ねると、挟持部材54が逆方向に螺動して緩み、調整した角度が変わってしまうという問題点もある。
本発明は、前述した問題点に着目し、従来にない作用効果を発揮する画期的な義足を提供する。
添付図面を参照して本発明の要旨を説明する。
身体に装着される上側構造部1と、この上側構造部1に連結され下端部に接地部2aを有する下側構造部2とからなる義足であって、前記下側構造部2若しくは前記上側構造部1のいずれか一方に突状部3が設けられ、他方に被嵌連結部6が設けられ、この被嵌連結部6にはリング部材5が嵌合されており、前記突状部3は前記リング部材5のリング孔5a内に配されるように構成され、前記リング部材5には前記リング孔5a内に突出する挟持部材4が設けられ、この挟持部材4により前記リング孔5a内の前記突状部3を挟持する構成であり、前記被嵌連結部6により前記挟持部材4の基端部4bを支承して前記挟持部材4を所定位置に保持するように構成したことを特徴とする義足に係るものである。
また、請求項1記載の義足において、前記リング部材5には複数の貫通孔5bが設けられ、これらの貫通孔5b夫々には前記挟持部材4が嵌挿されていることを特徴とする義足に係るものである。
また、請求項1,2いずれか1項に記載の義足において、前記挟持部材4の前記リング孔5a内での突出量は可変可能に構成されていることを特徴とする義足に係るものである。
また、請求項1〜3いずれか1項に記載の義足において、前記リング部材5の外周面には前記被嵌連結部6が螺着する螺子溝5cが形成されており、この螺子溝5cが形成される外周面に前記挟持部材4を嵌挿する前記貫通孔5bが開口するように構成されていることを特徴とする義足に係るものである。
本発明は上述のように構成したから、歩行が良好に行える最適な装着状態が得られることになり、しかも、前述した従来例と異なり、全体長が長くなって左右の足のバランスが悪くなることはなく、また、使用を重ねることで調整した角度が変わってしまうこともなく、常に良好な歩行が行えることになるなど従来にない作用効果を発揮する画期的な義足となる。
好適と考える本発明の実施形態を、図面に基づいて簡単に説明する。
上側構造部1と下側構造部2とを連結する場合、下側構造部2若しくは上側構造部1のいずれか一方に設けた突状部3と他方に設けた被嵌連結部6とをリング部材5を介して連結する。
この突状部3とリング部材5の連結は、突状部3をリング部材5内に配し、この状態でリング孔5a内で突出する挟持部材4により該突状部3を挟持することで行われる。
また、リング部材5と被嵌連結部6との連結は、被嵌連結部6にリング部材5を嵌合することで行われる。
両者の連結の際、身体に対して最適な装着状態となるよう(上側構造部1と下側構造部2とが最適な角度で連結されるよう)、各挟持部材4を適宜な量だけ突出させて突状部3を挟持する。従って、上側構造部1に対して下側構造部2を身体に合った状態で連結することができ、歩行が良好に行える最適な装着状態が得られることになる。
ところで、本発明は、上側構造部1若しくは下側構造部2に設けた被嵌連結部6をリング部材5に被嵌連結した際、この被嵌連結部6により挟持部材4の基端部4bを支承して挟持部材4を所定位置に保持するように構成されている。
即ち、従来例のように下部に突状部53との連結部を設け、リング部材55の上部外周に連結突部55bを設けた厚さのあるリング部材55を採用せず、被嵌連結部6に被嵌される厚さのリング部材5に、被嵌連結部6に嵌合される範囲内で挟持部材4を設けたから、(リング部材5の厚さは、被嵌連結部6の厚さと同じになるから)、前述した従来例と異なり、全体長が長くなって左右の足のバランスが悪くなるという問題点が生じることはない。
また、本発明は、前述したように被嵌連結部6により挟持部材4の基端部4bを支承して挟持部材4を所定位置に保持する構成であるから、前述した従来例と異なり、使用を重ねることで挟持部材4が突状部3から離れる方向へ移動するが確実に防止され、よって、調整した角度が変わってしまうという問題点が生じることはなく、常に良好な歩行が行えることになる。
本発明の具体的な一実施例について図面に基づいて説明する。
本実施例は、身体(切断脚の大腿断端部)に装着される上側構造部1(ソケット部)と、この上側構造部1に連結され下端部に接地部2a(足部)を有する下側構造部2(下腿義肢部)とからなる義足(大腿義足)である。尚、この下側構造部2の上部には屈伸運動を可能にする膝関節として機能する周知構造の屈伸部7が設けられている。符号8はシリンダー装置である。
本実施例では、この上側構造部1と下側構造部2とを角度調整機能付きの連結構造を介して連結される。
具体的には、この連結構造は、下側構造部2の上部に設けられる突状部3と、この突状部3に連結するリング部材5と、上側構造部1の下部に設けられリング部材5に被嵌連結する被嵌連結部6とで構成されている。尚、上側構造部1に突状部3を設け、一方、下側構造部2に被嵌連結部6を設けるようにしても良い。
突状部3は、図2に図示したように下側構造部2に設けられる屈伸部7の上面に突設された適宜な金属製の四角柱形状体である。
この突状部3は、4つの各周面がテーパー面3aとなるよう上端側程径大に形成されている。
このテーパー面3aを設けることで、後述する挟持部材4で挟持せしめた際、突状部3の周面が単なる垂直面だった場合に比し、挟持部材4の先端面が可及的に面当接し得ることになって常に安定した良好な角度調整が可能となり、しかも、突状部3の良好な抜け止め作用が発揮されることになる。
リング部材5は、図2に図示したように適宜な金属製の部材で形成したものであり、前述した突状部3をリング孔5a内に配して囲繞し得るように構成されている。
また、リング部材5の外周面には被嵌連結部6が螺着する螺子溝5cが形成されており、この螺子溝5cが形成される外周面に後述する貫通孔5bが開口するように構成されている。
また、リング部材5には、等間隔に4つの螺子孔から成る貫通孔5bが形成されており、この貫通孔5bは、リング孔5aの内面とリング部材5の外周面に開口するように設けられている。
この各貫通孔5bは、図3に図示したように外側開口部よりも内側開口部の方が上方位置となるように傾斜状態に設けられている。この各貫通孔5bの傾斜角は、後述する挟持部材4の先端部4aが突状部3のテーパー面3aに面当接する角度に設定されている。
また、各貫通孔5bには挟持部材4が螺着される。
この挟持部材4は、図2に図示したように適宜な金属製の部材で形成した螺子棒体であり、挟持部材4をリング部材5に螺着した状態で突状部3をリング部材5に配し、この状態でリング孔5a内の突状部3を各挟持部材4の先端部4a同士で挟持することで突状部3に対してリング部材5を連結することができる。
この挟持部材4を介して突状部3にリング部材5を連結する構造が角度調整機能を発揮することになり、上側構造部1と下側構造部2とが最適な角度で連結されるよう、突状部3をリング部材5に最適な角度で配し、この状態で各挟持部材4を適宜な量だけ突出させて突状部3を挟持することで、上側構造部1に対して下側構造部2を所望の角度で連結することができる(図3,4参照)。この際、貫通孔5bの外側開口部から突出する挟持部材4の基端部を切除するが、この切除した面がリング部材5の外周面と面一となるように切除する。
従って、この状態のリング部材5に後述する被嵌連結部6を被嵌連結させた際、この被嵌連結部6で各挟持部材4の基端部4bが抜け止め状態で支承され該挟持部材4は所定位置に保持されることになる。
尚、挟持部材4は貫通孔5bに螺着する構造に限らず、圧入係止する構造のものでも良いが、いずれにせよ脱着し得る構造が望ましい。
被嵌連結部6は、図2に図示したように適宜な金属製の部材で形成した環状体であり、上側構造部1の下部に設けられている。
また、被嵌連結部6の内孔には螺子溝6aが形成され、前述したリング部材5に螺着して被嵌連結し得るように構成されている。
また、被嵌連結部6は、所定箇所にスリット部6bが形成されて縮径可能に構成されており、このスリット部6bの対向端部間には該スリット部6bを締め付ける締め付け部材9が設けられている。
従って、被嵌連結部6をリング部材5に螺着して被嵌連結した後、締め付け部材9を締め付け操作してスリット部6bの対向間隔を狭めることで、リング部材5に対する被嵌連結部6の堅固な連結状態が得られることになる。
本実施例は上述のように構成したから、上側構造部1と下側構造部2とを連結する場合、下側構造部2に設けた突状部3にリング部材5を連結するとともに、このリング部材5に上側構造部1に設けた被嵌連結部6を被嵌して螺着連結する。
この突状部3に対するリング部材5の連結は、突状部3をリング部材5内に配し、この状態でリング孔5a内で突出する挟持部材4により該リング孔5a内の突状部3を挟持することで行われる。
この際、身体に対して最適な装着状態となるよう(上側構造部1と下側構造部2とが最適な角度で連結されるよう)、突状部3をリング部材5内に最適な角度で配し、この状態で各挟持部材4を螺動させて適宜な量だけ突出させて突状部3を挟持することで、上側構造部1に対して下側構造部2を身体に合った状態で連結することができる。尚、リング部材5の貫通孔5bから突出する挟持部材4の基端部4bはリング部材5の外周面5bと面一となるように切除される。
従って、歩行が良好に行える最適な装着状態が得られることになる。
尚、その後、再度調整が必要になった場合には、上側構造部1と下側構造部2との連結を解除し(リング部材5に対する被嵌連結部6の連結を解除するとともに、突状部3に対するリング部材5の連結を解除し)、挟持部材4を新しいもの(調整できる長さのもの)に変えて再び前述した調整を行いながら上側構造部1と下側構造部2との連結を行う。
よって、本実施例によれば、上側構造部1に設けた被嵌連結部6をリング部材5に被嵌連結した際、この被嵌連結部6により挟持部材4の基端部4bを支承して挟持部材4を所定位置に保持するように構成されているから、リング部材5における挟持部材4を設ける部位の他に被嵌連結部6を被嵌連結するための部位を別途設ける構造でなく、上側構造部1と下側構造部2との連結構造における厚みはリング部材5(被嵌連結部6)の厚み分だけとなる為、前述した従来例と異なり、全体長が長くなって左右の足のバランスが悪くなるという問題点が生じることはない。
また、本実施例は、前述したように被嵌連結部6により挟持部材4の基端部4bを支承して挟持部材4を所定位置に保持する構成であるから、前述した従来例と異なり、使用を重ねることで挟持部材4が没方向へ移動するが確実に防止され、よって、調整した角度が変わってしまうという問題点が生じることはなく、常に良好な歩行が行えることになる。
また、本実施例は、リング部材5の外周面には被嵌連結部6が螺着する螺子溝5cが形成されており、この螺子溝5cが形成される外周面に挟持部材4を嵌挿する貫通孔5bが開口するように構成されているから、被嵌連結部6により挟持部材4の基端部4bを支承して挟持部材4を所定位置に保持する構成が簡易且つ確実に得られることになる。
尚、本発明は、本実施例に限られるものではなく、各構成要件の具体的構成は適宜設計し得るものである。
本実施例の使用状態説明図である。 本実施例を示す分解斜視図である。 本実施例に係る要部の断面図である。 本実施例に係る要部の断面図である。 従来例に係る要部の断面図である。 従来例に係る要部の断面図である。
符号の説明
1 上側構造部
2 下側構造部
2a 接地部
3 突状部
4 挟持部材
4b 基端部
5 リング部材
5a リング孔
5b 貫通孔
5c 螺子溝
6 被嵌連結部

Claims (4)

  1. 身体に装着される上側構造部と、この上側構造部に連結され下端部に接地部を有する下側構造部とからなる義足であって、前記下側構造部若しくは前記上側構造部のいずれか一方に突状部が設けられ、他方に被嵌連結部が設けられ、この被嵌連結部にはリング部材が嵌合されており、前記突状部は前記リング部材のリング孔内に配されるように構成され、前記リング部材には前記リング孔内に突出する挟持部材が設けられ、この挟持部材により前記リング孔内の前記突状部を挟持する構成であり、前記被嵌連結部により前記挟持部材の基端部を支承して前記挟持部材を所定位置に保持するように構成したことを特徴とする義足。
  2. 請求項1記載の義足において、前記リング部材には複数の貫通孔が設けられ、これらの貫通孔夫々には前記挟持部材が嵌挿されていることを特徴とする義足。
  3. 請求項1,2いずれか1項に記載の義足において、前記挟持部材の前記リング孔内での突出量は可変可能に構成されていることを特徴とする義足。
  4. 請求項1〜3いずれか1項に記載の義足において、前記リング部材の外周面には前記被嵌連結部が螺着する螺子溝が形成されており、この螺子溝が形成される外周面に前記挟持部材を嵌挿する前記貫通孔が開口するように構成されていることを特徴とする義足。
JP2008171049A 2008-06-30 2008-06-30 義足 Expired - Fee Related JP4741635B2 (ja)

Priority Applications (1)

Application Number Priority Date Filing Date Title
JP2008171049A JP4741635B2 (ja) 2008-06-30 2008-06-30 義足

Applications Claiming Priority (1)

Application Number Priority Date Filing Date Title
JP2008171049A JP4741635B2 (ja) 2008-06-30 2008-06-30 義足

Publications (2)

Publication Number Publication Date
JP2010005307A true JP2010005307A (ja) 2010-01-14
JP4741635B2 JP4741635B2 (ja) 2011-08-03

Family

ID=41586458

Family Applications (1)

Application Number Title Priority Date Filing Date
JP2008171049A Expired - Fee Related JP4741635B2 (ja) 2008-06-30 2008-06-30 義足

Country Status (1)

Country Link
JP (1) JP4741635B2 (ja)

Citations (3)

* Cited by examiner, † Cited by third party
Publication number Priority date Publication date Assignee Title
JPS51125096A (en) * 1974-07-26 1976-11-01 Yoshitomi Pharmaceut Ind Ltd A process for preparing phenoxyancetic acid derivatives.
JPH01310660A (ja) * 1988-03-04 1989-12-14 Chas A Blatchford & Sons Ltd 義足
JP2001517537A (ja) * 1997-09-26 2001-10-09 セントリ エイビー 義肢の固定装置

Patent Citations (3)

* Cited by examiner, † Cited by third party
Publication number Priority date Publication date Assignee Title
JPS51125096A (en) * 1974-07-26 1976-11-01 Yoshitomi Pharmaceut Ind Ltd A process for preparing phenoxyancetic acid derivatives.
JPH01310660A (ja) * 1988-03-04 1989-12-14 Chas A Blatchford & Sons Ltd 義足
JP2001517537A (ja) * 1997-09-26 2001-10-09 セントリ エイビー 義肢の固定装置

Also Published As

Publication number Publication date
JP4741635B2 (ja) 2011-08-03

Similar Documents

Publication Publication Date Title
US5507835A (en) Magnetic prosthetic system
US8470050B2 (en) Rapid fit modular prosthetic device for accommodating gait alignment and residual limb shape and volume
JP5709111B2 (ja) 義足における上側義足部と下側義足部との連結構造
US6398817B1 (en) Locking device for a prothesis
IL157230A (en) Fastening device for an orthesis or prosthesis
JPH0951908A (ja) 下腿用義足
US5759206A (en) Apparatus for mounting a prosthesis or the like
JP2005348989A (ja) 座骨支持式義足
JP2005193045A (ja) 無限に位置決め可能なヘッドを有する関節プロテーゼ
US20120259432A1 (en) Above-the-Knee Modular Prosthesis System
JP2014042813A5 (ja)
US20050049719A1 (en) Prosthetic hip joint with side pivot
JP5503274B2 (ja) 義足用インナーバッグ
EP0531263A1 (fr) Prothèse pour genou équipée d'une articulation entre les composantes fémorales et tibiales et leurs respectifs pivots endomédullaires
EP1681038A3 (en) Replicating orthopaedic implant orientation
GB2070439A (en) Improvements in artificial limbs
JP4741635B2 (ja) 義足
JP2011050514A (ja) 義足組み立て用の測定装置
US8252066B2 (en) Pyramid receptacle for coupling a prosthetic limb to a socket
CN218899831U (zh) 一种足部义肢承筒
US10792171B2 (en) Prosthetic adapter module
US20030105531A1 (en) Multi-axial prosthetic ankle joint
JP2005143618A (ja) 座骨支持式義足
US20230000634A1 (en) Joint prosthesis
KR102838728B1 (ko) 의지 체결장치

Legal Events

Date Code Title Description
A977 Report on retrieval

Free format text: JAPANESE INTERMEDIATE CODE: A971007

Effective date: 20100405

A131 Notification of reasons for refusal

Free format text: JAPANESE INTERMEDIATE CODE: A131

Effective date: 20100531

A521 Written amendment

Free format text: JAPANESE INTERMEDIATE CODE: A523

Effective date: 20100730

A131 Notification of reasons for refusal

Free format text: JAPANESE INTERMEDIATE CODE: A131

Effective date: 20100826

A521 Written amendment

Free format text: JAPANESE INTERMEDIATE CODE: A523

Effective date: 20101025

TRDD Decision of grant or rejection written
A01 Written decision to grant a patent or to grant a registration (utility model)

Free format text: JAPANESE INTERMEDIATE CODE: A01

Effective date: 20110414

A01 Written decision to grant a patent or to grant a registration (utility model)

Free format text: JAPANESE INTERMEDIATE CODE: A01

A61 First payment of annual fees (during grant procedure)

Free format text: JAPANESE INTERMEDIATE CODE: A61

Effective date: 20110506

R150 Certificate of patent or registration of utility model

Ref document number: 4741635

Country of ref document: JP

Free format text: JAPANESE INTERMEDIATE CODE: R150

Free format text: JAPANESE INTERMEDIATE CODE: R150

FPAY Renewal fee payment (event date is renewal date of database)

Free format text: PAYMENT UNTIL: 20140513

Year of fee payment: 3

R250 Receipt of annual fees

Free format text: JAPANESE INTERMEDIATE CODE: R250

LAPS Cancellation because of no payment of annual fees