JP2010003864A - モード同期固体レーザ装置 - Google Patents
モード同期固体レーザ装置 Download PDFInfo
- Publication number
- JP2010003864A JP2010003864A JP2008161231A JP2008161231A JP2010003864A JP 2010003864 A JP2010003864 A JP 2010003864A JP 2008161231 A JP2008161231 A JP 2008161231A JP 2008161231 A JP2008161231 A JP 2008161231A JP 2010003864 A JP2010003864 A JP 2010003864A
- Authority
- JP
- Japan
- Prior art keywords
- mirror
- mode
- solid
- state laser
- pulse
- Prior art date
- Legal status (The legal status is an assumption and is not a legal conclusion. Google has not performed a legal analysis and makes no representation as to the accuracy of the status listed.)
- Granted
Links
Images
Classifications
-
- H—ELECTRICITY
- H01—ELECTRIC ELEMENTS
- H01S—DEVICES USING THE PROCESS OF LIGHT AMPLIFICATION BY STIMULATED EMISSION OF RADIATION [LASER] TO AMPLIFY OR GENERATE LIGHT; DEVICES USING STIMULATED EMISSION OF ELECTROMAGNETIC RADIATION IN WAVE RANGES OTHER THAN OPTICAL
- H01S3/00—Lasers, i.e. devices using stimulated emission of electromagnetic radiation in the infrared, visible or ultraviolet wave range
- H01S3/05—Construction or shape of optical resonators; Accommodation of active medium therein; Shape of active medium
- H01S3/08—Construction or shape of optical resonators or components thereof
- H01S3/08059—Constructional details of the reflector, e.g. shape
-
- G—PHYSICS
- G02—OPTICS
- G02B—OPTICAL ELEMENTS, SYSTEMS OR APPARATUS
- G02B5/00—Optical elements other than lenses
- G02B5/08—Mirrors
- G02B5/0816—Multilayer mirrors, i.e. having two or more reflecting layers
- G02B5/0825—Multilayer mirrors, i.e. having two or more reflecting layers the reflecting layers comprising dielectric materials only
- G02B5/0833—Multilayer mirrors, i.e. having two or more reflecting layers the reflecting layers comprising dielectric materials only comprising inorganic materials only
-
- H—ELECTRICITY
- H01—ELECTRIC ELEMENTS
- H01S—DEVICES USING THE PROCESS OF LIGHT AMPLIFICATION BY STIMULATED EMISSION OF RADIATION [LASER] TO AMPLIFY OR GENERATE LIGHT; DEVICES USING STIMULATED EMISSION OF ELECTROMAGNETIC RADIATION IN WAVE RANGES OTHER THAN OPTICAL
- H01S3/00—Lasers, i.e. devices using stimulated emission of electromagnetic radiation in the infrared, visible or ultraviolet wave range
- H01S3/10—Controlling the intensity, frequency, phase, polarisation or direction of the emitted radiation, e.g. switching, gating, modulating or demodulating
- H01S3/11—Mode locking; Q-switching; Other giant-pulse techniques, e.g. cavity dumping
- H01S3/1106—Mode locking
- H01S3/1112—Passive mode locking
- H01S3/1115—Passive mode locking using intracavity saturable absorbers
- H01S3/1118—Semiconductor saturable absorbers, e.g. semiconductor saturable absorber mirrors [SESAMs]; Solid-state saturable absorbers, e.g. carbon nanotube [CNT] based
-
- H—ELECTRICITY
- H01—ELECTRIC ELEMENTS
- H01S—DEVICES USING THE PROCESS OF LIGHT AMPLIFICATION BY STIMULATED EMISSION OF RADIATION [LASER] TO AMPLIFY OR GENERATE LIGHT; DEVICES USING STIMULATED EMISSION OF ELECTROMAGNETIC RADIATION IN WAVE RANGES OTHER THAN OPTICAL
- H01S2301/00—Functional characteristics
- H01S2301/08—Generation of pulses with special temporal shape or frequency spectrum
- H01S2301/085—Generation of pulses with special temporal shape or frequency spectrum solitons
-
- H—ELECTRICITY
- H01—ELECTRIC ELEMENTS
- H01S—DEVICES USING THE PROCESS OF LIGHT AMPLIFICATION BY STIMULATED EMISSION OF RADIATION [LASER] TO AMPLIFY OR GENERATE LIGHT; DEVICES USING STIMULATED EMISSION OF ELECTROMAGNETIC RADIATION IN WAVE RANGES OTHER THAN OPTICAL
- H01S3/00—Lasers, i.e. devices using stimulated emission of electromagnetic radiation in the infrared, visible or ultraviolet wave range
- H01S3/05—Construction or shape of optical resonators; Accommodation of active medium therein; Shape of active medium
- H01S3/08—Construction or shape of optical resonators or components thereof
-
- H—ELECTRICITY
- H01—ELECTRIC ELEMENTS
- H01S—DEVICES USING THE PROCESS OF LIGHT AMPLIFICATION BY STIMULATED EMISSION OF RADIATION [LASER] TO AMPLIFY OR GENERATE LIGHT; DEVICES USING STIMULATED EMISSION OF ELECTROMAGNETIC RADIATION IN WAVE RANGES OTHER THAN OPTICAL
- H01S3/00—Lasers, i.e. devices using stimulated emission of electromagnetic radiation in the infrared, visible or ultraviolet wave range
- H01S3/05—Construction or shape of optical resonators; Accommodation of active medium therein; Shape of active medium
- H01S3/08—Construction or shape of optical resonators or components thereof
- H01S3/081—Construction or shape of optical resonators or components thereof comprising three or more reflectors
- H01S3/0813—Configuration of resonator
- H01S3/0815—Configuration of resonator having 3 reflectors, e.g. V-shaped resonators
-
- H—ELECTRICITY
- H01—ELECTRIC ELEMENTS
- H01S—DEVICES USING THE PROCESS OF LIGHT AMPLIFICATION BY STIMULATED EMISSION OF RADIATION [LASER] TO AMPLIFY OR GENERATE LIGHT; DEVICES USING STIMULATED EMISSION OF ELECTROMAGNETIC RADIATION IN WAVE RANGES OTHER THAN OPTICAL
- H01S3/00—Lasers, i.e. devices using stimulated emission of electromagnetic radiation in the infrared, visible or ultraviolet wave range
- H01S3/09—Processes or apparatus for excitation, e.g. pumping
- H01S3/091—Processes or apparatus for excitation, e.g. pumping using optical pumping
- H01S3/094—Processes or apparatus for excitation, e.g. pumping using optical pumping by coherent light
- H01S3/0941—Processes or apparatus for excitation, e.g. pumping using optical pumping by coherent light of a laser diode
- H01S3/09415—Processes or apparatus for excitation, e.g. pumping using optical pumping by coherent light of a laser diode the pumping beam being parallel to the lasing mode of the pumped medium, e.g. end-pumping
-
- H—ELECTRICITY
- H01—ELECTRIC ELEMENTS
- H01S—DEVICES USING THE PROCESS OF LIGHT AMPLIFICATION BY STIMULATED EMISSION OF RADIATION [LASER] TO AMPLIFY OR GENERATE LIGHT; DEVICES USING STIMULATED EMISSION OF ELECTROMAGNETIC RADIATION IN WAVE RANGES OTHER THAN OPTICAL
- H01S3/00—Lasers, i.e. devices using stimulated emission of electromagnetic radiation in the infrared, visible or ultraviolet wave range
- H01S3/14—Lasers, i.e. devices using stimulated emission of electromagnetic radiation in the infrared, visible or ultraviolet wave range characterised by the material used as the active medium
- H01S3/16—Solid materials
- H01S3/1601—Solid materials characterised by an active (lasing) ion
- H01S3/1603—Solid materials characterised by an active (lasing) ion rare earth
- H01S3/1618—Solid materials characterised by an active (lasing) ion rare earth ytterbium
-
- H—ELECTRICITY
- H01—ELECTRIC ELEMENTS
- H01S—DEVICES USING THE PROCESS OF LIGHT AMPLIFICATION BY STIMULATED EMISSION OF RADIATION [LASER] TO AMPLIFY OR GENERATE LIGHT; DEVICES USING STIMULATED EMISSION OF ELECTROMAGNETIC RADIATION IN WAVE RANGES OTHER THAN OPTICAL
- H01S3/00—Lasers, i.e. devices using stimulated emission of electromagnetic radiation in the infrared, visible or ultraviolet wave range
- H01S3/14—Lasers, i.e. devices using stimulated emission of electromagnetic radiation in the infrared, visible or ultraviolet wave range characterised by the material used as the active medium
- H01S3/16—Solid materials
- H01S3/163—Solid materials characterised by a crystal matrix
- H01S3/1675—Solid materials characterised by a crystal matrix titanate, germanate, molybdate, tungstate
Landscapes
- Physics & Mathematics (AREA)
- Electromagnetism (AREA)
- Engineering & Computer Science (AREA)
- Optics & Photonics (AREA)
- Plasma & Fusion (AREA)
- Chemical & Material Sciences (AREA)
- Materials Engineering (AREA)
- Nanotechnology (AREA)
- Inorganic Chemistry (AREA)
- General Physics & Mathematics (AREA)
- Lasers (AREA)
- Optical Filters (AREA)
Abstract
【解決手段】固体レーザ媒質15と可飽和吸収ミラー16とをレーリ長の2倍以下の距離で近接配置する。その上で、可飽和吸収ミラー16の吸収変調深さΔRを0.4%以上とし、パルス幅に対して所定の関係式で表される、共振器内を所定の波長の光が一往復した場合の共振器内全分散量の絶対値|D|(ただしD<0)を、可飽和吸収ミラー16により基本周期のソリトンパルス以外の動作様式が抑制可能なパルス帯域内に設定し、出力ミラーとして、所定の波長の光18に対して、ミラー分散量が−3000fs2〜−600fs2であり、かつ、反射率が97%〜99.5%である負分散ミラー5を用いる。
【選択図】図1
Description
である。各ビーム断面積を小さくし、(2)式を満たすようなパルスエネルギーEPが発振器で実現できれば、Qスイッチ不安定性の無い、いわゆるCWモード同期が実現できることが知られている。なお、(2)式において、左辺=右辺としたときのEPの解がモード同期閾値であり、(2)式を満たすとは、EPをそのモード同期閾値よりも大きくなるように設定することをいう。
前記固体レーザ媒質と前記可飽和吸収ミラーとが、両者間の距離がレーリ長の2倍以下となるように配置されており、
前記可飽和吸収ミラーの吸収変調深さΔRが0.4%以上であり、
下記関係式で表される、前記共振器内を所定の波長の光が一往復した場合の共振器内全分散量の絶対値|D|(ただしD<0)が、前記可飽和吸収ミラーにより基本周期のソリトンパルス以外の動作様式が抑制可能なパルス帯域内に設定されており、
前記出力ミラーが、基板上に誘電体多層膜構造を有してなる負分散ミラーであって、前記多層膜構造が、それぞれ複数の層が積層されてなる2つのミラー機能層部、および該2つのミラー機能層部間に挟まれて配されて該2つのミラー機能層部間で前記所定の波長の光の共振を生じさせるキャビティ層から構成され、前記所定の波長の光に対して、ミラー分散量が−3000fsec2〜−600fsec2であり、かつ、反射率が97%〜99.5%であることを特徴とするものである。なお、以下においてはfsecを単にfsと示すことがある。
さらに、前記所定の波長は、所望の値に設定可能であるが、特に、1000nm〜1100nmの範囲にあることが好ましい。
前記所定の波長をλとしたとき、前記ミラー機能層を構成する各層の光学膜厚が、λ/8以上かつλ/2未満の厚さであることが好ましい。
前記キャビティ層を、前記高い屈折率を有する層、あるいは前記低い屈折率を有する層と同一の材料で構成することが好ましい。
前記高い屈折率を有する層は、例えば、Ti、Zr、Hf、Nb、Al、Zn、Y、Sc、La、Ce、PrまたはTaの酸化物、およびZnの硫化物から選ばれる1つ、または、これらの1つもしくは複数を含む混合物または化合物からなるものとすることができる。ここで、1つもしくは複数を含む混合物または化合物とは、先に列挙している酸化物、硫化物以外のものを含んでもよいが、ここに挙げた酸化物、硫化物の1つもしくは複数を主要成分として(全体の50重量%以上)含むものとする。
また、前記低い屈折率を有する層は、Siの酸化物、およびCa、Li、Mg、Na、Th、Al、Hf、La、YまたはZrのフッ化物から選ばれる1つ、または、これらの1つもしくは複数を含む混合物または化合物からなるものとすることができる。ここで、1つもしくは複数を含む混合物または化合物とは、先に列挙している酸化物、フッ化物以外のものを含んでもよいが、ここに挙げた酸化物、フッ化物の1つもしくは複数を主要成分として(全体の50重量%以上)含むものとする。
ΔG(CW)≦ΔR/2かつ、ΔG(DP)≦ΔR/S・・・(A)
を満たす吸収変調深さΔRおよび飽和度Sを有するものとし、共振器内を所定の波長の光が一往復した場合の共振器内全分散量の絶対値|D|(ただしD<0)を、(A)式かつ、基本ソリトンパルスに対するシフトパルスの利得優位度G(SP)≒0を満たすパルス帯域の範囲に対応する値となるように装置を構成することにより、ソリトンパルスを安定して生じさせることができることを見出した。
一般的なモード同期固体レーザ装置においては、SESAM飽和度S=3〜5程度で設計されており、本発明の具体的な構成においてもこの範囲の値を想定しており、特に以下では、S=4を採用している。
この場合、図4を参照すると、104fsecパルス(パルス帯域11nmに相当)を生成するには、950fsec2の負の分散量が必要である。安定範囲の下限4nm(シフトパルスによる制限)では、2500fsec2程度の負の分散量とすればよい。なお、共振器内全分散量DはパルスエネルギーEPの関数でもあるので、パルスエネルギーが大きいと、より大きな分散量が必要になることから、本発明で想定している装置としては、これが共振器内全分散量の絶対値上限である。絶対値下限については、パルスエネルギーが小さくなればそれだけ共振器内全分散量も小さくする必要があり、図4から分かるように共振器内全分散量が略零の場合があり得ることから、絶対値下限は0超とした。
図6は、本発明の第1の実施形態の負分散ミラー5の構成を示す模式図である。
図13A〜図16Aは、設計例1〜4についてそれぞれ所定の中心波長に対する各層の光学膜厚を示すものであり、図13B〜図16Bはそれぞれ図13A〜図16Aに示した設計例1〜4の層構成で達成される反射率およびミラー負分散量を示すグラフである。設計例1〜4は中心波長λ=1045nmとして(固体レーザ媒質としてYb:KYW(K(WO4)2)を想定)設計したものであり、いずれもシミュレーションにより得たものである。
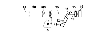
3 ガラス基板
4、7 多層膜構造
6 凹面ガラス基板
C キャビティ層
ML1 ML2 ミラー機能層部
8 反射防止膜
10 励起光
11 半導体レーザ
12 励起光学系
13 ダイクロイックミラー
15 固体レーザ媒質
16 SESAM(半導体可飽和吸収ミラー)
18 固体レーザ発振光
18a 出力光
19 凹面ミラー
60 非線形光学結晶
61 第2高調波
Claims (16)
- 一端を出力ミラーにより構成されてなる共振器と、前記共振器内に配置された固体レーザ媒質と、可飽和吸収ミラーとを備えたモード同期固体レーザ装置において、
前記固体レーザ媒質と前記可飽和吸収ミラーとが、両者間の距離がレーリ長の2倍以下なるように配置されており、
前記可飽和吸収ミラーの吸収変調深さΔRが0.4%以上であり、
下記関係式で表される、前記共振器内を所定の波長の光が一往復した場合の共振器内全分散量の絶対値|D|(ただしD<0)が、前記可飽和吸収ミラーにより基本周期のソリトンパルス以外の動作様式が抑制可能なパルス帯域内に設定されており、
前記出力ミラーが、基板上に誘電体多層膜構造を有してなる負分散ミラーであって、前記多層膜構造が、それぞれ複数の層が積層されてなる2つのミラー機能層部、および該2つのミラー機能層部間に挟まれて配されて該2つのミラー機能層部間で前記所定の波長の光の共振を生じさせるキャビティ層から構成され、前記所定の波長の光に対して、ミラー分散量が−3000fsec2〜−600fsec2であり、かつ、反射率が97%〜99.5%であることを特徴とするモード同期固体レーザ装置。
(ただし、τP:パルス幅、λ0:中心波長、Aeff,L (=πωL 2):レーザ媒質における発振光ビーム断面積、n2:レーザ媒質の非線形屈折率、ls:レーザ媒質の結晶長、EP:共振器内部パルスエネルギー) - 前記固体レーザ媒質を励起する励起光が、共振器光軸に対して斜め方向から入射し、
該光軸上またはその延長上に配置された、固体レーザ発振光を透過させるダイクロイックミラーで反射してこの光軸方向に進むように構成されていることを特徴とする請求項1記載のモード同期固体レーザ装置。 - 前記固体レーザ媒質が、希土類が添加されたものであることを特徴とする請求項1または2記載のモード同期固体レーザ装置。
- 前記希土類が、イッテルビウム(Yb)、エルビウム(Er)、あるいはネオジム(Nd)であることを特徴とする請求項3記載のモード同期固体レーザ装置。
- 前記固体レーザ媒質が、Yb:YAG(Y3Al5O12)、Yb:KYW(K(WO4)2)、Yb:KGW(KGd(WO4)2)、Yb:Y2O3、Yb:Sc2O3、Yb:Lu2O3、Er,Yb:ガラス、Nd:ガラスのいずれかであることを特徴とする請求項3記載のモード同期固体レーザ装置。
- 前記共振器が直線型であることを特徴とする請求項1から5いずれか1項記載のモード同期固体レーザ装置。
- 共振器モードウエスト直径が100μm以下であることを特徴とする請求項1から6いずれか1項記載のモード同期固体レーザ装置。
- 前記負分散ミラーの基板が凹面を有するものであり、前記多層膜構造が該凹面に設けられていることを特徴とする請求項1から7いずれか1項記載のモード同期固体レーザ装置。
- 前記負分散ミラーの前記分散量および前記反射率が、前記所定の波長を含む10nm以上の帯域幅を有するものであることを特徴とする請求項1から8いずれか1項記載のモード同期固体レーザ装置。
- 前記所定の波長が、1000nm〜1100nmの範囲にあることを特徴とする請求項1から9いずれか1項記載のモード同期固体レーザ装置。
- 前記負分散ミラーにおいて、前記所定の波長をλとしたとき、前記キャビティ層の光学膜厚が、λ/2以上の厚さであることを特徴とする請求項1から10いずれか1項記載のモード同期固体レーザ装置。
- 前記負分散ミラーにおいて、前記所定の波長をλとしたとき、前記ミラー機能層を構成する各層の光学膜厚が、λ/8以上かつλ/2未満の厚さであることを特徴とする請求項1から11いずれか1項記載のモード同期固体レーザ装置。
- 前記負分散ミラーにおいて、前記ミラー機能層が、相対的に高い屈折率を有する層と、相対的に低い屈折率を有する層とが交互に8層以上積層されてなるものであることを特徴とする請求項1から12いずれか1項記載のモード同期固体レーザ装置。
- 前記負分散ミラーにおいて、前記キャビティ層が、前記高い屈折率を有する層、あるいは前記低い屈折率を有する層と同一の材料で構成されていることを特徴とする請求項13記載のモード同期固定レーザ装置。
- 前記負分散ミラーにおいて、前記高い屈折率を有する層が、Ti、Zr、Hf、Nb、Al、Zn、Y、Sc、La、Ce、PrまたはTaの酸化物、およびZnの硫化物から選ばれる1つ、または、これらの1つもしくは複数を含む混合物または化合物からなるものであることを特徴とする請求項13または14記載のモード同期固定レーザ装置。
- 前記負分散ミラーにおいて、前記低い屈折率を有する層が、Siの酸化物、およびCa、Li、Mg、Na、Th、Al、Hf、La、YまたはZrのフッ化物から選ばれる1つ、または、これらの1つもしくは複数を含む混合物または化合物からなるものであることを特徴とする請求項13から15いずれか1項記載のモード同期固定レーザ装置。
Priority Applications (3)
| Application Number | Priority Date | Filing Date | Title |
|---|---|---|---|
| JP2008161231A JP5456992B2 (ja) | 2008-06-20 | 2008-06-20 | モード同期固体レーザ装置 |
| US12/488,253 US7953127B2 (en) | 2008-06-20 | 2009-06-19 | Mode-locked solid-state laser apparatus |
| EP09008086A EP2136440A1 (en) | 2008-06-20 | 2009-06-19 | Mode-locked solid-state laser |
Applications Claiming Priority (1)
| Application Number | Priority Date | Filing Date | Title |
|---|---|---|---|
| JP2008161231A JP5456992B2 (ja) | 2008-06-20 | 2008-06-20 | モード同期固体レーザ装置 |
Publications (2)
| Publication Number | Publication Date |
|---|---|
| JP2010003864A true JP2010003864A (ja) | 2010-01-07 |
| JP5456992B2 JP5456992B2 (ja) | 2014-04-02 |
Family
ID=41058952
Family Applications (1)
| Application Number | Title | Priority Date | Filing Date |
|---|---|---|---|
| JP2008161231A Expired - Fee Related JP5456992B2 (ja) | 2008-06-20 | 2008-06-20 | モード同期固体レーザ装置 |
Country Status (3)
| Country | Link |
|---|---|
| US (1) | US7953127B2 (ja) |
| EP (1) | EP2136440A1 (ja) |
| JP (1) | JP5456992B2 (ja) |
Cited By (2)
| Publication number | Priority date | Publication date | Assignee | Title |
|---|---|---|---|---|
| JP2010003866A (ja) * | 2008-06-20 | 2010-01-07 | Fujifilm Corp | モード同期固体レーザ装置 |
| JP2010003865A (ja) * | 2008-06-20 | 2010-01-07 | Fujifilm Corp | モード同期固体レーザ装置 |
Citations (8)
| Publication number | Priority date | Publication date | Assignee | Title |
|---|---|---|---|---|
| JP2000352614A (ja) * | 1999-06-09 | 2000-12-19 | Agency Of Ind Science & Technol | 分散補償ミラーの屈折率分布最適化方法、及びこれに基づき作製された分散補償ミラーとその応用装置 |
| JP2002528906A (ja) * | 1998-10-28 | 2002-09-03 | コヒーレント・インク | 多層鏡分散制御 |
| US7106764B1 (en) * | 1999-02-01 | 2006-09-12 | Gigatera Ag | High-repetition-rate passively mode-locked solid-state laser |
| JP2007512693A (ja) * | 2003-11-28 | 2007-05-17 | ハイ キュー レーザー プロダクション ゲゼルシャフト ミット ベシュレンクテル ハフツング | コンパクトな設計の高度繰り返しレーザーシステム |
| JP2008028379A (ja) * | 2006-06-22 | 2008-02-07 | Fujifilm Corp | モードロックレーザ装置 |
| JP2008088136A (ja) * | 2006-10-05 | 2008-04-17 | Sankyo Co Ltd | 置換インドール化合物を含有する医薬 |
| JP5319990B2 (ja) * | 2007-09-28 | 2013-10-16 | 富士フイルム株式会社 | モード同期固体レーザ装置 |
| JP5319989B2 (ja) * | 2007-09-28 | 2013-10-16 | 富士フイルム株式会社 | モード同期固体レーザ装置 |
Family Cites Families (7)
| Publication number | Priority date | Publication date | Assignee | Title |
|---|---|---|---|---|
| JP2754214B2 (ja) | 1988-07-12 | 1998-05-20 | 工業技術院長 | 光パルスの周波数チャープ補償が出来る誘電体多層膜 |
| JPH11168252A (ja) | 1997-12-05 | 1999-06-22 | Hitachi Ltd | 小型固体レーザー |
| US6222673B1 (en) | 1998-08-18 | 2001-04-24 | Coherent, Inc. | Group-delay-dispersive multilayer-mirror structures and method for designing same |
| JP4142179B2 (ja) | 1998-10-29 | 2008-08-27 | 浜松ホトニクス株式会社 | 多層膜ミラー |
| US7864821B2 (en) * | 2007-09-28 | 2011-01-04 | Fujifilm Corporation | Mode-locked solid-state laser apparatus |
| US8199397B2 (en) | 2007-09-28 | 2012-06-12 | Fujifilm Corporation | Negative dispersion mirror and mode-locked solid-state laser apparatus including the mirror |
| DE102009031373A1 (de) | 2009-07-01 | 2011-01-05 | Kathrein-Werke Kg | Hochfrequenzfilter |
-
2008
- 2008-06-20 JP JP2008161231A patent/JP5456992B2/ja not_active Expired - Fee Related
-
2009
- 2009-06-19 US US12/488,253 patent/US7953127B2/en not_active Expired - Fee Related
- 2009-06-19 EP EP09008086A patent/EP2136440A1/en not_active Ceased
Patent Citations (8)
| Publication number | Priority date | Publication date | Assignee | Title |
|---|---|---|---|---|
| JP2002528906A (ja) * | 1998-10-28 | 2002-09-03 | コヒーレント・インク | 多層鏡分散制御 |
| US7106764B1 (en) * | 1999-02-01 | 2006-09-12 | Gigatera Ag | High-repetition-rate passively mode-locked solid-state laser |
| JP2000352614A (ja) * | 1999-06-09 | 2000-12-19 | Agency Of Ind Science & Technol | 分散補償ミラーの屈折率分布最適化方法、及びこれに基づき作製された分散補償ミラーとその応用装置 |
| JP2007512693A (ja) * | 2003-11-28 | 2007-05-17 | ハイ キュー レーザー プロダクション ゲゼルシャフト ミット ベシュレンクテル ハフツング | コンパクトな設計の高度繰り返しレーザーシステム |
| JP2008028379A (ja) * | 2006-06-22 | 2008-02-07 | Fujifilm Corp | モードロックレーザ装置 |
| JP2008088136A (ja) * | 2006-10-05 | 2008-04-17 | Sankyo Co Ltd | 置換インドール化合物を含有する医薬 |
| JP5319990B2 (ja) * | 2007-09-28 | 2013-10-16 | 富士フイルム株式会社 | モード同期固体レーザ装置 |
| JP5319989B2 (ja) * | 2007-09-28 | 2013-10-16 | 富士フイルム株式会社 | モード同期固体レーザ装置 |
Non-Patent Citations (3)
| Title |
|---|
| J. M. JACOBSON, ET AL.: "Femtosecond pulse generation in a Ti:A12O3 laser by using second- and third-order intracavity disper", OPTICS LETTERS, vol. Vol. 17, Issue 22, JPN6012050458, 15 November 1992 (1992-11-15), pages 1608 - 1610, ISSN: 0002340409 * |
| L. KRAINER, ET. AL.: "77 GHz soliton modelocked Nd:YV04 laser", ELECTRONICS LETTFRS, vol. 36, no. 22, JPN6012041782, 26 October 2000 (2000-10-26), pages 1846 - 1848, XP006015843, ISSN: 0002713156, DOI: 10.1049/el:20001289 * |
| LUIS A. GOMES, ET AL: "Picosecond SESAM-Based Ytterbium Mode-Locked Fiber Lasers", IEEE JOURNAL OF SELECTED TOPICS IN QUANTUM ELECTRONICS, vol. 10, no. 1, JPN6012011811, February 2004 (2004-02-01), pages 129 - 136, ISSN: 0002340410 * |
Cited By (2)
| Publication number | Priority date | Publication date | Assignee | Title |
|---|---|---|---|---|
| JP2010003866A (ja) * | 2008-06-20 | 2010-01-07 | Fujifilm Corp | モード同期固体レーザ装置 |
| JP2010003865A (ja) * | 2008-06-20 | 2010-01-07 | Fujifilm Corp | モード同期固体レーザ装置 |
Also Published As
| Publication number | Publication date |
|---|---|
| EP2136440A1 (en) | 2009-12-23 |
| US20090316736A1 (en) | 2009-12-24 |
| US7953127B2 (en) | 2011-05-31 |
| JP5456992B2 (ja) | 2014-04-02 |
Similar Documents
| Publication | Publication Date | Title |
|---|---|---|
| JP5456994B2 (ja) | モード同期固体レーザ装置 | |
| JP5319990B2 (ja) | モード同期固体レーザ装置 | |
| US8199397B2 (en) | Negative dispersion mirror and mode-locked solid-state laser apparatus including the mirror | |
| CN1883086B (zh) | 脉冲激光装置 | |
| JP5319989B2 (ja) | モード同期固体レーザ装置 | |
| JP2008028379A (ja) | モードロックレーザ装置 | |
| US7889768B2 (en) | Mode-locked solid-state laser apparatus | |
| US20040218652A1 (en) | Eye-safe solid state laser system and method | |
| US20080219298A1 (en) | Fiber laser system using fiber having dysprosium | |
| JP5456993B2 (ja) | モード同期固体レーザ装置 | |
| JP5456992B2 (ja) | モード同期固体レーザ装置 | |
| JP2010258198A (ja) | モード同期固体レーザ装置 | |
| Paschotta et al. | Passively mode-locked solid-state lasers | |
| US20070242710A1 (en) | Laser apparatus | |
| JP2009088137A (ja) | 負分散ミラーおよび負分散ミラーを備えたモード同期固体レーザ装置 | |
| JP2009016607A (ja) | モードロックレーザ装置 | |
| US20090034058A1 (en) | Reduced threshold laser device | |
| JP2009088138A (ja) | 負分散ミラーおよび負分散ミラーを備えたモード同期固体レーザ装置 | |
| JP2009088136A (ja) | 負分散ミラーおよび負分散ミラーを備えたモード同期固体レーザ装置 | |
| WO2021171957A1 (ja) | 光共振器、光共振器の構成部品、およびレーザー装置 | |
| Lagatsky et al. | Diode-pumped femtosecond Yb: KYW laser with compact three-element cavity | |
| JPH11307858A (ja) | 溝型複合レーザ共振器 |
Legal Events
| Date | Code | Title | Description |
|---|---|---|---|
| A711 | Notification of change in applicant |
Free format text: JAPANESE INTERMEDIATE CODE: A711 Effective date: 20100614 |
|
| A621 | Written request for application examination |
Free format text: JAPANESE INTERMEDIATE CODE: A621 Effective date: 20110125 |
|
| A977 | Report on retrieval |
Free format text: JAPANESE INTERMEDIATE CODE: A971007 Effective date: 20120711 |
|
| A131 | Notification of reasons for refusal |
Free format text: JAPANESE INTERMEDIATE CODE: A131 Effective date: 20121002 |
|
| A521 | Request for written amendment filed |
Free format text: JAPANESE INTERMEDIATE CODE: A523 Effective date: 20121129 |
|
| A131 | Notification of reasons for refusal |
Free format text: JAPANESE INTERMEDIATE CODE: A131 Effective date: 20130312 |
|
| A521 | Request for written amendment filed |
Free format text: JAPANESE INTERMEDIATE CODE: A523 Effective date: 20130510 |
|
| TRDD | Decision of grant or rejection written | ||
| A01 | Written decision to grant a patent or to grant a registration (utility model) |
Free format text: JAPANESE INTERMEDIATE CODE: A01 Effective date: 20140107 |
|
| A61 | First payment of annual fees (during grant procedure) |
Free format text: JAPANESE INTERMEDIATE CODE: A61 Effective date: 20140109 |
|
| R150 | Certificate of patent or registration of utility model |
Ref document number: 5456992 Country of ref document: JP Free format text: JAPANESE INTERMEDIATE CODE: R150 Free format text: JAPANESE INTERMEDIATE CODE: R150 |
|
| R250 | Receipt of annual fees |
Free format text: JAPANESE INTERMEDIATE CODE: R250 |
|
| R250 | Receipt of annual fees |
Free format text: JAPANESE INTERMEDIATE CODE: R250 |
|
| R250 | Receipt of annual fees |
Free format text: JAPANESE INTERMEDIATE CODE: R250 |
|
| R250 | Receipt of annual fees |
Free format text: JAPANESE INTERMEDIATE CODE: R250 |
|
| R250 | Receipt of annual fees |
Free format text: JAPANESE INTERMEDIATE CODE: R250 |
|
| LAPS | Cancellation because of no payment of annual fees |
