JP2010000029A - 家畜用上下高さ調整機構付き水飲槽及び飼槽 - Google Patents

家畜用上下高さ調整機構付き水飲槽及び飼槽 Download PDF

Info

Publication number
JP2010000029A
JP2010000029A JP2008161059A JP2008161059A JP2010000029A JP 2010000029 A JP2010000029 A JP 2010000029A JP 2008161059 A JP2008161059 A JP 2008161059A JP 2008161059 A JP2008161059 A JP 2008161059A JP 2010000029 A JP2010000029 A JP 2010000029A
Authority
JP
Japan
Prior art keywords
livestock
drinking
tank
vertical
vertical height
Prior art date
Legal status (The legal status is an assumption and is not a legal conclusion. Google has not performed a legal analysis and makes no representation as to the accuracy of the status listed.)
Granted
Application number
JP2008161059A
Other languages
English (en)
Other versions
JP4856674B2 (ja
Inventor
Kazuyoshi Narita
和義 成田
Current Assignee (The listed assignees may be inaccurate. Google has not performed a legal analysis and makes no representation or warranty as to the accuracy of the list.)
Mirai No Agri Co Ltd
Original Assignee
Kitahara Denboku KK
Priority date (The priority date is an assumption and is not a legal conclusion. Google has not performed a legal analysis and makes no representation as to the accuracy of the date listed.)
Filing date
Publication date
Application filed by Kitahara Denboku KK filed Critical Kitahara Denboku KK
Priority to JP2008161059A priority Critical patent/JP4856674B2/ja
Publication of JP2010000029A publication Critical patent/JP2010000029A/ja
Application granted granted Critical
Publication of JP4856674B2 publication Critical patent/JP4856674B2/ja
Expired - Fee Related legal-status Critical Current
Anticipated expiration legal-status Critical

Links

Images

Landscapes

  • Feeding And Watering For Cattle Raising And Animal Husbandry (AREA)

Abstract

【課題】家畜の種類又は月齢の体高に合わせて上下位置の調節が簡単な家畜用上下高さ調整機構付き水飲槽を提供する。
【解決手段】家畜に与えるための水を蓄える水飲槽本体12と、水飲槽本体12を上下高さ調整自在に昇降させる上下高さ調整機構13とを備えた家畜用上下高さ調整機構付き水飲槽11であって、上下高さ調整機構13は、基台となる下フレーム14と、水飲槽本体12を支承する上フレーム15と、下フレーム14と上フレーム15の間に縦2列に配列され、下フレーム14と上フレーム15の間隔を調節する複数の間隔調整部材16,16…と、間隔調整部材16を作動させるパンタグラフジャッキ17と、異なる列の間隔調整部材16,16同士を互いに連結する横連結部材と、複数の間隔調整部材6,6…を同時に作動させるため、複数の横連結部材を連結する縦連結部材19とを備えている。
【選択図】図1

Description

本発明は、家畜の種類又は月齢の体高に合わせて簡単な操作で上下位置の調節が可能な家畜用上下高さ調整機構付き水飲槽及び飼槽に関する。
家畜が放牧地等で飲水したり、飼料を食べる場合、家畜の種類、家畜の月齢で体高が異なり、例えば、親馬の体高と親羊の体高、また育成牛の体高などさまざまの適正高さの水飲み槽、飼槽が要求される。
然しながら、従来、水飲み槽又は飼槽は、一般的にどの家畜かの平均的高さに合わせて設置されており、そのため、平均より小さい家畜は飲みづらく、成長に影響を与える。
或いは、同一放牧地内で対象家畜の種類又は月齢に合わせて個々の体高に合わせた水飲み槽又は飼槽を夫々設置することもあり、この場合、対象家畜の種類に合わせて多種類の水飲み槽又は飼槽を必要とする。
更に、対象家畜の種類又は月齢に合わせて個々の体高に合わせた水飲み槽又は飼槽を設置しても、家畜同士の競合による怪我、水槽内、飼槽内への転落による水槽、飼槽本体の破損及び家畜の死亡事故が起きたりする虞がある。
図12に於いて、1は、従来の家畜用水飲槽の一例を示し、家畜用水飲槽1は、家畜に与えるための水を蓄える水飲槽本体2と、水飲槽本体2を所定高さに支える支持台3と、水飲槽本体2近傍に於ける家畜同士の競合による怪我、水飲槽本体2内への転落による家畜用水飲槽1の破損及び家畜の死亡事故を防止するための柵4等を備えている。
尚、此種の先行文献として、例えば、特許文献1がある。特許文献1には、汚水や汚物を一括して排出でき、水槽掃除の重労働的負担を解消できる家畜用自動給水槽が記載されている。
実用新案登録第3112680号公報
前述したように、従来、水飲み槽、飼槽は、一般的にどの家畜かの平均的高さに合わせて設置されており、そのため、平均より小さい家畜は飲みづらく、成長に影響を与える。
又、同一放牧地内で対象家畜の種類又は月齢に合わせて個々の体高に合わせた水飲み槽及び飼槽を設置する場合、多種類の水飲み槽及び飼槽を必要とする。
尚、特許文献1は、高さ位置が固定された給水槽であり、前述の問題を解決するものではない。
以上の現状に鑑み、本発明は、家畜の種類又は月齢の体高に合わせて簡単な操作で上下位置の調節が可能な家畜用上下高さ調整機構付き水飲槽及び飼槽を提供することを目的とする。
上記の課題を解決すべく、本発明は以下の構成を提供する。
請求項1に係る発明は、家畜に与えるための水を蓄える水飲槽本体と、前記水飲槽本体を上下高さ調整自在に昇降させる上下高さ調整機構とを備えた家畜用上下高さ調整機構付き水飲槽であって、前記上下高さ調整機構は、基台となる下フレームと、前記水飲槽本体を支承する上フレームと、前記下フレームと上フレームの間に縦複数列に配列され、前記下フレームと上フレームの間隔を調節する複数の間隔調整部材と、前記間隔調整部材を作動させる作動部材と、異なる列の前記間隔調整部材同士を互いに連結する横連結部材と、前記複数の間隔調整部材を同時に作動させるため、複数の前記横連結部材を連結する縦連結部材とを備えていることを特徴とする家畜用上下高さ調整機構付き水飲槽を提供するものである。
請求項2に係る発明は、前記間隔調整部材は、両端が前記下フレームと上フレームに夫々回転自在に軸支される固定リンク部材と、上端が前記上フレームに回転自在に軸支され、下端に前記下フレーム上を転動させるための転動輪が配設された可動リンク部材とを備え、前記横連結部材は、異なる列の前記間隔調整部材同士を夫々前記可動リンク部材の転動輪近傍で互いに連結することを特徴とする請求項1記載の家畜用上下高さ調整機構付き水飲槽を提供するものである。
請求項3に係る発明は、前記作動部材は、一端が前記下フレームに直接又は適宜部材を介して固着され、他端が前記連結部材に固着されたパンタグラフジャッキであることを特徴とする請求項1又は2記載の家畜用上下高さ調整機構付き水飲槽を提供するものである。
請求項4に係る発明は、前記作動部材は、前記下フレームに直接又は適宜部材を介して固着され、前記連結部材に結着されたワイヤーを巻き取るためのウインチであることを特徴とする請求項1又は2記載の家畜用上下高さ調整機構付き水飲槽を提供するものである。
請求項5に係る発明は、前記上下高さ調整機構の誤作動を防止し安全を確保するためのストッパーを設けたことを特徴とする請求項1乃至4のうち何れか一に記載の家畜用上下高さ調整機構付き水飲槽を提供するものである。
請求項6に係る発明は、請求項1乃至5のうちいずれか一に記載された家畜用上下高さ調整機構付き水飲槽の前記水飲槽本体に代えて、家畜に与えるための飼料等を蓄える飼槽本体を備えたことを特徴とする家畜用上下高さ調整機構付き飼槽を提供するものである。
本発明の請求項1記載の発明によれば、家畜の種類又は月齢の体高に合わせて簡単な操作で上下位置の調節が可能な家畜用上下高さ調整機構付き水飲槽を提供することができる。又、水飲槽本体の水平を保ちながら水飲槽本体を連続的に簡単に昇降させることが可能になる。
請求項2記載の発明によれば、請求項1記載の発明の効果に加え、耐荷重性の高い上下高さ調整機構を提供することができる。
請求項3記載の発明によれば、請求項1又は2記載の発明の効果に加え、安価で、操作性の良い作動部材を提供できる。又、動力を使わず手動で簡単に水飲槽本体を昇降させることが可能になる。
請求項4記載の発明によれば、請求項1又は2記載の発明の効果に加え、安価で、操作性の良い作動部材を提供できる。又、動力を使わず手動で簡単に水飲槽本体を昇降させることが可能になる。
請求項5記載の発明によれば、請求項1乃至4のうち何れか一に記載の発明の効果に加え、ストッパーによって、上下高さ調整機構の誤作動を防止し安全を確保することができる。
請求項6記載の発明によれば、請求項1乃至5記載の発明と同様な効果が得られる家畜用上下高さ調整機構付き飼槽を提供することができる。
以下、実施例を示した図面を参照しつつ本発明の実施の形態を説明する。
図1に於いて、11は本発明の第1実施形態の家畜用上下高さ調整機構付き水飲槽を示し、家畜用上下高さ調整機構付き水飲槽11は、家畜に与えるための水を蓄える水飲槽本体12と、水飲槽本体12を上下高さ調整自在に昇降させる上下高さ調整機構13とを備え、上下高さ調整機構13は、基台となる下フレーム14と、水飲槽本体12を支承する上フレーム15と、下フレーム14と上フレーム15の間に縦2列に配列され、下フレーム14と上フレーム15の間隔を調節する複数の間隔調整部材16と、間隔調整部材16を作動させる図2に示す作動部材であるパンタグラフジャッキ17と、異なる列の間隔調整部材16,16同士を互いに連結する横連結部材18と、複数の間隔調整部材16,16…を同時に作動させるため、複数の横連結部材18,18…を連結する2本の縦連結部材19,19とを備えている。尚、前記下フレーム14と上フレーム15は、フレーム状であることが好ましいが、フレーム状ではない部材で構成することも可能である。又、前記縦2列は、縦複数列であっても良い。
そして、間隔調整部材16は、図3に示すように、両端が下フレーム14と上フレーム15に夫々回転自在に軸支される固定リンク部材20と、上端が上フレーム15に回転自在に軸支され、下端に下フレーム14上を転動させるための転動輪21が配設された可動リンク部材22とを備えている。
又、横連結部材18は、異なる列の間隔調整部材16,16同士を夫々可動リンク部材22,22の転動輪21,21近傍で互いに連結している。例えば、図3に示すように、転動輪21,21の軸部を互いに連結している。
又、前記パンタグラフジャッキ17は、図4に示すように、基端が下フレーム14に掛架された固定部材23に固着され、先端が下フレーム14の左端近傍に配設された横連結部材18に固着されている。
パンタグラフジャッキ17は、伸縮によって、パンタグラフジャッキ17に固着された横連結部材18を左右に移動させるように構成されている。
図1に於いて、24はストッパーであり、ストッパー24は、下フレーム14に固着されたストッパー本体部に於いて、ネジが刻設されたネジ棒が左右方向に螺進して停止することにより、前記縦連結部材19の右端を所定位置で停止させるように構成されており、それによって、上下高さ調整機構13の誤作動を防止し安全を確保するものである。尚、前記ネジ棒の代わりに適宜長さを有するブロック等を、縦連結部材19の右端と、ストッパー本体部又は下フレーム14の右端部との間に挿入しても良い。
又、図1及び図5に於いて、25は水飲槽本体12の上方に設けた柵であり、柵25は、水飲槽本体12の長手方向に延びる複数の縦棒26,26…を垂直方向に並行して並べ、保持部材27を介して保持したものである。
前記柵25は、水飲槽本体12近傍に於ける家畜同士の競合による怪我、水槽本体12内への転落による家畜の死亡事故、又は、水槽本体12の破損等を防止することができる。
又、柵25を仕切り柵として利用することもできる。
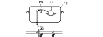
更に、図1及び図6に於いて、28は前記水飲槽本体12に設けた自動給水装置であり、自動給水装置28は水位を検知して水位が所定水位に下がると給水を開始させるフロート弁29を備えている。
又、図7に於いて、30は、水飲槽本体12内の水を排水する排水弁である。
而して、前記家畜用上下高さ調整機構付き水飲槽11の高さ調整を行なう場合は、図2に示す前記パンタグラフジャッキ17に係合させたハンドル(図示せず)を回して前記パンタグラフジャッキ17を伸張させると、パンタグラフジャッキ17に固着された横連結部材18が左方に移動し、これによって、横連結部材18に連結された可動リンク部材22の下端部が転動輪21の回転と共に左に移動し、同時に、横連結部材18に連結された異なる列の間隔調整部材16の可動リンク部材22の下端部も転動輪21の回転と共に左に移動し、更に、縦連結部材19で連結された他の間隔調整部材16,16…も同様に連動し、全ての間隔調整部材16,16…の高さが高くなり、これによって、図1(b)に示すように、上フレーム15の高さが水平を維持したまま高くなり、同時に水飲槽本体12の高さも高くなる。この高さ位置は、パンタグラフジャッキ17により維持させることができる。
反対に、ストッパー24を外した状態で、図2に示す前記パンタグラフジャッキ17のハンドルを逆に回して前記パンタグラフジャッキ17を縮小させると、パンタグラフジャッキ17に固着された横連結部材18が右方に移動し、これによって、横連結部材18に連結された可動リンク部材22の下端部が転動輪21の回転と共に右に移動し、同時に、横連結部材18に連結された異なる列の間隔調整部材16の可動リンク部材22の下端部も転動輪21の回転と共に右に移動し、更に、縦連結部材19で連結された他の間隔調整部材16,16…も同様に連動し、全ての間隔調整部材16,16…の高さが低くなり、これによって、図8に示すように、上フレーム15の高さが水平を維持したまま低くなり、同時に水飲槽本体12も高さが低くなる。この高さ位置は、パンタグラフジャッキ17により維持させることができる。
前記家畜用上下高さ調整機構付き水飲槽11は、1つのパンタグラフジャッキ17を操作するだけで水飲槽本体12の高さを調節することが可能であり、又、水飲槽本体12を傾けることなく、水平に上下調節することができる。
前記家畜用上下高さ調整機構付き水飲槽11は、水飲槽本体12内に水を入れない状態で、水飲槽本体12の高さを上下に調節することが望ましいが、万一、水飲槽本体12内に水を入れた状態で、水飲槽本体12の高さを上下に調節する場合に於いても、水飲槽本体12が傾かないので、水飲槽本体12の水がこぼれる心配がない。
図9に於いて、41は、本発明の第2実施形態の家畜用上下高さ調整機構付き水飲槽を示し、家畜用上下高さ調整機構付き水飲槽41は、前記家畜用上下高さ調整機構付き水飲槽(図1に於いて11)のパンタグラフジャッキ(図1に於いて17)に代えて、作動部材としてウインチ42を設けたものである。
ウインチ42は、図9(b)に示すように、下フレーム14に固着され、横連結部材18に結着されたワイヤー43を巻き取り自在に構成され、ウインチ42によってワイヤー43が巻き取られると、ワイヤー43に結着された横連結部材18が左方に移動するように構成されている。
而して、前記家畜用上下高さ調整機構付き水飲槽41の高さ調整を行なう場合は、ウインチ42のハンドル44を回してワイヤー43を巻き取ると、ワイヤー43に結着された横連結部材18が左方に移動し、これによって、横連結部材18に連結された可動リンク部材22の下端部が転動輪21の回転と共に左に移動し、同時に、横連結部材18に連結された異なる列の間隔調整部材16の可動リンク部材22の下端部も転動輪21の回転と共に左に移動し、更に、縦連結部材19で連結された他の間隔調整部材16,16…も同様に連動し、全ての間隔調整部材16,16…の高さが高くなり、これによって、上フレーム15の高さが水平を維持したまま高くなり、同時に水飲槽本体12も高さが高くなる。
この高さ位置は、ウインチ42により維持させることができる。
反対に、ストッパー24を外した状態で、前記ウインチ42のハンドル44を反対側に回してワイヤー43を巻き戻すと、ワイヤー43に結着された横連結部材18が右方に移動し、これによって、横連結部材18に連結された可動リンク部材22の下端部が転動輪21の回転と共に右に移動し、同時に、横連結部材18に連結された異なる列の間隔調整部材16の可動リンク部材22の下端部も転動輪21の回転と共に右に移動し、更に、縦連結部材19で連結された他の間隔調整部材16,16…も同様に連動し、全ての間隔調整部材16,16…の高さが低くなり、これによって、上フレーム15の高さが水平を維持したまま低くなり、同時に水飲槽本体12の高さも低くなる。この高さ位置は、ウインチ42により維持させることができる。
前記家畜用上下高さ調整機構付き水飲槽41は、1つのウインチ42を操作するだけで水飲槽本体12の高さを調節することが可能であり、又、水飲槽本体12を傾けることなく、水平に上下調節することができる。
図10に於いて、51は、本発明の第3実施形態の家畜用上下高さ調整機構付き飼槽であり、家畜用上下高さ調整機構付き飼槽51は、前記家畜用上下高さ調整機構付き水飲槽(図1に於いて11)の水飲槽本体(図1に於いて12)に代えて、飼槽本体52を備えたものであり、飼槽本体52は、前記水飲槽本体(図1に於いて12)が備える前記自動給水装置(図6に於いて28)、前記フロート弁(図6に於いて29)及び前記排水弁(図7に於いて30)等を備えないものである。
図10に示す飼槽本体52は、前記水飲槽本体(図1に於いて12)と略同じ形状であるが、適宜形状にすることも可能である。又、前記水飲槽本体(図1に於いて12)を飼槽本体52として用いることも可能である。
家畜用上下高さ調整機構付き飼槽51は、前記家畜用上下高さ調整機構付き水飲槽11と同様な操作により、上下高さ調整が可能であり、同様の効果が期待できる。
図11に於いて、61は、本発明の第4実施形態の家畜用上下高さ調整機構付き飼槽であり、家畜用上下高さ調整機構付き飼槽61は、前記家畜用上下高さ調整機構付き水飲槽(図9に於いて41)の水飲槽本体(図9に於いて12)に代えて、飼槽本体52を備えたものであり、飼槽本体52は、前記水飲槽本体(図9に於いて12)が備える前記自動給水装置(図6に於いて28)、前記フロート弁(図6に於いて29)及び前記排水弁(図7に於いて30)等を備えないものである。
図11に示す飼槽本体52は、前記水飲槽本体(図1に於いて12)と略同じ形状であるが、適宜形状にすることも可能である。又、前記水飲槽本体(図9に於いて12)を飼槽本体52として用いることも可能である。
家畜用上下高さ調整機構付き飼槽61は、前記家畜用上下高さ調整機構付き水飲槽41と同様な操作により、上下高さ調整が可能であり、同様の効果が期待できる。
(a)本発明による第1実施形態の家畜用上下高さ調整機構付き水飲槽の平面図である。(b)本発明による第1実施形態の家畜用上下高さ調整機構付き水飲槽の正面図である。 本発明による第1実施形態の家畜用上下高さ調整機構付き水飲槽の間隔調整部材及びパンタグラフジャッキの平面図である。 (a)本発明の間隔調整部材の拡大斜視図である。(b)本発明の間隔調整部材の側面図である。 本発明のパンタグラフジャッキの取付状態を示す斜視図である。 本発明による第1実施形態の家畜用上下高さ調整機構付き水飲槽の側面図である。 本発明による第1実施形態の家畜用上下高さ調整機構付き水飲槽の自動給水装置及びフロート弁を示す側面縦断面図である。 本発明による第1実施形態の家畜用上下高さ調整機構付き水飲槽の排水弁を示す側面縦断面図である。 本発明による第1実施形態の家畜用上下高さ調整機構付き水飲槽の水飲槽本体の高さを低くした状態を示す正面図である。 (a)本発明による第2実施形態の家畜用上下高さ調整機構付き水飲槽の正面図である。(b)本発明による第2実施形態の家畜用上下高さ調整機構付き水飲槽のウインチの取付状態を示す斜視図である。 本発明による第3実施形態の家畜用上下高さ調整機構付き水飲槽の正面図である。 本発明による第4実施形態の家畜用上下高さ調整機構付き水飲槽の正面図である。 従来例の家畜用水飲槽の正面図である。
符号の説明
11,41 家畜用上下高さ調整機構付き水飲槽
12 水飲槽本体
13 上下高さ調整機構
14 下フレーム
15 上フレーム
16 間隔調整部材
17 パンタグラフジャッキ
18 横連結部材
19 縦連結部材
20 固定リンク部材
21 転動輪
22 可動リンク部材
24 ストッパー
42 ウインチ
43 ワイヤー
51,61 家畜用上下高さ調整機構付き飼槽
52 飼槽本体

Claims (6)

  1. 家畜に与えるための水を蓄える水飲槽本体と、前記水飲槽本体を上下高さ調整自在に昇降させる上下高さ調整機構とを備えた家畜用上下高さ調整機構付き水飲槽であって、前記上下高さ調整機構は、基台となる下フレームと、前記水飲槽本体を支承する上フレームと、前記下フレームと上フレームの間に縦複数列に配列され、前記下フレームと上フレームの間隔を調節する複数の間隔調整部材と、前記間隔調整部材を作動させる作動部材と、異なる列の前記間隔調整部材同士を互いに連結する横連結部材と、前記複数の間隔調整部材を同時に作動させるため、複数の前記横連結部材を連結する縦連結部材とを備えていることを特徴とする家畜用上下高さ調整機構付き水飲槽。
  2. 前記間隔調整部材は、両端が前記下フレームと上フレームに夫々回転自在に軸支される固定リンク部材と、上端が前記上フレームに回転自在に軸支され、下端に前記下フレーム上を転動させるための転動輪が配設された可動リンク部材とを備え、前記横連結部材は、異なる列の前記間隔調整部材同士を夫々前記可動リンク部材の転動輪近傍で互いに連結することを特徴とする請求項1記載の家畜用上下高さ調整機構付き水飲槽。
  3. 前記作動部材は、一端が前記下フレームに直接又は適宜部材を介して固着され、他端が前記連結部材に固着されたパンタグラフジャッキであることを特徴とする請求項1又は2記載の家畜用上下高さ調整機構付き水飲槽。
  4. 前記作動部材は、前記下フレームに直接又は適宜部材を介して固着され、前記連結部材に結着されたワイヤーを巻き取るためのウインチであることを特徴とする請求項1又は2記載の家畜用上下高さ調整機構付き水飲槽。
  5. 前記上下高さ調整機構の誤作動を防止し安全を確保するためのストッパーを設けたことを特徴とする請求項1乃至4のうち何れか一に記載の家畜用上下高さ調整機構付き水飲槽。
  6. 請求項1乃至5のうちいずれか一に記載された家畜用上下高さ調整機構付き水飲槽の前記水飲槽本体に代えて、家畜に与えるための飼料等を蓄える飼槽本体を備えたことを特徴とする家畜用上下高さ調整機構付き飼槽。
JP2008161059A 2008-06-20 2008-06-20 家畜用上下高さ調整機構付き水飲槽及び飼槽 Expired - Fee Related JP4856674B2 (ja)

Priority Applications (1)

Application Number Priority Date Filing Date Title
JP2008161059A JP4856674B2 (ja) 2008-06-20 2008-06-20 家畜用上下高さ調整機構付き水飲槽及び飼槽

Applications Claiming Priority (1)

Application Number Priority Date Filing Date Title
JP2008161059A JP4856674B2 (ja) 2008-06-20 2008-06-20 家畜用上下高さ調整機構付き水飲槽及び飼槽

Publications (2)

Publication Number Publication Date
JP2010000029A true JP2010000029A (ja) 2010-01-07
JP4856674B2 JP4856674B2 (ja) 2012-01-18

Family

ID=41582275

Family Applications (1)

Application Number Title Priority Date Filing Date
JP2008161059A Expired - Fee Related JP4856674B2 (ja) 2008-06-20 2008-06-20 家畜用上下高さ調整機構付き水飲槽及び飼槽

Country Status (1)

Country Link
JP (1) JP4856674B2 (ja)

Cited By (5)

* Cited by examiner, † Cited by third party
Publication number Priority date Publication date Assignee Title
KR200479734Y1 (ko) 2015-11-09 2016-03-02 위영훈 높이 조절이 가능한 애완동물 급식대
CN109258517A (zh) * 2018-11-23 2019-01-25 新泰市天信农牧发展有限公司 一种肉鸭养殖饮水系统
JP2019180388A (ja) * 2018-04-17 2019-10-24 重治 黒田 放牧方法
WO2020209025A1 (ja) * 2019-04-08 2020-10-15 重治 黒田 家畜の放牧方法
JP2020171275A (ja) * 2020-03-13 2020-10-22 重治 黒田 放牧方法

Citations (5)

* Cited by examiner, † Cited by third party
Publication number Priority date Publication date Assignee Title
JPS4935165A (ja) * 1972-08-08 1974-04-01
JPS4995172A (ja) * 1973-01-16 1974-09-10
JPS5476181A (en) * 1977-11-09 1979-06-18 Gambro Ag Floatttype flow meter
JPH0388684U (ja) * 1989-12-25 1991-09-10
JPH03112680U (ja) * 1990-02-22 1991-11-18

Patent Citations (5)

* Cited by examiner, † Cited by third party
Publication number Priority date Publication date Assignee Title
JPS4935165A (ja) * 1972-08-08 1974-04-01
JPS4995172A (ja) * 1973-01-16 1974-09-10
JPS5476181A (en) * 1977-11-09 1979-06-18 Gambro Ag Floatttype flow meter
JPH0388684U (ja) * 1989-12-25 1991-09-10
JPH03112680U (ja) * 1990-02-22 1991-11-18

Cited By (6)

* Cited by examiner, † Cited by third party
Publication number Priority date Publication date Assignee Title
KR200479734Y1 (ko) 2015-11-09 2016-03-02 위영훈 높이 조절이 가능한 애완동물 급식대
JP2019180388A (ja) * 2018-04-17 2019-10-24 重治 黒田 放牧方法
CN109258517A (zh) * 2018-11-23 2019-01-25 新泰市天信农牧发展有限公司 一种肉鸭养殖饮水系统
WO2020209025A1 (ja) * 2019-04-08 2020-10-15 重治 黒田 家畜の放牧方法
JP2020171267A (ja) * 2019-04-08 2020-10-22 重治 黒田 放牧ユニットと牧場と放牧方法
JP2020171275A (ja) * 2020-03-13 2020-10-22 重治 黒田 放牧方法

Also Published As

Publication number Publication date
JP4856674B2 (ja) 2012-01-18

Similar Documents

Publication Publication Date Title
US9402372B2 (en) Height adjustable feeding trough
JP4856674B2 (ja) 家畜用上下高さ調整機構付き水飲槽及び飼槽
EP0190172B2 (de) Abferkelstation mit elektronischer steuerung
US20140060443A1 (en) Pet feeder with a raised handle
US20090205575A1 (en) Pet Watering Device
CN201029357Y (zh) 新型牛卧床
CA2726776C (en) Livestock feeder
CN203388058U (zh) 一种家畜同步喂食系统
AU2009251937B2 (en) A bird drinker assembly with a triangular water supply line
CN216492762U (zh) 一种散养鸡专用装置
KR200369071Y1 (ko) 축사용 급수장치
CN220712472U (zh) 一种羊给水器
US3241526A (en) Poultry watering device
CN210143533U (zh) 一种林麝饲养圈舍
KR102092950B1 (ko) 전염병 방지를 위하여 바닥토양으로의 물기낙하방지가 용이한 가금류축사 전용 식수제공장치
CN220292769U (zh) 一种畜牧养殖用可调节式产床及畜牧养殖系统
US20050005864A1 (en) Support for a salt lick block
CN211631268U (zh) 一种动物围栏
US6823819B2 (en) Apparatus for raising a sow in a farrowing crate
CN205962253U (zh) 实验狗笼
ES2289648T3 (es) Procedimiento y dispositivo para la cria de aves.
CN220545620U (zh) 一种养殖用的可组合食槽
CN218126199U (zh) 一种可调节式养殖围栏
CA2088797A1 (en) Drop stall
CN222236077U (zh) 一种自动清污的畜舍

Legal Events

Date Code Title Description
A621 Written request for application examination

Free format text: JAPANESE INTERMEDIATE CODE: A621

Effective date: 20100222

A977 Report on retrieval

Free format text: JAPANESE INTERMEDIATE CODE: A971007

Effective date: 20110829

TRDD Decision of grant or rejection written
A01 Written decision to grant a patent or to grant a registration (utility model)

Free format text: JAPANESE INTERMEDIATE CODE: A01

Effective date: 20111004

A01 Written decision to grant a patent or to grant a registration (utility model)

Free format text: JAPANESE INTERMEDIATE CODE: A01

A61 First payment of annual fees (during grant procedure)

Free format text: JAPANESE INTERMEDIATE CODE: A61

Effective date: 20111028

FPAY Renewal fee payment (event date is renewal date of database)

Free format text: PAYMENT UNTIL: 20141104

Year of fee payment: 3

R150 Certificate of patent or registration of utility model

Ref document number: 4856674

Country of ref document: JP

Free format text: JAPANESE INTERMEDIATE CODE: R150

Free format text: JAPANESE INTERMEDIATE CODE: R150

R250 Receipt of annual fees

Free format text: JAPANESE INTERMEDIATE CODE: R250

R250 Receipt of annual fees

Free format text: JAPANESE INTERMEDIATE CODE: R250

S531 Written request for registration of change of domicile

Free format text: JAPANESE INTERMEDIATE CODE: R313531

S533 Written request for registration of change of name

Free format text: JAPANESE INTERMEDIATE CODE: R313533

R350 Written notification of registration of transfer

Free format text: JAPANESE INTERMEDIATE CODE: R350

R250 Receipt of annual fees

Free format text: JAPANESE INTERMEDIATE CODE: R250

R250 Receipt of annual fees

Free format text: JAPANESE INTERMEDIATE CODE: R250

R250 Receipt of annual fees

Free format text: JAPANESE INTERMEDIATE CODE: R250

R250 Receipt of annual fees

Free format text: JAPANESE INTERMEDIATE CODE: R250

R250 Receipt of annual fees

Free format text: JAPANESE INTERMEDIATE CODE: R250

LAPS Cancellation because of no payment of annual fees