JP2008121663A - Wind power generator - Google Patents

Wind power generator Download PDF

Info

Publication number
JP2008121663A
JP2008121663A JP2007271141A JP2007271141A JP2008121663A JP 2008121663 A JP2008121663 A JP 2008121663A JP 2007271141 A JP2007271141 A JP 2007271141A JP 2007271141 A JP2007271141 A JP 2007271141A JP 2008121663 A JP2008121663 A JP 2008121663A
Authority
JP
Japan
Prior art keywords
generator
wheels
wind power
rotating shaft
frame
Prior art date
Legal status (The legal status is an assumption and is not a legal conclusion. Google has not performed a legal analysis and makes no representation as to the accuracy of the status listed.)
Pending
Application number
JP2007271141A
Other languages
Japanese (ja)
Inventor
Masao Sawazaki
征夫 澤崎
Current Assignee (The listed assignees may be inaccurate. Google has not performed a legal analysis and makes no representation or warranty as to the accuracy of the list.)
Individual
Original Assignee
Individual
Priority date (The priority date is an assumption and is not a legal conclusion. Google has not performed a legal analysis and makes no representation as to the accuracy of the date listed.)
Filing date
Publication date
Application filed by Individual filed Critical Individual
Priority to JP2007271141A priority Critical patent/JP2008121663A/en
Publication of JP2008121663A publication Critical patent/JP2008121663A/en
Pending legal-status Critical Current

Links

Images

Classifications

    • YGENERAL TAGGING OF NEW TECHNOLOGICAL DEVELOPMENTS; GENERAL TAGGING OF CROSS-SECTIONAL TECHNOLOGIES SPANNING OVER SEVERAL SECTIONS OF THE IPC; TECHNICAL SUBJECTS COVERED BY FORMER USPC CROSS-REFERENCE ART COLLECTIONS [XRACs] AND DIGESTS
    • Y02TECHNOLOGIES OR APPLICATIONS FOR MITIGATION OR ADAPTATION AGAINST CLIMATE CHANGE
    • Y02EREDUCTION OF GREENHOUSE GAS [GHG] EMISSIONS, RELATED TO ENERGY GENERATION, TRANSMISSION OR DISTRIBUTION
    • Y02E10/00Energy generation through renewable energy sources
    • Y02E10/70Wind energy
    • Y02E10/74Wind turbines with rotation axis perpendicular to the wind direction

Landscapes

  • Wind Motors (AREA)

Abstract

<P>PROBLEM TO BE SOLVED: To provide a simple-structured and easily assembleable wind power generator. <P>SOLUTION: The wind power generator is equipped with a metal frame 12 formed in a box shape, a plurality of wheels 26 that are vertically opposed, a rotating shaft 16 for coupling each of central axes of the wheels 26, a plurality of blades 30 fixed at equal intervals to the wheel 26, a transmission 34 coupled to one end of the rotating shaft 16, a generator 36 coupled to the transmission 34 and that generates power by receiving rotation of the rotating shaft 16, and a battery 24 connected to the generator 36 for storing electric power generated by the generator 36. The generator 36 is an alternator for an automobile, and a resin product such as a rain gutter is used for the blades 30. A plurality of units may be stacked with the frame 12 and the rotating shaft 16 coupled, in which a unit is a combination of the frame 12 and a pair of wheels 26, and the rotating shaft 16 coupling the wheels 26. <P>COPYRIGHT: (C)2008,JPO&INPIT

Description

この発明は、ブレードを伴った回転軸が鉛直方向を向くように配置されている縦軸型の風力発電装置に関する。   The present invention relates to a vertical wind turbine generator in which a rotating shaft with a blade is arranged so as to face a vertical direction.

従来、風力発電装置には、ブレードがプロペラ状に形成され、水平方向に延びる回転軸に設けられた横軸型が知られている。横軸型は、ブレード幅が狭く、枚数を少なくしたものが一般的であり、ブレードの断面は、飛行機の翼に似た形にして揚力を発生させ、発電機を高速回転可能に形成されている。また、水平軸方向で、プロペラと反対の端部近傍には、ブレード面を風向きに合わせる方位制御機構として、垂直尾翼状の方向板などが設けられている。しかし、大きなプロペラを風力で回転させる横軸型の風力発電装置は、規模が大きくコストが掛かり、また風も比較的強い風力でないと有効に発電できないと言う課題があった。   2. Description of the Related Art Conventionally, a wind turbine generator is known that has a horizontal axis type in which a blade is formed in a propeller shape and is provided on a rotating shaft that extends in the horizontal direction. The horizontal axis type is generally one with a narrow blade width and a small number of blades, and the cross section of the blade is shaped like an airplane wing to generate lift, and the generator can be rotated at high speed Yes. Further, in the horizontal axis direction, in the vicinity of the end opposite to the propeller, a vertical tail-shaped direction plate or the like is provided as an azimuth control mechanism for aligning the blade surface with the wind direction. However, the horizontal axis wind power generator that rotates a large propeller with wind power has a problem that it is large in scale and costly, and that it cannot effectively generate power unless the wind is relatively strong.

そのため、弱い風でも回転可能な風車として、回転軸が鉛直方向に形成され、縦長のブレードが設けられた縦軸型が知られている。縦軸型は、風の向きに関わらず回転可能に形成され、ブレードの揚力を利用したダリウス型やジャイロミル型が知られている。また、ブレードに生じる抗力を利用したサボニウス型やクロスフロー型なども知られている。   Therefore, as a windmill that can rotate even in a weak wind, a vertical axis type in which a rotation axis is formed in a vertical direction and a vertically long blade is provided is known. The vertical axis type is formed so as to be able to rotate regardless of the direction of the wind, and the Darius type and the gyromill type using the lift of the blade are known. In addition, a Savonius type and a cross flow type using drag generated in the blade are also known.

例えば、特許文献1では、縦軸型に形成された風車に、発電機が連結された風力発電装置が開示されている。また、特許文献2では、円板の円周部間にガイド板を放射状に樹立固定し、中央に空間を有する風受ドラムを設けたドラム形風車により発電する風力発電装置が開示されている。
特開2005−337245号公報 特開2005−54695号公報
For example, Patent Document 1 discloses a wind turbine generator in which a generator is connected to a wind turbine formed in a vertical axis. Further, Patent Document 2 discloses a wind turbine generator that generates power with a drum-type windmill in which a guide plate is radially fixed between circumferential portions of a disc and a wind-receiving drum having a space in the center is provided.
JP 2005-337245 A JP-A-2005-54695

しかし、特許文献1では、風力発電装置を形成する構成部材が、専用に形成された材料を使用するため、コストがかかるものであった。また、特許文献2では、風受ドラムの構造が複雑で、構成部材も専用の特殊な部材により形成されるため、コストがかかるものであった。また、複雑な構造から、重量が重く運搬が面倒であり、組み立ても簡単でないため、組み立て工数も掛かるものであった。   However, in patent document 1, since the structural member which forms a wind power generator uses the material formed exclusively, it was expensive. Moreover, in patent document 2, since the structure of the wind-receiving drum is complicated and a structural member is also formed by a special member for exclusive use, it was expensive. In addition, because of its complicated structure, it is heavy and cumbersome to carry, and it is not easy to assemble.

この発明は、上記従来の技術に鑑みて成されたもので、簡単な構造で組み立ても容易な風力発電装置を提供することを目的とする。   The present invention has been made in view of the above-described conventional technology, and an object thereof is to provide a wind power generator that has a simple structure and can be easily assembled.

この発明は、箱形に形成されたフレームと、互いに対向した自転車用等の複数のホイールと、前記ホイールの中心軸を各々連結した回転軸と、前記各ホイールに跨り等間隔に固定された複数枚のブレードと、前記回転軸の一端に連結された変速機と、前記変速機に連結され前記回転軸の回転を受けて発電する発電機と、前記発電機に接続され前記発電機により発電された電力を蓄えるバッテリとを備えた風力発電装置である。   The present invention includes a frame formed in a box shape, a plurality of wheels for bicycles facing each other, a rotation shaft that connects the central axes of the wheels, and a plurality of wheels that are fixed at equal intervals across the wheels. A blade, a transmission connected to one end of the rotating shaft, a generator connected to the transmission and generating electric power upon receiving rotation of the rotating shaft, and connected to the generator and generated by the generator A wind power generator provided with a battery for storing electric power.

前記発電機は、整流用レギュレータ回路を備えた直流出力型の発電機、例えば自動車用オルタネータである。   The generator is a DC output type generator including a rectifier regulator circuit, for example, an alternator for an automobile.

さらに、前記フレームと複数の前記ホイール、及び前記ホイールを連結する回転軸を備え、各ホイール間に、前記ブレードを保持する補強環を設けたものである。前記フレームと複数の前記ホイール、及び前記ホイールを連結する回転軸を1ユニットとして、前記フレーム及び回転軸が連結されて、複数のユニットを積み重ねた風力発電装置でも良い。   Further, the frame includes a plurality of wheels, and a rotating shaft that connects the wheels, and a reinforcing ring that holds the blade is provided between the wheels. A wind power generator in which the frame and the plurality of wheels, and a rotating shaft that connects the wheels as one unit, the frame and the rotating shaft are connected, and a plurality of units are stacked may be used.

また、前記フレームと上下一対の前記ホイール及び前記ホイールを連結する回転軸を1ユニットとして、前記ユニットを載置可能な移動台車を備え、前記ユニットを1または複数載置して、移動自在に発電可能とした風力発電装置としても良い。前記ホイールは、自転車のホイールを用い、前記ホイールの外側に前記複数のブレードを固定したものである。   In addition, the frame includes a pair of upper and lower wheels and a rotating shaft that connects the wheels as a unit, and includes a movable carriage on which the unit can be placed. A possible wind power generator may be used. The wheel is a bicycle wheel, and the blades are fixed to the outside of the wheel.

この発明の風力発電装置によれば、自転車のホイールや、自動車のオルタネータから形成されるため、コストがかからず、組み立ても簡単なものである。さらに、軽量なため運搬も容易で、既製品や中古品、廃材等を利用可能であるため、資源を有効利用することができ、環境にもやさしいものである。また、この発明の風力発電装置は、構造が簡単であり、移動が任意であることから、テスト的に接地してみるような使用が可能となり、適切な設置を容易に可能にするものである。   According to the wind power generator of the present invention, since it is formed from a bicycle wheel or an automobile alternator, it is inexpensive and easy to assemble. Furthermore, since it is lightweight, it can be easily transported, and ready-made products, used products, waste materials, etc. can be used, so that resources can be used effectively and it is environmentally friendly. Further, the wind power generator of the present invention has a simple structure and can be moved arbitrarily, so that it can be used for grounding as a test, and can easily be installed appropriately. .

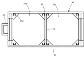
以下、この発明の風力発電装置の第一実施形態について、図1〜図3に基づいて説明する。この実施形態の風力発電装置10は、図1に示すように、例えば、断面がL型の鋼材や木材、樹脂棒材などを箱形に形成したフレーム12が、地面などに設置された基部14に立設されている。フレーム12には、図2に示すように、フレーム12の上面支持部材18に設けられた軸受け部20と、フレーム12下方の下側支持部材22に設けられた軸受け部24が取り付けられ、金属製の回転軸16の両端部が軸受け部20,24に回転可能に各々軸支されている。そして、例えば、自転車のホイール26が、回転軸16の両端部付近に、ハブ26aを介して各々取り付けられている。   Hereinafter, a first embodiment of a wind turbine generator according to the present invention will be described with reference to FIGS. As shown in FIG. 1, in the wind power generator 10 of this embodiment, for example, a base portion 14 in which a frame 12 in which a cross section of L-shaped steel material, wood, a resin bar or the like is formed in a box shape is installed on the ground or the like. Is erected. As shown in FIG. 2, the frame 12 is provided with a bearing portion 20 provided on the upper surface support member 18 of the frame 12 and a bearing portion 24 provided on the lower support member 22 below the frame 12. Both end portions of the rotary shaft 16 are rotatably supported by bearing portions 20 and 24, respectively. For example, bicycle wheels 26 are attached to the vicinity of both ends of the rotating shaft 16 via hubs 26a.

各ホイール26は、各々所定の間隔で部分的にスポーク28が外され、ブレード30が固定されている。ブレード30は、例えば、円弧状断面の雨樋等を所定に長さに切り揃えて形成されている。ブレード30の表面には補強用に、ポリエステル樹脂を塗布しても良い。そして、スポーク28が外されたリム26bの図示しない孔に、ブレード30の両端部が、ネジなどで各々固定され、縦軸型の風車32が形成されている。   The spokes 28 are partially removed from each wheel 26 at predetermined intervals, and the blades 30 are fixed. The blade 30 is formed by, for example, cutting a rain gutter having an arc-shaped cross section into a predetermined length. A polyester resin may be applied to the surface of the blade 30 for reinforcement. Then, both end portions of the blade 30 are respectively fixed by screws or the like in holes (not shown) of the rim 26b from which the spokes 28 are removed, thereby forming a vertical wind turbine 32.

また、ブレード30の凹面は、回転軸16を中心として半径方向に沿って開口面が位置し、各々所定の回転角度毎に回転対称に固定されている。ブレード30の取付間隔は、例えば、自転車のホイール26に設けられるスポーク28の本数は36本であるので、4本毎にスポーク28が抜かれて、代わりに9枚のブレード30が固定されている。   Further, the concave surface of the blade 30 has an opening surface positioned along the radial direction with the rotation axis 16 as the center, and is fixed rotationally symmetrical at each predetermined rotation angle. For example, since the number of spokes 28 provided on the bicycle wheel 26 is 36, the spokes 28 are pulled out every four, and nine blades 30 are fixed instead.

下側支持部材22に設けられた軸受け部24に軸支された回転軸16の下端部は、下側支持部材22に設けられた固定部材34aに固定された増速用の変速機34の回転軸に連結されている。変速機34の下方には、発電機36が連結されている。発電機36は、フレーム12に形成された支持部材38に取付部材40を介して支持されている。発電機36は、例えば自動車用のオルタネータを用いることができる。自動車用のオルタネータは、一般に接点式またはIC式の整流用レギュレータ回路36aを備え、発電された交流電流がレギュレータ回路36aにより直流電流に変換されて出力される。この発電機36近傍には、バッテリ42が据え置かれ、電線44により発電機36とバッテリ42が充電可能に接続されている。なお、図2は、ブレード30を対称に2枚取り付けた状態を示している。   The lower end portion of the rotary shaft 16 supported by the bearing portion 24 provided on the lower support member 22 is rotated by the speed increasing transmission 34 fixed to the fixing member 34 a provided on the lower support member 22. It is connected to the shaft. A generator 36 is connected below the transmission 34. The generator 36 is supported by a support member 38 formed on the frame 12 via an attachment member 40. For example, an alternator for an automobile can be used as the generator 36. An alternator for an automobile generally includes a contact-type or IC-type rectifier regulator circuit 36a, and the generated AC current is converted into a DC current by the regulator circuit 36a and output. A battery 42 is placed in the vicinity of the generator 36, and the generator 36 and the battery 42 are connected to each other by an electric wire 44 so as to be charged. FIG. 2 shows a state where two blades 30 are mounted symmetrically.

次に、この実施形態の風力発電装置12の動作について説明する。風力発電装置12に風が吹き付けると、風車32の各ブレード30が風圧を受けて、風上にブレード30の凹面が向いているブレード30がより風の抵抗を強く受け、図1においては、時計回りに回転する。風車32の回転は、回転軸16を通して、変速機34に伝達され、増速された回転力が発電機36に伝達される。発電機36が自動車に使用されるオルタネータの場合所定回転数以下、例えば800rpm以下では発電しないため、約800rpm回転以上となるように、変速機で増速させる。そして、発電機36により発電された電気は、レギュレータ回路36aを介して整流されて、バッテリ42へ充電される。   Next, operation | movement of the wind power generator 12 of this embodiment is demonstrated. When wind blows on the wind turbine generator 12, each blade 30 of the windmill 32 receives wind pressure, and the blade 30 with the concave surface of the blade 30 facing the windward receives stronger wind resistance. Rotate around. The rotation of the windmill 32 is transmitted to the transmission 34 through the rotating shaft 16, and the increased rotational force is transmitted to the generator 36. When the generator 36 is an alternator used in an automobile, power generation is not performed at a predetermined number of revolutions or less, for example, 800 rpm or less. Therefore, the speed is increased by a transmission so as to be about 800 rpm or more. The electricity generated by the generator 36 is rectified via the regulator circuit 36 a and charged to the battery 42.

この実施形態の風力発電装置10によれば、量産品である自転車のホイール26や、自動車のオルタネータなどの発電機36を利用して形成されるため、部材コストが安価であり、構造がシンプルで軽量なため運搬も容易である。さらに、使用する部品は、中古品や廃材のホイール26や発電機36を利用することもでき、資源を有効利用するものであり、環境にもやさしいものである。また、風力は常に変動するが、発電機36に自動車のオルタネータを用いるため、回転数の変動に対しても強く、レギュレータ回路36aにより発電の変動が吸収され、安定的にバッテリ42に充電されるものである。また、ホイール26に、自転車の後輪用を使用すると、ハブ26aにフリーホイール機構が内蔵されているため、ブレード30の向きにより決定される一方向にだけ回転力が伝えられ、何らかの理由で逆方向の回転力が加わっても空転するだけである。   According to the wind power generator 10 of this embodiment, since it is formed by using a generator wheel 36 such as a bicycle wheel 26 which is a mass-produced product or an automobile alternator, the member cost is low and the structure is simple. It is lightweight and easy to carry. Furthermore, the used parts can use the wheel 26 and the generator 36 of a used article or a waste material, and use resources effectively, and are environmentally friendly. In addition, although wind power always fluctuates, since an alternator of an automobile is used for the generator 36, it is resistant to fluctuations in the rotational speed, and fluctuations in power generation are absorbed by the regulator circuit 36a, and the battery 42 is stably charged. Is. Further, when the wheel 26 is used for a rear wheel of a bicycle, a free wheel mechanism is built in the hub 26a, so that the rotational force is transmitted only in one direction determined by the direction of the blade 30, and for some reason it is reversed. Even if the rotational force in the direction is applied, it will only idle.

また、バッテリ42は、使用可能な状態であれば、自動車に使用された廃材を再利用すると、資源を有効に活用でき、さらに良い。   Further, if the battery 42 is in a usable state, it is possible to effectively use resources by reusing the waste material used in the automobile.

また、図3に示すように、フレーム12内に設けられた風車32を1つのユニットとして、縦に積み重ねるように形成しても良い。このとき、フレーム12は、図示しない連結部材で一体に連結され、回転軸16も、連結具16aで一体に連結されている。さらに、雨樋から形成された各風車32のブレード30は、雨樋を連結する連結部材30aなどを用いて連結することもできる。これにより、コストも低減され、廃材を再利用すると、資源の有効活用になり、さらに良い。また、回転軸16、フレーム12及び各ブレード30は、一体に形成されていても良い。なお、図3は、ブレード30を対称に2枚取り付けた状態を示している。   Moreover, as shown in FIG. 3, you may form so that the windmill 32 provided in the flame | frame 12 may be piled up vertically as one unit. At this time, the frame 12 is integrally connected by a connecting member (not shown), and the rotary shaft 16 is also integrally connected by a connector 16a. Furthermore, the blade 30 of each windmill 32 formed from the rain gutter can be connected by using a connecting member 30a for connecting the rain gutter. As a result, the cost is reduced, and the reuse of the waste material is an effective use of resources, which is even better. Moreover, the rotating shaft 16, the frame 12, and each blade 30 may be integrally formed. FIG. 3 shows a state where two blades 30 are mounted symmetrically.

次に、この発明の第二実施形態について、図4、図5に基づいて説明する。なお、ここで、上記実施形態と同様の部材は、同一の符号を付して説明を省略する。この実施形態の風力発電装置10は、図4に示すように、移動台車50に載置されて、移動可能に形成されている。この移動台車50は、図5に示すように、金属製の構材から長方形の枠状に形成され、短手両端辺には、構造材を3本並べて一体に形成されて、台車部52が形成されている。台車部52の下側となる面の四隅には、自在輪54が各々設けられて、台車部52の長手方向の中央位置には、短手方向に補強材56が設けられ、台車部52の内側に位置する各角部に、三角形の金属板57が溶接などで取り付けられ、第一積載部58a及び第二積載部58bが形成されている。また、三角形の金属板57が取り付けられた第一積載部58a及び第二積載部58bの各角部近傍の上面には、断面がコの字状の金属製の係止部60が、開口側を台車部52の内側に向けて溶接などで各々立設されている。さらに、長手方向の一方の端縁外側には、矩形の開口部を有した牽引部62が金属製の構造材などで形成され、台車部52とほぼ面一で自動車により牽引可能に設けられている。   Next, a second embodiment of the present invention will be described with reference to FIGS. Here, the same members as those in the above embodiment are denoted by the same reference numerals, and the description thereof is omitted. As shown in FIG. 4, the wind power generator 10 of this embodiment is placed on a movable carriage 50 and is configured to be movable. As shown in FIG. 5, the movable carriage 50 is formed in a rectangular frame shape from a metal construction material. Three structural members are integrally formed on both short sides, and a carriage portion 52 is formed. Is formed. Universal wheels 54 are provided at the four corners of the lower surface of the carriage unit 52, respectively, and a reinforcing material 56 is provided in the lateral direction at the center position in the longitudinal direction of the carriage unit 52. A triangular metal plate 57 is attached to each corner located inside by welding or the like, and a first stacking portion 58a and a second stacking portion 58b are formed. Further, on the upper surface in the vicinity of each corner portion of the first stacking portion 58a and the second stacking portion 58b to which the triangular metal plate 57 is attached, a metal locking portion 60 having a U-shaped cross section is provided on the opening side. Are respectively erected by welding or the like toward the inside of the carriage unit 52. Further, a traction portion 62 having a rectangular opening is formed on the outer side of one end edge in the longitudinal direction by a metal structural material or the like, and is provided so as to be able to be pulled by an automobile substantially flush with the carriage portion 52. Yes.

この風力発電装置10の使用方法は、まず、移動台車50の第一積載部58a、または第二積載部58bに風力発電装置10を載置する。このとき、風力発電装置10のフレーム12の脚部が、係止部60内側に当接する位置に載置する。また、1台のみ風力発電装置10を載置する場合は、第一積載部58aに載置すると、移動時に安定して良い。続いて、牽引部62に牽引用のロープなどの一端を結びつけて、他端を牽引する車などに結び、風力発電装置10を使用する目的地へ移動する。目的地に到着後、移動台車50に載置した状態で移動台車50を固定し、発電を行う。また、2基の風力発電装置10を移動台車50に載置して、目的地で図3に示すように積み重ねて発電することも可能である。   In this method of using the wind turbine generator 10, first, the wind turbine generator 10 is mounted on the first stacking portion 58 a or the second stacking portion 58 b of the movable carriage 50. At this time, the leg part of the frame 12 of the wind power generator 10 is placed at a position where it abuts on the inside of the locking part 60. When only one wind turbine generator 10 is placed, placing it on the first stacking portion 58a may stabilize the movement. Subsequently, one end of a tow rope or the like is tied to the towing unit 62 and the other end is tied to a car or the like to move to a destination where the wind power generator 10 is used. After arriving at the destination, the moving carriage 50 is fixed in a state where it is placed on the moving carriage 50, and power is generated. It is also possible to mount two wind power generators 10 on the moving carriage 50 and generate power by stacking them at the destination as shown in FIG.

この実施形態の風力発電装置10によれば、風力発電装置10を移動台車50に載置して、車などで簡単に移動でき、災害時の避難場所や催し物会場など、電気を必要とする場所で発電可能なものである。   According to the wind turbine generator 10 of this embodiment, the wind turbine generator 10 is placed on the moving carriage 50 and can be easily moved by car, etc., and places where electricity is required, such as evacuation sites and event venues in the event of a disaster It can generate electricity.

次に、この発明の第三実施形態について、図6〜図8を基にして説明する。ここで、上記実施形態と同様の部材は、同一の符号を付して説明を省略する。この実施形態の風力発電装置70は、図6,図7に示すように、フレーム12内に、フレーム12の上面支持部材に設けられた軸受け部20と、フレーム12下方の基盤部72に設置された軸受け部24が設けられ、回転軸16の両端部が軸受け部20,24に回転可能に各々軸支されている。そして、例えば、自転車のホイール26が、回転軸16に所定間隔で4つ、ハブ26aを介して各々取り付けられている。軸受け部24には、大径プーリ64が設けられ、発電機36の小径プーリ66とベルト68により駆動可能に連結されている。なお、図6,図7は、ブレード30を対称に2枚取り付けた状態を示している。   Next, a third embodiment of the present invention will be described with reference to FIGS. Here, the same members as those in the above embodiment are denoted by the same reference numerals, and the description thereof is omitted. As shown in FIGS. 6 and 7, the wind power generator 70 of this embodiment is installed in a frame 12 on a bearing portion 20 provided on an upper surface support member of the frame 12 and a base portion 72 below the frame 12. A bearing portion 24 is provided, and both end portions of the rotating shaft 16 are rotatably supported by the bearing portions 20 and 24, respectively. For example, four bicycle wheels 26 are attached to the rotary shaft 16 at predetermined intervals via hubs 26a. The bearing portion 24 is provided with a large-diameter pulley 64 and is connected to a small-diameter pulley 66 of the generator 36 by a belt 68 so as to be driven. 6 and 7 show a state where two blades 30 are mounted symmetrically.

各ホイール26の外側には、図8(a)に示すように、等間隔で例えば6本のブレード30が固定されている。ブレード30は、例えば、円弧状断面の雨樋等を所定の長さに切り揃えて形成されている。雨樋から形成された各風車32のブレード30は、各ホイール26間に設けられたリムのみからなる補強環27により互いに連結されている。補強環27は、図8(b)に示すように、スポークのないもので、ブレード30を互いに等間隔に固定する。各ブレード30の固定は、図8に示すように、雨樋の連結具74を用いるとよい。連結具74は、ビスによりリム26bに固定し、連結具74とブレード30もビスにより固定する。これにより、雨樋から形成されたブレード30は、確実に連結固定され、コストも低減される。   As shown in FIG. 8A, for example, six blades 30 are fixed to the outside of each wheel 26 at equal intervals. The blade 30 is formed, for example, by cutting a rain gutter having an arc-shaped cross section to a predetermined length. The blades 30 of the wind turbines 32 formed from rain gutters are connected to each other by a reinforcing ring 27 made of only a rim provided between the wheels 26. As shown in FIG. 8B, the reinforcing ring 27 has no spokes and fixes the blades 30 at equal intervals. As shown in FIG. 8, each blade 30 may be fixed using a rain gutter connector 74. The connecting tool 74 is fixed to the rim 26b with screws, and the connecting tool 74 and the blade 30 are also fixed with screws. Thereby, the blade 30 formed from the rain gutter is reliably connected and fixed, and the cost is reduced.

この実施形態によれば、ブレード30の取付が容易であり、より大きなトルクを得ることができ、枚数の増加も容易に可能なものである。さらに、高さの設定も任意に可能であり、強度も高くすることができることから、小型から大型の風力発電装置まで容易に適宜設計することができるものである。   According to this embodiment, the attachment of the blade 30 is easy, a larger torque can be obtained, and the number of sheets can be easily increased. Furthermore, since the height can be arbitrarily set and the strength can be increased, a small to large wind power generator can be easily designed as appropriate.

なお、この発明の風力発電装置は上記実施形態に限定されるものではなく、ブレードを形成する素材及び形状は、適宜設定可能なものであり、例えばブレードは36枚程度取り付けられる。また、フレームやブレードの大きさ、発電機の定格出力などは、発電量や風力に合わせて、適宜選択可能である。また、移動台車の大きさは、使用する風力発電装置に合わせて、適宜設定可能なものである。   In addition, the wind power generator of this invention is not limited to the said embodiment, The raw material and shape which form a blade can be set suitably, for example, about 36 blades are attached. Further, the size of the frame and blade, the rated output of the generator, and the like can be appropriately selected according to the amount of power generation and wind power. In addition, the size of the movable carriage can be set as appropriate according to the wind power generator to be used.

この発明の第一実施形態の風力発電装置を示す概略平面図である。It is a schematic plan view which shows the wind power generator of 1st embodiment of this invention. この実施形態の風力発電装置を示す概略側面図である。It is a schematic side view which shows the wind power generator of this embodiment. この実施形態の風力発電装置の風車を2つに増設した状態を示す概略側面図である。It is a schematic side view which shows the state which added the windmill of the wind power generator of this embodiment to two. この発明の第二実施形態の風力発電装置を移動させる移動代車を示す概略側面図である。It is a schematic side view which shows the movement substitute vehicle which moves the wind power generator of 2nd embodiment of this invention. この実施形態の風力発電装置を移動させる移動台車を示す概略平面図である。It is a schematic plan view which shows the moving trolley which moves the wind power generator of this embodiment. この発明の第三実施形態の風力発電装置を示す概略正面図である。It is a schematic front view which shows the wind power generator of 3rd embodiment of this invention. この実施形態の風力発電装置を示す概略側面図である。It is a schematic side view which shows the wind power generator of this embodiment. この実施形態の風力発電装置のホイールを示す平面図(a)と、補強環を示す平面図(b)である。It is the top view (a) which shows the wheel of the wind power generator of this embodiment, and the top view (b) which shows a reinforcement ring.

符号の説明Explanation of symbols

10 風力発電装置
12 フレーム
16 回転軸
26 ホイール
28 スポーク
30 ブレード
32 風車
34 変速機
36 発電機
42 バッテリ
DESCRIPTION OF SYMBOLS 10 Wind power generator 12 Frame 16 Rotating shaft 26 Wheel 28 Spoke 30 Blade 32 Windmill 34 Transmission 36 Generator 42 Battery

Claims (5)

箱形に形成されたフレームと、互いに対向した複数のホイールと、前記ホイールの中心軸を各々連結した回転軸と、前記各ホイールに跨り等間隔に固定された複数枚のブレードと、前記回転軸の一端に連結された変速機と、前記変速機に連結され前記回転軸の回転を受けて発電する発電機と、前記発電機に接続され前記発電機により発電された電力を蓄えるバッテリとを備えたことを特徴とする風力発電装置。   A frame formed in a box shape, a plurality of wheels opposed to each other, a rotation shaft connecting the central axes of the wheels, a plurality of blades fixed at equal intervals across the wheels, and the rotation shaft A transmission coupled to one end of the transmission, a generator coupled to the transmission and generating electric power upon receiving rotation of the rotating shaft, and a battery connected to the generator and storing electric power generated by the generator. Wind power generator characterized by that. 前記発電機は、整流用レギュレータ回路を備えた直流出力型の発電機であることを特徴とする請求項1記載の風力発電装置。   The wind power generator according to claim 1, wherein the generator is a DC output type generator including a regulator circuit for rectification. 前記フレームと複数の前記ホイール、及び前記ホイールを連結する回転軸を備え、各ホイール間に、前記ブレードを保持する補強環を設けたことを特徴とする請求項1記載の風力発電装置。   The wind turbine generator according to claim 1, further comprising: a rotating shaft that connects the frame, the plurality of wheels, and the wheels, and a reinforcing ring that holds the blade is provided between the wheels. 前記フレームと複数の前記ホイール及び前記ホイールを連結する回転軸を1ユニットとして、前記ユニットを載置可能な移動台車を備え、前記ユニットを1または複数載置して発電可能としたことを特徴とする請求項1記載の風力発電装置。   The frame, a plurality of wheels, and a rotating shaft that connects the wheels as a unit, a movable carriage on which the unit can be placed, and one or a plurality of the units can be placed to generate power. The wind power generator according to claim 1. 前記ホイールは、自転車のホイールを用い、前記ホイールの外側に前記複数のブレードを固定したことを特徴とする請求項1記載の風力発電装置。

The wind power generator according to claim 1, wherein the wheel is a bicycle wheel, and the blades are fixed to the outside of the wheel.

JP2007271141A 2006-10-19 2007-10-18 Wind power generator Pending JP2008121663A (en)

Priority Applications (1)

Application Number Priority Date Filing Date Title
JP2007271141A JP2008121663A (en) 2006-10-19 2007-10-18 Wind power generator

Applications Claiming Priority (2)

Application Number Priority Date Filing Date Title
JP2006284596 2006-10-19
JP2007271141A JP2008121663A (en) 2006-10-19 2007-10-18 Wind power generator

Related Child Applications (1)

Application Number Title Priority Date Filing Date
JP2010000268U Continuation JP3158471U (en) 2006-10-19 2010-01-19 Wind power generator

Publications (1)

Publication Number Publication Date
JP2008121663A true JP2008121663A (en) 2008-05-29

Family

ID=39506660

Family Applications (1)

Application Number Title Priority Date Filing Date
JP2007271141A Pending JP2008121663A (en) 2006-10-19 2007-10-18 Wind power generator

Country Status (1)

Country Link
JP (1) JP2008121663A (en)

Cited By (6)

* Cited by examiner, † Cited by third party
Publication number Priority date Publication date Assignee Title
KR101055866B1 (en) 2011-03-31 2011-08-11 씨에이코리아(주) Vertical Wind Turbine with Separate Hub
KR101114496B1 (en) * 2009-06-15 2012-02-24 권이환 Wind Turbine Generator
US8143738B2 (en) 2008-08-06 2012-03-27 Infinite Wind Energy LLC Hyper-surface wind generator
WO2013042770A1 (en) * 2011-09-22 2013-03-28 Oshiro Kenei Fixed-direction rotation windmill
JP2014506975A (en) * 2011-03-02 2014-03-20 サムソン、ライナー System for using wind power
WO2014136597A1 (en) * 2013-03-05 2014-09-12 Hamashita Hiroshi Windmill for power generation

Cited By (8)

* Cited by examiner, † Cited by third party
Publication number Priority date Publication date Assignee Title
US8143738B2 (en) 2008-08-06 2012-03-27 Infinite Wind Energy LLC Hyper-surface wind generator
KR101114496B1 (en) * 2009-06-15 2012-02-24 권이환 Wind Turbine Generator
JP2014506975A (en) * 2011-03-02 2014-03-20 サムソン、ライナー System for using wind power
KR101055866B1 (en) 2011-03-31 2011-08-11 씨에이코리아(주) Vertical Wind Turbine with Separate Hub
WO2013042770A1 (en) * 2011-09-22 2013-03-28 Oshiro Kenei Fixed-direction rotation windmill
JP2013079640A (en) * 2011-09-22 2013-05-02 Kenei Oshiro Fixed-direction rotation windmill
WO2014136597A1 (en) * 2013-03-05 2014-09-12 Hamashita Hiroshi Windmill for power generation
JP2014169671A (en) * 2013-03-05 2014-09-18 Hiroshi Hamashita Power generation wind turbine

Similar Documents

Publication Publication Date Title
US7948111B2 (en) Vertical axis wind system
US8562298B2 (en) Vertical-axis wind turbine
JP4041838B2 (en) Wind turbine and wind power generator for wind power generation
JP2008121663A (en) Wind power generator
US20120183407A1 (en) Vertical-axis wind turbine
CN101603509B (en) Reinforced type wind-driven generator
US20150167631A1 (en) High efficiency wind turbine
JP3158471U (en) Wind power generator
WO2015040539A1 (en) Vertical axis wind turbine rotor
CN201621014U (en) A vertical axis wind turbine
JP2023095968A (en) wind farm
JP2011102546A (en) Combination type wind power generator
JP2006029226A (en) Wind power generation device and lighting system
GB2560084A (en) Wind harnessing device
KR101391256B1 (en) Wind power eletric generator with noise reduced
KR101303074B1 (en) Wind energy plant
CN102996354A (en) Low-cost belt transmission wind turbine generator
KR20140069884A (en) Wind power generation of vertical type
CN104405588B (en) Wheeled direct wind-driven generator
CN204283740U (en) Wheeled direct wind-driven generator
JP3182330U (en) Wind power generator
JP5829583B2 (en) Wind turbine blade, wind turbine and wind power generator
JP3144998U (en) Bicycle wheel windmill
KR20250173167A (en) Wind turbine with foldable blades
KR20170107408A (en) System for controlling safety of a blade transport vehicle

Legal Events

Date Code Title Description
A621 Written request for application examination

Free format text: JAPANESE INTERMEDIATE CODE: A621

Effective date: 20080703

A871 Explanation of circumstances concerning accelerated examination

Free format text: JAPANESE INTERMEDIATE CODE: A871

Effective date: 20090603

A975 Report on accelerated examination

Free format text: JAPANESE INTERMEDIATE CODE: A971005

Effective date: 20090610

A131 Notification of reasons for refusal

Free format text: JAPANESE INTERMEDIATE CODE: A131

Effective date: 20090805

A521 Written amendment

Free format text: JAPANESE INTERMEDIATE CODE: A523

Effective date: 20091005

A02 Decision of refusal

Free format text: JAPANESE INTERMEDIATE CODE: A02

Effective date: 20091021