JP2007201848A - Ranging method, program and system via relay station in IEEE 802.16 - Google Patents
Ranging method, program and system via relay station in IEEE 802.16 Download PDFInfo
- Publication number
- JP2007201848A JP2007201848A JP2006018433A JP2006018433A JP2007201848A JP 2007201848 A JP2007201848 A JP 2007201848A JP 2006018433 A JP2006018433 A JP 2006018433A JP 2006018433 A JP2006018433 A JP 2006018433A JP 2007201848 A JP2007201848 A JP 2007201848A
- Authority
- JP
- Japan
- Prior art keywords
- relay
- station
- relay station
- ranging
- seed information
- Prior art date
- Legal status (The legal status is an assumption and is not a legal conclusion. Google has not performed a legal analysis and makes no representation as to the accuracy of the status listed.)
- Granted
Links
Images
Landscapes
- Mobile Radio Communication Systems (AREA)
Abstract
【課題】IEEE802.16を適用した高速無線アクセスシステムについて、中継局RSが介在したネットワークトポロジを簡易に特定することができる、中継局を介したレンジング方法等を提供する。
【解決手段】IEEE802.16のOFDMA方式について、イニシャルレンジング、Periodic ranging、Bandwidth request、Handover rangingの各コードを生成するためのシード情報が、基地局圏内に存在する移動局に割り当てられる基本ドメインと、基地局圏内に存在する中継局及び該中継局圏内に存在する移動局に割り当てられる中継ドメインとに予め区分されている。中継ドメインは、第1の中継局に割り当てられたシード情報毎に、第1の中継局圏内に存在する移動局及び第2の中継局に割り当てられるドメインが予め区分されている。シード情報は、疑似乱数ビット列生成器に入力される一部のビット情報であるUL_PermBaseである。
【選択図】図2A high-speed wireless access system to which IEEE 802.16 is applied is provided with a ranging method via a relay station and the like that can easily specify a network topology in which a relay station RS is interposed.
A base domain in which seed information for generating codes for initial ranging, periodic ranging, bandwidth request, and handover ranging is assigned to a mobile station existing within a base station range for the IEEE 802.16 OFDMA scheme; A relay station existing in a base station area and a relay domain assigned to a mobile station existing in the relay station area are divided in advance. In the relay domain, for each seed information assigned to the first relay station, domains assigned to the mobile station and the second relay station existing in the first relay station area are divided in advance. The seed information is UL_PermBase which is a part of bit information input to the pseudo random number bit string generator.
[Selection] Figure 2
Description
本発明は、IEEE802.16における中継局を介したレンジング方法、プログラム及びシステムに関する。 The present invention relates to a ranging method, program, and system via a relay station in IEEE 802.16.
IEEE802.16は、BWA(Broadband Wireless Access)サービスを提供可能な高速無線アクセスシステムの標準規格である。現在、IEEE802.16標準化会合では、データを中継することによってカバレッジエリアを拡大するMMR(Mobile Multihop Relay)技術に関し、メディアアクセス制御(Medium Access Control)及び物理層の規定を行うための検討が開始されている。このMMR技術によれば、基地局BS(Base Station)は、その基地局BS圏内の固定局SS(Subscriber Station)又は移動局MS(Mobile Subscriber Station)と通信をすると共に、基地局圏BS圏内の中継局RS(Relay Station)を介して、基地局BS圏外の固定局SS又は移動局MSとも通信をすることができる。 IEEE 802.16 is a standard for a high-speed wireless access system that can provide a BWA (Broadband Wireless Access) service. Currently, at the IEEE 802.16 standardization meeting, studies are underway to define media access control and physical layer for MMR (Mobile Multihop Relay) technology that expands the coverage area by relaying data. ing. According to this MMR technology, a base station BS (Base Station) communicates with a fixed station SS (Subscriber Station) or a mobile station MS (Mobile Subscriber Station) within the base station BS area, and within the base station area BS area. It is also possible to communicate with a fixed station SS or a mobile station MS outside the base station BS range via a relay station RS (Relay Station).
IEEE802.16の高速無線アクセスシステムは、基本的に、固定局SS向けBWAサービスの提供を目的とした標準規格である(例えば非特許文献1参照、IEEE802.16−2004)。ここでは、PMP(Point-to-Multipoint)及びMeshの2つのネットワークトポロジが規定されている。PMPは、一般的なセルラシステムと同様、基本的に「BS:SS=1:多」でネットワークを構成する。一方、Meshは、移動局MS同士をマルチホップでネットワークを構成する。変調方式としては、シングルキャリア方式、OFDM(Orthogonal Frequency Division Multiple)方式、OFDMA(OFDM Access)方式が採用されている。
The IEEE 802.16 high-speed wireless access system is basically a standard for the purpose of providing a BWA service for a fixed station SS (for example, refer to Non-Patent
非特許文献1を修正した技術であって、OFDMA方式のイニシャルレンジングシーケンスを規定した標準規格もある(例えば非特許文献2参照)。最初に、移動局MSが、ランダムなイニシャルレンジングコードを生成し、CDMA(Code Division Multiple Access)によって基地局BSへ送信する。これに対し、基地局BSは、レンジング応答RNG−RSP(Ranging Response)を移動局MSへ返信する。このメッセージ交換は、基地局BS−移動局MS間で送信電力及びタイミングを調整するために、複数回繰り返される。これら調整が完了すると、基地局BSは、成功を示すRNG−RSPを移動局MSへ送信する。これに対し、移動局MSは、レンジング要求RNG−REQ(Ranging Request)を基地局BSへ送信する。基地局BSは、移動局MSに接続識別子CID(Connection IDentifier)を割り当て、そのCIDを含むRNG−RSPを移動局MSへ送信する。
There is also a standard that is a modification of Non-Patent
非特許文献1及び2によれば、カバレッジエリアの拡大を目的とする中継機能については全く考慮されていない。電力増幅の中継を行う場合、中継局RSは、中継局RS−固定局SS間の通信状況によって決定された、所望Burst Profileを単に増幅して転送する。従って、基地局BS−中継局RS間の通信状況が考慮されず、結果的に基地局BS−中継局RS−固定局SS間の整合が取れない。
According to
また、IEEE802.16−2004標準規格のMeshトポロジを用いてカバレッジエリア拡大を図ることはできる。しかし、Meshはオプション扱いであって、フレーム構成についてPMPと互換性が無い。また、PMPと比較して、フレームのオーバヘッドが多く、スループットに影響する。複信方式は、TDD(Time Division Duplex)しかサポートしていない。 In addition, the coverage area can be expanded using the Mesh topology of the IEEE 802.16-2004 standard. However, Mesh is treated as an option, and the frame configuration is not compatible with PMP. In addition, compared with PMP, there is more frame overhead, which affects throughput. The duplex method supports only TDD (Time Division Duplex).
更に、使用周波数帯として2GHz以上が想定されている。その周波数特性上、固定局SSは、地形や周辺建造物などの影響により受信状況が不安定となり、屋内や地下では圏外による利用不可となる可能性が高い。このような状況の場合、同規格のPMPでは、新たに基地局BSを設置するしかない。 Furthermore, 2 GHz or more is assumed as a use frequency band. Due to the frequency characteristics of the fixed station SS, the reception situation becomes unstable due to the influence of the terrain and surrounding buildings, and it is highly possible that the fixed station SS cannot be used indoors or underground due to out-of-service areas. In such a situation, the PMP of the same standard has no choice but to newly install a base station BS.
更に、IEEE802.16−2004を、移動局MS向けBWAサービス提供を目的として修正した高速無線アクセスシステムの標準規格もある(例えば非特許文献3参照、IEEE802.16e)。ここでは、ネットワークトポロジとして、PMPのみが規定されている。
Furthermore, there is also a standard for a high-speed wireless access system in which IEEE 802.16-2004 is modified for the purpose of providing a BWA service for a mobile station MS (for example, see Non-Patent
図1は、OFDMA方式のレンジングコードを生成する擬似乱数ビット列PRBS(Pseudo Random Binary Sequence)生成器の構成図である。 FIG. 1 is a configuration diagram of a pseudo random bit sequence PRBS (Pseudo Random Binary Sequence) generator that generates an OFDMA ranging code.
PRBSシード(PRBS seed)15ビットの内、下位7ビット(s0〜s6)をUL_PermBase(UpLink Permutation Base)に割当てて、レンジングコードを生成する。
UL_PermBase:整数0〜69(70通り)
レンジングコード長:144ビット
利用可能なコード数:256通り
Of the 15 bits of the PRBS seed, the lower 7 bits (s0 to s6) are assigned to UL_PermBase (UpLink Permutation Base) to generate a ranging code.
UL_PermBase:
Ranging code length: 144 bits Number of usable codes: 256
基地局BSは、複数コードのサブグループS(0〜255)を用い、以下に示す各コードは、S〜((S+O+N+M+L) mod 256)の範囲内に存在する。
・Nコード(イニシャルレンジング)
144×(S mod 256) times〜144×((S+N) mod 256)−1 times
・Mコード(Periodic ranging)
144×((N+S) mod 256) times〜144×((N+M+S) mod 256)−1 times
・Lコード(帯域幅要求)
144×((N+M+S) mod 256) times〜144×((N+M+L+S) mod 256)−1 times
・Oコード(ハンドオーバレンジング)
144×((N+M+L+S) mod 256) times〜144×((N+M+L+O+S) mod 256)−1 times
The base station BS uses a plurality of code subgroups S (0 to 255), and each code shown below exists in the range of S to ((S + O + N + M + L) mod 256).
・ N code (Initial ranging)
144 × (S mod 256) times to 144 × ((S + N) mod 256) −1 times
・ M code (Periodic ranging)
144 × ((N + S) mod 256) times to 144 × ((N + M + S) mod 256) −1 times
・ L code (bandwidth request)
144 × ((N + M + S) mod 256) times to 144 × ((N + M + L + S) mod 256) −1 times
・ O code (handover ranging)
144 × ((N + M + L + S) mod 256) times to 144 × ((N + M + L + O + S) mod 256) −1 times
OFDMA方式によれば、PermBaseはサブキャリア割り当てに対応するので、PermBase毎に周波数帯域が異なる。従って、異なるPermBaseを用いることにより、互いの干渉が抑制されることとなる。 According to the OFDMA scheme, PermBase corresponds to subcarrier allocation, so the frequency band differs for each PermBase. Therefore, mutual interference will be suppressed by using different PermBase.
IEEE802.16における基地局BSは、中継局RSを介して移動局MSと通信する場合、基地局BSと通信する移動局MSの数は膨大な数となる。このとき、基地局BSは、移動局MSが経由する中継局RSを特定するために、別途、標準規格以外のシーケンスを必要とする。しかしながら、ネットワークトポロジの特定のためのシーケンスは、ネットワーク全体の負荷となる。 When the base station BS in IEEE 802.16 communicates with the mobile station MS via the relay station RS, the number of mobile stations MS communicating with the base station BS is enormous. At this time, the base station BS needs a sequence other than the standard separately in order to specify the relay station RS through which the mobile station MS passes. However, the sequence for specifying the network topology is a load on the entire network.
従って、本発明は、IEEE802.16を適用した高速無線アクセスシステムについて、中継局RSが介在したネットワークトポロジを簡易に特定することによりネットワークリソースの効率化を図ることができる、中継局を介したレンジング方法、プログラム及びシステムを提供することを目的とする。 Therefore, the present invention provides a high-speed wireless access system to which IEEE 802.16 is applied, and can easily improve the network resources by easily specifying the network topology in which the relay station RS is interposed. It is an object to provide a method, a program, and a system.
本発明によれば、IEEE802.16のOFDMA方式におけるレンジング方法であって、
イニシャルレンジング、Periodic ranging、Bandwidth request、Handover rangingの各コードを生成するためのシード情報が、基地局圏内に存在する移動局に割り当てられる基本ドメインと、基地局圏内に存在する中継局及び該中継局圏内に存在する移動局に割り当てられる中継ドメインとに予め区分されていることを特徴とする。
According to the present invention, a ranging method in the IEEE 802.16 OFDMA scheme,
Basic domain in which seed information for generating initial ranging, periodic ranging, bandwidth request, and handover ranging codes is allocated to mobile stations existing in the base station area, a relay station existing in the base station area, and the relay station It is preliminarily divided into relay domains assigned to mobile stations existing in the vicinity.
本発明のレンジング方法における他の実施形態によれば、中継ドメインは、第1の中継局に割り当てられたシード情報毎に、第1の中継局圏内に存在する移動局及び第2の中継局に割り当てられるドメインが予め区分されていることも好ましい。 According to another embodiment of the ranging method of the present invention, a relay domain is provided to a mobile station and a second relay station that exist within a first relay station area for each seed information allocated to the first relay station. It is also preferable that the domain to be assigned is divided in advance.
本発明のレンジング方法における他の実施形態によれば、シード情報は、疑似乱数ビット列生成器に入力される一部のビット情報であるUL_PermBaseであることも好ましい。 According to another embodiment of the ranging method of the present invention, the seed information is preferably UL_PermBase which is a part of bit information input to the pseudo random number bit string generator.
本発明のレンジング方法における他の実施形態によれば、
基地局が、プリアンブルを中継局へ送信する第1のステップと、
中継局が、割り当てた中継局用シード情報により生成したプリアンブルを移動局へ送信する第2のステップと、
移動局が、中継ドメインの中から当該移動局に割り当てるシード情報を決定し、該シード情報を用いてイニシャルレンジングコードを生成し、該イニシャルレンジングコードを中継局へ返信する第3のステップと、
中継局が、移動局から受信したイニシャルレンジングコードを基地局へ転送する第4のステップと、
基地局が、イニシャルレンジングコードに基づいて、移動局は中継局を介して通信していることを認識する第5のステップと、
を有することも好ましい。
According to another embodiment of the ranging method of the present invention,
A first step of a base station transmitting a preamble to a relay station;
A second step in which the relay station transmits the preamble generated by the assigned relay station seed information to the mobile station;
A third step in which the mobile station determines seed information to be assigned to the mobile station from the relay domain, generates an initial ranging code using the seed information, and returns the initial ranging code to the relay station;
A fourth step in which the relay station forwards the initial ranging code received from the mobile station to the base station;
A fifth step in which the base station recognizes that the mobile station is communicating via the relay station based on the initial ranging code;
It is also preferable to have
本発明によれば、IEEE802.16のOFDMA方式における通信装置に搭載されたコンピュータによって、レンジング処理を実行させるプログラムであって、
イニシャルレンジング、Periodic ranging、Bandwidth request、Handover rangingの各コードを生成するためのシード情報が、基地局圏内に存在する移動局に割り当てられる基本ドメインと、基地局圏内に存在する中継局及び該中継局圏内に存在する移動局に割り当てられる中継ドメインとに予め区分されているようにコンピュータを実行させることを特徴とする。
According to the present invention, there is provided a program for causing a ranging process to be executed by a computer mounted on a communication apparatus in the IEEE 802.16 OFDMA system.
Basic domain in which seed information for generating initial ranging, periodic ranging, bandwidth request, and handover ranging codes is allocated to mobile stations existing in the base station area, a relay station existing in the base station area, and the relay station The computer is executed so as to be divided into relay domains assigned to mobile stations existing in the vicinity.
本発明によれば、IEEE802.16のOFDMA方式における中継局であって、
イニシャルレンジング、Periodic ranging、Bandwidth request、Handover rangingの各コードを生成するためのシード情報が、基地局圏内に存在する移動局に割り当てられる基本ドメインと、基地局圏内に存在する中継局及び該中継局圏内に存在する移動局に割り当てられる中継ドメインとに予め区分されており、
中継ドメインは、第1の中継局に割り当てられたシード情報毎に、第1の中継局圏内に存在する移動局及び第2の中継局に割り当てられるドメインが予め区分されており、
中継ドメインの中から中継局用シード情報を決定するシード情報決定手段と、
中継局用シード情報により生成したプリアンブルを移動局へ送信するプリアンブル送信手段と、
移動局から受信したイニシャルレンジングコードを、基地局へ転送するレンジングコード送信手段と
を有することを特徴とする。
According to the present invention, a relay station in the OFDMA scheme of IEEE 802.16,
Basic domain in which seed information for generating initial ranging, periodic ranging, bandwidth request, and handover ranging codes is allocated to mobile stations existing in the base station area, a relay station existing in the base station area, and the relay station It is divided in advance into relay domains assigned to mobile stations that exist in the area,
In the relay domain, for each seed information assigned to the first relay station, the mobile station existing in the first relay station area and the domain assigned to the second relay station are preliminarily classified.
Seed information determining means for determining the seed information for the relay station from the relay domain;
Preamble transmitting means for transmitting the preamble generated by the relay station seed information to the mobile station;
Ranging code transmitting means for transferring the initial ranging code received from the mobile station to the base station.
本発明の中継局における他の実施形態によれば、シード情報は、疑似乱数ビット列生成器に入力される一部のビット情報であるUL_PermBaseであることも好ましい。 According to another embodiment of the relay station of the present invention, the seed information is preferably UL_PermBase which is a part of bit information input to the pseudo random number bit string generator.
本発明によれば、IEEE802.16のOFDMA方式における基地局であって、
イニシャルレンジング、Periodic ranging、Bandwidth request、Handover rangingの各コードを生成するためのシード情報が、基地局圏内に存在する移動局に割り当てられる基本ドメインと、基地局圏内に存在する中継局及び該中継局圏内に存在する移動局に割り当てられる中継ドメインとに予め区分されており、
中継ドメインは、第1の中継局に割り当てられたシード情報毎に、第1の中継局圏内に存在する移動局及び第2の中継局に割り当てられるドメインが予め区分されており、
受信したイニシャルレンジングコードのシード情報が、基本ドメインか又は中継ドメインかを判定するレンジングコード判定手段と、
シード情報が中継ドメインである場合、移動局が経由する中継局を特定し、中継経路を判定する中継経路判定手段と、
中継経路を経路テーブルに保持する経路テーブル保持手段と、
経路テーブルに応じて送受信タイミングをスケジューリングするマップスケジューリング手段と
を有することを特徴とする。
According to the present invention, a base station in the IEEE 802.16 OFDMA scheme,
Basic domain in which seed information for generating initial ranging, periodic ranging, bandwidth request, and handover ranging codes is allocated to mobile stations existing in the base station area, a relay station existing in the base station area, and the relay station It is divided in advance into relay domains assigned to mobile stations that exist in the area,
In the relay domain, for each seed information assigned to the first relay station, the mobile station existing in the first relay station area and the domain assigned to the second relay station are preliminarily classified.
Ranging code determination means for determining whether the seed information of the received initial ranging code is a basic domain or a relay domain;
When the seed information is a relay domain, a relay route determination unit that identifies a relay station through which the mobile station passes and determines a relay route;
Route table holding means for holding the relay route in the route table;
And map scheduling means for scheduling transmission / reception timing according to a route table.
本発明の基地局における他の実施形態によれば、シード情報は、疑似乱数ビット列生成器に入力される一部のビット情報であるUL_PermBaseであることも好ましい。 According to another embodiment of the base station of the present invention, the seed information is preferably UL_PermBase which is a part of bit information input to the pseudo random number bit string generator.
本発明によれば、IEEE802.16のOFDMA方式における移動局であって、
イニシャルレンジング、Periodic ranging、Bandwidth request、Handover rangingの各コードを生成するためのシード情報が、基地局圏内に存在する移動局に割り当てられる基本ドメインと、基地局圏内に存在する中継局及び該中継局圏内に存在する移動局に割り当てられる中継ドメインとに予め区分されており、
中継ドメインは、第1の中継局に割り当てられたシード情報毎に、第1の中継局圏内に存在する移動局及び第2の中継局に割り当てられるドメインが予め区分されており、
受信したプリアンブルを生成したシード情報が、基本ドメインか又は中継ドメインかを判定するプリアンブル判定手段と、
シード情報が中継ドメインである場合、受信したプリアンブルを生成したシード情報に基づくドメインの中から移動局用シード情報を決定するシード情報決定手段と、
シード情報を用いて、イニシャルレンジング、Periodic ranging、Bandwidth request、Handover rangingの各コードを生成するレンジングコード生成手段と、
イニシャルレンジングコードを用いて、レンジング処理をするレンジング処理手段と
を有することを特徴とする。
According to the present invention, a mobile station in the IEEE 802.16 OFDMA scheme,
Basic domain in which seed information for generating initial ranging, periodic ranging, bandwidth request, and handover ranging codes is allocated to mobile stations existing in the base station area, a relay station existing in the base station area, and the relay station It is divided in advance into relay domains assigned to mobile stations that exist in the area,
In the relay domain, for each seed information assigned to the first relay station, the mobile station existing in the first relay station area and the domain assigned to the second relay station are preliminarily classified.
Preamble determination means for determining whether the seed information that generated the received preamble is a basic domain or a relay domain;
If the seed information is a relay domain, seed information determination means for determining seed information for the mobile station from the domain based on the seed information that generated the received preamble,
Ranging code generating means for generating initial ranging, Periodic ranging, Bandwidth request, Handover ranging code using seed information,
Ranging processing means for performing a ranging process using an initial ranging code.
本発明の移動局における他の実施形態によれば、シード情報は、疑似乱数ビット列生成器に入力される一部のビット情報であるUL_PermBaseであることを特徴とする。 According to another embodiment of the mobile station of the present invention, the seed information is UL_PermBase which is a part of bit information input to the pseudo random number bit string generator.
本発明のレンジング方法等によれば、IEEE802.16高速無線アクセスシステムについて、中継局RSが介在したネットワークトポロジを簡易に特定することができる。 According to the ranging method and the like of the present invention, the network topology in which the relay station RS intervenes can be easily specified for the IEEE 802.16 high-speed wireless access system.
本発明によれば、OFDMA方式のレンジング処理で用いられるレンジングコードを中継局向けに拡張する。このようなレンジングコードの割り当ては、中継局を含むネットワークトポロジを関連付けることができる。基地局は、移動局が経由している中継局を特定し、ネットワーク全体の経路を把握し、その経路情報に基づいた帯域割当をすることができる。 According to the present invention, the ranging code used in the OFDMA ranging process is extended to the relay station. Such ranging code assignments can be associated with network topologies including relay stations. The base station can identify the relay station through which the mobile station passes, grasp the route of the entire network, and perform bandwidth allocation based on the route information.
以下では、図面を用いて、本発明を実施するための最良の形態について詳細に説明する。 Hereinafter, the best mode for carrying out the present invention will be described in detail with reference to the drawings.
PRBS生成器で割当可能なUL_PermBaseは、7ビット(128通り)であるのに対し、従来の標準規格によって規定されたUL_PermBaseは、0〜69(70通り)である。このUL_PermBase=0〜69は、基地局BS圏内に存在する移動局MSに割り当てる基本ドメインとする。これに対し、本発明は、従来の標準規格によって規定されていないUL_PermBaseの70〜128(58通り)を、ネットワークトポロジに応じて割り当てる。このUL_PermBaseの70〜128は、中継局RSと、その中継局RSを介して基地局BSと通信する移動局MSとに割り当てる中継ドメインとする。
UL_PermBase that can be assigned by the PRBS generator is 7 bits (128 ways), whereas UL_PermBase defined by the conventional standard is 0 to 69 (70 ways). This UL_PermBase = 0 to 69 is a basic domain assigned to the mobile station MS existing within the base station BS. On the other hand, according to the present invention,
表1は、本発明におけるUL_PermBaseの割り当てを表す。
表1によれば、基地局BS圏内に存在する移動局MSは、UL_PermBase=0〜69のいずれかの整数を用いる。基地局BS圏内に存在する中継局RShop1は、UL_PermBase=70、80、・・・のいずれかの整数を用いる。UL_PermBase=70の中継局RShop1圏内に存在する移動局MSは、UL_PermBase=71〜74のいずれかの整数を用いる。UL_PermBase=70の中継局RShop1圏内に存在する中継局RShop2は、UL_PermBase=75を用いる。UL_PermBase=75の中継局RShop2圏内に存在する移動局MSは、UL_PermBase=76〜79のいずれかの整数を用いる。このように、本発明は、イニシャルレンジング、Periodic
ranging、Bandwidth request、Handover rangingの各コードを生成するためのUL_PermBaseが、基地局BS圏内に存在する移動局MSに割り当てられる基本ドメインと、基地局BS圏内に存在する中継局RS及びその中継局RS圏内に存在する移動局MSに割り当てられる中継ドメインとに予め区分されている。割り当てられたUL_PermBaseは、ネットワークトポロジを表すこととなる。
According to Table 1, the mobile station MS existing within the base station BS range uses any integer of UL_PermBase = 0-69. The relay station RShop1 existing in the base station BS area uses an integer of UL_PermBase = 70, 80,. The mobile station MS existing within the relay station RShop1 range of UL_PermBase = 70 uses any integer of UL_PermBase = 71 to 74. The relay station RShop2 existing in the area of the relay station RShop1 with UL_PermBase = 70 uses UL_PermBase = 75. The mobile station MS existing in the range of the relay station RShop2 with UL_PermBase = 75 uses any integer of UL_PermBase = 76 to 79. In this way, the present invention is an initial ranging, Periodic
UL_PermBase for generating each code of ranging, Bandwidth request, Handover ranging includes a basic domain assigned to a mobile station MS existing in the base station BS area, a relay station RS existing in the base station BS area, and its relay station RS It is divided in advance into relay domains assigned to mobile stations MS existing in the vicinity. The assigned UL_PermBase represents the network topology.
図2は、本発明におけるネットワークシステム構成図である。 FIG. 2 is a network system configuration diagram according to the present invention.
図2によれば、IEEE802.16高速無線アクセスシステムのPMPについて、中継局RSが存在するネットワークトポロジが表されている。基地局BS圏内には、移動局MS1及びMS2と、中継局RS1及びRS2とが存在する。中継局RS1圏内には、移動局MS3及びMS4と、中継局RS11とが存在する。また、中継局RS11圏内には、移動局MS7及びMS8が存在する。移動局MS7及びMS8は、中継局RS11及び中継局RS1を介して、基地局BSと通信する。一方、中継局RS2圏内には、移動局MS5及びMS6が存在する。 FIG. 2 shows the network topology in which the relay station RS exists for the PMP of the IEEE 802.16 high-speed wireless access system. Within the base station BS area, mobile stations MS1 and MS2 and relay stations RS1 and RS2 exist. Within the relay station RS1, mobile stations MS3 and MS4 and a relay station RS11 exist. In addition, mobile stations MS7 and MS8 exist within the relay station RS11. The mobile stations MS7 and MS8 communicate with the base station BS via the relay station RS11 and the relay station RS1. On the other hand, mobile stations MS5 and MS6 exist within the relay station RS2.
次に、中継局RS及び移動局MSが割り当てるUL_PermBaseについて説明する。 Next, UL_PermBase assigned by the relay station RS and the mobile station MS will be described.
基地局BS圏内の移動局MS1及びMS2は、従来技術に従って、UL_PermBase=0〜69のいずれかの整数を選択して、PRBSシードの一部とする。 The mobile stations MS1 and MS2 in the base station BS area select an integer of UL_PermBase = 0 to 69 as a part of the PRBS seed according to the conventional technology.
基地局BS圏内の中継局RS1及びRS2は、UL_PermBase=70〜127(58通り)のうち、中継局用に規定した整数を選択する。図2によれば、中継局RS1はUL_PermBase=70を割り当て、中継局RS2はUL_PermBase=80を割り当てる。ここで、中継局RSは、割り当てた基地局BSに対するUL_PermBaseを、移動局MSに対するDL_PermBase(Downlink
Permutation Base)と共用する。従って、中継局RSは、その中継局RS圏内に送信するプリアンブルのPermutationに、そのDL_PermBaseを用いる。これにより、プリアンブルを受信した移動局MS又は中継局RSは、中継局が介在していることを認識することができる。
The relay stations RS1 and RS2 in the base station BS area select an integer defined for the relay station from UL_PermBase = 70 to 127 (58 ways). According to FIG. 2, relay station RS1 assigns UL_PermBase = 70 and relay station RS2 assigns UL_PermBase = 80. Here, the relay station RS transmits the UL_PermBase for the allocated base station BS to the DL_PermBase (Downlink for the mobile station MS).
Shared with Permutation Base). Therefore, the relay station RS uses the DL_PermBase for the permutation of the preamble transmitted in the area of the relay station RS. Thereby, the mobile station MS or the relay station RS that has received the preamble can recognize that the relay station is present.
中継局RS1は、その圏内の移動局MS3及びMS4に対し、DL_PermBase=70により生成したプリアンブルを送信する。このプリアンブルを受信した移動局MS3及びMS4と中継局RS11は、自身が中継局RS1の圏内に存在していることを認識する。そして、移動局MS3及びMS4は、UL_PermBase=71〜74のいずれかの整数を選択し、その整数をPRBSシードの一部とする。図2によれば、移動局MS3はUL_PermBase=71を、移動局MS4はUL_PermBase=72をそれぞれ選択している。 The relay station RS1 transmits the preamble generated by DL_PermBase = 70 to the mobile stations MS3 and MS4 in the area. The mobile stations MS3 and MS4 and the relay station RS11 that have received this preamble recognize that they are within the range of the relay station RS1. Then, the mobile stations MS3 and MS4 select any integer of UL_PermBase = 71 to 74, and make that integer a part of the PRBS seed. According to FIG. 2, the mobile station MS3 selects UL_PermBase = 71, and the mobile station MS4 selects UL_PermBase = 72.
中継局RS2は、その圏内の移動局MS5及びMS6に対し、DL_PermBase=80により生成したプリアンブルを送信する。このプリアンブルを受信した移動局MS5及びMS6は、自身が中継局RS2の圏内に存在していることを認識する。そして、移動局MS5及びMS6は、UL_PermBase=81〜84のいずれかの整数を選択し、その整数をPRBSシードの一部とする。図2によれば、移動局MS5はUL_PermBase=81を、移動局MS6はUL_PermBase=82をそれぞれ選択している。 The relay station RS2 transmits the preamble generated by DL_PermBase = 80 to the mobile stations MS5 and MS6 in the area. The mobile stations MS5 and MS6 that have received this preamble recognize that they are within the relay station RS2. Then, the mobile stations MS5 and MS6 select any integer of UL_PermBase = 81 to 84, and make that integer a part of the PRBS seed. According to FIG. 2, the mobile station MS5 has selected UL_PermBase = 81, and the mobile station MS6 has selected UL_PermBase = 82.
中継局RS(基地局BSからみて1ホップ目の上位中継局RS)の圏内に存在する中継局RS(基地局BSからみて2ホップ目)には、上位中継局RSに割り当てられたUL_PermBaseのドメインの内、予め固有のUL_PermBaseを割り当てる。図2及び表1によれば、中継局RS11にはUL_PermBase=75が割り当てられている。 The UL_PermBase domain assigned to the upper relay station RS is included in the relay station RS (second hop from the base station BS) within the relay station RS (first hop upper relay station RS from the base station BS). Of these, a unique UL_PermBase is allocated in advance. According to FIG. 2 and Table 1, UL_PermBase = 75 is assigned to the relay station RS11.
中継局RS11は、その圏内の移動局MS7及びMS8に対し、DL_PermBase=75により生成したプリアンブルを送信する。このプリアンブルを受信した移動局MS7及びMS8は、自身が中継局RS11の圏内に存在していることを認識する。そして、移動局MS7及びMS8は、UL_PermBase=76〜79のいずれかの整数を選択し、その整数をPRBSシードの一部とする。図2によれば、移動局MS7はUL_PermBase=76を、移動局MS8はUL_PermBase=77をそれぞれ選択している。 The relay station RS11 transmits the preamble generated by DL_PermBase = 75 to the mobile stations MS7 and MS8 in the area. The mobile stations MS7 and MS8 that have received this preamble recognize that they are within the relay station RS11. Then, the mobile stations MS7 and MS8 select any integer of UL_PermBase = 76 to 79, and make that integer a part of the PRBS seed. According to FIG. 2, the mobile station MS7 has selected UL_PermBase = 76, and the mobile station MS8 has selected UL_PermBase = 77.
図3は、本発明について基地局BSとその圏外に存在する移動局MSとの間の中継局RSを介したレンジングシーケンスである。 FIG. 3 shows a ranging sequence via the relay station RS between the base station BS and the mobile station MS existing outside the service area according to the present invention.
(S301)基地局BSは、予め割り当てられたDL_PermBase(0〜31のいずれか、例えば1)により生成したプリアンブルを、その圏内の中継局RS(及び移動局MS)へ送信する。
(S302)中継局RSは、そのDL_PermBase(1)が基本ドメイン(0〜31)であることを確認し、中継ドメイン(70〜127)の中から中継局用シード情報(例えば70)を割り当てる。中継局RSは、中継局用シード情報(70)と等価なDL_PermBase for RS(70)により生成したプリアンブルを、その圏内の移動局MSへ送信する。
(S303)また、基地局BSは、中継局RSへUL−MAPを送信する。
(S304)中継局RSは、そのUL−MAPを移動局MSへ転送する。
(S301) The base station BS transmits the preamble generated by DL_PermBase (any one of 0 to 31, for example, 1) allocated in advance to the relay station RS (and mobile station MS) in the area.
(S302) The relay station RS confirms that the DL_PermBase (1) is the basic domain (0 to 31), and allocates relay station seed information (for example, 70) from the relay domain (70 to 127). The relay station RS transmits the preamble generated by the DL_PermBase for RS (70) equivalent to the relay station seed information (70) to the mobile station MS in the area.
(S303) Moreover, the base station BS transmits UL-MAP to the relay station RS.
(S304) The relay station RS transfers the UL-MAP to the mobile station MS.
(S305)移動局MSは、受信したプリアンブルを生成したDL_PermBase for RS(70)に基づくドメイン(71〜74)のいずれかの整数(例えば71)を選択し、その整数をPRBSシードの一部とする。移動局MSは、そのPRBSシードを用いて、PRBS生成器の出力によりイニシャルレンジングコードを決定する。そのイニシャルレンジングコードは、中継局RSへ送信される。
(S306)中継局RSは、受信したイニシャルレンジングコードを基地局BSへ転送する。イニシャルレンジングコードを受信した基地局BSは、以下のことを認識する。
・UL_PermBaseが0〜69以外の整数であるために、基地局BS圏内の移動局MSからの要求ではないことを認識する。
・UL_PermBaseは予め中継ドメインに区分されている(中継局70:ドメイン71〜74)ので、その移動局MSが存在する中継局RSを特定する。
(S305) The mobile station MS selects any integer (eg 71) of the domains (71 to 74) based on the DL_PermBase for RS (70) that generated the received preamble, and uses the integer as a part of the PRBS seed. To do. The mobile station MS uses the PRBS seed to determine the initial ranging code based on the output of the PRBS generator. The initial ranging code is transmitted to the relay station RS.
(S306) The relay station RS transfers the received initial ranging code to the base station BS. The base station BS that has received the initial ranging code recognizes the following.
Since UL_PermBase is an integer other than 0 to 69, it is recognized that this is not a request from the mobile station MS within the base station BS range.
-Since UL_PermBase is divided into relay domains in advance (relay station 70:
(S307)基地局BSは、その中継局RS圏内の移動局MSに対してRNG−RSPを送信するための帯域を確保する。
(S308)中継局RSは、基地局BSから割り当てられた帯域を用いて、RNG−RSPを移動局MSへ送信する。
(S307) The base station BS secures a band for transmitting the RNG-RSP to the mobile stations MS in the relay station RS area.
(S308) The relay station RS transmits RNG-RSP to the mobile station MS using the band allocated from the base station BS.
(S309)レンジング処理が成功するまで、S301〜S308のシーケンスを繰り返す。 (S309) The sequence of S301 to S308 is repeated until the ranging process is successful.
(S310)レンジング処理が成功したとする。
(S311)基地局BSは、再度、基本ドメイン(0〜31)のDL_PermBase(例えば1)により生成したプリアンブルを、中継局RSへ送信する。
(S312)中継局RSは、中継局用シード情報(70)と等価なDL_PermBase for RS(70)により生成したプリアンブルを、その圏内の移動局MSへ送信する。
(S313)また、基地局BSは、中継局RSへUL−MAPを送信する。
(S314)UL−MAPを受信した中継局RSは、そのUL−MAPを移動局MSへ転送する。
(S310) Assume that the ranging process is successful.
(S311) The base station BS again transmits the preamble generated by DL_PermBase (for example, 1) of the basic domain (0 to 31) to the relay station RS.
(S312) The relay station RS transmits the preamble generated by the DL_PermBase for RS (70) equivalent to the relay station seed information (70) to the mobile station MS in the area.
(S313) Also, the base station BS transmits UL-MAP to the relay station RS.
(S314) The relay station RS that has received the UL-MAP transfers the UL-MAP to the mobile station MS.
(S315)移動局MSは、中継局RS−移動局MS間で所望するバーストプロファイル(変調方式や誤り訂正FEC(Forward Error Correction)等の情報)を付加したRNG−REQを、中継局RSへ送信する。
(S316)中継局RSは、受信したRNG−REQを基地局BSへ転送する。
(S317)基地局BSは、RNG−RSPを中継局RSへ返信する。
(S318)中継局RSは、RNG−RSPを移動局MSへ転送する。
(S315) The mobile station MS transmits an RNG-REQ to which a desired burst profile (information such as a modulation scheme and error correction FEC (Forward Error Correction)) is added between the relay station RS and the mobile station MS to the relay station RS. To do.
(S316) The relay station RS transfers the received RNG-REQ to the base station BS.
(S317) The base station BS returns an RNG-RSP to the relay station RS.
(S318) The relay station RS transfers the RNG-RSP to the mobile station MS.
図4は、本発明について基地局BSとその圏内に存在する移動局MSとの間の中継局RSを介したレンジングシーケンスである。 FIG. 4 shows a ranging sequence via the relay station RS between the base station BS and the mobile station MS existing in the area of the present invention.
(S401)基地局BSは、予め割り当てられたDL_PermBase(0〜31のいずれか、例えば1)により生成したプリアンブルを、その圏内の移動局MS(及び中継局RS)へ送信する。
(S402)また、基地局BSは、移動局MSへUL−MAPを送信する。
(S403)移動局MSは、基本ドメイン(0〜69)のいずれかの整数(例えば1)をUL_PermBaseに割り当て、その整数をPRBSシードの一部とする。移動局MSは、そのPRBSシードを用いて、PRBS生成器の出力によりイニシャルレンジングコードを決定する。そのイニシャルレンジングコードは、基地局BSへ送信される。
(S404)基地局BSは、RNG−RSPを移動局MSへ返信する。
(S401) The base station BS transmits the preamble generated by DL_PermBase (any one of 0 to 31, for example, 1) allocated in advance to the mobile station MS (and relay station RS) within the range.
(S402) The base station BS transmits UL-MAP to the mobile station MS.
(S403) The mobile station MS assigns an integer (for example, 1) of any of the basic domains (0 to 69) to UL_PermBase, and uses the integer as a part of the PRBS seed. The mobile station MS uses the PRBS seed to determine the initial ranging code based on the output of the PRBS generator. The initial ranging code is transmitted to the base station BS.
(S404) The base station BS returns an RNG-RSP to the mobile station MS.
(S405)移動局MSは、近隣に存在する中継局RSを探索するために、予め決められた特定のUL_PermBase(例えば127)を用いた、コモンコードをブロードキャストする。このコモンコードは、中継局RSだけでなく、基地局BSにも受信される。
(S406)コモンコードを受信した中継局RSは、予め割り当てられたDL_PermBase for RS(70〜126のいずれか、例えば70)により生成したプリアンブルを、一定期間、ブロードキャストする。
(S407)プリアンブルを受信した移動局MSは、DL_PermBase for RS(70)に基づくドメイン(71〜74)のいずれかの整数(例えば71)をUL_PermBaseに割り当て、その整数をPRBSシードの一部とする。移動局MSは、そのPRBSシードを用いて、PRBS生成器の出力によりイニシャルレンジングコードを決定する。そのイニシャルレンジングコードは、中継局RSだけでなく、基地局BSへも送信される。
(S408)イニシャルレンジングコードを受信した基地局BSは、以下のことを認識する。
・UL_PermBaseが0〜69以外の整数であるために、基地局BS圏内の移動局MSからの要求ではないことを認識する。
・UL_PermBaseは予めドメインに区分されているので、その移動局MSが存在する中継局RSを特定する。
そして、基地局BSは、その中継局RS配下の移動局MSに対してRNG−RSPを送信するための帯域を確保する。中継局RSは、基地局BSから割り当てられた帯域を用いて、RNG−RSPを移動局MSへ送信する。
(S405) The mobile station MS broadcasts a common code using a predetermined specific UL_PermBase (for example, 127) in order to search for a relay station RS existing in the vicinity. This common code is received not only by the relay station RS but also by the base station BS.
(S406) The relay station RS that has received the common code broadcasts the preamble generated by the DL_PermBase for RS (70 to 126, for example, 70) allocated in advance for a certain period.
(S407) The mobile station MS that has received the preamble assigns any integer (eg 71) of the domain (71 to 74) based on DL_PermBase for RS (70) to UL_PermBase, and uses that integer as part of the PRBS seed. . The mobile station MS uses the PRBS seed to determine the initial ranging code based on the output of the PRBS generator. The initial ranging code is transmitted not only to the relay station RS but also to the base station BS.
(S408) The base station BS that has received the initial ranging code recognizes the following.
Since UL_PermBase is an integer other than 0 to 69, it is recognized that this is not a request from the mobile station MS within the base station BS range.
-Since UL_PermBase is divided into domains in advance, the relay station RS in which the mobile station MS exists is specified.
Then, the base station BS secures a band for transmitting the RNG-RSP to the mobile station MS under the relay station RS. The relay station RS transmits the RNG-RSP to the mobile station MS using the band allocated from the base station BS.
(S409)基地局BSは、予め割り当てられたDL_PermBase(0〜31のいずれか、例えば1)により生成したプリアンブルを、その圏内の移動局MSへ送信する。
(S410)中継局RSも、予め割り当てられたDL_PermBase(70〜126のいずれか、例えば70)により生成したプリアンブルを、その圏内の移動局MSへ送信する。
(S411)また、基地局BSは、移動局MSへUL−MAPを送信する。
(S412)移動局MSは、基地局BS及び中継局RSからの受信状況に基づいて、所望する接続先(基地局BS又は中継局RS)を決定する。そして、所望する接続先のイニシャルレンジングコードをブロードキャストする。このイニシャルレンジングコードは、基地局BS及び中継局RSの両方によって受信されるので、両局が、いずれの局が選択されたかを認識できる。
(S409) The base station BS transmits the preamble generated by DL_PermBase (any one of 0 to 31, for example, 1) allocated in advance to the mobile station MS in the area.
(S410) The relay station RS also transmits the preamble generated by DL_PermBase (any one of 70 to 126, for example, 70) allocated in advance to the mobile station MS in the area.
(S411) In addition, the base station BS transmits UL-MAP to the mobile station MS.
(S412) The mobile station MS determines a desired connection destination (base station BS or relay station RS) based on the reception status from the base station BS and the relay station RS. Then, the initial ranging code of the desired connection destination is broadcast. Since the initial ranging code is received by both the base station BS and the relay station RS, both stations can recognize which station has been selected.
(S413)中継局RSが選択された場合、基地局BSは、その中継局RS圏内の移動局MSに対してRNG−RSPを送信するための帯域を確保する。中継局RSは、基地局BSから割り当てられた帯域を用いて、RNG−RSPを移動局MSへ送信する。 (S413) When the relay station RS is selected, the base station BS secures a band for transmitting the RNG-RSP to the mobile stations MS within the relay station RS area. The relay station RS transmits the RNG-RSP to the mobile station MS using the band allocated from the base station BS.
(S414)基地局BSは、UL−MAPを移動局MSへ送信する。
(S415)移動局MSは、RNG−REQを基地局BSへ送信する。
(S416)基地局BSは、RNG−RSPを移動局MSへ返信する。
(S414) The base station BS transmits UL-MAP to the mobile station MS.
(S415) The mobile station MS transmits RNG-REQ to the base station BS.
(S416) The base station BS returns an RNG-RSP to the mobile station MS.
図5は、本発明における中継局の機能構成図である。 FIG. 5 is a functional configuration diagram of the relay station in the present invention.
図5によれば、中継局1は、無線通信インタフェース部101と、UL−MAP転送部102と、レンジング処理部103と、プリアンブル判定部111と、シード情報決定部112と、レンジングコード送信部113と、プリアンブル送信部121と、レンジングコード判定部122とを有する。これら機能部は、中継局1に搭載されたコンピュータを実行させるプログラムによっても実現できる。
According to FIG. 5, the
プリアンブル判定部111は、基地局BS(又は中継局RS)からプリアンブルを受信し、そのプリアンブルを生成したDL_PermBaseが、基本ドメイン(0〜31)であるか又は中継ドメイン(70、80、…)であるかを判定する。プリアンブル判定部111は、その判定結果をシード情報決定部112へ通知する。
The
シード情報決定部112は、DL_PermBaseが基本ドメイン(0〜31)である場合には、中継ドメイン(70〜127)から中継局として割り当て可能なシード情報(例えば70)を決定する。一方、DL_PermBaseが中継ドメイン(70、80、…)である場合には、その中継局用シード情報(70)に基づいて割り当て可能なシード情報(例えば75)を決定する。決定されたシード情報は、プリアンブル送信部121へ通知される。
If DL_PermBase is the basic domain (0 to 31), the seed
プリアンブル送信部121は、中継局用シード情報により生成したプリアンブルを送信する。例えば、DL_PermBase=70又は75により生成したプリアンブルを送信する。
The
レンジングコード判定部122は、移動局MSから受信したイニシャルレンジングコードがコモンコード(例えば127)か又はそれ以外かを判定する。コモンコードであれば、プリアンブル送信部121へその旨を通知する。プリアンブル送信部121は、中継局用シード情報(例えば70)により生成したプリアンブルを同報送信する。イニシャルレンジングコードが、コモンコード以外であれば、レンジングコード送信部113へ、レンジングコードを通知する。レンジングコード送信部113は、基地局BSへレンジングコードを転送する。
The ranging
UL−MAP転送部102は、基地局BSからUL−MAPを受信し、そのUL−MAPを移動局MSへ転送する。
The UL-
レンジング処理部103は、レンジング処理をするものであり、基地局BSと移動局MSとの間でRNG−REQ/RNG−RSPを転送する。
The ranging
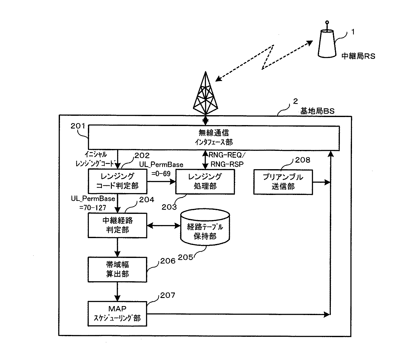
図6は、本発明における基地局の機能構成図である。 FIG. 6 is a functional configuration diagram of the base station in the present invention.
図6によれば、基地局2は、無線通信インタフェース部201と、レンジングコード判定部202と、レンジング処理部203と、中継経路判定部204と、経路テーブル保持部205と、帯域幅算出部206と、MAPスケジューリング部207と、プリアンブル送信部208とを有する。これら機能部は、基地局2に搭載されたコンピュータを実行させるプログラムによっても実現できる。
According to FIG. 6, the
レンジングコード判定部202は、受信したイニシャルレンジングコードを生成したシード情報が、基本ドメイン(0〜69)か又は中継ドメイン(70〜127)かを判定する。基本ドメインであれば、その旨がレンジング処理部203へ通知される。中継ドメインであれば、その旨が中継経路判定部204へ通知される。
The ranging
中継経路判定部204は、移動局MSが経由する中継局RSを特定し、中継経路を判定する。中継経路の判定には、経路テーブル保持部205を参照する。経路テーブル保持部205は、ネットワーク全体のトポロジを管理する。帯域幅算出部206は、中継経路情報に基づいて帯域幅を割り当てる。MAPスケジューリング部207は、その帯域幅に基づいてUL−MAPを更新し、そのUL−MAPを送信する。
The relay
プリアンブル送信部208は、DL_PermBase=0〜31により生成したプリアンブルを送信する。
The
図7は、本発明における移動局の機能構成図である。 FIG. 7 is a functional block diagram of the mobile station in the present invention.
図7によれば、移動局3は、無線通信インタフェース部301と、プリアンブル判定部302と、レンジング処理部303と、シード情報決定部304と、レンジングコード生成部305と、経路テーブル保持部306とを有する。これら機能部は、移動局3に搭載されたコンピュータを実行させるプログラムによっても実現できる。
According to FIG. 7, the
プリアンブル判定部302は、受信したプリアンブルを生成したシード情報が、基本ドメイン(0〜31)であるか又は中継ドメイン(70〜127)であるかを判定する。基本ドメインであれば、レンジング処理部303は、通常の基地局BSに対するレンジング処理をする。
The
シード情報決定部304は、受信したプリアンブルを生成したシード情報が、中継ドメインである場合、その中継ドメインの中から移動局用シード情報を決定する。
If the seed information that generated the received preamble is a relay domain, the seed
レンジングコード生成部305は、決定された移動局用シード情報を用いて、PRBS生成器の出力によりイニシャルレンジングコードを生成する。レンジング処理部303は、このイニシャルレンジングコードを用いて、レンジング処理をする。また、生成されたレンジングコードは、経路情報を表すために、経路テーブル保持部306に蓄積される。これにより、基地局BSまでのネットワークトポロジが認識される。
The ranging
本発明によれば、OFDMA方式のレンジング処理で用いられるレンジングコードを中継局向けに拡張する。このようなレンジングコードの割り当ては、中継局を含むネットワークトポロジを関連付けることができる。基地局は、移動局が経由している中継局を特定し、ネットワーク全体の経路を把握し、その経路情報に基づいた帯域割当をすることができる。 According to the present invention, the ranging code used in the OFDMA ranging process is extended to the relay station. Such ranging code assignments can be associated with network topologies including relay stations. The base station can identify the relay station through which the mobile station passes, grasp the route of the entire network, and perform bandwidth allocation based on the route information.
前述した本発明における種々の実施形態によれば、当業者は、本発明の技術思想及び見地の範囲における種々の変更、修正及び省略を容易に行うことができる。前述の説明はあくまで例であって、何ら制約しようとするものではない。本発明は、特許請求の範囲及びその均等物として限定するものにのみ制約される。 According to the various embodiments of the present invention described above, those skilled in the art can easily make various changes, modifications and omissions within the scope of the technical idea and the viewpoint of the present invention. The above description is merely an example, and is not intended to be restrictive. The invention is limited only as defined in the following claims and the equivalents thereto.
1 中継局
101 無線通信インタフェース部
102 UL−MAP転送部
103 レンジング処理部
111 プリアンブル判定部
112 シード情報決定部
113 レンジングコード送信部
121 プリアンブル送信部
122 レンジングコード判定部
2 基地局
201 無線通信インタフェース部
202 レンジングコード判定部
203 レンジング処理部
204 中継経路判定部
205 経路テーブル保持部
206 帯域幅算出部
207 MAPスケジューリング部
208 プリアンブル送信部
3 移動局
301 無線通信インタフェース部
302 プリアンブル判定部
303 レンジング処理部
304 シード情報決定部
305 レンジングコード生成部
306 経路テーブル保持部
DESCRIPTION OF
Claims (11)
イニシャルレンジング、Periodic ranging、Bandwidth request、Handover rangingの各コードを生成するためのシード情報が、基地局圏内に存在する移動局に割り当てられる基本ドメインと、基地局圏内に存在する中継局及び該中継局圏内に存在する移動局に割り当てられる中継ドメインとに予め区分されていることを特徴とするレンジング方法。 A ranging method via a relay station in the IEEE 802.16 OFDMA system,
Basic domain in which seed information for generating initial ranging, periodic ranging, bandwidth request, and handover ranging codes is allocated to mobile stations existing in the base station area, a relay station existing in the base station area, and the relay station A ranging method characterized in that it is preliminarily divided into relay domains assigned to mobile stations existing in the vicinity.
前記中継局が、割り当てた中継局用シード情報により生成したプリアンブルを前記移動局へ送信する第2のステップと、
前記移動局が、前記中継ドメインの中から当該移動局に割り当てるシード情報を決定し、該シード情報を用いてイニシャルレンジングコードを生成し、該イニシャルレンジングコードを前記中継局へ返信する第3のステップと、
前記中継局が、前記移動局から受信したイニシャルレンジングコードを前記基地局へ転送する第4のステップと、
前記基地局が、前記イニシャルレンジングコードに基づいて、前記移動局は前記中継局を介して通信していることを認識する第5のステップと、
を有することを特徴とする請求項1から3のいずれか1項に記載のレンジング方法。 A first step in which the base station transmits a preamble to the relay station;
A second step in which the relay station transmits a preamble generated by the assigned relay station seed information to the mobile station;
The mobile station determines seed information to be allocated to the mobile station from the relay domain, generates an initial ranging code using the seed information, and returns the initial ranging code to the relay station. When,
A fourth step in which the relay station forwards the initial ranging code received from the mobile station to the base station;
A fifth step in which the base station recognizes that the mobile station is communicating via the relay station based on the initial ranging code;
The ranging method according to any one of claims 1 to 3, wherein:
イニシャルレンジング、Periodic ranging、Bandwidth request、Handover rangingの各コードを生成するためのシード情報が、基地局圏内に存在する移動局に割り当てられる基本ドメインと、基地局圏内に存在する中継局及び該中継局圏内に存在する移動局に割り当てられる中継ドメインとに予め区分されているようにコンピュータを実行させることを特徴とするプログラム。 A program for executing a ranging process by a computer installed in a communication apparatus in the IEEE 802.16 OFDMA system,
Basic domain in which seed information for generating initial ranging, periodic ranging, bandwidth request, and handover ranging codes is allocated to mobile stations existing in the base station area, a relay station existing in the base station area, and the relay station A program that causes a computer to be executed so as to be divided into relay domains assigned to mobile stations existing in the vicinity.
イニシャルレンジング、Periodic ranging、Bandwidth request、Handover rangingの各コードを生成するためのシード情報が、基地局圏内に存在する移動局に割り当てられる基本ドメインと、基地局圏内に存在する中継局及び該中継局圏内に存在する移動局に割り当てられる中継ドメインとに予め区分されており、
前記中継ドメインは、第1の中継局に割り当てられたシード情報毎に、第1の中継局圏内に存在する移動局及び第2の中継局に割り当てられるドメインが予め区分されており、
前記中継ドメインの中から中継局用シード情報を決定するシード情報決定手段と、
前記中継局用シード情報により生成したプリアンブルを移動局へ送信するプリアンブル送信手段と、
前記移動局から受信したイニシャルレンジングコードを、前記基地局へ転送するレンジングコード送信手段と
を有することを特徴とする中継局。 A relay station in the OFDMA scheme of IEEE 802.16,
Basic domain in which seed information for generating initial ranging, periodic ranging, bandwidth request, and handover ranging codes is allocated to mobile stations existing in the base station area, a relay station existing in the base station area, and the relay station It is divided in advance into relay domains assigned to mobile stations that exist in the area,
In the relay domain, for each seed information assigned to the first relay station, a mobile station existing in the first relay station area and a domain assigned to the second relay station are divided in advance,
Seed information determining means for determining seed information for relay stations from the relay domain;
Preamble transmitting means for transmitting a preamble generated by the relay station seed information to a mobile station;
A relay station, comprising: ranging code transmitting means for transferring an initial ranging code received from the mobile station to the base station.
イニシャルレンジング、Periodic ranging、Bandwidth request、Handover rangingの各コードを生成するためのシード情報が、基地局圏内に存在する移動局に割り当てられる基本ドメインと、基地局圏内に存在する中継局及び該中継局圏内に存在する移動局に割り当てられる中継ドメインとに予め区分されており、
前記中継ドメインは、第1の中継局に割り当てられたシード情報毎に、第1の中継局圏内に存在する移動局及び第2の中継局に割り当てられるドメインが予め区分されており、
受信した前記イニシャルレンジングコードのシード情報が、前記基本ドメインか又は前記中継ドメインかを判定するレンジングコード判定手段と、
前記シード情報が前記中継ドメインである場合、前記移動局が経由する前記中継局を特定し、中継経路を判定する中継経路判定手段と、
前記中継経路を経路テーブルに保持する経路テーブル保持手段と、
前記経路テーブルに応じて送受信タイミングをスケジューリングするマップスケジューリング手段と
を有することを特徴とする基地局。 A base station in the IEEE 802.16 OFDMA system,
Basic domain in which seed information for generating initial ranging, periodic ranging, bandwidth request, and handover ranging codes is allocated to mobile stations existing in the base station area, a relay station existing in the base station area, and the relay station It is divided in advance into relay domains assigned to mobile stations that exist in the area,
In the relay domain, for each seed information assigned to the first relay station, a mobile station existing in the first relay station area and a domain assigned to the second relay station are divided in advance,
Ranging code determination means for determining whether the seed information of the received initial ranging code is the basic domain or the relay domain;
When the seed information is the relay domain, a relay route determination unit that identifies the relay station through which the mobile station passes and determines a relay route;
Route table holding means for holding the relay route in a route table;
And a map scheduling means for scheduling transmission / reception timing according to the route table.
イニシャルレンジング、Periodic ranging、Bandwidth request、Handover rangingの各コードを生成するためのシード情報が、基地局圏内に存在する移動局に割り当てられる基本ドメインと、基地局圏内に存在する中継局及び該中継局圏内に存在する移動局に割り当てられる中継ドメインとに予め区分されており、
前記中継ドメインは、第1の中継局に割り当てられたシード情報毎に、第1の中継局圏内に存在する移動局及び第2の中継局に割り当てられるドメインが予め区分されており、
受信したプリアンブルを生成したシード情報が、前記基本ドメインか又は前記中継ドメインかを判定するプリアンブル判定手段と、
前記シード情報が前記中継ドメインである場合、受信したプリアンブルを生成したシード情報に基づくドメインの中から移動局用シード情報を決定するシード情報決定手段と、
前記シード情報を用いて、イニシャルレンジング、Periodic ranging、Bandwidth request、Handover rangingの各コードを生成するレンジングコード生成手段と、
前記イニシャルレンジングコードを用いて、レンジング処理をするレンジング処理手段と
を有することを特徴とする移動局。 A mobile station in the IEEE 802.16 OFDMA system,
Basic domain in which seed information for generating initial ranging, periodic ranging, bandwidth request, and handover ranging codes is allocated to mobile stations existing in the base station area, a relay station existing in the base station area, and the relay station It is divided in advance into relay domains assigned to mobile stations that exist in the area,
In the relay domain, for each seed information assigned to the first relay station, a mobile station existing in the first relay station area and a domain assigned to the second relay station are divided in advance,
Preamble determination means for determining whether the seed information that generated the received preamble is the basic domain or the relay domain;
When the seed information is the relay domain, seed information determination means for determining seed information for mobile stations from the domain based on the seed information that generated the received preamble,
Using the seed information, ranging code generating means for generating each code of initial ranging, Periodic ranging, Bandwidth request, Handover ranging,
Ranging processing means for performing a ranging process using the initial ranging code.
The mobile station according to claim 10, wherein the seed information is UL_PermBase which is a part of bit information input to the pseudo random number bit string generator.
Priority Applications (1)
| Application Number | Priority Date | Filing Date | Title |
|---|---|---|---|
| JP2006018433A JP4716882B2 (en) | 2006-01-27 | 2006-01-27 | Ranging method, program and system via relay station in IEEE 802.16 |
Applications Claiming Priority (1)
| Application Number | Priority Date | Filing Date | Title |
|---|---|---|---|
| JP2006018433A JP4716882B2 (en) | 2006-01-27 | 2006-01-27 | Ranging method, program and system via relay station in IEEE 802.16 |
Publications (2)
| Publication Number | Publication Date |
|---|---|
| JP2007201848A true JP2007201848A (en) | 2007-08-09 |
| JP4716882B2 JP4716882B2 (en) | 2011-07-06 |
Family
ID=38455980
Family Applications (1)
| Application Number | Title | Priority Date | Filing Date |
|---|---|---|---|
| JP2006018433A Expired - Fee Related JP4716882B2 (en) | 2006-01-27 | 2006-01-27 | Ranging method, program and system via relay station in IEEE 802.16 |
Country Status (1)
| Country | Link |
|---|---|
| JP (1) | JP4716882B2 (en) |
Cited By (7)
| Publication number | Priority date | Publication date | Assignee | Title |
|---|---|---|---|---|
| WO2009066528A1 (en) * | 2007-11-22 | 2009-05-28 | Mitsubishi Electric Corporation | Received power estimating method and receiver |
| JP2009124692A (en) * | 2007-10-19 | 2009-06-04 | Trellisware Technologies Inc | Method and system for cooperative communication with minimal coordination |
| JP2012034422A (en) * | 2011-11-16 | 2012-02-16 | Fujitsu Ltd | Wireless base station, relay station, and wireless communication method |
| JP2012182530A (en) * | 2011-02-28 | 2012-09-20 | Fujitsu Semiconductor Ltd | Communication device and communication method |
| US8588126B2 (en) | 2006-11-08 | 2013-11-19 | Trellisware Technologies, Inc. | Methods and apparatus for network communication via barrage relay onto an independent medium allocation |
| US8964773B2 (en) | 2006-11-08 | 2015-02-24 | Trellisware Technologies, Inc. | Method and system for establishing cooperative routing in wireless networks |
| JP2016213847A (en) * | 2012-12-09 | 2016-12-15 | エルジー エレクトロニクス インコーポレイティド | Synchronization acquisition method and apparatus for direct communication between coverage external terminals in a wireless communication system |
Citations (5)
| Publication number | Priority date | Publication date | Assignee | Title |
|---|---|---|---|---|
| WO2004100403A1 (en) * | 2003-05-09 | 2004-11-18 | Samsung Electronics Co. Ltd. | Method for providing multi-level access services in common access channel |
| JP2006311253A (en) * | 2005-04-28 | 2006-11-09 | Kddi Corp | Wireless data communication handover method |
| JP2007110725A (en) * | 2005-10-11 | 2007-04-26 | Samsung Electronics Co Ltd | Apparatus and method for managing connection identifier in broadband wireless access communication system using multi-hop relay system |
| WO2007069848A2 (en) * | 2005-12-13 | 2007-06-21 | Lg Electronics Inc. | Communication method using relay station in mobile communication system |
| WO2007078150A1 (en) * | 2006-01-03 | 2007-07-12 | Samsung Electronics Co., Ltd. | Method and apparatus for managing connection identifiers in a multi-hop relay wireless access communication system |
-
2006
- 2006-01-27 JP JP2006018433A patent/JP4716882B2/en not_active Expired - Fee Related
Patent Citations (5)
| Publication number | Priority date | Publication date | Assignee | Title |
|---|---|---|---|---|
| WO2004100403A1 (en) * | 2003-05-09 | 2004-11-18 | Samsung Electronics Co. Ltd. | Method for providing multi-level access services in common access channel |
| JP2006311253A (en) * | 2005-04-28 | 2006-11-09 | Kddi Corp | Wireless data communication handover method |
| JP2007110725A (en) * | 2005-10-11 | 2007-04-26 | Samsung Electronics Co Ltd | Apparatus and method for managing connection identifier in broadband wireless access communication system using multi-hop relay system |
| WO2007069848A2 (en) * | 2005-12-13 | 2007-06-21 | Lg Electronics Inc. | Communication method using relay station in mobile communication system |
| WO2007078150A1 (en) * | 2006-01-03 | 2007-07-12 | Samsung Electronics Co., Ltd. | Method and apparatus for managing connection identifiers in a multi-hop relay wireless access communication system |
Cited By (10)
| Publication number | Priority date | Publication date | Assignee | Title |
|---|---|---|---|---|
| US8588126B2 (en) | 2006-11-08 | 2013-11-19 | Trellisware Technologies, Inc. | Methods and apparatus for network communication via barrage relay onto an independent medium allocation |
| US8964773B2 (en) | 2006-11-08 | 2015-02-24 | Trellisware Technologies, Inc. | Method and system for establishing cooperative routing in wireless networks |
| US8964629B2 (en) | 2006-11-08 | 2015-02-24 | Trellisware Technologies, Inc. | Methods and systems for conducting relayed communication |
| JP2009124692A (en) * | 2007-10-19 | 2009-06-04 | Trellisware Technologies Inc | Method and system for cooperative communication with minimal coordination |
| WO2009066528A1 (en) * | 2007-11-22 | 2009-05-28 | Mitsubishi Electric Corporation | Received power estimating method and receiver |
| JP2012182530A (en) * | 2011-02-28 | 2012-09-20 | Fujitsu Semiconductor Ltd | Communication device and communication method |
| US8792541B2 (en) | 2011-02-28 | 2014-07-29 | Fujitsu Semiconductor Limited | Communication apparatus and method for communication |
| JP2012034422A (en) * | 2011-11-16 | 2012-02-16 | Fujitsu Ltd | Wireless base station, relay station, and wireless communication method |
| JP2016213847A (en) * | 2012-12-09 | 2016-12-15 | エルジー エレクトロニクス インコーポレイティド | Synchronization acquisition method and apparatus for direct communication between coverage external terminals in a wireless communication system |
| US10104628B2 (en) | 2012-12-09 | 2018-10-16 | Lg Electronics Inc. | Method for obtaining synchronization for device-to-device communication between user equipment inside coverage area and user equipment outside of coverage area in wireless communication system, and apparatus for same |
Also Published As
| Publication number | Publication date |
|---|---|
| JP4716882B2 (en) | 2011-07-06 |
Similar Documents
| Publication | Publication Date | Title |
|---|---|---|
| CN101485144B (en) | Topology and route discovery and management for relay networks | |
| CN101473557B (en) | Apparatus and method for supporting relay service in multi-hop relay broadband wireless access communication system | |
| JP4484226B2 (en) | Aggregation method, program, and relay station for service connection identifiers in a relay station to which IEEE 802.16 is applied | |
| CN103563447B (en) | wireless communication system and method | |
| CN101548481B (en) | The frame structure of the multi-hop relay in wireless communication system | |
| JP4876104B2 (en) | Apparatus and method for processing transmission information of broadcast message configured by relay station in broadband wireless access communication system using multi-hop relay system | |
| JP2008172792A (en) | Frame information transmission apparatus and method in multi-hop relay broadband wireless access communication system | |
| JP5191202B2 (en) | Wireless communication system, method, and data structure | |
| JP2006352894A (en) | Routing apparatus and method in multi-hop relay cellular network | |
| KR101532223B1 (en) | Method and apparatus for resource allocation in a multi-hop relay network | |
| JP4716882B2 (en) | Ranging method, program and system via relay station in IEEE 802.16 | |
| CN101529751B (en) | Mapping from frame control header (FCH) position to preamble sequence set for multi-hop wireless broadband access communication | |
| JP4707144B2 (en) | OFDMA relay communication method, base station, relay station, and program | |
| JP2008104096A (en) | Wireless relay system and message exchange method thereof | |
| KR100972957B1 (en) | Frame information transmission apparatus and method in a multi-hop relay broadband wireless access communication system | |
| CN101969644A (en) | Relay transmission method and equipment | |
| JP4680047B2 (en) | Wireless relay system and method | |
| WO2019042435A1 (en) | Method and apparatus for resource allocation | |
| JP2011077563A (en) | Wireless relay apparatus, wireless transmitter and receiver, wireless relay method, wireless transmission and reception method, relay node, and base station | |
| KR101108055B1 (en) | Data transfer relay method | |
| KR101162212B1 (en) | Communication method via relay station and data frame therefor in mobile communications system | |
| JP4476985B2 (en) | Relay station connection destination selection method, relay station and program to which IEEE 802.16 is applied | |
| JP4863950B2 (en) | Wireless communication system, wireless relay method, base station apparatus, relay station apparatus, and wireless relay program | |
| JP4913554B2 (en) | Base station and communication method | |
| KR20080028264A (en) | Apparatus and Method for Multi-hop Frame Operation and Frame Delivery in MRM Network |
Legal Events
| Date | Code | Title | Description |
|---|---|---|---|
| A621 | Written request for application examination |
Free format text: JAPANESE INTERMEDIATE CODE: A621 Effective date: 20080819 |
|
| A977 | Report on retrieval |
Free format text: JAPANESE INTERMEDIATE CODE: A971007 Effective date: 20110117 |
|
| A131 | Notification of reasons for refusal |
Free format text: JAPANESE INTERMEDIATE CODE: A131 Effective date: 20110125 |
|
| A521 | Request for written amendment filed |
Free format text: JAPANESE INTERMEDIATE CODE: A523 Effective date: 20110303 |
|
| TRDD | Decision of grant or rejection written | ||
| A01 | Written decision to grant a patent or to grant a registration (utility model) |
Free format text: JAPANESE INTERMEDIATE CODE: A01 Effective date: 20110325 |
|
| A01 | Written decision to grant a patent or to grant a registration (utility model) |
Free format text: JAPANESE INTERMEDIATE CODE: A01 |
|
| A61 | First payment of annual fees (during grant procedure) |
Free format text: JAPANESE INTERMEDIATE CODE: A61 Effective date: 20110329 |
|
| R150 | Certificate of patent or registration of utility model |
Free format text: JAPANESE INTERMEDIATE CODE: R150 |
|
| FPAY | Renewal fee payment (event date is renewal date of database) |
Free format text: PAYMENT UNTIL: 20140408 Year of fee payment: 3 |
|
| LAPS | Cancellation because of no payment of annual fees |
