JP2007152115A - 部分的接触のロッド接触部を備えた箱形チャンバ - Google Patents

部分的接触のロッド接触部を備えた箱形チャンバ Download PDF

Info

Publication number
JP2007152115A
JP2007152115A JP2006328345A JP2006328345A JP2007152115A JP 2007152115 A JP2007152115 A JP 2007152115A JP 2006328345 A JP2006328345 A JP 2006328345A JP 2006328345 A JP2006328345 A JP 2006328345A JP 2007152115 A JP2007152115 A JP 2007152115A
Authority
JP
Japan
Prior art keywords
fixation device
spinal fixation
coupling member
hole
opening
Prior art date
Legal status (The legal status is an assumption and is not a legal conclusion. Google has not performed a legal analysis and makes no representation as to the accuracy of the status listed.)
Pending
Application number
JP2006328345A
Other languages
English (en)
Inventor
Donald W Bryan
ドナルド・ダブリュー・ブライアン
Current Assignee (The listed assignees may be inaccurate. Google has not performed a legal analysis and makes no representation or warranty as to the accuracy of the list.)
Individual
Original Assignee
Individual
Priority date (The priority date is an assumption and is not a legal conclusion. Google has not performed a legal analysis and makes no representation as to the accuracy of the date listed.)
Filing date
Publication date
Application filed by Individual filed Critical Individual
Publication of JP2007152115A publication Critical patent/JP2007152115A/ja
Pending legal-status Critical Current

Links

Images

Landscapes

  • Surgical Instruments (AREA)

Abstract

【課題】少なくとも1つの脊椎の椎間板を少なくとも部分的に固定して動かないようにするための固定装置の提供。
【解決手段】脊椎固定装置及び方法が開示されている。当該装置は、以下の構成要素、すなわち、少なくとも1つの細長い部材、細長い部材を収容するための多半径の貫通穴又は貫通ステムを備えている少なくとも1つの結合部材、少なくとも1つの固定部材、少なくとも1つのクランプ部材、少なくとも1つの締結部材及び少なくとも1つの架橋部材を含んでいる。
【選択図】図1

Description

本発明は、概して脊椎固定装置及び方法に関し、更に特定すると、必ずしも完全にではないが、少なくとも1つの脊椎の椎間板を少なくとも部分的に固定して動かないようにするための固定装置に関する。
脊椎は、中軸骨格に可動性を提供しつつ人間の直立姿勢を支持する可撓性の多区分からなる椎柱である。腰椎は、重要な単位構成要素を包囲し且つ保護する機能を果たし且つ骨盤を介して体重を下肢まで伝えることによって、身体のための構造的支持を提供する。腰椎には肋骨が全く取り付けられていないので、比較的広い範囲の動きを有する。
脊椎は、骨、椎間板、関節軟骨との滑膜関節、関節滑液莢膜によって作られており、且つ背中の一部分として、靱帯、筋肉、筋膜、血管、神経及び皮膚を支持することによって包囲されている。身体の他の領域における場合と同様に、これらの要素は、炎症、外傷、腫瘍、先天性異常、疾病等の種々の病的疾患を受ける。脊椎は、背中におけるその役割を果たす際に、腰痛の病因として重要な役割を果たす著しい外傷を受け得る。外傷は、しばしば、可動の靱帯区分が可動性がより少ない背柱と結合する腰椎の上端に損傷をもたらす。脊椎に対する過剰な力は、生命にかかわる外傷性の損傷をもたらすばかりでなく、速い速度の退行性変化に影響を及ぼす。退行性変化は、通常は20代の人に腰椎の椎間板に発生する傾向がある。骨関節炎は、中年の人の椎間関節に変化を生じさせる。
脊椎固定は、外傷、癌、身体障害的な痛み、神経障害、奇形又は変形病変を治療するために使用される一つの方法である。脊椎の安定性を改良するために、ロッドのうちの一つに結合部材を取り付けるための多軸ねじ、椎弓根ねじ又は他のタイプの骨ねじを使用して棘状突起に平行に配置されるロッドの移植のような多くの方法及び装置が使用されて来た。脊椎固定を達成するために他の方法も使用されて来た。しかしながら、脊椎固定に対する再発という問題は、脊椎の骨に必須の器具を効率良く取り付ける際の課題である患者毎に異なる解剖学的構造である。
脊椎に器具を取り付けるための代替例を提供するための試みがなされて来た。例えば、米国特許第5,527,314号(1996年6月18日にBrumfieldらに付与された)は、脊椎の変形及び異常を矯正するための脊椎移植装置を開示しており、脊椎の椎間板に対して種々の高さで係合するために、脊椎フックのような多数の脊椎固定部材を備えた細長い脊椎ロッドを含んでいる。少なくとも1つの椎間板接触固定部材が、そこから突出している細長いステムを含んでいる。このステムは、その中にステムを受け入れる構造とされたステム用の穴を有しているロッド結合部材、セットねじを受け入れる構造とされたねじ穴及びロッドを貫通させて受け入れる構造とされた溝によって脊椎ロッドに結合されている。
米国特許第6,716,213号(2004年4月6日にShitotoに付与された)に開示されたもののような多くの公知の他の脊椎固定装置がある。この参考特許は、多数のコネクタを有している脊椎固定装置を開示している。前記多数のコネクタの各々は、(i)ロッドが挿入される結合部材の貫通穴と、(ii)前記ロッドと同じ直径を有する短いロッドであって、前記結合部材の貫通穴の軸線方向にほぼ直角の方向に向けられ且つ前記結合部材の貫通穴内に挿入され且つねじ込まれるのに十分な長さを有している短いロッドと、(iii)外ねじ部材がねじ込まれるのを可能にする内ねじ部分であって、前記外ねじ部材が前記結合部材の貫通穴内に挿入されたロッド又は短いロッドを係止するようになされた内ねじ部分と、を含んでいる。
従来技術は、本発明が取り組んでいることができる幾つかの欠点によって特徴付けられる。本発明は、本明細書に記載した方法及び構造的な特徴を使用することによって、上記の欠点及びその他の問題点を、最少化し且つ幾つかの態様においては排除することができる。
本願出願人が知悉している当該技術における参考文献のいずれもが、簡単且つ効率的な方法で脊椎の椎間板に細長い部材を結合し且つ部分的接触方法で細長い部材と接触して細長い部材との間により強い接触を提供する結合部材を提供する脊椎固定装置を提供することは注目すべきことである。
本発明の特徴及び利点が、以下の説明に記載され且つ部分的には当該説明から明らかとなり又は無理な実験をすることなく発明の実施によって知ることができる。本発明の特徴及び利点は、特許請求の範囲に特に指摘した装置及びコンビネーションによって実現し且つ得ることができる。
本発明の原理の理解を促進する目的で、図面に図示された実施形態を参考とし、当該実施形態を記載するために特別な用語が使用されている。にも拘わらず、これらによって本発明の範囲を限定することは意図されていないことは理解されるべきである。ここに示した本発明の特徴のあらゆる代替例及び更なる変形例、関連技術の当業者が通常想到することができる本開示に含まれる本発明の原理のあらゆる付加的な用途が、特許請求の範囲に含まれると考えられるべきである。
本発明は、ここに開示されている特別な形状、プロセスステップ及び材料に限定されず、従って、このような形状、プロセスステップ及び材料は幾分変更しても良いことは理解されるべきである。更に、本発明の範囲は特許請求の範囲及びその等価物によってのみ限定されるので、ここで使用されている用途は、特別な実施形態のみを説明する目的で使用されており、限定的なものであることは意図されてないことも理解されるべきである。本発明の背景を説明し且つ本発明の実施に関する付加的な詳細を提供するためにここで言及している公開公報及びその他の参考資料は、以下の点を除いて、それらの全体が本明細書に参考として組み入れられている。前記参考資料のある部分が本願と矛盾している場合には、本願は前記参考資料を優先させる。ここで述べている参考資料は、本願の出願日に先行する開示に対してのみ提供されている。本願発明者が先行開示によってこのような開示に先行する権利又は前記参考資料内に開示されている主題から本発明を区別する権利を与えられていないことの示唆又は認定であると解釈されるべきものは何も存在しない。
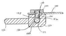
図1乃至8には脊椎固定装置が図示されている。特に図1を参照すると、本発明の脊椎固定装置100は、脊椎ロッドのような少なくとも1つの細長い部材110を含むことができ、これは、患者の脊椎10の少なくとも2つの椎間板12に取り付けられる構造及び大きさとすることができる。本発明の範囲を逸脱することなく1以上の細長い部材110を使用することができることは理解されるであろう。例えば、図1は、一緒に使用されている2つの細長い部材110を示している。脊椎固定装置100は、細長い部材110が取り付けられる形状及び大きさとすることができる箱形チャンバのような少なくとも1つの結合部材120を更に含んでいても良い。脊椎固定装置100はまた、結合部材120に取り付ける構造及び大きさとすることができるC字形クランプのようなクランプ部材150をも含んでいても良く、脊椎固定装置100は更に、患者の椎間板12の骨に固定され且つクランプ部材150に取り付けられる構造及び大きさとすることができる骨ねじのような締結部材160を含むこともできる。
1以上の細長い部材110を患者の脊椎10に固定しても良く且つ一つの細長い部材をプレートのような架橋部材170によって別の細長い部材110に固定することができることが理解されるであろう。前記架橋部材70は、別の細長い部材110に結合するために、患者の脊椎を横切って広がる形状及び大きさとされており、それによって、これら2つの細長い部材110を相互に結合し且つ装置100の全体的な安定性を高めることができる。細長い部材110は、第一の端部110a及び第二の端部110bを含むことができ且つほぼ円筒形とすることができる。前記細長い部材は、曲げ部無しのほぼ円筒形としても良く、又は別の方法として、ほぼ円筒形で且つ曲げ部を含んでいても良い。言い換えると、曲げ部が存在する場合には、次いで、第一の短い方の部分112及び第二の長い方の部分114が設けられていても良い。当該曲げ部は、第一の端部110aと第二の端部110bとの間に配置することができ且つ図1に示されているように、ほぼ90度の曲げ部であっても良い。しかしながら、当該曲げ部は、90度以上又は未満であっても良い。
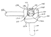
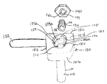
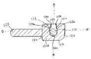
図2乃至8を参照すると、結合部材120と装置100の他の構成要素との詳細が示されている。特に図2乃至3を参照すると、結合部材120は、本体又は箱形チャンバ121とステム部分122とを含むことができる。ステム部分122は、ほぼ直角の形態で結合部材120の壁121のうちの一つから延びていても良い。例えば、ステム部分122は、図2に示されているように、壁121cから延びていても良い。
本体又は箱形チャンバ121は、頂面121a、底面121b及び複数の壁、例えば、頂面121aと底面121bとの間に延びている4つの壁121c〜121fを含んでいても良い。結合部材120は更に、細長い部材110を収容する構造及び大きさとされている貫通穴123と、壁124aによって規定することができる穴124とを更に含んでいても良い。貫通穴123と穴124との両方は、各々、穴123又は穴124の中心部内を貫通している中心軸線を含んでいても良い。穴124の中心軸線は、貫通穴123の中心軸線に対してほぼ直角に形成して、穴124が貫通穴123と交差するようにしても良い。更に、貫通穴123は、壁123aによって規定しても良く且つ細長い部材110を収容するための二重直径の貫通穴123を形成するために重ね合わせることができる第一の穴125と第二の穴126とを含んでいても良い。
第一の穴125及び第二の穴126は、各々、第一の壁125a及び第二の壁126aによって規定することができる。第一の穴125は、第二の穴126よりも大きく従って第二の穴126よりも大きい直径を有していても良い。第二の穴126の直径は、第一の穴の大きさの約80%乃至約95%の範囲内とすることができる。より特別には、第二の穴126の直径は、第一の穴125の直径の約80%乃至約94%の範囲内とすることができ、更に特別には、約90%乃至約93%の範囲内とすることができる。
図4乃至6に示されているように、結合部材120の本体部分121は、垂直軸線A−A及び横軸線B−Bを有することができる。横軸線B−Bは、垂直軸線A−Aにほぼ直角とすることができる。結合部材120の本体部分121は、垂直軸線A−Aを中心に、特に垂直軸線A−A及び横軸線B−Bを通る面に関してほぼ対称とすることができる。更に、結合部材120の本体部分121は、特に、図6に示されているように、横軸線B−Bを通り且つ垂直軸線A−Aにも直角とすることができる面に関して横軸線B−Bを中心に対称とすることができる。
結合部材120の貫通穴123は、結合部材120の垂直軸線A−Aに関して横切るか又は直角に延びていても良い。結合部材120は更に、貫通穴123を規定している壁123aを取り囲むことができる傾斜が付けられた端縁127を含んでいて、貫通穴123の半径が、前記傾斜が付けられた端縁127が第一の穴125の第一の壁125aを取り囲む傾斜が付けられた端縁位置ではより大きく、貫通穴123の半径は、第二の穴126の第二の壁126aを取り囲む傾斜が付けられた端縁127の位置ではより小さいようにすることができる。傾斜が付けられた端縁127は、結合部材120を、曲げることなく又は前記細長い部材110との干渉を生じることなく、細長い部材110に沿ってより容易に動かす形状及び大きさとすることができる。
更に、貫通穴123は、第一の穴125と第二の穴126との重なりにより、楕円に似た形状としても良い。しかしながら、貫通穴123は、完全な楕円であってもなくても良い。貫通穴123が完全な楕円でない場合には、前記貫通穴123は、本質的に2つの曲率半径部分を含んでいても良い。すなわち、第一の穴125のための第一の曲率半径部分と、第二の穴126のための第二の曲率半径部分とを有し、第一の曲率半径部分は第二曲率半径部分よりも大きくすることができる。第一の曲率半径部分は、結合部材120の頂面に隣接し且つ第二の曲率半径部分の上方に配置させることができる。
図4及び6を参照すると、穴124の形成は、結合部材120の頂面121aにおいて始まり、貫通穴123特に第一の穴125と交差している当該穴内への開口部で終わっていることがわかるであろう。装置100は更に、結合部材120の穴124内へ挿入できる形状及び大きさとすることができ且つ貫通穴123(図3に最も良く示されている)内で細長い部材110と係合して当該細長い部材110が前記固定部材130によって貫通穴123の第二の穴126の第二の壁126aと接触状態とされ、それによって細長い部材110を結合部材120の貫通穴123内に固定できることは理解されるべきである。ここでは、固定部材はときどき第一の固定部材130と称しても良いことが理解されるであろう。
前記第二の曲率半径部分は、前記細長い部材110の曲率半径部分とほぼ同じにしてこれら2つの構成部材間の接触を出来るだけ大きくするようにしても良いことが理解されるであろう。下方部分とすることができる第二の穴の壁126aと細長い部材110の外面110aとの間の接触はほぼ連続的であっても良い。実質的に連続的な接触は、固定部材130の細長い部材110との接触によって維持され、それによって、細長い部材110を貫通穴123内に本質的にクランプし且つ固定するようにしても良い。細長い部材110が固定部材130によって貫通穴123内のクランプ位置に位置決めされ且つ固定されて細長い部材110が結合部材120に対して実質的に固定されるようになされたときに、細長い部材110の外面110aの少なくとも約30%が貫通穴123のより小さな第二の曲率半径部分の壁126aとほぼ連続的な接触状態とすることができることは理解されるであろう。細長い部材110の外面110aは、貫通穴123の第二の小さい方の曲率半径部分の壁126aとほぼ連続的な接触状態とすることができ、このような接触は約31乃至約50%の範囲内とすることができ、又はより特別には約32乃至約45%、更に特別には約33%乃至約40%、更に特別には約34%乃至約38%更に特別には約35%の範囲内とすることができることは理解されるであろう。
例えば、細長い部材110の直径は約5.5mmとすることができ、第二の穴126の直径は同様に約5.5mmとして、細長い部材110と壁126aとの間の接触が実質的に連続的とすることができ、一方、第一の穴125は約6mmのより大きな直径を有するようにすることができる。その結果、貫通穴123は図面に示されているように、数字8の形状とすることができる(図4及び8参照)。貫通穴123の形状は、細長い部材110又は別の結合部材120さえも、曲げることなく且つ干渉することなく貫通穴123によって形成される経路に沿って又は当該経路内を動いて、結合部材120が、細長い部材110又はおそらくステム122に関して外科医が望むどこにでも有利に配置できるようにすることができる。
装置100は更に、解除可能に固定できる構造及び大きさとすることができるねじが切られたナットのような嵌合部材140を含み且つ結合部材120の穴124内に固定部材130を係止して固定部材130を穴124内に維持するようにすることができる。固定部材130は、ねじ部134を有している外面132を含んでいても良く、穴124を規定している壁124aもまた、ねじ部124bをも含んでいて、固定部材130のねじ部134が穴124のねじ部124bとかみ合い係合するようにしても良い。
嵌合部材140は、固定部材130のねじ部134とかみ合い係合することができるねじが切られた側壁144に対して形成することができる凹部142(図2に最も良く示されている)を含んでいても良いことが理解されるであろう。別の方法として、側壁144は、本発明の範囲から逸脱することなく、ねじが切られていなくても良いことも理解されるであろう。嵌合部材140が固定部材130に固定されているときには、嵌合部材140は、固定部材130を覆い且つ固定部材130が戻って穴124から外れないように維持するように機能することができる。
穴124内に完全に組み立てられた状態においては、固定部材130は、前記細長い部材110が例えば結合部材120の貫通穴123内のクランプ位置に固定的に取り付けられ且つ固定されて細長い部材110を結合部材120に対して固定できるように穴124内に着座させ且つ細長い部材110と接触可能に係合することができる。嵌合部材140は、固定部材130のねじ部134とかみ合い係合できるねじが切られた側壁によって規定することができる凹部142の代わりに完全な貫通穴を含んでいても良いことは理解されるべきである。
代替的な実施形態においては、固定部材130及び嵌合部材140は、本発明の範囲から逸脱することなくボルト又はねじと似た単一部材であっても良いことがわかるであろう。
図1及び7乃至9を参照すると、脊椎固定装置100はまた架橋部材170を含むこともできる。架橋部材170は、一つの細長い部材110を別の細長い部材110に連結することができるプレート又はその他の構造部材とすることができる。特に、架橋部材170は対向する端部171及び172を有することができ、対向端部171及び172の各々は鳩目173を含むことができ、対向端部171と172との間に主要な本体部分174が形成されている。架橋部材170の形状は、図1に図示されているようにすることができ又は図9に図示されているような別の形状とすることができることは理解されるであろう。当業者は、本発明の範囲から逸脱することなく架橋部材170の形状及び大きさを改造することができることは理解されるべきである。同様に、鳩目173の形状及び大きさも変え且つ改造しても良い。
固定部材130は架橋部材170の鳩目173を通して結合部材120の穴124内へ挿入することができることがわかるであろう。固定部材130が穴124に着座せしめることができるときは、固定部材130は、穴124を超え又は当該穴の下方へと延び且つ結合部材120の貫通穴123内へと延びて細長い部材110(図8に最も良く示されている)と接触することができることがわかるであろう。ひとたび固定部材130が細長い部材110と接触すると、細長い部材110に力がかかって細長い部材110が第二の穴126の壁126aと接触状態となって細長い部材110を貫通穴123内に固定し且つ更に架橋部材170を結合部材120に取り付けることができる。
嵌合部材140は、図1、7及び8に図示されているように、固定部材130に固定されて架橋部材170を結合部材120に固定又は固着するときに、架橋部材170に力をかけることができることはわかるであろう。従って、架橋部材170の鳩目173の形状及び大きさは、固定部材130がその中を貫通するように配置され且つ嵌合部材140によって前記架橋部材170に固定されるようにすることができる。従って、鳩目173は、固定部材130がその中を貫通して嵌合することができないほど小さくてはならず且つ嵌合部材140が固定部材130との結合又は相互作用によって結合部材に固定することができないほど大きくてはならない。
図10を参照すると、装置100は更に、C字形クランプとすることができるクランプ部材150を含んでいても良い。クランプ部材150は、細長い部材110又は結合部材120のステム部分122の一方又は両方と係合し且つクランプすることができる。特に図10には、第二の固定部材135、クランプ部材150及び締結部材160が示されており、これらは全て連結して、細長い部材110を、締結部材160、クランプ部材150及び第二の固定部材135によって脊椎上の定位置に係止する助けとすることができる機構を形成することができる。
締結部材160は、個々の椎間板の骨部分に固定される構造及び大きさとすることができる。締結部材160は例えば骨ねじとすることができる。しかしながら、締結部材160は、骨ピン又はその他の締結部材のような当該技術において知られた別のタイプの締結部材とすることができることは理解できるであろう。締結部材160は、装置100全体を患者の脊椎に固着するように機能できるようにクランプ部材150によって結合部材120に取り付けることができる。
締結部材160は、傾斜が付けられて雄型テーパーを形成することができる外面161aを有する頭部161を含んでいても良い。締結部材160は更に、中間カラー部162と、ねじ部163aを有している軸部163を含んでいても良い。頭部161の雄型テーパー外面161aは、基端から末端へ向かう方向に外方へ傾斜していても良く且つモールステーパー係止嵌合を形成する静止摩擦係合状態でクランプ部材150の第二の貫通穴156の雌型テーパー側壁156aとかみ合い係合するような形状及び大きさとすることができる。傾斜が付けられた側壁156a及び傾斜が付けられた外面161aの角度は自己係止傾斜角度の範囲内に含まれても良いことがわかるであろう。
雄型テーパー頭部161は、モールステーパー係止嵌合が生じているときに、第二の貫通穴156の雌型テーパー側壁156aの一部分がクランプ部材150の下方部分152の下側から突出するようにクランプ部材150の下側から第二の貫通穴156内へ挿入することができることがわかるであろう。
頭部161はまた、内側側壁165によって規定された凹部164を含んでいても良い。内側側壁はねじ部165aを含んでいても良い。凹部164にはねじが切られていても又は切られていなくても良く且つおそらく干渉嵌合又は当該技術において公知の他の手段のような第二の固定部材135と係合するための他の手段を含んでいても良い。
締結部材160は、第一の側部210及び第二の側部220を有することができ且つ前記中間カラー162が第一の側部210を第二の側部220から隔離している。第二の側部220は、締結部材160を骨に取り付けるためのねじ部163aを含んでいても良い。例えば、締結部材160の第二の側部220は、第一の側部210の長さの約2乃至10倍の範囲とすることができる。より特別には、第二の側部220の長さは、第一の側部210の長さの約2乃至6倍の範囲とすることができる。更に特別には、第二の側部220の長さは、第一の側部210の長さの約2乃至3倍の範囲とすることができる。中間カラー162は、両方の構造部片を締め付けるために、同じ工具を使用することができるように、第二の固定部材135の六角形の頭部136と同じ大きさとすることができる六角形状の構造及び寸法とすることができる。
クランプ部材150は、上方部分151及び下方部分152と、当該上方部分151と下方部分152とを結合している壁153とを含むことができる。下方部分152は、上方部分151とほぼ同じ厚みとすることができ、又は別の方法として、下方部分152はクランプ部材150の上方部分の厚みの少なくとも2倍としても良い。更に、上方部分151、下方部分152及び壁153は、各々、横方向貫通穴155を規定している部分又は壁155aを規定することができる。上方部分151は、第一の貫通穴154を含んでいても良く、当該第一の貫通穴154は、ねじ部154aを含んでいてもいなくても良い。下方部分152は、側壁156aによって規定することができる第二の貫通穴156を含んでいても良い。側壁156aは、前記第二の貫通穴が内側の雌型テーパーを含むことができるように傾斜が付けられていても良い。傾斜が付けられている側壁156aは、基端から末端方向へ外方に向かって傾斜していても良い。横方向貫通穴155は、細長い部材110又はステム122を内部に収容し、クランプし及び係止する構造及び大きさとすることができる。
止めねじ又はその他の固定部材とすることができる第二の固定部材135は、頭部136と軸部137とを含むことができる。当業者は、外科的処置時間は、同じ大きさの工具によって締結し且つ配置することができる類似した大きさの構成部品の使用によって短くすることができることは理解できるであろう。例えば、頭部136は、六角形状とすることができ且つ締結部材160の類似した中間カラー部分162と同じ大きさの工具に嵌合する形状及び大きさとすることができる。六角形の頭部136の代わりに多角形又はその他の公知の他の形状が当業者によって使用されても良く、このような変形例は、本発明の範囲内に包含されることが意図されている。第二の固定部材135の軸部分137は、締結部材160の頭部161内に形成されている凹部164の対向する雌ねじ部165aとかみ合う構造及び大きさとすることができる雄ねじ部138を含んでいても良い。
更に、第二の固定部材135は、図10において距離Aによって示されているベース幅を含むことができ、この幅は、クランプ部材150の第一の貫通穴154の対応する穴よりも小さい。当該対応する穴は、符号Bによって示されており、幅Aは幅Bよりも小さくすることができる。更に、上方部分151と下方部分152とは、第二の固定部材135が障害又は干渉なくクランプ部材150の第一の貫通穴154を貫通することができ、それによって、雄ねじ部138が締結部材160の雌ねじ部165とねじ係合できるようにすることができるように調整することができる。
締結部材160とクランプ部材150との間でモールステーパー連結嵌合が開始された後に、細長い部材110は、クランプ部材150に固定又はクランプされても良い。これは、クランプ部材150の上方部分を介して締結部材160の凹部164内へ第二の固定部材135の軸部分137を挿入して雄ねじ部138を雌ねじ部165にねじ係合させることによって達成される。更に、上方部分151と下方部分152とは、各々、限られた弾性度を有し且つ角度βだけ他方に対してずらしても良い(角度βは0度よりも大きくすることができる)。例えば、角度βは、約3乃至約6度の範囲内として、上方部分151の底面151aが下方部分152の頂面152aに平行にならないようにすることができる。上方部分151と下方部分152との間のずれは、横方向貫通穴155内での細長い部材110又はステム122の位置決め及びクランプの助けとすることができる。クランプ部材150に対する細長い部材110又はステム122のクランプは、少なくとも部分的には雄ねじ部138と雌ねじ部165とのねじ係合及び締結部材160に対する第二の固定部材135の締結により、クランプ部材150の上方部分151に圧縮力がかけられたときに生じる。
クランプ部材150は、係止位置及び非係止位置を有することができる。自然な状態においては、クランプ部材150は、非係止位置に留まったままでいることができる。クランプ部材150は、何回か係止されたり非係止とされたりすることができ且つ力が解放されたときにその本来の非付勢形状に依然として留まることができる。係止位置すなわちクランプ部材150の上方部材151がクランプ部材150に向けて圧縮されている状態のときには、上方部分151は、下方部分152に接触しないことがわかるであろう。圧縮力は、第一の貫通穴154を介し且つ締結部材160の凹部164内への第二の固定部材135の挿入によって生じさせることができ、それに続く、締結部材160への第二の固定部材135の締結及び固定によって、クランプ部材150が係止位置に維持される。従って、第二の固定部材135からの圧縮力によって、細長い部材110及びステム122がクランプ部材150を介して所望の位置にクランプされる。
モールステーパー係止嵌合は、全体として、装置100に対する付加的な強度及び支持を提供することができる。モールステーパー係止嵌合は、係合したときに、締結部材160とクランプ部材150とが器具又は引離し機(図示せず)の助けなしで容易に分離させることができない。モールステーパー嵌合は、円筒形の頭部と比較して、クランプ部材150の締結部材160への取り付けの容易性を増大させ且つ多軸ねじに高い強度を提供することができる。更に、第二の固定部材135、クランプ部材150及び締結部材160を含くむ構造は、患者の内部組織にさほど接触せず、患者に対して高い快適さをもたらす高さが低い装置を形成することができる。モールステーパー係止嵌合はまた、手術中に外科医が取り付ける必要がある個々の部片及び構成要素の数をも低減し且つ工業的に使用される他の装置よりもはるかに低い嵩をもたらすことができる。モールステーパー係止嵌合が当該装置を定位置にしっかりと保持することが出来るので、装着及び挿入中における動き及びぐらつきの可能性が減じられる。
図12を参照すると、クランプ部材150の下方部分152の下側157は、第二の貫通穴156を包囲することができる複数の第一のスプライン157a又は別の方法として少なくとも1つの第一のスプライン157aを含むことができる。図11を参照すると、中間カラー162の上面は、頭部161のテーパーが付けられた外面161aを包囲することができる複数の対応する第二のスプライン157b又はさもなければ少なくとも1つの第二のスプライン157bを含んでいても良い。第二のスプライン157bは、締結部材160とクランプ部材150との間に回転防止特性を提供するために、第一のスプライン157aとかみ合い係合する構造及び大きさとすることができる。第一のスプライン157aと第二のスプライン157bとは、所望ならば、複数の選択可能な位置で相互にかみ合い係合する構造として、クランプ部材150が複数の向きで締結部材160に取り付けることができるようにすることができる。
図10を更に全体的に参照すると、クランプ部材150は、外力がかからない自然な状態である第一の位置と、閉塞された位置である第二の位置とを含み、上方部分151と下方部分152との間のスリット112が完全に閉じる必要がなく、それによって、上方部分151が、上方部分151の面が底に達しないか又は下方部分152の面に接触することなく圧縮されるのを可能にすることができるようにすることができる。
上記の特徴及び組み合わせに従って、患者の脊椎の少なくとも2つの椎間板上に脊椎固定装置を組み立てる有用な方法は、以下のステップを含んでいる。すなわち、当該方法は、
(a)外面を有し且つ患者の脊椎の少なくとも2つの椎間板に取り付けられる構造及び大きさとされている少なくとも1つの細長い部材と、当該細長い部材を固着し且つ固定する構造及び大きさとされている少なくとも1つの固定部材と、内部に前記固定部材を収容する構造及び大きさとされている穴を含んでいる少なくとも1つの結合部材とを提供するステップであり、前記結合部材は更に、内部に前記細長い部材を収容するための二重直径の貫通穴を形成するために重なる第一の大きい方の穴と第二の小さい方の穴とを更に含み、前記第一及び第二の穴は各々第一及び第二の壁によって規定されており、前記結合部材に設けられた穴は前記第一の大きい方の穴と交差し且つ当該第一の大きい方の穴に対して開口しているステップと、
(b)前記細長い部材を前記結合部材の前記貫通穴内へ挿入して、前記細長い部材が前記貫通穴の前記第一の穴内で自由に動くことができるようにするステップと、
(c)前記固定部材を前記結合部材に設けられた穴に取り付けて、前記固定部材が前記結合部材に設けられた穴を通って前記第一の穴内へと延び且つ前記細長い部材と接触するようにさせるステップと、
(d)前記細長い部材に力がかかり且つ前記細長い部材の外面が前記第二の穴の前記第二の壁にかみ合い係合して前記細長い部材が前記第二の穴内に固定されるように前記固定部材を締結するステップとを含んでいる。
以上の詳細な説明においては、本発明を合理化するために、本発明の種々の特徴が単一の実施形態内に一まとめにされている。開示されたこの方法は、本発明が各請求項において特に明示的に列挙されているよりも多くの特徴を必要とするという意図を反映するものと解釈されるべきではない。むしろ、本発明の特徴は、各請求項が反映しているように、以上に開示された単一の実施形態の全てに存在する。従って、特許請求の範囲の各請求項は、詳細な説明の中に組み入れられており且つ本発明の別個の実施形態として独立して主張している。
上記の構造は、本発明の原理の用途の単なる例示であることは理解されるべきである。多くの変形及び代替的な構造が、本発明の精神及び範囲から逸脱することなく、当業者によって考えられても良く、特許請求の範囲は、このような変形及び配置を包含することを意図している。従って、本発明を図面に示し且つ特別に且つ詳細に上記したが、限定的ではないが、大きさ、材料、形状、形態、機能及び作動方法の変更、組み立て、使用方法を含む種々の変形例を、ここに記載された原理及び概念から逸脱することなくなすことができることは当業者に明らかであろう。
図1は、本発明の原理に従って作られた患者の脊椎上特に腰仙椎内で示された脊椎固定装置の平面図である。 図2は、結合部材及び分解されたその構成部品及び更に細長いロッドを示している斜視図である。 図3は、図2の結合部材及び分解されたその構成部品を示している斜視図であり、固定部材が前記細長いロッドと係合している。 図4は、本発明の原理に従って作られた結合部材及びその構成部品の分解側面図である。 図5は、内部に延びている細長い部材を備えた結合部材の前面図である。 図6は、結合部材の側方断面図及び図5の断面VI−VIに沿って断面された細長い部材の断面図である。 図7は、本発明の原理に従って作られた、内部に延びている細長い部材を備えた結合部材及びその構成部品の前面図である。 図8は、図7の断面VIII−VIIIに沿って見た結合部材、その構成部品及び細長い部材の側方断面図である。 図9は、本発明の原理に従って作られた架橋部材の頂面図である。 図10は、本発明の原理に従って作られた第二の固定部材を備えた締結部材及びクランプ部材の分解側面図である。 図11は、図10の締結部材の頂面図である。 図12は、図10のクランプ部材の底面図である。

Claims (65)

  1. 脊椎固定装置であり、
    脊椎の少なくとも2つの椎間板に取り付けられる構造及び大きさとされ且つ直径を有する外面を含んでいる少なくとも1つの細長い部材と、
    前記細長い部材を内部に収容できる構造及び大きさとされている貫通穴を含んでいる少なくとも1つの結合部材であり、前記貫通穴が壁によって規定されており且つ直径を有し、当該貫通穴の直径は、少なくとも大きい方の第一の曲率半径部分と小さい方の第二の曲率半径部分とを含んでいる前記少なくとも1つの結合部材とを含み、
    前記細長い部材が前記貫通穴内のクランプ位置に位置決めされ且つ固定されているときに、前記細長い部材の外面の少なくとも30%が、前記貫通穴の前記小さい方の第二の曲率半径部分を規定している壁内にほぼ連続的に接触して前記細長い部材が前記結合部材に対して固定されるようになされている脊椎固定装置。
  2. 請求項1に記載の脊椎固定装置であり、
    個々の椎間板の骨部分に固定される構造及び大きさとされている締結部材を更に含んでいる脊椎固定装置。
  3. 請求項2に記載の脊椎固定装置であり、
    前記結合部材が、当該結合部材の側部から直角に延びているステム部分を含んでいる脊椎固定装置。
  4. 請求項3に記載の脊椎固定装置であり、
    クランプ部材を更に含んでおり、当該クランプ部材は、前記ステム部分に係合し且つクランプし、前記締結部材は、前記クランプ部材によって前記結合部材に取り付けられる骨ねじであり、その結果、前記骨ねじが当該装置を脊椎に固着するようになされた脊椎固定装置。
  5. 請求項1に記載の脊椎固定装置であり、
    前記結合部材が、頂面、底面及び内部に形成された開口を更に含んでおり、当該開口は、壁によって規定されており且つ当該結合部材の頂面から始まり且つ前記結合部材の貫通穴内へ開口し且つ交差することによって終端するように形成されている脊椎固定装置。
  6. 請求項5に記載の脊椎固定装置であり、
    前記結合部材の開口内へ挿入され且つ前記結合部材の貫通穴内に配置されているときに前記細長い部材と係合する構造及び大きさとされている固定部材を更に含み、その結果、前記細長い部材が前記固定部材によって前記結合部材の貫通穴の前記第二の曲率半径部分の壁と接触せしめられて、前記細長い部材を前記結合部材の前記貫通穴内に固定するようになされている椎固定装置。
  7. 請求項6に記載の脊椎固定装置であり、
    前記固定部材を、前記結合部材の開口内に解放可能に固定し且つ係止して前記固定部材を維持する構造及び大きさとされている嵌合部を更に含んでいる脊椎固定装置。
  8. 請求項7に記載の脊椎固定装置であり、
    前記固定部材が、ねじ部と前記開口を規定している壁とを含んでおり、前記固定部材のねじ部は、前記開口を規定している壁のねじ部とかみ合い係合している脊椎固定装置。
  9. 請求項8に記載の脊椎固定装置であり、
    前記嵌合部が、前記固定部材のねじ部とかみ合い係合しているねじが切られた側壁によって形成された凹部を更に含んでいて、それによって、前記固定部材が前記開口内に着座せしめられ且つ前記細長い部材と接触係合し、その結果、前記細長い部材が前記結合部材の貫通穴内に固定され且つクランプされ、それによって、前記細長い部材を前記結合部材に対して固定するようになされている脊椎固定装置。
  10. 請求項8に記載の脊椎固定装置であり、
    前記嵌合部材が、前記結合部材のねじ部とかみ合い係合するねじが切られた側壁によって規定された結合部材の貫通穴を含んでいる脊椎固定装置。
  11. 請求項1に記載の脊椎固定装置であり、
    各々が鳩目を備え且つ間に本体が形成されている対向端部を有している架橋部材を更に含んでいる脊椎固定装置。
  12. 請求項11に記載の脊椎固定装置であり、
    前記結合部材が、中心軸線を有し且つ前記結合部材の頂面に形成されている開口を更に含み、当該開口の前記中心軸線は、当該開口が前記結合部材の貫通穴と交差するように、前記結合部材の貫通穴の中心軸線に対してほぼ直角に形成されている脊椎固定装置。
  13. 請求項12に記載の脊椎固定装置であり、
    固定部材を更に含んでおり、当該固定部材は、前記架橋部材の鳩目を通り且つ前記結合部材の開口内へと挿入され、その結果、前記固定部材が、前記開口を越えて前記結合部材の貫通穴内へと延び且つ前記細長い部材と接触し、それによって、前記細長い部材を前記結合部材の貫通穴内に固定し且つ更に前記架橋部材を前記結合部材に取り付ける力か前記細長い部材にかけられるようになされた脊椎固定装置。
  14. 請求項1に記載の脊椎固定装置であり、
    前記細長い部材がほぼ円筒形である脊椎固定装置。
  15. 請求項1に記載の脊椎固定装置であり、
    前記細長い部材が第一の端部と第二の端部とを含み、前記細長い部材は、前記第一の端部と第二の端部との間に堅固な90度の曲がり部を有している脊椎固定装置。
  16. 請求項15に記載の脊椎固定装置であり、
    前記細長い部材が、第一の部分と第二の部分とを含んでおり、前記第一の部分が前記第二の部分よりも長さが短くされている脊椎固定装置。
  17. 請求項1に記載の脊椎固定装置であり、
    前記結合部材が、頂面、底面及び当該頂面と底面との間に延びている4つの壁面とを含んでいる箱形チャンバであり、当該結合部材の4つの壁のうちの1つから直角にステム部分が延びている脊椎固定装置。
  18. 請求項17に記載の脊椎固定装置であり、
    前記結合部材の貫通穴が二重の直径を有しており、前記第一の曲率半径部分が前記結合部材の頂面に隣接し且つ前記第二の曲率半径部分の上方に配置されている脊椎固定装置。
  19. 請求項1に記載の脊椎固定装置であり、
    前記結合部材の貫通穴を規定している壁を斜縁が取り巻いていて、前記第一の曲率半径部分において前記壁を取り巻いている前記斜縁よりも大きい直径を形成している脊椎固定装置。
  20. 請求項1に記載の脊椎固定装置であり、
    前記結合部材が、前記結合部材の貫通穴の各側部において前記結合部材の貫通穴内につながっている斜縁を含んでいる脊椎固定装置。
  21. 請求項1に記載の脊椎固定装置であり、
    前記細長い部材が、実質的に円筒形であり且つ曲率半径部分を含んでおり、前記結合部材の貫通穴の第二の曲率半径部分が、前記細長い部材の曲率半径部分とほぼ同じであって、前記細長い部材の外面と前記第二の曲率半径部分を規定している壁との間に連続的な接触が存在するようになされている脊椎固定装置。
  22. 請求項21に記載の脊椎固定装置であり、
    前記細長い部材の外面と前記第二の曲率半径部分を規定している壁との間の連続的な接触の量が、約31%乃至約50%の範囲内である脊椎固定装置。
  23. 請求項22に記載の脊椎固定装置であり、
    前記連続的な接触の量が、約32%乃至約45%の範囲内である脊椎固定装置。
  24. 請求項23に記載の脊椎固定装置であり、
    前記連続的な接触の量が、約33%乃至約40%の範囲内である脊椎固定装置。
  25. 請求項24に記載の脊椎固定装置であり、
    前記連続的な接触の量が、約34%乃至約38%の範囲内である脊椎固定装置。
  26. 請求項25に記載の脊椎固定装置であり、
    前記連続的な接触の量が約35%である脊椎固定装置。
  27. 請求項1に記載の脊椎固定装置であり、
    前記少なくとも1つの細長い部材が2つのほぼ円筒形のロッドを含んでいる脊椎固定装置。
  28. 請求項27に記載の脊椎固定装置であり、
    少なくとも1つの結合部材が前記ほぼ円筒形のロッドの各々に取り付けられている脊椎固定装置。
  29. 請求項28に記載の脊椎固定装置であり、
    前記ほぼ円筒形のロッドのうちの1つに配置された1つの結合部材を、前記ほぼ円筒形のロッドのうちの他のものに配置されている別の結合部材に取り付けるための架橋部材を更に含んでおり、それによって、前記2つのほぼ円筒形のロッドを相互に結合して当該装置全体に安定性を付与している脊椎固定装置。
  30. 請求項1に記載の脊椎固定装置であり、
    架橋部材を更に含んでいる脊椎固定装置。
  31. 請求項1に記載の脊椎固定装置であり、
    前記第二の曲率半径部分の相対的な大きさが、前記第一の曲率半径部分の相対的な大きさの約80%乃至約95%である脊椎固定装置。
  32. 請求項31に記載の脊椎固定装置であり、
    前記第二の曲率半径部分の相対的な大きさが、前記第一の曲率半径部分の相対的な大きさの約85%乃至約94%である脊椎固定装置。
  33. 請求項32に記載の脊椎固定装置であり、
    前記第二の曲率半径部分の相対的な大きさが、前記第一の曲率半径部分の相対的な大きさの約90%乃至約93%である脊椎固定装置。
  34. 請求項1に記載の脊椎固定装置であり、
    前記少なくとも1つの結合部材が、頂面、底面及び前記頂面と底面との間に延びている複数の壁を含んでおり、
    前記結合部材の貫通穴が壁によって規定されており且つ半径を含んでおり、前記結合部材の貫通穴の壁が、少なくとも第一の曲率半径部分と、前記結合部材の貫通穴の直径の第二の曲率半径部分とを規定しており、
    前記第一の曲率半径部分が前記第二の曲率半径部分よりも大きく、前記細長い部材が前記結合部材の貫通穴内のクランプ位置に配置され且つ固定されているときに、前記第一の曲率半径部分が、前記結合部材の頂面に隣接し且つ前記第二の曲率半径部分の上方に配置されており、その結果、前記細長い部材が前記結合部材に対して固定されている脊椎固定装置。
  35. 請求項34に記載の脊椎固定装置であり、
    個々の椎間板の骨部分に固定されるような構造及び大きさとされている締結部材を更に含んでいる脊椎固定装置。
  36. 請求項35に記載の脊椎固定装置であり、
    前記結合部材が、当該結合部材の壁のうちの1つから直角に延びているステム部分を含んでいる脊椎固定装置。
  37. 請求項36に記載の脊椎固定装置であり、
    クランプ部材を更に含み、当該クランプ部材は、前記ステム部分に係合し且つ当該ステム部分をクランプし、前記締結部材が、当該装置を脊椎に固着するように前記クランプ部材によって前記結合部材に取り付けられる骨ねじである脊椎固定装置。
  38. 請求項34に記載の脊椎固定装置であり、
    前記結合部材が前記頂面内に形成されている開口を更に含んでおり、当該開口は前記結合部材の前記頂面において始まり且つ前記結合部材の貫通穴内へ開口し且つ交差することによって終端している脊椎固定装置。
  39. 請求項38に記載の脊椎固定装置であり、
    前記細長い部材が前記結合部材の貫通穴内に配置されるときに前記結合部材の前記開口内に挿入され且つ前記細長い部材に係合する構造及び大きさとされた固定部材を更に含み、前記細長い部材が前記結合部材の貫通穴の前記第二の曲率半径部分と接触状態になるように、前記固定部材によって付勢されて前記細長い部材を前記結合部材の貫通穴内に固定するようになされている脊椎固定装置。
  40. 請求項39に記載の脊椎固定装置であり、
    前記結合部材の前記開口内に前記固定部材を解放可能に固定及び係止して前記固定部材を内部に維持する構造及び大きさとされている嵌合部材を更に含んでいる脊椎固定装置。
  41. 請求項40に記載の脊椎固定装置であり、
    前記固定部材がねじ部を含み、前記開口を規定している壁もねじ部を含み、前記固定部材のねじ部が前記開口を規定している壁のねじ部とかみ合い係合している脊椎固定装置。
  42. 請求項41に記載の脊椎固定装置であり、
    前記嵌合部材が、前記固定部材のねじ部とかみ合い係合するねじが切られた側壁によって形成された凹部を含んでおり、それによって、前記固定部材が前記開口内に着座せしめられ且つ前記細長い部材と接触可能に係合しているときに当該固定部材が後方へ外れないように覆い且つ保持して、前記細長い部材が前記結合部材の貫通穴内に固定され且つクランプされ、それによって、前記細長い部材を前記結合部材に対して固定するようになされている脊椎固定装置。
  43. 請求項34に記載の脊椎固定装置であり、
    対向端部を有している架橋部材を更に含み、前記対向端部の各々が鳩目を含んでおり、
    前記対向端部間に本体が形成されている脊椎固定装置。
  44. 請求項43に記載の脊椎固定装置であり、
    前記結合部材が、中心軸線を有し且つ前記結合部材の頂面に形成されている開口を更に含んでおり、当該開口の中心軸線は、前記結合部材の貫通穴の中心軸線に対してほぼ直角に形成されて、前記開口が当該結合部材の貫通穴に交差するようになされている脊椎固定装置。
  45. 請求項44に記載の脊椎固定装置であり、
    固定部材を更に含んでおり、当該固定部材は、前記架橋部材の鳩目内を通り且つ前記結合部材の開口内へと挿入されて、前記固定部材が前記開口を越えて前記結合部材の貫通穴内へ延び且つ前記細長い部材と接触し、それによって、前記結合部材の貫通穴内に前記細長い部材を固定し且つ更に前記架橋部材を前記結合部材に取り付ける力を前記細長い部材にかけるようになされている脊椎固定装置。
  46. 請求項34に記載の脊椎固定装置であり、
    前記結合部材が、当該結合部材の貫通穴の各側部に、当該結合部材の貫通穴内へつながっている斜縁を含んでいる脊椎固定装置。
  47. 請求項1に記載の脊椎固定装置であり、
    前記少なくとも1つの結合部材は、重なり合って前記細長い部材を内部に収容するための二重の直径の結合部材の貫通穴を形成するための第一及び第二の穴を含んでおり、当該第一及び第二の穴は、各々、第一の壁及び第二の壁によって規定されており、当該第一の穴は前記第二の穴よりも直径が大きく、
    前記結合部材は、側壁によって規定されている開口を更に含んでおり、当該開口は前記第一の穴と交差しており、
    更に、前記結合部材の開口の側壁とかみ合い係合し且つ前記第二の穴内に前記細長い部材を固定する構造及び大きさとされ、前記開口を越えて前記第一の穴内へと延びるのに十分な長さを有している固定部材を含み、
    当該固定部材は、前記細長い部材に接触して、当該細長い部材に力がかけられて前記細長い部材の外面が前記第二の穴の前記第二の壁とかみ合い係合し、それによって、前記第二の穴内に前記細長い部材を固定するようになされている脊椎固定装置。
  48. 請求項47に記載の脊椎固定装置であり、
    前記結合部材の開口が当該結合部材の貫通穴の中心軸線にほぼ直角に形成されている中心軸線を有して、当該結合部材の開口が当該結合部材の貫通穴と交差するようになされている脊椎固定装置。
  49. 請求項47に記載の脊椎固定装置であり、
    前記細長い部材が、前記第二の穴の直径とほぼ同じ直径を有し、前記第一の穴の直径が前記細長い部材の直径及び前記第二の穴の両方よりも大きくなされている脊椎固定装置。
  50. 請求項に47記載の脊椎固定装置であり、
    個々の椎間板の骨部分に固定される構造及び大きさとされている締結部材を更に含んでいる脊椎固定装置。
  51. 請求項50に記載の脊椎固定装置であり、
    前記結合部材が、当該結合部材の側部から直角に延びているステム部分を含んでいる脊椎固定装置。
  52. 請求項51に記載の脊椎固定装置であり、
    クランプ部材を更に含んでおり、当該クランプ部材は、前記ステム部分に係合し且つクランプし、前記締結部材が、前記クランプ部材によって前記結合部材に取り付けられる骨ねじであり、当該骨ねじが当該脊椎固定装置を脊椎に固着するようになされている骨ねじである前記クランプ脊椎固定装置。
  53. 請求項47に記載の脊椎固定装置であり、
    前記結合部材が頂面と底面とを更に含み、前記結合部材の開口が壁によって規定されており、当該結合部材の開口が、前記結合部材の頂面において始まり、前記結合部材の貫通穴の前記第一の穴に対して開口し且つ交差する点で終端するように形成されている脊椎固定装置。
  54. 請求項53に記載の脊椎固定装置であり、
    嵌合部材を更に含み、当該嵌合部材は、前記固定部材を前記結合部材の前記開口内に解放可能に固定且つ係止して保持する構造及び大きさとされている脊椎固定装置。
  55. 請求項54に記載の脊椎固定装置であり、
    前記固定部材が、ねじ部を含んでいる外壁を含んでおり、前記結合部材の開口を規定している前記壁がねじ部を含んでおり、前記固定部材のねじ部が、前記結合部材の開口を規定している前記壁のねじ部とかみ合い係合している脊椎固定装置。
  56. 請求項55に記載の脊椎固定装置であり、
    前記嵌合部材が、ねじが切られた側壁によって形成され且つ前記固定部材のねじ部とかみ合い係合して前記固定部材が前記結合部材の開口内に着座せしめられ且つ前記細長い部材と接触可能に係合しているときに前記固定部材が戻って外れないように覆い且つ保持する凹部を含んでおり、その結果、前記細長い部材が、前記結合部材の貫通穴の第二の穴内に固定され且つクランプされて前記細長い部材が前記結合部材に対して固定されるようになされている脊椎固定装置。
  57. 請求項47に記載の脊椎固定装置であり、
    各々が鳩目を含んでおり且つ間に本体が形成されている対向端部を有している架橋部材を更に含んでいる脊椎固定装置。
  58. 請求項57に記載の脊椎固定装置であり、
    前記固定部材が、前記架橋部材の鳩目の中を通り且つ前記結合部材の開口内へ挿入されて、前記架橋部材を前記結合部材に取り付けるようになされている脊椎固定装置。
  59. 請求項47に記載の脊椎固定装置であり、
    前記結合部材が、当該結合部材の貫通穴の各側部上に当該結合部材の貫通穴の第一及び第二の穴内につながっており且つ取り巻いている斜縁を含んでいる脊椎固定装置。
  60. 請求項1に記載の脊椎固定装置であり、
    前記少なくとも1つの結合部材が、第一の垂直軸線と、当該垂直軸線にほぼ直角の第二の横軸線とを有する本体部分を含んでおり、
    前記少なくとも1つの結合部材は更に、互いに重なって内部に細長い部材を収容するための二重の直径の穴を形成している第一及び第二の穴を更に含んでおり、
    前記第一の穴は前記第二の穴よりも直径が大きく、
    前記結合部材は、側壁によって規定され且つ前記第一の穴と交差している開口を更に含んでおり、
    前記細長い部材の本体部分は前記垂直軸に関して対称である脊椎固定装置。
  61. 請求項60に記載の脊椎固定装置であり、
    前記結合部材の本体部分は前記横軸線に関して非対称である脊椎固定装置。
  62. 請求項60に記載の脊椎固定装置であり、
    外面を有しており且つ脊椎の少なくとも2つの椎間板に取り付けられる構造及び大きさとされている少なくとも1つの細長い部材を更に含んでいる脊椎固定装置。
  63. 請求項62に記載の脊椎固定装置であり、
    前記結合部材の開口の側壁とかみ合い係合し且つ前記細長い部材を前記第二の穴内に固定する構造及び大きさとされている固定部材を更に含み、当該固定部材が、前記結合部材の開口を越え且つ前記第一の穴内へと延びるのに十分な長さを有している脊椎固定装置。
  64. 請求項63に記載の脊椎固定装置であり、
    前記固定部材が前記細長い部材と接触して、当該細長い部材の外面が前記第二の穴の第二の壁とかみ合い係合して、前記第二の穴内に固定されるようになされている脊椎固定装置。
  65. 請求項60に記載の脊椎固定装置であり、
    前記結合部材が前記本体部分から外方へ延びているステム部分を含んでいる脊椎固定装置。
JP2006328345A 2005-12-05 2006-12-05 部分的接触のロッド接触部を備えた箱形チャンバ Pending JP2007152115A (ja)

Applications Claiming Priority (1)

Application Number Priority Date Filing Date Title
US74282905A 2005-12-05 2005-12-05

Publications (1)

Publication Number Publication Date
JP2007152115A true JP2007152115A (ja) 2007-06-21

Family

ID=38237166

Family Applications (1)

Application Number Title Priority Date Filing Date
JP2006328345A Pending JP2007152115A (ja) 2005-12-05 2006-12-05 部分的接触のロッド接触部を備えた箱形チャンバ

Country Status (1)

Country Link
JP (1) JP2007152115A (ja)

Similar Documents

Publication Publication Date Title
US8882817B2 (en) Spinal fixation system
US11123110B2 (en) Posterior cervical fixation system
EP1996098B1 (en) Spinal cross-connector
EP2769692B1 (en) Iliosacral polyaxial screw
US8192471B2 (en) Rod attachment for head to head cross connector
JP4664351B2 (ja) 中心軸位置が合わされた棒を有する柄接合用ねじ組立体
JP2005507704A (ja) 脊柱、その他の骨及び関節の矯正器具用の調整可能な直列コネクター
US20080021454A1 (en) Sacral or iliac connector
US20110230917A1 (en) Adjustable multi-axial spinal coupling assemblies
US20090125067A1 (en) In-line occipital plate and method of use
KR20100087334A (ko) 외과적 고정 시스템 및 그에 관한 방법
JP2006503672A (ja) 脊椎インプラントのための多軸交差結合連結システム
WO2008013624A2 (en) Articulating sacral or iliac connector
JP2009511171A (ja) 骨接合手術の際に脊椎を固定するための多方向移動装置
JP2006507099A (ja) 脊椎に外科処置を施すための伸延及び牽引システム
US9801662B2 (en) Spinal stabilization system
US20090240291A1 (en) Breached pedicle screw
WO2019074676A1 (en) TRANSLATIONAL POSTERIOR CERVICAL POLYAXIAL SCREW
US9095378B2 (en) Spinal stabilization system
US11998244B2 (en) Minimally invasive surgery add on screw system
US20160128734A1 (en) Threaded Setscrew Crosslink
JP2007152115A (ja) 部分的接触のロッド接触部を備えた箱形チャンバ
AU2014200455B2 (en) Spinal Fixation System