JP2006306135A - Rear bodywork of vehicle - Google Patents

Rear bodywork of vehicle Download PDF

Info

Publication number
JP2006306135A
JP2006306135A JP2005127796A JP2005127796A JP2006306135A JP 2006306135 A JP2006306135 A JP 2006306135A JP 2005127796 A JP2005127796 A JP 2005127796A JP 2005127796 A JP2005127796 A JP 2005127796A JP 2006306135 A JP2006306135 A JP 2006306135A
Authority
JP
Japan
Prior art keywords
joined
side frame
wheel house
floor panel
vehicle
Prior art date
Legal status (The legal status is an assumption and is not a legal conclusion. Google has not performed a legal analysis and makes no representation as to the accuracy of the status listed.)
Granted
Application number
JP2005127796A
Other languages
Japanese (ja)
Other versions
JP4696664B2 (en
Inventor
Morikazu Sakamoto
守一 坂本
Yoshiaki Murakami
吉昭 村上
Current Assignee (The listed assignees may be inaccurate. Google has not performed a legal analysis and makes no representation or warranty as to the accuracy of the list.)
Mazda Motor Corp
Original Assignee
Mazda Motor Corp
Priority date (The priority date is an assumption and is not a legal conclusion. Google has not performed a legal analysis and makes no representation as to the accuracy of the date listed.)
Filing date
Publication date
Application filed by Mazda Motor Corp filed Critical Mazda Motor Corp
Priority to JP2005127796A priority Critical patent/JP4696664B2/en
Publication of JP2006306135A publication Critical patent/JP2006306135A/en
Application granted granted Critical
Publication of JP4696664B2 publication Critical patent/JP4696664B2/en
Anticipated expiration legal-status Critical
Expired - Fee Related legal-status Critical Current

Links

Images

Landscapes

  • Body Structure For Vehicles (AREA)

Abstract

<P>PROBLEM TO BE SOLVED: To enhance the supporting stiffness in supporting a suspension cross mounting bolt on a side frame by enhancing the stiffness and strength of a coupling part between a wheel house, a floor panel, and the side frame using a simple structure. <P>SOLUTION: A rear bodywork of a vehicle configured so that the outer end of the side frame 7 is joined with the wheel house 8 and the floor panel 6 is joined with the side frame 7, includes a reinforcing gusset 9 having a greater plate thickness than the floor panel 6, wherein the gusset 9 is furnished with a horizontal plate part 9a with the inner end joined with a horizontal flange part 7c at the inner end of the side frame 7 and a flange part 9b extended along the vehicle width direction inner surface of the wheel house 8 from the outer end of the horizontal plate part 9a, and the flange part 9b is joined with the outer end of the side frame 7 and the wheel house 8 while the outer end of the floor panel in the neighborhood of the wheel house is joined with the inner end of the gusset. <P>COPYRIGHT: (C)2007,JPO&INPIT

Description

本発明は、車両の後部車体構造に関し、特にホイルハウスとフロアパネルとサイドフレームの結合部の剛性・強度を補強ガセットにより向上させたものに関する。   The present invention relates to a rear body structure of a vehicle, and more particularly to a structure in which the rigidity and strength of a joint portion of a wheel house, a floor panel, and a side frame are improved by a reinforcing gusset.

車両の後輪用のホイルハウスにサスペンションのダンパーを支持するダンパー支持部(別名、サスタワー)が設けられ、後輪に作用する大きな荷重がダンパー支持部に作用する。ホイルハウスの付近のサイドフレームには、サスペンション装置のサスクロスメンバが連結されるため、サスクロスメンバからもサイドフレームやホイルハウスに大きな荷重が作用する。そこで、ダンパー支持部やホイルハウスなどを補強する種々の補強ガセットや補強構造が設けられている。   A wheel support for the rear wheel of the vehicle is provided with a damper support portion (also called a suspension tower) that supports the damper of the suspension, and a large load acting on the rear wheel acts on the damper support portion. Since the suspension cross member of the suspension device is connected to the side frame in the vicinity of the wheel house, a large load acts on the side frame and the wheel house from the suspension cross member. Therefore, various reinforcing gussets and reinforcing structures for reinforcing the damper support portion and the wheel house are provided.

一般に、ホイルハウスに、サイドフレームの接合フランジと、フロアパネルの外端部とが3枚重ねの構造で接合されるが、前記のような補強ガセットを追加的に接合する場合には、4枚以上の板部材をスポット溶接する個所が発生する。しかし、3枚を超える板部材をスポット溶接する接合部では、その溶接品質を確保することが難しく、車両の長期の使用中に接合部に剥離が発生する確率が高くなる。
特許文献1には、リヤフロアの取付け構造において、ホイルハウスにフロアパネルの外端部を接合する内側角部に前後方向の所定長さ範囲に亙る補強部材を追加的に設ける技術が記載されている。
特開平6−166385号公報
In general, the side frame joint flange and the outer end of the floor panel are joined to the wheel house in a three-ply structure, but when additional reinforcing gussets as described above are joined, four pieces are joined. The spot welding of the above plate members occurs. However, it is difficult to ensure the welding quality at the joint where spot members of more than three plate members are spot welded, and the probability that separation occurs at the joint during long-term use of the vehicle increases.
Patent Document 1 describes a technique of additionally providing a reinforcing member over a predetermined length range in the front-rear direction at an inner corner where the outer end of a floor panel is joined to a wheel house in a rear floor mounting structure. .
JP-A-6-166385

前記特許文献1の図2のリヤフロアの取付け構造では、サイドフレームの外側約半幅分について補強部材で補強するだけであるので、サイドフレームの内側約半幅分については薄いフロアパネル1枚の構造となるため、ホイルハウスとサイドフレームとの結合部を十分に強化することが難しい。そこで、前記の補強部材の幅を拡大することも可能であるが、その場合、補強部材として採用する板部材は約1.0mm程度の板厚のものとなるが、フロアパネルの板厚と補強部材の板厚との合計板厚は過大な板厚となり、部材数も増すため、製作費と重量増加の面で不利である。   In the rear floor mounting structure shown in FIG. 2 of the above-mentioned Patent Document 1, since only the outer half width of the side frame is reinforced by the reinforcing member, the inner half width of the side frame is a thin floor panel. Therefore, it is difficult to sufficiently strengthen the joint between the wheel house and the side frame. Therefore, it is possible to enlarge the width of the reinforcing member. In this case, the plate member employed as the reinforcing member has a thickness of about 1.0 mm. The total plate thickness with the plate thickness of the members becomes an excessive plate thickness and the number of members increases, which is disadvantageous in terms of production cost and weight increase.

他方、サスペンション装置のサスクロスメンバを車体に連結するためのサスクロス取付けボルトは、サイドフレームに装備してサイドフレームから下方へ延ばすのが普通であり、このサスクロス取付けボルトの上端部と上下方向の途中部がサイドフレームに溶接接合されるが、上記の上下の溶接接合部間の間隔は、サイドフレームの深さ寸法の制約を受けるため、その間隔を拡大してサスクロス取付けボルトをサイドフレームに固定支持する支持剛性を高めることは簡単ではない。   On the other hand, the suspension cross mounting bolt for connecting the suspension cross member of the suspension device to the vehicle body is usually provided on the side frame and extended downward from the side frame. The part is welded to the side frame, but the distance between the upper and lower welded joints is restricted by the depth dimension of the side frame. It is not easy to increase the supporting rigidity.

本発明の目的は、ホイルハウスとフロアパネルとサイドフレームの結合部の剛性・強度を簡単な構造で高めること、サスクロス取付けボルトをサイドフレームに支持する支持剛性を高めることなどである。   An object of the present invention is to increase the rigidity / strength of the connecting portion of the wheel house, the floor panel, and the side frame with a simple structure, and to increase the support rigidity for supporting the suspension cross mounting bolt on the side frame.

請求項1の車両の後部車体構造は、前後方向に延びるサイドフレームの車幅方向外端部がホイルハウスに接合され且つフロアパネルがサイドフレームに接合される車両の車体後部構造において、フロアパネルよりも板厚が厚く形成された補強ガセットであって、車幅方向内端部がサイドフレームの内端の水平フランジ部に接合される水平板部と、水平板部の外端部からホイルハウスの車幅方向内面に沿うように延びるフランジ部とを備え、このフランジ部がサイドフレームの外端部とホイルハウスとに接合される補強ガセットを設け、ホイルハウス近傍におけるフロアパネルの外端部が補強ガセットの内端部に接合されたことを特徴とするものである。   The rear vehicle body structure of the vehicle according to claim 1 is a vehicle body rear structure in which a vehicle frame width direction outer end portion of a side frame extending in the front-rear direction is joined to a wheel house and a floor panel is joined to the side frame. The reinforcing gusset is also formed with a thick plate thickness, and the inner end of the vehicle width direction is joined to the horizontal flange portion of the inner end of the side frame, and the outer end of the horizontal plate portion And a flange portion extending along the inner surface in the vehicle width direction. The flange portion is provided with a reinforcing gusset that is joined to the outer end portion of the side frame and the wheel house, and the outer end portion of the floor panel in the vicinity of the wheel house is reinforced. It is characterized by being joined to the inner end of the gusset.

この請求項1の発明では、フロアパネルよりも厚い板厚の補強ガセットをサイドフレームの内端水平フランジからホイルハウスに亙って設けるため、ホイルハウスとフロアパネルとサイドフレームとの結合部の強度・剛性を高めることができる。
補強ガセットの大部分は、フロアパネルを兼用するものとして設けられ、フロアパネルと重複しないため、補強ガセットとして最適の板厚を有するものを採用できるから、フロアパネルと重複して過大な板厚となるのを確実に防止することができる。
According to the first aspect of the present invention, since the reinforcing gusset having a thickness greater than that of the floor panel is provided from the inner side horizontal flange of the side frame to the wheel house, the strength of the joint portion between the wheel house, the floor panel, and the side frame is provided.・ The rigidity can be increased.
Most of the reinforced gusset is provided as a floor panel and does not overlap with the floor panel, so it can be used as the reinforced gusset with the optimal thickness. Can be reliably prevented.

請求項2の車両の後部車体構造は、請求項1の発明において、前記ホイルハウスにサスペンションのダンパーを支持するダンパー支持部が設けられ、このダンパー支持部に近接する補強ガセットの水平板部とフランジ部にわたる部分に車室側へ膨出する膨出部を形成したことを特徴とするものである。   The rear vehicle body structure of the vehicle according to claim 2 is the invention according to claim 1, wherein a damper support portion for supporting a suspension damper is provided in the wheel house, and a horizontal plate portion and a flange of the reinforcing gusset adjacent to the damper support portion The bulging part which bulges to the vehicle compartment side is formed in the part over the part.

請求項3の車両の後部車体構造は、請求項2の発明において、前記サイドフレーム内に側面視ハット形のブラケットを設け、このブラケット上壁部及びサイドフレーム下壁に固定支持されるサスクロス取付けボルトが設けられ、このサスクロス取付けボルトの上端部を前記膨出部内に配設することを特徴とするものである。   According to a third aspect of the present invention, there is provided a vehicle body structure for a rear portion of the vehicle according to the second aspect of the present invention, wherein the side frame is provided with a hat-shaped bracket in a side view and is fixedly supported by the bracket upper wall portion and the side frame lower wall. And an upper end portion of the suspension cross mounting bolt is disposed in the bulging portion.

請求項4の車両の後部車体構造は、前記左右のホイルハウス間において左右のサイドフレーム間に橋渡し状に架設されてフロアパネルに接合されるクロスメンバが設けられ、補強ガセットの内端部の一部がクロスメンバに接合されることを特徴とするものである。   The vehicle rear body structure according to claim 4 is provided with a cross member that is bridged between the left and right side frames and is joined to the floor panel between the left and right wheel houses, and is provided at one of the inner end portions of the reinforcing gusset. The portion is joined to the cross member.

請求項5の車両の後部車体構造は、請求項1〜4の何れかの発明において、前記補強ガセットの前端がホイルハウス部前方のドア開口部後端付近まで延びることを特徴とするものである。   The rear vehicle body structure of the vehicle according to claim 5 is characterized in that, in the invention of any one of claims 1 to 4, the front end of the reinforcing gusset extends to the vicinity of the rear end of the door opening in front of the wheel house. .

請求項1の発明によれば、フロアパネルよりも厚い板厚の補強ガセットをサイドフレームの内端水平フランジからホイルハウスに亙って設けるため、ホイルハウスとフロアパネルとサイドフレームとの結合部の強度・剛性を高めることができる。
補強ガセットの大部分は、フロアパネルを兼用するものとして設けられ、フロアパネルと重複しない構造にするため、補強ガセットとして最適の板厚を有するものを採用できるから、フロアパネルと重複して過大な板厚となるのを確実に防止することができ、重量増加や製作費の増加も僅かで済む。
According to the first aspect of the present invention, since the reinforcing gusset having a thickness greater than that of the floor panel is provided from the inner end horizontal flange of the side frame to the wheel house, the connecting portion between the wheel house, the floor panel, and the side frame is provided. Strength and rigidity can be increased.
Most of the reinforced gusset is provided as a floor panel, and it has a structure that does not overlap with the floor panel. It is possible to reliably prevent the plate thickness, and only a slight increase in weight and production cost are required.

請求項2の発明によれば、ホイルハウスにサスペンションのダンパーを支持するダンパー支持部が設けられ、このダンパー支持部に近接する補強ガセットの水平板部とフランジ部にわたる部分に車室側へ膨出する膨出部を形成したので、ホイルハウスとフロアパネルとサイドフレームとの結合部の強度・剛性を高めることができるうえ、補強用部材の部品点数と重量を増すことなく、ダンパー支持部近傍のホイルハウスとフロアパネルにかけて要求される強度・剛性を確保することができる。   According to the invention of claim 2, the damper support portion for supporting the damper of the suspension is provided in the wheel house, and the portion extending over the horizontal plate portion and the flange portion of the reinforcing gusset adjacent to the damper support portion bulges toward the passenger compartment side. Since the bulging part is formed, the strength and rigidity of the joint part between the wheel house, the floor panel and the side frame can be increased, and the number of parts and weight of the reinforcing member can be increased without increasing the number of parts in the vicinity of the damper support part. The required strength and rigidity can be secured between the wheel house and the floor panel.

請求項3の発明によれば、サイドフレーム内に側面視ハット形のブラケットを設け、このブラケット上壁部及びサイドフレーム下壁に固定支持されるサスクロス取付けボルトが設けられ、このサスクロス取付けボルトの上端部を前記膨出部内に配設するため、サスクロス取付けボルトをサイドフレームに固定支持する上下の支持点間の間隔を大きくすることできるから、サスクロス取付けボルトの支持剛性を高めることができる。   According to the third aspect of the present invention, the side-view hat-shaped bracket is provided in the side frame, the suspension cross mounting bolt fixedly supported by the bracket upper wall portion and the side frame lower wall is provided, and the upper end of the suspension cross mounting bolt is provided. Since the portion is disposed in the bulging portion, the distance between the upper and lower support points for fixing and supporting the suspension cross mounting bolt to the side frame can be increased, so that the support rigidity of the suspension cross mounting bolt can be increased.

請求項4の発明によれば、左右のホイルハウス間において左右のサイドフレーム間に橋渡し状に架設されてフロアパネルに接合されるクロスメンバが設けられ、補強ガセットの内端部の一部がクロスメンバに接合されるため、補強ガセットとクロスメンバの結合を強化し、後部車体の剛性を向上できる。   According to the invention of claim 4, there is provided a cross member that is bridged between the left and right side frames and joined to the floor panel between the left and right wheel houses, and a part of the inner end of the reinforcing gusset is cross Since it is joined to the member, the coupling between the reinforcing gusset and the cross member can be strengthened, and the rigidity of the rear vehicle body can be improved.

請求項5の発明によれば、補強ガセットの前端がホイルハウス部前方のドア開口部後端付近まで延びているため、ドア開口部の近傍におけるホイルハウスの剛性を高め、溶接接合部に剥離が生じたりするのを防止することできる。   According to the invention of claim 5, since the front end of the reinforcing gusset extends to the vicinity of the rear end of the door opening in front of the wheel house, the rigidity of the wheel house in the vicinity of the door opening is increased, and the weld joint is peeled off. Can be prevented.

本発明に係る車両の車体後部構造は、フロアパネルよりも板厚が厚く形成された補強ガセットであって、車幅方向内端部がサイドフレームの内端の水平フランジ部に接合される水平板部と、水平板部の外端部からホイルハウスの車幅方向内面に沿うように延びるフランジ部とを備え、このフランジ部がサイドフレームの外端部とホイルハウスとに接合される補強ガセットを設け、ホイルハウス近傍におけるフロアパネルの外端部が補強ガセットの内端部に接合されたことを特徴とするものである。   The vehicle body rear structure according to the present invention is a reinforcing gusset having a plate thickness thicker than that of the floor panel, and a horizontal plate whose inner end in the vehicle width direction is joined to a horizontal flange at the inner end of the side frame. And a flange portion that extends from the outer end portion of the horizontal plate portion along the inner surface in the vehicle width direction of the wheel house, and a reinforcing gusset that is joined to the outer end portion of the side frame and the wheel house. The outer end of the floor panel in the vicinity of the wheel house is joined to the inner end of the reinforcing gusset.

以下、この車両の車体後部構造について図面に基づいて説明する。
本実施例は、ワゴン型自動車 の後部車体構造に本発明を適用した場合の一例であり、以下、このワゴン型自動車における前後左右を前後左右とし、車幅方向に関して車室中心側を内方、車室中心に対して遠のく方向を外方として説明する。
Hereinafter, the rear body structure of the vehicle will be described with reference to the drawings.
This embodiment is an example of the case where the present invention is applied to the rear body structure of a wagon-type automobile. Hereinafter, the front-rear and left-right directions of the wagon-type automobile are referred to as front-rear, left-right, and the center side of the vehicle compartment in the vehicle width direction is inward. The direction far from the center of the passenger compartment will be described as outward.

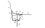
図1〜図6に示すように、ワゴン型自動車1の後部車体構造は、左右対称の構造であるので右側の車体構造について説明する。この後部車体構造は、後部ドア用のドア開口部2、側部車体パネル3、バックドア用のドア開口部4、サイドシル5、フロアパネル6、このフロアパネル6の右端部分の下面側に配設されて前後方向に延びるサイドフレーム7、後輪用のホイルハウス8、補強ガセット9、フロアパネル6と協働して閉断面を形成するクロスメンバ10〜12などが設けられている。尚、図4 はフロアパネル6を取り除いた状態を示す斜視図である。   As shown in FIGS. 1 to 6, the rear body structure of the wagon-type vehicle 1 is a symmetrical structure, and therefore the right-side body structure will be described. This rear body structure is arranged on the lower surface side of the right end portion of the floor panel 6, the door opening 2 for the rear door, the side body panel 3, the door opening 4 for the back door, the side sill 5, the floor panel 6. In addition, a side frame 7 extending in the front-rear direction, a wheel house 8 for rear wheels, a reinforcing gusset 9, a cross member 10-12 that forms a closed section in cooperation with the floor panel 6, and the like are provided. FIG. 4 is a perspective view showing a state in which the floor panel 6 is removed.

ホイルハウス8の後端部には、後輪サスペンション装置のダンパー(図示略)の頂部が支持されるダンパー支持部13が形成され、このダンパー支持部13にはダンパーの軸部材の上端部を挿入する軸穴13aが形成されている。ホイルハウス8の前部には、ドア開口部2の後端側ピラー部14を補強すると共にホイルハウス8を補強する補強板15が設けられている。この補強板15の上端部は後端側ピラー部14の付近まで延び、補強板15の下端部は補強ガセット9の上面に接合されている。   A damper support portion 13 is formed at the rear end portion of the wheel house 8 to support the top of a damper (not shown) of the rear wheel suspension device. The upper end portion of the shaft member of the damper is inserted into the damper support portion 13. A shaft hole 13a is formed. A reinforcing plate 15 that reinforces the wheel house 8 as well as the rear end side pillar portion 14 of the door opening 2 is provided at the front portion of the wheel house 8. The upper end portion of the reinforcing plate 15 extends to the vicinity of the rear end side pillar portion 14, and the lower end portion of the reinforcing plate 15 is joined to the upper surface of the reinforcing gusset 9.

図1、図3に示すように、この補強板15は上部側板部材15aと下部側板部材15bとを溶接接合して構成され、下部側板部材15bはホイルハウス8とフロアパネル6とで閉断面を構成している。但し、補強板15は1枚の板部材で構成してもよい。その他にホイルハウス8には、補強板15よりも前側部分を補強する補強板16と、補強板15よりも後側部分を補強する補強板17が接合されている。   As shown in FIGS. 1 and 3, the reinforcing plate 15 is formed by welding an upper side plate member 15a and a lower side plate member 15b, and the lower side plate member 15b has a closed cross section between the wheel house 8 and the floor panel 6. It is composed. However, the reinforcing plate 15 may be composed of a single plate member. In addition, a reinforcing plate 16 that reinforces the front side of the reinforcing plate 15 and a reinforcing plate 17 that reinforces the rear side of the reinforcing plate 15 are joined to the wheel house 8.

図3〜図6に示すように、サイドフレーム7は、溝形断面のフレーム本体7aと、車幅方向外端の外端フランジ7bと、車幅方向内端の内端水平フランジ7cとを有し、外端フランジ7bが立向きに形成されてホイルハウス8の車室側内面に接合されている。ホイルハウス8の前部に対応する位置には、フロアパネル6が後方上がりに傾斜する傾斜フロア部があり、サイドフレーム7には、その傾斜フロア部に対応するように後方上がりに傾斜するキックアップ部18が形成されている(図2参照)。そして、図6に示すように、補強板15に対応する部位であって、クロスメンバ11が接合されるサイドフレーム7の部位において、そのフレーム本体7aには、断面U形の補強フレーム19が接合され補強されている。   As shown in FIGS. 3 to 6, the side frame 7 has a frame main body 7a having a groove-shaped cross section, an outer end flange 7b at the outer end in the vehicle width direction, and an inner end horizontal flange 7c at the inner end in the vehicle width direction. The outer end flange 7b is formed upright and joined to the inner surface of the wheel house 8 on the passenger compartment side. At a position corresponding to the front portion of the wheel house 8, there is an inclined floor portion where the floor panel 6 is inclined upward and the side frame 7 is kicked up so as to be inclined upward corresponding to the inclined floor portion. A portion 18 is formed (see FIG. 2). Then, as shown in FIG. 6, a reinforcing frame 19 having a U-shaped cross section is joined to the frame main body 7a at a portion corresponding to the reinforcing plate 15 and where the cross member 11 is joined. It is reinforced.

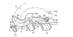
補強ガセット9は、主に、ホイルハウス8とフロアパネル6とサイドフレーム7の結合構造を補強する為の板部材であり、フロアパネル6(例えば板厚0.6mm)よりも厚い板厚(例えば1.8mm)の板材で構成されている。
この補強ガセット9は、車幅方向内端部がサイドフレーム7の内端水平フランジ部7cに接合される水平板部9aと、この水平板部9aの外端部からホイルハウス8の内面に沿うように一体的に延びるほぼ立て向きのフランジ部9bとを備えている。
The reinforcing gusset 9 is a plate member mainly for reinforcing the coupling structure of the wheel house 8, the floor panel 6 and the side frame 7, and has a plate thickness (for example, a plate thickness of 0.6 mm) thicker than the floor panel 6 (for example, plate thickness of 0.6 mm). 1.8 mm) plate material.
The reinforcing gusset 9 includes a horizontal plate portion 9a whose inner end portion in the vehicle width direction is joined to the inner end horizontal flange portion 7c of the side frame 7, and the inner surface of the wheel house 8 from the outer end portion of the horizontal plate portion 9a. And a substantially vertically extending flange portion 9b.

水平板部9aの内端部9cがサイドフレーム7の内端水平フランジ7cの上面に接合され、この水平板部9aの内端部9cの上面にフロアパネル6の外端部6cが重ねて接合される。このフランジ部9bがサイドフレーム7の外端フランジ7bとホイルハウス8とに接合されている。但し、図5に示すように、後述の膨出部20の部分においてはフランジ部9bがサイドフレーム7の外端フランジ7bに接合されていないが、外端フランジ7bに接合してもよい。   The inner end portion 9c of the horizontal plate portion 9a is joined to the upper surface of the inner end horizontal flange 7c of the side frame 7, and the outer end portion 6c of the floor panel 6 is joined to the upper surface of the inner end portion 9c of the horizontal plate portion 9a. Is done. This flange portion 9 b is joined to the outer end flange 7 b of the side frame 7 and the wheel house 8. However, as shown in FIG. 5, the flange portion 9b is not joined to the outer end flange 7b of the side frame 7 in the later-described bulging portion 20, but may be joined to the outer end flange 7b.

この補強ガセット9は、ホイルハウス8とほぼ同じ前後長に形成され、ホイルハウス8の前端よりやや前方の部位であって、 ドア開口部2の後端付近からホイルハウス8の後端付近までの前後長を有し、車幅方向についてはホイルハウス8からサイドフレーム7の内端水平フランジ7cの内端よりもやや内側までの範囲に亙っている。   The reinforcing gusset 9 is formed in substantially the same longitudinal length as the wheel house 8 and is located slightly forward of the front end of the wheel house 8 from the vicinity of the rear end of the door opening 2 to the vicinity of the rear end of the wheel house 8. It has a front-rear length and extends in the vehicle width direction from the wheel house 8 to a slightly inner side of the inner end of the inner end horizontal flange 7c of the side frame 7.

図4に示すように、補強ガセット9の大部分は、フロアパネル6を兼ねる補強板部材として構成され、補強ガセット9の上面に記載の二点鎖線Lは、フロアパネル6の端縁を示す線であり、補強ガセット9の前端部分9dと後端部分9eと内端部9cにはフロアパネル6の一部が上方から重ねて接合され、ホイルハウス8近傍におけるフロアパネル6の外端部6cが補強ガセット9の内端部9cの上面に接合されている。   As shown in FIG. 4, most of the reinforcing gusset 9 is configured as a reinforcing plate member that also serves as the floor panel 6, and a two-dot chain line L described on the upper surface of the reinforcing gusset 9 is a line indicating an edge of the floor panel 6. A part of the floor panel 6 is overlapped and joined to the front end portion 9d, the rear end portion 9e and the inner end portion 9c of the reinforcing gusset 9 so that the outer end portion 6c of the floor panel 6 in the vicinity of the wheel house 8 is joined. The reinforcing gusset 9 is joined to the upper surface of the inner end 9c.

図2、図3、図5に示すように、補強ガセット9のうちのダンパー支持部13に近接する後端寄り部分において、補強ガセット9の水平板部9aとフランジ部9bにわたる部分に車室側へ3段階状に膨出する膨出部20であって、フロアパネル6よりも上方へ膨らんだ膨出部20が形成されている。後輪サスペンションを取付ける為のサスペンションクロスメンバ(図示略)を車体に取付ける為の立向きの前後1対のサスクロス取付けボルト21,22が設けられている(図2参照)。   As shown in FIGS. 2, 3, and 5, in the portion near the rear end of the reinforcing gusset 9 that is close to the damper support portion 13, the portion extending between the horizontal plate portion 9 a and the flange portion 9 b of the reinforcing gusset 9 A bulging portion 20 that bulges in a three-stage shape and that bulges upward from the floor panel 6 is formed. A pair of front and rear suspension cross mounting bolts 21 and 22 for mounting a suspension cross member (not shown) for mounting the rear wheel suspension to the vehicle body are provided (see FIG. 2).

図2、図5に示すように、後側のサスクロス取付けボルト22を取付ける構造について、補強ガセット9の膨出部20の下方において、サイドフレーム7のフレーム本体7a内に側面視ハット形のブラケット23が設けられ、このブラケット23の下端部の前後1対のフランジ部がフレーム本体7aの下壁に接合されている。サスクロス取付けボルト22は、ブラケット23の上壁部及びサイドフレーム7のフレーム本体7aの下壁を立向きに貫通してサイドフレーム7の下方へ延びている。このサスクロス取付けボルト22の上端部(頭部)が膨出部20内に配設され、サスクロス取付けボルト22の上端部がブラケット23の上壁部に溶接にて固定され、サスクロス取付けボルト22の上下方向の途中部がサイドフレーム7のフレーム本体7aの下壁に溶接にて固定されている。   As shown in FIG. 2 and FIG. 5, in the structure for attaching the rear suspension cross mounting bolt 22, a bracket 23 having a hat shape in a side view is provided in the frame body 7 a of the side frame 7 below the bulging portion 20 of the reinforcing gusset 9. And a pair of front and rear flanges at the lower end of the bracket 23 are joined to the lower wall of the frame body 7a. The suspension cross mounting bolt 22 extends downward from the side frame 7 through the upper wall portion of the bracket 23 and the lower wall of the frame body 7a of the side frame 7 in an upright direction. The upper end (head) of the suspension cross mounting bolt 22 is disposed in the bulging portion 20, and the upper end of the suspension cross mounting bolt 22 is fixed to the upper wall portion of the bracket 23 by welding. The middle part of the direction is fixed to the lower wall of the frame body 7a of the side frame 7 by welding.

このサスクロス取付けボルト22をフレーム本体7aの下壁で支持する部分を強化するため、また、クロスメンバ12がサイドフレーム7に接合される部分を強化するため、フレーム本体7aの下部には、サスクロス取付けボルト22が貫通するU形の補強板24が内面に密着状に接合され、この補強板24にはサスクロス取付けボルト22が貫通する環状補強部材25が溶接にて接合され、サスクロス取付けボルト22は補強板24にも溶接接合されている(図5参照)。   In order to reinforce the portion where the suspension cross mounting bolt 22 is supported by the lower wall of the frame body 7a, and to reinforce the portion where the cross member 12 is joined to the side frame 7, A U-shaped reinforcing plate 24 through which the bolt 22 penetrates is joined in close contact with the inner surface, and an annular reinforcing member 25 through which the suspension cross mounting bolt 22 penetrates is joined to the reinforcing plate 24 by welding, and the suspension cross mounting bolt 22 is reinforced. The plate 24 is also welded (see FIG. 5).

図2に示すように、前側のサスクロス取付けボルト21を取付ける為、サイドフレーム7のキックアップ部18の前端付近において、サイドフレーム7のフレーム本体7a内に側面視ほぼハット形のブラケット26が設けられ、このブラケット26がフレーム本体7aに接合され、サスクロス取付けボルト21は、ブラケット26の上壁部及びサイドフレーム7のフレーム本体7aの下壁とこの下壁の上面に溶接にて固定された環状補強部材27を貫通させて立向きにサイドフレーム7の下方へ延びるように配設され、サスクロス取付けボルト21の上端部がブラケット26の上壁部に溶接にて接合され、サスクロス取付けボルト21の上下方向途中部がフレーム本体7aの下壁に溶接にて接合されている。尚、サイドフレーム7のキックアップ部18を補強する補強部材28も接合されている。   As shown in FIG. 2, a bracket 26 having a substantially hat shape in side view is provided in the frame body 7a of the side frame 7 in the vicinity of the front end of the kick-up portion 18 of the side frame 7 in order to attach the front suspension cross mounting bolt 21. The bracket 26 is joined to the frame body 7a, and the suspension cross mounting bolt 21 is an annular reinforcement fixed to the upper wall portion of the bracket 26, the lower wall of the frame body 7a of the side frame 7 and the upper surface of the lower wall by welding. The member 27 is passed through the member 27 so as to extend downward from the side frame 7, and the upper end portion of the suspension cross mounting bolt 21 is joined to the upper wall portion of the bracket 26 by welding. The middle part is joined to the lower wall of the frame body 7a by welding. A reinforcing member 28 that reinforces the kick-up portion 18 of the side frame 7 is also joined.

左右のホイルハウス8の前端部よりもやや前側において、左右のサイドフレーム7間に橋渡し状に架設されてフロアパネル6に接合されるクロスメンバ10が設けられている。 また、左右のホイルハウス8間において左右のサイドフレーム7間に橋渡し状に架設されてフロアパネル6に接合されるクロスメンバ11,12が設けられ、補強ガセット9の内端部の一部がクロスメンバ11,12の上端部のフランジに接合される(図6参照)。   A cross member 10 that is bridged between the left and right side frames 7 and joined to the floor panel 6 is provided slightly in front of the front end portions of the left and right wheel houses 8. Cross members 11 and 12 are provided between the left and right wheel houses 8 so as to be bridged between the left and right side frames 7 and joined to the floor panel 6, and a part of the inner end of the reinforcing gusset 9 is crossed. It joins to the flange of the upper end part of the members 11 and 12 (refer FIG. 6).

以上説明した後部車体構造の作用、効果について説明する。
フロアパネル6よりも厚い板厚の補強ガセット9をサイドフレーム7の内端水平フランジ7cからホイルハウス8に亙って設けるため、ホイルハウス8とフロアパネル6とサイドフレーム7との結合部の強度・剛性を高めることができる。
The operation and effect of the rear vehicle body structure described above will be described.
Since the reinforcing gusset 9 having a thicker thickness than the floor panel 6 is provided from the inner end horizontal flange 7 c of the side frame 7 to the wheel house 8, the strength of the joint portion between the wheel house 8, the floor panel 6 and the side frame 7 is provided.・ The rigidity can be increased.

補強ガセット9の大部分は、フロアパネル6を兼用するものとして設けられ、フロアパネル6と重複しないため、補強ガセット9として最適の板厚のものを選択して採用できるから、フロアパネル6と重複して過大な板厚となるのを確実に防止することができる。そして、補強ガセット9を追加する分、フロアパネル6の一部を省略することができるため、車体組み立ての生産性が低下することもない。   Most of the reinforcing gusset 9 is provided as the floor panel 6 and does not overlap with the floor panel 6, and therefore, the reinforcing gusset 9 can be selected and employed with the optimum thickness, so that it overlaps with the floor panel 6. Thus, it is possible to reliably prevent an excessive thickness. Since the reinforcement gusset 9 is added, a part of the floor panel 6 can be omitted, so that the productivity of the vehicle body assembly is not lowered.

ホイルハウス8にサスペンション装置のダンパーを支持するダンパー支持部13が設けられ、このダンパー支持部13に近接する補強ガセット9の水平板部9aとフランジ部9bにわたる部分に車室側へ膨出する膨出部20を形成したので、ホイルハウス8とフロアパネル6とサイドフレーム7との結合部の強度・剛性を高めることができるうえ、補強用部材の部品点数と重量を増すことなく、ダンパー支持部13の近傍のホイルハウス8とフロアパネル6にかけて要求される強度・剛性を確保することができる。   The wheel house 8 is provided with a damper support portion 13 that supports the damper of the suspension device, and a bulge that bulges toward the passenger compartment in a portion between the horizontal plate portion 9a and the flange portion 9b of the reinforcing gusset 9 adjacent to the damper support portion 13. Since the projecting portion 20 is formed, the strength and rigidity of the joint portion of the wheel house 8, the floor panel 6, and the side frame 7 can be increased, and the damper support portion can be added without increasing the number of parts and weight of the reinforcing member. The required strength and rigidity can be ensured over the wheel house 8 and the floor panel 6 near 13.

サイドフレーム7内に側面視ハット形のブラケット23を設け、このブラケット23の上壁部及びサイドフレーム7の下壁に固定支持されるサスクロス取付けボルト22が設けられ、このサスクロス取付けボルト22の上端部を膨出部20内に配設するため、サスクロス取付けボルト22をサイドフレーム7に固定支持する上下の支持点間の間隔を大きくすることできるから、サスクロス取付けボルト22の支持剛性を高めることができる。   A side-view hat-shaped bracket 23 is provided in the side frame 7, and a suspension cross mounting bolt 22 that is fixedly supported on the upper wall portion of the bracket 23 and the lower wall of the side frame 7 is provided, and an upper end portion of the suspension cross mounting bolt 22 is provided. Since the space between the upper and lower support points for fixing and supporting the suspension cross mounting bolt 22 to the side frame 7 can be increased, the support rigidity of the suspension cross mounting bolt 22 can be increased. .

左右のホイルハウス8間において左右のサイドフレーム7間に橋渡し状に架設されてフロアパネル6に接合されるクロスメンバ11,12が設けられ、補強ガセット9の内端部の一部がクロスメンバ11,12のフランジ部に接合されるため、補強ガセット9とクロスメンバ11,12の結合を強化し、後部車体の剛性を向上できる。   Cross members 11 and 12 are provided between the left and right wheel houses 8 so as to be bridged between the left and right side frames 7 and joined to the floor panel 6, and a part of the inner end portion of the reinforcing gusset 9 is the cross member 11. , 12 can be joined to the reinforcing gusset 9 and the cross members 11, 12, thereby enhancing the rigidity of the rear vehicle body.

補強ガセット9の前端がホイルハウス8の前方のドア開口部2の後端付近まで延びているため、ドア開口部2の近傍におけるホイルハウス8の剛性を高め、溶接接合部に剥離が生じたりするのを防止することできる。しかも、補強ガセット9の大部分は、フロアパネル6を兼ねる板部材であるため、フロアパネル6や補強ガセット9と、ホイルハウス8及びサイドフレーム7などを接合する部位を3枚以下の板部材の接合とし、4枚接合となるのを確実に防止し、接合部の溶接品質を確保することもできる。   Since the front end of the reinforcing gusset 9 extends to the vicinity of the rear end of the door opening 2 in front of the wheel house 8, the rigidity of the wheel house 8 in the vicinity of the door opening 2 is increased, and the weld joint is peeled off. Can be prevented. In addition, since most of the reinforcing gusset 9 is a plate member that also serves as the floor panel 6, the portion that joins the floor panel 6, the reinforcing gusset 9, the wheel house 8, the side frame 7, and the like is composed of three or less plate members. It is possible to reliably prevent the joining of four sheets and to secure the welding quality of the joint portion.

しかも、補強ガセット9の前端部分9d、後端部分9f、内端部9cのうえにフロアパネル6を密着状に重ねて接合するため、ホイルハウス8の前端付近と後端付近におけるフロアパネル6と補強ガセット9との結合を強化し、フロア構造の剛性と強度を高め、ホイルハウス8とフロアパネル6を結合する部位の剛性を高めることができる。   In addition, since the floor panel 6 is closely overlapped and joined on the front end portion 9d, the rear end portion 9f, and the inner end portion 9c of the reinforcing gusset 9, the floor panel 6 near the front end and the rear end of the wheel house 8 The connection with the reinforcing gusset 9 can be strengthened, the rigidity and strength of the floor structure can be increased, and the rigidity of the portion connecting the wheel house 8 and the floor panel 6 can be increased.

尚、当業者であれば、本発明の趣旨を逸脱しない範囲で、前記実施例に部分的な変更を付加した形で実施することもある。例えば、補強ガセット9のフランジ部9bの上下幅を大きく形成したり、補強ガセット9の前端部分9dや後端部分9eに重なるフロアパネル6のラップ幅を少なくしたり、補強ガセット9の水平板部9aの断面形状を適宜変更したり、補強ガセット9を板厚の異なる2枚以上の板部材を接合した板部材で構成したり、補強ガセット9の前後長を拡大したり、などの種々の変更はあり得る。   It should be noted that those skilled in the art may implement the above-described embodiment with partial modifications without departing from the spirit of the present invention. For example, the flange portion 9b of the reinforcing gusset 9 is formed to have a large vertical width, the wrap width of the floor panel 6 overlapping the front end portion 9d and the rear end portion 9e of the reinforcing gusset 9 is reduced, or the horizontal plate portion of the reinforcing gusset 9 Various changes such as changing the cross-sectional shape of 9a as appropriate, configuring the reinforcing gusset 9 with a plate member in which two or more plate members having different thicknesses are joined, and expanding the front and back length of the reinforcing gusset 9 Is possible.

本発明の実施例に係る自動車の後部車体構造の全体斜視図である。1 is an overall perspective view of a rear body structure of an automobile according to an embodiment of the present invention. サイドフレームの位置で分断図示した後部車体構造の要部斜視図である。It is the principal part perspective view of the rear vehicle body structure divided and shown in the position of the side frame. クロスメンバの位置で分断図示した後部車体構造の要部斜視図である。It is a principal part perspective view of the rear vehicle body structure divided and shown in the position of the cross member. 補強ガセットとクロスメンバなどを示す要部斜視図である。It is a principal part perspective view which shows a reinforcement gusset, a cross member, etc. FIG. 図3のV−V線断面図である。It is the VV sectional view taken on the line of FIG. 図3のVI−VI線断面図である。It is the VI-VI sectional view taken on the line of FIG.

符号の説明Explanation of symbols

2 ドア開口部
6 フロアパネル
7 サイドフレーム
7b 外端フランジ
7c 内端水平フランジ
8 ホイルハウス
9 補強ガセット
9a 水平板部
9b フランジ部
11 クロスメンバ
13 ダンパー支持部
20 膨出部
22 サスクロス取付けボルト
23 ブラケット
2 Door opening 6 Floor panel 7 Side frame 7b Outer end flange
7c Inner end horizontal flange 8 Wheel house 9 Reinforcing gusset 9a Horizontal flat plate part 9b Flange part 11 Cross member 13 Damper support part 20 Swelling part 22 Suspension mounting bolt 23 Bracket

Claims (5)

前後方向に延びるサイドフレームの車幅方向外端部がホイルハウスに接合され且つフロアパネルがサイドフレームに接合される車両の後部車体構造において、
フロアパネルよりも板厚が厚く形成された補強ガセットであって、車幅方向内端部がサイドフレームの内端の水平フランジ部に接合される水平板部と、水平板部の外端部からホイルハウスの車幅方向内面に沿うように延びるフランジ部とを備え、このフランジ部がサイドフレームの外端部とホイルハウスとに接合される補強ガセットを設け、
ホイルハウス近傍におけるフロアパネルの外端部が補強ガセットの内端部に接合された ことを特徴とする車両の後部車体構造。
In the vehicle rear body structure in which the vehicle frame direction outer end portion of the side frame extending in the front-rear direction is joined to the wheel house and the floor panel is joined to the side frame,
Reinforcing gussets that are thicker than the floor panel, with the inner end in the vehicle width direction joined to the horizontal flange at the inner end of the side frame, and the outer end of the horizontal plate A flange portion extending along the inner surface in the vehicle width direction of the wheel house, and a reinforcing gusset that is joined to the outer end portion of the side frame and the wheel house is provided.
A rear body structure of a vehicle, characterized in that the outer end of the floor panel in the vicinity of the wheel house is joined to the inner end of the reinforcing gusset.
前記ホイルハウスにサスペンションのダンパーを支持するダンパー支持部が設けられ、このダンパー支持部に近接する補強ガセットの水平板部とフランジ部にわたる部分に車室側へ膨出する膨出部を形成したことを特徴とする請求項1に記載の車両の後部車体構造。   A damper support portion for supporting the suspension damper is provided in the wheel house, and a bulge portion that bulges toward the passenger compartment is formed in a portion extending between the horizontal plate portion and the flange portion of the reinforcement gusset adjacent to the damper support portion. The rear body structure of the vehicle according to claim 1. 前記サイドフレーム内に側面視ハット形のブラケットを設け、このブラケット上壁部及びサイドフレーム下壁に固定支持されるサスクロス取付けボルトが設けられ、このサスクロス取付けボルトの上端部を前記膨出部内に配設することを特徴とする請求項2に記載の車両の後部車体構造。   A side-view hat-shaped bracket is provided in the side frame, and a suspension cross mounting bolt fixed to and supported by the upper wall portion of the bracket and the lower wall of the side frame is provided. The upper end portion of the suspension cross mounting bolt is disposed in the bulging portion. The rear body structure of the vehicle according to claim 2, wherein the rear body structure is provided. 前記左右のホイルハウス間において左右のサイドフレーム間に橋渡し状に架設されてフロアパネルに接合されるクロスメンバが設けられ、前記補強ガセットの内端部の一部がクロスメンバに接合されることを特徴とする請求項1に記載の車両の後部車体構造。   A cross member is provided between the left and right wheel houses so as to be bridged between the left and right side frames and joined to the floor panel, and a part of the inner end of the reinforcing gusset is joined to the cross member. The vehicle rear body structure according to claim 1, wherein the vehicle body structure is a rear vehicle body structure. 前記補強ガセットの前端がホイルハウス部前方のドア開口部後端付近まで延びることを特徴とする請求項1〜4の何れかに記載の車両の後部車体構造。
The rear body structure of the vehicle according to any one of claims 1 to 4, wherein a front end of the reinforcing gusset extends to a vicinity of a rear end of a door opening in front of the wheel house portion.
JP2005127796A 2005-04-26 2005-04-26 Rear body structure of the vehicle Expired - Fee Related JP4696664B2 (en)

Priority Applications (1)

Application Number Priority Date Filing Date Title
JP2005127796A JP4696664B2 (en) 2005-04-26 2005-04-26 Rear body structure of the vehicle

Applications Claiming Priority (1)

Application Number Priority Date Filing Date Title
JP2005127796A JP4696664B2 (en) 2005-04-26 2005-04-26 Rear body structure of the vehicle

Publications (2)

Publication Number Publication Date
JP2006306135A true JP2006306135A (en) 2006-11-09
JP4696664B2 JP4696664B2 (en) 2011-06-08

Family

ID=37473533

Family Applications (1)

Application Number Title Priority Date Filing Date
JP2005127796A Expired - Fee Related JP4696664B2 (en) 2005-04-26 2005-04-26 Rear body structure of the vehicle

Country Status (1)

Country Link
JP (1) JP4696664B2 (en)

Cited By (6)

* Cited by examiner, † Cited by third party
Publication number Priority date Publication date Assignee Title
DE102012015538A1 (en) 2011-08-31 2013-02-28 Mazda Motor Corp. Vehicle body structure and manufacturing method thereof
CN103057596A (en) * 2013-01-18 2013-04-24 浙江吉利汽车研究院有限公司杭州分公司 Reinforced connecting structure of side wall assembly and bottom assembly of automobile
CN107010123A (en) * 2015-11-13 2017-08-04 丰田自动车株式会社 Wheel cover structure
CN109823401A (en) * 2017-11-23 2019-05-31 上汽通用五菱汽车股份有限公司 A kind of mounting assembly of independent rear suspension
CN114655317A (en) * 2022-04-22 2022-06-24 重庆长安汽车股份有限公司 Rear wheel bulge inner panel mounting structure
WO2025094551A1 (en) * 2023-10-31 2025-05-08 日本製鉄株式会社 Structural member, method for manufacturing structural member, and mold

Citations (10)

* Cited by examiner, † Cited by third party
Publication number Priority date Publication date Assignee Title
JPS54130209U (en) * 1978-03-01 1979-09-10
JPS6244783U (en) * 1985-09-09 1987-03-18
JPS6278584U (en) * 1985-11-06 1987-05-20
JPH01138870U (en) * 1988-03-18 1989-09-21
JPH0338289U (en) * 1989-08-25 1991-04-12
JPH0446874A (en) * 1990-06-12 1992-02-17 Nissan Motor Co Ltd Automobile suspension mounting structure
JPH0441471U (en) * 1990-08-07 1992-04-08
JPH06166385A (en) * 1992-11-30 1994-06-14 Suzuki Motor Corp Fitting structure or rear floor
JPH074263U (en) * 1993-06-17 1995-01-20 富士重工業株式会社 Vehicle rear suspension mounting structure
JP2003212152A (en) * 2002-01-22 2003-07-30 Mitsubishi Motors Corp Body structure

Patent Citations (10)

* Cited by examiner, † Cited by third party
Publication number Priority date Publication date Assignee Title
JPS54130209U (en) * 1978-03-01 1979-09-10
JPS6244783U (en) * 1985-09-09 1987-03-18
JPS6278584U (en) * 1985-11-06 1987-05-20
JPH01138870U (en) * 1988-03-18 1989-09-21
JPH0338289U (en) * 1989-08-25 1991-04-12
JPH0446874A (en) * 1990-06-12 1992-02-17 Nissan Motor Co Ltd Automobile suspension mounting structure
JPH0441471U (en) * 1990-08-07 1992-04-08
JPH06166385A (en) * 1992-11-30 1994-06-14 Suzuki Motor Corp Fitting structure or rear floor
JPH074263U (en) * 1993-06-17 1995-01-20 富士重工業株式会社 Vehicle rear suspension mounting structure
JP2003212152A (en) * 2002-01-22 2003-07-30 Mitsubishi Motors Corp Body structure

Cited By (16)

* Cited by examiner, † Cited by third party
Publication number Priority date Publication date Assignee Title
DE102012015538B4 (en) 2011-08-31 2018-04-26 Mazda Motor Corp. Vehicle body structure
DE102012015538A1 (en) 2011-08-31 2013-02-28 Mazda Motor Corp. Vehicle body structure and manufacturing method thereof
JP2013049379A (en) * 2011-08-31 2013-03-14 Mazda Motor Corp Vehicle body structure of vehicle and manufacturing method thereof
US8967672B2 (en) 2011-08-31 2015-03-03 Mazda Motor Corporation Vehicle-body structure of vehicle and manufacturing method of the same
CN102963433B (en) * 2011-08-31 2015-07-15 马自达汽车株式会社 Vehicle-body structure of vehicle and manufacturing method of the same
CN102963433A (en) * 2011-08-31 2013-03-13 马自达汽车株式会社 Vehicle-body structure of vehicle and manufacturing method of the same
CN103057596A (en) * 2013-01-18 2013-04-24 浙江吉利汽车研究院有限公司杭州分公司 Reinforced connecting structure of side wall assembly and bottom assembly of automobile
CN103057596B (en) * 2013-01-18 2016-03-02 浙江吉利汽车研究院有限公司杭州分公司 Body side wall assembly and bottom assembly strengthen connection structure
CN107010123B (en) * 2015-11-13 2019-03-19 丰田自动车株式会社 Wheel cover structure
CN107010123A (en) * 2015-11-13 2017-08-04 丰田自动车株式会社 Wheel cover structure
CN109823401A (en) * 2017-11-23 2019-05-31 上汽通用五菱汽车股份有限公司 A kind of mounting assembly of independent rear suspension
CN109823401B (en) * 2017-11-23 2024-04-26 上汽通用五菱汽车股份有限公司 Mounting assembly of rear independent suspension
CN114655317A (en) * 2022-04-22 2022-06-24 重庆长安汽车股份有限公司 Rear wheel bulge inner panel mounting structure
CN114655317B (en) * 2022-04-22 2023-08-22 重庆长安汽车股份有限公司 Rear wheel drum inner plate mounting structure
WO2025094551A1 (en) * 2023-10-31 2025-05-08 日本製鉄株式会社 Structural member, method for manufacturing structural member, and mold
JPWO2025094551A1 (en) * 2023-10-31 2025-05-08

Also Published As

Publication number Publication date
JP4696664B2 (en) 2011-06-08

Similar Documents

Publication Publication Date Title
JP4654917B2 (en) Car body rear structure
CN102292255B (en) Vehicle side joint structure
US8979173B2 (en) Vehicle body floor structure for automobile
JP5548687B2 (en) Upper body structure of automobile
JP5593813B2 (en) Body reinforcement structure
JP2009126197A (en) Rear structure of vehicle body
JPWO2013018415A1 (en) Body side structure
JP5703388B2 (en) Body superstructure
JP2006327284A (en) Automobile roof structure
JP2010018087A (en) Rear vehicle body structure for vehicle
JP4692181B2 (en) Lower body structure
JP4682560B2 (en) Rear body structure of the vehicle
JP5115238B2 (en) Rear body structure of automobile
JP7014670B2 (en) Car body structure
JP2006069268A (en) Rear vehicle body structure of vehicle
JP2015128982A (en) Car body rear structure
JP4696664B2 (en) Rear body structure of the vehicle
JP4539480B2 (en) Upper body structure of automobile
JP2017144884A (en) Rear face part structure of cab
JP5312128B2 (en) Upper body structure in a vehicle
JP2012011828A (en) Lower structure of vehicle
JP2011068285A (en) Upper structure of body of vehicle
JP5212892B2 (en) Lower body structure of the vehicle
JP2011207337A (en) Upper body structure of vehicle
JP4747745B2 (en) Mounting structure of reinforced connecting plate that connects between wheel house and back door pillar

Legal Events

Date Code Title Description
A621 Written request for application examination

Free format text: JAPANESE INTERMEDIATE CODE: A621

Effective date: 20080226

A977 Report on retrieval

Free format text: JAPANESE INTERMEDIATE CODE: A971007

Effective date: 20100601

A131 Notification of reasons for refusal

Free format text: JAPANESE INTERMEDIATE CODE: A131

Effective date: 20100617

A521 Written amendment

Free format text: JAPANESE INTERMEDIATE CODE: A523

Effective date: 20100804

A131 Notification of reasons for refusal

Free format text: JAPANESE INTERMEDIATE CODE: A131

Effective date: 20101019

A521 Written amendment

Free format text: JAPANESE INTERMEDIATE CODE: A523

Effective date: 20101213

TRDD Decision of grant or rejection written
A01 Written decision to grant a patent or to grant a registration (utility model)

Free format text: JAPANESE INTERMEDIATE CODE: A01

Effective date: 20110201

A61 First payment of annual fees (during grant procedure)

Free format text: JAPANESE INTERMEDIATE CODE: A61

Effective date: 20110214

R150 Certificate of patent or registration of utility model

Ref document number: 4696664

Country of ref document: JP

Free format text: JAPANESE INTERMEDIATE CODE: R150

LAPS Cancellation because of no payment of annual fees