JP2005296746A - Hydrogen separation membrane module, hydrogen separation membrane fuel cell, and manufacturing method thereof - Google Patents

Hydrogen separation membrane module, hydrogen separation membrane fuel cell, and manufacturing method thereof Download PDF

Info

Publication number
JP2005296746A
JP2005296746A JP2004114222A JP2004114222A JP2005296746A JP 2005296746 A JP2005296746 A JP 2005296746A JP 2004114222 A JP2004114222 A JP 2004114222A JP 2004114222 A JP2004114222 A JP 2004114222A JP 2005296746 A JP2005296746 A JP 2005296746A
Authority
JP
Japan
Prior art keywords
separation membrane
hydrogen separation
hydrogen
positioning
structure portion
Prior art date
Legal status (The legal status is an assumption and is not a legal conclusion. Google has not performed a legal analysis and makes no representation as to the accuracy of the status listed.)
Granted
Application number
JP2004114222A
Other languages
Japanese (ja)
Other versions
JP4270014B2 (en
Inventor
Kenji Kimura
憲治 木村
Hiromichi Sato
博道 佐藤
Current Assignee (The listed assignees may be inaccurate. Google has not performed a legal analysis and makes no representation or warranty as to the accuracy of the list.)
Toyota Motor Corp
Original Assignee
Toyota Motor Corp
Priority date (The priority date is an assumption and is not a legal conclusion. Google has not performed a legal analysis and makes no representation as to the accuracy of the date listed.)
Filing date
Publication date
Application filed by Toyota Motor Corp filed Critical Toyota Motor Corp
Priority to JP2004114222A priority Critical patent/JP4270014B2/en
Publication of JP2005296746A publication Critical patent/JP2005296746A/en
Application granted granted Critical
Publication of JP4270014B2 publication Critical patent/JP4270014B2/en
Anticipated expiration legal-status Critical
Expired - Fee Related legal-status Critical Current

Links

Images

Classifications

    • YGENERAL TAGGING OF NEW TECHNOLOGICAL DEVELOPMENTS; GENERAL TAGGING OF CROSS-SECTIONAL TECHNOLOGIES SPANNING OVER SEVERAL SECTIONS OF THE IPC; TECHNICAL SUBJECTS COVERED BY FORMER USPC CROSS-REFERENCE ART COLLECTIONS [XRACs] AND DIGESTS
    • Y02TECHNOLOGIES OR APPLICATIONS FOR MITIGATION OR ADAPTATION AGAINST CLIMATE CHANGE
    • Y02EREDUCTION OF GREENHOUSE GAS [GHG] EMISSIONS, RELATED TO ENERGY GENERATION, TRANSMISSION OR DISTRIBUTION
    • Y02E60/00Enabling technologies; Technologies with a potential or indirect contribution to GHG emissions mitigation
    • Y02E60/30Hydrogen technology
    • Y02E60/50Fuel cells
    • YGENERAL TAGGING OF NEW TECHNOLOGICAL DEVELOPMENTS; GENERAL TAGGING OF CROSS-SECTIONAL TECHNOLOGIES SPANNING OVER SEVERAL SECTIONS OF THE IPC; TECHNICAL SUBJECTS COVERED BY FORMER USPC CROSS-REFERENCE ART COLLECTIONS [XRACs] AND DIGESTS
    • Y02TECHNOLOGIES OR APPLICATIONS FOR MITIGATION OR ADAPTATION AGAINST CLIMATE CHANGE
    • Y02PCLIMATE CHANGE MITIGATION TECHNOLOGIES IN THE PRODUCTION OR PROCESSING OF GOODS
    • Y02P70/00Climate change mitigation technologies in the production process for final industrial or consumer products
    • Y02P70/50Manufacturing or production processes characterised by the final manufactured product

Landscapes

  • Fuel Cell (AREA)
  • Separation Using Semi-Permeable Membranes (AREA)

Abstract

【課題】 積層構造部を構成する各部材同士の接合に関する課題を解決することができる水素分離膜モジュール,水素分離膜型燃料電池、および、それらの製造方法を提供する。
【解決手段】 水素分離膜モジュール10は、薄板状の水素分離膜ユニット100を複数積層して備えた積層構造部PL1を有し、水素分離膜ユニット100は、積層構造部PL1における積層方向に対して直交する方向の位置を位置決め可能な位置決め構造部SP1を有する。
【選択図】 図1

PROBLEM TO BE SOLVED: To provide a hydrogen separation membrane module, a hydrogen separation membrane fuel cell, and a method for producing them, which can solve the problems related to joining of members constituting a laminated structure.
SOLUTION: The hydrogen separation membrane module 10 has a laminated structure portion PL1 provided with a plurality of thin plate-like hydrogen separation membrane units 100 laminated, and the hydrogen separation membrane unit 100 is arranged in the lamination direction in the laminated structure portion PL1. It has positioning structure part SP1 which can position a position of the direction which intersects perpendicularly.
[Selection] Figure 1

Description

本発明は、水素を選択的に透過する性質を有する水素分離膜を備えた水素分離膜モジュール,水素分離膜型燃料電池、および、それらの製造方法に関するものである。   The present invention relates to a hydrogen separation membrane module including a hydrogen separation membrane having a property of selectively permeating hydrogen, a hydrogen separation membrane fuel cell, and a method for producing the same.

従来、水素を選択的に透過する性質を有する水素分離膜を備えた水素分離膜モジュールには、水素含有ガスを水素分離膜の一方の面に流す流路部を形成する流路形成プレートと、水素含有ガスに比べて水素濃度が十分に低いガスを水素分離膜の他方の面に流す流路部を形成する流路形成プレートとの間に、水素分離膜を挟み込んだ薄板状の水素分離膜ユニットを複数積層して備えた積層構造部を有するものがある。下記特許文献1には、水素分離膜ユニットを複数積層した積層構造部を有する水素分離膜モジュールが開示されている。   Conventionally, in a hydrogen separation membrane module provided with a hydrogen separation membrane having a property of selectively permeating hydrogen, a flow path forming plate that forms a flow path portion for flowing a hydrogen-containing gas to one surface of the hydrogen separation membrane, A thin plate-shaped hydrogen separation membrane in which a hydrogen separation membrane is sandwiched between a flow passage forming plate that forms a flow passage section for flowing a gas having a sufficiently low hydrogen concentration to the other surface of the hydrogen separation membrane as compared with a hydrogen-containing gas Some have a laminated structure portion in which a plurality of units are laminated. Patent Document 1 below discloses a hydrogen separation membrane module having a laminated structure portion in which a plurality of hydrogen separation membrane units are laminated.

また、水素分離膜型燃料電池には、水素を選択的に透過する性質を有する水素分離膜層に、プロトン伝導性を有する電解質層が積層された電解質膜を有する単セルを、複数積層して構成される積層構造部を有するものがある。下記特許文献2には、単セルを複数積層した積層構造部を有する水素分離膜型燃料電池が開示されている。   Also, in a hydrogen separation membrane fuel cell, a plurality of single cells having an electrolyte membrane in which an electrolyte layer having proton conductivity is laminated on a hydrogen separation membrane layer having a property of selectively permeating hydrogen are laminated. Some have a laminated structure portion configured. Patent Document 2 below discloses a hydrogen separation membrane fuel cell having a laminated structure in which a plurality of single cells are laminated.

特開2003−34506号公報JP 2003-34506 A 特開平5−299105号公報JP-A-5-299105

しかしながら、従来、積層構造部を構成する各部材同士の接合に関しては十分な検討がなされておらず、各部材同士を接合することによって形成された流路内を流れる各種ガスが流路外へとリークしてしまうことがあった。この流路内ガスの外部リークの要因としては、例えば、各部材間の接合がロウ付けによって行われる場合には、部材間の接合面における外縁部と内部との間のロウ材の溶入りの差に起因する各部材間の位置ズレが挙げられる。この他の要因としては、各部材間の熱膨張率の差に起因する各部材間の接合不良や、各種のガスの供給または排出を行うマニホールドなどの付属部材を積層構造部に接合する際の接合熱に起因する接合部の再溶融も挙げられる。   However, conventionally, sufficient investigation has not been made on the joining of the members constituting the laminated structure, and various gases flowing in the flow path formed by joining the members are brought out of the flow path. There was a leak. As a cause of the external leakage of the gas in the flow path, for example, when the joining between the members is performed by brazing, the brazing material is intruded between the outer edge portion and the inside of the joining surface between the members. The positional deviation between each member resulting from a difference is mentioned. Other factors include poor bonding between the members due to the difference in thermal expansion coefficient between the members, and attachment of an attachment member such as a manifold that supplies or discharges various gases to the laminated structure. The remelting of the joining part resulting from joining heat is also mentioned.

本発明は、上記の課題を解決することを目的としてなされ、積層構造部を構成する各部材同士の接合に関する課題を解決することができる水素分離膜モジュール,水素分離膜型燃料電池、および、それらの製造方法を提供することを目的とする。   The present invention has been made for the purpose of solving the above-described problems, and is capable of solving the problems relating to the joining of the members constituting the laminated structure portion, a hydrogen separation membrane module, a hydrogen separation membrane fuel cell, and those It aims at providing the manufacturing method of.

上記の課題を解決するため、本発明の第1の水素分離膜モジュールは、水素を選択的に透過する性質を有する水素分離膜を用いて水素を含有する第1のガスから該第1のガスに比べて水素濃度が十分に低い第2のガスへと水素の透過を行う薄板状の水素分離膜ユニットを複数積層した積層構造部を有する水素分離膜モジュールであって、前記水素分離膜ユニットは、前記積層構造部における積層方向に対して直交する方向の位置を位置決め可能な位置決め構造部を有することを特徴とする。   In order to solve the above-described problems, a first hydrogen separation membrane module of the present invention uses a hydrogen separation membrane having a property of selectively permeating hydrogen from a first gas containing hydrogen to the first gas. A hydrogen separation membrane module having a laminated structure in which a plurality of thin plate-like hydrogen separation membrane units that permeate hydrogen into a second gas having a sufficiently low hydrogen concentration is laminated, wherein the hydrogen separation membrane unit comprises: And a positioning structure portion capable of positioning a position in a direction orthogonal to the stacking direction in the stacked structure portion.

この第1の水素分離膜モジュールに対応した本発明の製造方法は、水素を選択的に透過する性質を有する水素分離膜を用いて水素を含有する第1のガスから該第1のガスに比べて水素濃度が十分に低い第2のガスへと水素の透過を行う薄板状の水素分離膜ユニットを複数積層した積層構造部を有する水素分離膜モジュールの製造方法であって、(a)前記水素分離膜ユニットに、前記積層構造部における積層方向に対して直交する方向の位置を位置決め可能な位置決め構造部を用意する工程と、(b)前記水素分離膜ユニットを該位置決め構造部によって前記位置決めした状態で複数積層する工程と、(c)前記積層された複数の水素分離膜ユニットのうち隣接する水素分離膜ユニット同士を前記位置決めした状態で接合する工程とを備えたことを特徴とする。   The manufacturing method of the present invention corresponding to the first hydrogen separation membrane module uses a hydrogen separation membrane having a property of selectively permeating hydrogen to compare the first gas containing hydrogen with the first gas. A hydrogen separation membrane module having a laminated structure in which a plurality of thin plate-like hydrogen separation membrane units that permeate hydrogen into a second gas having a sufficiently low hydrogen concentration are laminated, wherein (a) the hydrogen Preparing a positioning structure portion capable of positioning a position in a direction perpendicular to the stacking direction in the stacked structure portion in the separation membrane unit; and (b) positioning the hydrogen separation membrane unit by the positioning structure portion. A step of stacking a plurality of hydrogen separation membrane units in a state; and (c) a step of joining adjacent hydrogen separation membrane units among the plurality of stacked hydrogen separation membrane units in the positioned state. And wherein the door.

一方、第1の水素分離膜モジュールに対応した本発明の第1の水素分離膜型燃料電池は、水素を選択的に透過する性質を有する水素分離膜に、プロトン伝導性を有する電解質層が積層された電解質膜を有する単セルを、複数積層して構成される積層構造部を有する水素分離膜型燃料電池であって、前記単セルは、前記積層構造部における積層方向に対して直交する方向の位置を位置決め可能な位置決め構造部を有することを特徴とする。   On the other hand, in the first hydrogen separation membrane fuel cell of the present invention corresponding to the first hydrogen separation membrane module, an electrolyte layer having proton conductivity is laminated on a hydrogen separation membrane having a property of selectively permeating hydrogen. A hydrogen separation membrane type fuel cell having a laminated structure part formed by laminating a plurality of unit cells each having an electrolyte membrane, wherein the single cell is in a direction orthogonal to the lamination direction in the laminated structure part It has the positioning structure part which can position the position of this.

この第1の水素分離膜型燃料電池に対応した本発明の製造方法は、水素を選択的に透過する性質を有する水素分離膜に、プロトン伝導性を有する電解質層が積層された電解質膜を有する単セルを、複数積層して構成される積層構造部を有する水素分離膜型燃料電池の製造方法であって、(a)前記単セルに、前記積層構造部における積層方向に対して直交する方向の位置を位置決め可能な位置決め構造部を用意する工程と、(b)前記単セルを該位置決め構造部によって前記位置決めした状態で複数積層する工程と、(c)前記積層された複数の単セルのうち隣接する単セル同士を前記位置決めした状態で接合する工程とを備えたことを特徴とする。   The manufacturing method of the present invention corresponding to the first hydrogen separation membrane fuel cell has an electrolyte membrane in which an electrolyte layer having proton conductivity is laminated on a hydrogen separation membrane having a property of selectively permeating hydrogen. A method for manufacturing a hydrogen separation membrane fuel cell having a laminated structure part formed by laminating a plurality of single cells, wherein: (a) a direction perpendicular to the lamination direction of the laminated structure part in the single cell A step of preparing a positioning structure part capable of positioning the position of (b), (b) a step of stacking a plurality of the single cells in the state of being positioned by the positioning structure portion, and (c) a plurality of the stacked single cells. And a step of joining adjacent single cells in the above-mentioned positioned state.

これらの発明によれば、水素分離膜ユニット(単セル)を位置決め構造によって位置決めした状態で積層し接合することができるため、多数の水素分離膜ユニット(単セル)を積層し接合する際に生じる水素分離膜ユニット(単セル)の位置ズレを防止することができる。   According to these inventions, the hydrogen separation membrane units (single cells) can be stacked and bonded in a state of being positioned by the positioning structure, so that they are generated when a large number of hydrogen separation membrane units (single cells) are stacked and bonded. The positional deviation of the hydrogen separation membrane unit (single cell) can be prevented.

上記の構成を備えた本発明の第1の水素分離膜モジュール,水素分離膜型燃料電池、および、それらの製造方法は、以下の態様を採ることもできる。   The first hydrogen separation membrane module, the hydrogen separation membrane fuel cell, and the manufacturing method thereof according to the present invention having the above-described configuration can also take the following aspects.

本発明の第1の水素分離膜モジュールまたは水素分離膜型燃料電池であって、前記位置決め構造部に位置決め穴部を貫通して形成したこととしても良い。一方、本発明の第1の水素分離膜モジュールの製造方法(水素分離膜型燃料電池の製造方法)であって、前記工程(a)は、(a−1)前記位置決め構造部に位置決め穴部を貫通して形成する工程と、(a−2)前記位置決め穴部に対して嵌め合いの関係にある柱部材が固定された位置決め治具を用意する工程とを含み、前記工程(b)は、前記位置決め穴部に前記柱部材を挿嵌することによって、前記用意した水素分離膜ユニット(単セル)を前記位置決めした状態で複数積層する工程であることとしても良い。これらの発明によれば、各水素分離膜ユニット(単セル)を位置決め治具を用いて容易に位置決めすることができ、その状態を保持することができる。   In the first hydrogen separation membrane module or the hydrogen separation membrane fuel cell of the present invention, the positioning structure portion may be formed through a positioning hole. On the other hand, in the first method for manufacturing a hydrogen separation membrane module of the present invention (method for manufacturing a hydrogen separation membrane fuel cell), the step (a) includes (a-1) a positioning hole portion in the positioning structure portion. And (a-2) preparing a positioning jig to which a pillar member in a fitting relationship with the positioning hole is fixed, and the step (b) It is good also as a process of laminating a plurality of the prepared hydrogen separation membrane units (single cells) in the positioned state by inserting the pillar member into the positioning hole. According to these inventions, each hydrogen separation membrane unit (single cell) can be easily positioned using the positioning jig, and the state can be maintained.

また、本発明の第1の水素分離膜モジュール(水素分離膜型燃料電池)であって、前記水素分離膜ユニット(単セル)は、前記位置決め構造部との間に、該位置決め構造部を切除可能に連結する切除部を有することとしても良い。一方、本発明の第1の水素分離膜モジュールの製造方法(水素分離膜型燃料電池の製造方法)であって、前記工程(a)は、前記水素分離膜ユニット(単セル)に、前記位置決め構造部を切除可能に用意する工程であり、更に、(d)前記接合された水素分離膜ユニット(単セル)の前記位置決め構造部を切除する工程を備えたこととしても良い。これらの発明によれば、水素分離膜における水素透過機能には直接的に影響を与えない位置決め構造部を取り除くことによって、積層構造部の軽量化・小型化を図ることができる。   Further, in the first hydrogen separation membrane module (hydrogen separation membrane fuel cell) of the present invention, the hydrogen separation membrane unit (single cell) is cut out between the positioning structure portion and the positioning structure portion. It is good also as having the cutting part connected so that it is possible. On the other hand, in the first method for producing a hydrogen separation membrane module of the present invention (a method for producing a hydrogen separation membrane fuel cell), the step (a) includes positioning the hydrogen separation membrane unit (single cell) with the positioning. It is a step of preparing the structure portion so as to be excised, and may further include (d) a step of excising the positioning structure portion of the joined hydrogen separation membrane unit (single cell). According to these inventions, the stacked structure portion can be reduced in weight and size by removing the positioning structure portion that does not directly affect the hydrogen permeation function in the hydrogen separation membrane.

上記の課題を解決するため、本発明の第2の水素分離膜モジュールは、水素を選択的に透過する性質を有する水素分離膜を用いて水素を含有する第1のガスから該第1のガスに比べて水素濃度が十分に低い第2のガスへと水素の透過を行う薄板状の水素分離膜ユニットを複数積層した積層構造部を有する水素分離膜モジュールであって、前記積層構造部は、前記水素分離膜ユニットよりも高い剛性を有する剛性プレートの層の間に所定個数の前記水素分離膜ユニットを積層し隣接する部材同士を接合した分割ユニットを複数積層し、隣接する分割ユニット同士を接合して構成されたことを特徴とする。   In order to solve the above-described problems, a second hydrogen separation membrane module of the present invention uses a hydrogen separation membrane having a property of selectively permeating hydrogen from a first gas containing hydrogen to the first gas. A hydrogen separation membrane module having a laminated structure portion in which a plurality of thin plate-shaped hydrogen separation membrane units that permeate hydrogen into a second gas having a sufficiently low hydrogen concentration is laminated, wherein the laminated structure portion includes: A plurality of divided units in which a predetermined number of the hydrogen separation membrane units are laminated between adjacent rigid plate layers having higher rigidity than the hydrogen separation membrane units and adjacent members are joined together are laminated, and the adjacent divided units are joined together. It is characterized by having been comprised.

この第2の水素分離膜モジュールに対応した本発明の製造方法は、水素を選択的に透過する性質を有する水素分離膜を用いて水素を含有する第1のガスから該第1のガスに比べて水素濃度が十分に低い第2のガスへと水素の透過を行う薄板状の水素分離膜ユニットを複数積層した積層構造部を有する水素分離膜モジュールの製造方法であって、(e)前記水素分離膜ユニットと、該水素分離膜ユニットよりも高い剛性を有する剛性プレートとを用意する工程と、(f)前記剛性プレートの層の間に所定個数の前記水素分離膜ユニットを積層し隣接する部材同士を接合した分割ユニットを構成する工程と、(g)前記分割ユニットを複数積層し、隣接する分割ユニット同士を接合して前記積層構造部を構成する工程とを備えたことを特徴とする。   The manufacturing method of the present invention corresponding to the second hydrogen separation membrane module uses a hydrogen separation membrane having a property of selectively permeating hydrogen and compares the first gas containing hydrogen with the first gas. A hydrogen separation membrane module having a laminated structure in which a plurality of thin plate-like hydrogen separation membrane units that permeate hydrogen into a second gas having a sufficiently low hydrogen concentration are laminated, wherein (e) the hydrogen A step of preparing a separation membrane unit and a rigid plate having higher rigidity than the hydrogen separation membrane unit; and (f) a member adjacent to a predetermined number of the hydrogen separation membrane units stacked between the rigid plate layers. And (g) stacking a plurality of the divided units, and bonding adjacent divided units to form the stacked structure portion.

一方、第2の水素分離膜モジュールに対応した本発明の第2の水素分離膜型燃料電池は、水素を選択的に透過する性質を有する水素分離膜に、プロトン伝導性を有する電解質層が積層された電解質膜を有する単セルを、複数積層して構成される積層構造部を有する水素分離膜型燃料電池であって、前記積層構造部は、前記単セルよりも高い剛性を有する剛性プレートの層の間に所定個数の前記単セルを積層し隣接する部材同士を接合した分割ユニットを複数積層し、隣接する分割ユニット同士を接合して構成されたことを特徴とする。   On the other hand, in the second hydrogen separation membrane fuel cell of the present invention corresponding to the second hydrogen separation membrane module, an electrolyte layer having proton conductivity is laminated on a hydrogen separation membrane having a property of selectively permeating hydrogen. A hydrogen separation membrane fuel cell having a laminated structure configured by laminating a plurality of single cells each having an electrolyte membrane, wherein the laminated structure is formed of a rigid plate having higher rigidity than the single cell. A plurality of division units in which a predetermined number of the single cells are laminated between layers and adjacent members are joined to each other are laminated, and the adjacent division units are joined to each other.

この第2の水素分離膜モジュールに対応した本発明の製造方法は、水素を選択的に透過する性質を有する水素分離膜に、プロトン伝導性を有する電解質層が積層された電解質膜を有する単セルを、複数積層して構成される積層構造部を有する水素分離膜型燃料電池の製造方法であって、(e)前記単セルと、該単セルよりも高い剛性を有する剛性プレートとを用意する工程と、(f)前記剛性プレートの層の間に所定個数の前記単セルを積層し隣接する部材同士を接合した分割ユニットを構成する工程と、(g)前記分割ユニットを複数積層し、隣接する分割ユニット同士を接合して前記積層構造部を構成する工程とを備えたことを特徴とする。   The manufacturing method of the present invention corresponding to the second hydrogen separation membrane module includes a single cell having an electrolyte membrane in which an electrolyte layer having proton conductivity is laminated on a hydrogen separation membrane having a property of selectively permeating hydrogen. Is a method for manufacturing a hydrogen separation membrane fuel cell having a laminated structure part formed by laminating a plurality of (e) the single cell and a rigid plate having higher rigidity than the single cell. And (f) forming a divided unit in which a predetermined number of the single cells are stacked between adjacent layers of the rigid plate and adjacent members are joined together; and (g) a plurality of the divided units are stacked and adjacent to each other. And a step of joining the divided units to form the laminated structure portion.

これらの発明によれば、複数の分割ユニット同士を接合して積層構造部を構成するため、接合熱により各部材に生じる残留応力の低減を図ることができる。その結果、水素分離膜の破損や部材同士の接合不良を抑制し、クロスリークや外部リークの発生を防止することができる。   According to these inventions, since a plurality of divided units are joined to form a laminated structure portion, it is possible to reduce residual stress generated in each member due to joining heat. As a result, damage to the hydrogen separation membrane and poor bonding between members can be suppressed, and occurrence of cross leaks and external leaks can be prevented.

また、積層構造部を製造する前段階において、分割ユニット単位で不良品の判別を行うことができるため、積層構造部全体が不良品となることを抑制することができる。また、分割ユニット単位で積層構造部の水素透過容量を変更することができるため、種々の水素透過容量の積層構造部を共通の分割ユニットを用いて製造することができる。これらの結果、積層構造部の生産性の向上を図ることができる。   In addition, since it is possible to determine defective products in units of divided units in a stage before manufacturing the laminated structure portion, it is possible to suppress the entire laminated structure portion from becoming defective products. Further, since the hydrogen permeation capacity of the laminated structure portion can be changed in units of divided units, the laminated structure portions having various hydrogen permeation capacities can be manufactured using a common divided unit. As a result, the productivity of the laminated structure can be improved.

なお、分割ユニットを構成する水素分離膜ユニット(単セル)の個数は、積層構造部における水素分離膜ユニット(単セル)の総数や、水素分離膜ユニット(単セル)に生じる残留応力、製造設備などの種々の条件に応じて適宜変更することができる。また、各分割ユニットを構成する水素分離膜ユニット(単セル)の個数は、全て均等な個数とする必要はなく、種々の個数の水素分離膜ユニット(単セル)から構成した複数の分割ユニットを組み合わせて積層構造部を構成することとしても良い。   The number of hydrogen separation membrane units (single cells) constituting the split unit is the total number of hydrogen separation membrane units (single cells) in the laminated structure, residual stress generated in the hydrogen separation membrane units (single cells), manufacturing equipment It can change suitably according to various conditions, such as. In addition, the number of hydrogen separation membrane units (single cells) constituting each dividing unit does not have to be equal, and a plurality of dividing units composed of various numbers of hydrogen separation membrane units (single cells) are included. It is good also as comprising a laminated structure part combining.

上記の課題を解決するため、前記構成を備えた本発明の第1,2の水素分離膜モジュール(水素分離膜型燃料電池)は、前記積層構造部に対する前記第1若しくは第2のガス(水素含有ガス若しくは酸素含有ガス)の供給または、該供給されたガスの排出を行うマニホールドと、前記積層構造部とを連結する連結部材を、前記積層構造部にレーザ溶接またはロウ付けによって接合し、前記マニホールドを、前記連結部材にティグ溶接によって接合したこととする態様を採ることができる。   In order to solve the above-described problems, the first and second hydrogen separation membrane modules (hydrogen separation membrane fuel cells) of the present invention having the above-described configuration include the first or second gas (hydrogen) for the stacked structure portion. A connecting member that connects a manifold that supplies or discharges the supplied gas and the laminated structure portion to the laminated structure portion by laser welding or brazing, and A mode in which the manifold is joined to the connecting member by TIG welding can be employed.

この水素分離膜モジュールに対応した前記工程を備えた本発明の第1,2の水素分離膜モジュールの製造方法(水素分離膜型燃料電池の製造方法)は、(h)前記積層構造部に対する前記第1若しくは第2のガス(水素含有ガス若しくは酸素含有ガス)の供給または、該供給されたガスの排出を行うマニホールドと、前記マニホールドおよび前記積層構造部の間を連結する連結部材とを用意する工程と、(i)前記連結部材を前記積層構造部にレーザ溶接またはロウ付けによって接合する工程と、(j)前記マニホールドを前記連結部材にティグ溶接によって接合する工程とを備えたこととする態様を採ることができる。   The manufacturing method of the first and second hydrogen separation membrane modules (method for manufacturing the hydrogen separation membrane fuel cell) of the present invention including the steps corresponding to the hydrogen separation membrane module includes: (h) A manifold that supplies the first or second gas (hydrogen-containing gas or oxygen-containing gas) or discharges the supplied gas and a connecting member that connects the manifold and the stacked structure portion are prepared. And (i) a step of joining the connecting member to the laminated structure portion by laser welding or brazing, and (j) a step of joining the manifold to the connecting member by TIG welding. Can be taken.

これらの発明によれば、積層構造部と連結部材とを、ティグ溶接よりも接合熱が比較的低いレーザ溶接やロウ付けによって接合し、連結部材とマニホールドとを、レーザ溶接やロウ付けよりも比較的複雑な形状の接合が可能なティグ溶接によって接合することができる。その結果、マニホールドを接合する際の接合熱の積層構造部への伝熱を抑制し、積層構造部における接合部の再溶融や水素分離膜の変質を防止することができる。また、連結部材の構造をマニホールドからの外力を吸収可能な構造とすることとしても良い。これによって、連結部材と積層構造部との接合面の破損を防止することができる。また、連結部材の材質を、マニホールドの材質よりも熱伝導率の低いものとすることとしても良い。これによって、積層構造部からマニホールドへの放熱を抑制することができる。   According to these inventions, the laminated structure portion and the connecting member are joined by laser welding or brazing, which has relatively lower joining heat than TIG welding, and the connecting member and the manifold are compared with each other than laser welding or brazing. Can be joined by TIG welding, which allows joining of complex shapes. As a result, it is possible to suppress the heat transfer of the joining heat to the laminated structure portion when joining the manifolds, and to prevent remelting of the joining portion and deterioration of the hydrogen separation membrane in the laminated structure portion. Moreover, it is good also as a structure which can absorb the external force from a manifold as a structure of a connection member. Thereby, damage to the joint surface between the connecting member and the laminated structure can be prevented. Further, the material of the connecting member may be a material having lower thermal conductivity than the material of the manifold. As a result, heat dissipation from the laminated structure portion to the manifold can be suppressed.

以上説明した本発明の構成および作用を一層明らかにするために、以下本発明を適用した水素分離膜モジュールおよびその製造方法について、次の順序で説明する。   In order to further clarify the configuration and operation of the present invention described above, a hydrogen separation membrane module to which the present invention is applied and a manufacturing method thereof will be described in the following order.

目次
A.第1の実施例
A−(1).水素分離膜モジュール10の構造
A−(2).水素分離膜モジュール10の製造方法
B.第2の実施例
C.第3の実施例
D.第4の実施例
D−(1).水素分離膜モジュール40の構造
D−(2).水素分離膜モジュール40の製造方法
E.第5の実施例
E−(1).水素分離膜モジュール50の構造
E−(2).水素分離膜モジュール50の製造方法
F.第6の実施例
G.第7の実施例
H.その他の実施形態
Table of Contents A. First Example A- (1). Structure of hydrogen separation membrane module 10 A- (2). Method for producing hydrogen separation membrane module 10B. Second Example C.I. Third Embodiment D. Fourth Example D- (1). Structure of hydrogen separation membrane module 40 D- (2). Method for producing hydrogen separation membrane module 40 Fifth Example E- (1). Structure of hydrogen separation membrane module 50 E- (2). Method for manufacturing hydrogen separation membrane module 50 Sixth Embodiment G. Seventh embodiment Other embodiments

A.第1の実施例:
A−(1).水素分離膜モジュール10の構造:
本発明の第1の実施例である水素分離膜モジュール10の構造について説明する。図1は、第1の実施例の水素分離膜モジュール10の構成を示す組立斜視図である。図2は、水素分離膜モジュール10を構成する水素分離膜ユニット100の構造を示す組立斜視図である。図3は、水素分離膜ユニット100の構造を示す部分拡大図である。
A. First embodiment:
A- (1). Structure of the hydrogen separation membrane module 10:
The structure of the hydrogen separation membrane module 10 which is the 1st Example of this invention is demonstrated. FIG. 1 is an assembled perspective view showing the configuration of the hydrogen separation membrane module 10 of the first embodiment. FIG. 2 is an assembled perspective view showing the structure of the hydrogen separation membrane unit 100 constituting the hydrogen separation membrane module 10. FIG. 3 is a partially enlarged view showing the structure of the hydrogen separation membrane unit 100.

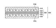
水素分離膜モジュール10は、図1に示すように、水素を選択的に透過する性質を有する水素分離膜120を備えた薄板状の水素分離膜ユニット100を複数積層して備えた積層構造部PL1を有する。積層構造部PL1における複数の水素分離膜ユニット100は、隣接するもの同士で接合されている。本実施例では、隣接する水素分離膜ユニット100同士は、互いに接する面でロウ付け接合されている。   As shown in FIG. 1, the hydrogen separation membrane module 10 includes a laminated structure portion PL1 having a plurality of thin plate-like hydrogen separation membrane units 100 each having a hydrogen separation membrane 120 having a property of selectively permeating hydrogen. Have The plurality of hydrogen separation membrane units 100 in the stacked structure part PL1 are joined together adjacent to each other. In the present embodiment, the adjacent hydrogen separation membrane units 100 are brazed and joined on the surfaces that are in contact with each other.

水素分離膜モジュール10を構成する個々の水素分離膜ユニット100は、水素分離膜120を用いて水素を含有する水素含有ガスから水素含有ガスに比べて水素濃度が十分に低いパージガスへと水素の透過を行う。この水素分離膜ユニット100は、図1および図2に示すように、水素分離膜120の他、水素含有ガスの供給を受け該ガスを水素分離膜120の一方の面上に流す供給ガス流路部FH1を形成する供給流路プレート110と、パージガスの供給を受け該ガスを水素分離膜120の他方の面上に流す回収ガス流路部FP1を形成する回収流路プレート130とを備える。これら供給流路プレート110,水素分離膜120,回収流路プレート130は、この順に積層され、各部材間の互いに接する面で接合して構成されている。本実施例では、これら各部材間は、互いに接する面でロウ付け接合されている。なお、パージガスとして、本実施例では、水蒸気と大気とから成る気体を採用するが、水素と不活性であるとともに、透過後の水素を使用する上で不都合を生じない気体(例えば、ヘリウム)であって、充分に水素濃度が低い気体を目的に応じて適宜選択すれば良い。   The individual hydrogen separation membrane units 100 constituting the hydrogen separation membrane module 10 transmit hydrogen from a hydrogen-containing gas containing hydrogen to a purge gas having a sufficiently lower hydrogen concentration than the hydrogen-containing gas using the hydrogen separation membrane 120. I do. As shown in FIGS. 1 and 2, this hydrogen separation membrane unit 100 is supplied with a hydrogen-containing gas in addition to the hydrogen separation membrane 120, and feeds the gas onto one surface of the hydrogen separation membrane 120. A supply flow path plate 110 that forms the portion FH1 and a recovery flow path plate 130 that forms a recovery gas flow path portion FP1 that receives supply of the purge gas and flows the gas onto the other surface of the hydrogen separation membrane 120. The supply flow path plate 110, the hydrogen separation membrane 120, and the recovery flow path plate 130 are stacked in this order, and are configured to be joined at the surfaces in contact with each other. In this embodiment, these members are brazed and joined on the surfaces that are in contact with each other. In this embodiment, a gas composed of water vapor and the atmosphere is used as the purge gas. However, the purge gas is a gas (for example, helium) that is inactive with hydrogen and does not cause inconvenience in using hydrogen after permeation. Therefore, a gas having a sufficiently low hydrogen concentration may be appropriately selected according to the purpose.

水素分離膜120は、長方形状の薄膜であり、その材質は、水素を選択的に透過する性質を有する水素分離金属である。この水素分離金属として、本実施例では、バナジウムを採用し、その表面にはパラジウムが鍍金されている。水素分離膜120の膜厚は、各種のガスを流す際の強度や水素透過効率などを考慮して適宜設定すればよく、例えば、100マイクロメートル(以下、μmと表記する)程度に設定することができる。   The hydrogen separation membrane 120 is a rectangular thin film, and the material thereof is a hydrogen separation metal having a property of selectively permeating hydrogen. In this embodiment, vanadium is used as the hydrogen separation metal, and palladium is plated on the surface thereof. The film thickness of the hydrogen separation membrane 120 may be appropriately set in consideration of the strength at the time of flowing various gases, the hydrogen permeation efficiency, and the like. For example, it is set to about 100 micrometers (hereinafter referred to as μm). Can do.

供給流路プレート110および回収流路プレート130は、水素分離膜120と同じ大きさの長方形状を有する板状部材であり、長方形状の向かい合う一方の辺から他方の辺への方向に供給ガス流路部FH1または回収ガス流路部FP1を形成する溝が成形されている。本実施例では、供給ガス流路部FH1および回収ガス流路部FP1の各流路部は、各プレートの長方形の向い合う2辺の一方の辺から他方の辺へと連通し、水素含有ガスとパージガスとを対向させて流すことが可能である。水素分離膜120における供給ガス流路部FH1と回収ガス流路部FP1とによって両面を挟まれた部分では、供給ガス流路部FH1内の水素含有ガスから、回収ガス流路部FP1内のパージガスへと水素の透過が行われることとなる。   The supply flow path plate 110 and the recovery flow path plate 130 are plate-like members having a rectangular shape having the same size as the hydrogen separation membrane 120, and supply gas flow in a direction from one side of the rectangular shape to the other side. A groove for forming the passage portion FH1 or the recovered gas passage portion FP1 is formed. In this embodiment, each flow path portion of the supply gas flow path portion FH1 and the recovery gas flow path portion FP1 communicates from one side of the two opposite sides of the rectangle of each plate to the other side, and the hydrogen-containing gas And purge gas can be allowed to flow opposite each other. In the portion of the hydrogen separation membrane 120 sandwiched between the supply gas flow path portion FH1 and the recovery gas flow path portion FP1, the purge gas in the recovery gas flow path portion FP1 from the hydrogen-containing gas in the supply gas flow path portion FH1. Permeation of hydrogen is performed.

供給流路プレート110および回収流路プレート130の板厚や溝深さは、各種のガスを流す際の強度や水素分離膜モジュール10の小型化などを考慮して適宜設定すればよく、例えば、板厚を1ミリメートル(以下、mmと表記する)程度に設定し、溝深さを0.5mm程度に設定することができる。供給流路プレート110および回収流路プレート130の材質は、各ガスを流す上で充分な強度および耐熱性を有するとともに、ガス不透過な性質を有する金属である。この金属として、本実施例ではステンレスを採用するが、ステンレス以外の金属材料や、セラミックスなどの金属材料以外の種々の材質から選択することができる。   The plate thickness and groove depth of the supply flow path plate 110 and the recovery flow path plate 130 may be appropriately set in consideration of the strength at the time of flowing various gases and the miniaturization of the hydrogen separation membrane module 10. The plate thickness can be set to about 1 millimeter (hereinafter referred to as mm), and the groove depth can be set to about 0.5 mm. The material of the supply flow path plate 110 and the recovery flow path plate 130 is a metal that has sufficient strength and heat resistance to allow each gas to flow and has gas-impermeable properties. As this metal, stainless steel is adopted in this embodiment, but it can be selected from metal materials other than stainless steel and various materials other than metal materials such as ceramics.

水素分離膜ユニット100は、供給流路プレート110,水素分離膜120,回収流路プレート130を積層し接合することよって、図1および図3に示すように、既述した供給ガス流路部FH1および回収ガス流路部FP1が内部に形成された長方形の薄板状体であり水素分離膜120を用いた水素の透過が行われる水素透過構造部SH1と、積層構造部PL1における積層方向に対して直交する方向の位置を位置決め可能な4つの位置決め構造部SP1と、水素透過構造部SH1と位置決め構造部SP1とを連結する4つのブリッジ部SB1とを有する。位置決め構造部SP1は、ブリッジ部SB1を切断することによって、水素透過構造部SH1から切除可能であり、水素分離膜ユニット100は、位置決め構造部SP1が切除された状態であっても、水素分離膜120を用いた水素の透過を行うことができる。   As shown in FIGS. 1 and 3, the hydrogen separation membrane unit 100 stacks and joins the supply flow path plate 110, the hydrogen separation membrane 120, and the recovery flow path plate 130, so that the supply gas flow path portion FH1 described above is obtained. And a hydrogen permeable structure part SH1 in which the hydrogen permeation using the hydrogen separation membrane 120 is performed, and the stacking direction in the stacked structure part PL1. It has four positioning structure parts SP1 that can position the positions in the orthogonal direction, and four bridge parts SB1 that connect the hydrogen permeable structure part SH1 and the positioning structure part SP1. The positioning structure part SP1 can be excised from the hydrogen permeable structure part SH1 by cutting the bridge part SB1, and the hydrogen separation membrane unit 100 can be removed even if the positioning structure part SP1 is excised. Hydrogen permeation using 120 can be performed.

水素分離膜ユニット100の位置決め構造部SP1は、図3に示すように、正方形の薄板状体であり、その正方形の中心には、貫通した円形状の位置決め穴部HA1が形成されている。4つの位置決め構造部SP1は、水素透過構造部SH1における各流路部の出入り口が形成されている2辺とは異なる2辺の両端付近に、それぞれブリッジ部SB1を介して連結されている。水素透過構造部SH1と位置決め構造部SP1との間には、ブリッジ部SB1によって、貫通した隙間である逃げ穴部HB1が形成されている。   As shown in FIG. 3, the positioning structure SP1 of the hydrogen separation membrane unit 100 is a square thin plate-like body, and a circular positioning hole HA1 penetrating therethrough is formed at the center of the square. The four positioning structures SP1 are connected to both ends of two sides different from the two sides where the entrance / exit of each flow path part in the hydrogen permeation structure SH1 is formed via the bridge part SB1. Between the hydrogen permeation structure SH1 and the positioning structure SP1, a bridge hole SB1 forms a clearance hole HB1 that is a through-hole.

A−(2).水素分離膜モジュール10の製造方法:
水素分離膜モジュール10の製造方法について説明する。図4は、第1の実施例の水素分離膜モジュール10の製造工程の概略を表す説明図である。水素分離膜モジュール10を製造する際には、始めに、既述した位置決め構造部SP1を有する水素分離膜ユニット100を用意する(工程S110)。本実施例では、この工程で、水素分離膜ユニット100を用意するとともに、その位置決め構造部SP1の位置決め穴部HA1に対して嵌め合いの関係にある位置決めピンPN1が固定された位置決め治具JG1も用意する。
A- (2). Manufacturing method of the hydrogen separation membrane module 10:
A method for manufacturing the hydrogen separation membrane module 10 will be described. FIG. 4 is an explanatory diagram showing an outline of the manufacturing process of the hydrogen separation membrane module 10 of the first embodiment. When manufacturing the hydrogen separation membrane module 10, first, the hydrogen separation membrane unit 100 having the above-described positioning structure portion SP1 is prepared (step S110). In this embodiment, in this step, the hydrogen separation membrane unit 100 is prepared, and the positioning jig JG1 to which the positioning pin PN1 in a fitting relationship with the positioning hole HA1 of the positioning structure SP1 is fixed is also provided. prepare.

ここで、位置決め治具JG1について説明する。図5は、位置決め治具JG1の構造を示す説明図である。位置決め治具JG1は、4本の位置決めピンPN1と、板状の治具ベースJB1とを備える。位置決めピンPN1は、水素分離膜ユニット100の位置決め穴部HA1と嵌め合いの関係にある円柱部材であり、その一端は略円錐状に細く成形されている。その他端は、全ての位置決めピンPN1が水素分離膜ユニット100の位置決め穴部HA1と同時に嵌め合う位置関係で、治具ベースJB1に固定されている。位置決め治具JG1の材質は、位置決めピンPN1と位置決め穴部HA1とが嵌め合った状態の水素分離膜ユニット100の位置を保持可能な強度を備えた材質であれば良く、本実施例では、ステンレスを採用する。   Here, the positioning jig JG1 will be described. FIG. 5 is an explanatory view showing the structure of the positioning jig JG1. The positioning jig JG1 includes four positioning pins PN1 and a plate-shaped jig base JB1. The positioning pin PN1 is a columnar member that is in a fitting relationship with the positioning hole HA1 of the hydrogen separation membrane unit 100, and one end thereof is thinly formed into a substantially conical shape. The other end is fixed to the jig base JB1 in such a positional relationship that all the positioning pins PN1 are fitted simultaneously with the positioning holes HA1 of the hydrogen separation membrane unit 100. The positioning jig JG1 may be made of a material having a strength capable of holding the position of the hydrogen separation membrane unit 100 in a state in which the positioning pin PN1 and the positioning hole HA1 are fitted to each other. Is adopted.

水素分離膜ユニット100を用意するために、本実施例では、水素分離膜ユニット100を構成する部材である供給流路プレート110,水素分離膜120,回収流路プレート130を用意する。水素分離膜120については、バナジウム箔を長方形に成形することによって用意する。供給流路プレート110および回収流路プレート130については、水素分離膜120と略同一形状の長方形と位置決め構造部SP1を形成する4つの正方形とが連結された形状に、ステンレス板を成形するとともに、供給ガス流路部FH1または回収ガス流路部FP1となる溝をエッチング加工で成形することによって用意する。なお、本実施例では、供給流路プレート110と回収流路プレート130とを同一形状とし部材の共通化を図っている。   In order to prepare the hydrogen separation membrane unit 100, in this embodiment, a supply channel plate 110, a hydrogen separation membrane 120, and a recovery channel plate 130, which are members constituting the hydrogen separation membrane unit 100, are prepared. The hydrogen separation membrane 120 is prepared by forming a vanadium foil into a rectangular shape. For the supply flow path plate 110 and the recovery flow path plate 130, a stainless steel plate is formed into a shape in which a rectangle having substantially the same shape as the hydrogen separation membrane 120 and four squares forming the positioning structure SP1 are connected, It prepares by shape | molding the groove | channel used as the supply gas flow path part FH1 or the collection | recovery gas flow path part FP1 by an etching process. In the present embodiment, the supply flow path plate 110 and the recovery flow path plate 130 have the same shape so as to share the members.

その後、用意された各部材を、供給流路プレート110,水素分離膜120,回収流路プレート130の順に積層し、各部材間の互いに接する面でロウ付け接合し、水素分離膜ユニット100を完成させる。その後、後述の工程において水素分離膜ユニット100同士をロウ付け接合するため、水素分離膜ユニット100を積層した際に互いに接する面にロウ材を塗布し、水素分離膜ユニット100が用意される。   Thereafter, the prepared members are stacked in the order of the supply flow path plate 110, the hydrogen separation membrane 120, and the recovery flow path plate 130, and are brazed and joined to each other in contact with each other to complete the hydrogen separation membrane unit 100. Let Thereafter, in order to braze and bond the hydrogen separation membrane units 100 to each other in a process described later, a brazing material is applied to the surfaces that come into contact with each other when the hydrogen separation membrane units 100 are stacked, whereby the hydrogen separation membrane unit 100 is prepared.

水素分離膜ユニット100を用意した後(工程S110)、水素分離膜ユニット100を位置決め構造部SP1によって位置決めした状態で複数積層する(工程S120)。この工程では、図5に示すように、水素分離膜ユニット100の位置決め構造部SP1に形成された4つの位置決め穴部HA1に、それぞれ対応する位置決め治具JG1の位置決めピンPN1を挿嵌することによって水素分離膜ユニット100を位置決めし位置決め治具JG1に嵌め込む。その水素分離膜ユニット100の上に、他の水素分離膜ユニット100を次々と同様に嵌め込むことによって、水素分離膜ユニット100が複数積層した状態で位置決め治具JG1に嵌め込まれる。   After preparing the hydrogen separation membrane unit 100 (step S110), a plurality of hydrogen separation membrane units 100 are stacked in a state of being positioned by the positioning structure portion SP1 (step S120). In this step, as shown in FIG. 5, the positioning pins PN1 of the corresponding positioning jig JG1 are inserted into the four positioning holes HA1 formed in the positioning structure SP1 of the hydrogen separation membrane unit 100, respectively. The hydrogen separation membrane unit 100 is positioned and fitted into the positioning jig JG1. By fitting other hydrogen separation membrane units 100 onto the hydrogen separation membrane unit 100 one after another, the hydrogen separation membrane units 100 are fitted into the positioning jig JG1 in a state where a plurality of the hydrogen separation membrane units 100 are stacked.

水素分離膜ユニット100を複数積層した後(工程S120)、位置決め構造部SP1によって位置決めした状態で積層された複数の水素分離膜ユニット100のうち隣接する水素分離膜ユニット100同士を接合する(工程S130)。この工程では、水素分離膜ユニット100が複数積層された状態の位置決め治具JG1を、水素分離膜ユニット100に塗布したロウ材のロウ付温度に保った炉内に搬入し、位置決めした状態で水素分離膜ユニット100同士をロウ付け接合する。これによって、水素分離膜ユニット100を複数積層し接合した積層構造部PL1が位置決め治具JG1に嵌め込まれた状態で形成される。その後、位置決め治具JG1の位置決めピンPN1から積層構造部PL1を抜き取り、水素分離膜モジュール10が完成する。   After stacking a plurality of hydrogen separation membrane units 100 (step S120), adjacent hydrogen separation membrane units 100 among the plurality of hydrogen separation membrane units 100 stacked in a state of being positioned by the positioning structure portion SP1 are joined (step S130). ). In this step, the positioning jig JG1 in a state where a plurality of hydrogen separation membrane units 100 are stacked is carried into a furnace maintained at the brazing temperature of the brazing material applied to the hydrogen separation membrane unit 100, and the hydrogenation membrane JG1 is positioned in a state where the hydrogenation membrane units 100 are positioned. The separation membrane units 100 are joined by brazing. As a result, a stacked structure portion PL1 in which a plurality of hydrogen separation membrane units 100 are stacked and joined is formed in a state of being fitted into the positioning jig JG1. Thereafter, the stacked structure portion PL1 is extracted from the positioning pin PN1 of the positioning jig JG1, and the hydrogen separation membrane module 10 is completed.

以上説明した本発明の水素分離膜モジュール10およびその製造方法によれば、水素分離膜ユニット100を位置決め構造部SP1によって位置決めした状態で積層し接合することができるため、多数の水素分離膜ユニット100を積層し接合する際に生じる水素分離膜ユニット100の位置ズレを防止することができる。   According to the hydrogen separation membrane module 10 and the method of manufacturing the same of the present invention described above, the hydrogen separation membrane unit 100 can be stacked and bonded in a state where the hydrogen separation membrane unit 100 is positioned by the positioning structure portion SP1. It is possible to prevent displacement of the hydrogen separation membrane unit 100 that occurs when the layers are stacked and joined.

また、水素分離膜ユニット100は、位置決め穴部HA1が形成された位置決め構造部SP1を有するため、この位置決め穴部HA1に位置決め治具JG1の位置決めピンPN1を挿嵌することによって、各水素分離膜ユニット100を位置決めした状態で容易に保持することができる。   Moreover, since the hydrogen separation membrane unit 100 has the positioning structure portion SP1 in which the positioning hole HA1 is formed, each hydrogen separation membrane is inserted by inserting the positioning pin PN1 of the positioning jig JG1 into the positioning hole HA1. The unit 100 can be easily held in a positioned state.

また、水素分離膜ユニット100の水素透過構造部SH1と位置決め構造部SP1との間には、逃げ穴部HB1が形成されているため、積層された水素分離膜ユニット100同士をロウ付け接合する際に、余剰ロウ材を逃げ穴部HB1から水素透過構造部SH1の外部に逃がし、供給ガス流路部FH1や回収ガス流路部FP1へと余剰ロウ材が漏れ出すことを抑制することができる。これによって、余剰ロウ材が、供給ガス流路部FH1や回収ガス流路部FP1へと漏れ出すことがなく、水素分離膜120の表面を慮外のロウ材で覆ってしまうことがない。この結果、水素の透過効率を高く維持することができる。   Further, since the escape hole portion HB1 is formed between the hydrogen permeable structure portion SH1 and the positioning structure portion SP1 of the hydrogen separation membrane unit 100, when the hydrogen separation membrane units 100 stacked are brazed and joined together. In addition, it is possible to suppress the surplus brazing material from escaping from the escape hole portion HB1 to the outside of the hydrogen permeable structure portion SH1 and the surplus brazing material leaking out to the supply gas flow path portion FH1 and the recovery gas flow path portion FP1. As a result, surplus brazing material does not leak into the supply gas flow path portion FH1 and the recovery gas flow path portion FP1, and the surface of the hydrogen separation membrane 120 is not covered with an unexpected brazing material. As a result, the hydrogen permeation efficiency can be maintained high.

B.第2の実施例:
本発明の第2の実施例である水素分離膜モジュール20の構造について説明する。図6は、第2の実施例の水素分離膜モジュール20の構造を示す斜視図である。水素分離膜モジュール20は、第1の実施例の積層構造部PL1における水素分離膜ユニット100の位置決め構造部SP1が切除された積層構造部PL2を有する。図6には、位置決め構造部SP1を切除するためブリッジ部SB1を切断した切断面CS2がハッチングで示されている。
B. Second embodiment:
The structure of the hydrogen separation membrane module 20 which is the 2nd Example of this invention is demonstrated. FIG. 6 is a perspective view showing the structure of the hydrogen separation membrane module 20 of the second embodiment. The hydrogen separation membrane module 20 has a laminated structure part PL2 in which the positioning structure part SP1 of the hydrogen separation membrane unit 100 in the laminated structure part PL1 of the first embodiment is cut off. In FIG. 6, a cut surface CS2 obtained by cutting the bridge portion SB1 in order to cut out the positioning structure portion SP1 is shown by hatching.

水素分離膜モジュール20の製造方法について説明する。図7は、第2の実施例の水素分離膜モジュール20の製造工程の概略を示す説明図である。水素分離膜モジュール20を製造する際には、始めに、既述した水素分離膜モジュール10の製造方法によって、水素分離膜モジュール10を用意する(工程S210)。その後、水素分離膜モジュール10の積層構造部PL1における各水素分離膜ユニット100のブリッジ部SB1を切断し、位置決め構造部SP1を切除することによって(工程S220)、積層構造部PL2が形成され、水素分離膜モジュール20が完成する。   A method for manufacturing the hydrogen separation membrane module 20 will be described. FIG. 7 is an explanatory diagram showing an outline of the manufacturing process of the hydrogen separation membrane module 20 of the second embodiment. When manufacturing the hydrogen separation membrane module 20, first, the hydrogen separation membrane module 10 is prepared by the method for manufacturing the hydrogen separation membrane module 10 described above (step S210). Thereafter, by cutting the bridge portion SB1 of each hydrogen separation membrane unit 100 in the laminated structure portion PL1 of the hydrogen separation membrane module 10 and cutting the positioning structure portion SP1 (step S220), the laminated structure portion PL2 is formed, and hydrogen The separation membrane module 20 is completed.

以上説明した本発明の水素分離膜モジュール20およびその製造方法によれば、第1の実施例の効果に加え、水素分離膜120における水素透過機能には直接的に影響を与えない位置決め構造部SP1を取り除くことによって、積層構造部PL2の軽量化・小型化を図ることができる。   According to the hydrogen separation membrane module 20 and the method for manufacturing the same of the present invention described above, the positioning structure SP1 that does not directly affect the hydrogen permeation function of the hydrogen separation membrane 120 in addition to the effects of the first embodiment. By removing, the weight and size of the laminated structure portion PL2 can be reduced.

C.第3の実施例:
本発明の第3の実施例である水素分離膜モジュール30の構造について説明する。図8は、第3の実施例の水素分離膜モジュール30の構造を示す斜視図である。水素分離膜モジュール30は、回収ガス流路部FP3の形成方向が供給ガス流路部FH3の形成方向と直交する積層構造部PL3を有する。この積層構造部PL3は、回収ガス流路部FP3の形成方向が異なる他は、第2の実施例の積層構造部PL2と同様の構造である。
C. Third embodiment:
The structure of the hydrogen separation membrane module 30 which is the 3rd Example of this invention is demonstrated. FIG. 8 is a perspective view showing the structure of the hydrogen separation membrane module 30 of the third embodiment. The hydrogen separation membrane module 30 includes a stacked structure part PL3 in which the formation direction of the recovery gas flow path part FP3 is orthogonal to the formation direction of the supply gas flow path part FH3. This stacked structure part PL3 has the same structure as the stacked structure part PL2 of the second embodiment, except that the formation direction of the recovery gas flow path part FP3 is different.

次に、水素分離膜モジュール30の製造方法について説明する。図9は、第3の実施例の水素分離膜モジュール30の製造工程の概略を示す説明図である。水素分離膜モジュール30の製造方法は、水素分離膜ユニット100に代えて水素分離膜ユニット300を用意する点(工程S310)が異なる他は、第2の実施例の水素分離膜モジュール20の製造方法と同様である。   Next, a method for manufacturing the hydrogen separation membrane module 30 will be described. FIG. 9 is an explanatory diagram showing an outline of the manufacturing process of the hydrogen separation membrane module 30 of the third embodiment. The method for manufacturing the hydrogen separation membrane module 30 differs from the method for manufacturing the hydrogen separation membrane module 20 of the second embodiment except that a hydrogen separation membrane unit 300 is prepared instead of the hydrogen separation membrane unit 100 (step S310). It is the same.

水素分離膜ユニット300は、第1の実施例の水素分離膜ユニット100と同様に、供給流路プレート310,水素分離膜320,回収流路プレート330を積層し接合して構成されているが、回収流路プレート330の回収ガス流路部FP3の形成方向が、水素分離膜ユニット100の回収流路プレート130の形成方向と直交する方向である点が異なる。なお、水素分離膜ユニット300の各構造部は、水素分離膜ユニット100とほぼ同様であり、本実施例の説明では、水素分離膜ユニット300の各構造部の符号を、対応する水素分離膜ユニット100の各構造部の符号の数字を「3」に置き換えて説明する。   Like the hydrogen separation membrane unit 100 of the first embodiment, the hydrogen separation membrane unit 300 is configured by laminating and joining a supply flow path plate 310, a hydrogen separation membrane 320, and a recovery flow path plate 330. The difference is that the formation direction of the recovery gas flow path portion FP3 of the recovery flow path plate 330 is a direction orthogonal to the formation direction of the recovery flow path plate 130 of the hydrogen separation membrane unit 100. In addition, each structure part of the hydrogen separation membrane unit 300 is substantially the same as the hydrogen separation membrane unit 100, and in the description of the present embodiment, the reference numerals of the structure parts of the hydrogen separation membrane unit 300 are used as the corresponding hydrogen separation membrane unit. The description will be made by replacing the reference numeral of each structural unit 100 with “3”.

水素分離膜ユニット300を複数積層し接合した後(工程S320,S330)、水素分離膜ユニット300の位置決め構造部SP3を切除することによって(工程S340)、図8に示した水素分離膜モジュール30が完成する。図10は、水素分離膜モジュール30の製造工程の様子を示す説明図である。図10には、水素分離膜ユニット300の位置決め構造部SP3の一部を切除する様子が示されている(工程S340)。図8および図10には、位置決め構造部SP3を切除するためブリッジ部SB3を切断した切断面CS3がハッチングで示されている。   After stacking and joining a plurality of hydrogen separation membrane units 300 (steps S320 and S330), the positioning structure portion SP3 of the hydrogen separation membrane unit 300 is removed (step S340), whereby the hydrogen separation membrane module 30 shown in FIG. Complete. FIG. 10 is an explanatory view showing the state of the manufacturing process of the hydrogen separation membrane module 30. FIG. 10 shows a state in which a part of the positioning structure SP3 of the hydrogen separation membrane unit 300 is excised (Step S340). In FIG. 8 and FIG. 10, a cut surface CS3 obtained by cutting the bridge portion SB3 in order to cut the positioning structure portion SP3 is shown by hatching.

以上説明した本発明の水素分離膜モジュール30およびその製造方法によれば、第2の実施例と同様の効果を得ることができる。   According to the hydrogen separation membrane module 30 and the manufacturing method thereof of the present invention described above, the same effects as those of the second embodiment can be obtained.

D.第4の実施例:
D−(1).水素分離膜モジュール40の構造:
本発明の第4の実施例である水素分離膜モジュール40の構造について説明する。図11は、第4の実施例の水素分離膜モジュール40の構造を示す組立斜視図である。図12は、水素分離膜モジュール40を構成する分割ユニット45の構造を示す組立斜視図である。
D. Fourth embodiment:
D- (1). Structure of the hydrogen separation membrane module 40:
The structure of the hydrogen separation membrane module 40 which is the 4th Example of this invention is demonstrated. FIG. 11 is an assembled perspective view showing the structure of the hydrogen separation membrane module 40 of the fourth embodiment. FIG. 12 is an assembled perspective view showing the structure of the split unit 45 constituting the hydrogen separation membrane module 40.

水素分離膜モジュール40は、図11に示すように、水素を選択的に透過する性質を有する水素分離膜420を備えた薄板状の水素分離膜ユニット400を複数備えた積層構造部PL4を有する。この積層構造部PL4は、水素分離膜ユニット400よりも高い剛性を有する剛性プレート405,435の層の間に所定個数の水素分離膜ユニット400を積層し隣接する部材同士を接合した分割ユニット45を複数積層し、隣接する分割ユニット45同士を接合して構成されている。本実施例では、隣接する分割ユニット45同士は、互いに接する面でロウ付け接合されている。分割ユニット45が備える水素分離膜ユニット400の所定個数は、水素分離膜ユニット400の残留応力などを考慮して適宜設定することができ、数個から数十個程度としても良い。   As shown in FIG. 11, the hydrogen separation membrane module 40 includes a stacked structure portion PL4 including a plurality of thin plate-like hydrogen separation membrane units 400 including a hydrogen separation membrane 420 having a property of selectively permeating hydrogen. The laminated structure portion PL4 includes a divided unit 45 in which a predetermined number of hydrogen separation membrane units 400 are laminated between layers of rigid plates 405 and 435 having higher rigidity than the hydrogen separation membrane unit 400 and adjacent members are joined to each other. A plurality of layers are stacked and adjacent division units 45 are joined to each other. In the present embodiment, the adjacent divided units 45 are brazed and joined on the surfaces in contact with each other. The predetermined number of the hydrogen separation membrane units 400 included in the dividing unit 45 can be appropriately set in consideration of the residual stress of the hydrogen separation membrane unit 400, and may be several to several tens.

分割ユニット45の剛性プレート405,435は、略長方形状の水素分離膜ユニット400と同一形状の板状部材である。剛性プレート405,435の板厚は、間に挟まれる水素分離膜ユニット400の大きさや個数を考慮して適宜設定すればよく、例えば、板厚を3mm程度に設定することができる。剛性プレート405,435の材質は、充分な強度および耐熱性を有する金属であり、本実施例ではステンレスを採用する。   The rigid plates 405 and 435 of the division unit 45 are plate-like members having the same shape as the substantially rectangular hydrogen separation membrane unit 400. The plate thickness of the rigid plates 405 and 435 may be appropriately set in consideration of the size and number of the hydrogen separation membrane units 400 sandwiched between them. For example, the plate thickness can be set to about 3 mm. The material of the rigid plates 405 and 435 is a metal having sufficient strength and heat resistance, and stainless steel is used in this embodiment.

水素分離膜ユニット400は、水素分離膜420を用いて水素含有ガスからパージガスへと水素の透過を行う。この水素分離膜ユニット400は、図12に示すように、水素分離膜420の他、水素含有ガスの供給を受け該ガスを水素分離膜420の一方の面上に流す供給ガス流路部FH4を形成する供給流路プレート410と、パージガスの供給を受け該ガスを水素分離膜120の他方の面上に流す回収ガス流路部FP4を形成する回収流路プレート430とを備える。これら供給流路プレート410,水素分離膜420,回収流路プレート430は、この順に積層され、各部材間の互いに接する面で接合して構成されている。本実施例では、これら各部材間は、互いに接する面でロウ付け接合されている。なお、パージガスについては、第1の実施例と同様である。   The hydrogen separation membrane unit 400 uses the hydrogen separation membrane 420 to permeate hydrogen from the hydrogen-containing gas to the purge gas. As shown in FIG. 12, this hydrogen separation membrane unit 400 has a supply gas flow path section FH 4 that receives supply of a hydrogen-containing gas in addition to the hydrogen separation membrane 420 and flows the gas on one surface of the hydrogen separation membrane 420. A supply flow path plate 410 to be formed and a recovery flow path plate 430 that forms a recovery gas flow path portion FP4 that receives supply of the purge gas and flows the gas onto the other surface of the hydrogen separation membrane 120 are provided. The supply flow path plate 410, the hydrogen separation membrane 420, and the recovery flow path plate 430 are stacked in this order, and are configured to be joined to each other at surfaces that contact each other. In this embodiment, these members are brazed and joined on the surfaces that are in contact with each other. The purge gas is the same as that in the first embodiment.

水素分離膜420は、略長方形状の薄膜であり、その材質は、水素を選択的に透過する性質を有する水素分離金属である。供給流路プレート410および回収流路プレート430は、水素分離膜420と同形状の板状部材である。供給流路プレート410には、略長方形状の一方の短辺から他方の短辺への方向に供給ガス流路部FH4を形成する溝が成形され、回収流路プレート430には、略長方形状の一方の長辺から他方の長辺への方向に回収ガス流路部FP4を形成する凹凸が成形されている。水素分離膜420,供給流路プレート410および回収流路プレート430の材質や厚さ等は、第1の実施例の水素分離膜120,供給流路プレート110および回収流路プレート130と同様である。   The hydrogen separation membrane 420 is a substantially rectangular thin film, and the material thereof is a hydrogen separation metal having a property of selectively permeating hydrogen. The supply flow path plate 410 and the recovery flow path plate 430 are plate-like members having the same shape as the hydrogen separation membrane 420. The supply flow path plate 410 is formed with a groove that forms the supply gas flow path portion FH4 in the direction from one short side of the substantially rectangular shape to the other short side, and the recovery flow path plate 430 has a substantially rectangular shape. Concavities and convexities forming the recovery gas flow path portion FP4 are formed in the direction from one long side to the other long side. The materials, thicknesses, and the like of the hydrogen separation membrane 420, the supply flow path plate 410, and the recovery flow path plate 430 are the same as those of the hydrogen separation membrane 120, the supply flow path plate 110, and the recovery flow path plate 130 of the first embodiment. .

D−(2).水素分離膜モジュール40の製造方法:
水素分離膜モジュール40の製造方法について説明する。図13は、第4の実施例の水素分離膜モジュール40の製造工程の概略を表す説明図である。水素分離膜モジュール40を製造する際には、始めに、既述した水素分離膜ユニット400と剛性プレート405,435とを用意する(工程S410)。剛性プレート405,435については、水素分離膜ユニット400と同一形状にステンレス板を成形して用意する。
D- (2). Method for producing hydrogen separation membrane module 40:
A method for manufacturing the hydrogen separation membrane module 40 will be described. FIG. 13 is an explanatory view showing the outline of the manufacturing process of the hydrogen separation membrane module 40 of the fourth embodiment. When manufacturing the hydrogen separation membrane module 40, first, the hydrogen separation membrane unit 400 and the rigid plates 405 and 435 described above are prepared (step S410). The rigid plates 405 and 435 are prepared by forming a stainless steel plate in the same shape as the hydrogen separation membrane unit 400.

一方、水素分離膜ユニット400を用意するために、本実施例では、水素分離膜ユニット400を構成する部材である供給流路プレート410,水素分離膜420,回収流路プレート430を用意する。水素分離膜420については、バナジウム箔を略長方形に成形することによって用意する。供給流路プレート410および回収流路プレート430については、水素分離膜420と同一形状にステンレス板を成形するとともに、供給ガス流路部FH4または回収ガス流路部FP4となる溝をエッチング加工で成形することによって用意する。   On the other hand, in order to prepare the hydrogen separation membrane unit 400, in this embodiment, a supply channel plate 410, a hydrogen separation membrane 420, and a recovery channel plate 430, which are members constituting the hydrogen separation membrane unit 400, are prepared. The hydrogen separation membrane 420 is prepared by forming a vanadium foil into a substantially rectangular shape. For the supply flow path plate 410 and the recovery flow path plate 430, a stainless steel plate is formed in the same shape as the hydrogen separation membrane 420, and a groove that becomes the supply gas flow path portion FH4 or the recovery gas flow path portion FP4 is formed by etching. Prepare by doing.

その後、用意された各部材を、供給流路プレート410,水素分離膜420,回収流路プレート430の順に積層し、各部材間の互いに接する面でロウ付け接合して、水素分離膜ユニット400を用意する。   Thereafter, the prepared members are laminated in the order of the supply flow path plate 410, the hydrogen separation membrane 420, and the recovery flow path plate 430, and are brazed and joined to the surfaces of the members that are in contact with each other. prepare.

水素分離膜ユニット400と剛性プレート405,435とを用意した後(工程S410)、これらの部材から分割ユニット45を構成する(工程S420)。この工程では、剛性プレート405,435の層の間に所定個数の水素分離膜ユニット400を積層し、隣接する部材同士をロウ付け接合することによって、分割ユニット45を構成する。その後、分割ユニット45を複数積層し、隣接する分割ユニット45同士を接合して積層構造部PL4を構成することによって(工程S430)、水素分離膜モジュール40が完成する。   After preparing the hydrogen separation membrane unit 400 and the rigid plates 405 and 435 (step S410), the division unit 45 is configured from these members (step S420). In this step, a predetermined number of hydrogen separation membrane units 400 are laminated between the layers of the rigid plates 405 and 435, and adjacent members are brazed and joined to form the divided unit 45. Thereafter, the hydrogen separation membrane module 40 is completed by laminating a plurality of the division units 45 and joining the adjacent division units 45 to form the laminated structure portion PL4 (step S430).

以上説明した本発明の水素分離膜モジュール40およびその製造方法によれば、複数の分割ユニット45同士を接合して積層構造部PL4を構成するため、接合熱により水素分離膜ユニット400を構成する各部材に生じる残留応力の低減を図ることができる。その結果、水素分離膜420の破損や部材同士の接合不良を抑制し、クロスリークや外部リークの発生を防止することができる。   According to the hydrogen separation membrane module 40 and the manufacturing method thereof of the present invention described above, a plurality of divided units 45 are joined together to form the stacked structure portion PL4. The residual stress generated in the member can be reduced. As a result, damage to the hydrogen separation membrane 420 and poor bonding between members can be suppressed, and occurrence of cross leaks and external leaks can be prevented.

また、積層構造部PL4を製造する前段階において、分割ユニット45単位で不良品の判別を行うことができるため、積層構造部全体が不良品となることを抑制することができる。また、分割ユニット45単位で積層構造部PL4の水素透過容量を変更することができるため、種々の水素透過容量の積層構造部PL4を共通の分割ユニット45を用いて製造することができる。これらの結果、積層構造部PL4の生産性の向上を図ることができる。   In addition, since the defective product can be determined in units of the division unit 45 in the stage before manufacturing the stacked structure portion PL4, it is possible to suppress the entire stacked structure portion from being a defective product. Further, since the hydrogen permeation capacity of the stacked structure portion PL4 can be changed in units of the divided units 45, the stacked structure portion PL4 having various hydrogen permeation capacities can be manufactured using the common divided unit 45. As a result, the productivity of the laminated structure part PL4 can be improved.

E.第5の実施例:
E−(1).水素分離膜モジュール50の構造:
本発明の第5の実施例である水素分離膜モジュール50の構造について説明する。図14は、第5の実施例の水素分離膜モジュール50の構造を示す組立斜視図である。水素分離膜モジュール50は、前述した第4の実施例の積層構造部PL4を有し、積層構造部PL4に対して水素含有ガスの供給を行うマニホールド510と、マニホールド510と積層構造部PL4とを連結する連結部材515と、積層構造部PL4に対してパージガスの供給を行うマニホールド520と、マニホールド520と積層構造部PL4とを連結する連結部材525とを備える。これらマニホールド510,520および連結部材515,525の材質は、本実施例では、ステンレスを採用する。
E. Fifth embodiment:
E- (1). Structure of the hydrogen separation membrane module 50:
The structure of the hydrogen separation membrane module 50 which is the 5th Example of this invention is demonstrated. FIG. 14 is an assembled perspective view showing the structure of the hydrogen separation membrane module 50 of the fifth embodiment. The hydrogen separation membrane module 50 includes the multilayer structure portion PL4 of the fourth embodiment described above, and includes a manifold 510 that supplies a hydrogen-containing gas to the multilayer structure portion PL4, a manifold 510, and the multilayer structure portion PL4. A connecting member 515 to be connected, a manifold 520 for supplying purge gas to the stacked structure portion PL4, and a connecting member 525 for connecting the manifold 520 and the stacked structure portion PL4 are provided. In the present embodiment, stainless steel is used as the material for the manifolds 510 and 520 and the connecting members 515 and 525.

連結部材515は、略四角柱状の積層構造部PL4における水素含有ガスが供給される側の側面と略同一形状の四角枠である。その枠の一方の開放側は、積層構造部PL4にレーザ溶接によって隙間無く接合され、他方の開放面は、マニホールド510にティグ溶接によって隙間無く接合されている。連結部材525は、略四角柱状の積層構造部PL4におけるパージガスが供給される側の側面と略同一形状の四角枠である。その枠の一方の開放側は、積層構造部PL4とレーザ溶接によって隙間無く接合され、他方の開放面は、マニホールド520とティグ溶接によって隙間無く接合されている。   The connecting member 515 is a rectangular frame having substantially the same shape as the side surface on the side to which the hydrogen-containing gas is supplied in the substantially square columnar stacked structure portion PL4. One open side of the frame is joined to the laminated structure part PL4 without gaps by laser welding, and the other open face is joined to the manifold 510 without gaps by TIG welding. The connecting member 525 is a rectangular frame having substantially the same shape as the side surface on the side to which the purge gas is supplied in the substantially square columnar stacked structure portion PL4. One open side of the frame is joined to the laminated structure portion PL4 without gaps by laser welding, and the other open face is joined to the manifold 520 without gaps by TIG welding.

E−(2).水素分離膜モジュール50の製造方法:
次に、水素分離膜モジュール50の製造方法について説明する。図15は、第5の実施例の水素分離膜モジュール50の製造工程の概略を示す説明図である。水素分離膜モジュール50を製造する際には、始めに、積層構造部PL4と、マニホールド510,520と、連結部材515,525とを用意する(工程S510)。積層構造部PL4については、図13に示した第4の実施例の水素分離膜モジュール40の製造方法によって用意する。マニホールド510,520および連結部材515,525については、ステンレス板を切削・接合またはプレス加工することによって成形することによって用意する。
E- (2). Manufacturing method of the hydrogen separation membrane module 50:
Next, a method for manufacturing the hydrogen separation membrane module 50 will be described. FIG. 15 is an explanatory diagram showing an outline of the manufacturing process of the hydrogen separation membrane module 50 of the fifth embodiment. When manufacturing the hydrogen separation membrane module 50, first, the laminated structure portion PL4, the manifolds 510 and 520, and the connecting members 515 and 525 are prepared (step S510). The laminated structure portion PL4 is prepared by the method for manufacturing the hydrogen separation membrane module 40 of the fourth embodiment shown in FIG. The manifolds 510 and 520 and the connecting members 515 and 525 are prepared by forming by cutting / joining or pressing a stainless steel plate.

その後、連結部材515,525を、積層構造部PL4の既述した部位にレーザ溶接によって接合し(工程S520)、マニホールド510,520をそれぞれ連結部材515,525にティグ溶接によって接合して(工程S530)、水素分離膜モジュール50が完成する。   Thereafter, the connecting members 515 and 525 are joined to the above-described portions of the laminated structure portion PL4 by laser welding (step S520), and the manifolds 510 and 520 are joined to the connecting members 515 and 525 by TIG welding (step S530). ), The hydrogen separation membrane module 50 is completed.

以上説明した本発明の水素分離膜モジュール50およびその製造方法によれば、積層構造部PL4と連結部材515,525とを、ティグ溶接よりも接合熱が比較的低いレーザ溶接によって接合し、連結部材515,525とマニホールド510,520とを、レーザ溶接よりも比較的複雑な形状の接合が可能なティグ溶接によって接合することができる。その結果、マニホールド510,520を接合する際の接合熱の積層構造部PL4への伝熱を抑制し、積層構造部PL4における接合部の再溶融や水素分離膜の変質を防止することができる。   According to the hydrogen separation membrane module 50 and the method of manufacturing the same of the present invention described above, the laminated structure portion PL4 and the connecting members 515 and 525 are joined by laser welding having a relatively lower joining heat than TIG welding. 515, 525 and manifolds 510, 520 can be joined by TIG welding, which can be joined in a relatively complicated shape than laser welding. As a result, it is possible to suppress the heat transfer of the bonding heat when the manifolds 510 and 520 are bonded to the stacked structure portion PL4, and to prevent remelting of the bonded portion and deterioration of the hydrogen separation membrane in the stacked structure portion PL4.

F.第6の実施例:
本発明の第6の実施例である水素分離膜モジュール60の構造について説明する。図16は、第6の実施例の水素分離膜モジュール60の構造を示す組立斜視図である。水素分離膜モジュール60は、前述した第3の実施例の積層構造部PL3を有する。第5の実施例の水素分離膜モジュール50と同様に、積層構造部PL3に対して水素含有ガスの供給を行うマニホールド610と、マニホールド610と積層構造部PL3とを連結する連結部材615と、積層構造部PL3に対してパージガスの供給を行うマニホールド620と、マニホールド620と積層構造部PL3とを連結する連結部材625とを備える。
F. Sixth embodiment:
The structure of the hydrogen separation membrane module 60 which is the 6th Example of this invention is demonstrated. FIG. 16 is an assembled perspective view showing the structure of the hydrogen separation membrane module 60 of the sixth embodiment. The hydrogen separation membrane module 60 has the laminated structure part PL3 of the third embodiment described above. Similar to the hydrogen separation membrane module 50 of the fifth embodiment, a manifold 610 that supplies a hydrogen-containing gas to the stacked structure portion PL3, a connecting member 615 that connects the manifold 610 and the stacked structure portion PL3, and a stacked structure A manifold 620 for supplying purge gas to the structure part PL3 and a connecting member 625 for connecting the manifold 620 and the laminated structure part PL3 are provided.

水素分離膜モジュール60の積層構造部PL3には、補強やマニホールド610,620の取り付けのため、積層構造部PL3と同一形状である長方形状の剛性プレート630,640が、積層構造部PL3を挟み込む形でロウ付け接合されている。マニホールド610,620、連結部材615,625、剛性プレート630,640の材質は、本実施例では、ステンレスを採用する。   In the laminated structure portion PL3 of the hydrogen separation membrane module 60, rectangular rigid plates 630 and 640 having the same shape as the laminated structure portion PL3 sandwich the laminated structure portion PL3 in order to reinforce and attach the manifolds 610 and 620. It is joined by brazing. In this embodiment, stainless steel is used as the material for the manifolds 610 and 620, the connecting members 615 and 625, and the rigid plates 630 and 640.

水素分離膜モジュール60の製造方法は、剛性プレート630,640が接合された積層構造部PL3を用意する点が異なる他は、第5の実施例の水素分離膜モジュール50の製造方法と同様である。   The manufacturing method of the hydrogen separation membrane module 60 is the same as the manufacturing method of the hydrogen separation membrane module 50 of the fifth embodiment, except that the laminated structure portion PL3 to which the rigid plates 630 and 640 are joined is prepared. .

以上説明した本発明の水素分離膜モジュール60およびその製造方法によれば、第5の実施例と同様の効果を得ることができる。   According to the hydrogen separation membrane module 60 and the manufacturing method thereof of the present invention described above, the same effects as those of the fifth embodiment can be obtained.

G.第7の実施例:
本発明の第7の実施例である水素分離膜モジュール70の構造について説明する。図17は、第7の実施例の水素分離膜モジュール70の構造を示す組立斜視図である。図18は、水素分離膜モジュール70の構造を説明する組立斜視図である。水素分離膜モジュール70は、前述した第4の実施例の積層構造部PL4を有し、積層構造部PL4に対して水素含有ガスの供給を行うマニホールド750と、マニホールド510と積層構造部PL4とを連結する連結部材710,720,730,740とを備える。これらマニホールド750および連結部材710,720,730,740の材質は、本実施例では、ステンレスを採用する。なお、本実施例の積層構造部PL4には、図18に示すように、連結部材730,740との接合の位置決めおよび補強のための溝GVが形成されている。
G. Seventh embodiment:
The structure of the hydrogen separation membrane module 70 which is the 7th Example of this invention is demonstrated. FIG. 17 is an assembled perspective view showing the structure of the hydrogen separation membrane module 70 of the seventh embodiment. FIG. 18 is an assembled perspective view illustrating the structure of the hydrogen separation membrane module 70. The hydrogen separation membrane module 70 has the multilayer structure portion PL4 of the fourth embodiment described above, and includes a manifold 750 that supplies a hydrogen-containing gas to the multilayer structure portion PL4, a manifold 510, and the multilayer structure portion PL4. And connecting members 710, 720, 730, and 740 to be connected. The material of the manifold 750 and the connecting members 710, 720, 730, and 740 is stainless steel in this embodiment. In addition, as shown in FIG. 18, a groove GV for positioning and reinforcing bonding with the connecting members 730 and 740 is formed in the laminated structure portion PL4 of the present embodiment.

連結部材710,720は、積層構造部PL4と同一形状である長方形状における水素含有ガスの供給される側を延長した形状の板状部材であり、積層構造部PL4を挟み込む形でロウ付け接合されている。連結部材730,740は、連結部材710,720の延長された部位の側面をそれぞれ形成し、連結部材710,720とともに積層構造部PL4の水素含有ガスの供給される側に四角枠を形成する。これら連結部材710,720,730,740と積層構造部PL4とが接する部位や、連結部材同士が接する部位のうち積層構造部PL4付近は、ロウ付け接合され、連結部材同士が接する部位のうち積層構造部PL4から離れた延長された部位は、ティグ溶接によって接合されている。   The connecting members 710 and 720 are plate-like members having a shape that is the same shape as the laminated structure portion PL4, in which the hydrogen-containing gas supply side is extended, and are brazed and joined so as to sandwich the laminated structure portion PL4. ing. The connecting members 730 and 740 form side surfaces of the extended portions of the connecting members 710 and 720, respectively, and together with the connecting members 710 and 720, form a square frame on the side where the hydrogen-containing gas is supplied in the stacked structure portion PL4. Of the portions where the connecting members 710, 720, 730, and 740 are in contact with the laminated structure portion PL4 and the portions where the connecting members are in contact with each other, the vicinity of the laminated structure portion PL4 is brazed and the laminated member is out of the portions where the connecting members are in contact with each other. The extended part apart from the structure part PL4 is joined by TIG welding.

連結部材710,720,730,740によって積層構造部PL4から延長された形で形成された四角枠の開放面には、マニホールド510がティグ溶接によって隙間無く接合されている。   The manifold 510 is joined to the open surface of the square frame formed by the connecting members 710, 720, 730, and 740 extended from the laminated structure portion PL4 without gaps by TIG welding.

水素分離膜モジュール70の製造方法は、連結部材710,720,730,740の接合法方が異なる点の他は、第5の実施例の水素分離膜モジュール50の製造方法と同様である。   The manufacturing method of the hydrogen separation membrane module 70 is the same as the manufacturing method of the hydrogen separation membrane module 50 of the fifth embodiment, except that the joining method of the connecting members 710, 720, 730, and 740 is different.

以上説明した本発明の水素分離膜モジュール70およびその製造方法によれば、積層構造部PL4と連結部材710,720,730,740とを、ティグ溶接よりも接合熱が比較的低いロウ付けによって接合し、連結部材710,720,730,740とマニホールド750とを、ロウ付け接合よりも比較的複雑な形状の接合が可能なティグ溶接によって接合することができる。その結果、マニホールド750を接合する際の接合熱の積層構造部PL4への伝熱を抑制し、積層構造部PL4における接合部の再溶融や水素分離膜の変質を防止することができる。   According to the hydrogen separation membrane module 70 and the manufacturing method thereof of the present invention described above, the laminated structure portion PL4 and the connecting members 710, 720, 730, and 740 are joined by brazing, which has a relatively lower joining heat than TIG welding. Then, the connecting members 710, 720, 730, and 740 and the manifold 750 can be joined by TIG welding capable of joining in a relatively complicated shape as compared with brazing joining. As a result, it is possible to suppress the transfer of bonding heat to the stacked structure part PL4 when the manifold 750 is bonded, and to prevent remelting of the bonded part and alteration of the hydrogen separation membrane in the stacked structure part PL4.

H.その他の実施形態:
以上、本発明の実施の形態について説明したが、本発明はこうした実施の形態に何ら限定されるものではなく、本発明の趣旨を逸脱しない範囲内において様々な形態で実施し得ることは勿論である。例えば、各実施例において、水素分離膜ユニットを構成する各部材間を、ロウ付け接合ではなく、拡散接合などの他の接合方法によって接合しても良い。
H. Other embodiments:
The embodiments of the present invention have been described above. However, the present invention is not limited to these embodiments, and can of course be implemented in various forms without departing from the spirit of the present invention. is there. For example, in each embodiment, the members constituting the hydrogen separation membrane unit may be joined by other joining methods such as diffusion joining instead of brazing joining.

本発明の第1ないし3の実施例については、位置決め構造部は、貫通した円形状の位置決め穴部を形成することとしたが、貫通した多角形状の位置決め穴部や、特定形状の切り欠き部を形成し、各々に対応した形状の柱部材が固定された位置決め治具を用いることとしても良い。また、水素分離膜ユニットを構成する際にも、位置決め治具を用いて、水素分離膜ユニットを構成する部材を位置決めした状態で積層・接合を行うこととしても良い。また、供給流路プレートおよび回収流路プレートの双方によって位置決め構造部を構成するのではなく、いずれか一方のプレートのみによって位置決め構造部を構成することとしても良い。   In the first to third embodiments of the present invention, the positioning structure portion is formed with a circular positioning hole portion that penetrates, but a polygonal positioning hole portion that penetrates or a notch portion with a specific shape. It is good also as using the positioning jig | tool with which the pillar member of the shape corresponding to each was fixed. Also, when the hydrogen separation membrane unit is configured, lamination and joining may be performed in a state where the members constituting the hydrogen separation membrane unit are positioned using a positioning jig. In addition, the positioning structure portion may not be configured by both the supply flow path plate and the recovery flow path plate, but may be configured by only one of the plates.

本発明の第4の実施例については、分割ユニット45を構成する水素分離膜ユニット400の個数は、積層構造部PL4における水素分離膜ユニット400の総数や、水素分離膜ユニット400に生じる残留応力、製造設備などの種々の条件に応じて適宜変更することができる。また、各分割ユニット45を構成する水素分離膜ユニット400の個数は、全て均等な個数とする必要はなく、種々の個数の水素分離膜ユニット400から構成した複数の分割ユニット45を組み合わせて積層構造部PL4を製造することとしても良い。また、第1ないし3の実施例の発明を適用して分割ユニット45を構成することとしても良い。   For the fourth embodiment of the present invention, the number of hydrogen separation membrane units 400 constituting the division unit 45 is the total number of hydrogen separation membrane units 400 in the stacked structure portion PL4, the residual stress generated in the hydrogen separation membrane unit 400, It can change suitably according to various conditions, such as manufacturing equipment. Further, the number of hydrogen separation membrane units 400 constituting each divided unit 45 does not have to be an equal number, and a plurality of divided units 45 constituted by various numbers of hydrogen separation membrane units 400 are combined to form a laminated structure. The part PL4 may be manufactured. The division unit 45 may be configured by applying the invention of the first to third embodiments.

本発明の第5および6の実施例については、積層構造部における水素含有ガスおよびパージガスの供給側にのみマニホールドを接合するが、水素含有ガスおよびパージガスの排出側にも同様にマニホールドを接合することができる。また、連結部材の構造をマニホールドからの外力を吸収可能な構造とすることとしても良い。これによって、連結部材と積層構造部との接合面の破損を防止することができる。また、連結部材の材質を、マニホールドの材質よりも熱伝導率の低いものとすることとしても良い。これによって、積層構造部からマニホールドへの放熱を抑制することができる。   In the fifth and sixth embodiments of the present invention, the manifold is joined only to the supply side of the hydrogen-containing gas and the purge gas in the laminated structure, but the manifold is similarly joined to the discharge side of the hydrogen-containing gas and the purge gas. Can do. Moreover, it is good also as a structure which can absorb the external force from a manifold as a structure of a connection member. Thereby, damage to the joint surface between the connecting member and the laminated structure can be prevented. Further, the material of the connecting member may be a material having lower thermal conductivity than the material of the manifold. As a result, heat dissipation from the laminated structure portion to the manifold can be suppressed.

本発明の水素分離膜モジュールおよびその製造方法は、水素分離膜型燃料電池およびその製造方法にも適用することができる。図19は、水素分離膜型燃料電池を構成する単セル800の構成の概略を示す断面模式図である。本発明の水素分離膜型燃料電池およびその製造方法は、本発明の第1ないし7の実施例における水素分離膜ユニットの全体形状をそのままに、その構成を、図19に示した単セル800の構成に置き換えた点が異なる他は同様である。   The hydrogen separation membrane module and the manufacturing method thereof of the present invention can also be applied to a hydrogen separation membrane fuel cell and a manufacturing method thereof. FIG. 19 is a schematic cross-sectional view showing an outline of the configuration of a single cell 800 constituting the hydrogen separation membrane fuel cell. The hydrogen separation membrane fuel cell of the present invention and the method for manufacturing the same have the same configuration as that of the single cell 800 shown in FIG. 19 while keeping the overall shape of the hydrogen separation membrane unit in the first to seventh embodiments of the present invention. This is the same except that the configuration is replaced.

水素分離膜型燃料電池は、水素を選択的に透過する性質を有する水素分離膜822に、プロトン伝導性を有する電解質層が積層された電解質膜を有する単セル800を、複数積層して構成される積層構造部を有する。この単セル800は、アノード電極としての機能を果たす水素分離膜822とカソード電極826との間に電解質層824を挟み込んだMEA(Membrane Electrode Assembly)820と、燃料ガスをMEA820の水素分離膜822側の面上に流す燃料ガス流路部FH8を形成する燃料ガス流路プレート810と、酸素を含有する酸化ガスをMEA820のカソード電極826側の面上に流す酸化ガス流路部FP8を形成する酸化ガス流路プレート830とを備える。これらの燃料ガス流路プレート810,MEA820,酸化ガス流路プレート830は、この順に積層され、各部材間の互いに接する面で接合して構成されている。本実施例では、これら各部材間は、互いに接する面でロウ付け接合されている。   The hydrogen separation membrane fuel cell is configured by stacking a plurality of unit cells 800 each having an electrolyte membrane in which an electrolyte layer having proton conductivity is stacked on a hydrogen separation membrane 822 having a property of selectively permeating hydrogen. Having a laminated structure. This single cell 800 includes an MEA (Membrane Electrode Assembly) 820 in which an electrolyte layer 824 is sandwiched between a hydrogen separation membrane 822 that functions as an anode electrode and a cathode electrode 826, and a fuel gas on the hydrogen separation membrane 822 side of the MEA 820. A fuel gas flow path plate 810 that forms a fuel gas flow path portion FH8 that flows on the surface of the metal electrode, and an oxidation gas that forms an oxidizing gas flow path portion FP8 that flows an oxidizing gas containing oxygen on the surface on the cathode electrode 826 side of the MEA 820 A gas flow path plate 830. The fuel gas flow path plate 810, the MEA 820, and the oxidizing gas flow path plate 830 are stacked in this order, and are joined to each other on the surfaces that contact each other. In this embodiment, these members are brazed and joined on the surfaces that are in contact with each other.

水素分離膜120の材質は、水素を選択的に透過する性質を有する水素分離金属である。この水素分離金属として、本実施例では、バナジウムを採用し、その表面にはパラジウムが鍍金されている。電解質層824の材質は、プロトン伝導性を有する固体電解質である。この固体電解質としては、例えば、BaCeO3,SrCeO3系のセラミックスプロトン伝導体を用いることができる。カソード電極826の材質は、電気化学反応を促進する触媒活性を有する貴金属である。この貴金属として、本実施例では、パラジウムを採用する。白金等、水素透過性を有しない他種の貴金属によりカソード電極826を構成する場合には、カソード電極826を充分に薄く形成するなどして、ガス透過性を確保すれば良い。 The material of the hydrogen separation membrane 120 is a hydrogen separation metal having a property of selectively permeating hydrogen. In this embodiment, vanadium is used as the hydrogen separation metal, and palladium is plated on the surface thereof. The material of the electrolyte layer 824 is a solid electrolyte having proton conductivity. As this solid electrolyte, for example, BaCeO 3 , SrCeO 3 ceramic proton conductors can be used. The material of the cathode electrode 826 is a noble metal having a catalytic activity for promoting an electrochemical reaction. In this embodiment, palladium is adopted as the noble metal. In the case where the cathode electrode 826 is made of another kind of noble metal having no hydrogen permeability, such as platinum, the gas permeability may be ensured by forming the cathode electrode 826 sufficiently thin.

燃料ガス流路プレート810および酸化ガス流路プレート830の材質は、各ガスを流す上で充分な強度および耐熱性を有するとともに、ガス不透過な性質を有する金属である。この金属として、本実施例ではステンレスを採用するが、ステンレスなどの金属材料の他、セラミックスなどの種々の材質から選択することができる。燃料ガスとしては、炭化水素系燃料を改質して得られる水素リッチガスを用いても良いし、純度の高い水素ガスを用いても良い。酸化ガスとしては、例えば空気を用いることができる。   The material of the fuel gas flow path plate 810 and the oxidizing gas flow path plate 830 is a metal that has sufficient strength and heat resistance to flow each gas and has gas-impermeable properties. As this metal, stainless steel is adopted in this embodiment, but it can be selected from various materials such as ceramics in addition to metal materials such as stainless steel. As the fuel gas, a hydrogen rich gas obtained by reforming a hydrocarbon fuel may be used, or a high purity hydrogen gas may be used. For example, air can be used as the oxidizing gas.

本発明の水素分離膜モジュールおよびその製造方法を、水素分離膜型燃料電池およびその製造方法に適用することによっても、同様の効果を得ることができる。   The same effect can be obtained by applying the hydrogen separation membrane module of the present invention and the manufacturing method thereof to the hydrogen separation membrane fuel cell and the manufacturing method thereof.

第1の実施例の水素分離膜モジュール10の構成を示す組立斜視図である。It is an assembly perspective view showing the composition of hydrogen separation membrane module 10 of the 1st example. 水素分離膜モジュール10を構成する水素分離膜ユニット100の構造を示す組立斜視図である。1 is an assembled perspective view showing a structure of a hydrogen separation membrane unit 100 constituting a hydrogen separation membrane module 10. FIG. 水素分離膜ユニット100の構造を示す部分拡大図である。2 is a partially enlarged view showing the structure of a hydrogen separation membrane unit 100. FIG. 第1の実施例の水素分離膜モジュール10の製造工程の概略を表す説明図である。It is explanatory drawing showing the outline of the manufacturing process of the hydrogen separation membrane module 10 of a 1st Example. 位置決め治具JG1の構造を示す説明図である。It is explanatory drawing which shows the structure of positioning jig | tool JG1. 第2の実施例の水素分離膜モジュール20の構造を示す斜視図である。It is a perspective view which shows the structure of the hydrogen separation membrane module 20 of a 2nd Example. 第2の実施例の水素分離膜モジュール20の製造工程の概略を示す説明図である。It is explanatory drawing which shows the outline of the manufacturing process of the hydrogen separation membrane module 20 of a 2nd Example. 第3の実施例の水素分離膜モジュール30の構造を示す斜視図である。It is a perspective view which shows the structure of the hydrogen separation membrane module 30 of a 3rd Example. 第3の実施例の水素分離膜モジュール30の製造工程の概略を示す説明図である。It is explanatory drawing which shows the outline of the manufacturing process of the hydrogen separation membrane module 30 of a 3rd Example. 水素分離膜モジュール30の製造工程の様子を示す説明図である。FIG. 5 is an explanatory diagram showing a state of a manufacturing process of the hydrogen separation membrane module 30. 第4の実施例の水素分離膜モジュール40の構造を示す組立斜視図である。It is an assembly perspective view which shows the structure of the hydrogen separation membrane module 40 of a 4th Example. 水素分離膜モジュール40を構成する分割ユニット45の構造を示す組立斜視図である。4 is an assembled perspective view showing the structure of a split unit 45 constituting the hydrogen separation membrane module 40. FIG. 第4の実施例の水素分離膜モジュール40の製造工程の概略を表す説明図である。It is explanatory drawing showing the outline of the manufacturing process of the hydrogen separation membrane module 40 of a 4th Example. 第5の実施例の水素分離膜モジュール50の構造を示す組立斜視図である。It is an assembly perspective view which shows the structure of the hydrogen separation membrane module 50 of a 5th Example. 第5の実施例の水素分離膜モジュール50の製造工程の概略を示す説明図である。It is explanatory drawing which shows the outline of the manufacturing process of the hydrogen separation membrane module 50 of a 5th Example. 第6の実施例の水素分離膜モジュール60の構造を示す組立斜視図である。It is an assembly perspective view which shows the structure of the hydrogen separation membrane module 60 of a 6th Example. 第7の実施例の水素分離膜モジュール70の構造を示す組立斜視図である。It is an assembly perspective view which shows the structure of the hydrogen separation membrane module 70 of a 7th Example. 水素分離膜モジュール70の構造を説明する組立斜視図である。4 is an assembled perspective view illustrating the structure of the hydrogen separation membrane module 70. FIG. 水素分離膜型燃料電池を構成する単セル800の構成の概略を示す断面模式図である。It is a cross-sectional schematic diagram which shows the outline of a structure of the single cell 800 which comprises a hydrogen separation membrane type fuel cell.

符号の説明Explanation of symbols

10,20,30,40,50,60,70...水素分離膜モジュール
45...分割ユニット
100,300,400,800...水素分離膜ユニット
110,310,410...供給流路プレート
120,320,420...水素分離膜
130,330,430...回収流路プレート
405,435,630,640...剛性プレート
510,520,610,620,750...マニホールド
515,525,615,625,710,720,730,740...連結部材
800...単セル
810...燃料ガス流路プレート
820...MEA
822...水素分離膜
824...電解質層
826...カソード電極
830...酸化ガス流路プレート
PL1,PL2,PL3,PL4...積層構造部
FH1,FH3,FH4...供給ガス流路部
FP1,FP3,FP4...回収ガス流路部
FH8...燃料ガス流路部
FP8...酸化ガス流路部
SH1...水素透過構造部
SP1,SP3...位置決め構造部
SB1,SB3...ブリッジ部
HA1...位置決め穴部
HB1...逃げ穴部
CS2...切断面
CS3...切断面
GV...溝
JG1,JG3...治具
JB1...治具ベース
PN1...ピン
10, 20, 30, 40, 50, 60, 70 ... Hydrogen separation membrane module 45 ... Dividing unit 100, 300, 400, 800 ... Hydrogen separation membrane unit 110, 310, 410 ... Supply flow Road plates 120, 320, 420 ... Hydrogen separation membranes 130, 330, 430 ... Recovery flow path plates 405, 435, 630, 640 ... Rigid plates 510, 520, 610, 620, 750 ... Manifolds 515, 525, 615, 625, 710, 720, 730, 740 ... connecting member 800 ... single cell 810 ... fuel gas flow path plate 820 ... MEA
822 ... Hydrogen separation membrane 824 ... Electrolyte layer 826 ... Cathode electrode 830 ... Oxidation gas flow path plate PL1, PL2, PL3, PL4 ... Multilayer structure FH1, FH3, FH4 ... Supply Gas flow path part FP1, FP3, FP4 ... Recovery gas flow path part FH8 ... Fuel gas flow path part FP8 ... Oxidation gas flow path part SH1 ... Hydrogen permeation structure part SP1, SP3 ... Positioning Structure SB1, SB3 ... Bridge HA1 ... Positioning hole HB1 ... Escape hole CS2 ... Cut surface CS3 ... Cut surface GV ... Groove JG1, JG3 ... Jig JB1 ... Jig base PN1 ... pin

Claims (20)

水素を選択的に透過する性質を有する水素分離膜を用いて水素を含有する第1のガスから該第1のガスに比べて水素濃度が十分に低い第2のガスへと水素の透過を行う薄板状の水素分離膜ユニットを複数積層した積層構造部を有する水素分離膜モジュールの製造方法であって、
(a)前記水素分離膜ユニットに、前記積層構造部における積層方向に対して直交する方向の位置を位置決め可能な位置決め構造部を用意する工程と、
(b)前記水素分離膜ユニットを該位置決め構造部によって前記位置決めした状態で複数積層する工程と、
(c)前記積層された複数の水素分離膜ユニットのうち隣接する水素分離膜ユニット同士を前記位置決めした状態で接合する工程と
を備えた水素分離膜モジュールの製造方法。
Hydrogen permeation is performed from a first gas containing hydrogen to a second gas having a sufficiently low hydrogen concentration as compared with the first gas, using a hydrogen separation membrane having a property of selectively permeating hydrogen. A method for producing a hydrogen separation membrane module having a laminated structure in which a plurality of thin-plate hydrogen separation membrane units are laminated,
(A) preparing a positioning structure portion capable of positioning a position in a direction perpendicular to the stacking direction in the stacked structure portion in the hydrogen separation membrane unit;
(B) a step of laminating a plurality of the hydrogen separation membrane units in the positioning state by the positioning structure portion;
(C) A method of manufacturing a hydrogen separation membrane module comprising: joining adjacent hydrogen separation membrane units among the plurality of stacked hydrogen separation membrane units in the positioned state.
請求項1記載の水素分離膜モジュールの製造方法であって、
前記工程(a)は、
(a−1)前記位置決め構造部に位置決め穴部を貫通して形成する工程と、
(a−2)前記位置決め穴部に対して嵌め合いの関係にある柱部材が固定された位置決め治具を用意する工程と
を含み、
前記工程(b)は、前記位置決め穴部に前記柱部材を挿嵌することによって、前記用意した水素分離膜ユニットを前記位置決めした状態で複数積層する工程である
水素分離膜モジュールの製造方法。
A method for producing a hydrogen separation membrane module according to claim 1,
The step (a)
(A-1) forming a positioning hole through the positioning structure, and
(A-2) including a step of preparing a positioning jig to which a column member in a fitting relationship with the positioning hole is fixed,
The process (b) is a process for stacking a plurality of the prepared hydrogen separation membrane units in the positioned state by inserting the pillar member into the positioning hole, and a method for manufacturing a hydrogen separation membrane module.
請求項1または2記載の水素分離膜モジュールの製造方法であって、
前記工程(a)は、前記水素分離膜ユニットに、前記位置決め構造部を切除可能に用意する工程であり、
更に、(d)前記接合された水素分離膜ユニットの前記位置決め構造部を切除する工程を備えた水素分離膜モジュールの製造方法。
A method for producing a hydrogen separation membrane module according to claim 1 or 2,
The step (a) is a step of preparing the hydrogen separation membrane unit so that the positioning structure portion can be excised,
Further, (d) a method for manufacturing a hydrogen separation membrane module, comprising a step of excising the positioning structure portion of the joined hydrogen separation membrane unit.
水素を選択的に透過する性質を有する水素分離膜を用いて水素を含有する第1のガスから該第1のガスに比べて水素濃度が十分に低い第2のガスへと水素の透過を行う薄板状の水素分離膜ユニットを複数積層した積層構造部を有する水素分離膜モジュールの製造方法であって、
(e)前記水素分離膜ユニットと、該水素分離膜ユニットよりも高い剛性を有する剛性プレートとを用意する工程と、
(f)前記剛性プレートの層の間に所定個数の前記水素分離膜ユニットを積層し隣接する部材同士を接合した分割ユニットを構成する工程と、
(g)前記分割ユニットを複数積層し、隣接する分割ユニット同士を接合して前記積層構造部を構成する工程と
を備えた水素分離膜モジュールの製造方法。
Hydrogen permeation is performed from a first gas containing hydrogen to a second gas having a sufficiently low hydrogen concentration as compared with the first gas, using a hydrogen separation membrane having a property of selectively permeating hydrogen. A method for producing a hydrogen separation membrane module having a laminated structure in which a plurality of thin-plate hydrogen separation membrane units are laminated,
(E) preparing the hydrogen separation membrane unit and a rigid plate having higher rigidity than the hydrogen separation membrane unit;
(F) forming a split unit in which a predetermined number of the hydrogen separation membrane units are stacked between the layers of the rigid plate and adjacent members are joined;
(G) A method of manufacturing a hydrogen separation membrane module, comprising: stacking a plurality of the divided units, and joining adjacent divided units to form the stacked structure portion.
請求項1ないし4のいずれか記載の水素分離膜モジュールの製造方法であって、
(h)前記積層構造部に対する前記第1若しくは第2のガスの供給または、該供給されたガスの排出を行うマニホールドと、前記マニホールドおよび前記積層構造部の間を連結する連結部材とを用意する工程と、
(i)前記連結部材を前記積層構造部にレーザ溶接またはロウ付けによって接合する工程と、
(j)前記マニホールドを前記連結部材にティグ溶接によって接合する工程と
を備えた水素分離膜モジュールの製造方法。
A method for producing a hydrogen separation membrane module according to any one of claims 1 to 4,
(H) A manifold for supplying the first or second gas to the stacked structure portion or discharging the supplied gas, and a connecting member for connecting the manifold and the stacked structure portion are prepared. Process,
(I) joining the connecting member to the laminated structure by laser welding or brazing;
(J) A method of manufacturing a hydrogen separation membrane module comprising: joining the manifold to the connecting member by TIG welding.
水素を選択的に透過する性質を有する水素分離膜を用いて水素を含有する第1のガスから該第1のガスに比べて水素濃度が十分に低い第2のガスへと水素の透過を行う薄板状の水素分離膜ユニットを複数積層した積層構造部を有する水素分離膜モジュールであって、
前記水素分離膜ユニットは、前記積層構造部における積層方向に対して直交する方向の位置を位置決め可能な位置決め構造部を有する
水素分離膜モジュール。
Hydrogen permeation is performed from a first gas containing hydrogen to a second gas having a sufficiently low hydrogen concentration as compared with the first gas, using a hydrogen separation membrane having a property of selectively permeating hydrogen. A hydrogen separation membrane module having a laminated structure in which a plurality of thin plate-like hydrogen separation membrane units are laminated,
The hydrogen separation membrane unit includes a positioning structure portion capable of positioning a position in a direction orthogonal to the stacking direction in the stacked structure portion.
前記位置決め構造部に位置決め穴部を貫通して形成した請求項6記載の水素分離膜モジュール。   The hydrogen separation membrane module according to claim 6, wherein a positioning hole portion is formed through the positioning structure portion. 前記水素分離膜ユニットは、前記位置決め構造部との間に、該位置決め構造部を切除可能に連結する切除部を有する請求項6または7記載の水素分離膜モジュール。   The hydrogen separation membrane module according to claim 6 or 7, wherein the hydrogen separation membrane unit has a cutout portion that connects the positioning structure portion so as to be cuttable between the positioning structure portion. 水素を選択的に透過する性質を有する水素分離膜を用いて水素を含有する第1のガスから該第1のガスに比べて水素濃度が十分に低い第2のガスへと水素の透過を行う薄板状の水素分離膜ユニットを複数積層した積層構造部を有する水素分離膜モジュールであって、
前記積層構造部は、前記水素分離膜ユニットよりも高い剛性を有する剛性プレートの層の間に所定個数の前記水素分離膜ユニットを積層し隣接する部材同士を接合した分割ユニットを複数積層し、隣接する分割ユニット同士を接合して構成された
水素分離膜モジュール。
Hydrogen permeation is performed from a first gas containing hydrogen to a second gas having a sufficiently low hydrogen concentration as compared with the first gas, using a hydrogen separation membrane having a property of selectively permeating hydrogen. A hydrogen separation membrane module having a laminated structure in which a plurality of thin plate-like hydrogen separation membrane units are laminated,
The stacked structure unit stacks a plurality of divided units in which a predetermined number of the hydrogen separation membrane units are laminated between adjacent layers of rigid plates having higher rigidity than the hydrogen separation membrane unit and adjacent members are joined to each other. Hydrogen separation membrane module constructed by joining splitting units.
請求項6ないし9のいずれか記載の水素分離膜モジュールであって、
前記積層構造部に対する前記第1若しくは第2のガスの供給または、該供給されたガスの排出を行うマニホールドと、前記積層構造部とを連結する連結部材を、前記積層構造部にレーザ溶接またはロウ付けによって接合し、
前記マニホールドを、前記連結部材にティグ溶接によって接合した
水素分離膜モジュール。
The hydrogen separation membrane module according to any one of claims 6 to 9,
A connecting member for connecting the manifold structure for supplying the first or second gas to the multilayer structure section or discharging the supplied gas and the multilayer structure section is connected to the multilayer structure section by laser welding or brazing. Joining by attaching
A hydrogen separation membrane module in which the manifold is joined to the connecting member by TIG welding.
水素を選択的に透過する性質を有する水素分離膜層に、プロトン伝導性を有する電解質層が積層された電解質膜を有する単セルを、複数積層して構成される積層構造部を有する水素分離膜型燃料電池の製造方法であって、
(a)前記単セルに、前記積層構造部における積層方向に対して直交する方向の位置を位置決め可能な位置決め構造部を用意する工程と、
(b)前記単セルを該位置決め構造部によって前記位置決めした状態で複数積層する工程と、
(c)前記積層された複数の単セルのうち隣接する単セル同士を前記位置決めした状態で接合する工程と
を備えた水素分離膜型燃料電池の製造方法。
Hydrogen separation membrane having a laminated structure part formed by laminating a plurality of unit cells each having an electrolyte membrane in which an electrolyte layer having proton conductivity is laminated on a hydrogen separation membrane layer having a property of selectively transmitting hydrogen Type fuel cell manufacturing method,
(A) preparing a positioning structure portion capable of positioning the unit cell in a direction orthogonal to the stacking direction in the stacked structure portion;
(B) a step of laminating a plurality of the single cells in the positioned state by the positioning structure portion;
(C) A method of manufacturing a hydrogen separation membrane fuel cell, comprising: joining adjacent single cells among the plurality of stacked single cells in the positioned state.
請求項11記載の水素分離膜型燃料電池の製造方法であって、
前記工程(a)は、
(a−1)前記位置決め構造部に位置決め穴部を貫通して形成する工程と、
(a−2)前記位置決め穴部に対して嵌め合いの関係にある柱部材が固定された位置決め治具を用意する工程と
を含み、
前記工程(b)は、前記位置決め穴部に前記柱部材を挿嵌することによって、前記用意した単セルを前記位置決めした状態で複数積層する工程である
水素分離膜型燃料電池の製造方法。
A method for producing a hydrogen separation membrane fuel cell according to claim 11,
The step (a)
(A-1) forming a positioning hole through the positioning structure, and
(A-2) including a step of preparing a positioning jig to which a column member in a fitting relationship with the positioning hole is fixed,
The step (b) is a method of stacking a plurality of the prepared single cells in the positioned state by inserting the column member into the positioning hole, The method for manufacturing a hydrogen separation membrane fuel cell.
請求項11または12記載の水素分離膜型燃料電池の製造方法であって、
前記工程(a)は、前記単セルに、前記位置決め構造部を切除可能に用意する工程であり、
更に、(d)前記接合された単セルの前記位置決め構造部を切除する工程を備えた水素分離膜型燃料電池の製造方法。
A method for producing a hydrogen separation membrane fuel cell according to claim 11 or 12,
The step (a) is a step of preparing the positioning structure portion in the single cell so that it can be excised,
And (d) a method for manufacturing a hydrogen separation membrane fuel cell, comprising a step of cutting the positioning structure portion of the joined single cells.
水素を選択的に透過する性質を有する水素分離膜に、プロトン伝導性を有する電解質層が積層された電解質膜を有する単セルを、複数積層して構成される積層構造部を有する水素分離膜型燃料電池の製造方法であって、
(e)前記単セルと、該単セルよりも高い剛性を有する剛性プレートとを用意する工程と、
(f)前記剛性プレートの層の間に所定個数の前記単セルを積層し隣接する部材同士を接合した分割ユニットを構成する工程と、
(g)前記分割ユニットを複数積層し、隣接する分割ユニット同士を接合して前記積層構造部を構成する工程と
を備えた水素分離膜型燃料電池の製造方法。
Hydrogen separation membrane type having a laminated structure composed of a plurality of single cells each having an electrolyte membrane in which an electrolyte layer having proton conductivity is laminated on a hydrogen separation membrane having a property of selectively permeating hydrogen A fuel cell manufacturing method comprising:
(E) preparing the single cell and a rigid plate having higher rigidity than the single cell;
(F) forming a divided unit in which a predetermined number of the single cells are laminated between the layers of the rigid plate and adjacent members are joined;
(G) A method of manufacturing a hydrogen separation membrane fuel cell, comprising: stacking a plurality of the divided units, and joining adjacent divided units to form the stacked structure portion.
請求項11ないし14のいずれか記載の水素分離膜型燃料電池の製造方法であって、
(h)前記積層構造部に対する水素含有ガス若しくは酸素含有ガスの供給または、該供給されたガスの排出を行うマニホールドと、前記マニホールドおよび前記積層構造部の間を連結する連結部材とを用意する工程と、
(i)前記連結部材を前記積層構造部にレーザ溶接またはロウ付けによって接合する工程と、
(j)前記マニホールドを前記連結部材にティグ溶接によって接合する工程と
を備えた水素分離膜型燃料電池の製造方法。
A method for producing a hydrogen separation membrane fuel cell according to any one of claims 11 to 14,
(H) A step of preparing a manifold that supplies or discharges the hydrogen-containing gas or oxygen-containing gas to the stacked structure portion, and a connecting member that connects the manifold and the stacked structure portion. When,
(I) joining the connecting member to the laminated structure by laser welding or brazing;
(J) A method of manufacturing a hydrogen separation membrane fuel cell, comprising: joining the manifold to the connecting member by TIG welding.
水素を選択的に透過する性質を有する水素分離膜に、プロトン伝導性を有する電解質層が積層された電解質膜を有する単セルを、複数積層して構成される積層構造部を有する水素分離膜型燃料電池であって、
前記単セルは、前記積層構造部における積層方向に対して直交する方向の位置を位置決め可能な位置決め構造部を有する
水素分離膜型燃料電池。
Hydrogen separation membrane type having a laminated structure composed of a plurality of single cells each having an electrolyte membrane in which an electrolyte layer having proton conductivity is laminated on a hydrogen separation membrane having a property of selectively permeating hydrogen A fuel cell,
The single cell has a positioning structure portion capable of positioning a position in a direction orthogonal to the stacking direction in the stacked structure portion. Hydrogen separation membrane fuel cell.
前記位置決め構造部に位置決め穴部を貫通して形成した請求項16記載の水素分離膜型燃料電池。   The hydrogen separation membrane fuel cell according to claim 16, wherein a positioning hole is formed through the positioning structure portion. 前記単セルは、前記位置決め構造部との間に、該位置決め構造部を切除可能に連結する切除部を有する請求項11または17記載の水素分離膜型燃料電池。   18. The hydrogen separation membrane fuel cell according to claim 11, wherein the single cell has a cutout portion that connects the positioning structure portion so as to be cuttable between the single cell and the positioning structure portion. 水素を選択的に透過する性質を有する水素分離膜に、プロトン伝導性を有する電解質層が積層された電解質膜を有する単セルを、複数積層して構成される積層構造部を有する水素分離膜型燃料電池であって、
前記積層構造部は、前記単セルよりも高い剛性を有する剛性プレートの層の間に所定個数の前記単セルを積層し隣接する部材同士を接合した分割ユニットを複数積層し、隣接する分割ユニット同士を接合して構成された
水素分離膜型燃料電池。
Hydrogen separation membrane type having a laminated structure composed of a plurality of single cells each having an electrolyte membrane in which an electrolyte layer having proton conductivity is laminated on a hydrogen separation membrane having a property of selectively permeating hydrogen A fuel cell,
The laminated structure section includes a plurality of divided units obtained by laminating a predetermined number of the single cells between layers of rigid plates having rigidity higher than that of the single cells, and joining adjacent members to each other. A hydrogen separation membrane fuel cell constructed by joining together.
請求項16ないし19のいずれか記載の水素分離膜型燃料電池であって、
前記積層構造部に対する水素含有ガス若しくは酸素含有ガスの供給または、該供給されたガスの排出を行うマニホールドと、前記積層構造部とを連結する連結部材を、前記積層構造部にレーザ溶接またはロウ付けによって接合し、
前記マニホールドを、前記連結部材にティグ溶接によって接合した
水素分離膜型燃料電池。
The hydrogen separation membrane fuel cell according to any one of claims 16 to 19,
A connecting member for connecting a manifold for supplying a hydrogen-containing gas or an oxygen-containing gas to the laminated structure or discharging the supplied gas and the laminated structure is laser welded or brazed to the laminated structure. Joined by
A hydrogen separation membrane fuel cell in which the manifold is joined to the connecting member by TIG welding.
JP2004114222A 2004-04-08 2004-04-08 Hydrogen separation membrane module, hydrogen separation membrane fuel cell, and manufacturing method thereof Expired - Fee Related JP4270014B2 (en)

Priority Applications (1)

Application Number Priority Date Filing Date Title
JP2004114222A JP4270014B2 (en) 2004-04-08 2004-04-08 Hydrogen separation membrane module, hydrogen separation membrane fuel cell, and manufacturing method thereof

Applications Claiming Priority (1)

Application Number Priority Date Filing Date Title
JP2004114222A JP4270014B2 (en) 2004-04-08 2004-04-08 Hydrogen separation membrane module, hydrogen separation membrane fuel cell, and manufacturing method thereof

Publications (2)

Publication Number Publication Date
JP2005296746A true JP2005296746A (en) 2005-10-27
JP4270014B2 JP4270014B2 (en) 2009-05-27

Family

ID=35328944

Family Applications (1)

Application Number Title Priority Date Filing Date
JP2004114222A Expired - Fee Related JP4270014B2 (en) 2004-04-08 2004-04-08 Hydrogen separation membrane module, hydrogen separation membrane fuel cell, and manufacturing method thereof

Country Status (1)

Country Link
JP (1) JP4270014B2 (en)

Cited By (16)

* Cited by examiner, † Cited by third party
Publication number Priority date Publication date Assignee Title
JP2008145163A (en) * 2006-12-07 2008-06-26 Fuji Electric Water Environmental Systems Co Ltd Separation and dissolution structure of trihalomethane analyzer
JP2011258358A (en) * 2010-06-07 2011-12-22 Ngk Spark Plug Co Ltd Solid oxide fuel cell and manufacturing method thereof
WO2014136363A1 (en) * 2013-03-04 2014-09-12 日産自動車株式会社 Manufacturing method and manufacturing device
US9132381B2 (en) 2010-12-14 2015-09-15 National Institute Of Advanced Industrial Science Abd Technology Hydrogen separation device
JP2016058391A (en) * 2014-09-10 2016-04-21 ジーエム・グローバル・テクノロジー・オペレーションズ・エルエルシー Fuel cell stack assembly-datum design for fuel cell stacking and collision protection
JP2016062753A (en) * 2014-09-18 2016-04-25 東京瓦斯株式会社 Fuel cell module and manufacturing method of the same
JP2016189328A (en) * 2015-03-27 2016-11-04 ジーエム・グローバル・テクノロジー・オペレーションズ・エルエルシー Fuel cell stack assembly-datum design for fuel cell stacking and collision protection
JP2017193488A (en) * 2011-07-07 2017-10-26 エレメント・ワン・コーポレーション Hydrogen generation assemblies and hydrogen purification devices
KR101910296B1 (en) 2017-11-17 2018-10-22 한국에너지기술연구원 Ceramic Oxygen membrane module using metal frame
US10166506B2 (en) 2012-08-30 2019-01-01 Element 1 Corp. Hydrogen generation assemblies and hydrogen purification devices
WO2019000026A1 (en) 2017-06-30 2019-01-03 Commonwealth Scientific And Industrial Research Organisation A method of joining and sealing a vanadium based membrane to a metallic connection section
JP2020063924A (en) * 2018-10-15 2020-04-23 メタウォーター株式会社 Gas-liquid separation device and low boiling point compound detection device
US10717040B2 (en) 2012-08-30 2020-07-21 Element 1 Corp. Hydrogen purification devices
US11738305B2 (en) 2012-08-30 2023-08-29 Element 1 Corp Hydrogen purification devices
US11876271B2 (en) 2020-08-06 2024-01-16 Honda Motor Co., Ltd. Method and apparatus for manufacturing power generating cell stack body
US12187612B2 (en) 2021-06-15 2025-01-07 Element 1 Corp Hydrogen generation assemblies

Cited By (29)

* Cited by examiner, † Cited by third party
Publication number Priority date Publication date Assignee Title
JP2008145163A (en) * 2006-12-07 2008-06-26 Fuji Electric Water Environmental Systems Co Ltd Separation and dissolution structure of trihalomethane analyzer
JP2011258358A (en) * 2010-06-07 2011-12-22 Ngk Spark Plug Co Ltd Solid oxide fuel cell and manufacturing method thereof
US9132381B2 (en) 2010-12-14 2015-09-15 National Institute Of Advanced Industrial Science Abd Technology Hydrogen separation device
JP2017193488A (en) * 2011-07-07 2017-10-26 エレメント・ワン・コーポレーション Hydrogen generation assemblies and hydrogen purification devices
US11364473B2 (en) 2011-07-07 2022-06-21 Element 1 Corp Hydrogen generation assemblies and hydrogen purification devices
US10391458B2 (en) 2011-07-07 2019-08-27 Element 1 Corp. Hydrogen generation assemblies and hydrogen purification devices
US10702827B2 (en) 2012-08-30 2020-07-07 Element 1 Corp. Hydrogen generation assemblies and hydrogen purification devices
US12138586B2 (en) 2012-08-30 2024-11-12 Element 1 Corp Hydrogen purification devices
US10166506B2 (en) 2012-08-30 2019-01-01 Element 1 Corp. Hydrogen generation assemblies and hydrogen purification devices
US11738305B2 (en) 2012-08-30 2023-08-29 Element 1 Corp Hydrogen purification devices
US11590449B2 (en) 2012-08-30 2023-02-28 Element 1 Corp Hydrogen purification devices
US10710022B2 (en) 2012-08-30 2020-07-14 Element 1 Corp. Hydrogen generation assemblies
US10717040B2 (en) 2012-08-30 2020-07-21 Element 1 Corp. Hydrogen purification devices
WO2014136363A1 (en) * 2013-03-04 2014-09-12 日産自動車株式会社 Manufacturing method and manufacturing device
JP2016058391A (en) * 2014-09-10 2016-04-21 ジーエム・グローバル・テクノロジー・オペレーションズ・エルエルシー Fuel cell stack assembly-datum design for fuel cell stacking and collision protection
JP2016062753A (en) * 2014-09-18 2016-04-25 東京瓦斯株式会社 Fuel cell module and manufacturing method of the same
JP2016189328A (en) * 2015-03-27 2016-11-04 ジーエム・グローバル・テクノロジー・オペレーションズ・エルエルシー Fuel cell stack assembly-datum design for fuel cell stacking and collision protection
CN110891728A (en) * 2017-06-30 2020-03-17 联邦科学和工业研究组织 Method of bonding and sealing vanadium-based film to metal connection portion
EP3645206A4 (en) * 2017-06-30 2021-04-07 Commonwealth Scientific and Industrial Research Organisation ASSEMBLY AND WATERPROOFING PROCESS OF A VANADIUM-BASED MEMBRANE TO A METAL CONNECTION SECTION
CN110891728B (en) * 2017-06-30 2021-10-01 联邦科学和工业研究组织 Method of bonding and sealing vanadium based membranes to metal joints
JP2020525270A (en) * 2017-06-30 2020-08-27 コモンウェルス サイエンティフィック アンド インダストリアル リサーチ オーガナイゼーション A method of joining and sealing a vanadium-based film to a metal joint
JP7239499B2 (en) 2017-06-30 2023-03-14 コモンウェルス サイエンティフィック アンド インダストリアル リサーチ オーガナイゼーション Method for bonding and sealing vanadium-based membranes to metallic joints
WO2019000026A1 (en) 2017-06-30 2019-01-03 Commonwealth Scientific And Industrial Research Organisation A method of joining and sealing a vanadium based membrane to a metallic connection section
US12440923B2 (en) 2017-06-30 2025-10-14 Commonwealth Scientific And Industrial Research Organisation Method of joining and sealing a vanadium based membrane to a metallic connection section
KR101910296B1 (en) 2017-11-17 2018-10-22 한국에너지기술연구원 Ceramic Oxygen membrane module using metal frame
JP7154097B2 (en) 2018-10-15 2022-10-17 メタウォーター株式会社 Gas-liquid separator and detector for low boiling point compounds
JP2020063924A (en) * 2018-10-15 2020-04-23 メタウォーター株式会社 Gas-liquid separation device and low boiling point compound detection device
US11876271B2 (en) 2020-08-06 2024-01-16 Honda Motor Co., Ltd. Method and apparatus for manufacturing power generating cell stack body
US12187612B2 (en) 2021-06-15 2025-01-07 Element 1 Corp Hydrogen generation assemblies

Also Published As

Publication number Publication date
JP4270014B2 (en) 2009-05-27

Similar Documents

Publication Publication Date Title
JP4270014B2 (en) Hydrogen separation membrane module, hydrogen separation membrane fuel cell, and manufacturing method thereof
US6660069B2 (en) Hydrogen extraction unit
JP6175410B2 (en) Fuel cell and manufacturing method thereof
CN102714322A (en) Five-layer membrane electrode assembly with attached border and method of making same
JP5223272B2 (en) Method of welding metal separator for fuel cell and welding apparatus for metal separator for fuel cell
JP5101183B2 (en) Method for producing hydrogen permeable membrane module
JP2014123481A (en) Fuel battery cell, fuel cell stack, and methods of manufacturing the same
JP2007007565A (en) Hydrogen permeable membrane reinforcing structure and manufacturing method thereof
JP2006172964A (en) Stack structure of solid oxide fuel cell
JP4934949B2 (en) Fuel cell, hydrogen separation membrane module, and manufacturing method thereof
JP5101182B2 (en) Hydrogen permeable membrane module
JP4073750B2 (en) Manufacturing method of diffusion layer separator assembly
JP2010140639A (en) Reactor
US20040170880A1 (en) Fuel cell separator assembly with diffusion layer, manufacturing method therefor, fuel cell unit, and fuel cell stack
JP4806867B2 (en) Hydrogen extraction device
JP2008078071A (en) Fuel cell stack
JP4745048B2 (en) Hydrogen permeable membrane module
JP2009064734A (en) Metal separator for fuel cell, fuel cell stack, and method for producing metal separator for fuel cell
JP5205721B2 (en) Method for producing hydrogen separation membrane fuel cell
JP2004139827A (en) Diffusion layer separator assembly, method for manufacturing the same, fuel cell, and fuel cell stack
JP4001114B2 (en) Hydrogen separator and fuel cell
JP2005353461A (en) Fuel cell
JP2007172844A (en) Fuel cell manufacturing method and fuel cell manufacturing apparatus
JP4745049B2 (en) Method for producing hydrogen permeable membrane module
JP2007328935A (en) Membrane electrode assembly used in fuel cell, fuel cell, and method of manufacturing membrane electrode assembly

Legal Events

Date Code Title Description
A621 Written request for application examination

Free format text: JAPANESE INTERMEDIATE CODE: A621

Effective date: 20060630

A977 Report on retrieval

Free format text: JAPANESE INTERMEDIATE CODE: A971007

Effective date: 20070702

A131 Notification of reasons for refusal

Free format text: JAPANESE INTERMEDIATE CODE: A131

Effective date: 20080311

A521 Written amendment

Free format text: JAPANESE INTERMEDIATE CODE: A523

Effective date: 20080509

A131 Notification of reasons for refusal

Free format text: JAPANESE INTERMEDIATE CODE: A131

Effective date: 20080805

A521 Written amendment

Free format text: JAPANESE INTERMEDIATE CODE: A523

Effective date: 20080930

TRDD Decision of grant or rejection written
A01 Written decision to grant a patent or to grant a registration (utility model)

Free format text: JAPANESE INTERMEDIATE CODE: A01

Effective date: 20090203

A01 Written decision to grant a patent or to grant a registration (utility model)

Free format text: JAPANESE INTERMEDIATE CODE: A01

A61 First payment of annual fees (during grant procedure)

Free format text: JAPANESE INTERMEDIATE CODE: A61

Effective date: 20090216

FPAY Renewal fee payment (event date is renewal date of database)

Free format text: PAYMENT UNTIL: 20120306

Year of fee payment: 3

FPAY Renewal fee payment (event date is renewal date of database)

Free format text: PAYMENT UNTIL: 20120306

Year of fee payment: 3

FPAY Renewal fee payment (event date is renewal date of database)

Free format text: PAYMENT UNTIL: 20120306

Year of fee payment: 3

FPAY Renewal fee payment (event date is renewal date of database)

Free format text: PAYMENT UNTIL: 20130306

Year of fee payment: 4

FPAY Renewal fee payment (event date is renewal date of database)

Free format text: PAYMENT UNTIL: 20130306

Year of fee payment: 4

FPAY Renewal fee payment (event date is renewal date of database)

Free format text: PAYMENT UNTIL: 20140306

Year of fee payment: 5

LAPS Cancellation because of no payment of annual fees