JP2005296322A - Hook - Google Patents

Hook Download PDF

Info

Publication number
JP2005296322A
JP2005296322A JP2004116655A JP2004116655A JP2005296322A JP 2005296322 A JP2005296322 A JP 2005296322A JP 2004116655 A JP2004116655 A JP 2004116655A JP 2004116655 A JP2004116655 A JP 2004116655A JP 2005296322 A JP2005296322 A JP 2005296322A
Authority
JP
Japan
Prior art keywords
cylinder
hook
guide
fixed hook
fixed
Prior art date
Legal status (The legal status is an assumption and is not a legal conclusion. Google has not performed a legal analysis and makes no representation as to the accuracy of the status listed.)
Granted
Application number
JP2004116655A
Other languages
Japanese (ja)
Other versions
JP3921207B2 (en
Inventor
Isao Tazaki
功 田▲崎▼
Itsuki Tazaki
厳 田▲崎▼
Current Assignee (The listed assignees may be inaccurate. Google has not performed a legal analysis and makes no representation or warranty as to the accuracy of the list.)
Individual
Original Assignee
Individual
Priority date (The priority date is an assumption and is not a legal conclusion. Google has not performed a legal analysis and makes no representation as to the accuracy of the date listed.)
Filing date
Publication date
Application filed by Individual filed Critical Individual
Priority to JP2004116655A priority Critical patent/JP3921207B2/en
Publication of JP2005296322A publication Critical patent/JP2005296322A/en
Application granted granted Critical
Publication of JP3921207B2 publication Critical patent/JP3921207B2/en
Anticipated expiration legal-status Critical
Expired - Fee Related legal-status Critical Current

Links

Images

Landscapes

  • Mirrors, Picture Frames, Photograph Stands, And Related Fastening Devices (AREA)

Abstract

<P>PROBLEM TO BE SOLVED: To solve the problem that it is difficult to hang a suspending cord on the rear surface and that the suspending cord has to be hanged separately on a bar with a forked metal fitting provided on the top end so as to be hooked by peeping into the back of a wall from the side of a picture frame in order to hang the picture frame at a high place on a wall surface in particular since a key-shaped projection is small in the case of a conventional hook. <P>SOLUTION: At the upper part of a fixed hook F1, a sliding and freely attachable and detachable slide hook F2 is arranged. Before hanging the picture frame at the hook F, a depth is expanded by both of the hooks F1 and F2 temporarily in order to easily hang the cord R. After adjusting the position of the picture frame, a weight is applied to the fixed hook F1 to cover the upper part of the fixed hook F1 with the slide hook F2 so as to prevent the cord R from being removed. <P>COPYRIGHT: (C)2006,JPO&NCIPI

Description

この発明は、主として大型の額入りの書画などを室内の壁面に掛けるためのフックに関するもので、視認できない裏側に額の背面両側に繋いだ吊紐を掛けて放すと額の重量がトリガーとなって、フックを被う誘導片が壁面に近付き確実に止められるようにするものである。   The present invention mainly relates to a hook for hanging a large framed document or the like on a wall surface in a room. When a hanging strap connected to both sides of the back of the forehead is hung and released on the back side, the weight of the forehead becomes a trigger. Thus, the guide piece covering the hook approaches the wall surface and is surely stopped.

従来の壁面に額縁を掛け止めるためのフックは、壁面への取付板に両面接着剤を備えたフックを接着するか、壁面にねじ込むねじ棒を備えたフックが知られており、これらのフックを壁面に予め取り付け、額縁の吊紐を掛けていた。
特許文献1には、吊紐のずれを防止するための手段が提案されているが、フック自体は従来の構成のままである。
登録実用新案公報 第3045890号
Conventional hooks for hanging a picture frame on a wall surface are known to have a hook with a double-sided adhesive on the wall mounting plate or a screw rod screwed into the wall surface. Attached to the wall surface in advance and hung a frame hanging strap.
Patent Document 1 proposes a means for preventing the hanging strap from being displaced, but the hook itself remains the conventional configuration.
Registered Utility Model Publication No. 3045890

従来のフックでは、鍵形の突き出しが少ないために、額縁の裏面となる吊紐を掛けるのが困難であった。特に壁面の高い箇所に掛けるには、別途二股の金具を先端に備えた棒に吊紐を掛けて額縁の横から壁の後ろを覗き込み引っ掛けることになっていた。
さらには、掛ける額縁の重量により時の経過とともに接着剤を塗布したフックでは粘着力が弱まり、また、ねじ棒を備えたフックでは長さ及び太さにもよるが、地震などで緩んで落下する恐れがあった。
In the conventional hook, since there is little protrusion of a key shape, it was difficult to hang the hanging strap used as the back surface of a frame. In particular, in order to hang on a high part of the wall surface, a hanging string was hung on a bar with a separate bifurcated bracket at the tip, and the back of the wall was looked from the side of the frame and hooked.
Furthermore, the adhesive strength of a hook with adhesive applied decreases with the passage of time due to the weight of the frame to be hung, and the hook with a threaded rod falls loosely due to an earthquake, etc., depending on the length and thickness. There was a fear.

この発明は、このような従来技術の課題を解決すべく開発したもので、固定フックの上部にスライドして接離自在なスライドフックを配置することで、フックに額縁を掛ける前は一時的に両フックで奥行きを広くして容易に吊紐を掛け易くし、額縁の位置を調整してから固定フックに重量を掛けることでスライドフックが固定フックの上部を被い吊紐を外れないようにしたものである。
請求項1の発明に係るフックFは、取付フランジの一方側に内壁に穿った溝穴に押し込む外筒と、取付フランジ他方側には、つき合わせて組み付ける上筒及び中筒を配し、上筒には作動筒の外周に密着し取付フランジから外筒内に至る案内筒を固着してあり、作動筒に外嵌させ一端を止めたコイルバネを案内筒の開放端に当接させ、作動筒を引き出すことで付勢するようにし、案内筒に固定フック付リングをはめ中筒から覗くようにし、固定フック付リングの内向き掛合突起が案内筒の案内溝から作動筒の凹状掛止部に入り込むように付勢して引き出された作動筒を掛止し、フックを押圧することで解除し作動筒がコイルバネの作用で外筒の奥に入り込むようにし、作動筒の端部には固定フック側に倒伏しそこから折り起し自在なスライドフックを設けたことを特徴とするものである。
The present invention has been developed to solve such problems of the prior art, and by placing a slide hook that slides on top of the fixed hook and can be freely contacted and separated, it is temporarily before the frame is hung on the hook. Both hooks have a wider depth to make it easier to hang the hanging strap. Adjust the position of the frame and then hang the weight on the fixed hook so that the slide hook covers the upper part of the fixed hook and does not come off the hanging strap. It is what.
The hook F according to the invention of claim 1 is provided with an outer cylinder that is pushed into a slot formed in the inner wall on one side of the mounting flange, and an upper cylinder and an intermediate cylinder that are assembled together on the other side of the mounting flange. A guide cylinder that adheres closely to the outer periphery of the operating cylinder and extends from the mounting flange to the inside of the outer cylinder is fixed to the cylinder. A coil spring that is externally fitted to the operating cylinder and stops at one end is brought into contact with the open end of the guide cylinder. So that the ring with fixed hook fits into the guide tube and the inward hooking protrusion of the ring with fixed hook extends from the guide groove of the guide tube to the concave latching part of the working tube. Engage and pull out the operating cylinder that is pulled out, and press the hook to release it, so that the operating cylinder enters the inner part of the outer cylinder by the action of the coil spring, and there is a fixed hook at the end of the operating cylinder Sliding slide that can be folded down from the side In which it characterized in that a click.

請求項1の発明では、作動筒によりスライドフックが突出することになるので、簡単に額縁裏面の吊紐を掛けることができ、このスライドフックは額縁の自重により作動筒が壁内に移動してスライドフックが固定フックを被うことになり壁面近くに設置できることになる。そこで、一人でも壁面のフックに重い額縁を掛けることができることになる。
また、額縁に限らず、狭い場所や手の届かない場所であっても物を掛ける場合にフックが手前に出ているので掛け易くなるのである。
スライドフックは、折り起し自在な構成としてあるので、外す場合は、吊紐を持ち上げると難なく外れることになる。
In the invention of claim 1, since the slide hook is projected by the operating cylinder, it is possible to easily hang the hanging strap on the back surface of the frame, and the slide cylinder moves into the wall by its own weight. The slide hook will cover the fixed hook and can be installed near the wall. Thus, even a single person can hang a heavy picture frame on the wall hook.
Further, not only in the frame, but also in a narrow place or a place out of reach, when hooking an object, the hook comes out to the front so that it is easy to hang.
Since the slide hook is configured to be foldable, it can be removed without difficulty by lifting the hanging strap.

以下図面に示すこの発明の実施の形態に即して説明する。
このフックFは概略、取付フランジ1の一方側に内壁Wに穿った溝穴Hに押し込む外筒2と、取付フランジ1他方側には、つき合わせて組み付ける上筒3及び中筒4を配し、上筒3には作動筒5の外周に密着し取付フランジ1から外筒2内に至る案内筒6を固着してあり、作動筒5に外嵌させ一端を止めたコイルバネ7を案内筒6の開放端に当接させ、作動筒5を引き出すことで付勢するようにし、案内筒6に固定フック付リング8をはめ中筒4から覗くようにし、固定フック付リング8の内向き掛合突起81が案内筒6の案内溝61から作動筒5の凹状掛止部55に入り込むように付勢して引き出された作動筒5を掛止し、固定フック付リング8を押圧することで解除し、作動筒5がコイルバネ7の作用で外筒2の奥に入り込むようにし、作動筒5の端部には固定フック側に倒伏しそこから折り起し自在なスライドフックF2を設けたことを特徴とするものである。
The present invention will be described below with reference to the embodiments shown in the drawings.
The hook F is roughly arranged with an outer cylinder 2 to be pushed into a slot H formed in the inner wall W on one side of the mounting flange 1 and an upper cylinder 3 and an intermediate cylinder 4 to be assembled together on the other side of the mounting flange 1. The upper cylinder 3 is closely attached to the outer periphery of the operating cylinder 5 and is fixedly attached with a guide cylinder 6 extending from the mounting flange 1 to the inside of the outer cylinder 2. A coil spring 7 fitted to the operating cylinder 5 and stopped at one end is attached to the guide cylinder 6. The guide tube 6 is urged by pulling out the working cylinder 5, the ring 8 with the fixed hook is fitted into the guide cylinder 6, and the inward engagement protrusion of the ring 8 with the fixed hook is urged. 81 is hooked and pulled out from the guide groove 61 of the guide tube 6 so as to enter the concave latching portion 55 of the operation tube 5, and is released by pressing the ring 8 with the fixed hook. The operating cylinder 5 is inserted into the outer cylinder 2 by the action of the coil spring 7, The end of the moving tube 5 is characterized in lodging and providing the slide hook F2 freely raised folded therefrom fixing hook side.

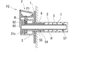
取付フランジ1中央の丸穴11には穴縁に段縁11aを設け、この段縁11aに外筒2の上端縁を嵌め込むようにしてある。   The round hole 11 at the center of the mounting flange 1 is provided with a step edge 11a at the hole edge, and the upper end edge of the outer cylinder 2 is fitted into the step edge 11a.

上筒3は、中筒4と同一径の短筒31と鍔つきの案内筒6と分離しているが、短筒31と案内筒6を接合させて一体としてから組み付けるようにする。なお、予め一体として成形するようにしてもよい。
上筒3は一方端に環状の当接部31aを備え、当接部31a側の周端より垂片31bを連設するようにしてあり、案内筒6には周側に案内溝61を設け、案内溝61は垂片31bと向き合うようにしてある。案内筒6の内径と作動筒5の外径とほぼ一致するようにして、作動筒5がスムースにスライドできるようにしてある。
31cは当接部31a上に配置したクッションであり、作動筒5が外筒2内に入って作動筒5のフランジ51が衝突したときの衝撃を緩和するためのものである。
The upper cylinder 3 is separated from the short cylinder 31 having the same diameter as the middle cylinder 4 and the guide cylinder 6 with the hook, but the short cylinder 31 and the guide cylinder 6 are joined together and assembled. In addition, you may make it shape | mold integrally previously.
The upper cylinder 3 is provided with an annular contact part 31a at one end, and a hanging piece 31b is provided continuously from the peripheral end on the contact part 31a side, and a guide groove 61 is provided in the guide cylinder 6 on the peripheral side. The guide groove 61 faces the hanging piece 31b. The operation cylinder 5 can be smoothly slid so that the inner diameter of the guide cylinder 6 and the outer diameter of the operation cylinder 5 substantially coincide with each other.
31c is a cushion disposed on the abutting portion 31a, and is for reducing the impact when the working cylinder 5 enters the outer cylinder 2 and the flange 51 of the working cylinder 5 collides.

中筒4は、一端より角形の窓穴41を設けてあり、他端には取付フランジ1の丸穴11周縁への環状の当接部42を設けるようにしてある。この中筒4は取付フランジ1に取り付けるのであるが、中筒4の当接部42にピン43を植設し、取付フランジ1の丸穴41を中にした対向位置の小孔12、12にピン43、43を差し込み取り付けるようにしてある。ピン43及び小孔12は適宜増やすことができる。   The middle cylinder 4 is provided with a rectangular window hole 41 from one end, and an annular contact portion 42 to the periphery of the round hole 11 of the mounting flange 1 is provided at the other end. The middle cylinder 4 is attached to the mounting flange 1, but a pin 43 is implanted in the contact portion 42 of the middle cylinder 4, and the small holes 12, 12 at opposite positions with the round hole 41 of the mounting flange 1 inside. Pins 43 and 43 are inserted and attached. The pins 43 and the small holes 12 can be appropriately increased.

作動筒5は、上筒3、中筒4を通して案内筒6に挿入して掛止させ摺動するもので、一端を塞ぐキャップ51を備え、このキャップ51に固定フックF1の上部に接離するスライドフックF2を設けてある。
スライドフックF2は、キャップ51に沿わせた起立板52a及び固定フックF1の側端に傾斜して近接して、かつ、固定フックF1上を被う回動板52bを跳ね上げ可能に繋げてなるものである。具体的には、起立板52aと回動板52bはピン52cで連結し、固定フックF1への傾斜状態を保つためにストッパー52dを設けるようにしてある。
作動筒5の胴部外周には、案内筒6の案内溝61に入り込む方形突起54及び固定フック付リング8の掛合突起81の先端を受け入れる凹状掛止部55(図2、図3参照)を設けるようにしてあり、胴部の端部には周溝56を設け、この周溝56にコイルバネ7の一端部を止める止輪57を嵌め込むようにしてある。
The operating cylinder 5 is inserted into the guide cylinder 6 through the upper cylinder 3 and the middle cylinder 4 and is latched and slid. The operating cylinder 5 is provided with a cap 51 that closes one end, and is in contact with and separated from the upper portion of the fixed hook F1. A slide hook F2 is provided.
The slide hook F2 is connected to the upright plate 52a along the cap 51 and the side end of the fixed hook F1 so as to be inclined and connected so that the rotating plate 52b covering the fixed hook F1 can be flipped up. Is. Specifically, the upright plate 52a and the rotating plate 52b are connected by a pin 52c, and a stopper 52d is provided to maintain an inclined state with respect to the fixed hook F1.
On the outer periphery of the barrel portion of the working cylinder 5, there are a rectangular projection 54 that enters the guide groove 61 of the guide cylinder 6 and a concave latching portion 55 (see FIGS. 2 and 3) that receives the tips of the latching projections 81 of the ring 8 with a fixing hook. A circumferential groove 56 is provided at the end of the body, and a retaining ring 57 for stopping one end of the coil spring 7 is fitted into the circumferential groove 56.

上筒3を、中筒4の窓穴41がほぼ矩形となるよう組み付けて、この窓穴41より固定フック付リング8の固定フックF1が上部に覗くようにしてある。
上筒3には予め径が細く作動筒5の外周に密着し取付フランジ1から外筒2内に至る案内筒6を固定し、案内筒6と作動筒5の間には、弾性手段として作動筒3に外嵌させるコイルバネ91及び掛止手段としては固定フック付リング8とからなる駆動機構を組み込むようにしてある。
The upper cylinder 3 is assembled so that the window hole 41 of the middle cylinder 4 has a substantially rectangular shape, and the fixing hook F1 of the ring 8 with the fixing hook is viewed from above the window hole 41.
The upper cylinder 3 has a guide cylinder 6 that has a small diameter and is in close contact with the outer periphery of the working cylinder 5 in advance and extends from the mounting flange 1 into the outer cylinder 2. The guide cylinder 6 and the working cylinder 5 are operated as elastic means. A drive mechanism comprising a coil spring 91 to be externally fitted to the cylinder 3 and a ring 8 with a fixing hook is incorporated as a latching means.

案内筒6に遊嵌する固定フック付リング8は、固定フックF1の基部となる内周に凹部82を設け、凹部82と向き合う内周に掛合突起81を形成してある。固定フックF1付リング8の掛合突起81を案内筒6の案内溝61に合わせ、凹部82と案内筒6との間にはバネ83を縮装して収納する。固定フック付リング8はバネ8dにより付勢され固定フックF1が窓穴41から上部に覗き、掛合突起81が作動筒5の外周に押し付けられることになる。
そして、作動筒5を引き出したときに凹状掛止部55に、固定フック付リング8の掛合突起81に入り込んで止まり、作動筒5のスライドフックF2が傾斜して固定フックF1側への案内路となる(図2参照)。
The ring 8 with a fixed hook that is loosely fitted to the guide tube 6 is provided with a concave portion 82 on the inner periphery that is the base of the fixed hook F <b> 1, and an engaging projection 81 is formed on the inner periphery that faces the concave portion 82. The hooking protrusion 81 of the ring 8 with the fixing hook F1 is aligned with the guide groove 61 of the guide tube 6 and a spring 83 is retracted between the recess 82 and the guide tube 6 and stored. The ring 8 with the fixing hook is urged by the spring 8d, and the fixing hook F1 looks upward from the window hole 41, and the hooking projection 81 is pressed against the outer periphery of the working cylinder 5.
Then, when the operating cylinder 5 is pulled out, it enters the engaging projection 81 of the ring 8 with the fixed hook into the concave engaging portion 55 and stops, and the slide hook F2 of the operating cylinder 5 is inclined to guide the fixed hook F1. (See FIG. 2).

この状態ではフックFは、固定フックF1とスライドフックF2で内壁Wより前面に突出するので、額縁(図示せず)の吊紐Rが掛け易くなる。
位置決めしてから額縁を降ろして吊紐Rで固定フックF1に荷重を掛けると作動筒5の凹状掛止部55への固定フック付リング8の掛合突起81の掛止が外れ、圧縮されていたコイルバネ7が開放され、作動筒5が案内筒6を介して外筒2内に入り込み、スライドフックF2が固定フックF1上を被うことになる。
In this state, the hook F protrudes from the inner wall W to the front surface by the fixed hook F1 and the slide hook F2, so that the hanging strap R of the frame (not shown) can be easily hung.
After the positioning, the frame is lowered and a load is applied to the fixed hook F1 by the hanging strap R, and the hook projection 81 of the ring 8 with the fixed hook is released from the concave hook 55 of the working cylinder 5 and is compressed. The coil spring 7 is opened, the operating cylinder 5 enters the outer cylinder 2 via the guide cylinder 6, and the slide hook F2 covers the fixed hook F1.

組み付ける際は、まず、スライドフックF2を一体に組み付けた作動筒5を、案内筒6を一体に取り付けた上筒3に挿入する。このとき、案内筒6の案内溝61に、作動筒5の方形突起54が入り込むようにする。そしてコイルバネ7を作動筒5外周より入れ、止輪57によりコイルバネ7を止めるようにする。コイルバネ7は案内筒6の開放端62と止輪57により両端を拘束され、作動筒5を摘んで引き出すことにより圧縮され付勢されることになる。
この状態で固定フック付リング8の掛合突起81を案内筒6の案内溝61に合わせ、固定フック付リング8の凹部92bと他方の案内溝71の間にバネ83を押し込むようにする。固定フック付リング8の固定フックF1は水平に配置されることになる。
一方、外筒2を取付フランジ1の丸穴11周囲の段縁11aに嵌め込み固定しておく。 そして、取付フランジ1中央の丸穴11より作動筒5、案内筒6を挿入し、中筒4のピン43、43を取付フランジ1の小孔12、12に嵌め込んで組立が完了するのである。
なお、組み立てる場合は必要に応じて接着剤を塗布して簡単に外れないようにすることが望ましい。
When assembling, first, the operation cylinder 5 integrally assembled with the slide hook F2 is inserted into the upper cylinder 3 with the guide cylinder 6 integrally attached. At this time, the rectangular protrusion 54 of the working cylinder 5 enters the guide groove 61 of the guide cylinder 6. Then, the coil spring 7 is inserted from the outer periphery of the working cylinder 5, and the coil spring 7 is stopped by the retaining ring 57. The coil spring 7 is constrained at both ends by the open end 62 and the retaining ring 57 of the guide cylinder 6, and is compressed and biased by grasping and pulling out the operating cylinder 5.
In this state, the hooking protrusion 81 of the ring 8 with the fixed hook is aligned with the guide groove 61 of the guide cylinder 6, and the spring 83 is pushed between the recess 92 b of the ring 8 with the fixed hook and the other guide groove 71. The fixed hook F1 of the ring 8 with the fixed hook is arranged horizontally.
On the other hand, the outer cylinder 2 is fitted and fixed to a step edge 11 a around the round hole 11 of the mounting flange 1. Then, the working cylinder 5 and the guide cylinder 6 are inserted through the round hole 11 at the center of the mounting flange 1, and the pins 43 and 43 of the middle cylinder 4 are fitted into the small holes 12 and 12 of the mounting flange 1 to complete the assembly. .
When assembling, it is desirable to apply an adhesive as necessary so that it does not come off easily.

作動筒5を掴んで引き出すことによりコイルバネ7が圧縮されが、固定フックF1付リング8の掛合突起81はバネ83により内側に付勢されているので、作動筒5の凹状掛止部55に入り込み、作動筒5が停止することになる。   The coil spring 7 is compressed by grasping and pulling out the operating cylinder 5, but the engaging protrusion 81 of the ring 8 with the fixing hook F <b> 1 is urged inward by the spring 83, so that it enters the concave engaging portion 55 of the operating cylinder 5. The operating cylinder 5 is stopped.

固定フックF1に額縁を掛けて重量を掛けると固定フック付リング8の掛合突起81と作動筒5の凹状掛止部55との掛合状態を解除し、縮装付勢されているコイルバネ7の一端部が案内筒6の開放端62に当接しているので、スライドフックF2と一体となった作動筒5が瞬時に外筒2に入り込み、固定フックF1に被さることになる。   When the frame is hung on the fixed hook F1 and the weight is applied, the engagement state between the engagement protrusion 81 of the ring 8 with the fixed hook and the concave engagement portion 55 of the operating cylinder 5 is released, and one end of the coil spring 7 that is urged by compression. Since the portion is in contact with the open end 62 of the guide tube 6, the operation tube 5 integrated with the slide hook F2 enters the outer tube 2 instantaneously and covers the fixed hook F1.

このフックFを用いるには予め内壁Wに溝穴Hを穿つのであるが、溝穴H内に長尺のナットを埋設し、外筒2外周にネジを切っておくことによりねじ込むようにしてもよい。内壁Wに穿った溝穴Hは用いないときにはキャップで蓋をしておくようにして体裁を損なわないようにする。詳細な図示は省略したが、取付フランジ1から複数の止めねじを内壁Wにねじ込むようにしてもよい。
基本的な素材については、プラスチックの成形品、金属製など適宜選択することができるが、吊り下げる物品によって、大きさ、強度、構成を変更することができる。
In order to use this hook F, a slot H is drilled in the inner wall W in advance, but a long nut is embedded in the slot H and the outer cylinder 2 is screwed by cutting a screw around the outer periphery. Good. When the slot H formed in the inner wall W is not used, the cap is covered with a cap so that the appearance is not impaired. Although detailed illustration is omitted, a plurality of set screws may be screwed into the inner wall W from the mounting flange 1.
The basic material can be selected as appropriate, such as a plastic molded product or metal, but the size, strength, and configuration can be changed depending on the article to be hung.

このフックは、吊紐で掛ける額縁に幻影されず、例えば、カーテンレールの両端をこのフックで支え、カーテンレールの壁面への当接面を接着するなどして取り付けることもできる。同様に配線、配管のためのレールとすることもできる。
さらには、室内用壁掛けタイプの換気扇やエアコンディショナーなどのように重量があっても壁面に掛けることができる。
ビルの外壁や体育館その他鉄筋コンクリート建築物の内外に用いることができる。
The hook is not illusioned on the frame hung by the hanging strap, and can be attached by, for example, supporting both ends of the curtain rail with the hook and bonding the contact surface to the wall surface of the curtain rail. Similarly, rails for wiring and piping can be used.
Furthermore, it can be hung on a wall surface even if it is heavy, such as an indoor wall-mounted ventilation fan or air conditioner.
It can be used on the exterior and exterior of buildings, gymnasiums and other reinforced concrete buildings.

この発明に係るフックの分解斜視図である。It is a disassembled perspective view of the hook concerning this invention. 作動筒を引き出した状態のフックの断面図である。It is sectional drawing of the hook of the state which pulled out the action | operation cylinder. 吊紐の荷重により作動筒が壁面に近接した状態の断面図である。It is sectional drawing of the state which the action cylinder adjoined to the wall surface with the load of the hanging string.

符号の説明Explanation of symbols

F フック
F1 固定フック
F2 スライドフック
1 取付フランジ
2 外筒
3 上筒
4 中筒
5 作動筒
6 案内筒
7 コイルバネ
8 固定フック付リング
F hook F1 fixed hook F2 slide hook 1 mounting flange 2 outer cylinder 3 upper cylinder 4 middle cylinder 5 actuating cylinder 6 guide cylinder 7 coil spring 8 ring with fixed hook

Claims (1)

取付フランジの一方側に内壁に穿った溝穴に押し込む外筒と、取付フランジ他方側には、つき合わせて組み付ける上筒及び中筒を配し、上筒には作動筒の外周に密着し取付フランジから外筒内に至る案内筒を固着してあり、作動筒に外嵌させ一端を止めたコイルバネを案内筒の開放端に当接させ、作動筒を引き出すことで付勢するようにし、案内筒に固定フック付リングをはめ中筒から覗くようにし、固定フック付リングの内向き掛合突起が案内筒の案内溝から作動筒の凹状掛止部に入り込むように付勢して引き出された作動筒を掛止し、フックを押圧することで解除し作動筒がコイルバネの作用で外筒の奥に入り込むようにし、作動筒の端部には固定フック側に倒伏しそこから折り起し自在なスライドフックを設けたことを特徴とするフック。   An outer cylinder that is pushed into a slot formed in the inner wall on one side of the mounting flange, and an upper cylinder and a middle cylinder that are assembled together are arranged on the other side of the mounting flange, and the upper cylinder is attached in close contact with the outer periphery of the working cylinder. A guide cylinder extending from the flange to the inside of the outer cylinder is fixed. A coil spring that is externally fitted to the operating cylinder and stopped at one end is brought into contact with the open end of the guide cylinder, and the operating cylinder is pulled out to be urged. An operation in which a ring with a fixed hook is fitted into the cylinder, and the inner cylinder is viewed from the middle cylinder, and the inward engagement protrusion of the ring with the fixed hook is urged and pulled out from the guide groove of the guide cylinder into the concave latching portion of the operation cylinder. The cylinder is hooked and released by pressing the hook so that the working cylinder enters the inner part of the outer cylinder by the action of the coil spring, and the end of the working cylinder falls to the fixed hook side and can be folded from there. A hook characterized by the provision of a slide hook .
JP2004116655A 2004-04-12 2004-04-12 hook Expired - Fee Related JP3921207B2 (en)

Priority Applications (1)

Application Number Priority Date Filing Date Title
JP2004116655A JP3921207B2 (en) 2004-04-12 2004-04-12 hook

Applications Claiming Priority (1)

Application Number Priority Date Filing Date Title
JP2004116655A JP3921207B2 (en) 2004-04-12 2004-04-12 hook

Publications (2)

Publication Number Publication Date
JP2005296322A true JP2005296322A (en) 2005-10-27
JP3921207B2 JP3921207B2 (en) 2007-05-30

Family

ID=35328586

Family Applications (1)

Application Number Title Priority Date Filing Date
JP2004116655A Expired - Fee Related JP3921207B2 (en) 2004-04-12 2004-04-12 hook

Country Status (1)

Country Link
JP (1) JP3921207B2 (en)

Cited By (2)

* Cited by examiner, † Cited by third party
Publication number Priority date Publication date Assignee Title
KR101347251B1 (en) 2013-07-30 2014-01-15 권병운 An rack of detachable type
US8695936B2 (en) 2008-11-30 2014-04-15 Samsung Electronics Co., Ltd. Supporting device for display apparatus

Cited By (2)

* Cited by examiner, † Cited by third party
Publication number Priority date Publication date Assignee Title
US8695936B2 (en) 2008-11-30 2014-04-15 Samsung Electronics Co., Ltd. Supporting device for display apparatus
KR101347251B1 (en) 2013-07-30 2014-01-15 권병운 An rack of detachable type

Also Published As

Publication number Publication date
JP3921207B2 (en) 2007-05-30

Similar Documents

Publication Publication Date Title
JP5478220B2 (en) Wall-mounted folding chair
US20050096187A1 (en) Jogging machine having a platform folding structure
WO2016045451A1 (en) Inserting and hanging type mounting structure for decoration in elevator cage
JP2005296322A (en) Hook
CN204331268U (en) A kind of projector suspension bracket with smallpox window
JP2005336983A (en) Door closing device
CN113932174A (en) Ceiling lamp mounting structure and ceiling lamp
KR100928399B1 (en) Wall Mount Panel Mount
US6739431B1 (en) Elevator escape device
JP2005105788A (en) Hinge and door device therewith
CN217652541U (en) Magnetic attraction device for fixed angle of office door
EP1609898A3 (en) Heddle, particularly a lifting heddle
CN206987592U (en) A kind of Fire Hose gate opener
JP6124589B2 (en) Awning hoist and awning hanger
JPH0520845Y2 (en)
JP2001193333A (en) Door stopper
KR101860304B1 (en) Semi-automatic opening/closing device of sliding door by air cylinder
JP3146886U (en) Long pressing combined picture rail
JP2001040927A (en) Door stopper and adapter
KR200423557Y1 (en) Detachable full glass door support
KR200417067Y1 (en) Fluorescent light case
CN223424424U (en) Spring hanger external member
CN211366630U (en) Embedded elevator calling board
JP2005174838A (en) Door interlocking lighting system and its device
US20050217808A1 (en) Fixing device for telescopic hanging rod of screen

Legal Events

Date Code Title Description
A977 Report on retrieval

Free format text: JAPANESE INTERMEDIATE CODE: A971007

Effective date: 20060801

A131 Notification of reasons for refusal

Free format text: JAPANESE INTERMEDIATE CODE: A131

Effective date: 20060926

A521 Written amendment

Free format text: JAPANESE INTERMEDIATE CODE: A523

Effective date: 20061002

A131 Notification of reasons for refusal

Free format text: JAPANESE INTERMEDIATE CODE: A131

Effective date: 20061205

A521 Written amendment

Free format text: JAPANESE INTERMEDIATE CODE: A523

Effective date: 20061219

TRDD Decision of grant or rejection written
A01 Written decision to grant a patent or to grant a registration (utility model)

Free format text: JAPANESE INTERMEDIATE CODE: A01

Effective date: 20070206

A61 First payment of annual fees (during grant procedure)

Free format text: JAPANESE INTERMEDIATE CODE: A61

Effective date: 20070216

R150 Certificate of patent or registration of utility model

Free format text: JAPANESE INTERMEDIATE CODE: R150

FPAY Renewal fee payment (event date is renewal date of database)

Free format text: PAYMENT UNTIL: 20110223

Year of fee payment: 4

FPAY Renewal fee payment (event date is renewal date of database)

Free format text: PAYMENT UNTIL: 20110223

Year of fee payment: 4

FPAY Renewal fee payment (event date is renewal date of database)

Free format text: PAYMENT UNTIL: 20120223

Year of fee payment: 5

FPAY Renewal fee payment (event date is renewal date of database)

Free format text: PAYMENT UNTIL: 20130223

Year of fee payment: 6

FPAY Renewal fee payment (event date is renewal date of database)

Free format text: PAYMENT UNTIL: 20140223

Year of fee payment: 7

R250 Receipt of annual fees

Free format text: JAPANESE INTERMEDIATE CODE: R250

R250 Receipt of annual fees

Free format text: JAPANESE INTERMEDIATE CODE: R250

R250 Receipt of annual fees

Free format text: JAPANESE INTERMEDIATE CODE: R250

LAPS Cancellation because of no payment of annual fees