JP2005294322A - Semiconductor laser element - Google Patents
Semiconductor laser element Download PDFInfo
- Publication number
- JP2005294322A JP2005294322A JP2004103267A JP2004103267A JP2005294322A JP 2005294322 A JP2005294322 A JP 2005294322A JP 2004103267 A JP2004103267 A JP 2004103267A JP 2004103267 A JP2004103267 A JP 2004103267A JP 2005294322 A JP2005294322 A JP 2005294322A
- Authority
- JP
- Japan
- Prior art keywords
- region
- layer
- flat portion
- thickness
- semiconductor laser
- Prior art date
- Legal status (The legal status is an assumption and is not a legal conclusion. Google has not performed a legal analysis and makes no representation as to the accuracy of the status listed.)
- Granted
Links
- 239000004065 semiconductor Substances 0.000 title claims abstract description 151
- 238000005253 cladding Methods 0.000 description 129
- 150000004767 nitrides Chemical class 0.000 description 59
- 230000007547 defect Effects 0.000 description 43
- 239000013078 crystal Substances 0.000 description 42
- 238000005530 etching Methods 0.000 description 34
- 238000004519 manufacturing process Methods 0.000 description 25
- 238000000034 method Methods 0.000 description 24
- JMASRVWKEDWRBT-UHFFFAOYSA-N Gallium nitride Chemical compound [Ga]#N JMASRVWKEDWRBT-UHFFFAOYSA-N 0.000 description 14
- 230000000903 blocking effect Effects 0.000 description 14
- 230000003287 optical effect Effects 0.000 description 10
- 230000031700 light absorption Effects 0.000 description 8
- 230000010355 oscillation Effects 0.000 description 7
- 238000001020 plasma etching Methods 0.000 description 6
- 238000001771 vacuum deposition Methods 0.000 description 6
- 230000008569 process Effects 0.000 description 5
- 239000000758 substrate Substances 0.000 description 5
- 229910004298 SiO 2 Inorganic materials 0.000 description 4
- 238000009826 distribution Methods 0.000 description 4
- 230000000694 effects Effects 0.000 description 4
- 230000004888 barrier function Effects 0.000 description 3
- 238000003776 cleavage reaction Methods 0.000 description 3
- 230000007017 scission Effects 0.000 description 3
- 238000003892 spreading Methods 0.000 description 3
- 230000007480 spreading Effects 0.000 description 3
- 230000015572 biosynthetic process Effects 0.000 description 1
- 230000008859 change Effects 0.000 description 1
- 238000005234 chemical deposition Methods 0.000 description 1
- 238000005259 measurement Methods 0.000 description 1
- 239000002184 metal Substances 0.000 description 1
- 238000012986 modification Methods 0.000 description 1
- 230000004048 modification Effects 0.000 description 1
- 238000005268 plasma chemical vapour deposition Methods 0.000 description 1
- 238000005728 strengthening Methods 0.000 description 1
Images
Landscapes
- Semiconductor Lasers (AREA)
Abstract
Description
本発明は、半導体レーザ素子に関し、特に、活性層を含む半導体レーザ素子に関する。 The present invention relates to a semiconductor laser device, and more particularly to a semiconductor laser device including an active layer.
従来、活性層上に、凸部(リッジ部)と、凸部以外の平坦部とを有する半導体層を含む半導体レーザ素子が知られている。 Conventionally, there has been known a semiconductor laser element including a semiconductor layer having a convex portion (ridge portion) and a flat portion other than the convex portion on an active layer.
図27は、従来の半導体レーザ素子の構造を示した斜視図である。図28および図29は、それぞれ、図27に示した従来の半導体レーザ素子のレーザ光の垂直方向および水平方向の広がり角を説明するための側面図および上面図である。まず、図27を参照して、従来の半導体レーザ素子では、n型半導体基板101上に、n型半導体からなるn側クラッド層102が形成されている。n側クラッド層102上には、活性層103が形成されている。活性層103上には、凸部と、凸部以外の平坦部とを有するp型半導体からなるp側クラッド層104が形成されている。p側クラッド層104の凸部上には、p型半導体からなるコンタクト層105が形成されている。このコンタクト層105とp側クラッド層104の凸部とによって、共振器方向に延びるストライプ状(細長状)のリッジ部106が構成されている。リッジ部106を構成するコンタクト層105上には、p側オーミック電極107が形成されている。また、p側クラッド層104の平坦部の上面からn型半導体基板101の途中の深さまでの所定領域が除去されることにより、n型半導体基板101の一部が露出されている。そして、n型半導体基板101の露出された表面上の所定領域には、n側オーミック電極108が形成されている。また、p側オーミック電極107およびn側オーミック電極108以外の表面上には、絶縁膜からなる電流ブロック層109が形成されている。
FIG. 27 is a perspective view showing the structure of a conventional semiconductor laser device. FIGS. 28 and 29 are a side view and a top view, respectively, for explaining the vertical and horizontal spread angles of the laser light of the conventional semiconductor laser device shown in FIG. First, referring to FIG. 27, in the conventional semiconductor laser element, an n-
図27に示した従来の半導体レーザ素子では、活性層103で生成された光が共振器端面100aおよび100bで反射することによりレーザ発振する。そして、光出射側の共振器端面100aから出射されるレーザ光は、垂直方向および水平方向からの光閉じ込めによって、スポット形状(光強度分布)が制御されている。具体的には、垂直方向の光閉じ込めは、活性層103の上下にそれぞれ位置するp側クラッド層104およびn側クラッド層102により行われる。また、水平方向の光閉じ込めは、p側クラッド層104の凸部と平坦部とが交差する部分(凸部の下端部)により行われる。なお、図27に示した従来の半導体レーザ素子では、図28に示すように、出射されるレーザ光の垂直方向の広がり角θ1は、約18°である。また、図29に示すように、出射されるレーザ光の水平方向の広がり角θ2は、約6°である。すなわち、図27に示した従来の半導体レーザ素子では、θ1(垂直方向の広がり角)/θ2(水平方向の広がり角)=約3である。
In the conventional semiconductor laser device shown in FIG. 27, the light generated by the
図27に示した従来の半導体レーザ素子では、上記したように、レーザ光の垂直方向の広がり角θ1(約18°)に対して水平方向の広がり角θ2(約6°)が小さいので、レーザ光の形状を真円(θ1/θ2=1)に近づけるのが困難であった。このため、真円形状に近い良好な光強度分布を有する半導体レーザ素子を得るのが困難であるという不都合があった。 In the conventional semiconductor laser element shown in FIG. 27, as described above, the horizontal spread angle θ2 (about 6 °) is smaller than the vertical spread angle θ1 (about 18 °) of the laser beam. It was difficult to bring the shape of light close to a perfect circle (θ1 / θ2 = 1). For this reason, there is an inconvenience that it is difficult to obtain a semiconductor laser device having a good light intensity distribution close to a perfect circle shape.
そこで、従来、光出射側の共振器端面近傍の領域のみ、水平方向の光閉じ込めをより強くすることにより、レーザ光の発光スポットの形状(光強度分布)が水平方向に広がるのを抑制することによって、レーザ光の水平方向の広がり角θ2をより大きくする方法が提案されている(たとえば、特許文献1参照)。なお、発光スポットの形状(光強度分布)の水平方向の広がりが小さいほど、水平方向の広がり角θ2は大きくなる。 Therefore, conventionally, only in the region near the resonator end face on the light emission side, the optical confinement in the horizontal direction is made stronger, thereby suppressing the shape of the light emission spot (light intensity distribution) of the laser light from spreading in the horizontal direction. Has proposed a method of further increasing the horizontal spread angle θ2 of the laser light (see, for example, Patent Document 1). Note that the smaller the horizontal spread of the shape of the light emission spot (light intensity distribution), the larger the horizontal spread angle θ2.
上記特許文献1では、基板上に、n側クラッド層、活性層およびp側クラッド層が順次形成されるとともに、p側クラッド層が、凸部と、凸部以外の平坦部とを有する半導体レーザ素子において、光出射側の共振器端面近傍の領域のみ、p側クラッド層の平坦部の上面から、活性層およびn側クラッド層の途中の深さまでエッチングされている。この特許文献1では、活性層をエッチングすることにより活性層の幅を小さくしているので、水平方向の光閉じ込めをより強くすることが可能となる。
しかしながら、上記特許文献1では、光出射側の共振器端面近傍の領域において、活性層をエッチングするので、活性層に加わるエッチングダメージが大きくなるという不都合がある。これにより、エッチングダメージに起因して発生する活性層の結晶欠陥が増大するので、活性層の結晶欠陥部分による光吸収が増大するという不都合が生じる。その結果、発光効率が低下するという問題点がある。また、活性層の結晶欠陥部分に電流が流れることにより結晶欠陥が増殖するという問題点がある。
However, in
また、水平方向の光閉じ込めをより強くする別の方法としては、p側クラッド層の凸部の幅を小さくする方法がある。この場合、水平方向の光閉じ込め機能を有するエッジ部の間隔が小さくなるので、水平方向の光閉じ込めの幅を小さくすることが可能となる。 Further, as another method for further strengthening the optical confinement in the horizontal direction, there is a method of reducing the width of the convex portion of the p-side cladding layer. In this case, since the interval between the edge portions having the light confinement function in the horizontal direction is reduced, the width of light confinement in the horizontal direction can be reduced.
しかしながら、p側クラッド層の凸部の幅を小さくする方法では、p側クラッド層の凸部上に形成される電極層との接触面積が小さくなるので、コンタクト抵抗が増大するという不都合が生じる。その結果、素子の動作電圧が高くなるので、素子の消費電力が増大するという問題点がある。 However, in the method of reducing the width of the convex portion of the p-side clad layer, the contact area with the electrode layer formed on the convex portion of the p-side clad layer is reduced, resulting in a disadvantage that the contact resistance increases. As a result, since the operating voltage of the element becomes high, there is a problem that the power consumption of the element increases.
この発明は、上記のような課題を解決するためになされたものであり、この発明の1つの目的は、高い発光効率を有し、かつ、従来に比べて真円形状に近いレーザ光の形状を得ることが可能な半導体レーザ素子を提供することである。 The present invention has been made in order to solve the above-described problems, and one object of the present invention is to have a high luminous efficiency and a shape of a laser beam that is closer to a perfect circle than in the past. It is an object of the present invention to provide a semiconductor laser device capable of obtaining the above.
上記目的を達成するために、この発明の一の局面による半導体レーザ素子は、第1半導体層上に形成された活性層と、活性層上に形成され、凸部と、凸部以外の平坦部とを有する第2半導体層とを備えている。そして、第2半導体層の平坦部は、少なくとも光出射側の共振器端面近傍の第1領域に位置する第1平坦部と、第1領域以外の素子の中心領域を含む第2領域に位置する第2平坦部とを含み、第2半導体層の第1平坦部の厚みは、第2半導体層の第2平坦部の厚みよりも小さい。 In order to achieve the above object, a semiconductor laser device according to one aspect of the present invention includes an active layer formed on a first semiconductor layer, a convex portion formed on the active layer, and a flat portion other than the convex portion. A second semiconductor layer. The flat portion of the second semiconductor layer is located in a second region including at least the first flat portion located in the first region near the resonator end face on the light emitting side and the central region of the element other than the first region. And the thickness of the first flat portion of the second semiconductor layer is smaller than the thickness of the second flat portion of the second semiconductor layer.
この一の局面による半導体レーザ素子では、上記のように、活性層上に形成される第2半導体層の凸部以外の平坦部を、少なくとも光出射側の共振器端面近傍の第1領域に位置する第1平坦部と、第1領域以外の素子の中心領域を含む第2領域に位置する第2平坦部とを含むように構成するとともに、第1平坦部の厚みを、第2平坦部の厚みよりも小さくすることによって、光出射側の共振器端面近傍の第1領域に位置する第2半導体層の凸部の下端部を、素子の中心領域を含む第2領域に位置する第2半導体層の凸部の下端部よりも活性層に近づけることができるので、その活性層に近くなるように形成された第1領域の凸部の下端部により、第1領域における水平方向の光閉じ込めを強くすることができる。これにより、レーザ光の発光スポットの水平方向の広がりを小さくすることができるので、レーザ光の水平方向の広がり角を大きくすることができる。その結果、レーザ光の形状を真円(垂直方向の広がり角/水平方向の広がり角=1)に近づけることができる。この場合、第2半導体層の凸部(リッジ部)をエッチングにより形成する際に、第2半導体層の第2領域に位置する第2平坦部の厚みが第1領域に位置する第1平坦部の厚みよりも大きくなるようにエッチングするので、第2領域の第2平坦部に加わるエッチングダメージを、第1領域の第1平坦部に加わるエッチングダメージよりも小さくすることができる。これにより、第2領域において、エッチングダメージに起因して発生する第2平坦部下の活性層の結晶欠陥の量を減少させることができる。また、第1領域の第1平坦部下に位置する活性層においても、活性層まではエッチングされないので、活性層を含む部分をエッチングすることによりリッジ部を形成する場合に比べて、エッチングダメージに起因して活性層に発生する結晶欠陥の量を減少させることができる。その結果、活性層の結晶欠陥部分に流れる発光に寄与しないリーク電流が増大するのを抑制することができる。また、活性層の結晶欠陥が少ないほど電流が流れることに起因する結晶欠陥の増殖を抑制することができる。その結果、長寿命で、かつ、高い発光効率を有する半導体レーザ素子を得ることができる。このように、一の局面による半導体レーザ素子では、長寿命で、かつ、高い発光効率を有するとともに、真円形状に近いレーザ光の形状を得ることが可能な半導体レーザ素子を得ることができる。 In the semiconductor laser device according to the one aspect, as described above, the flat portion other than the convex portion of the second semiconductor layer formed on the active layer is positioned at least in the first region near the resonator end face on the light emitting side. And the second flat portion located in the second region including the central region of the element other than the first region, and the thickness of the first flat portion is set to be equal to that of the second flat portion. By making the thickness smaller than the thickness, the lower end of the convex portion of the second semiconductor layer located in the first region in the vicinity of the resonator end face on the light emitting side is located in the second region including the central region of the element. Since the lower end of the convex portion of the layer can be closer to the active layer, the lower end portion of the convex portion of the first region formed so as to be closer to the active layer can confine horizontal light confinement in the first region. Can be strong. As a result, the horizontal spread of the laser light emission spot can be reduced, so that the horizontal spread angle of the laser light can be increased. As a result, the shape of the laser beam can be made close to a perfect circle (vertical spread angle / horizontal spread angle = 1). In this case, when the convex portion (ridge portion) of the second semiconductor layer is formed by etching, the thickness of the second flat portion located in the second region of the second semiconductor layer is the first flat portion located in the first region. Therefore, the etching damage applied to the second flat portion of the second region can be made smaller than the etching damage applied to the first flat portion of the first region. Thereby, in the second region, it is possible to reduce the amount of crystal defects in the active layer under the second flat portion caused by etching damage. Further, even in the active layer located under the first flat portion of the first region, the active layer is not etched, so that it is caused by etching damage as compared with the case where the ridge portion is formed by etching the portion including the active layer. Thus, the amount of crystal defects generated in the active layer can be reduced. As a result, it is possible to suppress an increase in leakage current that does not contribute to light emission flowing through the crystal defect portion of the active layer. In addition, the smaller the number of crystal defects in the active layer, the more the growth of crystal defects caused by current flow can be suppressed. As a result, it is possible to obtain a semiconductor laser element having a long lifetime and high emission efficiency. As described above, the semiconductor laser element according to one aspect can provide a semiconductor laser element that has a long lifetime and high light emission efficiency and can obtain a laser light shape close to a perfect circle shape.
上記一の局面による半導体レーザ素子において、好ましくは、第1領域を流れる電流の電流密度が、第2領域を流れる電流の電流密度よりも小さくなるように構成されている。このように構成すれば、光出射側の共振器端面近傍の第1領域に位置する活性層に注入される電流を、素子の中心領域を含む第2領域に位置する活性層に流れる電流よりも減少させることができるので、第1領域の第2半導体層の第1平坦部の厚みを第2領域の第2半導体層の第2平坦部の厚みよりも小さくすることに起因して、第1領域に位置する活性層の結晶欠陥が、第2領域に位置する活性層の結晶欠陥よりも多くなったとしても、第1領域に位置する活性層の結晶欠陥部分に流れる電流を減少させることができる。これにより、活性層の結晶欠陥部分に多くの電流が流れることに起因して結晶欠陥が増大するのを抑制することができるので、素子の長寿命化を図ることができる。 In the semiconductor laser device according to the aforementioned aspect, the current density of the current flowing through the first region is preferably configured to be smaller than the current density of the current flowing through the second region. If comprised in this way, the electric current injected into the active layer located in the first region in the vicinity of the resonator end face on the light emitting side is made to flow more than the current flowing in the active layer located in the second region including the central region of the element. Since the thickness of the first flat portion of the second semiconductor layer in the first region is smaller than the thickness of the second flat portion of the second semiconductor layer in the second region, the first region can be reduced. Even if the number of crystal defects in the active layer located in the region is larger than the number of crystal defects in the active layer located in the second region, the current flowing through the crystal defect portion of the active layer located in the first region can be reduced. it can. Accordingly, it is possible to suppress an increase in crystal defects due to a large amount of current flowing through the crystal defect portion of the active layer, and thus the lifetime of the element can be extended.
この場合、好ましくは、第2半導体層上に形成され、1Ω/□以上のシート抵抗値を有する第1電極層と、第1電極層上に形成され、光出射側の端部が、光出射側の共振器端面から所定の間隔を隔てて配置された第2電極層とをさらに備える。このように構成すれば、第1電極層の光出射側の共振器端面から所定の間隔を隔てた領域にのみ、第2電極層から電流を注入することができる。また、第1電極層の光出射側の端部が共振器端面にまで達している場合、第1電極層のシート抵抗値を1Ω/□以上の大きいシート抵抗値に設定することによって、第2電極層から電流を注入する場合に、第1電極層において共振器方向(水平方向)に電流が流れにくくなるので、容易に、光出射側の共振器端面近傍の第1領域を流れる電流の電流密度を、第1領域以外の素子の中心領域を含む第2領域を流れる電流の電流密度よりも小さくすることができる。 In this case, preferably, the first electrode layer is formed on the second semiconductor layer and has a sheet resistance value of 1Ω / □ or more, and is formed on the first electrode layer. And a second electrode layer disposed at a predetermined interval from the side facet of the resonator. If comprised in this way, an electric current can be inject | poured from a 2nd electrode layer only to the area | region spaced apart from the resonator end surface by the side of the light emission of a 1st electrode layer. In addition, when the end of the light emission side of the first electrode layer reaches the end face of the resonator, the sheet resistance value of the first electrode layer is set to a large sheet resistance value of 1 Ω / □ or more, so that the second When current is injected from the electrode layer, it becomes difficult for the current to flow in the resonator direction (horizontal direction) in the first electrode layer, so that the current of the current flowing easily through the first region near the resonator end surface on the light emitting side is easily The density can be made smaller than the current density of the current flowing through the second region including the central region of the element other than the first region.
この場合、好ましくは、第2電極層の光出射側の端部は、第1領域と第2領域との境界よりも第2領域側に配置されている。このように構成すれば、上記のように、第1電極層において共振器方向に電流を流れにくくした構成において、第2電極層の光出射側の端部と第1領域との間に所定の間隔が設けられるので、第2電極層から第1電極層を介して第1領域に電流がより注入されにくくなる。これにより、より容易に、光出射側の共振器端面近傍の第1領域を流れる電流の電流密度を、第1領域以外の素子の中心領域を含む第2領域を流れる電流の電流密度よりも小さくすることができる。 In this case, it is preferable that the end of the second electrode layer on the light emission side is disposed on the second region side with respect to the boundary between the first region and the second region. With this configuration, as described above, in the configuration in which current does not easily flow in the direction of the resonator in the first electrode layer, a predetermined interval is provided between the light emitting side end of the second electrode layer and the first region. Since the interval is provided, current is less likely to be injected into the first region from the second electrode layer via the first electrode layer. Thereby, the current density of the current flowing through the first region in the vicinity of the resonator end face on the light emitting side is more easily made smaller than the current density of the current flowing through the second region including the central region of the element other than the first region. can do.
上記一の局面による半導体レーザ素子において、好ましくは、第2半導体層の第1平坦部と第2平坦部との間には、第1平坦部の上面と第2平坦部の上面とを接続するように、傾斜部が設けられている。このように構成すれば、第1平坦部と第2平坦部との間の境界面が傾斜するので、厚みの異なる第1平坦部と第2平坦部とが垂直の境界面により接続されている場合に比べて、境界面において光出射側とは反対側の共振器端面方向に光が反射されにくくなる。これにより、第1平坦部と第2平坦部との間の境界面と、光出射側とは反対側の共振器端面との間の不要なレーザ発振モードの発生を抑制することができる。これにより、高出力領域まで、高い発光効率を有するレーザ発振モード(光出射側の共振器端面と、光出射側とは反対側の共振器端面との間のレーザ発振モード)を維持することができるので、発光効率をより向上させることができる。また、第2半導体層の第1平坦部と第2平坦部との間に、第1平坦部の上面と第2平坦部の上面とを接続するように、傾斜部を設けることによって、厚みの異なる第1平坦部と第2平坦部とが垂直の境界面により接続されている場合に比べて、第1平坦部と第2平坦部との間の境界面の下端部(エッジ部)が滑らかになるので、そのエッジ部による光閉じ込めを弱くすることができる。これにより、第1平坦部と第2平坦部との間の境界面のエッジ部における光損失を抑制することができるので、これによっても、発光効率をより向上させることができる。 In the semiconductor laser device according to the aforementioned aspect, the upper surface of the first flat portion and the upper surface of the second flat portion are preferably connected between the first flat portion and the second flat portion of the second semiconductor layer. As described above, an inclined portion is provided. If comprised in this way, since the boundary surface between a 1st flat part and a 2nd flat part inclines, the 1st flat part and 2nd flat part from which thickness differs are connected by the perpendicular | vertical boundary surface. Compared to the case, light is less likely to be reflected in the direction of the resonator end face opposite to the light exit side at the boundary surface. Thereby, generation | occurrence | production of the unnecessary laser oscillation mode between the boundary surface between a 1st flat part and a 2nd flat part and the resonator end surface on the opposite side to a light-projection side can be suppressed. As a result, the laser oscillation mode (laser oscillation mode between the resonator end surface on the light emitting side and the resonator end surface opposite to the light emitting side) having high light emission efficiency can be maintained up to the high output region. Therefore, the luminous efficiency can be further improved. Further, by providing an inclined portion so as to connect the upper surface of the first flat portion and the upper surface of the second flat portion between the first flat portion and the second flat portion of the second semiconductor layer, the thickness is increased. Compared with the case where different first flat portions and second flat portions are connected by a vertical boundary surface, the lower end portion (edge portion) of the boundary surface between the first flat portion and the second flat portion is smooth. Therefore, the light confinement by the edge portion can be weakened. Thereby, since the optical loss in the edge part of the interface between the 1st flat part and the 2nd flat part can be controlled, luminous efficiency can be improved more by this.
上記一の局面による半導体レーザ素子において、好ましくは、第2半導体層の平坦部は、光出射側とは反対側の共振器端面近傍の第3領域に位置するとともに、第2平坦部の厚みよりも小さい厚みを有する第3平坦部をさらに含む。このように構成すれば、光出射側とは反対側の共振器端面を光出射面として用いたとしても、レーザ光の形状を真円(垂直方向の広がり角/水平方向の広がり角=1)に近づけることができる。これにより、2つの共振器端面のうち、どちらの共振器端面を光出射面として用いたとしても、レーザ光の形状を真円に近づけることができる。これにより、素子を組み立てる際に、どちらの共振器端面を光出射面に設定したとしても、真円形状に近いレーザ光の形状を得ることが可能な半導体レーザ素子を作製することができる。 In the semiconductor laser device according to the aforementioned aspect, preferably, the flat portion of the second semiconductor layer is located in the third region near the resonator end surface on the side opposite to the light emitting side, and from the thickness of the second flat portion. A third flat portion having a small thickness. With this configuration, even when the resonator end surface opposite to the light emitting side is used as the light emitting surface, the shape of the laser beam is a perfect circle (vertical spread angle / horizontal spread angle = 1). Can be approached. As a result, the shape of the laser beam can be made close to a perfect circle regardless of which one of the two resonator end faces is used as the light exit surface. Thereby, when assembling the element, a semiconductor laser element capable of obtaining a laser beam shape close to a perfect circle can be produced regardless of which resonator end face is set as the light emitting surface.
上記一の局面による半導体レーザ素子において、好ましくは、第1領域に位置する第2半導体層の第1平坦部の共振器方向の長さは、3μm以上50μm以下である。このように構成すれば、第1領域に位置する第2半導体層の第1平坦部の共振器方向の長さを3μm以上にすることによって、光出射側の共振器端面近傍の第1領域に位置する第1平坦部の共振器方向の長さが小さくなり過ぎることに起因して、第1領域における水平方向の光閉じ込めが不十分になるのを抑制することができる。さらに、第1領域に位置する第2半導体層の第1平坦部の共振器方向の長さを3μm以上にすることによって、劈開法を用いて素子を各チップに分離する際に、第1領域に位置する第1平坦部の共振器方向の長さが小さくなり過ぎることに起因して、素子が素子の中心領域を含む第2領域において分離されるのを抑制することができる。また、第1領域に位置する第2半導体層の第1平坦部の共振器方向の長さを50μm以下にすることによって、第2領域よりもエッチングダメージが大きい第1領域に位置する第1平坦部の共振器方向の長さが大きくなり過ぎることに起因して、活性層に導入される結晶欠陥が多くなるのを抑制することができる。
In the semiconductor laser device according to the above aspect, the length of the first flat portion of the second semiconductor layer located in the first region in the resonator direction is preferably 3 μm or more and 50 μm or less. If comprised in this way, by making the length of the 1st flat part of the 2nd semiconductor layer located in a 1st area | region into the
上記一の局面による半導体レーザ素子において、好ましくは、第2領域に位置する第2半導体層の第2平坦部の厚みは、100nm以上250nm以下である。このように構成すれば、第2領域に位置する第2半導体層の第2平坦部の厚みを100nm以上にすることによって、素子の中心領域を含む第2領域に位置する第2平坦部の厚みを小さくし過ぎることに起因して、第2平坦部に加わるエッチングダメージが大きくなるのを抑制することができるので、第2平坦部下に位置する活性層に発生する結晶欠陥の量を減少させることができる。これにより、活性層の結晶欠陥部分による光吸収の増大をより抑制することができるので、発光効率をより向上させることができる。また、結晶欠陥の増殖を抑制することができるので、素子寿命をより向上させることができる。また、第2領域に位置する第2半導体層の第2平坦部の厚みを250nm以下にすることによって、第2領域に位置する第2平坦部の厚みを大きくし過ぎることに起因して、しきい値電流が増大するのを抑制することができるので、消費電力が増大するのを抑制することができる。
In the semiconductor laser device according to the aforementioned aspect, the thickness of the second flat portion of the second semiconductor layer located in the second region is preferably 100 nm or more and 250 nm or less. If comprised in this way, the thickness of the 2nd flat part located in the 2nd area | region including the center area | region of an element is made by making the thickness of the 2nd flat part of the 2nd semiconductor layer located in a 2nd area | region into 100 nm or more. Since the etching damage applied to the second flat portion can be suppressed due to excessively reducing the thickness of the second flat portion, the amount of crystal defects generated in the active layer located under the second flat portion can be reduced. Can do. Thereby, since the increase in the light absorption by the crystal defect part of an active layer can be suppressed more, luminous efficiency can be improved more. In addition, since the growth of crystal defects can be suppressed, the device life can be further improved. Further, by making the thickness of the second flat portion of the second semiconductor layer located in the
以下、本発明の実施形態を図面に基づいて説明する。 Hereinafter, embodiments of the present invention will be described with reference to the drawings.
(第1実施形態)
図1は、本発明の第1実施形態による窒化物系半導体レーザ素子の構造を示した斜視図である。図2および図3は、それぞれ、図1の100−100線および200−200線に沿った断面図である。まず、図1〜図3を参照して、第1実施形態による窒化物系半導体レーザ素子の構造について説明する。なお、第1実施形態による窒化物系半導体レーザ素子の幅Wは、約300μmであり、共振器の長さLは、約600μmである。
(First embodiment)
FIG. 1 is a perspective view showing the structure of a nitride-based semiconductor laser device according to the first embodiment of the present invention. 2 and 3 are cross-sectional views taken along lines 100-100 and 200-200 in FIG. 1, respectively. First, the structure of the nitride-based semiconductor laser device according to the first embodiment will be described with reference to FIGS. The width W of the nitride-based semiconductor laser device according to the first embodiment is about 300 μm, and the length L of the resonator is about 600 μm.
第1実施形態による窒化物系半導体レーザ素子では、図1に示すように、n型GaN基板1上に、約1.5μmの厚みを有するn型AlGaN(Al組成比:7%)からなるn側クラッド層2が形成されている。なお、n側クラッド層2は、本発明の「第1半導体層」の一例である。n側クラッド層2上には、活性層(発光層)3が形成されている。この活性層3は、約3nmの厚みを有するアンドープのInGaN(In組成比:15%)からなる3つの井戸層と、約20nmの厚みを有するアンドープのInGaN(In組成比:2%)からなる3つの障壁層とが交互に積層された多重量子井戸(MQW)構造を有する。また、活性層3上には、p側クラッド層4が形成されている。このp側クラッド層4は、活性層3側から順に、光ガイド層(図示せず)、キャップ層(図示せず)およびp型AlGaN層(図示せず)によって構成されている。p側クラッド層4を構成する光ガイド層は、約75nmの厚みを有するアンドープのInGaN(In組成比:1%)からなるとともに、キャップ層は、約20nmの厚みを有するアンドープのAlGaN(Al組成比:20%)からなる。また、p型AlGaN層は、Mgがドープされるとともに、7%のAl組成比を有する。このp側クラッド層4は、約1.5μmの幅を有するとともに、共振器方向に延びるストライプ状(細長状)の凸部を有する。なお、p側クラッド層4は、本発明の「第2半導体層」の一例である。
In the nitride-based semiconductor laser device according to the first embodiment, as shown in FIG. 1, an n-type AlGaN (Al composition ratio: 7%) having a thickness of about 1.5 μm is formed on an n-
ここで、第1実施形態では、p側クラッド層4の凸部以外の平坦部4aおよび4bは、光出射側の共振器端面10a近傍の領域A1と、領域A1以外の素子の中心領域を含む領域B1とで異なる厚みを有する。具体的には、領域A1では、図2に示すように、活性層3の上面からp側クラッド層4までの平坦部4aの厚みtA1は、約100nmであり、凸部の平坦部4aの上面からの高さは、約400nmである。また、領域B1では、図3に示すように、p側クラッド層4の平坦部4bの厚みtB1は、約150nmであり、凸部の平坦部4bの上面からの高さは、約350nmである。すなわち、領域A1の平坦部4aの厚みtA1は、領域B1の平坦部4bの厚みtB1よりも小さい。なお、領域A1およびB1は、それぞれ、本発明の「第1領域」および「第2領域」の一例であり、平坦部4aおよび4bは、それぞれ、本発明の「第1平坦部」および「第2平坦部」の一例である。また、領域A1の共振器方向の長さは、約10μmであり、領域B1の共振器方向の長さは、約590μmである。
Here, in the first embodiment, the
また、図1に示すように、p側クラッド層4の凸部上には、約3nmの厚みを有するアンドープのInGaN(In組成比:7%)からなるコンタクト層5が形成されている。なお、コンタクト層5は、本発明の「第2半導体層」の一例である。このコンタクト層5とp側クラッド層4の凸部とによって、約1.5μmの幅を有するとともに、共振器方向に延びるストライプ状(細長状)のリッジ部6が構成されている。また、p側クラッド層4の平坦部4aおよび4bの上面と、リッジ部6の側面上とには、約200nmの厚みを有するSiO2膜からなる電流ブロック層7が形成されている。また、リッジ部6を構成するコンタクト層5上には、p側オーミック電極8が形成されている。このp側オーミック電極8は、コンタクト層5側から順に、約1nmの厚みを有するPt層(図示せず)、約100nmの厚みを有するPd層(図示せず)および約100nmの厚みを有するAu層(図示せず)によって構成されている。
As shown in FIG. 1, a
また、n型GaN基板1の裏面上の所定領域には、n側オーミック電極9が形成されている。このn側オーミック電極9は、n型GaN基板1側から順に、約6nmの厚みを有するAl層(図示せず)、約10nmの厚みを有するPd層(図示せず)および約300nmの厚みを有するAu層(図示せず)によって構成されている。
An n-
そして、第1実施形態による窒化物系半導体レーザ素子では、活性層3で生成された光が共振器端面10aおよび10bで反射することによりレーザ発振する。
In the nitride-based semiconductor laser device according to the first embodiment, the laser generated by the light generated by the
図4は、光出射側の共振器端面近傍の領域の共振器方向の長さを5段階(0μm、約3μm、約10μm、約50μmおよび約200μm)に変化させた場合のレーザ光の水平方向の広がり角を示したグラフである。次に、図4を参照して、第1実施形態の窒化物系半導体レーザ素子の構成において、領域A1(光出射側の共振器端面近傍の領域)の共振器方向の長さを変化させてレーザ光の水平方向の広がり角θ2を測定した結果について説明する。 FIG. 4 shows the horizontal direction of laser light when the length in the cavity direction of the region near the cavity facet on the light emitting side is changed in five steps (0 μm, about 3 μm, about 10 μm, about 50 μm and about 200 μm). It is the graph which showed the spreading angle of. Next, referring to FIG. 4, in the configuration of the nitride-based semiconductor laser device of the first embodiment, the length of the region A1 (region near the resonator end face on the light emitting side) in the resonator direction is changed. The result of measuring the horizontal spread angle θ2 of the laser light will be described.
図4に示すように、領域A1の共振器方向の長さが約3μm以上の場合には、レーザ光の水平方向の広がり角θ2が約8°以上と大きくなることが判明した。具体的には、領域A1の共振器方向の長さが約3μm、約10μm、約50μmおよび約200μmの場合のレーザ光の水平方向の広がり角θ2は、それぞれ、約8°、約10°、約11.3°および約11.5°であった。その一方、領域A1の共振器方向の長さが0μmの場合には、レーザ光の水平方向の広がり角θ2が約6°と小さくなることが判明した。領域A1の共振器方向の長さが0μmの場合にレーザ光の水平方向の広がり角θ2が小さくなったのは、領域A1に位置する平坦部4aの共振器方向の長さが0になることに起因して、領域A1における水平方向の光閉じ込めが不十分になったためであると考えられる。このため、レーザ光の水平方向の広がり角θ2を約8°以上に大きくするためには、領域A1の共振器方向の長さを約3μm以上に設定するのが好ましいと考えられる。なお、領域A1に位置する平坦部4aの共振器方向の長さが小さい場合には、劈開法を用いて素子を各チップに分離する際に、素子が素子の中心領域を含む領域B1から分離される場合があるので、この点でも、領域A1の共振器方向の長さを約3μm以上に設定するのが好ましいと考えられる。
As shown in FIG. 4, when the length of the region A1 in the resonator direction is about 3 μm or more, the horizontal spread angle θ2 of the laser light is found to be as large as about 8 ° or more. Specifically, when the length of the region A1 in the resonator direction is about 3 μm, about 10 μm, about 50 μm, and about 200 μm, the horizontal spread angle θ2 of the laser light is about 8 °, about 10 °, respectively. They were about 11.3 ° and about 11.5 °. On the other hand, when the length of the region A1 in the resonator direction is 0 μm, the horizontal spread angle θ2 of the laser light is found to be as small as about 6 °. When the length of the region A1 in the resonator direction is 0 μm, the horizontal spread angle θ2 of the laser beam is reduced because the length of the
また、領域A1の共振器方向の長さが約50μmの場合と約200μmの場合とでは、レーザ光の水平方向の広がり角θ2がほとんど変化しないことが判明した。ここで、領域A1の共振器方向の長さを大きくし過ぎれば、領域B1の平坦部4bよりも小さい厚みを有する領域A1の平坦部4aの共振器方向の長さが大きくなることになる。この場合、p側クラッド層4の凸部をエッチングにより形成する際に、p側クラッド層4におけるエッチング量が大きくなる。これにより、p側クラッド層4に加わるエッチングダメージが大きくなるので、p側クラッド層4下に位置する活性層3に発生する結晶欠陥の量が増大する。したがって、領域A1の共振器方向の長さは、約50μm以下に設定するのが好ましいと考えられる。これらの結果から、領域A1の共振器方向の長さは、約3μm以上約50μm以下に設定するのが好ましい。
Further, it has been found that the spread angle θ2 in the horizontal direction of the laser light hardly changes when the length of the region A1 in the resonator direction is about 50 μm and about 200 μm. Here, if the length of the region A1 in the resonator direction is excessively increased, the length in the resonator direction of the
ここで、第1実施形態では、領域A1の共振器方向の長さが約10μmに設定されているので、p側クラッド層4に加わるエッチングダメージが大きくなるのを抑制しながら、レーザ光の水平方向の広がり角θ2を大きくすることができると考えられる。
Here, in the first embodiment, since the length of the region A1 in the resonator direction is set to about 10 μm, it is possible to prevent the etching damage applied to the p-side clad
次に、第1実施形態の窒化物系半導体レーザ素子の構成において、p側クラッド層4の領域B1に位置する平坦部4bの厚みtB1を5段階(約70nm、約100nm、約150nm、約250nmおよび約300nm)に変化させて発光効率およびしきい値電流を測定した結果を、以下の表1に示す。
Next, in the configuration of the nitride-based semiconductor laser device of the first embodiment, the thickness tB1 of the
その一方、p側クラッド層4の領域B1に位置する平坦部4bの厚みtB1が約70nmの場合では、しきい値電流が約35mAと低くなる一方、発光効率が約0.6W/Aと低くなることが判明した。これは、領域B1に位置するp側クラッド層4の平坦部4bの厚みtB1を小さくしすぎることに起因して、p側クラッド層4に加わるエッチングダメージが大きくなったためであると考えられる。これにより、p側クラッド層4下に位置する活性層3に発生する結晶欠陥の量が増大することにより、活性層3の結晶欠陥部分による光吸収が増大するので、発光効率が低下したと考えられる。また、p側クラッド層4の領域B1に位置する平坦部4bの厚みtB1が約300nmの場合では、発光効率が約1.3W/Aと高くなる一方、しきい値電流が約105mAと高くなることが判明した。
On the other hand, when the thickness tB1 of the
これらの結果から、p側クラッド層4の領域B1に位置する平坦部4bの厚みtB1を約100nm以上約250nm以下に設定すれば、発光効率を高くすることができ、かつ、しきい値電流を低くすることができると考えられる。
From these results, if the thickness tB1 of the
ここで、第1実施形態では、p側クラッド層4の領域B1に位置する平坦部4bの厚みtB1が約150nmに設定されているので、発光効率を高くすることができ、かつ、しきい値電流を低くすることができると考えられる。
Here, in the first embodiment, since the thickness tB1 of the
第1実施形態では、上記のように、光出射側の共振器端面10a近傍の領域A1に位置する平坦部4aの厚みtA1(約100nm)を、領域A1以外の素子の中心領域を含む領域B1に位置する平坦部4bの厚みtB1(約150nm)よりも小さくすることによって、光出射側の共振器端面10a近傍の領域A1に位置するp側クラッド層4の凸部の下端部を、素子の中心領域を含む領域B1に位置するp側クラッド層4の凸部の下端部よりも活性層3に近づけることができるので、その活性層3に近くなるように形成された領域A1の凸部の下端部により、領域A1における水平方向の光閉じ込めを強くすることができる。これにより、レーザ光の発光スポットの水平方向の広がりを小さくすることができるので、レーザ光の水平方向の広がり角θ2を大きくすることができる。その結果、レーザ光の形状を真円(垂直方向の広がり角θ1/水平方向の広がり角θ2=1)に近づけることができる。この場合、p側クラッド層4の凸部(リッジ部6)をエッチングにより形成する際に、p側クラッド層4の領域B1に位置する平坦部4bの厚みtB1(約150nm)が領域A1に位置する平坦部4aの厚みtA1(約100nm)よりも大きくなるようにエッチングするので、領域B1の平坦部4bに加わるエッチングダメージを、領域A1の平坦部4aに加わるエッチングダメージよりも小さくすることができる。これにより、領域B1において、エッチングダメージに起因して発生する平坦部4b下の活性層3の結晶欠陥の量を減少させることができる。また、領域A1の平坦部4a下に位置する活性層3においても、活性層3まではエッチングしないので、活性層3を含む部分をエッチングすることによりリッジ部6を形成する場合に比べて、エッチングダメージに起因して活性層3に発生する結晶欠陥の量を減少させることができる。その結果、活性層3の結晶欠陥部分による光吸収の増大を抑制することができるので、高い発光効率を有する窒化物系半導体レーザ素子を得ることができる。また、結晶欠陥の増殖を抑制することができるので、高い信頼性を有する高寿命の素子を得ることができる。このように、第1実施形態では、高い発光効率を有し、かつ、真円形状に近いレーザ光の形状を得ることが可能な窒化物系半導体レーザ素子を得ることができる。
In the first embodiment, as described above, the thickness tA1 (about 100 nm) of the
また、第1実施形態では、光出射側の共振器端面10a近傍の領域A1に位置する平坦部4aの共振器方向の長さを、約10μmに設定することによって、領域A1に位置する平坦部4aの共振器方向の長さが小さくなり過ぎることに起因して、領域A1における水平方向の光閉じ込めが不十分になるのを抑制することができる。さらに、劈開法を用いて素子を各チップに分離する際に、領域A1に位置する平坦部4aの共振器方向の長さが小さくなり過ぎることに起因して、素子が素子の中心領域を含む領域B1において分離される素子作製不良を抑制することができる。また、領域B1よりもエッチングダメージが大きい領域A1に位置する平坦部4aの共振器方向の長さが大きくなり過ぎることに起因して、活性層3に導入される結晶欠陥が多くなるのを抑制することができる。
Further, in the first embodiment, the flat portion located in the region A1 is set by setting the length in the resonator direction of the
また、第1実施形態では、p側クラッド層4の領域B1に位置する平坦部4bの厚みtB1を、約150nmに設定することによって、領域B1に位置する平坦部4bの厚みtB1を小さくし過ぎることに起因して、平坦部4bに加わるエッチングダメージが大きくなるのを抑制することができるので、平坦部4b下に位置する活性層3に発生する結晶欠陥の量を減少させることができる。これにより、活性層3の結晶欠陥部分による光吸収の増大をより減少させることができるので、発光効率をより向上させることができる。また、領域B1に位置する平坦部4bの厚みtB1を大きくし過ぎることに起因して、しきい値電流が増大するのを抑制することができるので、消費電力が増大するのを抑制することができる。
In the first embodiment, the thickness tB1 of the
図5〜図11は、図1に示した第1実施形態による窒化物系半導体レーザ素子の製造プロセスを説明するための斜視図である。次に、図1および図5〜図11を参照して、第1実施形態による窒化物系半導体レーザ素子の製造プロセスについて説明する。 5 to 11 are perspective views for explaining a manufacturing process of the nitride-based semiconductor laser device according to the first embodiment shown in FIG. A manufacturing process for the nitride-based semiconductor laser device according to the first embodiment is now described with reference to FIGS.
まず、図5に示すように、MOCVD(Metal Organic Chemical Vapor Deposition)法を用いて、n型GaN基板1上に、約1.5μmの厚みを有するn型AlGaNからなるn側クラッド層2および活性層3を順次成長させる。なお、活性層3を成長させる際には、まず、約3nmの厚みを有するアンドープのInGaNからなる3つの井戸層(図示せず)と、約20nmの厚みを有するアンドープのInGaNからなる3つの障壁層(図示せず)とを交互に成長させることにより、MQW構造の多層膜を形成する。これにより、3つの井戸層および3つの障壁層からなるMQW構造を有する多層膜より構成される活性層3が形成される。次に、活性層3上に、約75nmの厚みを有するアンドープのInGaNからなる光ガイド層(図示せず)、約20nmの厚みを有するアンドープのAlGaNからなるキャップ層(図示せず)および約500nmの厚みを有するMgがドープされたp型AlGaN層(図示せず)を順次成長させる。これにより、光ガイド層、キャップ層およびp型AlGaN層より構成されるp側クラッド層4が形成される。この後、p側クラッド層4上に、約3nmの厚みを有するアンドープのInGaNからなるコンタクト層5を成長させる。
First, as shown in FIG. 5, an n-
この後、真空蒸着法などを用いて、コンタクト層5上に、約1nmの厚みを有するPt層(図示せず)、約100nmの厚みを有するPd層(図示せず)および約100nmの厚みを有するAu層(図示せず)を順次形成する。これにより、Pt層、Pd層およびAu層によって構成されるp側オーミック電極8が形成される。
Thereafter, a Pt layer (not shown) having a thickness of about 1 nm, a Pd layer (not shown) having a thickness of about 100 nm, and a thickness of about 100 nm are formed on the
次に、図6に示すように、p側オーミック電極8上のリッジ部6(図1参照)の形成領域に、レジスト11を形成する。
Next, as shown in FIG. 6, a resist 11 is formed in the formation region of the ridge portion 6 (see FIG. 1) on the p-
次に、図7に示すように、CF4系ガスによるRIE(Reactive Ion Etching)法を用いて、レジスト11をマスクとして、p側オーミック電極8の所定領域を除去する。続いて、Cl2系ガスによるRIE法を用いて、レジスト11をマスクとして、コンタクト層5の上面からp側クラッド層4の途中の深さ(p側クラッド層4の上面から約350nmの深さ)までの所定領域を除去する。この後、レジスト11を除去する。
Next, as shown in FIG. 7, a predetermined region of the p-
次に、図8に示すように、素子の中心領域を含む領域B1に位置するp側クラッド層4、コンタクト層5およびp側オーミック電極8のみを覆うように、レジスト12を形成する。
Next, as shown in FIG. 8, a resist 12 is formed so as to cover only the p-
次に、図9に示すように、Cl2系ガスによるRIE法を用いて、レジスト12および領域A1に位置するp側オーミック電極8をマスクとして、p側クラッド層4の平坦部4bの上面から約50nmの深さまでの所定領域を除去する。これにより、p側クラッド層4の凸部以外の平坦部4aおよび4bは、光出射側の共振器端面10a(図1参照)近傍の領域A1と、領域A1以外の素子の中心領域を含む領域B1とで異なる厚みとなる。具体的には、領域A1では、p側クラッド層4の平坦部4aの厚みtA1が約100nmとなり、凸部の平坦部4aの上面からの高さが約400nmとなる。その一方、領域B1では、p側クラッド層4の平坦部4bの厚みtB1が約150nmとなり、凸部の平坦部4bの上面からの高さが約350nmとなる。これにより、p側クラッド層4の凸部とコンタクト層5とによって構成されるリッジ部6が形成される。この後、レジスト12を除去することによって、図10に示す状態にする。
Next, as shown in FIG. 9, from the upper surface of the
次に、図11に示すように、プラズマCVD法を用いて、全面を覆うように、約200nmの厚みを有するSiO2膜(図示せず)を形成した後、p側オーミック電極8の上面および側面上に位置するSiO2膜を除去することによって、SiO2膜からなる電流ブロック層7を形成する。
Next, as shown in FIG. 11, an SiO 2 film (not shown) having a thickness of about 200 nm is formed by plasma CVD so as to cover the entire surface, and then the upper surface of the p-
最後に、図1に示したように、真空蒸着法などを用いて、n型GaN基板1の裏面上の所定領域に、約6nmの厚みを有するAl層(図示せず)、約10nmの厚みを有するPd層(図示せず)および約300nmの厚みを有するAu層(図示せず)を順次形成する。これにより、Al層、Pd層およびAu層によって構成されるn側オーミック電極9が形成される。このようにして、第1実施形態による窒化物系半導体レーザ素子が形成される。
Finally, as shown in FIG. 1, an Al layer (not shown) having a thickness of about 6 nm and a thickness of about 10 nm are formed in a predetermined region on the back surface of the n-
次に、上記の製造プロセスに沿って実際に作製した第1実施形態による窒化物系半導体レーザ素子について、レーザ光の広がり角および発光効率を調べた結果について説明する。この第1実施形態では、レーザ光の垂直方向の広がり角θ1および水平方向の広がり角θ2が、それぞれ、約18°および約10°になることが判明した。すなわち、θ1/θ2=約1.8となり、レーザ光の形状が真円(θ1/θ2=1)に近づくことが確認できた。また、発光効率が約1.5W/Aとなり、高い発光効率を得られることが確認できた。 Next, the results of examining the laser beam divergence angle and the light emission efficiency of the nitride-based semiconductor laser device according to the first embodiment actually manufactured according to the above manufacturing process will be described. In the first embodiment, it has been found that the spread angle θ1 in the vertical direction and the spread angle θ2 in the horizontal direction of the laser light are about 18 ° and about 10 °, respectively. That is, θ1 / θ2 = about 1.8, and it was confirmed that the shape of the laser beam was close to a perfect circle (θ1 / θ2 = 1). In addition, the luminous efficiency was about 1.5 W / A, and it was confirmed that high luminous efficiency could be obtained.
(第2実施形態)
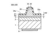
図12は、本発明の第2実施形態による窒化物系半導体レーザ素子の構造を示した斜視図である。図13および図14は、それぞれ、図12の300−300線および400−400線に沿った断面図である。図12〜図14を参照して、この第2実施形態では、上記第1実施形態と異なり、p側オーミック電極に接触するように、光出射側の共振器端面近傍の領域以外の素子の中心領域を含む領域にp側パッド電極を形成し、かつ、p側オーミック電極の厚みを第1実施形態よりも小さくすることにより、p側オーミック電極のシート抵抗値を約10Ω/□にする場合について説明する。なお、第2実施形態による窒化物系半導体レーザ素子は、上記第1実施形態と同様、約300μmの幅Wと、約600μmの共振器の長さLとを有する。
(Second Embodiment)
FIG. 12 is a perspective view showing the structure of a nitride-based semiconductor laser device according to the second embodiment of the present invention. 13 and 14 are sectional views taken along lines 300-300 and 400-400 in FIG. 12, respectively. 12 to 14, in the second embodiment, unlike the first embodiment, the center of the element other than the region in the vicinity of the resonator end face on the light emitting side so as to contact the p-side ohmic electrode. A case where the sheet resistance value of the p-side ohmic electrode is about 10Ω / □ by forming the p-side pad electrode in the region including the region and making the thickness of the p-side ohmic electrode smaller than that of the first embodiment. explain. The nitride-based semiconductor laser device according to the second embodiment has a width W of about 300 μm and a resonator length L of about 600 μm, as in the first embodiment.
この第2実施形態による窒化物系半導体レーザ素子では、図12に示すように、n型GaN基板1上に、上記第1実施形態と同様の組成および厚みを有するn側クラッド層2および活性層3が順次形成されている。活性層3上には、上記第1実施形態のp側クラッド層4と同様の組成を有するp側クラッド層24が形成されている。このp側クラッド層24は、約1.5μmの幅を有するとともに、共振器方向に延びるストライプ状(細長状)の凸部を有する。なお、p側クラッド層24は、本発明の「第2半導体層」の一例である。
In the nitride-based semiconductor laser device according to the second embodiment, as shown in FIG. 12, an n-
ここで、第2実施形態では、p側クラッド層24の凸部以外の平坦部24aおよび24bは、光出射側の共振器端面20a近傍の領域A2と、領域A2以外の素子の中心領域を含む領域B2とで異なる厚みを有する。具体的には、領域A2では、図13に示すように、p側クラッド層24の平坦部24aの厚みtA2は、約60nmであり、凸部の平坦部24aの上面からの高さは、約440nmである。また、領域B2では、図14に示すように、p側クラッド層24の平坦部24bの厚みtB2は、約150nmであり、凸部の平坦部24bの上面からの高さは、約350nmである。すなわち、領域A2の平坦部24aの厚みtA2(約60nm)は、領域B2の平坦部24bの厚みtB2(約150nm)よりも小さい。なお、領域A2およびB2は、それぞれ、本発明の「第1領域」および「第2領域」の一例であり、平坦部24aおよび24bは、それぞれ、本発明の「第1平坦部」および「第2平坦部」の一例である。また、領域A2の共振器方向の長さは、約10μmであり、領域B2の共振器方向の長さは、約590μmである。
Here, in the second embodiment, the
また、図12に示すように、p側クラッド層24の凸部上には、上記第1実施形態のコンタクト層5と同様の組成および厚みを有するコンタクト層25が形成されている。なお、コンタクト層25は、本発明の「第2半導体層」の一例である。このコンタクト層25とp側クラッド層24の凸部とによって、約1.5μmの幅を有するとともに、共振器方向に延びるストライプ状(細長状)のリッジ部26が構成されている。また、p側クラッド層24の平坦部24aおよび24bの上面と、リッジ部26の側面上とには、上記第1実施形態の電流ブロック層7と同様の組成および厚みを有する電流ブロック層27が形成されている。
As shown in FIG. 12, a
ここで、第2実施形態では、リッジ部26を構成するコンタクト層25上に、約10Ω/□のシート抵抗値を有するように厚みが設定されたp側オーミック電極28が形成されている。このp側オーミック電極28は、コンタクト層25側から順に、約1nmの厚みを有するPt層(図示せず)および約10nmの厚みを有するPd層によって構成されている。なお、p側オーミック電極28は、本発明の「第1電極層」の一例である。また、第2実施形態では、p側オーミック電極28に接触するように、光出射側の共振器端面20a近傍の領域A2以外の素子の中心領域を含む領域B2にp側パッド電極30が形成されている。具体的には、p側パッド電極30の光出射側の端部30aは、光出射側の共振器端面20a近傍の領域A2から約10μmの間隔L2を隔てて配置されている。なお、p側パッド電極30は、p側オーミック電極28側から順に、約100nmの厚みを有するTi層(図示せず)、約200nmの厚みを有するPd層(図示せず)および約3μmの厚みを有するAu層(図示せず)によって構成されている。なお、p側パッド電極30は、本発明の「第2電極層」の一例である。
Here, in the second embodiment, the p-
また、n型GaN基板1の裏面上の所定領域には、上記第1実施形態と同様の組成および厚みを有するn側オーミック電極9が形成されている。
Further, an n-
そして、第2実施形態による窒化物系半導体レーザ素子では、活性層3で生成された光が共振器端面20aおよび20bで反射することによりレーザ発振する。
In the nitride-based semiconductor laser device according to the second embodiment, the light generated by the
次に、第2実施形態の窒化物系半導体レーザ素子の構成において、p側オーミック電極28のシート抵抗値を3段階(約10Ω/□、約1Ω/□および約0.1Ω/□)に変化させてMTTF(Mean Time To Failure:平均故障時間)を測定した結果を、以下の表2に示す。
Next, in the configuration of the nitride-based semiconductor laser device of the second embodiment, the sheet resistance value of the p-
第2実施形態では、上記のように、光出射側の共振器端面20a近傍の領域A2に位置する平坦部24aの厚みtA2(約60nm)を、領域A2以外の素子の中心領域を含む領域B2に位置する平坦部24bの厚みtB2(約150nm)よりも小さくすることによって、上記第1実施形態と同様、光出射側の共振器端面20a近傍の領域A2における水平方向の光閉じ込めを強くすることができる。これにより、レーザ光の発光スポットの水平方向の広がりを小さくすることができるので、レーザ光の水平方向の広がり角θ2を大きくすることができる。その結果、上記第1実施形態と同様、レーザ光の形状を真円に近づけることができる。この場合、p側クラッド層24の凸部(リッジ部26)をエッチングにより形成する際に、p側クラッド層24の領域B2に位置する平坦部24bの厚みtB2(約150nm)が領域A2に位置する平坦部24aの厚みtA2(約60nm)よりも大きくなるようにエッチングするとともに、活性層3を含む部分をエッチングしないので、上記第1実施形態と同様、活性層3の結晶欠陥の量を減少させることができる。その結果、上記第1実施形態と同様、活性層3の結晶欠陥部分による光吸収の増大を抑制することができるので、高い発光効率を有する窒化物系半導体レーザ素子を得ることができる。このように、第2実施形態では、上記第1実施形態と同様、高い発光効率を有し、かつ、真円形状に近いレーザ光の形状を得ることが可能な窒化物系半導体レーザ素子を得ることができる。
In the second embodiment, as described above, the thickness tA2 (about 60 nm) of the
また、第2実施形態では、p側オーミック電極28に接触するように、光出射側の共振器端面20a近傍の領域A2以外の素子の中心領域を含む領域B2にp側パッド電極30を形成することによって、p側オーミック電極28の光出射側の共振器端面20a近傍の領域A2にのみ、p側パッド電極30から電流を注入することができる。また、p側オーミック電極28のシート抵抗値を約10Ω/□に設定することによって、p側パッド電極30から電流を注入する場合に、p側オーミック電極28において共振器方向(水平方向)に電流が流れにくくなるので、光出射側の共振器端面20a近傍の領域A2を流れる電流の電流密度を、領域A2以外の素子の中心領域を含む領域B2を流れる電流の電流密度よりも小さくすることができる。これにより、領域A2に位置する活性層3の結晶欠陥が、領域B2に位置する活性層3の結晶欠陥よりも多くなったとしても、領域A2に位置する活性層3の結晶欠陥部分に流れる電流を減少させることができる。その結果、活性層3の結晶欠陥部分に多くの電流が流れることに起因して結晶欠陥が増大するのを抑制することができるので、素子の長寿命化を図ることができる。また、p側パッド電極30の光出射側の端部30aを、光出射側の共振器端面20a近傍の領域A2から約10μmの間隔L2を隔てて配置することによって、容易に、光出射側の共振器端面20a近傍の領域A2を流れる電流の電流密度を、領域A2以外の素子の中心領域を含む領域B2を流れる電流の電流密度よりもより小さくすることができる。具体的には、約10μmの長さを有するp側オーミック電極28の抵抗値は、約70Ωであり、素子の直列抵抗値(約15Ω)よりも大きくなる。このため、p側パッド電極30の端部30aと領域A2との間に位置するp側オーミック電極28において、p側パッド電極30の端部30aから領域Aに向かって電流を流れにくくすることができる。
In the second embodiment, the p-
また、第2実施形態の光出射側の共振器端面20a近傍の領域A2において、p側クラッド層24は、p型AlGaN層が全てエッチングされているとともに、光ガイド層も途中の深さまでがエッチングされている。このようにエッチング深さが大きくなったとしても、エッチング深さが活性層3にまで達していなければ、上記した効果を得ることができる。
Further, in the region A2 in the vicinity of the
なお、第2実施形態のその他の効果は、上記第1実施形態と同様である。 The remaining effects of the second embodiment are similar to those of the aforementioned first embodiment.
次に、図12を参照して、第2実施形態の製造プロセスとしては、まず、図5〜図11に示した第1実施形態と同様のプロセスを用いて、電流ブロック層27までを形成する。ただし、p側オーミック電極28を形成する際には、コンタクト層25側から順に、約1nmの厚みを有するPt層(図示せず)および約10nmの厚みを有するPd層を順次形成する。この後、真空蒸着法などを用いて、p側オーミック電極28に接触するように、素子の中心領域を含む領域B2にp側パッド電極30を形成する。具体的には、p側パッド電極30の光出射側の端部30aが、光出射側の共振器端面20a近傍の領域A2から約10μmの間隔L2を隔てて配置されるように、p側パッド電極30を形成する。なお、p側パッド電極30を形成する際には、p側オーミック電極28側から順に、約100nmの厚みを有するTi層(図示せず)、約200nmの厚みを有するPd層(図示せず)および約3μmの厚みを有するAu層(図示せず)を順次形成する。
Next, referring to FIG. 12, as the manufacturing process of the second embodiment, first, the
最後に、真空蒸着法などを用いて、n型GaN基板1の裏面上の所定領域に、上記第1実施形態と同様の組成および厚みを有するn側オーミック電極9を形成する。このようにして、第2実施形態による窒化物系半導体レーザ素子が形成される。
Finally, an n-
次に、上記の製造プロセスに沿って実際に作製した第2実施形態による窒化物系半導体レーザ素子について、レーザ光の広がり角および発光効率を調べた結果について説明する。この第2実施形態では、レーザ光の垂直方向の広がり角θ1および水平方向の広がり角θ2が、それぞれ、約18°および約13°になることが判明した。すなわち、θ1/θ2=約1.4となり、上記第1実施形態よりもレーザ光の形状が真円(θ1/θ2=1)に近づくことが確認できた。また、発光効率が約1.5W/Aとなり、上記第1実施形態と同様、高い発光効率を得られることが確認できた。 Next, the results of examining the laser beam divergence angle and the light emission efficiency of the nitride-based semiconductor laser device according to the second embodiment actually manufactured according to the above manufacturing process will be described. In the second embodiment, it has been found that the vertical spread angle θ1 and the horizontal spread angle θ2 of the laser light are about 18 ° and about 13 °, respectively. That is, θ1 / θ2 = about 1.4, and it was confirmed that the shape of the laser beam was closer to a perfect circle (θ1 / θ2 = 1) than in the first embodiment. In addition, the luminous efficiency was about 1.5 W / A, and it was confirmed that high luminous efficiency was obtained as in the first embodiment.
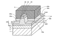
(第3実施形態)
図15は、本発明の第3実施形態による窒化物系半導体レーザ素子の構造を示した斜視図である。図16および図17は、それぞれ、図15の500−500線および600−600線に沿った断面図である。図15〜図17を参照して、この第3実施形態では、上記第1および第2実施形態と異なり、厚みの異なるp側クラッド層の平坦部のそれぞれの上面を接続するように、傾斜部を設ける場合について説明する。なお、第3実施形態による窒化物系半導体レーザ素子は、上記第1実施形態と同様、約300μmの幅Wと、約600μmの共振器の長さLとを有する。
(Third embodiment)
FIG. 15 is a perspective view showing the structure of a nitride-based semiconductor laser device according to the third embodiment of the present invention. 16 and 17 are cross-sectional views taken along lines 500-500 and 600-600 in FIG. 15, respectively. Referring to FIGS. 15 to 17, in the third embodiment, unlike the first and second embodiments, the inclined portions are connected so as to connect the upper surfaces of the flat portions of the p-side cladding layer having different thicknesses. The case of providing the will be described. The nitride-based semiconductor laser device according to the third embodiment has a width W of about 300 μm and a resonator length L of about 600 μm, as in the first embodiment.
この第3実施形態による窒化物系半導体レーザ素子では、図15に示すように、n型GaN基板1上に、上記第1実施形態と同様の組成および厚みを有するn側クラッド層2および活性層3が順次形成されている。活性層3上には、上記第1実施形態のp側クラッド層4と同様の組成を有するp側クラッド層44が形成されている。このp側クラッド層44は、約1.5μmの幅を有するとともに、共振器方向に延びるストライプ状(細長状)の凸部を有する。なお、p側クラッド層44は、本発明の「第2半導体層」の一例である。
In the nitride-based semiconductor laser device according to the third embodiment, as shown in FIG. 15, an n-
ここで、第3実施形態では、p側クラッド層44の凸部以外の平坦部44aおよび44bは、光出射側の共振器端面40a近傍の領域A3と、領域A3以外の素子の中心領域を含む領域B3とで異なる厚みを有する。具体的には、領域A3では、図16に示すように、p側クラッド層44の平坦部44aの厚みtA3は、約100nmであり、凸部の平坦部44aの上面からの高さは、約400nmである。また、領域B3では、図17に示すように、p側クラッド層44の平坦部44bの厚みtB3は、約150nmであり、凸部の平坦部44bの上面からの高さは、約350nmである。なお、領域A3およびB3は、それぞれ、本発明の「第1領域」および「第2領域」の一例であり、平坦部44aおよび44bは、それぞれ、本発明の「第1平坦部」および「第2平坦部」の一例である。また、領域A3の共振器方向の長さは、約10μmであり、領域B3の共振器方向の長さは、約590μmである。また、第3実施形態では、図15に示すように、p側クラッド層44の平坦部44aと平坦部44bとの間に、平坦部44aの上面と平坦部44bの上面とを接続するように、約60°の傾斜角度を有する傾斜部44cが設けられている。
Here, in the third embodiment, the
また、p側クラッド層44の凸部上には、上記第1実施形態のコンタクト層5と同様の組成および厚みを有するコンタクト層45が形成されている。なお、コンタクト層45は、本発明の「第2半導体層」の一例である。このコンタクト層45とp側クラッド層44の凸部とによって、約1.5μmの幅を有するとともに、共振器方向に延びるストライプ状(細長状)のリッジ部46が構成されている。また、p側クラッド層44の平坦部44aおよび44bの上面と、リッジ部46の側面上とには、上記第1実施形態の電流ブロック層7と同様の組成および厚みを有する電流ブロック層47が形成されている。また、リッジ部46を構成するコンタクト層45上には、上記第1実施形態と同様の組成および厚みを有するp側オーミック電極48が形成されている。
A
また、n型GaN基板1の裏面上の所定領域には、上記第1実施形態と同様の組成および厚みを有するn側オーミック電極9が形成されている。
Further, an n-
そして、第3実施形態による窒化物系半導体レーザ素子では、活性層3で生成された光が共振器端面40aおよび40bで反射することによりレーザ発振する。
In the nitride-based semiconductor laser device according to the third embodiment, the laser generated by the light generated by the
第3実施形態では、上記のように、光出射側の共振器端面40a近傍の領域A3に位置する平坦部44aの厚みtA3(約100nm)を、領域A3以外の素子の中心領域を含む領域B3に位置する平坦部44bの厚みtB3(約150nm)よりも小さくすることによって、上記第1実施形態と同様、光出射側の共振器端面40a近傍の領域A3における水平方向の光閉じ込めを強くすることができる。これにより、レーザ光の発光スポットの水平方向の広がりを小さくすることができるので、レーザ光の水平方向の広がり角θ2を大きくすることができる。その結果、上記第1実施形態と同様、レーザ光の形状を真円に近づけることができる。この場合、p側クラッド層44の凸部(リッジ部46)をエッチングにより形成する際に、p側クラッド層44の領域B3に位置する平坦部44bの厚みtB3(約150nm)が領域A3に位置する平坦部44aの厚みtA3(約100nm)よりも大きくなるようにエッチングするとともに、活性層3を含む部分をエッチングしないので、上記第1実施形態と同様、活性層3の結晶欠陥の量を減少させることができる。その結果、上記第1実施形態と同様、活性層3の結晶欠陥部分による光吸収の増大を抑制することができるので、高い発光効率を有する窒化物系半導体レーザ素子を得ることができる。このように、第3実施形態では、上記第1実施形態と同様、高い発光効率を有し、かつ、真円形状に近いレーザ光の形状を得ることが可能な窒化物系半導体レーザ素子を得ることができる。
In the third embodiment, as described above, the thickness tA3 (about 100 nm) of the
また、第3実施形態では、p側クラッド層44の平坦部44aと平坦部44bとの間に、平坦部44aの上面と平坦部44bの上面とを接続するように、約60°の傾斜角度を有する傾斜部44cを設けることによって、平坦部44aと平坦部44bとの間の境界面が傾斜するので、厚みの異なる平坦部44aと平坦部44bとが垂直の境界面により接続されている場合に比べて、境界面において光出射側とは反対側の共振器端面40b方向に光が反射されにくくなる。これにより、平坦部44aと平坦部44bとの間の境界面と、光出射側とは反対側の共振器端面40aとの間の不要なレーザ発振モードの発生を抑制することができる。これにより、高出力領域まで、高い発光効率を有するレーザ発振モード(光出射側の共振器端面40aと、光出射側とは反対側の共振器端面40bとの間のレーザ発振モード)を維持することができるので、発光効率をより向上させることができる。また、厚みの異なる平坦部44aと平坦部44bとが垂直の境界面により接続されている場合に比べて、平坦部44aと平坦部44bとの間の境界面の下端部(エッジ部)が滑らかになる。これにより、平坦部44aと平坦部44bとの間の境界面のエッジ部における光損失を抑制することができるので、これによっても、発光効率をより向上させることができる。
In the third embodiment, an inclination angle of about 60 ° is provided so that the upper surface of the
なお、第3実施形態のその他の効果は、上記第1実施形態と同様である。 The remaining effects of the third embodiment are similar to those of the aforementioned first embodiment.
図18〜図20は、図15に示した第3実施形態による窒化物系半導体レーザ素子の製造プロセスを説明するための斜視図である。次に、図15および図18〜図20を参照して、第3実施形態による窒化物系半導体レーザ素子の製造プロセスについて説明する。 18 to 20 are perspective views for explaining a manufacturing process of the nitride-based semiconductor laser device according to the third embodiment shown in FIG. A manufacturing process for the nitride-based semiconductor laser device according to the third embodiment is now described with reference to FIGS. 15 and 18 to 20.
まず、図18に示すように、図5〜図7に示した第1実施形態と同様のプロセスを用いて、p側オーミック電極48、コンタクト層45およびp側クラッド層44の所定領域をエッチングすることにより、p側クラッド層44の凸部までを形成する。この後、素子の中心領域を含む領域B3に位置するp側クラッド層44、コンタクト層45およびp側オーミック電極48のみを覆うように、レジスト51を形成する。この際、露光条件などを制御することによって、光出射側の共振器端面40a(図15参照)近傍の領域A3と、素子の中心領域を含む領域B3との境界に位置するレジスト51の面51aが、エッチング後の傾斜角度が約60°になるような傾斜角度を有するように、レジスト51を形成する。
First, as shown in FIG. 18, predetermined regions of the p-
次に、図19に示すように、Cl2系ガスによるRIE法を用いて、領域A3に位置するp側オーミック電極48をマスクとして、p側クラッド層44の領域A3に位置する平坦部44aの厚みtA3が約100nmになるまで、レジスト51とp側クラッド層44とを同時にエッチングする。これにより、p側クラッド層44の凸部以外の平坦部44aおよび44bは、光出射側の共振器端面40a(図15参照)近傍の領域A3と、領域A3以外の素子の中心領域を含む領域B3とで異なる厚みとなる。具体的には、領域A3では、p側クラッド層44の平坦部44aの厚みtA3が約100nmとなり、凸部の平坦部44aの上面からの高さが約400nmとなる。その一方、領域B3では、p側クラッド層44の平坦部44bの厚みtB3が約150nmとなり、凸部の平坦部44bの上面からの高さが約350nmとなる。また、p側クラッド層44の平坦部44aと平坦部44bとの間には、平坦部44aの上面と平坦部44bの上面とを接続するように、約60°の傾斜角度を有する傾斜部44cが設けられる。これにより、p側クラッド層44の凸部とコンタクト層45とによって構成されるリッジ部46が形成される。この後、レジスト51を除去することによって、図20に示す状態にする。
Next, as shown in FIG. 19, by using the RIE method using Cl 2 gas, the p-
次に、図15に示したように、図11に示した第1実施形態と同様のプロセスを用いて、p側クラッド層44の平坦部44aおよび44bの上面と、リッジ部46の側面上とに、上記第1実施形態の電流ブロック層7と同様の組成および厚みを有する電流ブロック層47を形成する。
Next, as shown in FIG. 15, using the same process as in the first embodiment shown in FIG. 11, the upper surfaces of the
最後に、真空蒸着法などを用いて、n型GaN基板1の裏面上の所定領域に、上記第1実施形態と同様の組成および厚みを有するn側オーミック電極9を形成する。このようにして、第3実施形態による窒化物系半導体レーザ素子が形成される。
Finally, an n-
(第4実施形態)
図21は、本発明の第4実施形態による窒化物系半導体レーザ素子の構造を示した斜視図である。図22は、図21の700−700線および900−900線に沿った断面図であり、図23は、図21の800−800線に沿った断面図である。図21〜図23を参照して、この第4実施形態では、上記第1〜第3実施形態と異なり、p側クラッド層において、光出射側とは反対側の共振器端面近傍の領域にも、素子の中心領域を含む領域に位置する平坦部の厚みよりも小さい厚みを有する平坦部を設ける場合について説明する。なお、第4実施形態による窒化物系半導体レーザ素子は、上記第1実施形態と同様、約300μmの幅Wと、約600μmの共振器の長さLとを有する。
(Fourth embodiment)
FIG. 21 is a perspective view showing the structure of a nitride-based semiconductor laser device according to the fourth embodiment of the present invention. 22 is a cross-sectional view taken along line 700-700 and 900-900 in FIG. 21, and FIG. 23 is a cross-sectional view taken along line 800-800 in FIG. Referring to FIGS. 21 to 23, in the fourth embodiment, unlike the first to third embodiments, the p-side cladding layer also has a region near the resonator end face on the side opposite to the light emitting side. The case where a flat portion having a thickness smaller than the thickness of the flat portion located in the region including the central region of the element is provided will be described. The nitride-based semiconductor laser device according to the fourth embodiment has a width W of about 300 μm and a resonator length L of about 600 μm, as in the first embodiment.
この第4実施形態による窒化物系半導体レーザ素子では、図21に示すように、n型GaN基板1上に、上記第1実施形態と同様の組成および厚みを有するn側クラッド層2および活性層3が順次形成されている。活性層3上には、上記第1実施形態のp側クラッド層4と同様の組成を有するp側クラッド層64が形成されている。このp側クラッド層64は、約1.5μmの幅を有するとともに、共振器方向に延びるストライプ状(細長状)の凸部を有する。なお、p側クラッド層64は、本発明の「第2半導体層」の一例である。
In the nitride-based semiconductor laser device according to the fourth embodiment, as shown in FIG. 21, an n-
ここで、第4実施形態では、p側クラッド層64の凸部以外の平坦部64a、64bおよび64cは、光出射側の共振器端面60a近傍の領域A4および光出射側とは反対側の共振器端面60b近傍の領域C4と、領域A4およびC4以外の素子の中心領域を含む領域B4とで異なる厚みを有する。具体的には、領域A4およびC4では、図22に示すように、p側クラッド層64の平坦部64aおよび64cの厚みtA4は、約100nmであり、凸部の平坦部64aおよび64cの上面からの高さは、約400nmである。また、領域B4では、図23に示すように、p側クラッド層64の平坦部64bの厚みtB4は、約150nmであり、凸部の平坦部64bの上面からの高さは、約350nmである。すなわち、領域A4およびC4の平坦部64aおよび64cの厚みtA4(約100nm)は、領域B4の平坦部64bの厚みtB4(約150nm)よりも小さい。なお、領域A4、B4およびC4は、それぞれ、本発明の「第1領域」、「第2領域」および「第3領域」の一例であり、平坦部64a、64bおよび64cは、それぞれ、本発明の「第1平坦部」、「第2平坦部」および「第3平坦部」の一例である。また、領域A4およびC4の共振器方向の長さは、約10μmであり、領域B4の共振器方向の長さは、約580μmである。
Here, in the fourth embodiment, the
また、図21に示すように、p側クラッド層64の凸部上には、上記第1実施形態のコンタクト層5と同様の組成および厚みを有するコンタクト層65が形成されている。なお、コンタクト層65は、本発明の「第2半導体層」の一例である。このコンタクト層65とp側クラッド層64の凸部とによって、約1.5μmの幅を有するとともに、共振器方向に延びるストライプ状(細長状)のリッジ部66が構成されている。また、p側クラッド層64の平坦部64a、64bおよび64cの上面と、リッジ部66の側面上とには、上記第1実施形態の電流ブロック層7と同様の組成および厚みを有する電流ブロック層67が形成されている。また、リッジ部66を構成するコンタクト層65上には、上記第1実施形態と同様の組成および厚みを有するp側オーミック電極68が形成されている。
Further, as shown in FIG. 21, a
また、n型GaN基板1の裏面上の所定領域には、上記第1実施形態と同様の組成および厚みを有するn側オーミック電極9が形成されている。
Further, an n-
そして、第4実施形態による窒化物系半導体レーザ素子では、活性層3で生成された光が共振器端面60aおよび60bで反射することによりレーザ発振する。
In the nitride-based semiconductor laser device according to the fourth embodiment, the light generated by the
第4実施形態では、上記のように、光出射側の共振器端面60a近傍の領域A4に位置する平坦部64aの厚みtA4(約100nm)を、領域A4以外の素子の中心領域を含む領域B4に位置する平坦部64bの厚みtB4(約150nm)よりも小さくすることによって、上記第1実施形態と同様、光出射側の共振器端面60a近傍の領域A4における水平方向の光閉じ込めを強くすることができる。これにより、レーザ光の発光スポットの水平方向の広がりを小さくすることができるので、レーザ光の水平方向の広がり角θ2を大きくすることができる。その結果、上記第1実施形態と同様、レーザ光の形状を真円に近づけることができる。この場合、p側クラッド層64の凸部(リッジ部66)をエッチングにより形成する際に、p側クラッド層64の領域B4に位置する平坦部64bの厚みtB4(約150nm)が領域A4に位置する平坦部64aの厚みtA4(約100nm)よりも大きくなるようにエッチングするとともに、活性層3を含む部分をエッチングしないので、上記第1実施形態と同様、活性層3の結晶欠陥の量を減少させることができる。その結果、上記第1実施形態と同様、活性層3の結晶欠陥部分による光吸収の増大を抑制することができるので、高い発光効率を有する窒化物系半導体レーザ素子を得ることができる。このように、第4実施形態では、上記第1実施形態と同様、高い発光効率を有し、かつ、真円形状に近いレーザ光の形状を得ることが可能な窒化物系半導体レーザ素子を得ることができる。
In the fourth embodiment, as described above, the thickness tA4 (about 100 nm) of the
また、第4実施形態では、光出射側とは反対側の共振器端面60b近傍の領域C4にも、平坦部64bの厚みtB4(約150nm)よりも小さい厚みtA4(約100nm)を有する平坦部64cを設けることによって、光出射側とは反対側の共振器端面60bを光出射面として用いたとしても、レーザ光の形状を真円に近づけることができる。これにより、2つの共振器端面60aおよび60bのうち、どちらの共振器端面60aおよび60bを光出射面として用いたとしても、レーザ光の形状を真円に近づけることができる。これにより、素子を組み立てる際に、どちらの共振器端面60aおよび60bを光出射面に設定したとしても、真円形状に近いレーザ光の形状を得ることが可能な半導体レーザ素子を作製することができる。
In the fourth embodiment, the flat portion having a thickness tA4 (about 100 nm) smaller than the thickness tB4 (about 150 nm) of the
図24〜図26は、図21に示した第4実施形態による窒化物系半導体レーザ素子の製造プロセスを説明するための斜視図である。次に、図21および図24〜図26を参照して、第4実施形態による窒化物系半導体レーザ素子の製造プロセスについて説明する。 24 to 26 are perspective views for explaining a manufacturing process of the nitride-based semiconductor laser device according to the fourth embodiment shown in FIG. A manufacturing process for the nitride-based semiconductor laser device according to the fourth embodiment is now described with reference to FIGS.
まず、図24に示すように、図5〜図7に示した第1実施形態と同様のプロセスを用いて、p側オーミック電極68、コンタクト層65およびp側クラッド層64の所定領域をエッチングすることにより、p側クラッド層64の凸部までを形成する。この後、素子の中心領域を含む領域B4に位置するp側クラッド層64、コンタクト層65およびp側オーミック電極68のみを覆うように、レジスト71を形成する。
First, as shown in FIG. 24, predetermined regions of the p-
次に、図25に示すように、Cl2系ガスによるRIE法を用いて、レジスト71と、領域A4およびC4に位置するp側オーミック電極68とをマスクとして、p側クラッド層64の平坦部64bの上面から約50nmの深さまでの所定領域を除去する。これにより、p側クラッド層64の凸部以外の平坦部64a、64bおよび64cは、光出射側の共振器端面60a(図21参照)近傍の領域A4および光出射側とは反対側の共振器端面60b(図21参照)近傍の領域C4と、領域A4およびC4以外の素子の中心領域を含む領域B4とで異なる厚みとなる。具体的には、領域A4およびC4では、p側クラッド層64の平坦部64aおよび64cの厚みtA4が約100nmとなり、凸部の平坦部64aおよび64cの上面からの高さが約400nmとなる。その一方、領域B4では、p側クラッド層64の凸部以外の平坦部64bの厚みtB4が約150nmとなり、凸部の平坦部64bの上面からの高さが約350nmとなる。これにより、p側クラッド層64の凸部とコンタクト層65とによって構成されるリッジ部66が形成される。この後、レジスト71を除去することによって、図26に示す状態にする。
Next, as shown in FIG. 25, the flat portion of the p-
次に、図21に示したように、図11に示した第1実施形態と同様のプロセスを用いて、p側クラッド層64の平坦部64a、64bおよび64cの上面と、リッジ部66の側面上とに、上記第1実施形態の電流ブロック層7と同様の組成および厚みを有する電流ブロック層67を形成する。
Next, as shown in FIG. 21, using the same process as in the first embodiment shown in FIG. 11, the upper surfaces of the
最後に、真空蒸着法などを用いて、n型GaN基板1の裏面上の所定領域に、上記第1実施形態と同様の組成および厚みを有するn側オーミック電極9を形成する。このようにして、第4実施形態による窒化物系半導体レーザ素子が形成される。
Finally, an n-
なお、今回開示された実施形態は、すべての点で例示であって制限的なものではないと考えられるべきである。本発明の範囲は、上記した実施形態の説明ではなく特許請求の範囲によって示され、さらに特許請求の範囲と均等の意味および範囲内でのすべての変更が含まれる。 The embodiment disclosed this time should be considered as illustrative in all points and not restrictive. The scope of the present invention is shown not by the above description of the embodiments but by the scope of claims for patent, and further includes all modifications within the meaning and scope equivalent to the scope of claims for patent.
たとえば、上記第1〜第4実施形態では、窒化物系半導体からなる半導体レーザ素子に本発明を適用する場合について説明したが、本発明はこれに限らず、窒化物系半導体以外の半導体からなる半導体レーザ素子にも適用可能である。 For example, in the first to fourth embodiments, the case where the present invention is applied to a semiconductor laser element made of a nitride-based semiconductor has been described. However, the present invention is not limited to this, and is made of a semiconductor other than a nitride-based semiconductor. It can also be applied to a semiconductor laser element.
また、上記第1〜第4実施形態では、光出射側の共振器端面近傍の領域の共振器方向の長さを、約10μmに設定したが、本発明はこれに限らず、光出射側の共振器端面近傍の領域の共振器方向の長さが、約3μm以上50μm以下の範囲内であればよい。 In the first to fourth embodiments, the length in the resonator direction of the region near the resonator end face on the light emitting side is set to about 10 μm. However, the present invention is not limited to this, and the length on the light emitting side is not limited thereto. The length in the resonator direction of the region in the vicinity of the resonator end surface may be in the range of about 3 μm to 50 μm.
また、上記第1、第3および第4実施形態では、p側クラッド層の素子の中心領域を含む領域に位置する平坦部の厚みを、約150nmに設定したが、本発明はこれに限らず、p側クラッド層の素子の中心領域を含む領域に位置する平坦部の厚みを、約100nm以上約250nm以下に設定すれば、発光効率を高くすることができ、かつ、しきい値電流を低くすることができる。 In the first, third, and fourth embodiments, the thickness of the flat portion located in the region including the central region of the element of the p-side cladding layer is set to about 150 nm. However, the present invention is not limited to this. If the thickness of the flat portion located in the region including the central region of the element of the p-side cladding layer is set to about 100 nm or more and about 250 nm or less, the luminous efficiency can be increased and the threshold current can be lowered. can do.
また、上記第2実施形態では、p側パッド電極30の光出射側の端部30aを、光出射側の共振器端面20a近傍の領域A2から約10μmの間隔L2を隔てて配置したが、本発明はこれに限らず、p側パッド電極の光出射側の端部が共振器端面にまで達していなければ、p側パッド電極の光出射側の端部を光出射側の共振器端面近傍の領域に配置してもよい。
Further, in the second embodiment, the light emitting
また、上記第2実施形態では、p側オーミック電極のシート抵抗値を、約10Ω/□に設定したが、本発明はこれに限らず、p側オーミック電極のシート抵抗値を、約1Ω/□以上に設定すれば、MTTF(平均故障時間)を長くすることができる。これにより、素子の寿命を長くすることができる。 In the second embodiment, the sheet resistance value of the p-side ohmic electrode is set to about 10 Ω / □. However, the present invention is not limited to this, and the sheet resistance value of the p-side ohmic electrode is set to about 1 Ω / □. If set above, the MTTF (mean failure time) can be increased. Thereby, the lifetime of an element can be lengthened.
また、上記第3実施形態では、厚みの異なるp側クラッド層の平坦部のそれぞれの上面を接続するように、約60°の傾斜角度を有する傾斜部を設けたが、本発明はこれに限らず、約60°以外の傾斜角度を有する傾斜部によって、厚みの異なるp側クラッド層の平坦部のそれぞれの上面を接続してもよい。 Moreover, in the said 3rd Embodiment, although the inclination part which has an inclination angle of about 60 degrees was provided so that each upper surface of the flat part of the p side cladding layer from which thickness differs may be provided, this invention is not limited to this. Alternatively, the upper surfaces of the flat portions of the p-side cladding layers having different thicknesses may be connected by an inclined portion having an inclination angle other than about 60 °.
2 n側クラッド層(第1半導体層)
3 活性層
4、24、44、64 p側クラッド層(第2半導体層)
4a、24a、44a、64a 平坦部(第1平坦部)
4b、24b、44b、64b 平坦部(第2平坦部)
5、25、45 コンタクト層
28 p側オーミック電極(第1電極層)
30 p側パッド電極(第2電極層)
64c 平坦部(第3平坦部)
A1、A2、A3、A4 領域(第1領域)
B1、B2、B3、B4 領域(第2領域)
C4 領域(第3領域)
2 n-side cladding layer (first semiconductor layer)
3
4a, 24a, 44a, 64a Flat part (first flat part)
4b, 24b, 44b, 64b Flat part (second flat part)
5, 25, 45 Contact layer 28 p-side ohmic electrode (first electrode layer)
30 p-side pad electrode (second electrode layer)
64c flat part (third flat part)
A1, A2, A3, A4 area (first area)
B1, B2, B3, B4 area (second area)
C4 area (third area)
Claims (8)
前記活性層上に形成され、凸部と、前記凸部以外の平坦部とを有する第2半導体層とを備え、
前記第2半導体層の平坦部は、少なくとも光出射側の共振器端面近傍の第1領域に位置する第1平坦部と、前記第1領域以外の素子の中心領域を含む第2領域に位置する第2平坦部とを含み、
前記第2半導体層の第1平坦部の厚みは、前記第2半導体層の第2平坦部の厚みよりも小さい、半導体レーザ素子。 An active layer formed on the first semiconductor layer;
A second semiconductor layer formed on the active layer and having a convex portion and a flat portion other than the convex portion;
The flat portion of the second semiconductor layer is located in a second region including at least a first flat portion located in the first region near the resonator end face on the light emitting side and a central region of the element other than the first region. A second flat portion,
The thickness of the 1st flat part of the said 2nd semiconductor layer is a semiconductor laser element smaller than the thickness of the 2nd flat part of the said 2nd semiconductor layer.
前記第1電極層上に形成され、前記光出射側の端部が、前記光出射側の共振器端面から所定の間隔を隔てて配置された第2電極層とをさらに備える、請求項2に記載の半導体レーザ素子。 A first electrode layer formed on the second semiconductor layer and having a sheet resistance value of 1Ω / □ or more;
The second electrode layer formed on the first electrode layer, the end on the light emitting side being further spaced from the resonator end surface on the light emitting side, further comprises: The semiconductor laser device described.
Priority Applications (1)
| Application Number | Priority Date | Filing Date | Title |
|---|---|---|---|
| JP2004103267A JP4522126B2 (en) | 2004-03-31 | 2004-03-31 | Semiconductor laser element |
Applications Claiming Priority (1)
| Application Number | Priority Date | Filing Date | Title |
|---|---|---|---|
| JP2004103267A JP4522126B2 (en) | 2004-03-31 | 2004-03-31 | Semiconductor laser element |
Related Child Applications (1)
| Application Number | Title | Priority Date | Filing Date |
|---|---|---|---|
| JP2009280852A Division JP2010056583A (en) | 2009-12-10 | 2009-12-10 | Semiconductor laser element |
Publications (2)
| Publication Number | Publication Date |
|---|---|
| JP2005294322A true JP2005294322A (en) | 2005-10-20 |
| JP4522126B2 JP4522126B2 (en) | 2010-08-11 |
Family
ID=35326960
Family Applications (1)
| Application Number | Title | Priority Date | Filing Date |
|---|---|---|---|
| JP2004103267A Expired - Fee Related JP4522126B2 (en) | 2004-03-31 | 2004-03-31 | Semiconductor laser element |
Country Status (1)
| Country | Link |
|---|---|
| JP (1) | JP4522126B2 (en) |
Cited By (4)
| Publication number | Priority date | Publication date | Assignee | Title |
|---|---|---|---|---|
| JP2009158647A (en) * | 2007-12-26 | 2009-07-16 | Sharp Corp | Nitride-based semiconductor laser device and manufacturing method thereof |
| US8344413B2 (en) | 2009-05-29 | 2013-01-01 | Sharp Kabushiki Kaisha | Nitride semiconductor wafer, nitride semiconductor chip, and method of manufacture of nitride semiconductor chip |
| US8664688B2 (en) | 2009-03-27 | 2014-03-04 | Sharp Kabushiki Kaisha | Nitride semiconductor light-emitting chip, method of manufacture thereof, and semiconductor optical device |
| JP2015138894A (en) * | 2014-01-23 | 2015-07-30 | 富士通株式会社 | Optical semiconductor device and manufacturing method thereof |
Citations (7)
| Publication number | Priority date | Publication date | Assignee | Title |
|---|---|---|---|---|
| JPH02152292A (en) * | 1988-12-05 | 1990-06-12 | Sharp Corp | semiconductor laser device |
| JPH07106703A (en) * | 1993-10-07 | 1995-04-21 | Matsushita Electric Ind Co Ltd | Semiconductor laser and manufacturing method thereof |
| JPH08316564A (en) * | 1995-05-15 | 1996-11-29 | Sanyo Electric Co Ltd | Semiconductor laser device |
| WO2002101894A1 (en) * | 2001-05-31 | 2002-12-19 | Nichia Corporation | Semiconductor laser element |
| JP2002374035A (en) * | 2000-06-08 | 2002-12-26 | Nichia Chem Ind Ltd | Semiconductor laser device and method of manufacturing the same |
| JP2003031894A (en) * | 2001-07-19 | 2003-01-31 | Sony Corp | Semiconductor laser and method of manufacturing the same |
| JP2004048080A (en) * | 2000-05-17 | 2004-02-12 | Sony Corp | Manufacturing method of semiconductor laser |
-
2004
- 2004-03-31 JP JP2004103267A patent/JP4522126B2/en not_active Expired - Fee Related
Patent Citations (7)
| Publication number | Priority date | Publication date | Assignee | Title |
|---|---|---|---|---|
| JPH02152292A (en) * | 1988-12-05 | 1990-06-12 | Sharp Corp | semiconductor laser device |
| JPH07106703A (en) * | 1993-10-07 | 1995-04-21 | Matsushita Electric Ind Co Ltd | Semiconductor laser and manufacturing method thereof |
| JPH08316564A (en) * | 1995-05-15 | 1996-11-29 | Sanyo Electric Co Ltd | Semiconductor laser device |
| JP2004048080A (en) * | 2000-05-17 | 2004-02-12 | Sony Corp | Manufacturing method of semiconductor laser |
| JP2002374035A (en) * | 2000-06-08 | 2002-12-26 | Nichia Chem Ind Ltd | Semiconductor laser device and method of manufacturing the same |
| WO2002101894A1 (en) * | 2001-05-31 | 2002-12-19 | Nichia Corporation | Semiconductor laser element |
| JP2003031894A (en) * | 2001-07-19 | 2003-01-31 | Sony Corp | Semiconductor laser and method of manufacturing the same |
Cited By (4)
| Publication number | Priority date | Publication date | Assignee | Title |
|---|---|---|---|---|
| JP2009158647A (en) * | 2007-12-26 | 2009-07-16 | Sharp Corp | Nitride-based semiconductor laser device and manufacturing method thereof |
| US8664688B2 (en) | 2009-03-27 | 2014-03-04 | Sharp Kabushiki Kaisha | Nitride semiconductor light-emitting chip, method of manufacture thereof, and semiconductor optical device |
| US8344413B2 (en) | 2009-05-29 | 2013-01-01 | Sharp Kabushiki Kaisha | Nitride semiconductor wafer, nitride semiconductor chip, and method of manufacture of nitride semiconductor chip |
| JP2015138894A (en) * | 2014-01-23 | 2015-07-30 | 富士通株式会社 | Optical semiconductor device and manufacturing method thereof |
Also Published As
| Publication number | Publication date |
|---|---|
| JP4522126B2 (en) | 2010-08-11 |
Similar Documents
| Publication | Publication Date | Title |
|---|---|---|
| US8279906B2 (en) | Laser diode and method of manufacturing the same | |
| JP4805887B2 (en) | Semiconductor laser device | |
| US7301979B2 (en) | Semiconductor laser | |
| US20070274360A1 (en) | Semiconductor laser element and semiconductor laser device | |
| CN115133399B (en) | A kind of semiconductor laser and its preparation method | |
| JP4529372B2 (en) | Semiconductor laser element | |
| JP5697907B2 (en) | Nitride semiconductor laser device and manufacturing method thereof | |
| JP2011181604A (en) | Semiconductor laser element and method of manufacturing the same | |
| JP2009158647A (en) | Nitride-based semiconductor laser device and manufacturing method thereof | |
| JP2003086898A (en) | Gallium nitride based semiconductor laser | |
| JP2012099738A (en) | Nitride semiconductor laser device and method of manufacturing the same | |
| JP4522126B2 (en) | Semiconductor laser element | |
| JP2007095758A (en) | Semiconductor laser | |
| JP2010028020A (en) | Semiconductor laser element, semiconductor wafer, and method for manufacturing semiconductor laser element | |
| JP2005012178A (en) | Semiconductor laser | |
| JP2006128617A (en) | Semiconductor laser element and its manufacturing method | |
| JP2010056583A (en) | Semiconductor laser element | |
| JP2003060319A (en) | Nitride semiconductor laser | |
| JP2010123726A (en) | Semiconductor laser and manufacturing method thereof | |
| JP2000340886A (en) | Semiconductor laser element and manufacture thereof | |
| JP5079613B2 (en) | Nitride-based semiconductor laser device and manufacturing method thereof | |
| JP2006108225A (en) | Semiconductor laser | |
| JP2009076640A (en) | Semiconductor light emitting device | |
| JP4497606B2 (en) | Semiconductor laser device | |
| JP2006114605A (en) | Nitride semiconductor laser device |
Legal Events
| Date | Code | Title | Description |
|---|---|---|---|
| A621 | Written request for application examination |
Free format text: JAPANESE INTERMEDIATE CODE: A621 Effective date: 20060405 |
|
| A977 | Report on retrieval |
Free format text: JAPANESE INTERMEDIATE CODE: A971007 Effective date: 20091001 |
|
| A131 | Notification of reasons for refusal |
Free format text: JAPANESE INTERMEDIATE CODE: A131 Effective date: 20091013 |
|
| A521 | Written amendment |
Free format text: JAPANESE INTERMEDIATE CODE: A523 Effective date: 20091210 |
|
| TRDD | Decision of grant or rejection written | ||
| A01 | Written decision to grant a patent or to grant a registration (utility model) |
Free format text: JAPANESE INTERMEDIATE CODE: A01 Effective date: 20100427 |
|
| A01 | Written decision to grant a patent or to grant a registration (utility model) |
Free format text: JAPANESE INTERMEDIATE CODE: A01 |
|
| A61 | First payment of annual fees (during grant procedure) |
Free format text: JAPANESE INTERMEDIATE CODE: A61 Effective date: 20100525 |
|
| FPAY | Renewal fee payment (event date is renewal date of database) |
Free format text: PAYMENT UNTIL: 20130604 Year of fee payment: 3 |
|
| FPAY | Renewal fee payment (event date is renewal date of database) |
Free format text: PAYMENT UNTIL: 20130604 Year of fee payment: 3 |
|
| LAPS | Cancellation because of no payment of annual fees |
