JP2005293357A - ログインシステム及び方法 - Google Patents
ログインシステム及び方法 Download PDFInfo
- Publication number
- JP2005293357A JP2005293357A JP2004109111A JP2004109111A JP2005293357A JP 2005293357 A JP2005293357 A JP 2005293357A JP 2004109111 A JP2004109111 A JP 2004109111A JP 2004109111 A JP2004109111 A JP 2004109111A JP 2005293357 A JP2005293357 A JP 2005293357A
- Authority
- JP
- Japan
- Prior art keywords
- service
- right data
- user terminal
- identifier
- login
- Prior art date
- Legal status (The legal status is an assumption and is not a legal conclusion. Google has not performed a legal analysis and makes no representation as to the accuracy of the status listed.)
- Pending
Links
Images
Classifications
-
- G—PHYSICS
- G06—COMPUTING OR CALCULATING; COUNTING
- G06F—ELECTRIC DIGITAL DATA PROCESSING
- G06F21/00—Security arrangements for protecting computers, components thereof, programs or data against unauthorised activity
- G06F21/30—Authentication, i.e. establishing the identity or authorisation of security principals
- G06F21/31—User authentication
- G06F21/34—User authentication involving the use of external additional devices, e.g. dongles or smart cards
-
- G—PHYSICS
- G06—COMPUTING OR CALCULATING; COUNTING
- G06F—ELECTRIC DIGITAL DATA PROCESSING
- G06F15/00—Digital computers in general; Data processing equipment in general
Landscapes
- Engineering & Computer Science (AREA)
- Theoretical Computer Science (AREA)
- Computer Security & Cryptography (AREA)
- Computer Hardware Design (AREA)
- Physics & Mathematics (AREA)
- General Engineering & Computer Science (AREA)
- General Physics & Mathematics (AREA)
- Software Systems (AREA)
- Storage Device Security (AREA)
Abstract
【課題】 法人会員にも容易に適用でき、認証情報がコピーされても不正使用を阻止できるログインシステムを提供する。
【解決手段】 セキュア記憶媒体SDの媒体識別子SD−ID01毎にサービス権利データp11を用いてログインする構成なので、不正者がセキュア記憶媒体SDを使用しない限り、不正者が認証情報をコピーしたとしてもログインすることができない。また、セキュア記憶媒体を法人に属する各個人に配布すれば個人ユーザと同様に法人ユーザに適用することができる。
【選択図】 図1
【解決手段】 セキュア記憶媒体SDの媒体識別子SD−ID01毎にサービス権利データp11を用いてログインする構成なので、不正者がセキュア記憶媒体SDを使用しない限り、不正者が認証情報をコピーしたとしてもログインすることができない。また、セキュア記憶媒体を法人に属する各個人に配布すれば個人ユーザと同様に法人ユーザに適用することができる。
【選択図】 図1
Description
本発明は、ユーザ端末からサービス業者装置にログインするためのログインシステム及び方法に係り、特に、法人会員にも容易に適用でき、認証情報がコピーされても不正使用を阻止し得るログインシステム及び方法に関する。
近年、インターネット等に代表されるネットワーク通信の普及に伴い、サービス業者がホームページを運営し、ホームページにアクセスしてきたユーザにDB(database)検索等の各種のサービスを提供する形態が良く知られている。
このようなサービス提供の形態としては、予め会員登録をしたユーザに対し、ユーザ端末からのログイン時に会員か否かを判定するログイン処理と、ログイン処理の結果、会員と認めたユーザの操作に応じて各種のサービスを提供する形態が広く知られている。
また、このような形態は、ユーザが個人の場合に限らない。例えば会社を会員登録する法人会員の場合、全ての社員のうち、サービス提供を受ける社員の人数により、会員料金を支払う形態が知られている。
ここで、ログイン処理としては、個人毎又は法人毎のユーザID及びパスワードをユーザ端末に要求し、折り返し受信したユーザID及びパスワードと予め登録したユーザID及びパスワードとを照合し、両者の一致により、会員と認める形態が知られている。
しかしながら、以上のようなログイン処理は、次のような問題(i),(ii)が知られている。
(i)ユーザID及びパスワードは、通信途中でコピーされて不正に使用される可能性がある。
(ii)法人会員の場合、サービス提供を受ける社員の人数を公平に決めることがほとんど不可能である。人数に1人分でも誤差があれば、会社側かサービス業者側の一方が得をし、他方が損をすることになるので、ほとんどの場合、不公平な取り決めとなる。
(i)ユーザID及びパスワードは、通信途中でコピーされて不正に使用される可能性がある。
(ii)法人会員の場合、サービス提供を受ける社員の人数を公平に決めることがほとんど不可能である。人数に1人分でも誤差があれば、会社側かサービス業者側の一方が得をし、他方が損をすることになるので、ほとんどの場合、不公平な取り決めとなる。
なお、この出願の発明に関連する先行技術文献情報としては、文献公知発明ではないが、次のものがある。
特願2002−305141号明細書
以上説明したように、従来のログイン処理は、ユーザID及びパスワード等の認証情報がコピーされて不正に使用される可能性がある。また、法人会員には適用が難しい。
本発明は上記実情を考慮してなされたもので、法人会員にも容易に適用でき、認証情報がコピーされても不正使用を阻止し得るログインシステム及び方法を提供することを目的とする。
第1の発明は、媒体識別子、サービス暗号鍵、及びこのサービス暗号鍵によりサービス権利データが暗号化されてなる暗号化サービス権利データが記憶されたセキュア記憶媒体を着脱自在に保持したユーザ端末からサービス業者装置にログインするためのログインシステムであって、前記ユーザ端末としては、前記ログインの際に、前記セキュア記憶媒体から媒体識別子を読み出す手段と、読み出した媒体識別子及びログイン要求を前記サービス業者装置に送信する手段と、この送信に基づいて、前記サービス暗号鍵及び前記暗号化サービス権利データを前記セキュア記憶媒体から読み出す手段と、このサービス暗号鍵に基づいて、前記暗号化サービス権利データを復号する手段と、この復号したサービス権利データを前記サービス業者装置に送信する手段と、この送信により、前記サービス業者装置からアクセスが許可されると、前記ログインを終了する手段と、を備えており、前記サービス業者装置としては、媒体識別子毎に、サービス権利データが記憶された記憶手段と、前記ユーザ端末から受信した媒体識別子及びログイン要求に基づいて、前記記憶手段内の対応するサービス権利データを読み出す手段と、前記ユーザ端末からサービス権利データを受信すると、このサービス権利データと前記読み出したサービス権利データとを照合する照合手段と、前記照合により両者が一致すると、当該サービス権利データに基づいて、前記ユーザ端末のアクセスを許可する手段と、を備えている。
従って、第1の発明によれば、セキュア記憶媒体の媒体識別子毎にサービス権利データを用いてログインする構成なので、不正者がセキュア記憶媒体を使用しない限り、不正者が認証情報をコピーしたとしてもログインすることができない。また、セキュア記憶媒体を法人に属する各個人に配布すれば個人ユーザと同様に法人ユーザに適用することができる。すなわち、法人会員にも容易に適用でき、認証情報がコピーされても不正使用を阻止できるログインシステムを提供することができる。
第2の発明は、媒体識別子、サービス識別子に対応するサービス暗号鍵、及びこのサービス暗号鍵により最新の関数指定データが暗号化されてなる暗号化関数指定データが記憶されたセキュア記憶媒体を着脱自在に保持したユーザ端末からサービス業者装置にログインするためのログインシステムであって、前記ユーザ端末としては、前記ログインの際に、前記セキュア記憶媒体から媒体識別子を読み出す手段と、読み出した媒体識別子及びログイン要求を前記サービス業者装置に送信する手段と、この送信により、前記サービス業者装置から暗号化時限ログイン情報及びサービス識別子を受ける手段と、このサービス識別子に基づいて、サービス暗号鍵及び前記暗号化関数指定データを前記セキュア記憶媒体から読み出す手段と、このサービス暗号鍵に基づいて、前記暗号化関数指定データ及び前記暗号化時限ログイン情報を復号する手段と、この復号した関数指定データから得られる関数に対し、前記復号した時限ログイン情報を代入し、第1の関数値を算出する手段と、この第1の関数値を前記サービス業者装置に送信する手段と、この送信により、前記サービス業者装置からアクセスが許可されると、前記ログインを終了する手段と、を備えており、前記サービス業者装置としては、媒体識別子毎に、サービス識別子に対応する関数指定データが関連付けられて記憶された記憶手段と、前記ユーザ端末から媒体識別子及びログイン要求を受信すると、前記記憶手段を参照して当該媒体識別子に対応するサービス識別子及び関数指定データを読み出す手段と、この関数指定データから得られる関数に対し、前記ログイン要求を受信した時刻に関連する時限ログイン情報を代入し、第2の関数値を算出する手段と、前記時限ログイン情報を前記サービス暗号鍵により暗号化する手段と、この暗号化により得られた暗号化時限ログイン情報及び前記読み出したサービス識別子を前記ユーザ端末に返信する手段と、前記ユーザ端末から第1の関数値を受信すると、この第1の関数値と前記第2の関数値とを照合する照合手段と、前記照合により両者が一致すると、前記ユーザ端末のアクセスを許可する手段と、を備えている。
従って、第2の発明によれば、セキュア記憶媒体の媒体識別子毎に、関数指定データから算出した第1及び第2の関数値を用いてログインする構成なので、不正者がセキュア記憶媒体を使用しない限り、不正者が認証情報をコピーしたとしてもログインすることができない。また、セキュア記憶媒体を法人に属する各個人に配布すれば個人ユーザと同様に法人ユーザに適用することができる。すなわち、法人会員にも容易に適用でき、認証情報がコピーされても不正使用を阻止できるログインシステムを提供することができる。
なお、第1及び第2の発明は、各装置の集合体を「システム」として表現したが、これに限らず、各装置毎に又は各装置の集合体を「装置」、「システム」、「方法」、「コンピュータ読み取り可能な記憶媒体」又は「プログラム」と表現してもよいことはいうまでもない。
以上説明したように本発明によれば、法人会員にも容易に適用でき、認証情報がコピーされても不正使用を阻止できるログインシステム及び方法を提供できる。
以下、本発明の各実施形態について図面を参照しながら説明する。
(第1の実施形態)
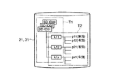
図1は本発明の第1の実施形態に係るログインシステムの構成を示す模式図であり、図2乃至図5は同システムに適用される各テーブルの構成を示す模式図である。このログインシステムは、セキュア記憶媒体SD、ユーザ端末10、ライセンスセンタ装置20及びサービス業者装置30を備えている。
図1は本発明の第1の実施形態に係るログインシステムの構成を示す模式図であり、図2乃至図5は同システムに適用される各テーブルの構成を示す模式図である。このログインシステムは、セキュア記憶媒体SD、ユーザ端末10、ライセンスセンタ装置20及びサービス業者装置30を備えている。
セキュア記憶媒体SDは、媒体固有の媒体識別子SD−ID01を有し、この媒体識別子SD−ID01に基づいて発行(暗号化)されたデータが読出/書込されるというセキュアな記憶媒体であって、例えばSDメモリカードが使用可能となっており、システム領域1、保護領域2、ユーザ領域3及び暗復号部4を備えている。
システム領域1は、正規のユーザ端末10のインターフェイス部11のみが読出可能な領域であり、媒体固有の識別情報である媒体識別子SD−ID01が記憶されている。
保護領域2は、一般のユーザがデータを直接読み出せない領域であり、サービス識別子に対応するサービス暗号鍵k11,k12,k1xが記憶されており、暗復号部4による相互認証を介して正規のユーザ端末10からアクセス可能となっている。
ユーザ領域3は、一般のユーザがデータを直接読み出し可能な領域であり、サービス暗号鍵k11,k12,k1xによりサービス権利データp11,p12,p12,px1が暗号化されてなる暗号化サービス権利データEnc(k11,p11)、Enc(k11,p12)、Enc(k12,p21)、Enc(k1x,px1)が記憶されている。なお、本明細書中、Enc(A,B)の表記は、鍵AによりデータBが暗号化されてなる暗号化Bデータを意味している。k1xの表記は、サービス暗号鍵を示すkと、SD−ID01を示す1と、サービスIDxを示すxとから構成されており、媒体識別子とサービス識別子とから一義的に決まるサービス暗号鍵を示している。同様に、px1の表記は、サービス権利データを示すpと、サービスIDxを示すxと、SD−ID01を示す1とから構成されており、媒体識別子とサービス識別子とから一義的に決まるサービス権利データを示している。ここで、サービス権利データp11は、定期的に更新される情報であり、少なくとも更新予定情報(例、更新予定日付又は有効期限など)を含んでいる。
暗復号部4は、外部装置であるユーザ端末10から保護領域2へのアクセスを制御し、且つ両者間を流れる読出/書込データをセッション鍵Ksにより暗号化するためのものである。
具体的には暗復号部4は、アクセス制御のために、ユーザ端末10と相互認証を実行してセッション鍵Ksを共有する機能と、相互認証に成功した場合にユーザ端末10から保護領域2をアクセス可能とする機能とをもっている。
具体的には暗復号部4は、アクセス制御のために、ユーザ端末10と相互認証を実行してセッション鍵Ksを共有する機能と、相互認証に成功した場合にユーザ端末10から保護領域2をアクセス可能とする機能とをもっている。
以上のようなセキュア記憶媒体SDは、特定サービス業者専用又は複数サービス業者共通用のいずれとしてもよい。例えば複数サービス業者共通用の場合、複数のサービス業者に対応するサービス暗号鍵k11,k21,…を保護領域2に保存すれば良い。
ユーザ端末10は、通常のパーソナルコンピュータ機能を有するものであり、ここでは特に、予めユーザ端末10のコンピュータにインストールされたログイン用ソフトウェアと、このソフトウェアで動作する図示しないCPUの一機能及び処理結果の一時保存用のメモリ等とからなり、インターフェイス部11、初期化部12、ログイン部13及びサービス利用部14を備えている。
インターフェイス部11は、セキュア記憶媒体SDと各部12,13との間のインターフェイス機器であり、例えばカードリーダライタが使用可能となっている。なお、説明の簡単化のため、以下の説明では、セキュア記憶媒体SDと各部12,13との間の通信にインターフェイス部11が介在する旨は記載を省略する。
初期化部12は、セキュア記憶媒体SDの初期化処理を実行するためのものであり、例えば後述する図6に示すように、セキュア記憶媒体SDから媒体識別子SD−ID01を読み出す機能と、この媒体識別子SD−ID01をライセンスセンタ装置20に送信する機能と、ライセンスセンタ装置20とセキュア記憶媒体SDとの間に介在して両者間を通信可能とする機能とからなる。
ログイン部13は、初期化部12による初期化処理の完了後、権利データ配信処理やログイン処理を実行するためのものであり、例えば権利データ配信処理の場合、後述する図10又は図11に示すように、セキュア記憶媒体SDから媒体識別子SD−ID01を読み出すと共に、この媒体識別子SD−ID01をライセンスセンタ装置20又はサービス業者装置30に送信する機能と、返信された暗号化サービス権利データEnc(k11,p11)をセキュア記憶媒体SDのユーザデータ領域3に書込む機能とをもっている。
また、ログイン処理の場合、後述する図14に示すように、セキュア記憶媒体SDから媒体識別子SD−ID01を読み出すと共に、この媒体識別子SD−ID01及びログイン要求をサービス業者装置30に送信する機能と、返信されたサービス識別子ID1をセキュア記憶媒体SDに入力すると共に、セキュア記憶媒体SDとの間でセッション鍵Ksを共有する機能と、これら暗号化サービス暗号鍵及び暗号化サービス権利データをセキュア記憶媒体SDから読み出すと、暗号化サービス暗号鍵Enc(Ks,k11)をセッション鍵Ksにより復号する機能と、復号したサービス暗号鍵k11に基づいて、暗号化サービス権利データEnc(k11,p11)を復号し、得られたサービス権利データp11をサービス業者装置30に送信する機能と、返信により、アクセス許可又はアクセス拒否の通知を受けると、ログインを終了する機能と、アクセス許可の場合、サービス利用部34を起動する機能とを備えている。
サービス利用部14は、ログイン部13によるログイン処理の完了後、サービス業者装置30から提供されるサービスを利用するためのものである。
ライセンスセンタ装置20は、記憶装置21及びライセンス管理部22を備えている。
記憶装置21は、サービスDBテーブルT1及び権利DBテーブルT2がライセンス管理部22から読出/書込可能に記憶されるものである。
サービスDBテーブルT1は、図2に示すように、媒体識別子SD−ID1,2…毎に、サービス識別子IDに対応するサービス暗号鍵k11,k12,…が互いに関連付けられて記憶されている。なお、「kux」の表記は、サービス暗号鍵を示すkと、SD−IDuを示すuと、サービスIDxを示すxとから構成されており、媒体識別子とサービス識別子とから一義的に決まるサービス暗号鍵を示している。
権利DBテーブルT2は、図3に示すように、サービス暗号鍵k11,k12,…、及び定期的に更新されるサービス権利データp11,p21,…が互いに関連付けられて記憶されている。ここで、次の期間のサービス権利データp12,p22,…は、現在使用中のサービス権利データp11,p21,…の有効期限が切れる前に、ライセンスセンタ装置20又はサービス業者装置30から配信される。また、サービス権利データp11,…は、例えば期間限定サービスに関するもののように、定期的に更新されない場合もある。
なお、両テーブルT1,T2は、1つのテーブルとして機能することも可能であり、図4に示すように、媒体識別子SD−ID毎に、サービス識別子IDに対応するサービス暗号鍵k11,k12,…、及びサービス権利データp11,p21…が互いに関連付けられて記憶される。
ライセンス管理部22は、少なくとも初期化処理を実行し、必要によりサービス権利データの配信処理を実行するものである。初期化処理に関しては、例えば、ユーザ端末10から受信した媒体識別子SD−ID01毎に、サービス識別子に対応してサービス暗号鍵k11を生成し、記憶装置21に書込む機能と、媒体識別子SD−ID01及びサービス暗号鍵k11をサービス業者装置30に配信する機能と、セキュアな通信によりサービス暗号鍵k11をユーザ端末10に配信する機能とを備えている。
サービス業者装置30は、記憶装置31、サービス管理部32、アクセス制御部33及びサービス提供部34を備えている。
記憶装置31は、サービスDBテーブルT1、権利DBテーブルT2及び暗証番号テーブルT3がサービス管理部32及びアクセス制御部33から読出/書込可能に記憶されるものである。
サービスDBテーブルT1及び権利DBテーブルT2は、前述同様のものである。
暗証番号テーブルT3は、図5に示すように、媒体識別子SD−ID毎に、ユーザID及び暗証番号が記憶されたものである。この暗証番号テーブルT3は、例えばセキュア記憶媒体SDを紛失した場合でも、通常のパスワード認証を行なうことにより、セキュア記憶媒体SDの不正使用を阻止するためのものである。但し、暗証番号テーブルT3を省略しても、定期的にサービス権利データp11,…を更新するので、砂丘唖記憶媒体SDの紛失時の被害を最小限に留めることが可能である。
暗証番号テーブルT3は、図5に示すように、媒体識別子SD−ID毎に、ユーザID及び暗証番号が記憶されたものである。この暗証番号テーブルT3は、例えばセキュア記憶媒体SDを紛失した場合でも、通常のパスワード認証を行なうことにより、セキュア記憶媒体SDの不正使用を阻止するためのものである。但し、暗証番号テーブルT3を省略しても、定期的にサービス権利データp11,…を更新するので、砂丘唖記憶媒体SDの紛失時の被害を最小限に留めることが可能である。
サービス管理部32は、少なくとも初期化処理を実行し、必要によりサービス権利データの配信処理を実行するものである。初期化処理の場合、後述する図6又は図8に示すように、ライセンスセンタ装置29から受けた媒体識別子SD−ID01及びサービス暗号鍵k11を互いに関連付けて記憶装置31内のサービスDBテーブルT1に保存する機能をもっている。また、サービス権利データの配信処理の場合、後述する図10又は図11に示すように、ライセンス管理装置20からサービス権利データp11及び媒体識別子SD−ID01を受けると、サービス権利データp11を記憶装置31の権利DBテーブルT2に保存する機能か、あるいは、ユーザ端末10から媒体識別子SD−ID01を受けると、記憶装置31内の暗号鍵k11によりサービス権利データp11を暗号化し、得られた暗号化サービス権利データEnc(k11,p11)をユーザ端末10に配信する機能とをもっている。
アクセス制御部33は、サービス管理部32による初期化処理又はサービス権利データ配信処理の完了後、ログイン処理を実行し、その結果に応じてユーザ端末10にアクセス制御を実行するものである。ログイン処理は、後述する図14に示すように、ユーザ端末10から媒体識別子SD−ID01及びログイン要求を受信すると、記憶装置31の各テーブルT1,T2を参照して当該媒体識別子SD−ID01に対応するサービス識別子ID1を返信する機能と、ユーザ端末10から受けたサービス権利データp11を記憶装置31内の対応する最新のサービス権利データp11と照合し、両者が一致すると、当該サービス権利データp11内の更新予定情報に基づいて、サービス権利データp11が有効か否かを判定する機能と、判定の結果が無効を示すときにはアクセス拒否をユーザ端末10に通知し、判定の結果が有効を示すときにはアクセス許可をユーザ端末10に通知する機能とをもっている。
サービス提供部34は、アクセス制御部33によるアクセス許可されたユーザ端末10に対し、所定のサービスを提供するものである。
次に、以上のように構成されたログインシステムの動作を図6〜図14のシーケンス図又は模式図を用いて説明する。
(初期化処理)
いま、携帯可能なセキュア記憶媒体SDは、操作者により、ユーザ端末10のインターフェイス部11に装着される。
続いて、ユーザ端末10では、操作者の操作により、初期化処理を実行する。具体的には図6に示すように、ユーザ端末10は、セキュア記憶媒体SDから媒体識別子SD−ID01を読み出すと共に(ST1)、この媒体識別子SD−ID01をライセンスセンタ装置20に送信する(ST2)。
いま、携帯可能なセキュア記憶媒体SDは、操作者により、ユーザ端末10のインターフェイス部11に装着される。
続いて、ユーザ端末10では、操作者の操作により、初期化処理を実行する。具体的には図6に示すように、ユーザ端末10は、セキュア記憶媒体SDから媒体識別子SD−ID01を読み出すと共に(ST1)、この媒体識別子SD−ID01をライセンスセンタ装置20に送信する(ST2)。
ライセンス管理装置20では、ライセンス管理部22により、受信した媒体識別子SD−ID01毎に、サービス識別子に対応してサービス暗号鍵k11を生成し、記憶装置21に書込む。続いて、ライセンス管理部22は、媒体識別子SD−ID01及びサービス暗号鍵k11をVPN(Virtual Private Network ; 仮想閉域網)等のセキュアな通信技術によりサービス業者装置30に配信する(ST3)。サービス業者装置30は、これら媒体識別子SD−ID01及びサービス暗号鍵k11を互いに関連付けて記憶装置31内のサービスDBテーブルT1に保存する。
続いて、ライセンス管理装置20は、サービス暗号鍵k11をSSL(Secure Sockets Layer)等のセキュアな通信技術によりユーザ端末10に配信する(ST4)。
ユーザ端末10は、配信されたサービス暗号鍵k11を、セキュア記憶媒体SDの保護領域2に暗復号部4を介して保存する(ST5)。
以上により、初期化処理が完了する。なお、初期化処理は、必要により、ユーザID及び暗証番号をサービス業者装置30の暗証番号テーブルT3に登録する処理を含めてもよい。
また、初期化処理は、図6に示した如き、ユーザが用意したセキュア記憶媒体SDを初期化する場合に限らず、図7又は図8に示すように、ライセンスセンタLが初期化したセキュア記憶媒体SDをユーザ宅Uに配送する形態としてもよい。図7はサービス業者Pを介してユーザ宅Uに配送する場合を示し、図8は直接にユーザ宅Uに配送する場合を示している。
図7に示す場合、ライセンスセンタLは、初期化後のセキュア記憶媒体SDをサービス業者Pに納品する(ST11)。また、ライセンスセンタLは、別途、媒体識別子SD−ID01及びサービス暗号鍵k11のテーブルデータをサービス業者Pに送付する。サービス業者Pは、送付されたテーブルデータから媒体識別子SD−ID01及びサービス暗号鍵k11を読み出して記憶装置31の各テーブルT1,T2に書込み、その後、セキュア記憶媒体SDをユーザ宅Uに配送する(ST12)。
また、図8に示す場合、ライセンスセンタLは、ライセンスセンタ装置20により、初期化により得られた媒体識別子SD−ID01及びサービス暗号鍵k11をサービス業者装置30に送信する(ST11a)。サービス業者装置30は、これら媒体識別子SD−ID01及びサービス暗号鍵k11を記憶装置31の各テーブルT1,T2に書込む。その後、ライセンスセンタLは、初期化後のセキュア記憶媒体SDをユーザ宅Uに配送する(ST12a)。
また、図8に示す場合、ライセンスセンタLは、ライセンスセンタ装置20により、初期化により得られた媒体識別子SD−ID01及びサービス暗号鍵k11をサービス業者装置30に送信する(ST11a)。サービス業者装置30は、これら媒体識別子SD−ID01及びサービス暗号鍵k11を記憶装置31の各テーブルT1,T2に書込む。その後、ライセンスセンタLは、初期化後のセキュア記憶媒体SDをユーザ宅Uに配送する(ST12a)。
以上の図6〜図8のいずれの形態にしても、同様に初期化処理が完了する。初期化完了時の各装置SD,20,30の状態は、図9に示す通りである。すなわち、セキュア記憶媒体SDは、製造時からシステム領域1内にある媒体識別子SD−ID01に加え、初期化処理により、保護領域2内にサービス暗号鍵k11が記憶されている。
ライセンスセンタ装置20は、セキュア記憶媒体SDの媒体識別子SD−ID01及びサービス暗号鍵k11が記憶装置21内のサービスDBテーブルT1に書込まれている。サービス業者装置30は、セキュア記憶媒体SDの媒体識別子SD−ID01及びサービス暗号鍵k11が記憶装置31内のサービスDBテーブルT1に書込まれていると共に、必要により、暗証番号テーブルT3が書込まれている。
すなわち、初期化完了時には、各装置20,30は、セキュア記憶媒体SDに関するサービス暗号鍵k11を持っているが、サービス権利データp11を持っていない。
続いて、サービス権利データの配信処理について説明する。
続いて、サービス権利データの配信処理について説明する。
(サービス権利データの配信処理)
前述同様に、セキュア記憶媒体SDは、ユーザ端末10に装着されているとする。
ユーザ端末10では、操作者の操作により、図10に示すように、セキュア記憶媒体SDから媒体識別子SD−ID01を読み出すと共に(ST21)、この媒体識別子SD−ID01をライセンスセンタ装置20に送信する(ST22)。
前述同様に、セキュア記憶媒体SDは、ユーザ端末10に装着されているとする。
ユーザ端末10では、操作者の操作により、図10に示すように、セキュア記憶媒体SDから媒体識別子SD−ID01を読み出すと共に(ST21)、この媒体識別子SD−ID01をライセンスセンタ装置20に送信する(ST22)。
ライセンス管理装置20では、ライセンス管理部22により、受信した媒体識別子SD−ID01毎に、サービス識別子に対応してサービス権利データp11を発行し(ST23)、記憶装置21に書込む。続いて、ライセンス管理部22は、媒体識別子SD−ID01及びサービス識別子に対応するサービス暗号鍵k11によりサービス権利データp11を暗号化する。
しかる後、ライセンス管理装置20は、この暗号化の前のサービス権利データp11及び媒体識別子SD−ID01をサービス業者装置30に配信する(ST24)。なお、ステップST24は、セキュリティを確保する観点からVPN又はSSL等の暗号化通信を用いてもよい。これは後述するステップST24f,ST24’でも同様である。
続いて、ライセンス管理装置20は、暗号化サービス権利データEnc(k11,p11)をユーザ端末10に配信する(ST25)。ユーザ端末10は、この暗号化サービス権利データEnc(k11,p11)をセキュア記憶媒体SDのユーザデータ領域3に書込む(ST26)。
以上により、権利データの配信処理が完了する。なお、権利データの配信処理は、図10に示した如き、ライセンスセンタ装置20がサービス権利データp11を発行する場合に限らず、図11に示すように、サービス業者装置30がサービス権利データp11を発行する形態としてもよい。
図11に示す場合、ステップST21の後、ユーザ端末10は、媒体識別子SD−ID01をサービス業者装置30に送信する(ST22a)。
サービス業者装置30では、サービス管理部32により、受信した媒体識別子SD−ID01毎に、サービス識別子に対応してサービス権利データp11を発行し(ST23a)、記憶装置31に書込む。続いて、サービス管理部32は、媒体識別子SD−ID01及びサービス識別子に対応するサービス暗号鍵k11によりサービス権利データp11を暗号化する。
しかる後、ライセンス管理装置20は、この暗号化により得られた暗号化サービス権利データEnc(k11,p11)をユーザ端末10に配信する(ST25a)。ユーザ端末10は、この暗号化サービス権利データEnc(k11,p11)をセキュア記憶媒体SDのユーザデータ領域3に書込む(ST26)。
以上の図10又は図11のいずれの形態にしても、権利データの配信処理が完了する。但し、権利データ配信後のライセンスセンタ装置20の状態は、権利データ発行側か否かに応じて図12又は図13に示す通りに分かれる。すなわち、ライセンスセンタ装置20は、サービス権利データを発行した場合には、図12に示すように、セキュア記憶媒体SDのサービス暗号鍵k11に関連してサービス権利データp11が記憶装置21内の権利DBテーブルT2に書込まれている。一方、ライセンスセンタ装置20は、サービス権利データを発行していない場合には、図13に示すように、サービス権利データp11が権利DBテーブルT2に書込まれていない。
なお、セキュア記憶媒体SD及びサービス業者装置30は、図12及び図13のいずれも同じ状態となる。すなわち、セキュア記憶媒体SDは、初期化完了状態に加え、権利データ配信処理により、ユーザデータ領域3内に暗号化サービス権利データEnc(k11,p11)が記憶されている。サービス業者装置30は、セキュア記憶媒体SDのサービス暗号鍵k11及びサービス権利データp11が記憶装置31内の権利DBテーブルT2に書込まれている。
続いて、ログイン処理について説明する。
(ログイン処理)
図14に示すように、ユーザ端末10は、操作者の操作により、ログインの際に、セキュア記憶媒体SDから媒体識別子SD−ID01を読み出すと共に(ST31)、この媒体識別子SD−ID01及びログイン要求をサービス業者装置30に送信する(ST32)。
(ログイン処理)
図14に示すように、ユーザ端末10は、操作者の操作により、ログインの際に、セキュア記憶媒体SDから媒体識別子SD−ID01を読み出すと共に(ST31)、この媒体識別子SD−ID01及びログイン要求をサービス業者装置30に送信する(ST32)。
サービス業者装置30は、媒体識別子SD−ID01及びログイン要求を受信すると、記憶装置31の各テーブルT1,T2を参照して当該媒体識別子SD−ID01に対応するサービス識別子ID1を返信する(ST33)。なお、媒体識別子SD−ID01に対応するサービス識別子IDは1個とは限らない。具体的には、同一サービス業者で複数のサービスを受ける可能性がある。例えば、英文文献検索サービスと、国内学会検索サービスと、特許公開公報検索サービスなどの複数の検索サービスを同一のサービス業者装置30から提示された際に、各検索サービスの課金体系が異なる場合がある。このような場合、ユーザ端末10は、ユーザの操作により、希望するサービスアイコンをクリックして媒体識別子SD−ID01をサービス業者装置30に送る。サービス業者装置30は、その回答として、クリックされたアイコンに応じたサービス識別子をユーザ端末10に返信すればよい。いずれにしても、ここでは、始めから1個のサービス識別子ID1を返信する場合を例に挙げて述べる。
ユーザ端末10は、このサービス識別子ID1をセキュア記憶媒体SDに入力する(ST34)。但し、サービス識別子ID1は、セキュア記憶媒体SDに入力されずにユーザ端末10のメモリに保存されていてもよい。この場合、サービス識別子ID1と、サービス暗号鍵k11とを関連付けたテーブルをセキュア記憶媒体SD内にもつ必要があるが、このテーブルは、ログインの度に書込まれるとは限らない。すなわち、テーブルがセキュア記憶媒体SD内にあれば、その後のログインでは、このテーブルの更新は不要である。但し、ここではステップ34で述べたように、STサービス識別子ID1は、セキュア記憶媒体SDに入力されるものとする。このように、サービス識別子IDがセキュア記録媒体SDに入力されてもよく、又はユーザ端末10のメモリに保存されてもよい旨は、以下の各実施形態でも同様である。
続いて、ユーザ端末10は、セキュア記憶媒体SDとの間でセッション鍵Ksを共有する(ST35)。
セキュア記憶媒体SDは、サービス識別子ID1に対応するサービス暗号鍵k11をセッション鍵Ksにより暗号化し(ST36)、暗号化サービス暗号鍵Enc(Ks,k11)を得る。しかる後、セキュア記憶媒体SDは、この暗号化サービス暗号鍵Enc(Ks,k11)及びユーザデータ領域3内の暗号化サービス権利データEnc(k11,p11)をユーザ端末10に送出する(ST37)。
セキュア記憶媒体SDは、サービス識別子ID1に対応するサービス暗号鍵k11をセッション鍵Ksにより暗号化し(ST36)、暗号化サービス暗号鍵Enc(Ks,k11)を得る。しかる後、セキュア記憶媒体SDは、この暗号化サービス暗号鍵Enc(Ks,k11)及びユーザデータ領域3内の暗号化サービス権利データEnc(k11,p11)をユーザ端末10に送出する(ST37)。
ユーザ端末10は、これら暗号化サービス暗号鍵及び暗号化サービス権利データをセキュア記憶媒体SDから読み出すと、暗号化サービス暗号鍵Enc(Ks,k11)をセッション鍵Ksにより復号する(ST38)。
続いて、ユーザ端末10は、復号したサービス暗号鍵k11に基づいて、暗号化サービス権利データEnc(k11,p11)を復号し(ST39)、得られたサービス権利データp11をサービス業者装置30に送信する(ST40)。
サービス業者装置30は、このサービス権利データp11を記憶装置31内の対応する最新のサービス権利データp11と照合し、両者が一致すると、当該サービス権利データp11内の更新予定情報に基づいて、サービス権利データp11が有効か否かを判定する(ST41)。サービス業者装置30は、判定の結果が無効を示すときにはアクセス拒否をユーザ端末10に通知し、判定の結果が有効を示すときにはアクセス許可をユーザ端末10に通知する(ST42)。
ユーザ端末10は、このアクセス許可又はアクセス拒否の通知を受けると、ログインを終了する。
以下、ユーザ端末10は、アクセス許可を受けたときには、操作者の操作により、サービス業者装置30からサービスの提供を受ける。また、ユーザ端末10は、アクセス拒否を受けたときには、操作者の操作により、ログイン処理を再試行するか、あるいはサービス業者装置30又はライセンスセンタ装置20に問合せ処理を実行すればよい。
以下、ユーザ端末10は、アクセス許可を受けたときには、操作者の操作により、サービス業者装置30からサービスの提供を受ける。また、ユーザ端末10は、アクセス拒否を受けたときには、操作者の操作により、ログイン処理を再試行するか、あるいはサービス業者装置30又はライセンスセンタ装置20に問合せ処理を実行すればよい。
上述したように本実施形態によれば、セキュア記憶媒体SDの媒体識別子SD−ID01毎にサービス権利データp11を用いてログインする構成なので、不正者がセキュア記憶媒体SDを使用しない限り、不正者が認証情報をコピーしたとしてもログインすることができない。また、セキュア記憶媒体SDを法人に属する各個人に配布すれば個人ユーザと同様に法人ユーザに適用することができる。すなわち、法人会員にも容易に適用でき、認証情報がコピーされても不正使用を阻止できるログインシステムを提供することができる。
なお、上記実施形態は、ログイン処理において、ステップST32〜ST34を省略し、ステップST40において、サービス権利データp11及び媒体識別子SD−IDをサービス業者装置30に送信する構成に変形しても、本実施形態の効果を得ることができる。この変形は以下の各実施形態でも同様に実施できる。但し、以下の各実施形態ではステップST40を、ステップST40a−5(図21,図33)又はST40f−3(図26,図34)と読み替える。
(第2の実施形態)
図15乃至図17は本発明の第2の実施形態に係るログインシステムに適用されるセキュア記憶媒体の構成又はその変形例を示す模式図であり、図18乃至図20は同システムに適用されるサービスDBテーブルの構成又はその変形例を示す模式図である。各図15〜図20は前述した図面と同一部分には同一符号を付してその詳しい説明を省略し、ここでは異なる部分に付いて主に述べる。以下の各実施形態も同様にして重複した説明を省略する。
図15乃至図17は本発明の第2の実施形態に係るログインシステムに適用されるセキュア記憶媒体の構成又はその変形例を示す模式図であり、図18乃至図20は同システムに適用されるサービスDBテーブルの構成又はその変形例を示す模式図である。各図15〜図20は前述した図面と同一部分には同一符号を付してその詳しい説明を省略し、ここでは異なる部分に付いて主に述べる。以下の各実施形態も同様にして重複した説明を省略する。
すなわち、本実施形態は、第1の実施形態の変形例であり、ログイン処理の際に、権利データp11を送信するステップST40に関し、権利データp11を暗号化して送付するための送付用鍵krをセキュア記憶媒体SD及びサービス業者装置30で共有している構成となっている。
セキュア記憶媒体SDは、図15〜図17のいずれかに示すように、次の(1)〜(3)に述べるように送付用鍵k11r,kr又はk11バー等を備えている。なお、「k11バー」は、図17中、k11の上に横線で表記したものを示している。
(1)サービス暗号鍵k11毎に、送付用鍵k11rを備える。
(2)セキュア記憶媒体SD毎に、1つの送付用鍵krを備える。
(3)サービス暗号鍵k11毎に、k11をビット反転してなる送付用鍵k11バーを備える。
(2)セキュア記憶媒体SD毎に、1つの送付用鍵krを備える。
(3)サービス暗号鍵k11毎に、k11をビット反転してなる送付用鍵k11バーを備える。
一方、サービスDBテーブルT1ra,T1rb,T1rcは、図18〜図20のいずれかに示すように、上記(1)〜(3)と同様に送付用鍵k11r,kr又はk11バー等を備えている。
これに伴い、ユーザ端末10は、前述した復号したサービス権利データp11をサービス業者装置30に送信する機能に代えて、セキュア記憶媒体SDから送付用鍵krを読み出す機能と、復号したサービス権利データp11を送付用鍵k11r,kr又はk11バー等により暗号化する機能と、得られた暗号化サービス権利データEnc(例えばkr,p11)をサービス業者装置30に送信する機能とを備えている。
サービス業者装置30は、前述した照合する機能に代えて、ユーザ端末10から受信した暗号化サービス権利データを、共有した送付用鍵k11r,kr又はk11バー等により復号する機能と、得られたサービス権利データp11を、記憶装置31内の対応する最新のサービス権利データp11と照合する照合機能とを備えている。
次に、以上のように構成されたログインシステムの動作を図21のシーケンス図を用いて説明する。なお、以下の説明は図15及び図18の送付用鍵k11rを代表例に挙げて述べる。
いま、ステップST31〜ST39までは、前述した通りに実行される。すなわち、ユーザ端末10は、ログイン要求により、サービス業者装置30からサービスIDを受けている。また、ユーザ端末10は、セッション鍵Ksをセキュア記憶媒体SDと共有しており、サービス暗号鍵k11及びサービス権利データp11を復号して入手している。
次に、セキュア記憶媒体SDは、サービス暗号鍵k11に対応する送付用鍵k11rをセッション鍵Ksにより暗号化し(ST40a−1)、得られた暗号化送付用鍵Enc(Ks,k11r)をユーザ端末10に送出する(ST40a−2)。
ユーザ端末10は、読み出した暗号化送付用鍵Enc(Ks,k11r)をセッション鍵Ksにより復号し(ST40a−3)、得られた送付用鍵k11rによりサービス権利データp11を暗号化する(ST40a−4)。
しかる後、ユーザ端末10は、この暗号化により得られた暗号化サービス権利データEnc(k11r,p11)をサービス業者装置30に送信する(ST40a−5)。
サービス業者装置30は、受信した暗号化サービス権利データを、共有した送付用鍵k11rにより復号し(ST40a−6)、得られたサービス権利データp11を、記憶装置31内の対応する最新のサービス権利データp11と照合する。
以下、前述同様に、サービス業者装置30はステップST41〜ST42を実行する。
以下、前述同様に、サービス業者装置30はステップST41〜ST42を実行する。
上述したように本実施形態によれば、第1の実施形態の効果に加え、サービス権利データp11を暗号化して送信できるので、サービス権利データのセキュリティ強度を向上させることができる。
(第3の実施形態)
図22は本発明の第3の実施形態に係るログインシステムに適用されるセキュア記憶媒体の構成を示す模式図であり、図23は同システムに適用される権利DBテーブルの構成を示す模式図である。
図22は本発明の第3の実施形態に係るログインシステムに適用されるセキュア記憶媒体の構成を示す模式図であり、図23は同システムに適用される権利DBテーブルの構成を示す模式図である。
すなわち、本実施形態は、第1の実施形態の変形例であり、前述したサービス権利データp11に代えて、ログイン時刻情報(時限ログイン情報)tの関数例えばFA(t)を指定するための関数指定データ例えばa2,a1,a0を用いた構成となっている。なお、FA(t)は、サービスID1用のパスワードを算出するための関数(パスワード関数)であり、FB(t)は、サービスID2用のパスワード関数であって、以下同様に、サービス識別子毎に同一又は異なる形式の任意のパスワード関数が使用可能である。なお、以下の説明は、パスワード関数FA(t)を代表例に挙げて述べる。
ここで、パスワード関数FA(t)は、サービス識別子毎に予め形式が定められている関数であり、ここでは、説明の便宜上、以下に示すように、次数の低い2次の多項式としている。
FA(t)=a2t2+a1t+a0
なお、変数tはログイン時刻情報(年月日時刻データ)であるが、必ずしも時刻情報に限定されず、例えば乱数でもよい。このようなパスワード関数FA(t)は、係数a2,a1及び定数a0を指定することにより、各セキュア記憶媒体SD毎とサービス識別子ID毎に一義的に求まる。すなわち、異なるセキュア記憶媒体SD,SD’が同一時刻tに同一のサービス識別子ID1のサービスにログイン処理を実行しても、異なるパスワード関数FA(t),FA’(t)を指定することになる。
なお、変数tはログイン時刻情報(年月日時刻データ)であるが、必ずしも時刻情報に限定されず、例えば乱数でもよい。このようなパスワード関数FA(t)は、係数a2,a1及び定数a0を指定することにより、各セキュア記憶媒体SD毎とサービス識別子ID毎に一義的に求まる。すなわち、異なるセキュア記憶媒体SD,SD’が同一時刻tに同一のサービス識別子ID1のサービスにログイン処理を実行しても、異なるパスワード関数FA(t),FA’(t)を指定することになる。
権利DBテーブルT2fは、前述した権利DBテーブルT2において、サービス権利データp11,p12,…として関数指定データ{a2‖a1‖a0},{b2‖b1‖b0},…が記憶されたものである。なお、「‖」の表記は連接を表している。ダッシュ記号「’」「”」は、更新後を表している。
これに伴い、ユーザ端末10及び各装置20,30は、前述したサービス権利データp11,p12,…に代えて、関数指定データ{a2‖a1‖a0},{b2‖b1‖b0},…を用いる機能を有している。
具体的には、ユーザ端末10のログイン部13は、ログイン要求の送信により、サービス業者装置30から返信された暗号化ログイン時刻Enc(k11,t0)及び読み出したサービス識別子ID1を受けると、このサービス識別子ID1をセキュア記憶媒体SDに入力すると共に、セキュア記憶媒体SDとの間でセッション鍵Ksを共有する機能と、セッション鍵Ksにより暗号化されたサービス暗号鍵Enc(Ks,k11)、及び暗号号化関数指定データEnc(k11,(a2‖a1‖a0))をセキュア記憶媒体SDから読み出す機能と、暗号化サービス暗号鍵Enc(Ks,k11)をセッション鍵Ksにより復号する機能と、復号したサービス暗号鍵k11に基づいて、暗号化関数指定データEnc(k11,(a2‖a1‖a0))を復号すると共に、暗号化ログイン時刻Enc(k11,t0)を復号する機能と、関数指定データa2‖a1‖a0から得られるパスワード関数FA(t)に対し、ログイン時刻情報t0を代入し、関数値FA(t0)(第1の関数値)を算出する機能と、関数値FA(t0)をサービス業者装置30に送信する機能とをもっている。
サービス業者装置30のアクセス制御部33は、ユーザ端末10から媒体識別子SD−ID01及びログイン要求を受信すると、記憶装置31の各テーブルT1,T2を参照して当該媒体識別子SD−ID01に対応するサービス識別子ID1及び関数指定データ{a2‖a1‖a0}を読み出す機能と、この関数指定データ{a2‖a1‖a0}から得られるパスワード関数FA(t)に対し、ログイン要求を受信した時刻に関連するログイン時刻情報t0を代入し、関数値FA(t0)(第2の関数値)を算出する機能と、ログイン時刻情報t0をサービス暗号鍵k11により暗号化し、得られた暗号化ログイン時刻Enc(k11,t0)及び読み出したサービス識別子ID1をユーザ端末10に返信する機能と、ユーザ端末10から受信した関数値FA(t0)と、ログイン要求受信時に算出した関数値FA(t0)とを照合し、両者が一致すると、受信した関数値FA(t0)を有効と判定し、アクセス許可をユーザ端末10に通知する機能とをもっている。
次に、以上のように構成されたログインシステムの動作を図24乃至図26のシーケンス図を用いて説明する。
(関数指定データ配信)
前述同様に、ユーザ端末10では、操作者の操作により、図24に示すように、セキュア記憶媒体SDから読み出した媒体識別子SD−ID01をライセンスセンタ装置20に送信する(ST21〜ST22)。
(関数指定データ配信)
前述同様に、ユーザ端末10では、操作者の操作により、図24に示すように、セキュア記憶媒体SDから読み出した媒体識別子SD−ID01をライセンスセンタ装置20に送信する(ST21〜ST22)。
ライセンス管理装置20では、ライセンス管理部22により、受信した媒体識別子SD−ID01毎に、サービス識別子に対応して関数FA(t)を指定するための関数指定データa2,a1,a0を発行し(ST23f)、記憶装置21に書込む。続いて、ライセンス管理部22は、媒体識別子SD−ID01及びサービス識別子に対応するサービス暗号鍵k11により関数指定データa2,a1,a0を暗号化する。
しかる後、ライセンス管理装置20は、この暗号化の前の関数指定データ(a2‖a1‖a0)及び媒体識別子SD−ID01をサービス業者装置30に配信する(ST24f)。
続いて、ライセンス管理装置20は、暗号化関数指定データEnc(k11,(a2‖a1‖a0))をユーザ端末10に配信する(ST25f)。ユーザ端末10は、この暗号化関数指定データEnc(k11,(a2‖a1‖a0))をセキュア記憶媒体SDのユーザデータ領域3に書込む(ST26f)。
以上により、関数指定データの配信処理が完了する。なお、関数指定データの更新処理は、上述した図24の更新前の関数指定データ(a2‖a1‖a0)に代えて、図25に示すように、更新後の関数指定データ(a2’‖a1’‖a0’)を用いればよい。
続いて、ログイン処理について説明する。
(ログイン処理)
図26に示すように、ユーザ端末10は、前述同様に、セキュア記憶媒体SDから読み出した媒体識別子SD−ID01と、ログイン要求とをサービス業者装置30に送信する(ST31〜ST32)。
(ログイン処理)
図26に示すように、ユーザ端末10は、前述同様に、セキュア記憶媒体SDから読み出した媒体識別子SD−ID01と、ログイン要求とをサービス業者装置30に送信する(ST31〜ST32)。
サービス業者装置30は、媒体識別子SD−ID01及びログイン要求を受信すると、記憶装置31の各テーブルT1,T2を参照して当該媒体識別子SD−ID01に対応するサービス識別子ID1及び関数指定データ{a2‖a1‖a0}を読み出す。
サービス業者装置30は、この関数指定データ{a2‖a1‖a0}から得られるパスワード関数FA(t)に対し、ログイン要求を受信した時刻に関連するログイン時刻情報t0を代入し、関数値FA(t0)を算出する。
しかる後、サービス業者装置30は、ログイン時刻情報t0をサービス暗号鍵k11により暗号化し、得られた暗号化ログイン時刻Enc(k11,t0)及び読み出したサービス識別子ID1をユーザ端末10に返信する(ST33f)。
ユーザ端末10は、このサービス識別子ID1をセキュア記憶媒体SDに入力すると共に(ST34)、セキュア記憶媒体SDとの間でセッション鍵Ksを共有する(ST35)。
セキュア記憶媒体SDは、前述同様に、サービス暗号鍵k11を暗号化し(ST36)、暗号化サービス暗号鍵Enc(Ks,k11)を得る。しかる後、セキュア記憶媒体SDは、この暗号化サービス暗号鍵Enc(Ks,k11)及びユーザデータ領域3内の暗号化関数指定データEnc(k11,(a2‖a1‖a0))をユーザ端末10に送出する(ST37f)。
ユーザ端末10は、これら暗号化サービス暗号鍵及び暗号化関数指定データをセキュア記憶媒体SDから読み出すと、暗号化サービス暗号鍵Enc(Ks,k11)をセッション鍵Ksにより復号する(ST38)。
続いて、ユーザ端末10は、復号したサービス暗号鍵k11に基づいて、暗号化関数指定データEnc(k11,(a2‖a1‖a0))を復号すると共に(ST39)、暗号化ログイン時刻Enc(k11,t0)を復号する(ST40f−1)。しかる後、ユーザ端末10は、関数指定データa2‖a1‖a0から得られるパスワード関数FA(t)に対し、ログイン時刻情報t0を代入し、関数値FA(t0)を算出する(ST40f−2)。
そして、ユーザ端末10は、関数値FA(t0)をサービス業者装置30に送信する(ST40f−3)。
サービス業者装置30は、受信した関数値FA(t0)と、ステップST33fの前に算出した関数値FA(t0)とを照合し、両者が一致すると、受信した関数値FA(t0)を有効と判定し(ST41f)、アクセス許可をユーザ端末10に通知する(ST42)。
以下、前述同様に、ユーザ端末10は、このアクセス許可又はアクセス拒否の通知を受けると、ログインを終了する。
上述したように本実施形態によれば、セキュア記憶媒体SDの媒体識別子SD−ID01毎に関数指定データ{a2‖a1‖a0}を用いてログインするので、従来とは異なり、ユーザID及びパスワードがコピーされたとしても不正使用されることがない。また、セキュア記憶媒体SDを法人に属する各個人に配布すれば個人ユーザと同様に法人ユーザに適用することができる。すなわち、法人会員にも容易に適用でき、認証情報がコピーされても不正使用を阻止できるログインシステムを提供することができる。
上述したように本実施形態によれば、セキュア記憶媒体SDの媒体識別子SD−ID01毎に関数指定データ{a2‖a1‖a0}を用いてログインするので、従来とは異なり、ユーザID及びパスワードがコピーされたとしても不正使用されることがない。また、セキュア記憶媒体SDを法人に属する各個人に配布すれば個人ユーザと同様に法人ユーザに適用することができる。すなわち、法人会員にも容易に適用でき、認証情報がコピーされても不正使用を阻止できるログインシステムを提供することができる。
上述したように本実施形態によれば、第1の実施形態におけるサービス権利データに代えて、関数指定データを用いた構成としても、第1の実施形態と同様の作用効果を得ることができる。詳しくは、セキュア記憶媒体の媒体識別子毎に、ログイン時刻情報t0及び関数指定データから算出した第1及び第2の関数値を用いてログインする構成なので、不正者がセキュア記憶媒体SDを使用しない限り、認証情報をコピーしたとしてもログインすることができない。また同様に、セキュア記憶媒体を法人に属する各個人に配布すれば個人ユーザと同様に法人ユーザに適用することができる。すなわち、法人会員にも容易に適用でき、認証情報がコピーされても不正使用を阻止できるログインシステムを提供することができる。
また、本実施形態の場合、時間関数F(t)を用いるので、セキュリティ強度の向上を期待することができる。
(第4の実施形態)
図27は本発明の第4の実施形態に係るログインシステムの構成を示す模式図であり、図28は同システムに適用されるサービスDBテーブルの構成を示す模式図である。
図27は本発明の第4の実施形態に係るログインシステムの構成を示す模式図であり、図28は同システムに適用されるサービスDBテーブルの構成を示す模式図である。
すなわち、本実施形態は、第1の実施形態の変形例であり、サービス識別子IDを省略する観点から、特定サービス専用のセキュア記憶媒体SDx、専用プレーヤとしてのユーザ端末10及びサービスDBテーブルT1xを用いた構成となっている。
ここで、セキュア記憶媒体SDxは、前述した機能において、保護領域2に特定サービス専用のサービス暗号鍵k11を備えており、他のサービス用のサービス暗号鍵を持たない構成となっている。
ユーザ端末10は、前述した機能において、サービス識別子IDの省略に伴い、サービス識別子IDの処理機能が省略されたものとなっている。
サービスDBテーブルT1xは、図28に示すように、媒体識別子SD−ID1,2…毎に、特定サービス専用のサービス暗号鍵k11,k21,…が互いに関連付けられて記憶されており、特定サービス専用のDBテーブルとなっている。
次に、以上のように構成されたログインシステムの動作を図29のシーケンス図を用いて説明する。なお、初期化処理及び権利データ配信処理については、前述した通りであるので、ここではログイン処理について述べる。
図29に示すように、ユーザ端末10は、操作者の操作により、ログインの際に、セキュア記憶媒体SDから媒体識別子SD−ID01を読み出すと共に(ST31)、この媒体識別子SD−ID01と、パスワード(暗証番号)を含むログイン要求をサービス業者装置30に送信する(ST32)。
サービス業者装置30は、媒体識別子SD−ID01及びログイン要求を受信すると、記憶装置31の暗証番号テーブルT3を参照して当該媒体識別子SD−ID01に対応する暗証番号と、ログイン要求内の暗証番号とを照合し、両者が一致するときのみ、パスワードの認証許可をユーザ端末10に通知する(ST33x)。
ユーザ端末10は、パスワードの認証許可を受けると、以下前述したステップST35以降の処理を実行する。
上述したように本実施形態によれば、特定サービス専用のセキュア記憶媒体SDx及びサービスDBテーブルT1xを設け、サービス識別子IDを省略した構成としても、第1の実施形態と同様の作用効果を得ることができる。
なお、本実施形態は、第1の実施形態の変形例に限らず、第2又は第3の実施形態の変形例としても同様に実施することができる。例えば第2の実施形態の変形例とする場合、図30〜図32のいずれかに示すように、特定サービス専用のサービスDBテーブルT1rax,T1rbx又はT1rcxを設け、図33に示すように、前述したステップST33,ST34の処理に代えて、パスワードの認証許可を返信するステップST33xを用いればよい。第3の実施形態の変形例とする場合も同様に、図34に示すように、前述したステップST33,ST34の処理に代えて、パスワードの認証許可を返信するステップST33xfを用いればよい。このような変形例としても、適用した第2又は第3の実施形態と同様の作用効果を得ることができる。
なお、上記各実施形態に記載した手法は、コンピュータに実行させることのできるプログラムとして、磁気ディスク(フロッピー(登録商標)ディスク、ハードディスクなど)、光ディスク(CD−ROM、DVDなど)、光磁気ディスク(MO)、半導体メモリなどの記憶媒体に格納して頒布することもできる。
また、この記憶媒体としては、プログラムを記憶でき、かつコンピュータが読み取り可能な記憶媒体であれば、その記憶形式は何れの形態であっても良い。
また、記憶媒体からコンピュータにインストールされたプログラムの指示に基づきコンピュータ上で稼働しているOS(オペレーティングシステム)や、データベース管理ソフト、ネットワークソフト等のMW(ミドルウェア)等が本実施形態を実現するための各処理の一部を実行しても良い。
さらに、本発明における記憶媒体は、コンピュータと独立した媒体に限らず、LANやインターネット等により伝送されたプログラムをダウンロードして記憶または一時記憶した記憶媒体も含まれる。
また、記憶媒体は1つに限らず、複数の媒体から本実施形態における処理が実行される場合も本発明における記憶媒体に含まれ、媒体構成は何れの構成であっても良い。
尚、本発明におけるコンピュータは、記憶媒体に記憶されたプログラムに基づき、本実施形態における各処理を実行するものであって、パソコン等の1つからなる装置、複数の装置がネットワーク接続されたシステム等の何れの構成であっても良い。
また、本発明におけるコンピュータとは、パソコンに限らず、情報処理機器に含まれる演算処理装置、マイコン等も含み、プログラムによって本発明の機能を実現することが可能な機器、装置を総称している。
なお、本願発明は、上記実施形態そのままに限定されるものではなく、実施段階ではその要旨を逸脱しない範囲で構成要素を変形して具体化できる。また、上記実施形態に開示されている複数の構成要素の適宜な組合せにより種々の発明を形成できる。例えば、実施形態に示される全構成要素から幾つかの構成要素を削除してもよい。更に、異なる実施形態に亘る構成要素を適宜組合せてもよい。
SD,SDx…セキュア記憶媒体、1…システム領域、2…保護領域、3…ユーザ領域、4…暗復号部、10…ユーザ端末、11…インターフェイス部、12…初期化部、13…ログイン部、14…サービス利用部、20…ライセンスセンタ装置、21,31…記憶装置、22…ライセンス管理部、30…サービス業者装置、32…サービス管理部、33…アクセス制御部、34…サービス提供部、T1,T1x…サービスDBテーブル、T2…権利DBテーブル、T3…暗証番号テーブル。
Claims (10)
- 媒体識別子、前記媒体識別子に基づいて発行されたサービス暗号鍵、及びこのサービス暗号鍵によりサービス権利データが暗号化されてなる暗号化サービス権利データが記憶されたセキュア記憶媒体を着脱自在に保持したユーザ端末からサービス業者装置にログインするためのログインシステムであって、
前記ユーザ端末は、
前記ログインの際に、前記セキュア記憶媒体から媒体識別子を読み出す手段と、
前記サービス暗号鍵及び前記暗号化サービス権利データを前記セキュア記憶媒体から読み出す手段と、
このサービス暗号鍵に基づいて、前記暗号化サービス権利データを復号する手段と、
この復号したサービス権利データ及び前記読み出した媒体識別子を前記サービス業者装置に送信する手段と、
この送信により、前記サービス業者装置からアクセスが許可されると、前記ログインを終了する手段と、
を備えており、
前記サービス業者装置は、
媒体識別子毎に、サービス権利データが記憶された記憶手段と、
前記ユーザ端末から受信した媒体識別子に基づいて、前記記憶手段から対応するサービス権利データを読み出す手段と、
前記ユーザ端末から受信したサービス権利データと前記記憶手段から読み出したサービス権利データとを照合する照合手段と、
前記照合により両者が一致すると、当該サービス権利データに基づいて、前記ユーザ端末のアクセスを許可する手段と、
を備えたことを特徴とするログインシステム。 - 媒体識別子、前記媒体識別子に基づいて発行されたサービス暗号鍵、及びこのサービス暗号鍵によりサービス権利データが暗号化されてなる暗号化サービス権利データが記憶されたセキュア記憶媒体を着脱自在に保持したユーザ端末からサービス業者装置にログインするためのログインシステムであって、
前記ユーザ端末は、
前記ログインの際に、前記セキュア記憶媒体から媒体識別子を読み出す手段と、
読み出した媒体識別子及びログイン要求を前記サービス業者装置に送信する手段と、
この送信に基づいて、前記サービス暗号鍵及び前記暗号化サービス権利データを前記セキュア記憶媒体から読み出す手段と、
このサービス暗号鍵に基づいて、前記暗号化サービス権利データを復号する手段と、
この復号したサービス権利データを前記サービス業者装置に送信する手段と、
この送信により、前記サービス業者装置からアクセスが許可されると、前記ログインを終了する手段と、
を備えており、
前記サービス業者装置は、
媒体識別子毎に、サービス権利データが記憶された記憶手段と、
前記ユーザ端末から受信した媒体識別子及びログイン要求に基づいて、前記記憶手段内の対応するサービス権利データを読み出す手段と、
前記ユーザ端末からサービス権利データを受信すると、このサービス権利データと前記読み出したサービス権利データとを照合する照合手段と、
前記照合により両者が一致すると、当該サービス権利データに基づいて、前記ユーザ端末のアクセスを許可する手段と、
を備えたことを特徴とするログインシステム。 - 媒体識別子、サービス識別子に対応するサービス暗号鍵、及びこのサービス暗号鍵によりサービス権利データが暗号化されてなる暗号化サービス権利データが記憶されたセキュア記憶媒体を着脱自在に保持したユーザ端末からサービス業者装置にログインするためのログインシステムであって、
前記ユーザ端末は、
前記ログインの際に、前記セキュア記憶媒体から媒体識別子を読み出す手段と、
読み出した媒体識別子及びログイン要求を前記サービス業者装置に送信する手段と、
この送信により、前記サービス業者装置から受けたサービス識別子に基づいて、前記サービス暗号鍵及び前記暗号化サービス権利データを前記セキュア記憶媒体から読み出す手段と、
このサービス暗号鍵に基づいて、前記暗号化サービス権利データを復号する手段と、
この復号したサービス権利データを前記サービス業者装置に送信する手段と、
この送信により、前記サービス業者装置からアクセスが許可されると、前記ログインを終了する手段と、
を備えており、
前記サービス業者装置は、
媒体識別子毎に、サービス識別子に対応するサービス権利データが記憶された記憶手段と、
前記ユーザ端末から媒体識別子及びログイン要求を受信すると、前記記憶手段を参照して当該媒体識別子に対応するサービス識別子を返信する手段と、
前記ユーザ端末からサービス権利データを受信すると、このサービス権利データを前記記憶手段内の対応するサービス権利データと照合する照合手段と、
前記照合により両者が一致すると、当該サービス権利データに基づいて、前記ユーザ端末のアクセスを許可する手段と、
を備えたことを特徴とするログインシステム。 - 請求項1乃至請求項3のいずれか1項に記載のログインシステムにおいて、
前記ユーザ端末及び前記サービス業者装置とは異なるライセンスセンタ装置を備えており、
前記ライセンスセンタ装置は、
前記セキュア記憶媒体の初期化の際に、このセキュア記憶媒体の媒体識別子毎に、サービス識別子に対応してサービス暗号鍵を生成する手段と、
前記サービス暗号鍵及び前記媒体識別子を前記サービス業者装置に配信する手段と、
前記サービス暗号鍵をユーザ端末を介して前記セキュア記憶媒体に配信する手段と、
を備えたことを特徴とするログインシステム。 - 請求項4に記載のログインシステムにおいて、
前記ライセンスセンタ装置は、
前記サービス権利データを配信する際に、前記セキュア記憶媒体の媒体識別子毎に、サービス識別子に対応するサービス権利データを発行する手段と、
このサービス権利データ及び前記媒体識別子をサービス業者装置に配信する手段と、
前記サービス権利化データを、前記初期化の際に生成した前記サービス暗号鍵により暗号化する手段と、
この暗号化により得られた暗号化サービス権利データを前記ユーザ端末を介して前記セキュア記憶媒体に配信する手段と、
を備えたことを特徴とするログインシステム。 - 請求項4に記載のログインシステムにおいて、
前記サービス業者装置は、
前記サービス権利データを配信する際に、前記セキュア記憶媒体の媒体識別子毎に、サービス識別子に対応するサービス権利データを発行する手段と、
このサービス権利データを、前記記憶手段内の媒体識別子に対応するサービス暗号鍵により暗号化する手段と、
この暗号化により得られた暗号化サービス権利データを前記ユーザ端末を介して前記セキュア記憶媒体に配信する手段と、
を備えたことを特徴とするログインシステム。 - 請求項5又は請求項6に記載のログインシステムにおいて、
前記サービス権利データの発行元であるライセンスセンタ装置又はサービス業者装置は、
当該発行したサービス権利データを定期的に更新する手段を備えたことを特徴とするログインシステム。 - 請求項1乃至請求項7のいずれか1項に記載のログインシステムにおいて、
前記セキュア記憶媒体及び前記サービス業者装置は、前記サービス権利データの送付用鍵を共有しており、
前記ユーザ端末は、
前記復号したサービス権利データを前記サービス業者装置に送信する手段に代えて、
前記セキュア記憶媒体から前記送付用鍵を読み出す手段と、
前記復号したサービス権利データを前記送付用鍵により暗号化する手段と、
この暗号化により得られた暗号化サービス権利データを前記サービス業者装置に送信する手段と、を備えており、
前記サービス業者装置は、
前記照合手段に代えて、
前記ユーザ端末から暗号化サービス権利データを受信すると、この暗号化サービス権利データを、前記共有した送付用鍵により復号する手段と、
この復号により得られたサービス権利データを、前記記憶手段内の対応するサービス権利データと照合する照合手段と、
を備えたことを特徴とするログインシステム。 - 媒体識別子、サービス識別子に対応するサービス暗号鍵、及びこのサービス暗号鍵により最新の関数指定データが暗号化されてなる暗号化関数指定データが記憶されたセキュア記憶媒体を着脱自在に保持したユーザ端末からサービス業者装置にログインするためのログインシステムであって、
前記ユーザ端末は、
前記ログインの際に、前記セキュア記憶媒体から媒体識別子を読み出す手段と、
読み出した媒体識別子及びログイン要求を前記サービス業者装置に送信する手段と、
この送信により、前記サービス業者装置から暗号化時限ログイン情報及びサービス識別子を受ける手段と、
このサービス識別子に基づいて、サービス暗号鍵及び前記暗号化関数指定データを前記セキュア記憶媒体から読み出す手段と、
このサービス暗号鍵に基づいて、前記暗号化関数指定データ及び前記暗号化時限ログイン情報を復号する手段と、
この復号した関数指定データから得られる関数に対し、前記復号した時限ログイン情報を代入し、第1の関数値を算出する手段と、
この第1の関数値を前記サービス業者装置に送信する手段と、
この送信により、前記サービス業者装置からアクセスが許可されると、前記ログインを終了する手段と、
を備えており、
前記サービス業者装置は、
媒体識別子毎に、サービス識別子に対応する関数指定データが関連付けられて記憶された記憶手段と、
前記ユーザ端末から媒体識別子及びログイン要求を受信すると、前記記憶手段を参照して当該媒体識別子に対応するサービス識別子及び関数指定データを読み出す手段と、
この関数指定データから得られる関数に対し、前記ログイン要求を受信した時刻に関連する時限ログイン情報を代入し、第2の関数値を算出する手段と、
前記時限ログイン情報を前記サービス暗号鍵により暗号化する手段と、
この暗号化により得られた暗号化時限ログイン情報及び前記読み出したサービス識別子を前記ユーザ端末に返信する手段と、
前記ユーザ端末から第1の関数値を受信すると、この第1の関数値と前記第2の関数値とを照合する照合手段と、
前記照合により両者が一致すると、前記ユーザ端末のアクセスを許可する手段と、
を備えたことを特徴とするログインシステム。 - 媒体識別子、サービス暗号鍵、及びこのサービス暗号鍵によりサービス権利データが暗号化されてなる暗号化サービス権利データが記憶されたセキュア記憶媒体を着脱自在に保持したユーザ端末からサービス業者装置にログインするためのログイン方法であって、
前記ユーザ端末が、前記ログインの際に、前記セキュア記憶媒体から媒体識別子を読み出す工程と、
前記ユーザ端末が、読み出した媒体識別子及びログイン要求を前記サービス業者装置に送信する工程と、
前記サービス業者装置が、前記ユーザ端末から媒体識別子及びログイン要求を受信すると、前記媒体識別子毎に、サービス権利データが関連付けられて記憶された記憶手段から当該媒体識別子に対応するサービス権利データを読み出す工程と、
前記ユーザ端末が、前記媒体識別子及びログイン要求の送信に基づいて、サービス暗号鍵及び前記暗号化サービス権利データを前記セキュア記憶媒体から読み出す工程と、
前記ユーザ端末が、このサービス暗号鍵に基づいて、前記暗号化サービス権利データを復号する工程と、
前記ユーザ端末が、この復号したサービス権利データを前記サービス業者装置に送信する工程と、
前記サービス業者装置が、前記ユーザ端末からサービス権利データを受信すると、このサービス権利データと前記読み出したサービス権利データとを照合する照合工程と、
前記サービス業者装置が、前記照合により両者が一致すると、当該サービス権利データに基づいて、前記ユーザ端末のアクセスを許可する工程と、
前記ユーザ端末が、前記サービス業者装置からアクセスが許可されると、前記ログインを終了する工程と、
を備えたことを特徴とするログイン方法。
Priority Applications (6)
| Application Number | Priority Date | Filing Date | Title |
|---|---|---|---|
| JP2004109111A JP2005293357A (ja) | 2004-04-01 | 2004-04-01 | ログインシステム及び方法 |
| EP05721398A EP1744251A4 (en) | 2004-04-01 | 2005-03-24 | LOG-IN SYSTEM AND PROCEDURE |
| CNA2005800004001A CN1788263A (zh) | 2004-04-01 | 2005-03-24 | 登录系统和方法 |
| PCT/JP2005/005384 WO2005098639A1 (ja) | 2004-04-01 | 2005-03-24 | ログインシステム及び方法 |
| KR1020057024095A KR100785715B1 (ko) | 2004-04-01 | 2005-03-24 | 로그인 시스템 및 방법 |
| US11/283,826 US20060080526A1 (en) | 2004-04-01 | 2005-11-22 | Login system and method |
Applications Claiming Priority (1)
| Application Number | Priority Date | Filing Date | Title |
|---|---|---|---|
| JP2004109111A JP2005293357A (ja) | 2004-04-01 | 2004-04-01 | ログインシステム及び方法 |
Publications (1)
| Publication Number | Publication Date |
|---|---|
| JP2005293357A true JP2005293357A (ja) | 2005-10-20 |
Family
ID=35125263
Family Applications (1)
| Application Number | Title | Priority Date | Filing Date |
|---|---|---|---|
| JP2004109111A Pending JP2005293357A (ja) | 2004-04-01 | 2004-04-01 | ログインシステム及び方法 |
Country Status (6)
| Country | Link |
|---|---|
| US (1) | US20060080526A1 (ja) |
| EP (1) | EP1744251A4 (ja) |
| JP (1) | JP2005293357A (ja) |
| KR (1) | KR100785715B1 (ja) |
| CN (1) | CN1788263A (ja) |
| WO (1) | WO2005098639A1 (ja) |
Cited By (4)
| Publication number | Priority date | Publication date | Assignee | Title |
|---|---|---|---|---|
| JP2012027530A (ja) * | 2010-07-20 | 2012-02-09 | Dainippon Printing Co Ltd | ワンタイムパスワード生成装置、サーバー装置、認証システム、方法、プログラム、記録媒体 |
| JP2013050910A (ja) * | 2011-08-31 | 2013-03-14 | Jr East Mechatronics Co Ltd | 読書装置、制御方法、及びプログラム |
| JP2013057988A (ja) * | 2011-09-07 | 2013-03-28 | Sony Corp | 情報処理装置、情報処理方法、およびプログラム |
| JP2014191671A (ja) * | 2013-03-28 | 2014-10-06 | Mitsubishi Space Software Co Ltd | セキュリティ記憶媒体、ファイル管理システムおよびファイル管理方法 |
Families Citing this family (21)
| Publication number | Priority date | Publication date | Assignee | Title |
|---|---|---|---|---|
| KR100599174B1 (ko) * | 2004-12-16 | 2006-07-12 | 삼성전자주식회사 | 프로파일 정보를 이용한 서비스 제공방법 및 서비스제공시스템 |
| US8108692B1 (en) * | 2006-06-27 | 2012-01-31 | Siliconsystems, Inc. | Solid-state storage subsystem security solution |
| US7765373B1 (en) * | 2006-06-27 | 2010-07-27 | Siliconsystems, Inc. | System for controlling use of a solid-state storage subsystem |
| US20110022850A1 (en) * | 2006-07-26 | 2011-01-27 | Hondar Lee | Access control for secure portable storage device |
| FR2906380B1 (fr) * | 2006-09-27 | 2008-12-19 | Trusted Logic Sa | Systeme et procede de securisation de donnees. |
| US8166515B2 (en) * | 2006-10-30 | 2012-04-24 | Microsoft Corporation | Group policy for unique class identifier devices |
| US7971232B2 (en) * | 2006-10-30 | 2011-06-28 | Microsoft Corporation | Setting group policy by device ownership |
| EP2063638A1 (fr) * | 2007-11-26 | 2009-05-27 | Nagravision S.A. | Méthode d'évaluation de droits d'utilisateurs stockés dans un module de sécurité |
| JP2009230745A (ja) * | 2008-02-29 | 2009-10-08 | Toshiba Corp | バックアップ及びリストアの方法、プログラム、及びサーバ |
| US8356184B1 (en) | 2009-06-25 | 2013-01-15 | Western Digital Technologies, Inc. | Data storage device comprising a secure processor for maintaining plaintext access to an LBA table |
| KR101413787B1 (ko) * | 2010-05-27 | 2014-06-30 | 후지쯔 가부시끼가이샤 | 정보 처리 시스템 및 시스템 컨트롤러 |
| US9305142B1 (en) | 2011-12-19 | 2016-04-05 | Western Digital Technologies, Inc. | Buffer memory protection unit |
| CN103581108B (zh) | 2012-07-19 | 2017-05-03 | 阿里巴巴集团控股有限公司 | 一种登录验证方法、客户端、服务器及系统 |
| CN104283688B (zh) * | 2014-10-11 | 2017-12-29 | 东软集团股份有限公司 | 一种USBKey安全认证系统及安全认证方法 |
| CN105208031B (zh) * | 2015-09-30 | 2018-06-08 | 成都汇合乾元科技有限公司 | 一种终端认证方法 |
| CN105187447B (zh) * | 2015-09-30 | 2018-06-08 | 成都汇合乾元科技有限公司 | 一种终端安全登录方法 |
| CN106878245B (zh) * | 2016-07-18 | 2020-04-24 | 阿里巴巴集团控股有限公司 | 图形码信息提供、获取方法、装置及终端 |
| CN114417303B (zh) * | 2021-12-17 | 2026-01-02 | 中国建设银行股份有限公司 | 登录认证管理方法、装置、处理器及机器可读存储介质 |
| KR102757490B1 (ko) | 2023-08-10 | 2025-01-21 | 주식회사 호패 | 로그인 이상을 탐지하기 위한 방법 및 시스템 |
| KR102710773B1 (ko) | 2023-11-02 | 2024-09-27 | 주식회사 호패 | 보안 위험에 대하여 적응적으로 대응하기 위한 방법 및 시스템 |
| KR102721152B1 (ko) | 2023-11-20 | 2024-10-24 | 주식회사 호패 | 로그인 이상을 탐지하기 위한 방법 및 시스템 |
Citations (5)
| Publication number | Priority date | Publication date | Assignee | Title |
|---|---|---|---|---|
| JPH1032568A (ja) * | 1996-07-15 | 1998-02-03 | Ishikawajima Harima Heavy Ind Co Ltd | 暗号化伝送方法 |
| JP2002009763A (ja) * | 2000-06-26 | 2002-01-11 | Sanyo Electric Co Ltd | データ再生装置、それを用いた端末装置、および再生方法 |
| JP2002149612A (ja) * | 2000-11-06 | 2002-05-24 | Mycal Card Kk | 認証システム |
| JP2002189801A (ja) * | 2000-12-21 | 2002-07-05 | Sony Corp | サービス提供システム、管理サーバ、サービスプロバイダ、端末装置、記録媒体発行装置、サービス提供方法、記録媒体 |
| JP2003233795A (ja) * | 1999-04-27 | 2003-08-22 | Matsushita Electric Ind Co Ltd | 半導体メモリカード及び読み出し装置 |
Family Cites Families (5)
| Publication number | Priority date | Publication date | Assignee | Title |
|---|---|---|---|---|
| WO2001029791A1 (en) * | 1999-10-21 | 2001-04-26 | Tresor Tv Produktions Gmbh | Improved chip card and method for interacting with same |
| JP2003162691A (ja) * | 2001-11-26 | 2003-06-06 | Sony Corp | データ処理システム、メモリデバイス、データ処理装置、およびデータ処理方法、並びにコンピュータ・プログラム |
| JP4233009B2 (ja) * | 2001-12-07 | 2009-03-04 | 大日本印刷株式会社 | 認証システム |
| JP2004264898A (ja) * | 2003-02-10 | 2004-09-24 | Toshiba Corp | コンテンツ処理端末、著作権管理システム、及びこれ等の方法 |
| US7568111B2 (en) * | 2003-11-11 | 2009-07-28 | Nokia Corporation | System and method for using DRM to control conditional access to DVB content |
-
2004
- 2004-04-01 JP JP2004109111A patent/JP2005293357A/ja active Pending
-
2005
- 2005-03-24 KR KR1020057024095A patent/KR100785715B1/ko not_active Expired - Fee Related
- 2005-03-24 EP EP05721398A patent/EP1744251A4/en not_active Withdrawn
- 2005-03-24 CN CNA2005800004001A patent/CN1788263A/zh active Pending
- 2005-03-24 WO PCT/JP2005/005384 patent/WO2005098639A1/ja not_active Ceased
- 2005-11-22 US US11/283,826 patent/US20060080526A1/en not_active Abandoned
Patent Citations (5)
| Publication number | Priority date | Publication date | Assignee | Title |
|---|---|---|---|---|
| JPH1032568A (ja) * | 1996-07-15 | 1998-02-03 | Ishikawajima Harima Heavy Ind Co Ltd | 暗号化伝送方法 |
| JP2003233795A (ja) * | 1999-04-27 | 2003-08-22 | Matsushita Electric Ind Co Ltd | 半導体メモリカード及び読み出し装置 |
| JP2002009763A (ja) * | 2000-06-26 | 2002-01-11 | Sanyo Electric Co Ltd | データ再生装置、それを用いた端末装置、および再生方法 |
| JP2002149612A (ja) * | 2000-11-06 | 2002-05-24 | Mycal Card Kk | 認証システム |
| JP2002189801A (ja) * | 2000-12-21 | 2002-07-05 | Sony Corp | サービス提供システム、管理サーバ、サービスプロバイダ、端末装置、記録媒体発行装置、サービス提供方法、記録媒体 |
Cited By (4)
| Publication number | Priority date | Publication date | Assignee | Title |
|---|---|---|---|---|
| JP2012027530A (ja) * | 2010-07-20 | 2012-02-09 | Dainippon Printing Co Ltd | ワンタイムパスワード生成装置、サーバー装置、認証システム、方法、プログラム、記録媒体 |
| JP2013050910A (ja) * | 2011-08-31 | 2013-03-14 | Jr East Mechatronics Co Ltd | 読書装置、制御方法、及びプログラム |
| JP2013057988A (ja) * | 2011-09-07 | 2013-03-28 | Sony Corp | 情報処理装置、情報処理方法、およびプログラム |
| JP2014191671A (ja) * | 2013-03-28 | 2014-10-06 | Mitsubishi Space Software Co Ltd | セキュリティ記憶媒体、ファイル管理システムおよびファイル管理方法 |
Also Published As
| Publication number | Publication date |
|---|---|
| KR20060031628A (ko) | 2006-04-12 |
| WO2005098639A9 (ja) | 2008-02-14 |
| US20060080526A1 (en) | 2006-04-13 |
| EP1744251A1 (en) | 2007-01-17 |
| CN1788263A (zh) | 2006-06-14 |
| WO2005098639A1 (ja) | 2005-10-20 |
| KR100785715B1 (ko) | 2007-12-18 |
| EP1744251A4 (en) | 2010-04-14 |
Similar Documents
| Publication | Publication Date | Title |
|---|---|---|
| JP2005293357A (ja) | ログインシステム及び方法 | |
| US12301573B2 (en) | Accessing an internet of things device using blockchain metadata | |
| EP2267628B1 (en) | Token passing technique for media playback devices | |
| US7032240B1 (en) | Portable authorization device for authorizing use of protected information and associated method | |
| JP4118092B2 (ja) | 記憶装置および情報処理装置 | |
| US7484246B2 (en) | Content distribution system, content distribution method, information processing apparatus, and program providing medium | |
| AU2005223193B2 (en) | Digital rights management structure, portable storage device, and contents management method using the portable storage device | |
| US8126150B2 (en) | Storage medium processing method, storage medium processing device, and program | |
| US20060173787A1 (en) | Data protection management apparatus and data protection management method | |
| KR20050008626A (ko) | 정보 처리 장치 및 방법, 정보 처리 시스템, 기록 매체,및 프로그램 | |
| JP2005228346A (ja) | コンテンツとエンティティとを関連付ける方法 | |
| JP2005295570A (ja) | プライベートデータを露出せずに通信ネットワークを介してパスワードで保護されたプライベートデータを回復する方法およびシステム | |
| MX2012000077A (es) | Metodo para controlar y monitorear de forma remota los datos producidos sobre un software de escritorio. | |
| JP2001027964A (ja) | データの保存方法およびシステム並びにデータ保存処理用記録媒体 | |
| JP2006523995A (ja) | 認可証明書におけるユーザ・アイデンティティのプライバシ | |
| CA2393543C (en) | Portable authorization device for authorizing use of protected information and associated method | |
| US20100037047A1 (en) | Method for Controlling Access to File Systems, Related System, Sim Card and Computer Program Product for Use therein | |
| WO2019224912A1 (ja) | 車両通信装置、車両アクセス制御システム、管理装置、車両アクセス制御方法、および車両アクセス制御プログラム | |
| US20030065930A1 (en) | Encryption/decryption apparatus and method | |
| KR20250087328A (ko) | 대체불가토큰(nft) 객체의 보관, 양도, 및 공유 방법 | |
| US20130014286A1 (en) | Method and system for making edrm-protected data objects available | |
| JP2008171116A (ja) | 記憶装置及びそのアクセス制御システム | |
| JP2005086457A (ja) | 復号鍵要求プログラム、記憶媒体、端末装置、およびサーバ装置 |
Legal Events
| Date | Code | Title | Description |
|---|---|---|---|
| A621 | Written request for application examination |
Free format text: JAPANESE INTERMEDIATE CODE: A621 Effective date: 20061226 |
|
| A131 | Notification of reasons for refusal |
Free format text: JAPANESE INTERMEDIATE CODE: A131 Effective date: 20100413 |
|
| A02 | Decision of refusal |
Free format text: JAPANESE INTERMEDIATE CODE: A02 Effective date: 20100803 |