JP2005127361A - Thermostat device - Google Patents

Thermostat device Download PDF

Info

Publication number
JP2005127361A
JP2005127361A JP2003360950A JP2003360950A JP2005127361A JP 2005127361 A JP2005127361 A JP 2005127361A JP 2003360950 A JP2003360950 A JP 2003360950A JP 2003360950 A JP2003360950 A JP 2003360950A JP 2005127361 A JP2005127361 A JP 2005127361A
Authority
JP
Japan
Prior art keywords
thermostat device
valve body
thermal expansion
cooling water
valve
Prior art date
Legal status (The legal status is an assumption and is not a legal conclusion. Google has not performed a legal analysis and makes no representation as to the accuracy of the status listed.)
Pending
Application number
JP2003360950A
Other languages
Japanese (ja)
Inventor
Hiroshi Suda
浩 須田
Masahiro Tokunaga
匡洋 徳永
Katsuhiko Ishizuka
克彦 石塚
Susumu Mikami
晋 三上
Current Assignee (The listed assignees may be inaccurate. Google has not performed a legal analysis and makes no representation or warranty as to the accuracy of the list.)
Nippon Thermostat Co Ltd
Original Assignee
Nippon Thermostat Co Ltd
Priority date (The priority date is an assumption and is not a legal conclusion. Google has not performed a legal analysis and makes no representation as to the accuracy of the date listed.)
Filing date
Publication date
Application filed by Nippon Thermostat Co Ltd filed Critical Nippon Thermostat Co Ltd
Priority to JP2003360950A priority Critical patent/JP2005127361A/en
Publication of JP2005127361A publication Critical patent/JP2005127361A/en
Pending legal-status Critical Current

Links

Images

Landscapes

  • Temperature-Responsive Valves (AREA)

Abstract

【課題】 装置全体の構成を見直し、装置内部での通水抵抗を削減しサーモスタットとしての所要の流量特性を得ることができるサーモスタット装置を得る。
【解決手段】 ピストンロッド21aを熱膨張体の熱膨張、収縮により摺動させるサーモエレメント21を備えたサーモスタット装置20において、弁体22が着座可能に配置される弁座29を開口部内周縁に備えるフランジ状部材27に、最小開口径部分を有するとともに前記ピストンロッドの摺動方向の両端側を大径とするように湾曲形成された内面をもつリップ状筒部30を設ける。また、熱膨張体を内蔵するとともに前記弁体を備えるサーモエレメントの外周部に、該サーモエレメントのピストンロッド先端側を最小径とし弁体側を大径とするように湾曲形成されて前記弁体の弁座側の面に連続する外周面を有する整流用の筒状部33を設ける。
【選択図】 図1
PROBLEM TO BE SOLVED: To obtain a thermostat device in which the overall configuration of the device is reviewed, water flow resistance in the device is reduced, and a required flow characteristic as a thermostat can be obtained.
SOLUTION: In a thermostat device 20 including a thermo element 21 for sliding a piston rod 21a by thermal expansion and contraction of a thermal expansion body, a valve seat 29 on which a valve body 22 is seated is provided at the inner periphery of the opening. The flange-shaped member 27 is provided with a lip-shaped cylindrical portion 30 having an inner diameter that has a minimum opening diameter portion and is curved so that both ends in the sliding direction of the piston rod have a large diameter. In addition, the outer periphery of the thermo element including the thermal expansion body and having the valve body is curved so that the tip end side of the piston rod of the thermo element has a minimum diameter and the valve body side has a large diameter. A straightening cylindrical portion 33 having an outer peripheral surface continuous with the valve seat side surface is provided.
[Selection] Figure 1

Description

本発明は、たとえば自動車等に使用される内燃機関(以下、エンジンという)を冷却する冷却水を、熱交換器(以下、ラジエータという)との間で循環させるエンジンの冷却水回路において、冷却水の温度変化により作動することでエンジン冷却水の流れを切換えて冷却水温度を制御するために用いられる温度感知式自動弁であるサーモスタット装置に関する。   The present invention relates to a cooling water circuit for an engine that circulates cooling water for cooling an internal combustion engine (hereinafter referred to as an engine) used for an automobile or the like with a heat exchanger (hereinafter referred to as a radiator). The present invention relates to a thermostat device that is a temperature-sensitive automatic valve that is used to control the coolant temperature by switching the flow of engine coolant by operating according to the temperature change.

自動車用エンジンにおいて、これを冷却するためには、一般にはラジエータを用いた水冷式の冷却システムが使用されている。従来からこの種の冷却システムにおいては、エンジンに導入する冷却水の温度を制御できるように、ラジエータ側に循環させる冷却水量を調節する熱膨張体を用いたサーモスタットや電気制御によるバルブユニットが使用されている。   In order to cool an automobile engine, a water-cooled cooling system using a radiator is generally used. Conventionally, in this type of cooling system, a thermostat using a thermal expansion body that adjusts the amount of cooling water circulated to the radiator side and a valve unit by electric control are used so that the temperature of the cooling water introduced into the engine can be controlled. ing.

すなわち、上記の熱膨張体を用いたサーモスタットまたは電気制御によるバルブユニット等による制御バルブを、冷却水通路の一部、たとえばエンジンの入口側または出口側に介装し、冷却水温度が低い場合に、該制御バルブを閉じて冷却水をラジエータを経由せずバイパス通路を介して循環させ、また冷却水温度が高くなった場合は、制御バルブを開いて冷却水がラジエータを通して循環させることで、エンジン冷却水の温度を所要の状態に制御することができるものである。   That is, when a control valve such as a thermostat using the thermal expansion body or a valve unit by electrical control is installed in a part of the cooling water passage, for example, at the inlet side or outlet side of the engine, and the cooling water temperature is low The control valve is closed and the cooling water is circulated through the bypass passage without passing through the radiator. When the cooling water temperature becomes high, the control valve is opened and the cooling water is circulated through the radiator to The temperature of the cooling water can be controlled to a required state.

サーモスタットを用いた自動車用エンジンの冷却システム(冷却水温度制御系)の全体の概要を、図5を用いて以下に説明する。
図5において、1はシリンダブロックおよびシリンダヘッドにより構成された内燃機関としての自動車用エンジンであり、このエンジン1のシリンダブロックおよびシリンダヘッド内には、矢印aで示した冷却水通路が形成されている。
2は熱交換器、すなわちラジエータであり、このラジエータ2には周知の通り冷却水通路が形成されており、ラジエータ2の冷却水入口部2aおよび冷却水出口部2bは、前記エンジン1との間で冷却水を循環させる冷却水回路3により接続されている。
An overall outline of a cooling system (cooling water temperature control system) for an automobile engine using a thermostat will be described below with reference to FIG.
In FIG. 5, reference numeral 1 denotes an automobile engine as an internal combustion engine constituted by a cylinder block and a cylinder head. A cooling water passage indicated by an arrow a is formed in the cylinder block and cylinder head of the engine 1. Yes.
Reference numeral 2 denotes a heat exchanger, that is, a radiator. As is well known, a cooling water passage is formed in the radiator 2, and the cooling water inlet 2 a and the cooling water outlet 2 b of the radiator 2 are connected to the engine 1. And connected by a cooling water circuit 3 for circulating the cooling water.

この冷却水回路3は、エンジン1に設けられた冷却水の出口部1cからラジエータ2に設けられた冷却水の入口部2aまで連通する流出側冷却水路3aと、ラジエータ2に設けられた冷却水の出口部2bからエンジン1に設けられた冷却水の入口部1bまで連通する流入側冷却水路3bと、これら冷却水路3a,3bの途中の部位を接続するバイパス通路3cとから構成されている。
これらのエンジン1、ラジエータ2、冷却水路3によって冷却水循環路が形成されている。
The cooling water circuit 3 includes an outflow side cooling water passage 3 a that communicates from a cooling water outlet 1 c provided in the engine 1 to a cooling water inlet 2 a provided in the radiator 2, and cooling water provided in the radiator 2. The inflow side cooling water passage 3b that communicates from the outlet portion 2b to the cooling water inlet portion 1b provided in the engine 1 and a bypass passage 3c that connects the intermediate portions of the cooling water passages 3a and 3b.
A cooling water circulation path is formed by the engine 1, the radiator 2, and the cooling water path 3.

このような冷却水回路3における冷却水の流れと流量とを、該冷却水の温度に応じて制御するためのサーモスタット装置5を、前記エンジン1の入口側の冷却水路3bの途中であって、ラジエータ2と前記パイパス通路3cからの冷却水を切換え制御できる交差部に設けている。なお、図中3dは該交差部からエンジン1の入口部1bに至る冷却水路である。   A thermostat device 5 for controlling the flow and flow rate of the cooling water in the cooling water circuit 3 according to the temperature of the cooling water is in the middle of the cooling water passage 3b on the inlet side of the engine 1, It is provided at the intersection where the cooling water from the radiator 2 and the bypass passage 3c can be switched. In addition, 3d in the figure is a cooling water channel from the intersection to the inlet 1b of the engine 1.

また、図5では図示を省略したが、エンジン1の入口部1b部分には、エンジン1の図示しないクランクシャフトの回転により回転軸が回転されて冷却水を冷却水路3内で強制的に循環させるためのウォータポンプが配置される。さらに、図中符号6はラジエータ2に強制的に冷却風を取り入れるための冷却ファンユニットである。   Although not shown in FIG. 5, the rotating shaft is rotated by the rotation of the crankshaft (not shown) of the engine 1 at the inlet 1 b portion of the engine 1 to forcibly circulate the cooling water in the cooling water passage 3. A water pump is arranged. Further, reference numeral 6 in the figure denotes a cooling fan unit for forcibly taking cooling air into the radiator 2.

こような冷却水回路3における冷却水の流れは、サーモスタット装置5により切換え制御される。すなわち、冷却水温度が低いときは、冷却水をバイパス通路3cを介して循環させ、冷却水温度が高くなったときは該バイパス通路3cではなく、ラジエータ2側を循環させてエンジン1に冷却水を供給するように構成されている。   The flow of the cooling water in the cooling water circuit 3 is switched and controlled by the thermostat device 5. That is, when the cooling water temperature is low, the cooling water is circulated through the bypass passage 3c. When the cooling water temperature is high, the cooling water is circulated not to the bypass passage 3c but to the radiator 2 side to supply the cooling water to the engine 1. Is configured to supply.

前記サーモスタット装置5は、図6に示すように、流体の温度変化により作動する作動体7の一端側(図中上側)に第1の弁体8を設け、その作動体7の他端側(図中下側)に第2弁体9を設け、第1の弁体8を弁閉位置に付勢する付勢手段であるコイルばね10と、本体フレーム11を備えている。   As shown in FIG. 6, the thermostat device 5 is provided with a first valve body 8 on one end side (upper side in the figure) of an operating body 7 that operates according to a change in temperature of the fluid, and the other end side of the operating body 7 ( A second valve body 9 is provided on the lower side in the drawing, and a coil spring 10 as a biasing means for biasing the first valve body 8 to the valve closed position and a main body frame 11 are provided.

前記作動体7はいわゆるサーモエレメントと呼ばれるところであり、温度感知部7aとガイド部7bからなり、流体の温度を感知して膨張収縮するワックス等の熱膨張体7cを温度感知部7aに内蔵し、温度感知部7aの先端から延出したガイド部7bにピストンロッド7dを内嵌している。また、ピストンロッド7dの先端にはピストンロッド7dの先端を押える押受体12が設けられている。   The operating body 7 is a so-called thermo element, and includes a temperature sensing portion 7a and a guide portion 7b. A thermal expansion body 7c such as wax that expands and contracts by sensing the temperature of the fluid is built in the temperature sensing portion 7a. A piston rod 7d is fitted into a guide portion 7b extending from the tip of the temperature sensing portion 7a. In addition, a support body 12 that presses the tip of the piston rod 7d is provided at the tip of the piston rod 7d.

前記第1の弁体8は、ガイド部7bに設けられており、押受体12が第1の弁体8の弁座となっている。また、押受体12は外側に水路との取付部となるフランジ状部分12aを突設している。12bはパッキンである。
前記第2の弁体9は温度感知部7aの後端から延出した弁棒13に止め具13aで取付けられており、その第2の弁体9と温度感知部7aとの間に介装したコイルばね14で第2の弁体9が弁棒13の端部側へばね付勢されている。
前記付勢手段であるコイルばね10は、第1の弁体8とフレーム11との間に縮退して設け、第1の弁体8を常時弁閉位置に付勢している。
The first valve body 8 is provided in the guide portion 7 b, and the pressing body 12 serves as a valve seat for the first valve body 8. In addition, the presser 12 has a flange-like portion 12a protruding from the outside, which serves as an attachment portion with the water channel. 12b is a packing.
The second valve body 9 is attached to a valve rod 13 extending from the rear end of the temperature sensing portion 7a with a stopper 13a, and is interposed between the second valve body 9 and the temperature sensing portion 7a. The second valve element 9 is biased toward the end of the valve rod 13 by the coil spring 14.
The coil spring 10 as the urging means is provided to be retracted between the first valve body 8 and the frame 11, and always urges the first valve body 8 to the valve closed position.

このようなサーモスタット装置5は、第1の弁体8が冷却水路3bを開閉し、第2の弁体9がバイパス通路3cを開閉するように位置させており、次のように作動する。すなわち、温度感知部7a内の熱膨張体7cが冷却水温の上昇により膨張してピストンロッド7dを押圧することになり、作動体5がコイルばね10の付勢力に抗して作動する。これにより第1の弁体8が開放位置に移動して冷却水路3bを開放することになるとともに、第2の弁体9が弁閉位置に移動してバイパス通路3cを閉鎖することになる。また、冷却水温の下降により熱膨張体7cが収縮し、ピストンロッド7dの押圧力が弱まっていき、コイルばね10の付勢力で第1の弁体2を弁閉位置に移動して水路3bを閉鎖するとともに、第2の弁体9を弁開位置に移動してバイパス通路3cを開放することになる。   Such a thermostat device 5 is positioned so that the first valve body 8 opens and closes the cooling water passage 3b and the second valve body 9 opens and closes the bypass passage 3c, and operates as follows. That is, the thermal expansion body 7c in the temperature sensing unit 7a expands due to an increase in the cooling water temperature and presses the piston rod 7d, and the operating body 5 operates against the urging force of the coil spring 10. As a result, the first valve body 8 moves to the open position to open the cooling water passage 3b, and the second valve body 9 moves to the valve close position to close the bypass passage 3c. Further, the thermal expansion body 7c contracts due to the cooling water temperature falling, and the pressing force of the piston rod 7d is weakened. The biasing force of the coil spring 10 moves the first valve body 2 to the valve closed position, and the water passage 3b is moved. In addition to closing, the second valve body 9 is moved to the valve open position to open the bypass passage 3c.

このようにサーモスタット装置5は、温度感知式自動弁としてエンジンの冷却水回路3内で、エンジンウォータジャケット1からの暖められた冷却水と、ラジエータ2からの冷された冷却水とを混合および切換えることで、エンジンウォータジャケット1に送られる冷却水温を適温に制御している(例えば、特許文献1参照)。   Thus, the thermostat device 5 mixes and switches the warmed cooling water from the engine water jacket 1 and the cooled cooling water from the radiator 2 in the engine cooling water circuit 3 as a temperature sensing type automatic valve. Thus, the coolant temperature sent to the engine water jacket 1 is controlled to an appropriate temperature (see, for example, Patent Document 1).

特許第3225386号公報Japanese Patent No. 3225386

ところで、上述した従来のサーモスタット装置5によれば、以下のような不具合があった。
すなわち、従来のサーモスタット装置は、構造やコスト面での要求を満足するために、サーモスタットの機能として本来重視しなければならない流量特性は、サーモスタット全開流量時の流量を決定する弁体の開口径をを重視し、ハウジング形状、サーモスタット構造を工夫されたことはなかった。
Incidentally, the conventional thermostat device 5 described above has the following problems.
That is, in order to satisfy the requirements of the structure and cost of the conventional thermostat device, the flow characteristic that should be emphasized as a function of the thermostat is the opening diameter of the valve body that determines the flow rate when the thermostat is fully open. The housing shape and thermostat structure have never been devised.

そのため、高速回転まで回すエンジンやウォータポンプ入口部の抵抗が大きいエンジン、さらに最大流量が必要なエンジンにおいては、全開時の流量不足になったりキャビティションの発生により必要な流量を確保できなくなるなどの不具合を招いていた。
この理由としては、サーモスタット装置の主要構成部品であるエレメントが流体流路の中に位置していたり、弁座を構成するフランジの形状をプレスによる生産効率を優先して形成し、流体の流れまでを考慮していなかったからであった。
For this reason, in engines that rotate to high speeds, engines that have a large resistance at the water pump inlet, and those that require the maximum flow rate, the required flow rate may not be secured due to insufficient flow when fully opened or due to the occurrence of cavitation. A bug was invited.
The reason for this is that the element that is the main component of the thermostat device is located in the fluid flow path, or the shape of the flange that constitutes the valve seat is formed with priority given to production efficiency by pressing, It was because it did not consider.

本発明はこのような事情に鑑みてなされたものであり、たとえばエンジンの冷却システムにおいて冷却水を冷却水温度に応じて制御して循環させるためのサーモスタット装置において全体の構成を見直し、装置内部での通水抵抗を削減し、サーモスタットとしての所要の流量特性を得ることができるサーモスタット装置を得ることを目的とする。   The present invention has been made in view of such circumstances, for example, in a thermostat device for controlling and circulating cooling water according to the cooling water temperature in an engine cooling system, the overall configuration has been reviewed, An object of the present invention is to obtain a thermostat device capable of reducing the water flow resistance and obtaining the required flow characteristics as a thermostat.

このような目的に応えるために本発明(請求項1記載の発明)に係るサーモスタット装置は、内燃機関の冷却水路に設けられ、冷却液の温度変化により熱膨張または収縮する熱膨張体を内蔵し、この熱膨張体の熱膨張、収縮により摺動するピストンロッドを有し、前記熱膨張体の体積変化に伴う前記ピストンロッドの摺動により弁体の開閉を行うサーモスタット装置において、前記弁体が着座可能に配置される弁座を開口部内周縁に備えるフランジ状部材には、最小開口径部分を有するとともに前記ピストンロッドの摺動方向の両端側を大径とするように湾曲形成された内面をもつリップ状筒部が設けられていることを特徴とする。   In order to meet such an object, a thermostat device according to the present invention (the invention according to claim 1) is provided in a cooling water passage of an internal combustion engine, and incorporates a thermal expansion body that thermally expands or contracts due to a temperature change of the coolant. In the thermostat device having a piston rod that slides due to thermal expansion and contraction of the thermal expansion body, and opening and closing the valve body by sliding of the piston rod accompanying the volume change of the thermal expansion body, the valve body The flange-like member having a valve seat arranged to be seated on the inner peripheral edge of the opening has an inner surface that has a minimum opening diameter portion and is curved so that both ends in the sliding direction of the piston rod have a large diameter. A lip-shaped tube portion is provided.

本発明(請求項2記載の発明)に係るサーモスタット装置は、請求項1記載のサーモスタット装置を具体的に限定したものであり、前記リップ状筒部は、フランジ状部材の開口部内周縁において周方向の一部を除いた部分に形成されていることを特徴とする。   The thermostat device according to the present invention (the invention according to claim 2) is a specific limitation of the thermostat device according to claim 1, and the lip-shaped tube portion is circumferential in the inner periphery of the opening of the flange-shaped member. It is formed in the part except one part.

本発明(請求項3記載の発明)に係るサーモスタット装置は、内燃機関の冷却水路に設けられ、冷却液の温度変化により熱膨張または収縮する熱膨張体を内蔵し、この熱膨張体の熱膨張、収縮により摺動するピストンロッドを有し、前記熱膨張体の体積変化に伴う前記ピストンロッドの摺動により弁体の開閉を行うサーモスタット装置において、前記熱膨張体を内蔵するとともに前記弁体を外周部に備えるサーモエレメントには、該サーモエレメントのピストンロッドの先端側を最小径とし弁体側を大径とするように湾曲形成されて前記弁体の弁座側の面に連続する外周面を有する整流用の筒状部が設けられていることを特徴とする。   A thermostat device according to the present invention (invention of claim 3) is provided in a cooling water passage of an internal combustion engine, and incorporates a thermal expansion body that thermally expands or contracts due to a temperature change of the coolant, and the thermal expansion of this thermal expansion body In a thermostat device having a piston rod that slides by contraction and opens and closes the valve body by sliding of the piston rod accompanying a change in volume of the thermal expansion body, the thermal expansion body is incorporated and the valve body is The thermoelement provided in the outer peripheral portion has an outer peripheral surface that is curved so that the tip end side of the piston rod of the thermoelement has a minimum diameter and the valve body side has a large diameter and is continuous with the valve seat side surface of the valve body. The rectification | straightening cylindrical part which has is provided.

本発明(請求項4記載の発明)に係るサーモスタット装置は、請求項3記載のサーモスタット装置を具体的に限定したものであり、前記弁体の弁座側であって前記整流用の筒状部の外周部に連続する面が、流体の流れに直交する平面部と、その外周縁部分において流体の流れに沿ったテーパ部とによって構成され、該平面部は、前記弁座の開口径の少なくとも半分以上の面積を占める大きさをもって形成されていることを特徴とする。   The thermostat device according to the present invention (the invention according to claim 4) is a specific limitation of the thermostat device according to claim 3, and is the valve seat side of the valve body and the cylindrical portion for rectification. A surface continuous to the outer peripheral portion of the first and second outer peripheral portions is configured by a plane portion orthogonal to the fluid flow, and a tapered portion along the fluid flow at the outer peripheral edge portion, and the plane portion has at least an opening diameter of the valve seat. It is characterized by having a size that occupies more than half the area.

本発明(請求項5記載の発明)に係るサーモスタット装置は、請求項3または請求項4記載のサーモスタット装置を具体的に限定したものであり、前記整流用の筒状部は、前記弁体またはサーモエレメントを構成する部材の少なくともいずれか一方に一体に形成されていることを特徴とする。   The thermostat device according to the present invention (the invention according to claim 5) is a specific limitation of the thermostat device according to claim 3 or claim 4, and the rectifying tubular portion is the valve body or It is formed integrally with at least one of the members constituting the thermo element.

本発明(請求項6記載の発明)に係るサーモスタット装置は、請求項3ないし請求項5のいずれか1項に記載のサーモスタット装置を具体的に限定したものであり、前記弁体が着座可能に配置される弁座を開口部内周縁に備えるフランジ状部材には、最小開口径部分を有するとともに前記ピストンロッドの摺動方向の両端側を大径とするように湾曲形成された内面をもつリップ状筒部が設けられていることを特徴とする。   The thermostat device according to the present invention (the invention according to claim 6) is a specific limitation of the thermostat device according to any one of claims 3 to 5, so that the valve body can be seated. A flange-like member having a valve seat arranged on the inner peripheral edge of the opening has a lip shape having an inner surface that has a minimum opening diameter portion and is curved so that both ends in the sliding direction of the piston rod have a large diameter. A cylindrical portion is provided.

本発明によれば、弁座となる開口端部分に形成したリップ状筒部やサーモエレメントにおける弁体の弁座側に近接する外周部に設けた整流用の筒状部による流体の通水機能によって、サーモスタット装置としての所要の流量特性を確保することができるのである。   According to the present invention, a fluid flow function by a rectifying tubular portion provided on a lip-shaped tubular portion formed at an opening end portion serving as a valve seat or an outer peripheral portion adjacent to a valve seat side of a valve body in a thermo element. Thus, it is possible to ensure the required flow characteristics as a thermostat device.

特に、本発明によれば、サーモエレメントのピストンロッド先端を係止する係止部をもつキャップと別体に形成したフランジ状部材の開口部の開口縁部分を、流体の流れに対して通水抵抗を低減する方向、すなわちすぼまり方向または広がり方向に湾曲形成したリップ状筒状部によって、流体の流れを円滑に行える流体案内形状を得ることができるのである。   In particular, according to the present invention, the opening edge portion of the opening of the flange-shaped member formed separately from the cap having the locking portion for locking the tip of the piston rod of the thermo element is made to flow through the fluid flow. A fluid guide shape capable of smoothly flowing a fluid can be obtained by the lip-shaped cylindrical portion curved in the direction of reducing the resistance, that is, the constriction direction or the spreading direction.

また、本発明によれば、サーモエレメントの外周部から弁体の弁座側の面にかけて湾曲する外周面をもつ整流用の筒状部を、一体的または一体に設けるだけで、所要の流量特性を得られる整流機能を得ることができるのである。特に、この整流用の筒状部の形状を調整することにより、バルブの開口面積を充分に確保し、また通水抵抗も低減できるから、円滑な流体の流れを確保することができ、流量特性が向上することになる。   In addition, according to the present invention, a required flow rate characteristic can be obtained by simply or integrally providing a straightening cylindrical portion having an outer peripheral surface that curves from the outer peripheral portion of the thermo element to the valve seat side surface of the valve element. The rectifying function that can be obtained can be obtained. In particular, by adjusting the shape of the cylindrical portion for rectification, the opening area of the valve can be sufficiently secured and the water flow resistance can be reduced, so that a smooth fluid flow can be secured, and the flow characteristics Will be improved.

以上説明したように本発明に係るサーモスタット装置によれば、フランジ状部材の弁座となる開口端部分に形成したリップ状筒部、あるいは弁体の弁座側でサーモエレメントの外周部との間に設けた整流用の筒状部による流体の通水機能によって、サーモスタット装置としての所要の流量特性を確保することができる。   As described above, according to the thermostat device of the present invention, the lip-shaped cylindrical portion formed at the opening end portion serving as the valve seat of the flange-shaped member or the outer peripheral portion of the thermoelement on the valve seat side of the valve body. The required flow characteristics as a thermostat device can be ensured by the fluid flow function by the straightening cylindrical portion provided in the thermostat device.

特に、本発明によれば、サーモエレメントのピストンロッド先端を係止する係止部をもつキャップと別体に形成したフランジ状部材の開口部の開口縁部分を、流体の流れに対して通水抵抗を低減する方向、すなわちすぼまり方向または広がり方向に湾曲させる曲げ加工(カール加工またはテーパ加工)を施すことで、流体案内形状を得ているものであり、構造が簡単で加工性の面でも支障なく、コスト面でも有利である等の利点がある。   In particular, according to the present invention, the opening edge portion of the opening of the flange-shaped member formed separately from the cap having the locking portion for locking the tip of the piston rod of the thermo element is made to flow through the fluid flow. The fluid guiding shape is obtained by bending (curling or tapering) that curves in the direction of reducing resistance, that is, in the constriction direction or in the spreading direction. However, there are advantages such as no problem and cost advantages.

また、本発明によれば、弁体の流体流入側であってサーモエレメントの外周部にかけての湾曲面をもつ整流用の筒状部を、一体的または一体に設けた構成であるから、構造が簡単で加工、組立性の面でも優れ、しかも所要の流量特性を簡単に得られるという利点がある。特に、この整流用の筒状部の形状、平面部とテーパ部とを所要の関係で組み合わせて調整することにより、バルブの開口面積を充分に確保し、また通水抵抗も低減できるから、円滑な流体の流れを確保することができ、流量特性を向上させることができる。   Further, according to the present invention, since the rectifying cylindrical portion having a curved surface extending to the outer peripheral portion of the thermo element on the fluid inflow side of the valve body is provided integrally or integrally, the structure is There is an advantage that it is simple, excellent in processing and assembling, and can easily obtain the required flow characteristics. In particular, the shape of the cylindrical portion for rectification, the flat portion and the tapered portion are combined and adjusted in a required relationship, so that a sufficient valve opening area can be secured and the water flow resistance can be reduced. A fluid flow can be ensured and the flow rate characteristics can be improved.

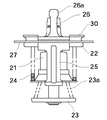
図1ないし図4は本発明に係るサーモスタット装置の一つの実施の形態を示す。ここで、この実施の形態では、エンジンの冷却システムにおいてエンジンの入口側で冷却水路中に臨んで配置され、冷却水温度を制御するために用いた場合を説明する。   1 to 4 show one embodiment of a thermostat device according to the present invention. Here, in this embodiment, a case will be described in which the cooling system for an engine is arranged to face the cooling water channel on the inlet side of the engine and used for controlling the cooling water temperature.

これらの図において、符号20で示す温度感知式自動弁であるサーモスタット装置は、前述した従来例を示す図5から明らかなように、ラジエータ2側の冷却水路3bと、エンジン出口部1c側からのバイパス通路3cとの交差部に付設され、これらの通路によって構成される第1、第2の流体流路での冷却水の流れを選択的に切り換えてエンジン入口部1bに至る冷却水路3dに給送するために用いられる。   In these figures, a thermostat device, which is a temperature sensing type automatic valve indicated by reference numeral 20, is clear from the cooling water passage 3b on the radiator 2 side and the engine outlet portion 1c side as apparent from FIG. Attached to the intersection with the bypass passage 3c, the flow of the cooling water in the first and second fluid flow paths constituted by these passages is selectively switched to supply the cooling water passage 3d reaching the engine inlet 1b. Used to send.

このサーモスタット装置20は、図1、図2に示すように、冷却水の温度変化により作動する作動体としてのサーモエレメント21と、このサーモエレメント21に一体または一体的に設けられ第1、第2の流体流路を開閉するための第1、第2の弁体22,23と、第1の弁体22を弁閉位置に、第2の弁体23を弁開位置に付設する付勢手段であるコイルばね24と、これらの周囲を覆うカップ状を呈するフレーム25とを備えている。   As shown in FIGS. 1 and 2, the thermostat device 20 includes a thermo element 21 as an operating body that operates according to a change in the temperature of cooling water, and a first and second unit that is integrally or integrally provided with the thermo element 21. First and second valve bodies 22 and 23 for opening and closing the fluid flow path, and biasing means for attaching the first valve body 22 to the valve closed position and the second valve body 23 to the valve open position A coil spring 24 and a cup-shaped frame 25 covering the periphery of the coil spring 24.

なお、上述したサーモエレメント21は、その内部にワックス等の熱膨張体を内封し、流体の温度を感知することで熱膨張体の熱膨張、収縮によりピストンを駆動することにより、ピストンロッド21aを軸線方向に押出し、または退出動作させるものであるが、その詳細は周知の通りであり、ここでの説明は省略する。   The thermo-element 21 described above encloses a thermal expansion body such as wax in its interior, and by sensing the temperature of the fluid, the piston is driven by the thermal expansion and contraction of the thermal expansion body, whereby the piston rod 21a. Is pushed out or retracted in the axial direction, the details of which are well known and will not be described here.

また、前記フレーム25の上部には、後述するサーモエレメント21から突設されたピストンロッド21aの上端部を係止する係止部26aを、上端側に設けたキャップ26と、前記第1の弁体22に対応する弁座29を開口部内周縁に形成するフランジ状部材27とが、該フレーム25の上端側に一体的に連結して設けられている。   Further, on the upper part of the frame 25, a cap 26 provided on the upper end side for locking an upper end portion of a piston rod 21a projecting from a thermo element 21, which will be described later, and the first valve A flange-like member 27 that forms a valve seat 29 corresponding to the body 22 on the inner peripheral edge of the opening is integrally connected to the upper end side of the frame 25.

ここで、前記キャップ26は、図1ないし図3に示すように、帯状板材を側面視三角形状に屈曲させることにより上端側に係止部26aを形成するとともに、下端側の両端部が前記フランジ状部材27上に組み付けられ、溶接、ろう付け、半田付け、かしめ等によって固定される。また、前記フレーム25の上端部25aは、図2および図3に示すように、フランジ状部材27上にキャップ26の下端側を組み付けた状態で、溶接、ろう付け、半田付け、かしめ等で固定される。この実施の形態では、フレーム25の上端部25aを、フランジ状部材27、その上面に組み付けられるキャップ26の下端側の両端部にかしめ付けることで、これらの部材を一体化した場合を示している。図中25aはかしめ付けによる結合部である。   Here, as shown in FIGS. 1 to 3, the cap 26 is formed with a locking portion 26 a on the upper end side by bending the strip-like plate material in a triangular shape in a side view, and both end portions on the lower end side are the flanges. It is assembled on the member 27 and fixed by welding, brazing, soldering, caulking or the like. 2 and 3, the upper end 25a of the frame 25 is fixed by welding, brazing, soldering, caulking or the like with the lower end of the cap 26 assembled on the flange-like member 27. Is done. In this embodiment, the upper end portion 25a of the frame 25 is caulked to the flange-like member 27 and both end portions on the lower end side of the cap 26 assembled to the upper surface thereof, so that these members are integrated. . In the figure, reference numeral 25a denotes a connecting portion by caulking.

前記フランジ状部材27における開口部の内周縁部分に設けた弁座29と前記第1の弁体22とによって、第1の流体流路での冷却水の流れを開閉する第1のバルブが構成されている。また、前記第2の弁体23は、図示しないが、バルブハウジングの一部に開口する前記バイパス通路3cの開口端に対向し、その開口端を弁座としてその流路をサーモエレメント21の動きで開閉可能に構成されている。なお、23aは第2の弁体23を弾性支持するばねである。   A first valve that opens and closes the flow of cooling water in the first fluid flow path is constituted by the valve seat 29 provided at the inner peripheral edge portion of the opening in the flange-shaped member 27 and the first valve body 22. Has been. Although not shown, the second valve body 23 faces the opening end of the bypass passage 3c that opens to a part of the valve housing, and the opening end serves as a valve seat to move the thermo element 21 through the flow path. It can be opened and closed. Reference numeral 23 a denotes a spring that elastically supports the second valve body 23.

本発明によれば、外周縁が被固定側であるハウジング部材(図示せず)に固定されるフランジ状部材27における開口部内周縁を、サーモエレメント21側の第1の弁体22が着座する弁座29としているサーモスタット装置20において、前記フランジ状部材27の開口部内周縁に、最小開口径部分を有するとともに前記ピストンロッド21aの摺動方向の両端側を大径とするように湾曲形成された内面をもつリップ状筒部30を設け、弁開時の通水抵抗を低減できるように構成したところを特徴としている。   According to the present invention, the valve on which the first valve element 22 on the thermo element 21 side sits on the inner peripheral edge of the opening in the flange-like member 27 fixed to the housing member (not shown) whose outer peripheral edge is the fixed side. In the thermostat device 20 as the seat 29, an inner surface that has a minimum opening diameter portion at the inner peripheral edge of the opening of the flange-shaped member 27 and is curved so that both ends in the sliding direction of the piston rod 21a have a large diameter. It is characterized in that a lip-shaped cylindrical portion 30 having a lip is provided so as to reduce the water flow resistance when the valve is open.

ここで、このようなリップ状筒部30としては、このフランジ状部材27の開口部内周縁に全周にわたって設けることが望ましいが、上記キャップ26の下端側の両端部を設ける必要から、この実施の形態では、該キャップ26の下端部に対応する周方向の一部分を切り欠いて形成している。したがって、このキャップ26は、リップ状筒部30とは干渉しない形状で、しかも干渉しない状態で一体的に結合されていることになる。そして、このようにフランジ状部材27とキャップ26とを別体に構成し、上記のリップ状筒部30を設けることにより、サーモスタット装置20における第1のバルブでの流体流入側の開口面積を増大させることができるのである。   Here, as such a lip-shaped cylindrical portion 30, it is desirable to provide the entire periphery of the inner peripheral edge of the opening of the flange-shaped member 27. However, since it is necessary to provide both end portions on the lower end side of the cap 26, this embodiment is implemented. In the embodiment, a part in the circumferential direction corresponding to the lower end portion of the cap 26 is cut out. Therefore, the cap 26 has a shape that does not interfere with the lip-shaped cylindrical portion 30 and is integrally coupled without interference. In this way, the flange-like member 27 and the cap 26 are configured separately, and the lip-shaped cylindrical portion 30 is provided, thereby increasing the opening area on the fluid inflow side of the first valve in the thermostat device 20. It can be made.

なお、このようなリップ状筒部30の向きは、図中下向き(流体流出側)であることが理想であるが、上向き(流体流入側)であってもよい。この向きが流体の流量制御に影響しないことは実験により確認されている。
さらに、キャップ26の下端側の両端部の形状をリップ状筒部30と干渉しない形状に変更することによって、フランジ状部材27の開口部内周縁に全周に設ける形態であってもよい。
The orientation of the lip-shaped tube portion 30 is ideally downward (fluid outflow side) in the figure, but may be upward (fluid inflow side). Experiments have confirmed that this orientation does not affect the flow control of the fluid.
Furthermore, the form provided in the perimeter of the opening part of the flange-shaped member 27 may be sufficient by changing the shape of the both ends of the lower end side of the cap 26 into the shape which does not interfere with the lip-shaped cylinder part 30.

また、本発明によれば、上述した構成において、サーモエレメント21における第1の弁体22aの流体流入側(弁座29側)に近接する外周部に、該サーモエレメント21のピストンロッド21aの先端側を最小径とし弁体側を大径とするように湾曲形成されて前記弁体22aの流体流入側(弁座29側)の面に連続する外周面を有する整流用の筒状部33を設け、弁開時に流体を前記弁体22aの外周縁に向かって導くように構成している。   Further, according to the present invention, in the configuration described above, the tip of the piston rod 21a of the thermo element 21 is disposed on the outer peripheral portion of the thermo element 21 that is close to the fluid inflow side (valve seat 29 side) of the first valve body 22a. A straightening cylindrical portion 33 is provided which is curved so that the side is the minimum diameter and the valve body side is a large diameter and has an outer peripheral surface continuous to the fluid inflow side (valve seat 29 side) surface of the valve body 22a. The fluid is guided toward the outer peripheral edge of the valve body 22a when the valve is opened.

ここで、この実施の形態では、整流用の筒状部33としての筒状部材を、図1等に示すように、サーモエレメント21の外周部に介装することで設けており、その外側面を、弁体22の外周縁に設けられているパッキン22aの外表面に連続して整流機能を果たすように形成されている。   Here, in this embodiment, as shown in FIG. 1 and the like, a cylindrical member as the straightening cylindrical portion 33 is provided by interposing it on the outer peripheral portion of the thermoelement 21, and the outer side surface thereof is provided. Is continuously formed on the outer surface of the packing 22a provided on the outer peripheral edge of the valve body 22 so as to perform a rectifying function.

なお、このような整流用の筒状部33は上述したパッキン22aと一体または一体的に形成してもよい。また、整流用の筒状部33は、前記弁体22を構成するプレート部の形状を上記の湾曲面が得られるように形成することで構成してもよい。換言すれば、プレート部のサーモエレメント21への取付部の折曲方向を逆向きにするとよい。さらに、サーモエレメント21側の部材と一体または一体的に形成することで、上記の整流用筒状部33を形成することや、サーモエレメント21側の部材と別部材で構成してもよく、種々の変形例が考えられる。
要は、整流用の筒状部33を設けることにより、弁体22の流体流入側から流体流出側への流体の流れを、通水抵抗を低減させた状態で円滑に行えればよい。
Such a straightening cylindrical portion 33 may be formed integrally or integrally with the above-described packing 22a. Moreover, you may comprise the cylindrical part 33 for rectification | straightening by forming the shape of the plate part which comprises the said valve body 22 so that said curved surface may be obtained. In other words, the bending direction of the attachment portion of the plate portion to the thermo element 21 may be reversed. Furthermore, by forming integrally or integrally with the member on the thermo element 21 side, the above rectifying cylindrical portion 33 may be formed, or it may be constituted by a member different from the member on the thermo element 21 side. The modification of this can be considered.
In short, it is only necessary that the flow of the fluid from the fluid inflow side to the fluid outflow side of the valve body 22 can be smoothly performed in a state in which the water flow resistance is reduced by providing the straightening cylindrical portion 33.

ここで、整流用の筒状部33においてのサーモエレメント21の外周面から弁体22の平坦な部分に至る整流面の曲率Rを小さくすると、サーモエレメント21の温度−リフト特性であってサーモスタット装置20が全開ではなく中間程度の開口になっている状態(以下、中間リフト時という)の流量が増し、全開リフト時の流量が減る。一方、曲率Rを大きくすると、中間リフト時の流量が減り、前記全開リフト時の流量が増えるという関係にある。これらのバランスを考えて、上記の曲率Rを設定することが必要である。   Here, when the curvature R of the rectifying surface from the outer peripheral surface of the thermoelement 21 to the flat portion of the valve body 22 in the rectifying tubular portion 33 is reduced, the temperature-lift characteristic of the thermoelement 21 and the thermostat device. The flow rate in a state where 20 is not fully opened but is an intermediate opening (hereinafter referred to as an intermediate lift) increases, and the flow rate at the fully open lift decreases. On the other hand, when the curvature R is increased, the flow rate during the intermediate lift is reduced, and the flow rate during the fully open lift is increased. In consideration of these balances, it is necessary to set the curvature R described above.

したがって、整流用の筒状部33におけるサーモエレメント21の外周面から弁体22の平坦な部分に至る整流面の曲率Rを変更することによって、同一のサーモスタット装置20において、温度−流量特性を変更することが可能となる。このため、たとえばサーモスタット装置20でのバルブの開き始めから中間程度までの流量を増やしたい場合は曲率Rを小さくし、温度上昇時やエンジン負荷が増大した場合等のバルブ全開時の特性を重視したい場合は曲率Rを大きくするとよい。   Therefore, in the same thermostat device 20, the temperature-flow rate characteristic is changed by changing the curvature R of the rectifying surface from the outer peripheral surface of the thermoelement 21 to the flat portion of the valve body 22 in the rectifying tubular portion 33. It becomes possible to do. For this reason, for example, when it is desired to increase the flow rate from the beginning of opening of the valve in the thermostat device 20 to an intermediate level, the curvature R is decreased, and the characteristics when the valve is fully opened such as when the temperature rises or the engine load increases are emphasized. In this case, the curvature R should be increased.

また、前記弁体22の流体流入側(弁座29側)であって前記整流用筒状部33の外周部から弁体22の外周縁に連続する面が、流体の流れに直交する平面部33aと、その外周縁部分において流体の流れに沿ったテーパ部33bとによって構成されている。   Further, a plane portion that is on the fluid inflow side (valve seat 29 side) of the valve body 22 and that continues from the outer peripheral portion of the rectifying tubular portion 33 to the outer peripheral edge of the valve body 22 is orthogonal to the fluid flow. 33a and the taper part 33b along the flow of the fluid in the outer periphery part.

このような整流用の筒状部33を含む弁体22の流体流入側での平面部33aは、バルブの開弁時においてこの平面部33aと弁座29との間の開口面積を充分に確保するために機能する。また、テーパ部33bは前記弁体33と弁座29との間から流出する流体の流れを円滑にするための役割りを果たすところである。なお、上述したテーパ部33bは、バルブの閉弁時において、フランジ状部材27の開口部内周縁に形成されているリップ状筒部30の湾曲した内周面に密着して着座し、この部分をシールする。   The flat surface portion 33a on the fluid inflow side of the valve body 22 including the straightening cylindrical portion 33 sufficiently secures an opening area between the flat surface portion 33a and the valve seat 29 when the valve is opened. To function. The tapered portion 33b serves to smooth the flow of fluid flowing out between the valve element 33 and the valve seat 29. The tapered portion 33b described above is seated in close contact with the curved inner peripheral surface of the lip-shaped cylindrical portion 30 formed on the inner peripheral edge of the opening of the flange-shaped member 27 when the valve is closed. Seal.

ここで、平面部33aは、前記弁座29によるバルブ開口径の70%の面積または70%以上の面積を占める大きさをもって形成されている。すなわち、上記の平面部33aが小さく、また上記の曲率Rが大きいと、流体の流れはスムーズになるものの、実際の開口径である整流用の筒状部33の最小開口部径よりも、バルブの開弁時に弁座29との間の間隔が小さくなって流路が絞られることになる。これとは逆に、平面部33aが開口径に対して100%近くになり、曲率Rが小さくなると、バルブの開弁時に弁座29との間の間隔が大きくなって流路は広がるが、弁体22の流体流入側での流れが直角に近づき、円滑な流れを得にくいためで、これらの不具合を解消するには、上述した70%かそれ以上の面積をもって形成するとよい。   Here, the flat surface portion 33a is formed to have a size that occupies an area of 70% of the valve opening diameter by the valve seat 29 or an area of 70% or more. That is, if the flat surface portion 33a is small and the curvature R is large, the fluid flow is smooth, but the valve diameter is smaller than the minimum opening diameter of the rectifying tubular portion 33 that is the actual opening diameter. When the valve is opened, the distance between the valve seat 29 and the flow path is narrowed. On the contrary, when the flat surface portion 33a is close to 100% with respect to the opening diameter and the curvature R is small, the space between the valve seat 29 is increased when the valve is opened, and the flow path is expanded. This is because the flow on the fluid inflow side of the valve body 22 approaches a right angle and it is difficult to obtain a smooth flow. In order to solve these problems, it is preferable to form with the above-described area of 70% or more.

以上の構成によれば、フランジ状部材27における弁座29となる開口部内周縁部分に形成したリップ状筒部30や弁体22の流体流入側に設けた整流用の筒状部33による流体の通水機能によって、サーモスタット装置20としての所要の流量特性を確保することができるのである。このような構成によるサーモスタット装置20によるサーモスタットリフト量に対する流量特性を、図4に示しており、図中細い実線で示す従来の量産品に比べて約20%向上することが実験により確認されている。   According to the above configuration, the fluid flow by the lip-shaped cylindrical portion 30 formed on the inner peripheral edge portion of the opening serving as the valve seat 29 in the flange-shaped member 27 or the rectifying cylindrical portion 33 provided on the fluid inflow side of the valve body 22. The required flow characteristic as the thermostat device 20 can be ensured by the water flow function. FIG. 4 shows the flow characteristics with respect to the thermostat lift amount by the thermostat device 20 having such a configuration, and it has been confirmed by experiments that it is improved by about 20% as compared with the conventional mass-produced product indicated by a thin solid line in the figure. .

なお、本発明は上述した実施の形態で説明した構造には限定されず、サーモスタット装置20を構成する各部の形状、構造等を適宜変形、変更し得ることはいうまでもない。
たとえば、上述した実施の形態では、フランジ状部材27の開口部内周縁にリップ状筒部30を形成し、また弁体22の流体流入側に整流用の筒状部33を設けた場合を説明したが、本発明はこれに限定されず、リップ状筒部30、整流用の筒状部33の少なくともいずれか一方を設けた場合でもあっても、所要の効果を発揮し得るものである。
Note that the present invention is not limited to the structure described in the above-described embodiment, and it goes without saying that the shape, structure, and the like of each part constituting the thermostat device 20 can be appropriately modified and changed.
For example, in the above-described embodiment, the case where the lip-shaped cylindrical portion 30 is formed on the inner peripheral edge of the opening of the flange-shaped member 27 and the rectifying cylindrical portion 33 is provided on the fluid inflow side of the valve body 22 has been described. However, the present invention is not limited to this, and even if at least one of the lip-shaped cylindrical portion 30 and the rectifying cylindrical portion 33 is provided, the required effect can be exhibited.

また、上述した実施の形態では、サーモスタット装置20を、エンジン冷却水回路においてエンジン1の入口部1b側に組み込んだ例を説明したが、本発明はこれに限定されず、エンジン1の出口部1c側に組み込んだ場合においても、同等の作用効果が得られることは言うまでもない。このときの流体(冷却水)の流れは逆になる。   Further, in the above-described embodiment, the example in which the thermostat device 20 is incorporated on the inlet 1b side of the engine 1 in the engine coolant circuit has been described. However, the present invention is not limited to this, and the outlet 1c of the engine 1 is provided. Needless to say, even when incorporated on the side, the same effect can be obtained. At this time, the flow of the fluid (cooling water) is reversed.

本発明に係るサーモスタット装置の一実施の形態を示し、サーモスタット装置全体の概略構成を説明するための要部断面図である。BRIEF DESCRIPTION OF THE DRAWINGS It is principal part sectional drawing for demonstrating one Embodiment of the thermostat apparatus which concerns on this invention, and demonstrating schematic structure of the whole thermostat apparatus. 図1のサーモスタット装置の平面図である。It is a top view of the thermostat apparatus of FIG. 図1、図2のサーモスタット装置の正面図である。It is a front view of the thermostat apparatus of FIG. 1, FIG. リフト−流量特性を示すグラフである。It is a graph which shows a lift-flow rate characteristic. サーモスタット装置をエンジンの入口側に組み込んだエンジン冷却水回路を示す説明図である。It is explanatory drawing which shows the engine cooling water circuit which integrated the thermostat apparatus in the inlet side of the engine. 従来のサーモスタット装置の一例を説明するための要部断面図である。It is principal part sectional drawing for demonstrating an example of the conventional thermostat apparatus.

符号の説明Explanation of symbols

1…エンジン、1b…エンジン入口部、1c…エンジン出口部、2…ラジエータ、3…冷却水回路、3a,3b…冷却水路、3c…バイパス通路、3d…冷却水路、20…サーモスタット装置、21…サーモエレメント、21a…ピストンロッド、22…第1の弁体、23…第2の弁体、24…コイルばね(付勢手段)、25…フレーム、26…キャップ、26a…係止部、27…フランジ状部材、29…第1の弁座、30…リップ状筒部、33…整流用の筒状部、33a…平面部、33b…テーパ部。   DESCRIPTION OF SYMBOLS 1 ... Engine, 1b ... Engine inlet part, 1c ... Engine outlet part, 2 ... Radiator, 3 ... Cooling water circuit, 3a, 3b ... Cooling water channel, 3c ... Bypass channel, 3d ... Cooling water channel, 20 ... Thermostat device, 21 ... Thermo element, 21a ... piston rod, 22 ... first valve element, 23 ... second valve element, 24 ... coil spring (biasing means), 25 ... frame, 26 ... cap, 26a ... locking part, 27 ... Flange-shaped member, 29 ... first valve seat, 30 ... lip-shaped cylinder part, 33 ... cylindrical part for rectification, 33a ... plane part, 33b ... taper part.

Claims (6)

内燃機関の冷却水路に設けられ、冷却水の温度変化により熱膨張または収縮する熱膨張体を内蔵し、この熱膨張体の熱膨張、収縮により摺動するピストンロッドを有し、前記熱膨張体の体積変化に伴う前記ピストンロッドの摺動により弁体の開閉を行うサーモスタット装置において、
前記弁体が着座可能に配置される弁座を開口部内周縁に備えるフランジ状部材には、最小開口径部分を有するとともに前記ピストンロッドの摺動方向の両端側を大径とするように湾曲形成された内面をもつリップ状筒部が設けられていることを特徴とするサーモスタット装置。
A thermal expansion body, which is provided in a cooling water passage of an internal combustion engine and thermally expands or contracts according to a temperature change of the cooling water, has a piston rod that slides due to thermal expansion and contraction of the thermal expansion body, and the thermal expansion body In the thermostat device that opens and closes the valve body by sliding the piston rod accompanying the volume change of
A flange-like member provided with a valve seat on the inner periphery of the opening, on which the valve body can be seated, has a minimum opening diameter portion and is curved so that both ends in the sliding direction of the piston rod have a large diameter. A thermostat device characterized in that a lip-shaped cylindrical portion having an inner surface is provided.
請求項1記載のサーモスタット装置において、
前記リップ状筒部は、フランジ状部材の開口部内周縁において周方向の一部を除いた部分に形成されていることを特徴とするサーモスタット装置。
The thermostat device according to claim 1,
The said lip-shaped cylinder part is formed in the part except the one part of the circumferential direction in the inner peripheral edge of the opening part of a flange-shaped member, The thermostat apparatus characterized by the above-mentioned.
内燃機関の冷却水路に設けられ、冷却水の温度変化により熱膨張または収縮する熱膨張体を内蔵し、この熱膨張体の熱膨張、収縮により摺動するピストンロッドを有し、前記熱膨張体の体積変化に伴う前記ピストンロッドの摺動により弁体の開閉を行うサーモスタット装置において、
前記熱膨張体を内蔵するとともに前記弁体を外周部に備えるサーモエレメントには、該サーモエレメントのピストンロッドの先端側を最小径とし弁体側を大径とするように湾曲形成されて前記弁体の弁座側の面に連続する外周面を有する整流用の筒状部が設けられていることを特徴とするサーモスタット装置。
A thermal expansion body, which is provided in a cooling water passage of an internal combustion engine and thermally expands or contracts according to a temperature change of the cooling water, has a piston rod that slides due to thermal expansion and contraction of the thermal expansion body, and the thermal expansion body In the thermostat device that opens and closes the valve body by sliding the piston rod accompanying the volume change of
The thermo element including the thermal expansion body and having the valve body at the outer peripheral portion is curved so that the tip end side of the piston rod of the thermo element has a minimum diameter and the valve body side has a large diameter. A thermostat device having a straightening cylindrical portion having an outer peripheral surface continuous with a valve seat side surface.
請求項3記載のサーモスタット装置において、
前記弁体の弁座側であって前記整流用の筒状部の外周部に連続する面が、流体の流れに直交する平面部と、その外周縁部分において流体の流れに沿ったテーパ部とによって構成され、
該平面部は、前記弁座の開口径の少なくとも半分以上の面積を占める大きさをもって形成されていることを特徴とするサーモスタット装置。
The thermostat device according to claim 3,
A surface on the valve seat side of the valve body and continuing to the outer peripheral portion of the straightening cylindrical portion is a plane portion orthogonal to the fluid flow, and a tapered portion along the fluid flow at the outer peripheral edge portion thereof. Composed by
The thermostat device is characterized in that the flat portion has a size that occupies an area of at least half of the opening diameter of the valve seat.
請求項3または請求項4記載のサーモスタット装置において、
前記整流用の筒状部は、前記弁体またはサーモエレメントを構成する部材の少なくともいずれか一方に一体に形成されていることを特徴とするサーモスタット装置。
The thermostat device according to claim 3 or 4,
The thermostat device is characterized in that the straightening cylindrical portion is integrally formed with at least one of the members constituting the valve body or the thermo element.
請求項3ないし請求項5のいずれか1項に記載のサーモスタット装置において、
前記弁体が着座可能に配置される弁座を開口部内周縁に備えるフランジ状部材には、最小開口径部分を有するとともに前記ピストンロッドの摺動方向の両端側を大径とするように湾曲形成された内面をもつリップ状筒部が設けられていることを特徴とするサーモスタット装置。
The thermostat device according to any one of claims 3 to 5,
A flange-like member provided with a valve seat on the inner periphery of the opening, on which the valve body can be seated, has a minimum opening diameter portion and is curved so that both ends in the sliding direction of the piston rod have a large diameter. A thermostat device characterized in that a lip-shaped cylindrical portion having an inner surface is provided.
JP2003360950A 2003-10-21 2003-10-21 Thermostat device Pending JP2005127361A (en)

Priority Applications (1)

Application Number Priority Date Filing Date Title
JP2003360950A JP2005127361A (en) 2003-10-21 2003-10-21 Thermostat device

Applications Claiming Priority (1)

Application Number Priority Date Filing Date Title
JP2003360950A JP2005127361A (en) 2003-10-21 2003-10-21 Thermostat device

Publications (1)

Publication Number Publication Date
JP2005127361A true JP2005127361A (en) 2005-05-19

Family

ID=34641112

Family Applications (1)

Application Number Title Priority Date Filing Date
JP2003360950A Pending JP2005127361A (en) 2003-10-21 2003-10-21 Thermostat device

Country Status (1)

Country Link
JP (1) JP2005127361A (en)

Cited By (1)

* Cited by examiner, † Cited by third party
Publication number Priority date Publication date Assignee Title
JP2010084743A (en) * 2008-10-02 2010-04-15 Fuji Seiko Kk Thermostat device

Cited By (1)

* Cited by examiner, † Cited by third party
Publication number Priority date Publication date Assignee Title
JP2010084743A (en) * 2008-10-02 2010-04-15 Fuji Seiko Kk Thermostat device

Similar Documents

Publication Publication Date Title
JP4400909B2 (en) Thermostat device
US6401670B2 (en) Device for regulating the temperature of oil
CA2369239C (en) Thermostat device
US8534569B2 (en) Cooling device for vehicle
US10876463B2 (en) Apparatus and method for controlling flow rate of engine coolant by use of a thermostat
JP5164323B2 (en) Thermostat device
JPS5884276A (en) Valve controlled by means of thermostat in refrigerant circulating path of internal combustion engine cooled by fluid
JP2005330920A (en) Thermostat device
JP4498636B2 (en) Thermostat device
JP3928945B2 (en) Thermostat for dual cooling system
JP2013241918A (en) Thermostat device
JP6572879B2 (en) Cooling device for internal combustion engine
KR20200059549A (en) Electronic thermostat capable of split cooling of engine and engine cooling system using the same
JP2010121455A (en) Thermally-actuated valve gear
JP2009222217A (en) Thermovalve and heat transfer medium circuit with the thermovalve
JP2009264592A (en) Thermostat device
JP2012117485A (en) Cooling device for internal combustion engine
JP2016138513A (en) engine
JP2005127361A (en) Thermostat device
KR100681471B1 (en) Thermostat
JP7393370B2 (en) thermostat device
WO2019066758A1 (en) A thermostat assembly with an improved bypass control
JP2005127142A (en) Thermostat device
JP2019152130A (en) Cooling system of internal combustion engine
JP2010121456A (en) Engine cooling system