JP2004287117A - ラマン増幅装置 - Google Patents
ラマン増幅装置 Download PDFInfo
- Publication number
- JP2004287117A JP2004287117A JP2003079348A JP2003079348A JP2004287117A JP 2004287117 A JP2004287117 A JP 2004287117A JP 2003079348 A JP2003079348 A JP 2003079348A JP 2003079348 A JP2003079348 A JP 2003079348A JP 2004287117 A JP2004287117 A JP 2004287117A
- Authority
- JP
- Japan
- Prior art keywords
- connector
- fiber
- light source
- light
- raman amplifier
- Prior art date
- Legal status (The legal status is an assumption and is not a legal conclusion. Google has not performed a legal analysis and makes no representation as to the accuracy of the status listed.)
- Pending
Links
Images
Landscapes
- Optical Modulation, Optical Deflection, Nonlinear Optics, Optical Demodulation, Optical Logic Elements (AREA)
- Lasers (AREA)
Abstract
【課題】本願発明の課題はラマン増幅器(10)に関し,特にそれを用いた波長多重伝送システム装置において特にファイバコネクタ(1)状態のモニタを時間と手間をかけずに,さらにコネクタ(1)のつなぎ換えなしでモニタを可能とすること。
【解決手段】本願発明の代表的な形態は,ラマン増幅器(10)を用いた光伝送システム内で使用するラマン励起光源(3)をパルス発生器(9)でパルス変調させて,コネクタ(1),ファイバ(4)で散乱されて戻ってくる反射光を測定する。さらにコネクタ(1),ファイバ(4)で異常反射が検出された場合,警報発生回路(12)より警報信号を出力し,ラマン励起光源(3)のシャットダウンを行う。
【選択図】 図6
【解決手段】本願発明の代表的な形態は,ラマン増幅器(10)を用いた光伝送システム内で使用するラマン励起光源(3)をパルス発生器(9)でパルス変調させて,コネクタ(1),ファイバ(4)で散乱されて戻ってくる反射光を測定する。さらにコネクタ(1),ファイバ(4)で異常反射が検出された場合,警報発生回路(12)より警報信号を出力し,ラマン励起光源(3)のシャットダウンを行う。
【選択図】 図6
Description
【0001】
【発明の属する技術分野】
本発明はラマン増幅器に関し,特にそれを用いた光伝送システム装置におけるファイバ,かつ,コネクタの状態をモニタする手法及びそれに伴う装置制御手法に関する。
【0002】
【従来の技術】
光伝送システムの伝送容量を向上させる手段として複数の情報を複数波長の光で伝送する,波長多重 (WDM : Wavelength Division Multiplexing) 伝送システムが注目されている。WDMシステムは,エルビウム添加ファイバ増幅器 (EDFA : Erbium‐Doped Fiber Amplifier) を採用することにより長距離大容量伝送を実現させた。
しかしながら,EDFAを用いた光伝送システムでは,大容量化,長距離化それぞれの要求に対して以下の課題に直面している。まず,大容量化の課題はEDFAの増幅帯域がCバンド (1530〜1565nm) 及びLバンド (1565〜1625nm) に制限されてしまう事である。近年エルビウム以外のドーパントを用いることにより,例えばSバンド (1460〜1530nm) で光増幅することも検討されているが,まだ実用段階ではない。もう一つの長距離化における課題は,伝送距離及び中継間隔がEDFAで発生するASEの累積に伴うSNR劣化により制限されてしまう事である。
【0003】
これらの問題点を解決する技術として,ラマン増幅器(10)が検討されている。ラマン増幅器(10)の構成を図1に示す。(Hiroshi NAKAMOTO, et.al, ”1.05Tbit/s WDM Transmission over 8,186km Using Distributed Raman Amplifier Repeaters”, Optical Fiber Conference 2001, Paper.TuF6参照)ラマン増幅器(10)は,ラマン励起光源(3),ファイバ(4),コネクタ(1),励起光用WDMカプラ(2)から構成される。上記の文献のラマン増幅器(10)の構成ではコネクタ(1)が記されていないが,一般的にファイバ(4)とラマン励起光源(3)は脱着可能なコネクタ(1)で接続されている。ラマン励起光源(3)をファイバ(4)に入射すると,そのうちの一部がガラス分子の光学フォノンを励起する事によりエネルギーを失い,その分だけ長い波長への光と変換される。この状態で信号光を入射すると,信号光が増幅されて出力する。このラマン増幅器(10)は,ファイバ(4)の後方からラマン励起光源(3)の光出力数百mW〜1W程度を入射させる事で実現する。このように,ラマン増幅器(10)は非線形現象を利用する為,既存の光ファイバをそのまま用いる事ができるという利点を持つ。また,伝送路中にて長い距離にわたり増幅を行うため,信号雑音比(SNR)改善可能となり,伝送距離,中継間隔を伸ばす事が可能となる。また,システムの低コスト化にも有効でありWDMシステムの応用においてメリットが大きい。
【0004】
【発明が解決しようとしている課題】
しかしながら,ラマン増幅器(10)では励起光源からの光出力が数百mW〜1W程度に達する為,その高出力な光パワーにより装置と装置の接続部のコネクタ(1)を破損するという問題が生じる。コネクタ(1)の端面は通常接続前には洗浄することが推奨されているが,充分な洗浄がされていなかった場合,洗浄しても汚れがとれなかった場合,あるいは洗浄後に汚れてしまった場合には,コネクタ(1)に汚れ(主に有機物)が付着したままとなり,この状態のままラマン増幅器(10)を立ち上げると,ラマン励起光がこのコネクタ(1)上の汚れに吸収され発熱し,コネクタ(1)接続点の温度が上昇してコネクタ(1)端面が融解する恐れがある。コネクタ(1)が融解してしまった場合にはコネクタ(1)をつけかえる為に新規の作業が必要となり,また,コネクタ(1)の付替えに伴う過剰損失も発生する。また,一般にファイバ(4)と装置の保有者あるいは装置ベンダが同一であるとは限らず,伝送路側のコネクタ(1)を破損した場合には,容易にコネクタ(1)の交換が可能とならない場合もある。
【0005】
また,高出力な光パワーの励起光源が通過するファイバ(4)が何らかの原因で急激に曲げられた場合においても励起光の入射角が変化して臨界角以上の光が放射されてしまい,その放射光がファイバ(4)を保護しているファイバジャケットにもれ,励起光が吸収され発熱し,融解する恐れもある。ファイバ(4)が融解してしまった場合にはファイバ(4)を入れ替える為に新規の作業が必要となる。また,コネクタ(1)と同様に一般にファイバ(4)と装置の保有者あるいは装置ベンダが同一であるとは限らず,容易にファイバ交換が可能とならない場合もある。
【0006】
このような問題を解決するためにoptical time−domain reflectometers(以下,OTDRと記す)という伝送路中の反射状態をモニタする測定機を用いて,装置接続前にあらかじめコネクタ(1)において異常な反射が生じていないことを測定して,汚れが付着していないことを確認する手法が考えられる。OTDRは光ファイバを時間の領域で評価する事ができ,光ファイバ内で生じる後方散乱光を測定している。後方散乱光は,レイリー散乱およびフレネル反射によって発生する。レイリー散乱は,ファイバを製造する際に発生する材料の密度などの変化から発生する。フレネルの反射は,接続点,スプライス,ファイバの端での屈折率の変化によって発生する。従って,レイリー散乱光とフレネル反射光の一部が後方散乱光としてファイバの入り口に戻ってくる。
【0007】
OTDR装置(11)内は,図2に示すような構成である。パルス発生器(9)により駆動されたOTDR光源(8)からは短パルス光が発生し,同短パルス光はファイバ(4)に入射する。ファイバ(4)におけるレイリー散乱光及びコネクタ(1)におけるフレネル反射光の一部が後方散乱光となって戻ってくる。また,同後方散乱光をフォトダイード(6)(以下PDと記す)へ導く。PD(6)からの信号は,増幅されるが,増幅後においても,検出される光は弱いパワで行うため,繰りかえし同じ測定をおこなう。パワーの損失を測定し,測定結果を波形観測モニタ(7)で観測する。
【0008】
観測される結果は,図3に示すように横軸が距離,縦軸がパワ値で表示される。入力光も後方散乱光も距離が進むと減衰していく状態となる。もし,コネクタ(1)またはファイバ(4)に異常があると,急激な屈折率変化によるフレネル反射が生じる。後方散乱光やフレネル反射光は反射点からの距離に比例した遅延時間で入射端に戻ってくる。戻ってきた光パワの時間変化を測定する事によって,それぞれのコネクタ(1)の状態を監視する事が可能になる。ラマン増幅装置の運用前にこのOTDR装置(11)を接続して異常反射の有無を測定することにより,異常反射点でのラマン励起光吸収によるコネクタ(1)端面,かつ,励起光が通過するファイバ(4)での融解,燃焼は回避可能となる。
【0009】
OTDR装置(11)を接続して異常反射の有無を測定する構成を図4に示す。しかしながら,一般にOTDR装置(11)は高価であるため,全ラマン増幅器(10)に1台ずつ設置することはシステムのトータルコストの観点から,事実上不可能であり,各増幅器毎に順次測定する方法が現実的である。
よってOTDR装置(11)は常時接続でなく,コネクタ(1)接続点でラマン増幅器(10)とOTDR装置(11)をつなぎ換えて接続する形態となる。そのような測定形態となるため,OTDR装置(11)で異常反射の有無の測定をした後,ラマン増幅器(10)につなぎ換える際にコネクタ(1)にゴミが付着する恐れがある。
さらにサイトとサイトは一般に数十km程度離れた場所にあるため,長距離伝送システムで全サイトを順次測定して汚れがないことを確認するためには,膨大な時間を必要としてしまい,装置インストール工程が長期間化してしまう問題もある。
【0010】
【課題を解決するための手段】
かかる問題に対して本発明が提供する構成は,ファイバ(4)と,前記ファイバ(4)を励起する少なくとも1台の励起光源と,前記励起光源からの出力励起光と信号光を合波する為の合波器とから構成されるラマン増幅器(10)において,前記光ファイバからの反射光を分岐するための光カプラ(5)またはサーキュレーターを前記励起光源と前記合波器の間に設け,かつ,前励起光源をパルス変調するためにパルス発生器(9)を接続し,かつ,前記光カプラ(5)またはサーキュレーターの端子に励起反射光用のフォトダイオードを設け,かつ,フォトダイオードの出力を処理する波形観測モニタ(7)を設ける装置構成とし,伝送路からの反射光をモニタすることを特徴とするラマン増幅装置である。
【0011】
また,外部に警報発生回路(12)を付ける事により,波形観測モニタ(7)からの出力値により,ファイバコネクタやファイバにおける異常反射光を検出して,異常警報を出力するラマン増幅装置を実現する。
【0012】
さらに,励起光源電源制御回路(13)を付ける事より警報発生回路(12)からの信号に応じて励起光源電源を制御するラマン増幅装置を実現する。
【0013】
【発明の実施の形態】
本発明の第1の実施例を図5を用いて説明する。図5に示す伝送システムは,励起光用WDMカプラ(2),ラマン励起光源(3),光カプラ(5),PD(6),パルス発生器(9),波形観測モニタ(7)で構成されている。本発明では,光伝送システム内で使用する,ラマン励起光源(3)をパルスに変えて,ファイバ(4)中へ光を入射させる。ファイバ(4)にて光パルスはレイリー散乱し,その一部が逆方向に伝播し,後方散乱光となって戻ってくる。戻ってきた光は,光カプラ(5)によってPD(6)へ到達する。その測定結果を波形観測モニタ(7)で観測し,伝送路からの反射光,及びコネクタ(1)での吸収を検出する。
【0014】
具体例として,励起波長1450nmのラマン励起光源(3)をパルス幅2.5μsで変調し,APD(Avalanche Photo Diode)で受光した場合の受信波形を図8に示す。横軸は励起光源からの距離,縦軸は戻り光レベルを示す。受光パワーが右下りの傾斜となるのはファイバ損失によるものである。また,コネクタ(1)における波形のギャップは,フレネル反射によるものである。Aはコネクタ(1)の清掃を充分行い接続を行った状態,Bはコネクタ(1)で吸収が存在した場合である。Bではコネクタ(1)で異常が起こったため,コネクタ(1)後では,光パワ値が1.0dB減衰している状態が観察できる。この結果から,本発明によりコネクタ(1)の異常反射と判断した場合には,警報信号を出力する制御,あるいは増幅器をシャットダウンする制御を行う事で装置内の安全性を高める事ができる。
【0015】
また,本発明では光伝送システム内で使用する,ラマン励起光源をパルス変調させて,コネクタ(1)の反射を検出しているため,サイト毎に測定器を設置する手間と順次測定する膨大な時間が減る利点がある。そのため,インストール工程の時間短縮など,OTDR装置(11)を設置しての測定より低コストで実現する事が可能となる。
また,上記の例では市中や海底に敷設したファイバ(4)をラマン増幅器(10)の利得媒質として用いる,分布増幅型ラマン増幅器の場合について述べたが,受信機または送信機内に設定された通常コイル状に巻き取られた数kmから数百kmのラマンファイバとよばれる光ファイバで構成されている集中増幅器方ラマン増幅器においても本発明は実施可能である。
【0016】
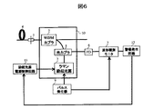
さらに本発明の第2の実施例を図6を用いて説明する。図6に示す伝送システムは,外部に警報発生回路(12)を付けているため,伝送路からの反射光のモニタした出力値の結果からコネクタ(1),ファイバ(4)における異常反射光を検出した場合には異常警報を出力し,その警報出力信号をラマン励起光源(3)の励起光源電源制御回路(13)に送り,前励起光源の電源を制御し,前励起光の出力をシャットダウンさせ,装置内の信頼性を向上させる事が可能となる。
【0017】
【発明の効果】
以上説明してきたように,本発明によれば,高価なOTDR装置(11)を必要とせず,低コストな構成で,伝送路からの反射光をモニタすることにより,コネクタ(1),ファイバ(4)における異常反射光を検出して,外部に異常警報を出力,あるいは前記励起光の出力をシャットダウンすることが実現可能となり,さらに装置内の安全性・信頼性を高めることが可能となる。
【図面の簡単な説明】
【図1】ラマン増幅器。
【図2】OTDR装置内の構成。
【図3】OTDR測定結果の例。
【図4】従来のOTDR装置を使用したコネクタ接続点の状態をモニタ手段。
【図5】本発明の第1実施例を示す構成図。
【図6】本発明の第2実施例を示す構成図。
【図7】本発明による実施例の結果。
【符号の説明】
1 コネクタ
2 励起光用WDMカプラ
3 ラマン励起光源
4 ファイバ
5 光カプラ
6 PD
7 波形観測モニタ
8 OTDR光源
9 パルス発生器
10 ラマン増幅器
11 OTDR装置
12 警報発生回路
13 励起光源電源制御回路。
【発明の属する技術分野】
本発明はラマン増幅器に関し,特にそれを用いた光伝送システム装置におけるファイバ,かつ,コネクタの状態をモニタする手法及びそれに伴う装置制御手法に関する。
【0002】
【従来の技術】
光伝送システムの伝送容量を向上させる手段として複数の情報を複数波長の光で伝送する,波長多重 (WDM : Wavelength Division Multiplexing) 伝送システムが注目されている。WDMシステムは,エルビウム添加ファイバ増幅器 (EDFA : Erbium‐Doped Fiber Amplifier) を採用することにより長距離大容量伝送を実現させた。
しかしながら,EDFAを用いた光伝送システムでは,大容量化,長距離化それぞれの要求に対して以下の課題に直面している。まず,大容量化の課題はEDFAの増幅帯域がCバンド (1530〜1565nm) 及びLバンド (1565〜1625nm) に制限されてしまう事である。近年エルビウム以外のドーパントを用いることにより,例えばSバンド (1460〜1530nm) で光増幅することも検討されているが,まだ実用段階ではない。もう一つの長距離化における課題は,伝送距離及び中継間隔がEDFAで発生するASEの累積に伴うSNR劣化により制限されてしまう事である。
【0003】
これらの問題点を解決する技術として,ラマン増幅器(10)が検討されている。ラマン増幅器(10)の構成を図1に示す。(Hiroshi NAKAMOTO, et.al, ”1.05Tbit/s WDM Transmission over 8,186km Using Distributed Raman Amplifier Repeaters”, Optical Fiber Conference 2001, Paper.TuF6参照)ラマン増幅器(10)は,ラマン励起光源(3),ファイバ(4),コネクタ(1),励起光用WDMカプラ(2)から構成される。上記の文献のラマン増幅器(10)の構成ではコネクタ(1)が記されていないが,一般的にファイバ(4)とラマン励起光源(3)は脱着可能なコネクタ(1)で接続されている。ラマン励起光源(3)をファイバ(4)に入射すると,そのうちの一部がガラス分子の光学フォノンを励起する事によりエネルギーを失い,その分だけ長い波長への光と変換される。この状態で信号光を入射すると,信号光が増幅されて出力する。このラマン増幅器(10)は,ファイバ(4)の後方からラマン励起光源(3)の光出力数百mW〜1W程度を入射させる事で実現する。このように,ラマン増幅器(10)は非線形現象を利用する為,既存の光ファイバをそのまま用いる事ができるという利点を持つ。また,伝送路中にて長い距離にわたり増幅を行うため,信号雑音比(SNR)改善可能となり,伝送距離,中継間隔を伸ばす事が可能となる。また,システムの低コスト化にも有効でありWDMシステムの応用においてメリットが大きい。
【0004】
【発明が解決しようとしている課題】
しかしながら,ラマン増幅器(10)では励起光源からの光出力が数百mW〜1W程度に達する為,その高出力な光パワーにより装置と装置の接続部のコネクタ(1)を破損するという問題が生じる。コネクタ(1)の端面は通常接続前には洗浄することが推奨されているが,充分な洗浄がされていなかった場合,洗浄しても汚れがとれなかった場合,あるいは洗浄後に汚れてしまった場合には,コネクタ(1)に汚れ(主に有機物)が付着したままとなり,この状態のままラマン増幅器(10)を立ち上げると,ラマン励起光がこのコネクタ(1)上の汚れに吸収され発熱し,コネクタ(1)接続点の温度が上昇してコネクタ(1)端面が融解する恐れがある。コネクタ(1)が融解してしまった場合にはコネクタ(1)をつけかえる為に新規の作業が必要となり,また,コネクタ(1)の付替えに伴う過剰損失も発生する。また,一般にファイバ(4)と装置の保有者あるいは装置ベンダが同一であるとは限らず,伝送路側のコネクタ(1)を破損した場合には,容易にコネクタ(1)の交換が可能とならない場合もある。
【0005】
また,高出力な光パワーの励起光源が通過するファイバ(4)が何らかの原因で急激に曲げられた場合においても励起光の入射角が変化して臨界角以上の光が放射されてしまい,その放射光がファイバ(4)を保護しているファイバジャケットにもれ,励起光が吸収され発熱し,融解する恐れもある。ファイバ(4)が融解してしまった場合にはファイバ(4)を入れ替える為に新規の作業が必要となる。また,コネクタ(1)と同様に一般にファイバ(4)と装置の保有者あるいは装置ベンダが同一であるとは限らず,容易にファイバ交換が可能とならない場合もある。
【0006】
このような問題を解決するためにoptical time−domain reflectometers(以下,OTDRと記す)という伝送路中の反射状態をモニタする測定機を用いて,装置接続前にあらかじめコネクタ(1)において異常な反射が生じていないことを測定して,汚れが付着していないことを確認する手法が考えられる。OTDRは光ファイバを時間の領域で評価する事ができ,光ファイバ内で生じる後方散乱光を測定している。後方散乱光は,レイリー散乱およびフレネル反射によって発生する。レイリー散乱は,ファイバを製造する際に発生する材料の密度などの変化から発生する。フレネルの反射は,接続点,スプライス,ファイバの端での屈折率の変化によって発生する。従って,レイリー散乱光とフレネル反射光の一部が後方散乱光としてファイバの入り口に戻ってくる。
【0007】
OTDR装置(11)内は,図2に示すような構成である。パルス発生器(9)により駆動されたOTDR光源(8)からは短パルス光が発生し,同短パルス光はファイバ(4)に入射する。ファイバ(4)におけるレイリー散乱光及びコネクタ(1)におけるフレネル反射光の一部が後方散乱光となって戻ってくる。また,同後方散乱光をフォトダイード(6)(以下PDと記す)へ導く。PD(6)からの信号は,増幅されるが,増幅後においても,検出される光は弱いパワで行うため,繰りかえし同じ測定をおこなう。パワーの損失を測定し,測定結果を波形観測モニタ(7)で観測する。
【0008】
観測される結果は,図3に示すように横軸が距離,縦軸がパワ値で表示される。入力光も後方散乱光も距離が進むと減衰していく状態となる。もし,コネクタ(1)またはファイバ(4)に異常があると,急激な屈折率変化によるフレネル反射が生じる。後方散乱光やフレネル反射光は反射点からの距離に比例した遅延時間で入射端に戻ってくる。戻ってきた光パワの時間変化を測定する事によって,それぞれのコネクタ(1)の状態を監視する事が可能になる。ラマン増幅装置の運用前にこのOTDR装置(11)を接続して異常反射の有無を測定することにより,異常反射点でのラマン励起光吸収によるコネクタ(1)端面,かつ,励起光が通過するファイバ(4)での融解,燃焼は回避可能となる。
【0009】
OTDR装置(11)を接続して異常反射の有無を測定する構成を図4に示す。しかしながら,一般にOTDR装置(11)は高価であるため,全ラマン増幅器(10)に1台ずつ設置することはシステムのトータルコストの観点から,事実上不可能であり,各増幅器毎に順次測定する方法が現実的である。
よってOTDR装置(11)は常時接続でなく,コネクタ(1)接続点でラマン増幅器(10)とOTDR装置(11)をつなぎ換えて接続する形態となる。そのような測定形態となるため,OTDR装置(11)で異常反射の有無の測定をした後,ラマン増幅器(10)につなぎ換える際にコネクタ(1)にゴミが付着する恐れがある。
さらにサイトとサイトは一般に数十km程度離れた場所にあるため,長距離伝送システムで全サイトを順次測定して汚れがないことを確認するためには,膨大な時間を必要としてしまい,装置インストール工程が長期間化してしまう問題もある。
【0010】
【課題を解決するための手段】
かかる問題に対して本発明が提供する構成は,ファイバ(4)と,前記ファイバ(4)を励起する少なくとも1台の励起光源と,前記励起光源からの出力励起光と信号光を合波する為の合波器とから構成されるラマン増幅器(10)において,前記光ファイバからの反射光を分岐するための光カプラ(5)またはサーキュレーターを前記励起光源と前記合波器の間に設け,かつ,前励起光源をパルス変調するためにパルス発生器(9)を接続し,かつ,前記光カプラ(5)またはサーキュレーターの端子に励起反射光用のフォトダイオードを設け,かつ,フォトダイオードの出力を処理する波形観測モニタ(7)を設ける装置構成とし,伝送路からの反射光をモニタすることを特徴とするラマン増幅装置である。
【0011】
また,外部に警報発生回路(12)を付ける事により,波形観測モニタ(7)からの出力値により,ファイバコネクタやファイバにおける異常反射光を検出して,異常警報を出力するラマン増幅装置を実現する。
【0012】
さらに,励起光源電源制御回路(13)を付ける事より警報発生回路(12)からの信号に応じて励起光源電源を制御するラマン増幅装置を実現する。
【0013】
【発明の実施の形態】
本発明の第1の実施例を図5を用いて説明する。図5に示す伝送システムは,励起光用WDMカプラ(2),ラマン励起光源(3),光カプラ(5),PD(6),パルス発生器(9),波形観測モニタ(7)で構成されている。本発明では,光伝送システム内で使用する,ラマン励起光源(3)をパルスに変えて,ファイバ(4)中へ光を入射させる。ファイバ(4)にて光パルスはレイリー散乱し,その一部が逆方向に伝播し,後方散乱光となって戻ってくる。戻ってきた光は,光カプラ(5)によってPD(6)へ到達する。その測定結果を波形観測モニタ(7)で観測し,伝送路からの反射光,及びコネクタ(1)での吸収を検出する。
【0014】
具体例として,励起波長1450nmのラマン励起光源(3)をパルス幅2.5μsで変調し,APD(Avalanche Photo Diode)で受光した場合の受信波形を図8に示す。横軸は励起光源からの距離,縦軸は戻り光レベルを示す。受光パワーが右下りの傾斜となるのはファイバ損失によるものである。また,コネクタ(1)における波形のギャップは,フレネル反射によるものである。Aはコネクタ(1)の清掃を充分行い接続を行った状態,Bはコネクタ(1)で吸収が存在した場合である。Bではコネクタ(1)で異常が起こったため,コネクタ(1)後では,光パワ値が1.0dB減衰している状態が観察できる。この結果から,本発明によりコネクタ(1)の異常反射と判断した場合には,警報信号を出力する制御,あるいは増幅器をシャットダウンする制御を行う事で装置内の安全性を高める事ができる。
【0015】
また,本発明では光伝送システム内で使用する,ラマン励起光源をパルス変調させて,コネクタ(1)の反射を検出しているため,サイト毎に測定器を設置する手間と順次測定する膨大な時間が減る利点がある。そのため,インストール工程の時間短縮など,OTDR装置(11)を設置しての測定より低コストで実現する事が可能となる。
また,上記の例では市中や海底に敷設したファイバ(4)をラマン増幅器(10)の利得媒質として用いる,分布増幅型ラマン増幅器の場合について述べたが,受信機または送信機内に設定された通常コイル状に巻き取られた数kmから数百kmのラマンファイバとよばれる光ファイバで構成されている集中増幅器方ラマン増幅器においても本発明は実施可能である。
【0016】
さらに本発明の第2の実施例を図6を用いて説明する。図6に示す伝送システムは,外部に警報発生回路(12)を付けているため,伝送路からの反射光のモニタした出力値の結果からコネクタ(1),ファイバ(4)における異常反射光を検出した場合には異常警報を出力し,その警報出力信号をラマン励起光源(3)の励起光源電源制御回路(13)に送り,前励起光源の電源を制御し,前励起光の出力をシャットダウンさせ,装置内の信頼性を向上させる事が可能となる。
【0017】
【発明の効果】
以上説明してきたように,本発明によれば,高価なOTDR装置(11)を必要とせず,低コストな構成で,伝送路からの反射光をモニタすることにより,コネクタ(1),ファイバ(4)における異常反射光を検出して,外部に異常警報を出力,あるいは前記励起光の出力をシャットダウンすることが実現可能となり,さらに装置内の安全性・信頼性を高めることが可能となる。
【図面の簡単な説明】
【図1】ラマン増幅器。
【図2】OTDR装置内の構成。
【図3】OTDR測定結果の例。
【図4】従来のOTDR装置を使用したコネクタ接続点の状態をモニタ手段。
【図5】本発明の第1実施例を示す構成図。
【図6】本発明の第2実施例を示す構成図。
【図7】本発明による実施例の結果。
【符号の説明】
1 コネクタ
2 励起光用WDMカプラ
3 ラマン励起光源
4 ファイバ
5 光カプラ
6 PD
7 波形観測モニタ
8 OTDR光源
9 パルス発生器
10 ラマン増幅器
11 OTDR装置
12 警報発生回路
13 励起光源電源制御回路。
Claims (3)
- 光ファイバと,前記光ファイバを励起する少なくとも1台の励起光源と,前記励起光源からの出力励起光と信号光を合波する為の合波器とから構成されるラマン増幅器において,前記光ファイバの反射光を分岐するための光カプラまたはサーキュレーターを前記励起光源と前記合波器の間に設け,かつ,前励起光源をパルス変調するためにパルス発生器を接続し,かつ,前記光カプラまたはサーキュレーターの端子に励起反射光用のフォトダイオードを設け,かつ,フォトダイオードの出力を処理する波形観測モニタ回路を設ける装置構成とし,伝送路からの反射光をモニタすることを特徴とするラマン増幅装置。
- 請求項1のラマン増幅装置において,波形観測モニタ回路からの出力値より,コネクタやファイバにおける異常反射光を検出して,外部に警報発生回路を付ける事により異常警報を出力することを特徴とするラマン増幅装置。
- 請求項2のラマン増幅装置において,警報出力信号より励起光源の電源を制御することを特徴とするラマン増幅装置。
Priority Applications (1)
| Application Number | Priority Date | Filing Date | Title |
|---|---|---|---|
| JP2003079348A JP2004287117A (ja) | 2003-03-24 | 2003-03-24 | ラマン増幅装置 |
Applications Claiming Priority (1)
| Application Number | Priority Date | Filing Date | Title |
|---|---|---|---|
| JP2003079348A JP2004287117A (ja) | 2003-03-24 | 2003-03-24 | ラマン増幅装置 |
Publications (1)
| Publication Number | Publication Date |
|---|---|
| JP2004287117A true JP2004287117A (ja) | 2004-10-14 |
Family
ID=33293479
Family Applications (1)
| Application Number | Title | Priority Date | Filing Date |
|---|---|---|---|
| JP2003079348A Pending JP2004287117A (ja) | 2003-03-24 | 2003-03-24 | ラマン増幅装置 |
Country Status (1)
| Country | Link |
|---|---|
| JP (1) | JP2004287117A (ja) |
Cited By (1)
| Publication number | Priority date | Publication date | Assignee | Title |
|---|---|---|---|---|
| JP2012185235A (ja) * | 2011-03-03 | 2012-09-27 | Hitachi Ltd | 光通信用モジュール及び光ファイバ通信システム |
-
2003
- 2003-03-24 JP JP2003079348A patent/JP2004287117A/ja active Pending
Cited By (1)
| Publication number | Priority date | Publication date | Assignee | Title |
|---|---|---|---|---|
| JP2012185235A (ja) * | 2011-03-03 | 2012-09-27 | Hitachi Ltd | 光通信用モジュール及び光ファイバ通信システム |
Similar Documents
| Publication | Publication Date | Title |
|---|---|---|
| RU2464542C2 (ru) | Обнаружение нарушения фазы света, распространяющегося в оптическом волноводе | |
| US10374704B2 (en) | Raman amplifier system and method with integrated optical time domain reflectometer | |
| US6519026B1 (en) | Optical time-domain reflectometer (OTDR) | |
| CN110440851B (zh) | 基于布里渊和拉曼散射的长距离多参量测量装置及方法 | |
| CN107483106B (zh) | 一种在线的光时域反射仪结构、检测系统和检测方法 | |
| JP3587176B2 (ja) | ラマン増幅器及びラマン増幅方法 | |
| JP2957696B2 (ja) | 光学的時間ドメイン反射計 | |
| JP3411436B2 (ja) | 光通信線路の監視方法 | |
| CN106105061A (zh) | 一种利用拉曼泵浦激光源实现不中断业务的光时域反射计装置 | |
| CN103152097A (zh) | 一种采用随机激光放大的长距离偏振及相位敏感光时域反射计 | |
| US6687426B1 (en) | Out of band fiber characterization using optical amplifier light sources | |
| KR100264973B1 (ko) | 광증폭기가 포함된 광전송시스템에서의 광선로 감시 장치 | |
| JP4318938B2 (ja) | 接続損失検出機能を備えた光増幅器 | |
| JP2005260700A (ja) | 光ファイバ増幅器とそれに接続された伝送用光ファイバのコネクタ外れ検出方法、光ファイバ増幅器及び光ファイバ増幅器とそれに接続された伝送用光ファイバ | |
| Yuksel et al. | Centralised optical monitoring of tree-structured passive optical networks using a Raman-assisted OTDR | |
| US20050196175A1 (en) | Method and apparatus for obtaining status information concerning an in-service optical transmission line | |
| JP2004287117A (ja) | ラマン増幅装置 | |
| US20060159464A1 (en) | Method and apparatus for in-service monitoring of a regional undersea optical transmission system using COTDR | |
| WO2005074660A2 (en) | Method and apparatus for in-service monitoring of a regional undersea optical transmission system using cotdr | |
| Yu et al. | Research on ultra long range Φ-OTDR distributed vibration measuring system based on ROPA technology | |
| US20250020492A1 (en) | Apparatus for the spatially resolved measurement of a physical variable | |
| TWI855442B (zh) | 一種混合布里淵光時域分析法與相位靈敏光時域反射法之分佈式光纖感測系統 | |
| Chen et al. | Multi point strain and temperature sensing based on Brillouin optical time domain reflectometry | |
| CN118129807A (zh) | 一种混合式分布式光纤感测系统 | |
| JPH0663908B2 (ja) | 光パルス試験装置 |