JP2004265156A - パスワード専用icカードによる電子決済における認証方式 - Google Patents
パスワード専用icカードによる電子決済における認証方式 Download PDFInfo
- Publication number
- JP2004265156A JP2004265156A JP2003055067A JP2003055067A JP2004265156A JP 2004265156 A JP2004265156 A JP 2004265156A JP 2003055067 A JP2003055067 A JP 2003055067A JP 2003055067 A JP2003055067 A JP 2003055067A JP 2004265156 A JP2004265156 A JP 2004265156A
- Authority
- JP
- Japan
- Prior art keywords
- card
- password
- payment
- authentication
- dedicated
- Prior art date
- Legal status (The legal status is an assumption and is not a legal conclusion. Google has not performed a legal analysis and makes no representation as to the accuracy of the status listed.)
- Pending
Links
Images
Classifications
-
- G—PHYSICS
- G07—CHECKING-DEVICES
- G07F—COIN-FREED OR LIKE APPARATUS
- G07F7/00—Mechanisms actuated by objects other than coins to free or to actuate vending, hiring, coin or paper currency dispensing or refunding apparatus
- G07F7/08—Mechanisms actuated by objects other than coins to free or to actuate vending, hiring, coin or paper currency dispensing or refunding apparatus by coded identity card or credit card or other personal identification means
- G07F7/10—Mechanisms actuated by objects other than coins to free or to actuate vending, hiring, coin or paper currency dispensing or refunding apparatus by coded identity card or credit card or other personal identification means together with a coded signal, e.g. in the form of personal identification information, like personal identification number [PIN] or biometric data
- G07F7/1008—Active credit-cards provided with means to personalise their use, e.g. with PIN-introduction/comparison system
-
- G—PHYSICS
- G06—COMPUTING OR CALCULATING; COUNTING
- G06F—ELECTRIC DIGITAL DATA PROCESSING
- G06F21/00—Security arrangements for protecting computers, components thereof, programs or data against unauthorised activity
- G06F21/30—Authentication, i.e. establishing the identity or authorisation of security principals
- G06F21/31—User authentication
- G06F21/34—User authentication involving the use of external additional devices, e.g. dongles or smart cards
-
- G—PHYSICS
- G07—CHECKING-DEVICES
- G07F—COIN-FREED OR LIKE APPARATUS
- G07F7/00—Mechanisms actuated by objects other than coins to free or to actuate vending, hiring, coin or paper currency dispensing or refunding apparatus
- G07F7/08—Mechanisms actuated by objects other than coins to free or to actuate vending, hiring, coin or paper currency dispensing or refunding apparatus by coded identity card or credit card or other personal identification means
- G07F7/10—Mechanisms actuated by objects other than coins to free or to actuate vending, hiring, coin or paper currency dispensing or refunding apparatus by coded identity card or credit card or other personal identification means together with a coded signal, e.g. in the form of personal identification information, like personal identification number [PIN] or biometric data
- G07F7/1025—Identification of user by a PIN code
Landscapes
- Engineering & Computer Science (AREA)
- Physics & Mathematics (AREA)
- General Physics & Mathematics (AREA)
- Computer Security & Cryptography (AREA)
- Theoretical Computer Science (AREA)
- Computer Hardware Design (AREA)
- Software Systems (AREA)
- General Engineering & Computer Science (AREA)
- Financial Or Insurance-Related Operations Such As Payment And Settlement (AREA)
- Credit Cards Or The Like (AREA)
Abstract
【課題】ICカードの全ての決済にパスワードを使用することが出来、ICカードの紛失や盗難で不正使用されないようにすることと、使用者がパスワードを記憶することなく又手入力を不要とすることを目的とする。
【解決手段】ICカードの機能をパスワードに限定したパスワード専用ICカードとし、決済用ICカード使用時に決済用ICカードとパスワード専用ICカードとの間で予め双方に設定されたパスワードの自動認証を行わせることにより、決済用ICカードによる電子決済の安全性を高めている。
【選択図】 図3
【解決手段】ICカードの機能をパスワードに限定したパスワード専用ICカードとし、決済用ICカード使用時に決済用ICカードとパスワード専用ICカードとの間で予め双方に設定されたパスワードの自動認証を行わせることにより、決済用ICカードによる電子決済の安全性を高めている。
【選択図】 図3
Description
【0001】
【発明の属する技術分野】
本発明は、ICカードやクレジットカード等による電子決済における認証技術に属する。
【0002】
【従来の技術】
クレジットカードやデビットカードは、そのカードを使用した決済に先立ち本人認証用として予めパスワードをオンライン決済システムに登録しておきインターネット上のオンライン決済や、ATMやその他端末による電子決済にオンライン決済システムがパスワードを要求し本人がパスワードを入力することにより本人認証している。
【0003】
またICカードにおいても、色々な用途が考えられるが交通機関の乗車カードとして利用される場合は、現時点ではパスワードは使用されていないが、電子決済として使う場合の本人認証としてパスワードの使用が有効な手段となっている。
【0004】
【発明が解決しようとする課題】
パスワード以外の本人認証手段として指紋、虹彩、声紋による方法が開発されているが、現在のとこら経済性や利便性に於いてこれらの認証方法が全てパスワード方式に取って代わるのは不可能である。
【0005】
パスワード方式は、現在のところ最良の本人認証方式である。
ただ、パスワードは、最近の不正使用の事例から氏名や生年月日等、本人から推測できる内容は他人に見破られるケースが発生していて、本人から推測できるような単純なパスワードは設定不可となっている。
【0006】
このようなことからパスワードを複雑に設定し、覚えにくいパスワードの採用により使用の際に思い出せないケースが発生している。
【0007】
したがって本発明は、ICカードの全ての決済にパスワードを使用することが出来、ICカードの紛失や盗難で不正使用されないようにすることと、パスワードを記憶することなく又手入力を不要とすることを目的とする。
【0008】
【課題を解決するための手段】
本発明では、上述の目的を達成するために、次のようにしている。
【0009】
すなわち、請求項1において本発明のパスワード専用ICカードは、ICカードの機能をパスワードに限定したパスワード専用ICカードとし、決済用ICカード使用時に決済用ICカードとパスワード専用ICカードとの間で予め双方に設定されたパスワードの自動認証を行わせることにより、決済用ICカードによる電子決済の安全性を高めている。
【0010】
請求項2のパスワード専用ICカードによる電子決済における認証方式は、パスワードをパスワード専用ICカードに登録し同じパスワードを決済用ICカードにも登録し、実際の使用時に、リーダライターと双方のICカードとの間の初期処理および相互認証後、リーダライターが決済用ICカードから暗号化した乱数データを受信してパスワード専用ICカードに送出し、パスワード専用ICカードは受信した暗号化乱数データを復号化し、パスワードに連結して暗号化し、リーダライターがこれを受信して決済用ICカードに送出し、決済用ICカードは復号化した乱数データとパスワードが決済用ICカード内データと一致するか確認し、何れかまたは何れも一致していない場合、処理を中断する認証方式を採っている。
【0011】
請求項3のパスワード専用ICカードと決済用ICカードへのパスワードおよび暗号鍵の登録を、専用アプリケーションソフトをインストールしたパスワード専用ICカードと決済用ICカード双方に使用できる専用リーダライターを接続したパソコンで行い、その登録・更新・削除はサービス側の決済システムの制約を受けないパスワード運用方法を採っている。
【0012】
請求項4および5のパスワード専用ICカードは、ICカード決済時の本人認証を、パスワードの手入力の排除と推測されにくいパスワードの採用とパスワード認証の高速化とパスワードの機密性を高め更にパスワード専用ICカード使用者がパスワードを記憶する必要がない電子決済の認証方式およびパスワード運用方法を採っている
【0013】
請求項6のパスワード専用ICカードによる電子決済における認証方式は、請求項1から5に記載の決済用ICカードで実行している処理をATMやその他サービスの認証機側で行うようにすれば、請求項1から請求項5に記述した決済用ICカードを使用しない、ATMとキャッシュカードやATMとクレジットカードおよびその他サービスの認証機とサービスカードとの間でも使用することができる。
【0014】
請求項7のパスワード専用ICカードは、カード形状以外に、ブレスレット、腕時計、ペンダント、カウスボタン、ブローチ、キーホルダー、ベルト、カバン、バック等の身に着けるものに取り付けられる形状とし、決済用ICカード使用時に身につけて使用することも出来る非接触型の携帯構造を有している。
【0015】
【発明実施の形態】以下、図面によって本発明の実施の形態について詳細に説明する。尚、図に記載のPICC2は決済用ICカードをPICC1はパスワード専用ICカードをR/Wはリーダライターを指す。
【0016】
図1は、パスワード専用ICカードによる電子決済における認証方式の全体構成を示す図であり、同図において、1はカード形状のパスワード専用ICカード、3は2の決済用ICカードとデータの読出し書き込みをするためのリーダライターでありパスワード専用ICカードと決済用ICカードがパスワードによる本人認証をするためにデータ送受信の仲介をする役目を兼ねる。
【0017】
図2は、パスワード専用ICカードのブロック図であり、パスワード専用ICカードは内部にCPU5、パスワード、暗号鍵、プログラムおよびその他データを記憶するメモリ6、暗号回路7、変復調回路8、アンテナコイル9を有している。
【0018】
CPU5は、メモリ6に格納されているプログラムデータと、ワーキングデータとを用いて、アンテナコイル9を通じて受信したリーダライター3からのコマンドに基づく処理を行うと共に、リーダライター3に対してデータ送出の処理を行う。
【0019】
カードリーダライター3からパスワード専用ICカード1に送出されてくるコマンドには、ポーリング、認証、データの読出しと書込み、禁止などがある。CPU5は、カードリーダライター3からのこうした送出コマンドをアンテナコイル9で受信し、変復調回路8で復調し、取り込んで解析すると共に、この解析したコマンドに従った処理を実行するようになっている。
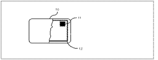
【0020】
図3は、パスワード専用ICカードをカード形状としたもの、図4は、ブレスレット形状としたもので、認証対象の決済用ICカードとは通常、意識的に離して身に着け決済用ICカードと一緒に紛失や盗難に会わないようにする。
【0021】
図5は、パスワード専用ICカード1と決済用ICカード2とリーダライター3の間のパスワード認証処理シーケンス制御を説明したものである。
図中に示す[E10,D10],[E11,D11]は,それぞれ対となる暗号・復号アルゴリズム、RccはPICC2の乱数、K10pc、K11pcはアクセス鍵、M10cc、M11pwは暗号化文、P10cc,P11ccは復号化文、P10pw,P11pw、Pwccはパスワードとする。
【0022】
まずJICSAP ICカード仕様で規定される手順で、通信確立の為のP1)初期通信が行われ続いてP2)相互認証が行われる。
【0023】
続いて本発明のパスワード専用ICカード1のP3)パスワード認証が行われる。以下にP3)パスワード認証のシーケンス制御を説明する。
【0024】
決済用ICカード2で(S1)乱数Rccを発生する、(S2)乱数RccをK10pcにより暗号化(E10)してM10ccとする
【0025】
(S3)Password Auth.3−1コマンドでM10ccがリーダライター3へ送出される。
【0026】
リーダライター3で(S4)受信したM10ccをそのままPassword Auth.3−2コマンドでパスワード専用ICカード1へ送出される。
【0027】
パスワード専用ICカード1で(S5)M10ccをK10pcにより復号化(D10)してP10ccとする。
【0028】
(S6)P10ccとパスワードP10pwを連結しK11pcで暗号化(E11)しM11pwを生成する。
【0029】
(S7)Password Auth.3−3レスポンスでM11pwがリーダライター3へ送出される。
【0030】
リーダライター3で(S8)受信したM11pwをそのままPassword Auth.3−4レスポンスで決済用ICカード3へ送出される。
【0031】
決済用ICカード2で(S9)M11pwをK11pcにより復号化(D11)し乱数P11ccとパスワードP11pwとする。
【0032】
(S10)RccとP11cc、パスワードPwccとP11pwを確認する。
【0033】
(S11)RccとP11cc、パスワードPwccとP11pwの何れかまたは何れも等しくないとき処理を中断する。
【0034】
【発明の効果】
以上のように本発明によれば次の効果を得られる。
【0035】
請求項1の本発明のパスワード専用ICカードは、決済用ICカード使用時に決済用ICカードとパスワード専用ICカードとの間で予め双方に設定されたパスワードの自動認証を行わせることにより、決済用ICカードによる電子決済の安全性が高まる。
【0036】
請求項2の本発明のパスワード専用ICカードによれば、パスワード自動認証機能により、決済時のパスワード認証の常時使用が出来、且つ使用者のパスワード入力の負担がない、安全性を高めた電子決済が出来る。
【0037】
請求項3の本発明のパスワード専用ICカードによれば、パスワード専用ICカードと決済用ICカードへのパスワードおよび暗号鍵の登録を、専用アプリケーションソフトをインストールした、パスワード専用ICカードと決済用ICカード双方に使用できる専用リーダライターを接続したパソコンで行い、その登録・更新・削除はサービス側の決済システムの制約を受けないので、決済用ICカードとパスワード専用ICカードとの自由な組み合わせが出来、パスワードや暗号鍵のメンテナンスが容易に出来る。
【0038】
請求項4および5の本発明のパスワード専用ICカードによれば、パスワードの手入力の排除と推測されにくいパスワードの採用とパスワード認証の高速化とパスワードの機密性を高め更にパスワードを記憶する必要がないので、サービスの種類やサービス提供会社の違いや使用者の年齢(お年寄りや子供等)を選ばないで電子決済の安全性を高められる。
【0039】
請求項6の本発明のパスワード専用ICカードによれば、請求項1から5に記載の決済用ICカードで実行している処理をATMやその他サービスの認証機側で行うようにすれば、請求項1から請求項5に記述した決済用ICカードを使用しない、ATMとキャッシュカードやATMとクレジットカードおよびその他サービスの認証機とサービスカードとの間でも使用することができ、パスワード運用方法の新方式として、全ての電子決済の安全性を高めることが出来る。
【0040】
請求項7の本発明のパスワード専用ICカードによれば、カード形状以外に、ブレスレット、腕時計、ペンダント、カウスボタン、ブローチ、キーホルダー、ベルト、カバン、バック等の身に着けるものに取り付けられる形状とし、決済用ICカード使用時に身につけて使用することも出来、パスワード専用ICカードの用途の機密性を保ち、決済用ICカードと一緒に使用することが容易に出来る。
【図面の簡単な説明】
【図1】本発明の実施形態に係るシステムの概略構成図
【図2】パスワード専用ICカードのブロック図
【図3】カード形状をしたパスワード専用ICカード
【図4】ブレスレット形状をしたパスワード専用ICカード
【図5】パスワード認証処理シーケンス制御
【符号の説明】
1 パスワード専用ICカード
2 決済用ICカード
3 リーダライター
4 リーダライターシステムの上位コンピュータ
5 パスワード専用ICカードのCPU
6 パスワード専用ICカードのメモリー
7 パスワード専用ICカードの暗号回路
8 パスワード専用ICカードの変復調電源回路
9 パスワード専用ICカードのアンテナコイル
10 カード形状のパスワード専用ICカード
11 ICチップ
12 アンテナコイル
13 ブレスレット形状のパスワード専用ICカード
【発明の属する技術分野】
本発明は、ICカードやクレジットカード等による電子決済における認証技術に属する。
【0002】
【従来の技術】
クレジットカードやデビットカードは、そのカードを使用した決済に先立ち本人認証用として予めパスワードをオンライン決済システムに登録しておきインターネット上のオンライン決済や、ATMやその他端末による電子決済にオンライン決済システムがパスワードを要求し本人がパスワードを入力することにより本人認証している。
【0003】
またICカードにおいても、色々な用途が考えられるが交通機関の乗車カードとして利用される場合は、現時点ではパスワードは使用されていないが、電子決済として使う場合の本人認証としてパスワードの使用が有効な手段となっている。
【0004】
【発明が解決しようとする課題】
パスワード以外の本人認証手段として指紋、虹彩、声紋による方法が開発されているが、現在のとこら経済性や利便性に於いてこれらの認証方法が全てパスワード方式に取って代わるのは不可能である。
【0005】
パスワード方式は、現在のところ最良の本人認証方式である。
ただ、パスワードは、最近の不正使用の事例から氏名や生年月日等、本人から推測できる内容は他人に見破られるケースが発生していて、本人から推測できるような単純なパスワードは設定不可となっている。
【0006】
このようなことからパスワードを複雑に設定し、覚えにくいパスワードの採用により使用の際に思い出せないケースが発生している。
【0007】
したがって本発明は、ICカードの全ての決済にパスワードを使用することが出来、ICカードの紛失や盗難で不正使用されないようにすることと、パスワードを記憶することなく又手入力を不要とすることを目的とする。
【0008】
【課題を解決するための手段】
本発明では、上述の目的を達成するために、次のようにしている。
【0009】
すなわち、請求項1において本発明のパスワード専用ICカードは、ICカードの機能をパスワードに限定したパスワード専用ICカードとし、決済用ICカード使用時に決済用ICカードとパスワード専用ICカードとの間で予め双方に設定されたパスワードの自動認証を行わせることにより、決済用ICカードによる電子決済の安全性を高めている。
【0010】
請求項2のパスワード専用ICカードによる電子決済における認証方式は、パスワードをパスワード専用ICカードに登録し同じパスワードを決済用ICカードにも登録し、実際の使用時に、リーダライターと双方のICカードとの間の初期処理および相互認証後、リーダライターが決済用ICカードから暗号化した乱数データを受信してパスワード専用ICカードに送出し、パスワード専用ICカードは受信した暗号化乱数データを復号化し、パスワードに連結して暗号化し、リーダライターがこれを受信して決済用ICカードに送出し、決済用ICカードは復号化した乱数データとパスワードが決済用ICカード内データと一致するか確認し、何れかまたは何れも一致していない場合、処理を中断する認証方式を採っている。
【0011】
請求項3のパスワード専用ICカードと決済用ICカードへのパスワードおよび暗号鍵の登録を、専用アプリケーションソフトをインストールしたパスワード専用ICカードと決済用ICカード双方に使用できる専用リーダライターを接続したパソコンで行い、その登録・更新・削除はサービス側の決済システムの制約を受けないパスワード運用方法を採っている。
【0012】
請求項4および5のパスワード専用ICカードは、ICカード決済時の本人認証を、パスワードの手入力の排除と推測されにくいパスワードの採用とパスワード認証の高速化とパスワードの機密性を高め更にパスワード専用ICカード使用者がパスワードを記憶する必要がない電子決済の認証方式およびパスワード運用方法を採っている
【0013】
請求項6のパスワード専用ICカードによる電子決済における認証方式は、請求項1から5に記載の決済用ICカードで実行している処理をATMやその他サービスの認証機側で行うようにすれば、請求項1から請求項5に記述した決済用ICカードを使用しない、ATMとキャッシュカードやATMとクレジットカードおよびその他サービスの認証機とサービスカードとの間でも使用することができる。
【0014】
請求項7のパスワード専用ICカードは、カード形状以外に、ブレスレット、腕時計、ペンダント、カウスボタン、ブローチ、キーホルダー、ベルト、カバン、バック等の身に着けるものに取り付けられる形状とし、決済用ICカード使用時に身につけて使用することも出来る非接触型の携帯構造を有している。
【0015】
【発明実施の形態】以下、図面によって本発明の実施の形態について詳細に説明する。尚、図に記載のPICC2は決済用ICカードをPICC1はパスワード専用ICカードをR/Wはリーダライターを指す。
【0016】
図1は、パスワード専用ICカードによる電子決済における認証方式の全体構成を示す図であり、同図において、1はカード形状のパスワード専用ICカード、3は2の決済用ICカードとデータの読出し書き込みをするためのリーダライターでありパスワード専用ICカードと決済用ICカードがパスワードによる本人認証をするためにデータ送受信の仲介をする役目を兼ねる。
【0017】
図2は、パスワード専用ICカードのブロック図であり、パスワード専用ICカードは内部にCPU5、パスワード、暗号鍵、プログラムおよびその他データを記憶するメモリ6、暗号回路7、変復調回路8、アンテナコイル9を有している。
【0018】
CPU5は、メモリ6に格納されているプログラムデータと、ワーキングデータとを用いて、アンテナコイル9を通じて受信したリーダライター3からのコマンドに基づく処理を行うと共に、リーダライター3に対してデータ送出の処理を行う。
【0019】
カードリーダライター3からパスワード専用ICカード1に送出されてくるコマンドには、ポーリング、認証、データの読出しと書込み、禁止などがある。CPU5は、カードリーダライター3からのこうした送出コマンドをアンテナコイル9で受信し、変復調回路8で復調し、取り込んで解析すると共に、この解析したコマンドに従った処理を実行するようになっている。
【0020】
図3は、パスワード専用ICカードをカード形状としたもの、図4は、ブレスレット形状としたもので、認証対象の決済用ICカードとは通常、意識的に離して身に着け決済用ICカードと一緒に紛失や盗難に会わないようにする。
【0021】
図5は、パスワード専用ICカード1と決済用ICカード2とリーダライター3の間のパスワード認証処理シーケンス制御を説明したものである。
図中に示す[E10,D10],[E11,D11]は,それぞれ対となる暗号・復号アルゴリズム、RccはPICC2の乱数、K10pc、K11pcはアクセス鍵、M10cc、M11pwは暗号化文、P10cc,P11ccは復号化文、P10pw,P11pw、Pwccはパスワードとする。
【0022】
まずJICSAP ICカード仕様で規定される手順で、通信確立の為のP1)初期通信が行われ続いてP2)相互認証が行われる。
【0023】
続いて本発明のパスワード専用ICカード1のP3)パスワード認証が行われる。以下にP3)パスワード認証のシーケンス制御を説明する。
【0024】
決済用ICカード2で(S1)乱数Rccを発生する、(S2)乱数RccをK10pcにより暗号化(E10)してM10ccとする
【0025】
(S3)Password Auth.3−1コマンドでM10ccがリーダライター3へ送出される。
【0026】
リーダライター3で(S4)受信したM10ccをそのままPassword Auth.3−2コマンドでパスワード専用ICカード1へ送出される。
【0027】
パスワード専用ICカード1で(S5)M10ccをK10pcにより復号化(D10)してP10ccとする。
【0028】
(S6)P10ccとパスワードP10pwを連結しK11pcで暗号化(E11)しM11pwを生成する。
【0029】
(S7)Password Auth.3−3レスポンスでM11pwがリーダライター3へ送出される。
【0030】
リーダライター3で(S8)受信したM11pwをそのままPassword Auth.3−4レスポンスで決済用ICカード3へ送出される。
【0031】
決済用ICカード2で(S9)M11pwをK11pcにより復号化(D11)し乱数P11ccとパスワードP11pwとする。
【0032】
(S10)RccとP11cc、パスワードPwccとP11pwを確認する。
【0033】
(S11)RccとP11cc、パスワードPwccとP11pwの何れかまたは何れも等しくないとき処理を中断する。
【0034】
【発明の効果】
以上のように本発明によれば次の効果を得られる。
【0035】
請求項1の本発明のパスワード専用ICカードは、決済用ICカード使用時に決済用ICカードとパスワード専用ICカードとの間で予め双方に設定されたパスワードの自動認証を行わせることにより、決済用ICカードによる電子決済の安全性が高まる。
【0036】
請求項2の本発明のパスワード専用ICカードによれば、パスワード自動認証機能により、決済時のパスワード認証の常時使用が出来、且つ使用者のパスワード入力の負担がない、安全性を高めた電子決済が出来る。
【0037】
請求項3の本発明のパスワード専用ICカードによれば、パスワード専用ICカードと決済用ICカードへのパスワードおよび暗号鍵の登録を、専用アプリケーションソフトをインストールした、パスワード専用ICカードと決済用ICカード双方に使用できる専用リーダライターを接続したパソコンで行い、その登録・更新・削除はサービス側の決済システムの制約を受けないので、決済用ICカードとパスワード専用ICカードとの自由な組み合わせが出来、パスワードや暗号鍵のメンテナンスが容易に出来る。
【0038】
請求項4および5の本発明のパスワード専用ICカードによれば、パスワードの手入力の排除と推測されにくいパスワードの採用とパスワード認証の高速化とパスワードの機密性を高め更にパスワードを記憶する必要がないので、サービスの種類やサービス提供会社の違いや使用者の年齢(お年寄りや子供等)を選ばないで電子決済の安全性を高められる。
【0039】
請求項6の本発明のパスワード専用ICカードによれば、請求項1から5に記載の決済用ICカードで実行している処理をATMやその他サービスの認証機側で行うようにすれば、請求項1から請求項5に記述した決済用ICカードを使用しない、ATMとキャッシュカードやATMとクレジットカードおよびその他サービスの認証機とサービスカードとの間でも使用することができ、パスワード運用方法の新方式として、全ての電子決済の安全性を高めることが出来る。
【0040】
請求項7の本発明のパスワード専用ICカードによれば、カード形状以外に、ブレスレット、腕時計、ペンダント、カウスボタン、ブローチ、キーホルダー、ベルト、カバン、バック等の身に着けるものに取り付けられる形状とし、決済用ICカード使用時に身につけて使用することも出来、パスワード専用ICカードの用途の機密性を保ち、決済用ICカードと一緒に使用することが容易に出来る。
【図面の簡単な説明】
【図1】本発明の実施形態に係るシステムの概略構成図
【図2】パスワード専用ICカードのブロック図
【図3】カード形状をしたパスワード専用ICカード
【図4】ブレスレット形状をしたパスワード専用ICカード
【図5】パスワード認証処理シーケンス制御
【符号の説明】
1 パスワード専用ICカード
2 決済用ICカード
3 リーダライター
4 リーダライターシステムの上位コンピュータ
5 パスワード専用ICカードのCPU
6 パスワード専用ICカードのメモリー
7 パスワード専用ICカードの暗号回路
8 パスワード専用ICカードの変復調電源回路
9 パスワード専用ICカードのアンテナコイル
10 カード形状のパスワード専用ICカード
11 ICチップ
12 アンテナコイル
13 ブレスレット形状のパスワード専用ICカード
Claims (7)
- ICカードの機能をパスワードに限定したパスワード専用ICカードとし、決済用ICカード使用時に決済用ICカードとパスワード専用ICカードとの間で予め双方に設定されたパスワードの自動認証を行わせることにより、決済用ICカードによる電子決済の安全性を高めたことを特徴とするパスワード専用ICカードによる電子決済における認証方式
- パスワードをパスワード専用ICカードに登録し同じパスワードを決済用ICカードにも登録し、実際の使用時にリーダライターと双方のICカードとの間の初期処理および相互認証後、リーダライターが決済用ICカードから暗号化した乱数データを受信してパスワード専用ICカードに送出し、パスワード専用ICカードは受信した暗号化乱数データを復号化し、パスワードに連結して暗号化し、リーダライターがこれを受信して決済用ICカードに送出し、決済用ICカードは復号化した乱数データとパスワードが決済用ICカード内データと一致するか確認し、何れかまたは何れも一致していない場合、処理を中断することを特徴とするパスワード専用ICカードによる電子決済における認証方式
- 請求項1および2に記載のパスワード専用ICカードは、パスワード専用ICカードと決済用ICカードへのパスワードおよび暗号鍵の登録を、専用アプリケーションソフトをインストールしたパスワード専用ICカードと決済用ICカード双方に使用できる専用リーダライターを接続したパソコンで行い、その登録・更新・削除はサービス側の決済システムの制約を受けない事を特徴とするパスワード運用方法
- 請求項1から請求項3に記載のパスワード専用ICカードは、ICカードの特徴の一つであるオンライン照合を不要とした使用方法において、ICカード決済時の本人認証を、パスワードの手入力の排除と推測されにくいパスワードの採用とパスワード認証の高速化とパスワードの機密性を高め更にパスワード専用ICカード使用者がパスワードを記憶する必要がない事を特徴とする電子決済の認証方式およびパスワード運用方法
- 請求項1から請求項3に記載のパスワード専用ICカードは、ICカードをオンライン照合する使用方法においても、ICカード決済時の本人認証を、パスワードの手入力の排除と推測されにくいパスワードの採用とパスワード認証の高速化とパスワードの機密性を高め更にパスワード専用ICカード使用者がパスワードを記憶する必要がない事を特徴とする電子決済の認証方式およびパスワード運用方法
- 請求項1から5に記載のパスワード専用ICカードは、請求項1から5に記載の決済用ICカードで実行している処理をATMやその他サービスの認証機側で行うようにすれば、請求項1から請求項5に記述した決済用ICカードを使用しない、ATMとキャッシュカードやATMとクレジットカードおよびその他サービスの認証機とサービスカードとの間でも使用することができることを特徴とする電子決済における認証方式
- 請求項1および6に記載のパスワード専用ICカードは、カード形状以外に、ブレスレット、腕時計、ペンダント、カウスボタン、ブローチ、キーホルダー、ベルト、カバン、バック等の身に着けるものに取り付けられる形状とし、決済用ICカード使用時に身につけて使用することも出来ることを特徴とする非接触型の携帯構造を有するパスワード専用ICカード
Priority Applications (2)
| Application Number | Priority Date | Filing Date | Title |
|---|---|---|---|
| JP2003055067A JP2004265156A (ja) | 2003-03-03 | 2003-03-03 | パスワード専用icカードによる電子決済における認証方式 |
| PCT/JP2003/003051 WO2004079639A1 (ja) | 2003-03-03 | 2003-03-13 | パスワード専用icカードによる電子決済における認証方式 |
Applications Claiming Priority (1)
| Application Number | Priority Date | Filing Date | Title |
|---|---|---|---|
| JP2003055067A JP2004265156A (ja) | 2003-03-03 | 2003-03-03 | パスワード専用icカードによる電子決済における認証方式 |
Publications (1)
| Publication Number | Publication Date |
|---|---|
| JP2004265156A true JP2004265156A (ja) | 2004-09-24 |
Family
ID=32958650
Family Applications (1)
| Application Number | Title | Priority Date | Filing Date |
|---|---|---|---|
| JP2003055067A Pending JP2004265156A (ja) | 2003-03-03 | 2003-03-03 | パスワード専用icカードによる電子決済における認証方式 |
Country Status (2)
| Country | Link |
|---|---|
| JP (1) | JP2004265156A (ja) |
| WO (1) | WO2004079639A1 (ja) |
Cited By (3)
| Publication number | Priority date | Publication date | Assignee | Title |
|---|---|---|---|---|
| JP2006268859A (ja) * | 2005-03-24 | 2006-10-05 | Avaya Technology Corp | 所有権検証のための装置および方法 |
| JP2010287051A (ja) * | 2009-06-11 | 2010-12-24 | Ntt Data Corp | 認証システム、認証方法、読取装置およびプログラム |
| JP2017176214A (ja) * | 2016-03-28 | 2017-10-05 | 株式会社タイトー | ゲームシステム |
Families Citing this family (1)
| Publication number | Priority date | Publication date | Assignee | Title |
|---|---|---|---|---|
| JP2009301205A (ja) * | 2008-06-11 | 2009-12-24 | Hitachi Systems & Services Ltd | 非接触型電子マネー決済システムにおける本人認証方法 |
Family Cites Families (4)
| Publication number | Priority date | Publication date | Assignee | Title |
|---|---|---|---|---|
| JPH0877110A (ja) * | 1994-06-28 | 1996-03-22 | Omron Corp | 情報システム |
| JPH09326086A (ja) * | 1996-06-06 | 1997-12-16 | Matsushita Electric Ind Co Ltd | クレジット処理システム |
| JP2002117378A (ja) * | 2000-10-05 | 2002-04-19 | Dainippon Printing Co Ltd | 非接触icカードシステム |
| JP2003050960A (ja) * | 2001-08-07 | 2003-02-21 | Minoru Takayama | 電子マネーのセキュリティーシステム |
-
2003
- 2003-03-03 JP JP2003055067A patent/JP2004265156A/ja active Pending
- 2003-03-13 WO PCT/JP2003/003051 patent/WO2004079639A1/ja not_active Ceased
Cited By (3)
| Publication number | Priority date | Publication date | Assignee | Title |
|---|---|---|---|---|
| JP2006268859A (ja) * | 2005-03-24 | 2006-10-05 | Avaya Technology Corp | 所有権検証のための装置および方法 |
| JP2010287051A (ja) * | 2009-06-11 | 2010-12-24 | Ntt Data Corp | 認証システム、認証方法、読取装置およびプログラム |
| JP2017176214A (ja) * | 2016-03-28 | 2017-10-05 | 株式会社タイトー | ゲームシステム |
Also Published As
| Publication number | Publication date |
|---|---|
| WO2004079639A1 (ja) | 2004-09-16 |
Similar Documents
| Publication | Publication Date | Title |
|---|---|---|
| US12050674B2 (en) | Biometric identification device and methods of use | |
| US7284125B2 (en) | Method and apparatus for personal identification | |
| US8799670B2 (en) | Biometric authentication method, computer program, authentication server, corresponding terminal and portable object | |
| US9699159B2 (en) | Methods, apparatuses and systems for providing user authentication | |
| TW565786B (en) | Electronic transaction systems and methods therefor | |
| CN103544599B (zh) | 用于在移动终端内认证、存储和交易的嵌入式安全元件 | |
| JP6188938B2 (ja) | 指紋認証を遂行する保安カードとそれによる保安カード処理システム及びその処理方法 | |
| US20080005566A1 (en) | Portable terminal, settlement method, and program | |
| US20070040017A1 (en) | Wireless biometric cardholder apparatus, method, & system | |
| EP1650631A1 (en) | Biometric authentication device and terminal | |
| JP2000242750A (ja) | 個人認証システム、それに使用される携帯装置及び記憶媒体 | |
| US20110154485A1 (en) | Authentication apparatus using human body communication, portable device having authentication function using human body communication, and authentication method using human body communication | |
| JP2010191680A (ja) | 携帯通信端末、自動取引装置、自動取引システム、および自動取引方法。 | |
| JP4089294B2 (ja) | 個人認証システム及び個人認証用端末装置 | |
| JP2006190175A (ja) | Rfid利用型認証制御システム、認証制御方法及び認証制御プログラム | |
| JP2004265156A (ja) | パスワード専用icカードによる電子決済における認証方式 | |
| US20170344984A1 (en) | Card payment system and method for using body information | |
| JP2008269415A (ja) | ワンタイムパスワード発行システム | |
| JP3903629B2 (ja) | 情報処理装置及びこの情報処理装置に用いられるプログラムが記憶された記憶媒体 | |
| JPS63248246A (ja) | 暗証照合方式 | |
| JP2001067477A (ja) | 個人識別システム | |
| JP2006243860A (ja) | Icカードシステムおよびコンピュータプログラム | |
| JPH04315248A (ja) | 個人識別方式 | |
| KR20200103615A (ko) | 사용자가 소지한 금융 카드 기반 본인 인증 시스템 및 방법 | |
| JP2005129989A (ja) | 情報記憶担体認証システム、情報記憶担体認証方法及びプログラム |