JP2004151663A - Shifting device for piano - Google Patents

Shifting device for piano Download PDF

Info

Publication number
JP2004151663A
JP2004151663A JP2002350473A JP2002350473A JP2004151663A JP 2004151663 A JP2004151663 A JP 2004151663A JP 2002350473 A JP2002350473 A JP 2002350473A JP 2002350473 A JP2002350473 A JP 2002350473A JP 2004151663 A JP2004151663 A JP 2004151663A
Authority
JP
Japan
Prior art keywords
piano
shelf
keyboard
back rail
permanent magnets
Prior art date
Legal status (The legal status is an assumption and is not a legal conclusion. Google has not performed a legal analysis and makes no representation as to the accuracy of the status listed.)
Granted
Application number
JP2002350473A
Other languages
Japanese (ja)
Other versions
JP3763096B2 (en
Inventor
Masaru Sato
勝 佐藤
Current Assignee (The listed assignees may be inaccurate. Google has not performed a legal analysis and makes no representation or warranty as to the accuracy of the list.)
Toyo Piano Manufacturing Co Ltd
Original Assignee
Toyo Piano Manufacturing Co Ltd
Priority date (The priority date is an assumption and is not a legal conclusion. Google has not performed a legal analysis and makes no representation as to the accuracy of the date listed.)
Filing date
Publication date
Application filed by Toyo Piano Manufacturing Co Ltd filed Critical Toyo Piano Manufacturing Co Ltd
Priority to JP2002350473A priority Critical patent/JP3763096B2/en
Publication of JP2004151663A publication Critical patent/JP2004151663A/en
Application granted granted Critical
Publication of JP3763096B2 publication Critical patent/JP3763096B2/en
Anticipated expiration legal-status Critical
Expired - Fee Related legal-status Critical Current

Links

Images

Landscapes

  • Electrophonic Musical Instruments (AREA)

Abstract

<P>PROBLEM TO BE SOLVED: To make lightly and smoothly shiftable a keyboard and an action assembly. <P>SOLUTION: In the piano shifting device in which a frame to which the keyboard 1 and the action device body are fitted is slidably set on a keybed 3, permanent magnets 23, 24 are respectively embedded in the keybed 3 and a back rail 6 of the frame so that both poles are faced each other on the same surface as the opposite surfaces of both the members 3, 6. <P>COPYRIGHT: (C)2004,JPO

Description

【0001】
【発明の属する技術分野】
本発明は、立型或いは平型何れのピアノにも適用できて、鍵盤とアクション装置体がスムースにシフトされるように改良したピアノのシフト装置に関する。
【0002】
【従来の技術】
従来の一般的なピアノは、図1及び図2に示すように鍵盤1とアクションベース2のみが図示されているアクション装置体(打弦装置)とが棚板3上にセットされた前・中・奥の3個のレール(筬)4,5,6と妻木7等からなる枠組(鍵盤筬)上に取り付けられ、シフトペダルの操作により作動される突き上げ棒8とベルクランク状のレバー9を介して上記枠組が左右方向へ摺動し、所要のシフトが果たされる仕組である。この仕組では、中レール5は複数個所を接触子11により支持されて棚板3の上面より若干浮き上がっているが、前レール4と奥レール6は相対向面部側が案内ローラ12によりそれぞれ支持されて棚板3の上面より若干浮き上がり、それらの反対側部分が棚板3の上面と接触している。
【0003】
案内ローラ12は一対の木ねじ13,14を用いて棚板3上に取り付けられた調節板15の自由端側に支持され、前レール4と奥レール6の相対向面部側の浮き上がり(棚板3との間隙)が調節できるようになっている。即ち、調節板15は木ねじ13と木ねじ14間が浅い凹面状に湾曲しており、その湾曲部15aの下面を棚板3に埋め込んだ受けねじ16の頭上に当て、該頭部(棚板3の上面と面一である)16aを支点として調節板15の自由端側を木ねじ13,14の締緩操作によって昇降させ、上記浮き上り量を棚板3の表面の反りや凹凸に対応して調節し、前レール4と奥レール6がスムースに摺動できるようになっている。
【0004】
図中、17はレバー9の枢軸18に対して該レバー9の従動側端部に取り付けたシフトローラであり、シフトローラ17は奥レール6の側面に設けられている嵌装部19に自転可能に取り付けられている。21は突き上げ棒8側に作用させた戻しばね、22は奥レール5側に作用させた戻しばねである。なお、図示の場合、アクションベース2は奥レール6上に取り付けられているが、ピアノの種類によっては中レール5と奥レール6に跨って設けられているものもある。
【0005】
【発明が解決しようとする課題】
かかる従来装置では、アクション装置体が組み付けられている奥レール或いは奥レールと中レールにアクション装置体の重量が負担されるため、一部が棚板に接触している奥レールはシフト動作時に棚板との摩擦力が大きく、ペダル操作に重く抵抗感を生じさせることは勿論、関連部材間にがたつきや狂い等を起こさせる要因になっている。本発明はこのような問題を解決したものであって、その目的は、永久磁石同士の反発力を利用して奥レールに見掛け上の浮力を与え、シフト動作が軽く滑らかに行われるように改良したピアノのシフト装置を提供することにある。
【0006】
【課題を解決するための手段】
上記目的を達成するために、本発明の特徴とするピアノのシフト装置は、鍵盤とアクション装置体が組み付けられている枠組が棚板上に摺動可能にセットされているピアノのシフト装置において、棚板と枠組の奥レールには、該両部材の相対向した表面とそれぞれ面一の状態で同極同士が対面するようにして、永久磁石を埋設した構成である。この構成において、永久磁石は棚板と奥レールの複数箇所に間隔を置いて(望ましくは等間隔に)埋設されているのがシフト動作の安定性の面で好ましい。
【0007】
【発明の実施の形態】
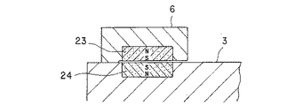
以下に、本発明の実施の形態を前述した従来の一般例の説明に利用した図1,2に図3を加えて説明する。なお、図1,2による先の説明を援用し、その説明での部材と同一部材については同一符号を用いて本発明を説明する。鍵盤1とアクション装置体のアクションベース2とが取り付けられている枠組が棚板3上に摺動可能にセットされているピアノのシフト装置において、棚板3と枠組の奥レール6には、該両部材3,6の相対向した表面とそれぞれ面一の状態で同極同士(SとSまたはNとN)が対面するようにして、複数箇所に永久磁石23,24が埋設され、奥レール6に両永久磁石23,24の反発力により見掛け上の浮力を与えるようにして本発明を実施する。
【0008】
図示の場合、永久磁石23,24は円盤状のものが棚板3と奥レール6の5箇所に等間隔でそれぞれ埋設されているが、その形状は角形でもよいことは勿論である。このように奥レール6に見掛け上の浮力が与えられていることによって、奥レール6はシフト動作時に棚板3との摩擦力が軽減され、鍵盤とアクション装置体を軽くスムースにシフトさせることができる。
【図面の簡単な説明】
【図1】本発明を実施したピアノの要部を一部切り欠いて示す平面図である。
【図2】図1のA−A線断面図である。
【図3】図1のB−B線断面図である。
【符号の説明】
1は鍵盤、2はアクション装置体の一部であるアクションベース、3は棚板、6は奥レール、23,24は永久磁石である。
[0001]
BACKGROUND OF THE INVENTION
The present invention relates to a piano shift device which can be applied to either a vertical or flat piano and is improved so that a keyboard and an action device body can be smoothly shifted.
[0002]
[Prior art]
As shown in FIGS. 1 and 2, the conventional general piano has a keyboard 1 and an action device body (string-striking device) in which only the action base 2 is shown on the shelf 3.・ A push-up bar 8 and a bell-crank-shaped lever 9 mounted on a frame (keyboard か ら) composed of three rails (筬) 4, 5, 6 and Tsumaki 7 etc. Thus, the frame is slid in the left-right direction, and a required shift is achieved. In this structure, the middle rail 5 is supported by a contact 11 at a plurality of locations and slightly lifted from the upper surface of the shelf board 3, but the front rail 4 and the back rail 6 are respectively supported by the guide rollers 12 on the opposite surface side. It floats slightly from the upper surface of the shelf board 3, and the opposite side portions are in contact with the upper surface of the shelf board 3.
[0003]
The guide roller 12 is supported on the free end side of the adjustment plate 15 mounted on the shelf plate 3 using a pair of wood screws 13 and 14, and is lifted on the opposite surface portion side of the front rail 4 and the back rail 6 (shelf plate 3 Can be adjusted. That is, the adjusting plate 15 is curved in a shallow concave shape between the wood screw 13 and the wood screw 14, and the lower surface of the curved portion 15 a is applied to the head of the receiving screw 16 embedded in the shelf plate 3, and the head (shelf plate 3 The free end side of the adjustment plate 15 is raised and lowered by a loosening operation of the wood screws 13 and 14 with the 16a (which is flush with the upper surface of the plate) as a fulcrum. By adjusting, the front rail 4 and the back rail 6 can slide smoothly.
[0004]
In the figure, 17 is a shift roller attached to the driven side end of the lever 9 with respect to the pivot 18 of the lever 9, and the shift roller 17 can rotate on the fitting portion 19 provided on the side surface of the back rail 6. Is attached to. Reference numeral 21 denotes a return spring that acts on the push rod 8 side, and 22 is a return spring that acts on the back rail 5 side. In the illustrated case, the action base 2 is mounted on the back rail 6, but depending on the type of piano, there are some that are provided across the middle rail 5 and the back rail 6.
[0005]
[Problems to be solved by the invention]
In such a conventional device, since the weight of the action device body is borne by the back rail or the back rail and the middle rail to which the action device body is assembled, the back rail, which is partially in contact with the shelf, The frictional force with the plate is large, causing heavy resistance to pedal operation and causing a sense of resistance, as well as causing factors such as rattling and deviation between related members. The present invention solves such a problem, and its purpose is to provide an apparent buoyancy to the back rail by utilizing the repulsive force between the permanent magnets so that the shift operation is light and smooth. An object of the present invention is to provide a piano shift device.
[0006]
[Means for Solving the Problems]
In order to achieve the above object, a piano shift device characterized by the present invention is a piano shift device in which a frame in which a keyboard and an action device body are assembled is slidably set on a shelf board. Permanent magnets are embedded in the rear plate of the shelf and the frame so that the same poles face each other on the opposite surfaces of the two members. In this configuration, the permanent magnets are preferably embedded at a plurality of positions on the shelf board and the back rail (preferably at equal intervals) from the viewpoint of the stability of the shift operation.
[0007]
DETAILED DESCRIPTION OF THE INVENTION
In the following, an embodiment of the present invention will be described with reference to FIGS. In addition, the previous description by FIG.1, 2 is used and this invention is demonstrated using the same code | symbol about the same member as the member in the description. In a piano shift device in which a frame to which a keyboard 1 and an action base 2 of an action device body are attached is slidably set on a shelf 3, the shelf 3 and the rear rail 6 of the framework have Permanent magnets 23 and 24 are embedded in a plurality of positions so that the same poles (S and S or N and N) face each other in a state where the opposite surfaces of both members 3 and 6 are flush with each other. The present invention is carried out in such a manner that an apparent buoyancy is given to 6 by the repulsive force of both permanent magnets 23 and 24.
[0008]
In the illustrated case, the permanent magnets 23 and 24 are disk-shaped and are embedded at five positions on the shelf 3 and the back rail 6 at equal intervals, but the shape may be rectangular. Since the apparent buoyancy is given to the back rail 6 in this way, the back rail 6 can reduce the frictional force with the shelf 3 during the shift operation, and the keyboard and the action device body can be shifted lightly and smoothly. it can.
[Brief description of the drawings]
FIG. 1 is a plan view showing a principal part of a piano embodying the present invention with a part cut away.
FIG. 2 is a cross-sectional view taken along line AA in FIG.
FIG. 3 is a cross-sectional view taken along line BB in FIG.
[Explanation of symbols]
1 is a keyboard, 2 is an action base which is a part of the action device body, 3 is a shelf board, 6 is a back rail, and 23 and 24 are permanent magnets.

Claims (2)

鍵盤とアクション装置体が取り付けられている枠組が棚板上に摺動可能にセットされているピアノのシフト装置において、棚板と枠組の奥レールには、該両部材の相対向した表面とそれぞれ面一の状態で同極同士が対面するようにして、永久磁石が埋設されていることを特徴とするピアノのシフト装置。In a piano shift device in which a frame to which a keyboard and an action device body are attached is slidably set on a shelf, the shelf and the rear rail of the framework are respectively opposite to the opposing surfaces of the two members. A piano shift device, wherein permanent magnets are embedded so that the same poles face each other in a flush state. 永久磁石は棚板と奥レールの複数箇所に間隔を置いて埋設されていることを特徴とする請求項1記載のピアノのシフト装置。2. The piano shift device according to claim 1, wherein the permanent magnets are embedded at a plurality of positions on the shelf board and the back rail at intervals.
JP2002350473A 2002-10-29 2002-10-29 Piano shift equipment Expired - Fee Related JP3763096B2 (en)

Priority Applications (1)

Application Number Priority Date Filing Date Title
JP2002350473A JP3763096B2 (en) 2002-10-29 2002-10-29 Piano shift equipment

Applications Claiming Priority (1)

Application Number Priority Date Filing Date Title
JP2002350473A JP3763096B2 (en) 2002-10-29 2002-10-29 Piano shift equipment

Publications (2)

Publication Number Publication Date
JP2004151663A true JP2004151663A (en) 2004-05-27
JP3763096B2 JP3763096B2 (en) 2006-04-05

Family

ID=32463087

Family Applications (1)

Application Number Title Priority Date Filing Date
JP2002350473A Expired - Fee Related JP3763096B2 (en) 2002-10-29 2002-10-29 Piano shift equipment

Country Status (1)

Country Link
JP (1) JP3763096B2 (en)

Families Citing this family (1)

* Cited by examiner, † Cited by third party
Publication number Priority date Publication date Assignee Title
JP4901559B2 (en) * 2007-04-09 2012-03-21 東洋ピアノ製造株式会社 Piano keyboard shift device and method for adjusting piano keyboard shift device

Also Published As

Publication number Publication date
JP3763096B2 (en) 2006-04-05

Similar Documents

Publication Publication Date Title
EP2138344B1 (en) Car seat
EP2040275A3 (en) Key switch and keyboard
DE602004000987D1 (en) Table with changeable assortment
MY134353A (en) An improved front panel mounting device for a drawer
TW200620356A (en) Key switch device, key board, and key switch assembling jig
WO2006055439A3 (en) Light mountable on a mounting rail
EP1746573A3 (en) Keyboard apparatus
JPH0737827Y2 (en) Cutting device
CN2710095Y (en) Keyboard instrument
JP3763096B2 (en) Piano shift equipment
US6921134B1 (en) Apparatus for adjusting inclination of chair backs
US5361082A (en) Structure of computer keyboard (II)
JPH07163438A (en) Chair with slide seat board
US6148705A (en) Table saw combination
US20050172773A1 (en) Rip guide adjusting device of circular saw
JP4326384B2 (en) Electronic keyboard instrument keyboard device
AU2003224503A1 (en) Aligning means for an injection-molding device
CN2600214Y (en) Bar feeding device
AU2003299332A1 (en) Spring switch for a monorail guide circuit
CN223294167U (en) Belt tension adjustment structure for inkjet printer
JP2001288825A (en) Joint device for floor
CN206631215U (en) A kind of block of multidirectional regulation
DE50213377D1 (en) Panel, in particular laminate panel
JPH10240232A (en) Keyboard device
CN218886748U (en) Wall-attached type aluminum alloy guide board

Legal Events

Date Code Title Description
A621 Written request for application examination

Free format text: JAPANESE INTERMEDIATE CODE: A621

Effective date: 20040803

A977 Report on retrieval

Free format text: JAPANESE INTERMEDIATE CODE: A971007

Effective date: 20051124

TRDD Decision of grant or rejection written
A01 Written decision to grant a patent or to grant a registration (utility model)

Free format text: JAPANESE INTERMEDIATE CODE: A01

Effective date: 20051206

A61 First payment of annual fees (during grant procedure)

Free format text: JAPANESE INTERMEDIATE CODE: A61

Effective date: 20060105

R150 Certificate of patent or registration of utility model

Free format text: JAPANESE INTERMEDIATE CODE: R150

Ref document number: 3763096

Country of ref document: JP

Free format text: JAPANESE INTERMEDIATE CODE: R150

FPAY Renewal fee payment (event date is renewal date of database)

Free format text: PAYMENT UNTIL: 20100127

Year of fee payment: 4

R250 Receipt of annual fees

Free format text: JAPANESE INTERMEDIATE CODE: R250

FPAY Renewal fee payment (event date is renewal date of database)

Free format text: PAYMENT UNTIL: 20130127

Year of fee payment: 7

R250 Receipt of annual fees

Free format text: JAPANESE INTERMEDIATE CODE: R250

FPAY Renewal fee payment (event date is renewal date of database)

Free format text: PAYMENT UNTIL: 20140127

Year of fee payment: 8

R250 Receipt of annual fees

Free format text: JAPANESE INTERMEDIATE CODE: R250

R250 Receipt of annual fees

Free format text: JAPANESE INTERMEDIATE CODE: R250

R250 Receipt of annual fees

Free format text: JAPANESE INTERMEDIATE CODE: R250

R250 Receipt of annual fees

Free format text: JAPANESE INTERMEDIATE CODE: R250

R250 Receipt of annual fees

Free format text: JAPANESE INTERMEDIATE CODE: R250

S111 Request for change of ownership or part of ownership

Free format text: JAPANESE INTERMEDIATE CODE: R313113

R350 Written notification of registration of transfer

Free format text: JAPANESE INTERMEDIATE CODE: R350

R250 Receipt of annual fees

Free format text: JAPANESE INTERMEDIATE CODE: R250

LAPS Cancellation because of no payment of annual fees